Система автоматического управления тепловым режимом

  • Вид работы:
    Курсовая работа (т)
  • Предмет:
    Информатика, ВТ, телекоммуникации
  • Язык:
    Русский
    ,
    Формат файла:
    MS Word
    232,57 Кб
  • Опубликовано:
    2015-07-11
Вы можете узнать стоимость помощи в написании студенческой работы.
Помощь в написании работы, которую точно примут!

Система автоматического управления тепловым режимом

Оглавление

 

Введение

Глава 1. Система автоматического управления тепловым режимом

.1 Назначение и структура автоматизированной системы

.2 Проектирование системы

.3 Анализ систем отопления, вентиляции и кондиционирования как объекта управления

Глава 2. Программное ПО системы

Глава 3. Общий алгоритм функционирования системы

Заключение

Список литературы



Введение


Важнейшим источником экономии топливно-энергетических ресурсов, затрачиваемых на теплоснабжение крупных производственных зданий со значительным потреблением тепловой и электрической энергии, является повышение эффективности работы системы отопления и вентиляции на основе использования современных достижений вычислительной и управляющей техники. Обычно для управления системами отопления и вентиляции служат средства локальной автоматики. Основным недостатком такого регулирования является то, что оно не учитывает фактический воздушный и тепловой баланс здания и реальные погодные условия: температуру и влажность наружного воздуха, скорость и направление ветра, атмосферное давление, солнечную радиацию. Поэтому под воздействием средств локальной автоматики система теплоснабжения работает, как правило, не в оптимальном режиме.

Эффективность работы системы отопления и вентиляции можно значительно увеличить, если, используя математическое моделирование теплового поведения здания, осуществить оптимальное управление системами, основанное на использовании ЭВМ и комплекса соответствующих технических и программных средств.

Формирование теплового режима можно представить как взаимодействие возмущающих и регулирующих факторов.

Для определения управляющего воздействия нужна информация о свойствах и количестве входных и выходных параметров и условия протекания процесса передачи тепла. Так как целью управления отопительно-вентиляционным оборудованием является обеспечение требуемых условий воздушной среды в рабочей зоне помещений зданий при минимальных энергетических и материальных затратах, то с помощью ЭВМ будет найден оптимальный вариант и выработаны соответствующие управляющие воздействия на эту систему. В результате ЭВМ с соответствующим комплексом технических и программных средств образует автоматизированную систему управления тепловым режимом помещений зданий (АСУ ТРП).

 

Глава 1. Система автоматического управления тепловым режимом

 

.1 Назначение и структура автоматизированной системы


Система предназначена для управления средствами обеспечения теплового и воздушного режима помещений производственных зданий в соответствии с выбранным критерием оптимизации управления, например минимизация затрат, тепловой и электрической энергии.

Автоматизированные системы управления тепловым режимом помещений (АСУ ТРП) являются разновидностью автоматизированных систем управления технологическими процессами, в связи с чем при их разработке могут быть использованы результаты разработок автоматизированных систем управления процессами в других областях.

Автоматизированная система управления технологическими процессами представляет систему управления для выработки и реализации управляющих воздействий на технологический объект управления в соответствии с принятым критерием управления. Технологический объект управления (ТОУ) представляет совокупность технологического оборудования и реализованного на нем по соответствующим технологическим инструкциям или регламентам технологического процесса производства. Поэтому технологическое оборудование теплоснабжения, обработки перемещения воздуха отопительно-вентиляционных систем, а также обслуживаемые этими системами помещения можно рассматривать как технологический объект управления.

Совокупность совместно работающих автоматизированной системы управления теплового режима помещений и технологического объекта управления совместно с узлом централизованной подготовки теплоносителя для систем отопления - вентиляции, приточных камер, устройств воздухораспределения, обслуживаемых помещений и т.п. - рассматривается как автоматизированный технологический комплекс.

Автоматизированная система управления тепловым режимом зданий представляет человеко-машинную систему управления, обеспечивающую автоматизированный сбор и обработку информации, необходимой для оптимизации управления. В соответствии с этим в составе АСУ ТРП должны быть автоматические средства сбора и переработки информации об управляемом объекте (в первую очередь средства вычислительной техники), а цель функционирования должна заключаться в оптимизации работы технологического объекта управления в соответствии с принятыми критериями управления путем формирования управленческих воздействий. В выработке решений по управлению должен принимать участие человек.

Таким образом, система управления ТОУ является автоматизированной системой управления ТРП, если обладает следующими признаками: а) осуществляет управление всеми подсистемами ТОУ в целом; б) осуществляет формирование управляющих воздействий в темпе протекания управляемых технологических процессов (в реальном масштабе времени); в) наличии средств вычислительной техники, других технических средств; г) участие человека-оператора, участвующего в выработке решений по управлению.

В системах обеспечения ТРП к управляемым относятся следующие процессы:

) управления температурой теплоносителя путем смешения подаваемого и обратного теплоносителя в узлах централизованной подготовки;

) управления расходом теплоносителя через воздухонагреватели приточных камер;

) управления расходами приточного и рециркуляционного воздуха через приточные камеры;

) поддержания заданных значений параметров теплового режима обслуживаемых помещений путем осуществления указанных выше взаимосвязанных процессов.

Область заданных значений параметров теплового режима определяет выбор технологического оборудования и влияет на алгоритм функционирования.

Целью создания АСУ ТРП является обеспечение требуемых значений параметров теплового режима обслуживаемых помещений при минимальных энергетических затратах, рациональном использовании технологического оборудования систем обеспечения ТРП и трудовых ресурсов (оперативного и обслуживающего персонала).

Критерием управления АСУ ТРП является соотношение, характеризующее качество работы ТОУ в целом и принимающее числовые значения в зависимости от используемых управляющих воздействий. В качестве критерия управления (критерия качества функционирования) в рассматриваемых системах могут быть приняты приведенные затраты по поддержанию требуемых значений параметров теплового режима помещений. Частными критериями управления могут являться затраты энергии на функционирование управляемых подсистем, надежность функционирования ТОУ или автоматизированный технологический комплекс в целом и т.п.

В соответствии с основным определением функции АСУ ТРП как «круга действий АСУ ТРП, направляемых на достижение частной цели управления», АСУ ТРП выполняет следующие функции: информационные, управляющие, вспомогательные.

Информационная функция. Ее содержанием являются: сбор, преобразование, хранение информации о состоянии ТОУ, представление этой информации оперативному персоналу или передача ее для последующей обработки.

Информационные функции АСУ ТРП подразделяются на: централизованный контроль состояния ТОУ, вычислительные и логические операции информационного характера.

Функций централизованного контроля заключаются в следующем:

) непрерывное, периодическое и (или) по вызову измерение, оперативное отображение и регистрация значений технологических параметров и показателей состояния оборудования;

) обнаружение, оперативное отображение, регистрация и сигнализация отклонений значений технологических параметров и показателей состояния оборудования от установленных пределов;

) контроль, оперативное отображение, регистрация и сигнализация срабатываний блокировок и защит;

) оперативное отображение и регистрация результатов математических и логических операций, выполняемых технологическими средствами системы.

Содержание вычислительных и логических операций следующее:

) косвенное измерение технологических параметров показателей состояния оборудования системы;

) вычисление и анализ обобщенных показателей оценки текущего состояния ТОУ и его составляющих;

) анализ срабатывания блокировок и защит;

) диагностика протекания ТРП и состояния оборудования;

) прогнозирование хода ТРП и состояния оборудования;

) расчет технико-экономических и эксплуатационных показателей функционирования ТОУ;

) подготовка информации и выполнение процедур обмена информацией со смежными и вышестоящими системами управления.

Содержание управляющей функции является выработка решений и реализация управляющих воздействий на ТОУ.

К управляющим функциям АСУ ТРП относятся следующие:

) определение рационального режима проведения ТРП;

) формирование и передача на входы исполнительных устройств управляющих воздействий, обеспечивающих реализацию выбранного режима;

) выдача оператору рекомендаций по управлению ТРП.

Основной особенностью управляющих и информационных функций, выполняемых АСУ любым технологическим процессом, является их направленность на конкретного потребителя (объект управления, оперативный персонал, смежные или вышестоящие системы управления).

К вспомогательным функциям относятся такие, которые обеспечивают решение внутрисистемных задач. Вспомогательные функции не имеют потребителя вне системы и предназначены для обеспечения ее собственного функционирования (обеспечение заданного алгоритма функционирования технологических средств системы, контроль их состояния и т.п.).

Используют два режима реализации функций системы: автоматизированный и автоматический.

Для информационных функций автоматизированный режим реализации предусматривает участие оперативного персонала в операциях по получению и переработке информации. В автоматическом режиме все необходимые процедуры переработки информации реализуются без участия человека.

Для управляющих функций автоматизированный режим характеризуется участием человека в выработке (принятии) решений и их реализации. При этом различаются следующие варианты:

) «ручной» режим, при котором оперативному персоналу представляется контрольно-измерительная информация о состоянии ТОУ, а выбор и осуществление управляющих воздействий производит оператор;

) режим «советчика», при котором техническими средствами системы вырабатываются рекомендации по управлению, а решение об их использовании принимается и реализуется оперативным персоналом;

) «диалоговый» режим, при котором оперативный персонал имеет возможность корректировать постановку и условия задачи, решаемой техническими средствами системы при выработке рекомендаций по управлению объектом.

Автоматический режим реализации управляющих функций предусматривает автоматическую выработку и реализацию управляющих воздействий. При этом различают:

) режим косвенного («супервизорного») управления, когда средства вычислительной техники автоматически изменяют уставки и (или) параметры настройки локальных систем автоматического управления (регулирования);

) режим прямого (непосредственного) цифрового (или аналого-цифрового) управления, когда управляющее вычислительное устройство формирует воздействия, подаваемые к исполнительным механизмам.

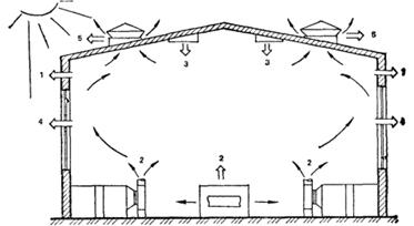
Функциональной структурой системы называют структуру, элементами которой являются функции АСУ, а связи между элементами отражают порядок их взаимодействия. На рис. 1 приведено схематическое изображение функциональной структуры АСУ ТРП.

Рис. 1. Функциональная структурная схема

1 - датчик температуры воздуха в помещении; 2 - регулирующий клапан; 3 - приемный воздушный клапан; 4 - насос регулирования температуры прямой воды

 

 

.2 Проектирование системы


Проектируемая автоматизированная система управления тепловым режимом производственного здания должна обеспечивать: требуемый температурный, влажностный и воздушный режим в зоне расположения технологического оборудования, необходимый для нормального выполнения технологических процессов; заданные значения температуры, влажности и подвижности внутреннего воздуха в рабочей зоне, определенные санитарно-гигиеническими требованиями; экономию затрат топливно-энергетических ресурсов на эксплуатацию здания; сокращение численности обслуживающего персонала.

Рабочей зоной считается пространство высотой до 2 м от уровня пола или площадки, на которой находятся рабочие места.

Параметры микроклимата в рабочей зоне устанавливают по СНиП 2.04.05-86.

Температура tв, относительная влажность jв и скорость движения воздуха v в различных помещениях зданий должны соответствовать их допустимым значениям в зависимости от характеристики помещений (их назначения и удельных избытков явного тепла), категорий работ, приведенных для холодного и переходного периода года в табл. <#"805737.files/image002.jpg">

Рис. 2. Схема математической модели

Экспериментальные исследования проводят с целью определения особенностей распределения температуры внутреннего воздуха в плане и по высоте помещений; теплоаккумуляционных характеристик внутреннего оборудования и продукции, а также здания в целом; фактических теплозащитных показателей наружных ограждений; оценки инерционности систем отопления; выявления характерных участков в зонах действия приточных камер для выбора мест установки датчиков температуры; определения технологических теплопоступлений. Натурные исследования проводят при стационарных и нестационарных условиях теплообмена в зимний и переходный периоды года. Нестационарные условия изучаются в период снижения подачи тепла перед выходными и праздничными днями, в периоды натопа, понижения и повышения температуры наружного воздуха. Во время наблюдений измеряют: температуру, влажность, скорость и направление движения наружного воздуха, интенсивность солнечной радиации, перепад давлений воздуха с обеих сторон различно ориентированных ограждений, температуру и расход воздуха приточных камер, температуру и влажность внутреннего воздуха в плане и по высоте здания, температуру внутренних и наружных поверхностей и оборудования.

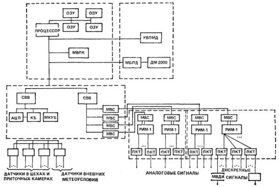
Основным ядром АСУ ТРП является управляющий вычислительный комплекс (УВК), на базе которого можно построить систему.

Централизованные управляющие вычислительные системы на базе мини-ЭВМ легко перенастраиваются с одной функции на другую путем замены программ в памяти ЭВМ. Возможно применение двухуровневых систем управления, в которых нижние уровни выполняются на традиционных средствах локального регулирования. Однако эти системы обладают следующими недостатками:

) малая живучесть, так как при отказе единственной ЭВМ система прекращает функционирование;

) сложность программного обеспечения, а также процедур обмена данными по каналам ввода - вывода;

) значительное число проводов и их длина в линии связи, подключенной к каналам ввода - вывода;

) сложное управление в реальном времени из-за большого времени реакции центральной системы.

На рис. 3 приведен пример централизованной системы.

Рис. 3. Блок-схема информационно-управляющего комплекса

1.3 Анализ систем отопления, вентиляции и кондиционирования как объекта управления


Формирование теплового режима можно представить как взаимодействие возмущающих и регулирующих факторов. К возмущающим факторам относятся теплопоступления через ограждающие конструкции, тепловая энергия, выделяющаяся при работе технологического оборудования, бытовые теплопоступления. К регулирующим факторам относится тепловое воздействие отопительных и вентиляционных систем. Представим отопительно-вентиляционные системы в виде многомерного объекта, описываемого тремя группами переменных.

Во вторую группу переменных входят параметры, характеризующие свойства выходных элементов. Это, в первую очередь, условия воздушной среды в помещениях, теплоотдача отопительно-вентиляционных систем, а также параметры воды из обратной линии сети теплоснабжения.

Третья группа включает параметры, характеризующие условия протекания процесса передачи тепловой энергии.

В общем случае состояние отопительно-вентиляционных систем характеризуется всеми переменными. Для целей управления из всей совокупности переменных можно использовать лишь часть. Эти переменные можно разбить на две группы. В первую группу включим те переменные, которые можно целенаправленно изменять в процессе управления. Вторую группу составят переменные, которые можно измерить и использовать при формировании управляющего воздействия, но сами они при этом целенаправленно изменяться не могут. Их необходимо учитывать при управлении, но активно влиять на них невозможно.

Из управляемых переменных выбирают в качестве управляющих те, целенаправленное изменение которых технически возможно и существенно влияет на показатели управления.

Критерием оптимальности управления отопительно-вентиляционными системами является минимум приведенных затрат по поддержанию требуемых условий воздушной среды.

Для отопительно-вентиляционных систем наилучший технологический режим не может быть задан заранее, так как его выбор зависит от факторов, информация о которых изменяется в течение времени. К таким факторам относятся температура наружного воздуха, скорость и направление ветра, солнечная радиация, температура и давление теплоносителя в теплопроводе, идущем от источника тепла, изменение режима работы оборудования, находящегося в помещениях, и др.

Для рационального управления необходимо, во-первых, найти оптимальную программу управления работой отопительно-вентиляционных систем, во-вторых, регулировать тепловой режим, используя работу отопительно-вентиляционных систем как задающее воздействие.

Конструктивно системы отопления и вентиляции могут быть решены по-разному, но в помещениях промышленных зданий, требующих обогрева и устройства приточной вентиляции, в основном применяется воздушное отопление, совмещенное с вентиляцией. Важной особенностью этой системы отопления является отсутствие большого числа громоздких и металлоемких отопительных приборов, так как горячий воздух передает аккумулированное им тепло непосредственно отапливаемому помещению, смешиваясь с внутренним воздухом. Для воздушного отопления характерно также повышение санитарно-гигиенических показателей воздушной среды помещений. Могут быть обеспечены подвижность воздуха, благоприятная для нормального самочувствия людей, равномерность температуры помещения, а также смена, очистка и увлажнение воздуха.

Максимальная температура воздуха при подаче его в помещение на высоту более 3,5 м от пола составляет 70 °С, на высоту 3,5 м от пола и на расстояние более 2 м от рабочего места - 45 °С.

Системы воздушного отопления, совмещенные с приточной вентиляцией, бывают центральными, вентиляторными и канальными. По качеству приточного воздуха они могут быть подразделены на рециркуляционные (с полной и частичной рециркуляцией), прямоточные и рекуперативные (рис. 4). Рециркуляционные системы действуют в различных режимах: полная и частичная смена воздуха, полная рециркуляция воздуха. Эти системы могут работать как чисто вентиляционные, отопительно-вентиляционные и чисто отопительные в зависимости от количества забираемого воздуха снаружи и температуры нагрева воздуха в калорифере. Прямоточные системы осуществляют полную смену воздуха в помещении, так как весь воздух, подаваемый системами, забирается снаружи. Эти системы применяют в тех случаях, когда требуется вентиляция в объеме, не меньшем, чем объем воздуха, необходимый для создания должного отопительного эффекта. Рекуперативные системы используют тепло уходящего воздуха, что дает возможность экономить тепловую энергию.

Воздушное отопление, совмещенное с вентиляцией, применяемое в производственных помещениях, состоит из системы подачи теплоносителя, приточных камер и системы воздухораздачи. Тепловую энергию в виде воды или пара от источника тепла (ТЭЦ, районная тепловая станция, котельная предприятия) передают к отопительно-вентиляционным системам по тепловой сети. Гораздо реже используют электроэнергию в качестве теплоносителя вследствие ее большой стоимости. Системы отопления и вентиляции присоединяют к источникам тепла, как правило, через тепловые пункты. Не рекомендуется непосредственное присоединение из-за больших колебаний тепловой нагрузки источника.

Рис. 4. Принципиальные схемы воздушного отопления, совмещенного с приточной вентиляцией

а - рециркуляционная; б - прямоточная; в - рекуперативная; 1 - калорифер; 2 - воздухо-воздушный рекуператор; 3 - канал горячего воздуха; 4 - канал внутреннего воздуха; 5 - канал наружного воздуха

 

Глава 2. Программное ПО системы


Программное обеспечение ПО системы подразделяется на общее ПО и специальное ПО.

Базовое [основными составляющими которого являются одна или несколько операционных систем (ОС), система автоматизации программирования, система функционального контроля] - часть ПО, поставляемая со средствами вычислительной техники. К базовому ПО относятся необходимые в процессе функционирования и развития системы программы, программы для автоматизации разработки программ, компоновки ПО, организации функционирования комплекса вычислительных средств и другие служебные и стандартные программы (организующие и диспетчерские программы, транслирующие программы, библиотеки стандартных программ и др.).

Рис. 5. Программное обеспечение системы

Специальное ПО - часть ПО, разрабатываемая или заимствованная из соответствующих фондов при создании конкретной системы и включающая программы реализации основных (управляющих и информационных) и вспомогательных (сервисных дистанционных) функций.

Информационное обеспечение включает системы классификации и кодирования используемой в АСУ ТРП информации, нормативно-справочную и текущую информацию, характеризующую состояние ТОУ и КТС системы и образующую массивы данных и документов.

Организационное обеспечение представляет совокупность технических документов с описаниями функциональной, технической и организационной структур системы, а также инструкций, определяющих функционирование оперативного персонала в системе.

Оперативный персонал автоматизированной системы управления подразделяется на: группу (в частном случае одного) технологов-операторов, осуществляющих оперативный контроль состояния и функционирования ТОУ и КТС, а также управление ТОУ с использованием текущей информации о ТОУ и КТС и рекомендаций по рациональному управлению, выработанных КТС;

эксплуатационный персонал, обеспечивающий правильность функционирования КТС.

Из основных классификационных признаков, обеспечивающих выбор систем-аналогов на ранних этапах разработки системы, оценку необходимых ресурсов при планировании разработки, оценку качества (научно-технического уровня) и относительных капиталовложений на создание системы, обычно рассматривают следующие:

уровень, занимаемый рассматриваемым ТОУ и его автоматизированной системой управления в организационно-производственной структуре предприятия (АСУ нижнего уровня, верхнего уровня, многоуровневые);

характер протекания управляемых технологических процессов во времени (непрерывный, непрерывно-дискретный, дискретный);

условную информационную мощность, определяемая числом измеряемых или контролируемых технологических переменных (наименьшая - от 10 до 40 переменных; малая - от 41 до 160; средняя - от 161 до 650; повышенная - от 651 до 2500; большая - от 2501 (верхнее значение числа переменных не ограничивается));

функциональную надежность (уровень минимальный, средний, высший);

тип функционирования, характеризуемый совокупностью автоматически выполняемых информационных и управляющих функций системы (информационный, локально-автоматический, советующий, автоматический).

В соответствии с перечисленными классификационными признаками рассматриваемые автоматизированные системы управления тепловым режимом помещений производственных зданий могут представлять либо автономные АСУ (одноуровневые или многоуровневые с выделением подсистем по функциональному или структурному признаку), либо являться подсистемами АСУ более высоких уровней (например, подсистемой АСУЭ - энергетическим хозяйством предприятия).

Рис. 6. Общий вид алгоритма функционирования системы

 

Глава 3. Общий алгоритм функционирования системы


Общий алгоритм функционирования системы управления должен представлять собой логическую схему включения в работу в той или иной ситуации, определенной последовательности частных алгоритмов, выполняющих следующие основные операции:

) получение информации о входных воздействиях на объект управления и о результатах управления;

) анализ и обработка полученной информации;

) принятие решения;

) выдача управляющего воздействия в канал управления.

Блок-схема общего алгоритма функционирования системы управления представлена на рис. 6.

Общий алгоритм функционирования АСУ ТРП предполагает циклический характер его работы. В начале каждого цикла управления должен происходить опрос датчиков: измеряемых нерегулируемых параметров - температуры и влажности наружного воздуха, скорости и направления ветра, атмосферного давления, солнечной радиации, температуры и давления пара в тепловой сети; измеряемых выходных параметров, характеризующих тепловой режим, - температуры воздуха, относительной влажности воздуха, скорости движения воздуха в рабочих зонах; измеряемых выходных параметров, по которым непосредственно или расчетом можно определить эффективность управления, - температуры и давления воды в обратных трубопроводах, расхода теплофикационной воды, расхода электроэнергии; регулируемых параметров, которые могут изменяться соответствующими исполнительными механизмами, - температуры приточного воздуха, температуры воды после подмешивающих насосов, Количество приточного воздуха.

Эта информация через преобразователи в цифровой форме поступает в запоминающее устройство управляющей вычислительной машины.

Полученную информацию обрабатывают в управляющей вычислительной машине специальными программами, моделирующими тепловое поведение здания и оптимизирующими требуемое поступление тепла от системы отопления и вентиляции для поддержания заданного теплового режима. При необходимости изменения теплового режима, установленного в предыдущем цикле, вырабатываются необходимые сигналы, которые через концентратор, подстанции и преобразователи поступают на управляющие органы исполнительных механизмов регулирования.

Обслуживающий персонал может в любой момент времени получить на экране пульта управления данные по любой точке объекта и работе системы в целом и вмешаться в работу системы. Для этого существует второй контур системы, прерывающей при необходимости описанный выше замкнутый процесс по приказу оператора. В этом случае оператор берет управление на себя, но его действия контролируются системой. Если действия оператора приводят к возникновению аварийной ситуации, то система предупреждает об этом оператора. Данные об измерениях и вычислениях, проведенных на ЭВМ, по запросу оператора могут в любой момент времени выданы на печать. По этой выдаче анализируется работа отопительно-вентиляционной системы, эффективность использования оборудования, энерго- и теплопотребления, экономия оборудования и экономия энергии. При этом могут быть представлены данные за какой-либо отрезок времени как по группам избранных точек, так и по всем точкам.

Так как тепловые процессы в здании в целом изменяются медленно, то в системе выбран синхронный принцип связи УВК с объектом в реальном масштабе времени. Время, затрачиваемое на преобразование и ввод измерительной информации в УВК, значительно меньше периода колебаний в управляемом процессе, поэтому считается, что измерительная информация вводится как бы одновременно.

Процесс управления следует разбить на циклы по 10 - 15 мин. УВК постоянно находится в режиме ожидания, Запуск цикла осуществляется от электронных часов в УВК - через устройства прерывания.

Математическая модель и алгоритм расчета теплового режима помещения, предназначенные для использования в системах управления, по сравнению с моделью для проектирования, имеют определенные особенности. К моделям предъявляются два требования:

) необходимость высокой точности численного моделирования теплового режима, так как только на этой основе возможно обеспечение качественного управления тепловым режимом;

) ограничения на программу для УВК по объему и времени вычислений, так как УВК, на которой реализуется математическая модель, имеет определенные характеристики по быстродействию и памяти. Прежде всего это связано с экономической обоснованностью введения всей системы автоматизированного управления. Затраты на мощную УВК могут свести на нет эффект от экономии энергии за счет введения системы.

Необходимость одновременного выполнения этих требований заставляет отказаться от универсальной математической модели и перейти к специализированной модели. Такая модель позволяет при сокращении объема вычислений не только не потерять точность моделирования теплового режима, но и в результате использования экспериментальных данных повысить эту точность в сравнении с универсальной моделью.

Исходным материалом для разработки специализированной модели служит универсальная модель. Можно указать несколько направлений, по которым может быть осуществлено ее «сужение» (до специализированной модели):

) сокращение числа независимых переменных (в задаче управления это входные параметры) путем перевода их в фиксированные параметры расчетной модели. В модели для управления выпадает группа данных, касающихся геометрических размеров помещений здания; группа данных, характеризующих размеры и теплофизические свойства ограждающих конструкций, и многие другие;

) совершенствование алгоритма вычислений в направлении сокращения времени вычислений и повышения точности результатов на основе конкретизации постановки задачи. Большая определенность постановки задачи в случае специализированной модели во многих случаях дает возможность использовать более эффективные вычислительные методы;

) повышение точности моделирования теплового режима за счет использования экспериментальных данных. Здесь очень много возможностей: от простого введения в расчет в качестве параметров характеристик, полученных при натурных измерениях в данном помещении, до уточнения в результате проведения измерений некоторых допущений в исходной модели. Большое значение имеет введение в расчетную модель уточненных данных, касающихся величины коэффициентов теплообмена на поверхности ограждений. По результатам измерений может быть в значительной мере повышена точность учета теплоаккумулирующей способности оборудования.

Разработка математической модели теплового режима помещений для управления состоит из следующих этапов: сбор и обработка исходных данных, включающая изучение проектной документации и особенностей технологических процессов, происходящих в помещении; разработка «точной» математической модели теплового режима помещения и метода ее реализации на основе использования ЭВМ; оценка методом численного эксперимента вклада отдельных составляющих теплового баланса помещения и различных теплотехнических параметров на величину целевой функции; разработка с учетом результатов выполненного численного эксперимента предварительной математической модели теплового режима помещения для управления; обоснование математической модели для управления на основе сопоставления результатов расчета по ней с результатами расчета по «точной» модели; идентификация математической модели по результатам натурных экспериментов; повышение адекватности математической модели в процессе ее функционирования.

Современное здание следует рассматривать как сложную энергопотребляющую систему с многообразием составляющих его элементов, в которых протекают различные по физической сущности процессы поглощения, превращения и переноса энергии. Для построения и реализации математических моделей сложных энергетических объектов используется методология системного подхода. В качестве основных элементов здания как единой теплоэнергетической системы принимаются: совокупность показателей наружного климата, лучистый теплообмен в помещении, конвективный теплообмен в помещении (в том числе с учетом источников тепла), тепло- и массоперенос через ограждающие конструкции, теплоинерционность оборудования, находящегося в помещении, тепловой режим помещения в целом.

Систему элементов и связей, моделирующую тепловой режим помещения, представляют в виде графа, в котором каждому элементу помещения как единой теплоэнергетической системы соответствует вершина графа, а связи между элементами помещения или с внешними элементами - дуга графа. На рис.7 показана упрощенная схема теплового баланса помещения, а на рис. 8 - соответствующий ей граф. Не снижая дальнейшей общности рассуждений, граф на рис.8 включает одну наружную стену, одну внутреннюю стену и одно заполнение светового проема. Соединение смежных вершин графа не одной, а двумя одинаково направленными дугами отражает наличие двух связей, осуществляемых при помощи разных способов передачи энергии.

Рис. 7. Схема теплового баланса производственного здания

1 - теплопотери через ограждающие конструкции (стены, покрытия, перекрытия); 2 - теплопоступления от системы воздушного отопления; 3 -теплопоступления от технологического оборудования; 4 - теплопотери через заполнение светового проема; 5 - теплопотери за счет воздухообмена

Рис. 8. Граф теплового баланса помещения

I - наружное ограждение; II - внутреннее ограждение; III - заполнение светового проема; IV - внутренний воздух; V - вентиляция; VI - внутреннее оборудование; 2, 4, 6, 18 - теплообмен конвекцией между внутренними поверхностями ограждения, а также между поверхностью оборудования и внутренним воздухом; 3, 5, 7 - потоки тепла за счет фильтрации через ограждения; 9, 10, 11, 12, 13, 14 - лучистый теплообмен внутренних поверхностей ограждений между собой, а также с оборудованием; 16 - конвективное тепло, непосредственно передаваемое воздуху помещения; 1,8, 15, 17 - связи между элементами помещения и внешними элементами

 

Заключение

автоматизированный управление тепловой модель

Автоматизированная система управления тепловым режимом помещения организационно может входить в общую иерархическую структуру управления [при наличии автоматизированной системы управления производством (АСУП)], являясь, например, подсистемой автоматизированной системой управления хозяйством предприятия (АСУЭ) или может представлять автономную автоматизированную систему управления.

Разработка автоматизированной системы управления тепловым режимом помещения может выполняться независимо от остальных систем, однако в организационном отношении необходимо предусматривать связь с более высокими уровнями управления для обеспечения организационной совместимости систем, что особенно важно, когда характер основного технологического производства существенно зависит от воздушно-теплового режима производственных помещений.

Функциональные задачи (в соответствии с информационными, управляющими и вспомогательными функциями автоматизированной системы) подразделяются на следующие группы:

) сбор, обработка, хранение и регистрация информации о состоянии ТОУ;

) контроль переменных, описывающих состояние ТОУ;

) формирование управляющих воздействий, обеспечивающих оптимальное (в соответствии с принятым критерием оптимальности) управление тепловым режимом помещений;

) организация связи оператора с управляющей частью автоматизированной системы управления;

) общесистемные задачи (организация связи между уровнями управления и ТОУ).


 

Список литературы


1) http://mptrad.ru/gsmcontrolheatingsystem.html

)Пособие по проектированию автоматизированных систем управления микроклиматом производственных зданий (Москва Стройиздат 1989)

) http://www.syst.ru/vnedren/sau_mkt.htm

) http://www.teplitsi.ru/mikroklimat

Похожие работы на - Система автоматического управления тепловым режимом

 

Не нашли материал для своей работы?
Поможем написать уникальную работу
Без плагиата!
Без нейросетей!