Технология изготовления кефира

  • Вид работы:
    Курсовая работа (т)
  • Предмет:
    Другое
  • Язык:
    Русский
    ,
    Формат файла:
    MS Word
    257,85 Кб
  • Опубликовано:
    2015-05-23
Вы можете узнать стоимость помощи в написании студенческой работы.
Помощь в написании работы, которую точно примут!

Технология изготовления кефира

СОДЕРЖАНИЕ

Введение

. Технология производства вареной колбасы

1.1 Анализ современных технологий производства

.2 Обоснование и описание технологической схемы производства готовой продукции

1.3 Продуктовый расчет

.4 Контроль технологических процессов производства

1.5 Безопасность и экологичность производства

1.6 Подбор оборудования и компоновочные схемы его размещения

. Технология производства кефира

2.1 Технологический процесс производства кефира

Выводы и предложения

Библиографический список

Приложения

ВВЕДЕНИЕ

Рынок мясных продуктов является одним из крупнейших рынков продовольственных товаров. Он имеет весьма устойчивые традиции, его состояние оказывает существенное влияние на другие рынки продуктов питания. За долгие годы сформировалась определенная система производства и распределения подобных продуктов.

Мясная промышленность всегда относилась к одной из важнейших, показатели ее развития составляли предмет пристального интереса со стороны государства. Мясные продукты в виде тех или иных товарных групп являлись частью государственного стратегического запаса. Несмотря на дефицит мясных продуктов в течение ряда лет, их значение для обычного потребительского рациона весьма велико. Если жители европейских стран, не испытывают недостатка в подобных продуктах, и по месту в рационе многие мясные продукты отодвинулись на второй план, то в России мясо, а еще чаще колбаса, уступают по важности в семейном рационе только хлебу и картофелю. Хотелось бы также отметить, что всегда мясная промышленность теснейшим образом была связана с положением в сельском хозяйстве.

Мясные товары являются агропродовольственными продуктами животного происхождения. Известно, что для нормальной жизнедеятельности организма человека в питании его должны содержаться наборы незаменимых аминокислот, большую часть которых поставляют мясные продукты.

Производство мяса и мясопродуктов требует комплексного рационального использования сырья, важным фактором которого является сохранение исходного качества продуктов в процессе переработки.

При переработке скота и птицы создаются значительные ресурсы побочного сырья, которые ещё недостаточно полно используются на пищевые цели.

Усиливает пищевую ценность продуктов и использование растительных белков. Решение этих задач возможно на современном производстве колбасных изделий, способном комплексно использовать имеющиеся ресурсы.

Так, в настоящее время важным направлением мясоперерабатывающей промышленности является выработка колбас и копченостей с увеличенным сроком хранения, в удобной расфасовке и упаковке, мелкокусковых мякотных полуфабрикатов, деликатесных и ветчинных консервов с наполнителем из растительного сырья, дешёвых мясных продуктов (из низкосортного мяса), удовлетворяющих жизненно важные потребности в мясе и птице и др.

Производство качественных мясных продуктов - это комплексная задача. Ее решение зависит от совершенствования комплексной и безотходной технологий переработки сельскохозяйственного сырья, дальнейшей автоматизации и механизации сельского хозяйства и перерабатывающих отраслей, снижение сырьевых, энергетических и трудовых затрат [1].

В современных условиях жесткой рыночной конкуренции производители колбасной продукции все больше внимания уделяют ее качеству, поскольку имеющийся на продовольственном рынке огромный ассортимент колбасных изделий отечественного и зарубежного производства дает возможность потребителю широкого выбора при покупке необходимого товара.

Целью настоящей курсовой работы является оценка технологии производства колбас и ее характеристика, на примере вареной колбасы «Докторская». Исходя из цели, можно выделить следующие задачи: 1) изучить технологию производства колбас, 2) разработать технологическую линию производства колбас.

. ТЕХНОЛОГИЯ ПРОИЗВОДСТВА ВАРЕНОЙ КОЛБАСЫ

1.1 Анализ современных технологий производства

Значительную долю в объемах выпускаемой современной мясоперерабатывающей промышленностью колбасной продукции занимают эмульгированные мясные продукты широкого ассортимента, такие как сосиски, сардельки, колбаски-гриль, вареные и ветчинно-рубленые колбасы, а также другие комбинирование мясные изделия, включающие шпик, шротированное мясо, кусочки субпродуктов, овощей и т.п. Несмотря на имеющие место технологические особенности их производства, качество готовой продукции, ее внешний вид и другие потребительские свойства связаны, прежде всего, с образованием в процессе их производства стабильных эмульсий.

Основу эмульгированных мясопродуктов составляют тонкоизмельченное мясо, вода и жир, причем последние диспергированы и находятся в коллоидном состоянии, а белок (белки мяса, белковые добавки) и вода образуют пространственный каркас (“скелет”), удерживающий жир. Возможность получения эмульсий и их стабильность зависят от многих факторов, основные из которых:

вид, состав и функционально-технологические свойства компонентов рецептуры;

количество солерастворимых белков в системе и степень их участия в процессе эмульгирования;

соотношение “жир : белок : вода” в эмульсии;

последовательность внесения ингредиентов рецептуры в куттер при эмульгировании и соблюдение температурно- временных параметров процесса.

Обеспечение стабильности эмульсии жира в воде является одной из наиболее сложных технологических проблем при изготовлении подобных мясных фаршевых продуктов. Для придания фаршевой системе агрегативной устойчивости в нее вводят различные поверхностно-активные вещества (эмульгаторы) животного и растительного происхождения. Как правило, в качестве таких эмульгаторов производители широко применяют различные белковые добавки, использование которых, в свою очередь, способствует повышению пищевой ценности готовой продукции, снижению ее себестоимости.

Имеющийся уникальный опыт применения активированных жидких систем в технологии производства мясных изделий позволил научно и экспериментально обосновать целесообразность применения активированной различными способами воды для повышения устойчивости водо-жировых эмульсий в технологии производства эмульгированных мясопродуктов. Вода в процессе активации приобретает уникальные свойства, связанные с ее изменениями на структурном - наноуровне, а применение жидких систем на основе такой воды позволяет осуществлять безреагентное, экологически-безопасное регулирование функционально-технологических и качественных свойств фаршевых систем и готовой продукции, соответственно.

По результатам проведенных исследований разработана новая технология производства вареных колбас повышенной экологической чистоты и биологической безопасности. Готовая продукция отличается привлекательным внешним видом и высокими органолептическими показателями. Выход готовой вареной колбасы на 9,8 % выше, чем при традиционных способах производства. Следует отметить, что в данной технологии рецептурное количество поваренной соли было уменьшено на 0,15 % вследствие того, что применение кавитационной дезинтеграции способствует повышению растворимости воды и более интенсивной диссоциации соли на ионы, без влияния на вкус готовой продукции и без ухудшения ее микробиологических показателей. Такая продукция может быть рекомендована людям с проблемами обмена веществ [2].

Ассортимент вареных колбас включает колбасы высшего, 1-го и 2-го сортов. Высшие сорта вареных колбас, как правило, содержат больше шпика и свинины, чем колбасы 1-го и 2-го сорта, в них нет крахмала и муки, они имеют более светлую окраску фарша.

Колбасы высшего сорта. Эти колбасы изготовляют из говядины высшего сорта, нежирной свинины и хребтового шпика. Содержание влаги в них 53-65 %. В их ассортимент входят следующие колбасы: Любительская, Любительская свиная, Русская, Столичная, Молочная, Докторская, Телячья, Эстонская, Краснодарская, Диабетическая, Говяжья. Они отличаются соотношением основных видов сырья в рецептуре, особенностями вкуса и запаха, размером и формой кусочков шпика, рисунком в разрезе, формой и размером батона, характером вязки.

Любительская колбаса содержит говядину высшего сорта, нежирную свинину (40 %) и хребтовый шпик (25 %) в виде кубиков 6X6 мм. Батон узкий, прямой, с одной перевязкой.

Любительскую свиную колбасу изготовляют из нежирной свинины и шпика, в фарш добавляют чеснок.

Русскую колбасу вырабатывают из говядины высшего сорта (50 %), полужирной свинины (25 %) и шпика (25 %). Шпик нарезают кубиками размером 6Х6 мм. Батон прямой, узкий, с одной перевязкой.

Столичная колбаса кроме говядины высшего сорта (15 %) содержит нежирную и полужирную свинину (65 %), а также полутвердый шпик (20 %), нарезанный кусочками 8X12 мм. После охлаждения Столичную колбасу подкапчивают для повышения стойкости при хранении и усиления аромата. Батон широкий, овальный, с одной поперечной и продольной перевязками.

Молочную колбасу готовят из говядины 1-го сорта (36 %), свинины (60 %), с добавлением яиц (2 %) и сухого молока (3 %). Фарш однородный, без кусочков шпика, форма батона узкая, прямая, с двумя перевязками.

Докторская и Диабетическая колбасы также имеют однородный фарш без кусочков шпика. В состав Докторской колбасы входят говядина высшего сорта (25 %), полужирная свинина (70 %), яйца или яичный меланж (3 %) и сухое молоко (2 %). Батон прямой, узкий с двумя перевязками.

Фарш Диабетической колбасы кроме говядины высшего сорта (20 %) содержит телятину (20 %), полужирную свинину (55 %), яйца (2 %) и сливочное масло (3 %). Батон прямой узкий с тремя перевязками, имеет отрезок шпагата на конце длиной до 7 см.

Телячья, колбаса вырабатывается из говядины высшего сорта (25 %), нежирной и жирной свинины (45 %), шпика (18 %), говяжьих языков (10 %) и яиц.

Краснодарская колбаса имеет такую же форму батона, как и Телячья. Фарш кроме говядины высшего сорта (30 %) включает полужирную свинину (15 %), грудинку (25 %) и язык (30 %), нарезанный кубиками 6X6 мм.

Говяжью колбасу готовят из говядины высшего (40 %) и 1-го (35 %) сортов с добавлением говяжьих и свиных мозгов (20 %) и яиц или яичного меланжа (5 %).

Эстонская колбаса содержит говядину 1 - го сорта, полужирную свинину и твердый шпик. В фарш добавляют крахмал или пшеничную муку (5 %).

Колбасы 1-го сорта. Эти колбасы изготовляют в основном из говядины 1-го сорта, полужирной свинины и бокового шпика. От вареных колбас высшего сорта фарш колбас 1-го сорта отличается более грубой консистенцией, перечно-чесночным вкусом и ароматом. Они содержат 63-68 % влаги. Вырабатывают колбасы 1-го сорта следующих наименований: Отдельная, Отдельная баранья, Московская, Свиная, Столовая, Диетическая, с сорбитом, Обыкновенная.

Московская колбаса содержит говядину 1-го сорта (81 %) и полутвердый шпик, нарезанный кусочками, размером 6X6 мм. В фарш добавляют сухое молоко (1 %). Форма батона прямая, узкая. Батон имеет две перевязки.

Колбасы Диетическую, Свиную, Столовую, Обыкновенную и с сорбитом из фарша изготовляют без шпика. Диетическую колбасу вырабатывают из говядины 1-го сорта (90 %) с добавлением маргарина (7 %) и сухого обезжиренного молока (3 %). Цвет фарша у этой колбасы темнее, чем у других видов колбас, так как он не содержит свинины. Батон узкой, прямой формы с тремя перевязками.

Столовая колбаса готовится из говядины 1-го сорта (40 %), полужирной свинины и сухого молока (1 %). Батон узкий, прямой, без перевязок.

Свиную колбасу вырабатывают из полужирной свинины: фарш крупнокрошеный (размер крошки 12X12 мм). Цвет фарша более светлый, чем у колбас других наименований, вкус более острый, так как продукт содержит больше перца и чеснока. Батон прямой, узкий, с четырьмя перевязками.

Колбаса с сорбитом кроме говядины 1-го сорта и сухого молока содержит сорбит или ксилит (2 %).

Колбасы 2-го сорта. Эти колбасы вырабатывают из говядины 2-го сорта, мясной обрези, полужирной свинины и шпика или курдючьего жира. Содержание влаги в них - до 72 %. Наиболее распространена Чайная колбаса. В ее состав входят говядина 2-го сорта (70 %), свинина (20 %) и шпик (10 %). Батон узкий, прямой, с двумя перевязками.

Для производства колбасных изделий допускается сырье, признанное годным к использованию на пищевые цели в соответствии с требованиями действующих правил осмотра убойных животных и ветеринарно-санитарной экспертизы мяса и мясных продуктов. Перед выгрузкой сырья, поступившего с других предприятий, тщательно проверяют сопроводительные документы (ветеринарное свидетельство формы №2, удостоверение о качестве, сертификат), в которых указывают санитарное благополучие и качество доставленного мяса. После ознакомления с документами специалисты <#"795497.files/image001.gif"> обследованных объектов свыше 300 микроорганизмов немедленно проводят тщательную санитарную обработку с повторными микробиологическими исследованиями. Микробиологические исследования колбасных изделий выполняют согласно действующим ГОСТам и инструкциям.

Обвалку производят вручную в помещениях с температурой воздуха до 12 ºС. При обвалке нельзя допускать накопление обработанного сырья, т. к. поверхность разреза мышечной ткани представляет собой хорошую питательную среду для развития микрофлоры.

Контроль <#"795497.files/image002.gif"> (1)

где А - количество одного из видов сырья, требуемое в смену, кг;

В - количество готовых изделий, вырабатываемых в смену, кг;

С - выход готовых изделий к массе сырья, % (по данным приложения С=108 %).

 

Проводим расчет нужного количества говядины I сорта:

 

Проводим расчет нужного количества полужирной свинины:

 

Далее рассчитываем количество говядины и свинины на костях для производства готовых изделий по формуле (2):

 (2)

технология кефир экологичность оборудование

А - количество жилованной говядины или свинины в смену, кг;

F - выход жилованной говядины или свинины к массе мяса на костях, %

Находим сколько необходимо говядины жилованной I сорта за смену (используя приложение 12 в методических указаниях):

 

Находим сколько необходимо свинины жилованной полужирной за смену (используя приложение 12 в методических указаниях):

 

Находим количество говядины первой категории без вырезки, необходимого для получения 206,7 кг жилованного мяса (используя приложение 9 в методических указаниях):

 

Находим количество говядины на кости, необходимого для получения 328,6 кг жилованного мяса первой категории (используя приложение 10 методических указаний):

 

Находим количество свинины на кости, необходимого для получения 647,5 кг жилованного мяса первой категории (используя приложение 10 в методических указаниях):

 

Схема разделки мясного сырья в приложении Б по ГОСТ Р 52601-2006 и ГОСТ Р 52986-2008.

Общий выход отрубов говядины I сорта составляет 88 % массы полутуши. К этим отрубам относятся: тазобедренный, поясничный, спинной, лопаточный, плечевой, грудной. Известно, что масса полутуши говядины составляет 300 г, следовательно, для производства колбасы вареной «Докторская», сменной выработкой 400 кг, необходима примерно 1 полутуша говядины.

Общий выход отрубов свинины первого сорта составляет 94 % массы полутуши. К этим отрубам относятся: лопаточная часть, спинная часть и грудинка. Известно, что масса полутуши свинины 80 кг, выходит, что для производства выбранной колбасы, необходимо примерно 3 полутуши свинины.

Схема разделки туш представлена в приложении Б, в котором отмечены необходимые отруба для нашего производства.

Проведем расчет потребности в специях и вспомогательных материалах.

Количество соли и специй, требуемое в смену определяем по формуле (3):

 (3)

где G - требуемое количество соли (специй) для данного вида изделий, требуемое в смену, кг;

А - общее количество основного сырья для данного вида изделий, требуемое в смену, кг;

I - норма расхода соли (специй) согласно рецептуре на 100 кг общего количества основного сырья, кг.

Количество соли и специй берем согласно рецептуре на 100 кг фарша.

 

 

 

 

Находим количество льда и воды, необходимого для производства колбасы вареной «Докторская», используя приложение 17 в методических указаниях:

 

Находим количество шпагата необходимого в смену, используя приложение 18:

 

Находим количество оболочек, необходимых в смену, используя приложение 19 в методических указаниях, будем использовать полиамидные оболочки (биалон):

 

Найдем технологические и энергетические затраты с помощью пропорции, используя приложение 22 в методических указаниях:

 

 

 

 

 

 

Проведем расчет необходимых площадей для производства данного объема продукции. Площадь сырьевого цеха рассчитываем, исходя из площади, необходимой для нормальной работы обслуживающего персонала (норма площади на одного рабочего 8-10 м2), размещения и обслуживания оборудования (напольные весы 18 м2) и площади, занятой камерой размораживания.

Площадь камеры размораживания определяем по формуле (4):

 (4)

где  - площадь камеры размораживания;

,2 - коэффициент запаса площади для зачистки туш;

А - количество мяса на костях, поступающих в сырьевое отделение в смену, кг;

t - длительность размораживания, суток;

G - норма нагрузки, кг/м3 (для мяса G=100 кг/м3)

Поскольку длительность размораживания мяса в паро-воздушной смеси составляет около 24 часов, для ритмичной работы цеха необходимо иметь не менее двух камер. Соответственно удваивается и площадь камеры размораживания.

Находим площадь размораживания:

 

Находим общую площадь камеры:

 

Площадь отделения посола и выдержки мяса определяют с учетом габаритов машин и продолжительности посола и выдержки.

По нормативным условиям работы, площадь на один волчок и мешалку 18 м2, на санитарную обработку тары - 18 м2.

Площадь отделения выдержки посоленного мяса и излишек шпика определяем по формуле (5):

 (5)

где  - площадь отделения выдержки посоленного мяса, м2;

К - число смен работы колбасного цеха;

G - норма нагрузки, кг/м2 (для мяса и шпика G=700 кг/м2);

А1 - количество мяса в смену, необходимое для производства продукции, кг;

t1 - длительность выдержки мяса и шпика, суток.

 

Находим общую площадь отделения посола:

 

Площадь цеха по приготовлению фарша (машинное отделение) рассчитываем по площади, занимаемой оборудованием. Принимаем, что волчок занимает 18 м2, куттер с чашей вместимостью 80, 120, 160 л - 18 м2, вместимостью 270 л - 36 м 2; шпигорезка ( включая стол для приготовления шпика) - 18 м2, воздухоохладитель - 36 м2. Для приготовления чешуйчатого льда принимают площадь 18 м2.

Находим площадь цеха по приготовлению фарша:

 

Площадь шприцовочного отделения рассчитываем, исходя из площади на один шприц 54-72 м2, включая стол для вязки колбас и места для транспортировки и размещения рам.

Найдем площадь шприцовочного отделения, включая шприц, стол и место для транспортировки:

Площадь осадочного отделения определяем с учетом количества рам, размещаемых в строительном квадрате.

В зависимости от размеров в одном строительном квадрате (36 м2) размещаем 20 рам размером 1000х1000 (мм). Длительность осадки вареных колбас 2 часа.

Площадь камеры охлаждения вареных колбас определяют, исходя из нормы размещения рам в строительном квадрате, или из нормы нагрузки на 1 м3/кг и длительности охлаждения продукции (формула 6).

 (6)

где  - площадь охлаждения, м2;

n - количество рам с колбасными изделиями, поступающее на охлаждение в смену;

t - длительность охлаждения, суток (данные таблицы 2 методических указаний);

р - норма размещения рам в одном строительном квадрате,шт.

 

 

За основу берем большую цифру, т.е. 5м2.

Площадь камеры хранения вареных колбас рассчитывают по формулам. Длительность хранения вареных колбас для расчета принимаем 24 часа. Для хранения продукции будем использовать камеру равную по объему камере охлаждения: 5м2.

В итоге площадь колбасного цеха равна сумме всех площадей:

 

Большое значение в планировании работы колбасного цеха имеет расчет потребности в рабочей силе. Количество рабочих в сырьевом цехе рассчитываем по формуле (7):

(7)

где  - количество рабочих в сырьевом цехе, чел.;

Y - количество перерабатываемого сырья в смену, кг;

Z - норма выработки за смену, кг в смену (нормы технологического проектирования предприятий мясной промышленности).

 

Также необходимо знать количество рабочих, обслуживающих расчетное количество машин в цехе (8):

=К/N (8)

где  - количество рабочих, обслуживающих расчетное количество машин в цехе, чел.;

К - расчетное количество машин в цехе;

N - норма обслуживания оборудования одним рабочим ( нормы технологического проектирования предприятий мясной промышленности).

 

1.4 Контроль технологических процессов производства

При изготовлении колбасных изделий на всех стадиях производства осуществляют входной и промежуточный контроль показателей качества и температуры объектов переработки, условий и режимных параметров технологического процесса, а также соблюдения рецептур. Наряду с технологическим контролем систематически проводят санитарно-микробиологический контроль производства согласно действующим инструкциям.

Нарушение входного контроля качества сырья и материалов, регламентируемых условий и режимных параметров на различных этапах производства, несоблюдение рецептур приводят к понижению качества готовой продукции и возникновению дефектов, препятствующих реализации.

Поступающее сырье и материалы подвергают входному контролю на соответствие их НД. На всех стадиях производства колбас осуществляется контроль температуры в камерах посола, термических камерах, камерах охлаждения готовой продукции и внутри батонов стеклянными жидкостными (нертутными), спиртовыми термометрами по гост 2498 со шкалой деления от 0 до 100 °С.

В автоматических термокамерах контроль температуры и влажности осуществляют автоматическими потенциометрами и электронными мостами, которые должны соответствовать требованиям, изложенным в ГОСТ 22261. Рекомендуется температуру внутри батонов контролировать термоэлектрическими термометрами с использованием потенциометра со шкалой до 100 °С. Взвешивание сырья при посоле и составлении рецептур производят на весах общего назначения по ГОСТ 14004, для статического взвешивания по ГОСТ 23676 или весовых дозаторах по ГОСТ 24619. Для взвешивания пряностей и материалов применяют настольные гирные и циферблатные весы по ГОСТ 23676.

Контроль относительной влажности воздуха в термических камерах должен осуществляться психрометрами аспирационными, гигрометрами или гигрографами метеорологическими.

Для контроля за соблюдение рецептуры и технологического режима при производстве колбас проводят анализы по определению массовой доли поваренной соли, жира, нитрита, общего фосфора, крахмала и микробиологических показателей периодически, но не реже одного раза в десять дней; белка, соответственно, не реже одного раза в 30 дней. Эти анализы проводят также требованию контролирующей организации или потребителя.

Контроль за содержанием пестицидов, антибиотиков, нитрозаминов, токсичных элементов и радионуклидов осуществляется в соответствии с порядком, установленном производителем продукции по согласованию с территориальными органами Госсанэпиднадзора и гарантирующим безопасность продукции.

Контроль за отсутствием патогенных микроорганизмов, в том числе сальмонелл проводят в производственных или других аккредитованных для выполнения этих анализов лабораториях, а также при инспекционном контроле в порядке государственного надзора за производством этих продуктов. При выявлении отклонений показателей качества от нормируемых значений хотя бы по одному из показателей по нему проводят повторные анализы удвоенного объема выборки, взятой из той же партии колбасы [5].

1.5 Безопасность и экологичность производства

Технологический процесс должен соответствовать требованиям безопасности ГОСТ 12.3.002, ОСТ 49 215-85 и ОСТ 49 176-81. Применяемое оборудование должно отвечать требованиям ГОСТ 12.2.003, ОСТ 27-00-216-75 и ОСТ 27-32-463-79 и правил техники безопасности и производственной санитарии для предприятий мясной промышленности. При работе с нитритом натрия должна соблюдаться «Инструкция по применению и хранению нитрита натрия», утвержденная в установленном порядке.

Содержание вредных веществ в воздухе рабочей зоны (окись углерода, кетоны, альдегиды, кислоты, пыль) не должно превышать ПДК и предусмотренных ГОСТ 12.1.005. Температура нагретых поверхностей камер (обжарочных и варочных) не должна превышать 45 С. Предельно допустимые нагрузки для женщин при подъеме и перемещении тяжестей вручную не должны превышать 15 кг - при подъеме и перемещении тяжестей при чередовании с другой работой, 10 кг при подъеме тяжестей на высоту более 1,5 м и подъеме и перемещении тяжестей постоянно в течение рабочей смены.

Суммарная масса грузов, перемещаемых в течение рабочей смены, не должна превышать 7000 кг. Рабочие должны быть обеспеченны средствами индивидуальной защиты в соответствии с типовыми нормами.

Охрана почвы от загрязнения бытовыми и промышленными отходами должна соответствовать требованиям «Перечня предельно допустимых концентраций (ПДК) и ориентировочно допустимых количеств (ОДК) химических веществ в почве» № 6229-91, утвержденного 19.11.91г. Контроль предельно-допустимых выбросов в атмосферу должен осуществляться в соответствии с ГОСТ 12.10.05 и требованиями Сан ПиН № 2.1.6.574-96 «Гигиенические требования» к охране атмосферного воздуха населенных мест» [6].

1.6 Подбор оборудования и компоновочные схемы его размещения

На сегодняшний день мясоперерабатывающая отрасль занимает одно из ведущих мест в пищевой промышленности российской экономики. Появившаяся конкуренция на рынке готовых изделий пищевой промышленности требует оптимального соотношения "цена/качество". Соответственно, на сегодняшний день существенно изменились и подходы к организации колбасного цеха, особенно при подборе технологического оборудования.

Оборудование для переработки мяса производится на многих заводах России, Украины и Белоруссии, в том числе, на предприятиях бывшего оборонного комплекса. В связи с этим, оборудование, выпускаемое по одной и той же документации, существенно отличается по качеству. Однако отечественное оборудование не всегда обеспечивает возможность выпуска готовых изделий необходимого ассортимента и качества. Поэтому на российском рынке в настоящее время достаточно много предложений иностранных фирм, которые могли бы удовлетворить потребности производителей пищевой продукции в расширении ассортимента. Но в большинстве случаев эти предложения недоступны массовому покупателю из-за высоких цен.

Своевременное проектирование предусматривает оснащение процессов производства мясопродуктов контрольно-измерительными приборами и средствами автоматизации.

В колбасном производстве автоматизируют следующие процессы: контроль и регулирование температуры и относительной влажности в холодильных камерах; весовое дозирование компонентов при составлении фарша; контроль качества колбасного фарша со шпиком; контроль и регулирование температуры и концентрации летучей дымовой смеси при обжарке и копчении колбас [7].

Для поточности линии производства вареной колбасы «Докторская» ниже подобрано необходимое оборудование.

Для обвалки и жиловки говядины и свинины применяем конвейер марки РЗ-ФЖ-2В производительностью 875 кг/ч.

Для непрерывного измельчения бескостного жилованного мяса при производстве фарша используем волчок марки ВФ-160 (для охлажденного мяса) производительностью 500 кг/ч.

Для тонкого измельчения всех сортов мяса и перемешивания его с добавочными компонентами подбираем куттер марки «Аlрinа», производительность которого составляет 550 кг/ч.

Для перемешивания основных компонентов выбираем фаршемешалку марки Л5-ФМ2У-335, производительность 650 кг/ч.

Для вакуумирования фарша и наполнения им колбасных оболочек используем вакуумный шприц марки «Идеал» типа U - 159 производительностью 545-1000 кг/ч.

Универсальная термокамера марки Sсhаllеr 4000 (2ед) используется для термообработки, сушки, варки и копчения колбас. Производительность 1000-1300 кг/8 ч.

Используем камеру холодильную, низкотемпературную марки КХН-6.

Для производства льда, который добавляется в фарш при куттеровании используем льдогенератор L-500 производительностью 500 кг/сут чешуйчатого льда.

Аппаратно-технологическая схема производства вареной колбасы «Докторская» представлена на рисунке 1.

Рисунок 1 - Аппаратно-технологическая схема производства вареной колбасы «Докторская»

-стол для ручной обвалки; 2-ленточный транспортер; 3-шнековый пресс; 4-тележка для транспортировки мышечной ткани; 5-автоматические весы; 6-волчок; 7-емкостях для созревания; 8-куттер; 9-фаршемешалка; 10-механический вакуумный шприц; 11-навеска колбас на рамы; 12-камера осадки; 13-тележка для транспортировки рам с колбасами; 14-обжарочный шкаф; 15-паровой варочный котел; 16-оросительная камера; 17-камера охлаждения.

План расстановки основного оборудования колбасного цеха представлен в приложении В.

. ТЕХНОЛОГИЯ ПРОИЗВОДСТВА КЕФИРА

.1 Технологический процесс производства кефира

Кефир резервуарным способом вырабатывают из цельного натурального нормализованного молока не ниже второго сорта, кислотностью не более 19 0Т, плотностью не менее 1,0278 кг/м3, с различной массовой долей жира, поэтому исходное молоко нормализуют до требуемой массовой доли жира. При нормализации цельного молока по жиру могут быть два варианта: жира в цельном молоке больше, чем требуется в производстве, и жира в цельном молоке меньше, чем требуется. В первом варианте жир частично отбирают путем сепарирования или к исходному молоку добавляют обезжиренное. Во втором варианте для повышения жирности исходного молока добавляют к нему сливки. Один из простейших способов нормализации по жиру - нормализация путем смешивания в емкости рассчитанных количеств нормализуемого молока и нормализующего компонента (сливок или обезжиренного молока) при тщательном перемешивании смеси.

Тепловая обработка и гомогенизация

Пастеризация молока производится с целью уничтожения вегетативных форм микрофлоры, в том числе патогенных. Наиболее распространенный способ в производстве кисломолочных продуктов - кратковременная пастеризация при температуре 85-87 0С с выдержкой в течение 5-10 мин. или при 90-92 0С с выдержкой 2-3 мин. с последующим охлаждением до температуры заквашивания. Режим пастеризации должен обеспечить получение заданных свойств готового продукта, в частности органолептических показателей (вкус, нужные вязкость и плотность сгустка). Высокие температуры пастеризации вызывают денатурацию сывороточных белков, при этом повышаются гидратационные свойства казеина. Это способствует образованию более плотного сгустка, который хорошо удерживает влагу, что препятствует отделению сыворотки при хранении.

Гомогенизация - это раздробление (диспергирование) жировых шариков путем воздействия на молоко значительных внешних усилий. В процессе обработки уменьшаются размеры жировых шариков и скорость всплывания. Происходит перераспределение оболочечного вещества жирового шарика, стабилизируется жировая эмульсия, и гомогенизированное молоко не отстаивается. В настоящее время применяют двухступенчатую гомогенизацию, исключающую слипание частичек жировых шариков на выходе из клапанной щели гомогенизирующей головки. Гомогенизация проводится при температуре 60-65 0С и давлении 15-17,5 МПа (125-175 атм). После пастеризации и гомогенизации смесь охлаждается до температуры заквашивания.

Заквашивание и сквашивание молока

При производстве кефира обычно применяют закваску, приготовленную на кефирных грибках. Основными представителями их являются молочнокислые палочки, молочнокислые стрептококки, в том числе ароматобразующие и молочные дрожжи. Случайная микрофлора зерен состоит из споровых палочек, уксуснокислых бактерий, молочных плесеней, пленчатых дрожжей, бактерий группы Coli.

Для приготовления кефирной закваски сухие кефирные зерна выдерживают в теплой воде (25-30 0С) в течение суток, меняя ее за это время 2-3 раза. После этого воду сливают, и набухшие зерна заливают теплым молоком, взятым в десятикратном количестве по отношению к объему грибков.

Для выработки кефира с характерным вкусом и прочной консистенцией необходимо использовать производственную закваску, выдержанную после сквашивания при температуре 10-12 0С в течение 12-24 час. Закваску, масса которой обычно составляет 5 % массы заквашиваемой смеси, вносят в смесь, охлажденную до температуры заквашивания. Смесь сквашивают при температуре 23-25 0С до образования молочно-белкового сгустка кислотностью 80-100 0Т (рН 4,5-4,65). Во время сквашивания происходит размножение микрофлоры закваски, нарастает кислотность, коагулирует казеин и образуется сгусток. После окончания сквашивания продукт немедленно охлаждают.

После сквашивания кефир перемешивают и охлаждают до температуры созревания. Перемешивание продукта начинают через 60-90 мин. после начала времени его охлаждения и проводят в течение 10-30 минут. Перемешанный и охлажденный до температуры 20 0С сгусток оставляют в покое.

Созревание кефира

Продолжительность созревания кефира составляет 6-10 ч. Во время созревания активизируются дрожжи, происходит спиртовое брожение, в результате чего в продукте образуются спирт, диоксид углерода и другие вещества, придающие этому продукту специфические свойства.

Перемешивание и розлив

По истечении времени созревания, перед началом розлива кефир в резервуаре перемешивают 2-10 мин.

Упаковку и маркировку производят в соответствии с требованиями стандарта на этот продукт. С целью улучшения консистенции готового продукта, упакованный кефир рекомендуется выдерживать в холодильной камере перед реализацией. При достижении кефиром требуемого показателя условной вязкости и температуры 6 0С технологический процесс считается законченным и продукт готов к реализации [8].

Кефир должен разливаться в стеклянную тару типа I, III по ГОСТ 15844-80 вместимостью 1,0; 0,5 и 0,25 л; бумажные пакеты из комбинированного материала для упаковки молока и молочных продуктов тетраэдральной формы по ГОСТ 49171-81 вместимостью 0,5 и 0,25 л; бумажные пакеты из комбинированного материала для упаковки молока и молочных продуктов на автоматах «Тетра-Брин» по ТУ 49795-81 вместимостью 1,0 л и другие виды тары из упаковочных материалов, разрешенных Министерством здравоохранения России для упаковки молочных продуктов.

Хранение кефира производят при температуре от 1 до 80С не более 36 ч с момента окончания технологического процесса в соответствии с действующими санитарными правилами для особо скоропортящихся продуктов, в том числе на предприятии-изготовителе не более 18 ч.

Камеры хранения для сырья и продукции охлаждают батарейным воздушным и смешанным способами. Наиболее широко применяется батарейное охлаждение. Батареи бывают из гладких, оребрённых труб и панельные.

Смешанный способ охлаждения - камеры оборудуют батареями и воздухоохладителями. Этот способ применяется в основном в камерах с универсальным температурным режимом.

Применяются две системы батарейного охлаждения: непосредственное охлаждение за счёт кипящего холодильного агента и охлаждение теплоносителем - водой и водными растворами CaCl2 и NaCl. Непосредственное испарение холодильного агента применяется в камерах, где необходимо обеспечить низкие температуры - камеры замораживания, скороморозильные аппараты [9].

Аппаратно-технологическая схема производства кефира [10] представлена на рисунке 2.

Рисунок 2 - Аппаратно-технологическая схема производства кефира

1,4,10,12 - насосы; 2 - емкость для молока; 3 - уравнительный бачок; 5 - пластинчатая пастеризационно - охладительная установка; 6 - пульт управления; 7 - сепаратор - нормализатор; 8 - гомогенизатор; 9 - выдерживатель; 11 - резервуар для выработки кисломолочных продуктов; 13 - охладитель пластинчатого типа; 14 - промежуточный резервуар.

ВЫВОДЫ И ПРЕДЛОЖЕНИЯ

В производстве колбасных изделий решающее значение принадлежит сырью. От качества сырья в прямой зависимости находится качество готового продукта. Соблюдение рецептур, технологических инструкций и санитарного режима по ходу технологического процесса - это необходимые условия для получения высококачественных колбасных изделий.

В данной курсовой работе было рассчитано количество основного и дополнительного сырья, а также предложена технологическая схема производства вареной колбасы «Докторская», являющаяся оптимальной для данного вида колбас. Также было подобрано оборудование для производственного цеха и схема его компоновки.

Отдельно следует отметить, что производство колбасных изделий представляет собой сложный технологический процесс, в котором задействованы различные методики, продукты, люди. Вопрос изучения, как классификации, так и особенностей производства колбасных изделий как нельзя актуален именно сейчас, когда появилось множество частных предприятий, производящих колбасные изделия. Соблюдены ли все технологические процессы, технические условия на данных предприятиях - неизвестно. В связи с этим следует отметить, что необходимо усилить контроль соответствующих органов за деятельностью таких предприятий и предпринимателей, ведь не секрет, что частные предприниматели нередко открывают свои колбасные цеха в подвальных помещениях, не пригодных для такого рода деятельности.

Я считаю, что необходимо расширять ассортимент колбасных изделий диетической направленности, например для детского питания или питания больных с ослабленным здоровьем (данная продукция должна производиться из продуктов наилучшего качества, без применения красителей, ароматизаторов и пищевых добавок).

БИБЛИОГРАФИЧЕСКИЙ СПИСОК

1. Рогов И.А. Технология мяса и мясных продуктов. М.: Агропромиздат, 1983.578 с.

. Матисс Т.В.Изделия мясные и колбасные//Журн. История и мясные технологии. 2009. №9 с.6-10.

. Журавская Н.К., Алехина Л.Т. Исследование и контроль качества мяса и мясных продуктов. М. : Агропромиздат, 1985.296 с.

. Рогов И.А. Общая технология мяса и мясных продуктов. М.: Колос, 2000.367с.

. Журавская Н.К. Технохимический контроль производства мяса и мясных продуктов. М. : Колос, 1999.176с.

. Никитин B.C., Будашников Ю.М.Охрана труда на предприятиях мясной промышленности. М.: Агропромиздат, 1991.349 с.

. Корнюшко Л.М. Оборудование для производства колбасных изделий:. М.: Колос, 1993.138 с.

8. Г.В. Твердохлеб, Г.Г. Шилер. Технология молока и молочных продуктов. М.: Агропромиздат, 1991.463 с.

9. Крусь Г.Н., Храмцов А.Г. Технология молока и молочных продуктов. М.: Колос, 2008.455 с.

. Золотилин Ю.П. Оборудование молочной промышленности. М.: Пищевая промышленность, 1985.116 с.

ПРИЛОЖЕНИЯ

Приложение А

Технологическая схема производства вареных колбас

Приемка сырья



Обвалка и жиловка


Измельчение мяса (2-3 мм) 12-24 часов


Посол мяса (2-2,5 кг на 100 кг мяса)


Выдержка мяса в посоле (t = 12 ч, Т = 0 - 8 град С)


Подготовка шпика


Приготовление фарша


Наполнение фаршем оболочек


Осадка батонов (2 - 4 часа, Т = 0 - 2 град С)


Обжарка (Т = 100 - 110 град С, 65 - 140 мин)


Варка (Т = 75 - 85 град С, 60 - 180 мин)


Охлаждение под душем (Т = 10 - 15 град С, 10 - 30 мин)


Охлаждение в камере (Т = 10 град С, влажность 95 %)


Хранение и реализация

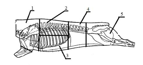
Приложение Б

Схема разделки туши говядины на отрубы

- тазобедренный; 2 - поясничный; 3 - спинной; 4 - лопаточный; 5 - плечевой; 6 - грудной.

Схема разделки туши свинины на отрубы

- лопаточная часть; 2 - спинная часть (корейка); 3 - грудинка; 4 - поясничная часть с пашиной; 5 - окорок.

Приложение В

План расстановки основного оборудования колбасного цеха











- КХН-6 - камера холодильная, низкотемпературная; 2 - конвейер обвалки и жиловки сырья; 3 - весы; 4 - волчок; 5 - емкость для созревания; 6 - куттер; 7 - льдогенератор; 8 - фаршемешалка; 9 - шприц вакуумный; 10 - рамы для навески колбас; 11 - камера осадки; 12 - термокамера; 13 - оросительная камера; 14 - камера охлаждения.

Приложение Г

Технологическая схема производства кефира

Приложение Д

Задание

Разработать технологическую схему работы цеха с производством 400 кг продукции в сутки следующего ассортимента:

Наименование продукта

Термообработка

Сорт

Количество в сутки, кг

Колбаса «Докторская»

-

400

Кефир

-

-

-


Руководитель Минаев Е.А.

Задание получил студент Левинская Т.В.

Похожие работы на - Технология изготовления кефира

 

Не нашли материал для своей работы?
Поможем написать уникальную работу
Без плагиата!
Без нейросетей!