Технологическая линия по производству кефира
Министерство сельского хозяйства
Российской Федерации
ФГОУ ВПО Уральская государственная
сельскохозяйственная академия
Факультет технологий животноводства
Кафедра механизации переработки и
упаковки сельскохозяйственной продукции и безопасности жизнедеятельности
Оценка защиты
курсовой работы
Члены комиссии
ТЕХНОЛОГИЧЕСКАЯ ЛИНИЯ ПРОИЗВОДСТВА КЕФИРА
Курсовая работа
Пояснительная записка
Руководитель _______________ ________ Е.В.Васильева
ст.преподаватель (подпись) (дата)
Студент _______________ ANTONiO
ТП – 3 ___ (подпись) (дата)
Екатеринбург 2008
Содержание
Введение. 3
Технология
приготовления кефира.. 5
Описание линии.. 8
Технологическое
оборудование. 11
Танк
молокохранительный В2-ОМГ-10. 11
Центробежный насос
НМУ-6. 13
Автоматизированная
пластинчатая пастеризационно-охладительная установка ОПЛ-5 15
Пластинчатый
пастеризатор. 17
Сепаратор-молокоочиститель
ОМА-3М.. 19
Гомогенизатор А1-ОГМ.. 21
Танк Г6-ОПБ-1000 для
выдерживания пастеризованного молока. 23
Шестеренный насос
НРМ-2 с внутренним зацеплением. 25
Танк двустенный
ОТК-6 для сквашивания молока. 27
Фасовочно-упаковочный
автомат М6-ОПЗ-Е. 29
Технологический
расчет. 32
Расход сырья и выход
готового продукта. 32
Расчет и подбор
технологического оборудования. 33
Расчет площади цеха. 36
Обозначения к
машинно-аппаратной схеме технологической линии производства кефира.. 37
Обозначения к
машинно-аппаратной схеме цеха производства кефира.. 38
Заключение. 39
Список
использованной литературы.. 41
Введение
Кефир является одним из
наиболее популярных кисломолочных диетических напитков и по праву занимает
доминирующее положение среди всех продуктов переработки молока.
Родиной кефира является
Северный Кавказ, где его долгое время изготовляли в бурдюках или в деревянных
кадках. Технология его изготовления в аулах простая – кефирные грибки заливают
парным молоком, охлажденным до 18-20 0С, в процессе сквашивания и
созревания продукт периодически взбалтывают. При созревании кефира вследствие
усиленной аэрации активно развиваются дрожжи, что влияет на вкус и консистенцию
продукта: консистенция становится жидкой, сметанообразной, вкус –
специфическим, кислым, приобретает остроту.
В России кефир
вырабатывался еще в 1866-1867 гг. кустарным способом на грибках, привезенных с
Кавказа в сухом виде. Кефирные грибки оживляли в кипяченом охлажденном
обезжиренном молоке и использовали для приготовления заквасок. Молоко для
кефира подогревали до 16-23 0С и заквашивали закваской,
непосредственно слитой с грибков. После получения сгустка бутыли взбалтывали
для ускорения процесса образования напитка и выдерживали в помещении при
температуре 14-16 0С в течение суток, а иногда и более продолжительное
время.
По той же технологии
вырабатывали кефир на городских молочных заводах, при этом применяли пастеризацию
молока и розлив напитка в бутыли с герметичной укупоркой.
В результате длительности
технологического процесса, трудоемкости многих операций выпуск кефира был
ограничен и спрос населения на него не удовлетворялся, поэтому в 30-х годах ХХ
в. технологию кефира изменили: его стали выпускать ускоренным способом,
получившим впоследствии наименование термостатного.
Молоко, идущее на
выработку кефира, стали сквашивать при высоких температурах в термостатах без
встряхивания и соответствующего накопления продуктов дрожжевого брожения. В
результате изменения технологии вместо мягкого по консистенции полужидкого
напитка с характерным освежающим вкусом заводы стали выпускать продукт с
плотным сгустком, по вкусу похожим на простоквашу.
В результате ряда
научно-исследовательских работ был разработан резервуарный способ производства
кефира, являющийся в настоящее время общепризнанным и широко внедренным в
молочную промышленность.
Целью моей работы
является рассмотрение типовой технологической линии производства кефира
резервуарным способом с охлаждением продукта в резервуарной емкости для
сквашивания молока и фасовкой в полиэтиленовые пакеты. Данная технологическая
линия широко применяется для производства кефира как на предприятиях
Свердловской области, так и по всей стране и позволяет получать продукт с
хорошими вкусовыми и органолептическими качествами, удовлетворяющими
требованиям нормативных документов.
Существует два способа
производства кефира – резервуарный и термостатный. Резервуарный способ
производства отличается от термостатного тем, что сквашивание молока
производится в большой емкости и на розлив направляется продукт с перемешанным
сгустком. Технологический процесс состоит из следующих операций: приемки и
подготовки сырья, нормализации, гомогенизации, пастеризации и охлаждения,
заквашивания, сквашивания в специальных емкостях, охлаждения сгустка,
созревание сгустка, фасования.
Сырье.
Кефир резервуарным
способом вырабатывают из цельного натурального нормализованного молока не ниже
второго сорта, кислотностью не более 19 0Т, плотностью не менее
1,0278 кг/м3, с различной массовой долей жира, поэтому исходное
молоко нормализуют до требуемой массовой доли жира. При нормализации цельного
молока по жиру могут быть два варианта: жира в цельном молоке больше, чем
требуется в производстве, и жира в цельном молоке меньше, чем требуется. В
первом варианте жир частично отбирают путем сепарирования или к исходному
молоку добавляют обезжиренное. Во втором варианте для повышения жирности
исходного молока добавляют к нему сливки. Один из простейших способов
нормализации по жиру – нормализация путем смешивания в емкости рассчитанных
количеств нормализуемого молока и нормализующего компонента (сливок или
обезжиренного молока) при тщательном перемешивании смеси.
Тепловая обработка и
гомогенизация.
Пастеризация молока производится
с целью уничтожения вегетативных форм микрофлоры, в том числе патогенных.
Наиболее распространенный способ в производстве кисломолочных продуктов –
кратковременная пастеризация при температуре 85-87 0С с выдержкой в
течение 5-10 мин. или при 90-92 0С с выдержкой 2-3 мин. с
последующим охлаждением до температуры заквашивания. Режим пастеризации должен
обеспечить получение заданных свойств готового продукта, в частности
органолептических показателей (вкус, нужные вязкость и плотность сгустка). Высокие
температуры пастеризации вызывают денатурацию сывороточных белков, при этом
повышаются гидратационные свойства казеина. Это способствует образованию более
плотного сгустка, который хорошо удерживает влагу, что препятствует отделению
сыворотки при хранении.
Гомогенизация
– это раздробление (диспергирование) жировых шариков путем воздействия на
молоко значительных внешних усилий. В процессе обработки уменьшаются размеры
жировых шариков и скорость всплывания. Происходит перераспределение
оболочечного вещества жирового шарика, стабилизируется жировая эмульсия, и
гомогенизированное молоко не отстаивается. В настоящее время применяют
двухступенчатую гомогенизацию, исключающую слипание частичек жировых шариков на
выходе из клапанной щели гомогенизирующей головки. Гомогенизация проводится при
температуре 60-65 0С и давлении 15-17,5 МПа (125-175 атм). После
пастеризации и гомогенизации смесь охлаждается до температуры заквашивания.
Заквашивание и
сквашивание молока.
При производстве кефира
обычно применяют закваску, приготовленную на кефирных грибках. Основными
представителями их являются молочнокислые палочки, молочнокислые стрептококки,
в том числе ароматобразующие и молочные дрожжи типа Torula. Случайная микрофлора зерен состоит из споровых
палочек, уксуснокислых бактерий, молочных плесеней, пленчатых дрожжей, бактерий
группы Coli и пр.
Для приготовления
кефирной закваски сухие кефирные зерна выдерживают в теплой воде (25-30 0С)
в течение суток, меняя ее за это время 2-3 раза. После этого воду сливают, и
набухшие зерна заливают теплым молоком, взятым в десятикратном количестве по
отношению к объему грибков.
Для выработки кефира с
характерным вкусом и прочной консистенцией необходимо использовать
производственную закваску, выдержанную после сквашивания при температуре 10-12 0С
в течение 12-24 час. Закваску, масса которой обычно составляет 5 % массы
заквашиваемой смеси, вносят в смесь, охлажденную до температуры заквашивания. Смесь
сквашивают при температуре 23-25 0С до образования молочно-белкового
сгустка кислотностью 80-100 0Т (рН 4,5-4,65). Во время сквашивания
происходит размножение микрофлоры закваски, нарастает кислотность, коагулирует
казеин и образуется сгусток. После окончания сквашивания продукт немедленно
охлаждают.
Перемешивание и
охлаждение сгустка.
После сквашивания кефир
перемешивают и охлаждают до температуры созревания. Перемешивание продукта начинают
через 60-90 мин. после начала времени его охлаждения и проводят в течение 10-30
минут. Перемешанный и охлажденный до температуры 20 0С сгусток оставляют
в покое.
Созревание кефира.
Продолжительность
созревания кефира составляет 6-10 ч. Во время созревания активизируются дрожжи,
происходит спиртовое брожение, в результате чего в продукте образуются спирт,
диоксид углерода и другие вещества, придающие этому продукту специфические
свойства.
Перемешивание и
розлив.
По истечении времени
созревания, перед началом розлива кефир в резервуаре перемешивают 2-10
мин.
Упаковку и маркировку
производят в соответствии с требованиями стандарта на этот продукт. С целью
улучшения консистенции готового продукта, упакованный кефир рекомендуется
выдерживать в холодильной камере перед реализацией. При достижении кефиром
требуемого показателя условной вязкости и температуры 6 0С
технологический процесс считается законченным и продукт готов к реализации.
Требования к готовому
продукту.
В соответствии с
требованиями РТУ кефир должен удовлетворять следующим требованиям:
|
Кефир
|
Кислотность в 0Т
|
Содержание спирта в %, не более
|
|
Для массового потребления
|
0,6
|
|
Лечебный:
|
80-90
|
0,2
|
|
слабый
|
|
средний
|
80-105
|
0,4
|
|
крепкий
|
90-120
|
0,6
|
Вкус и запах – чистый,
кисломолочный, освежающий.
Консистенция кефира
должна быть однородной, напоминающей жидкую сметану. Допускается
газообразование, вызванное дрожжами или ароматобразующими стрептококками.
Рассмотрим основную
технологическую схему производства кефира резервуарным способом с охлаждением в
резервуарах. По этой схеме молоко подается насосами по трубам, а расфасованный
готовый продукт – внутризаводским транспортом (цепными и ленточными
транспортерами и т.д.).
В теплообменниках молоко
и напитки подвергают термической обработке (нагреванию и охлаждению) до
заданной температуры. От механических примесей молоко очищается в
сепараторах-очистителях в потоке и для получения соответствующей дисперсности
жира и улучшения вязкости напитка обрабатывается в гомогенизаторах.
Напиток в резервуаре
перемешивается приводной мешалкой. Расфасовывают напиток в пленочную упаковку
или картонные пакеты на разливочных машинах и автоматах.
Контроль технологического
процесса и управление им автоматизированы.
Проанализируем конкретную
линию производства.
Нормализованное по
жирности молоко, охлажденное до 4-6 0С, из молокохранительного танка
В2-ОМГ-10 емкостью 10 тыс. л центробежным насосом НМУ-6 подается в
балансировочный бачок пастеризационно-охладительной установки ОПЛ-5 и далее
насосом НМУ-6 направляется в I
секцию регенерации теплообменника, откуда подогретое до 30-35 0С поступает
в центральную трубку сепаратора-молокоочистителя ОМА-3М. Очищенное молоко под
давлением, создаваемым напорным диском сепаратора, поступает в секцию II регенерации теплообменника, после
чего направляется в секцию пастеризации для нагрева до 85 0С и
подается в танк Г6-ОПБ-1000, где выдерживается при этой температуре 5-10 мин.
Из танка молоко самотеком направляется в гомогенизатор А1-ОГМ, где под
давлением 125-175 ат гомогенизируется и поступает во вторую секцию
теплообменника для отдачи тепла встречному потоку молока. Молоко, охлажденное
до температуры заквашивания (23-25 0С) поступает в двустенный танк
ОТК-6, куда предварительно с помощью насоса НРМ-2 попадает закваска. Сквашивание
происходит до кислотности 85-90 0Т, затем сгусток перемешивается и
тут же охлаждается холодной водой до 20 0С. В дальнейшем сгусток
оставляют в покое для созревания на 6-10 ч. По истечении времени
созревания, перед началом розлива кефир в резервуаре перемешивают 2-10
мин. и подают на фасовочно-упаковочный автомат М6-ОПЗ-Е для расфасовки.
Упакованный кефир рекомендуется выдерживать в холодильной камере перед
реализацией до достижения им требуемого показателя условной вязкости и температуры
6 0С.
В состав данной линии
входит следующее технологическое оборудование: Танк молокохранительный В2-ОМГ-10
емкостью 10 тыс. л каждый
2
Насос центробежный НМУ-6
производительностью 6 тыс. л/час 1
Пастеризационно-охладительная
установка ОПЛ-5
производительностью 5 тыс.
л/час 1
В состав ОПЛ – 5
входят:
Молокоочиститель ОМА-3М
производительностью 5 тыс. л/час…2
Гомогенизатор
двухступенчатый А1-ОГМ с рабочим давлением
до 200 ат
производительностью 5 тыс. л/час 1
Танк Г6-ОПБ-1000 для
выдерживания пастеризованного молока
емкостью 1 тыс. л 1
Балансировочный бак 1
Центробежный насос для
молока 36МЦ-10-20Щ 1
Бойлер 1
Насос для горячей воды
3К-9 1
Насос центробежный
36МЦ-6-12 1
Насос-дозатор НРМ-2 для
подачи закваски
производительностью
250-2000 л/час .1
Смеситель для закваски с
шаровым клапаном 1
Танк двустенный ОТК-6 для
сквашивания молока
емкостью 6 тыс. л каждый .4
Фасовочно-упаковочный
автомат М6-ОПЗ-Е 1
Данная технологическая
линия производства кисломолочных напитков резервуарным способом рассчитана на
производительность 12 т в сутки.
Техническая
характеристика линии
Производительность л в
сутки - 12000
Режим работы двухсменный
Температура пастеризации,
0С 85-90
Давление гомогенизации, 125-175
Температура заквашивания,
0С20-25
Температура охлаждения
готового напитка, 0С 6
Емкость для хранения
молока цилиндрической формы, состоит из алюминиевого корпуса и стального
кожуха. Пространство между ними заполнено термоизолирующим веществом. В верхней
части емкости предусмотрены смотровое окно, светильник, моечное устройство,
датчик верхнего уровня и воздушный клапан. Смотровое окно и светильник
предназначены для периодического осмотра внутренней полости емкости. Моечное
устройство выполнено в виде двух трубчатых полудуг с отверстиями для подачи
раствора. При вытекании моющего раствора из отверстий трубчатые дуги вращаются
за счет возникающих реактивных сил. При этом внутренняя поверхность емкости
равномерно орошается моющим раствором. Датчик верхнего уровня сигнализирует о
заполнении рабочей вместимости емкости, а воздушный клапан впускает и выпускает
воздух при ее опорожнении и заполнении.
В средней части емкости
расположены люк, термометр, кран для отбора проб, устройство для контроля за
уровнем молока и стационарная лестница для обслуживания верхней части. В нижней
части имеются перемешивающее устройство, датчик нижнего уровня и опоры.
Перемешивающее устройство состоит из центробежного насоса, эжектора, кранов и
соединяющих из трубопроводов.
Емкость наполняется через
нижний патрубок. Через этот же патрубок емкость и опорожняется при переключении
трехходового крана. Окончание заполнения или опорожнения сопровождается подачей
светового или звукового сигнала. При отборе проб пользуются специальным
краником, а температуру молока контролируют термометром. Повышение температуры
молока за 24 ч хранения в таких емкостях при разности температур окружающего
воздуха и продукта, равной 24 0С, допускается не более чем на 2 0С.
Техническая
характеристика молокохранительного танка В2-ОМГ-10
Рабочая вместимость, м3
- 10
Исполнение - горизонтальное
Габаритные размеры, мм - 4450х2125х2825
Установленная мощность,
кВт - 0,75
Масса (без молока), кг - 2255
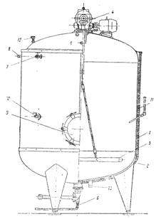
Рисунок 1
1 – рабочая емкость; 2 –
теплоизоляция; 3 – кожух; 4 – мешалка; 5 – смотровое окно; 6 – люк; 7 – привод
мешалки; 8 – ножки; 9 – сливной патрубок; 10 – термометр; 11 – наливная труба
Имеет корпус в виде
цилиндра, закрываемого крышкой. Во внутренней полости корпуса через отверстие
проходит вал с насаженной на него лопастью. Крышка уплотнена резиновым кольцом
и зажимными винтами. На ней расположен по оси вала всасывающий патрубок. По
касательной к цилиндру корпуса установлен нагнетательный патрубок.
При вращении вала в
камере насоса молоко отбрасывается лопастью к периферии камеры и под действием
центробежных сил создается давления для вывода продукта в нагнетательный
патрубок и транспортирования по молокопроводу. При этом в центральной части
камеры насоса образуется разрежение и туда поступает новая порция молока. Поток
молок не прерывается. Возврат молока из полости нагнетания в полость всасывания
между корпусом и лопастью предотвращения благодаря минимально возможным зазорам
между ними.
Подводимая от
электродвигателя к рабочему колесу насоса энергия затрачивается на преодоление
гидравлических сопротивлений внутри самого насоса и на приращение энергии
потока молока. Гидравлические сопротивления внутри насоса зависят от формы и
расположения всасывающего и нагнетательного патрубков насоса, формы лопастей,
зазоров между ними и корпусом, профиля клапанов и чистоты обработки их
поверхностей. Приращение энергии потока молока в насосе зависит от частоты
вращения рабочего колеса, размеров и формы камеры и рабочего колеса.
Техническая
характеристика центробежного насоса НМУ-6
Подача, м3/ч -
6
Напор, м - 8
Диаметр патрубка, мм всасывания
- 40
Нагнетания - 21; 29
Частота вращения рабочего
органа, с- - 47
Габаритные размеры, мм - 390х275х200
Масса, кг - 14,8
Рисунок 2
1 – защитный кожух; 2 –
фланец; 3 – шпонка; 4 – зажимное устройство; 5 – гайка крепления кожуха; 6 –
обойма; 7 – корпус насоса; 8 – лопасть; 9 – резиновое кольцо; 10 – крышка; 11 –
торцевое уплотнение; 12 – торцевая шайба; 13 – наконечник вала; 14 – обратный
клапан; 15 – патрубок; 16 – гайка крепления напорного патрубка
Установка ОПЛ-5
предназначена для быстрой тонкослойной пастеризации молока в закрытом потоке с
последующим охлаждением. Она работает при автоматическом регулировании
технологического процесса, что исключает возможность выхода из аппарата
недопастеризованного молока.
Принцип работы установки.
Сырое молоко поступает в
балансировочный бак, снабженный поплавковым клапаном для поддержания
постоянного уровня молока. Из бака молоко поступает в насос, который подает его
в регулятор потока соответствующей производительности (5000 л/ч). Затем под
напором оно входит в секцию регенерации, где прогревается пастеризованным
молоком, движущимся с другой стороны пластины. Подогретое молоко из секции
регенерации поступает в один из двух работающих по очереди
сепараторов-молокоочистителей, где под действием центробежной силы взвешенные
частицы вместе со слизью молока остаются на стенках барабана. Очищенное молоко
под напором, создаваемым сепаратором (2-3 ат), подается в гомогенизатор, а из
него молоко поступает в секцию регенерации теплообменника, где нагревается до
заданной температуры и направляется в выдерживатель, затем возвращается в
секцию регенерации теплообменника, проходит ее, отдавая тепло через стенку
пластины встречному потоку молока, частично охлаждается и приходит в секцию
охлаждения, где температура его снижается до заданной. При работе установки
ОПЛ-5 в секцию пастеризации насосом (3К-9) подается теплоноситель – горячая
вода из бойлера, обогреваемого паром. В секцию охлаждения подается
хладоноситель – ледяная вода.
Контроль и регулирование
технологического процесса обработки молока в установке ОПЛ-5 осуществляются
автоматически. Если во время работы установки температура пастеризации
снижается, то перепускной клапан автоматически возвращает недопастеризованное
молоко в балансировочный бачок.
Техническая характеристика
трехсекционной установки ОПЛ-5
Производительность, л/ч -
5000
Начальная температура
молока, 0С - 5-10
Конечная температура
молока, 0С - 85-90
Температура охлаждения,
0С - 20-25
Теплоноситель - горячая
вода
Начальная температура
теплоносителя, 0С - +95
Габаритные размеры, мм - 4400х4200х9500
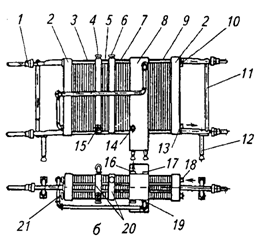
Рисунок 3
1 – пластинчатый
пастеризатор; 2 – молокоочиститель ОМА-3М; 3 – балансировочный бак; 4 –
центробежный насос для молока; 5 – регулятор потока; 6 – бойлер; 7 – насос для
горячей воды; 8 – инжектор; 9 - гомогенизатор А1-ОГМ; 10 – выдерживатель
пастеризованного молока Г6-ОПБ-1000; 11 – насос центробежный; 12 – щит
управления
Пластинчатый пастеризатор
Имеет главную переднюю
стойку и вспомогательную заднюю стойку, в которые закреплены концы верхней и
нижней горизонтальных штанг. Верхняя предназначена для подвески теплообменных
пластин. По периферии каждой пластины в специальной канавке уложена большая
резиновая прокладка, герметично уплотняющая канал.
Пластины имеют отверстия
с небольшими кольцевыми резиновыми прокладками. После сборки пластин в аппарате
образуются две изолированные системы каналов, по которым перемещаются молоко и
охлаждающая жидкость.
Пластинчатый аппарат
снабжен теплообменными пластинами из нержавеющей стали, разбитыми на ряд
секций. Секции отделены друг от друга специальными промежуточными плитами,
имеющими по углам штуцера для подвода и отвода жидкостей. На пластине выбиты
порядковые номера, те же номера указаны на схеме компоновки пластин.
Пластины прижаты к стойке
с помощью плиты и прижимных устройств. Степень сжатия тепловых секций
определяют по таблице со шкалой, установленной на верхней и нижней распорках.
Нулевое деление устанавливают по оси болта вертикальной распорки, оно
соответствуют минимальному сжатию, обеспечивающему герметичность.
В установках большой
производительности пластинчатые аппараты имеют двустороннее расположение секций
по отношению к главной стойке.
Техническая характеристика
пластинчатого пастеризатора
Производительность, л/ч -
1000
Температура молока,
0С: на входе в аппарат - 5-10
нагрева (пастеризации) - 85-90
Время выдержки молока при
температуре пастеризации, с - 25
Габаритные размеры, - 2150х900х18455
Масса установки, кг - 550
1 – зажимное устройство;
2 – нажимные плиты; 3 – первая секция рекуперации; 4 – штуцер для вывода молока
из секции рекуперации (3) и подачи его к сепаратору-молокоочистителю; 5 –
вторая секция рекуперации; 6 – штуцер для ввода молока в секцию рекуперации (5)
после выдерживателя; 7 – секция пастеризации; 8 – главная стойка; 9 – секция
водяного и рассольного охлаждения; 10 – штуцер для входа пастеризованного
молока; 11 – распорка; 12 – ножка; 13 – штуцер для выхода рассола; 14 – штуцер
для выхода пастеризованного молока из секции пастеризации и подачи его в
выдерживатель; 15 – штуцер для входа молока в секцию рекуперации после
центробежного молокоочистителя; 16 – штуцер для выхода горячей воды; 17 - штуцер
для выхода холодной воды; 18 – штуцер для входа рассола; 19 – штуцер для входа
пастеризованного молока в секцию водяного охлаждения; 20 – разделительные плиты;
21 – штуцер для входа сырого молока
Предназначен для очистки
молока от посторонних примесей, микрофлоры и белковой слизи. В комплект
установки ОПЛ-5 входят два молокоочистителя ОМА-3М.
ОМА-3М представляет собой
тарельчатый сепаратор полузакрытого типа с ручной периодической выгрузкой осадка.
Состоит из барабана, приемно-отводящего устройства и станины с механизмом
привода.
Механические загрязнения
удаляются путем тонкослойной сепарации в быстровращающемся барабане
молокоочистителя. Молоко, подлежащее очистке, по центральной трубке поступает
во внутреннюю полость тарелкодержателя. Закрытый ввод предохраняет молоко от
попадания посторонней микрофлоры из окружающего воздуха. Через щель, образуемую
между тарелкодержателем и основанием барабана, молоко под действием
центробежной силы отбрасывается к стенкам корпуса барабана. Здесь наиболее
тяжелые и крупные частицы оседают на стенке корпуса, а молоко вместе с
мельчайшими частицами поступает в пакет конических тарелок. В пространстве
между тарелками молоко очищается от взвешенных частиц.
Очищенное молоко под
давлением вновь поступающих порций проходит к центру и поднимается по каналам
тарелкодержателя в камеру напорного диска. Неподвижный напорный диск
захватывает вращающуюся жидкость и под давлением выводит ее из барабана в
отводящую коммуникацию.
Давление молока,
выходящего из барабана сепаратора, обеспечивает подачу его и преодоление
сопротивлений в пастеризаторе без насоса. Чем дольше работает сепаратор, тем
больше заполняется грязевое пространство, поэтому качество очистки с течением
времени ухудшается. Практически сепаратор нормально работает 1,5-2 ч, причем
этот срок зависит от степени загрязненности исходного молока.
Техническая
характеристика сепаратора-молокоочистителя ОМА-3М
Производительность, л/ч -
5000
Скорость вращения
барабана, об/мин - 6500
Количество тарелок, шт - 9
Угол наклона образующей
тарелки, град - 55
Величина межтарелочного
зазора, мм - 11
Мощность
электродвигателя, кВт - 4,5
Габариты, мм - 900х680х1265
Масса с
электродвигателем, кг - 420
Температура
сепарирования, 0С - 40-60
Давление на выходе
молока, кг/см2 - до 3
Рисунок 4
1 – манометр с мембранной
приставкой; 2 – отводящая коммуникация; 3 – гайка для крепления
приемно-отводящего устройства с крышкой; 4 – питающий патрубок; 5 – напорный
диск; 6 – крышка сепаратора; 7 - крышка барабана; 8 – тарелкодержатель; 9 –
конические тарелки; 10 – затяжное кольцо барабана; 11 – основание барабана; 12
– стопор; 13 – станина; 14 – центрируемые винтовые пружины горловой опоры; 15 –
гнезда корпуса; 16 – веретено; 17 – шестерня; 18 – опорные шарики; 19 – пружина
подпятника; 20 – стакан подпятника; 21 – указатель уровня масла; 22 – винтовое
колесо; 23 – валик тахометра; 24 – тормоз (два); 25 – шламовое пространство; 26
– предохранительная гайка
Гомогенизация – это
раздробление (диспергирование) жировых шариков путем воздействия на молоко
значительных внешних усилий. В процессе обработки уменьшаются размеры жировых
шариков и скорость всплывания. Происходит перераспределение оболочечного
вещества жирового шарика, стабилизируется жировая эмульсия, и
гомогенизированное молоко не отстаивается.
Принцип действия
клапанного гомогенизатора А1-ОГМ.
В цилиндре гомогенизатора
на молоко оказывается механическое воздействие при давлении 15-20 МПа (125-175
ат). При подъеме клапана, приоткрывающего узкую щель, молоко выходит из
цилиндра. Это возможно при достижении в цилиндре рабочего давления. При проходе
через узкую круговую щель между седлом и клапаном, скорость молока возрастает
от нулевой до величины, превышающей 100 м/с. Давление в потоке резко падает, и
капля жира, попавшая в такой поток, вытягивается, а затем в результате действия
сил поверхностного натяжения дробится на мелкие капельки-частицы. Во избежании
слипания раздробленных частичек на выходе из клапанной щели применяют
двухступенчатую гомогенизацию. На первой ступени создается давление, равное 75%
рабочего, на второй ступени устанавливается рабочее давление.
Гомогенизатор
представляет собой трехплунжерный насос. Каждый из трех плунжеров, совершая
возвратно-поступательное движение, всасывает молоко из приемного канала,
закрытого всасывающим клапаном, и нагнетает его через нагнетательный клапан в
гомогенизирующую головку под давлением 15-20 МПа.
Техническая
характеристика гомогенизатора А1-ОГМ
Производительность, л/ч -
5000
Рабочее давление, МПа - 15-20
Температура
обрабатываемого продукта, 0С - 45-85
Число плунжеров - 3
Ход плунжеров, мм - 60
Частота вращения
коленчатого вала, с-1 - 5,65
Число ступеней
гомогенизатора - 2
Мощность
электродвигателя, кВт - 37
Габаритные размеры, мм - 1480х1110х1640
Масса, кг - 1710
Рисунок 5

В танке для выдерживания
пастеризованного молока продукт нагревается через теплопередающую
стенку-рубашку от поступающей в нее горячей воды или пара, пропускаемого через
горячую воду.
Емкость состоит из
корпуса цилиндрической формы, теплообменной рубашки, теплоизоляции и наружного
кожуха. Для ее заполнения и опорожнения служит патрубок. Емкость снабжена
мешалкой пропеллерного типа. С теплообменной рубашкой соединяется переливная
труба и парораспределительная головка, к которой через трубопровод подается
пар. Теплоноситель удаляется через патрубок в нижней части из теплообменной
рубашки. Люк для осмотра и ремонта рабочей поверхности расположен в средней
части. Моющее устройство, находящееся в верхней части емкости, представляет собой
реактивную вертушку.
Техническая
характеристика танка Г6-ОПБ-1000
Вместимость
геометрическая, дм3 - 1180
Вместимость рабочая, дм3
- 1000
Мощность, кВт - 0,75
Время поддержания
температуры пастеризации, мин - 3-90
Расход пара, кг/ч - 100
Расход воды для
охлаждения, м3/ч - 5
Габариты ванны, мм - 1880х1410х2015
Габариты шкафа
управления, мм - 540х460х650
Общая масса, кг - 625
Рисунок 6
1 – мешалка; 2 –
теплоизоляция; 3 – теплообменная рубашка; 4 – внутренний корпус; 5 – наружный
корпус; 6 – пульт управления; 7 – ножки; 8 – патрубок наполнения-опорожнения; 9
– пробоотборный кран; 10 – люк; 11 – привод мешалки
Шестеренный насос НРМ-2 с внутренним зацеплением
Основные рабочие органы –
зубчатый ротор и ведомая шестерня, расположенная эксцентрично продольной оси
насоса. Часть ее зубьев входит в зацепление с зубьями ротора. Шестерня свободно
посажена на палец, снабженный втулкой.
Корпус насоса с одной
стороны закреплен на кронштейне гайкой, с другой – закрыт крышкой, которая
крепится к корпусу четырьмя шпильками. На внутренней стороне крышки имеется
серповидный выступ для предупреждения обратного просачивания жидкости с
нагнетательной стороны на всасывающую, являющийся замыкающей поверхностью переноса
порций продукта. В крышке имеются пазы, в которых расположены шпильки. Пазы позволяют
поворачивать крышку на определенный угол вокруг своей оси и, следовательно,
изменять положение зубьев шестерни, находящихся в зацеплении с зубьями ротора,
относительно входного отверстия. При этом меняется подача насоса. На крышке
нанесены риски, соответствующие определенной часовой подаче насоса. Таким
образом, поворот крышки позволяет регулировать подачу насоса в пределах
0,25-2,0 м3/ч. Между крышкой и корпусом помещены уплотнительные
прокладки из картона толщиной 0,2 мм, с помощью которых регулируется
необходимый зазор между торцом ротора и крышкой.
Отверстие для ввода
жидкости расположено сбоку, для вывода – сверху, оба заканчиваются патрубками с
муфтами для крепления молочных трубопроводов. В случае необходимости корпус с
патрубками может быть повернут в нужное положение. При подаче жидкости в
рабочую камеру через нагнетательный патрубок необходимо изменить направление
вращения ротора.
Длина вала
электродвигателя увеличена с помощью наконечника, который через сальниковое
уплотнение входит в корпус насоса. Уплотнение сальниковой набивки
осуществляется гайкой и нажимной втулкой. В качестве сальниковой набивки
используют хлопчатобумажный шнур диаметром 5 мм, пропитанный животным жиром.
Принцип работы насоса
Перекачиваемый продукт
самотеком поступает в рабочую камеру и заполняет впадины между зубьями ротора и
шестерни. Вращаясь, зубья переносят перекачиваемый продукт вдоль серповидного
выступа, а затем начинают входить в зацепление. При этом продукт вытесняется из
впадин и поступает в нагнетательный патрубок.
Техническая
характеристика шестеренного насоса НРМ-2
Подача, м3/ч -
0,25-2,0
Напор, МПа - 0,2
Диаметр всасывающего и
нагнетательного
патрубков, мм - 36
Частота вращения ротора,
с-1 - 15,5
Мощность
электродвигателя, кВт - 1
Габаритные размеры, мм - 475х295х285
Масса, кг - 38
Рисунок 7
1 – прокладка; 2 –
шестерня; 3 – палец; 4 – втулка; 5 – крышка; 6 – уплотнительное кольцо; 7 –
гайка крепления корпуса насоса; 8 – кронштейн; 9 – гайка сальникового
уплотнения; 10 – электродвигатель; 11 - нажимная втулка; 12 – сальниковое
уплотнение; 13 – наконечник вала; 14 – ротор; 15 – корпус насоса; 16 – гайка
крепления крышки; 17 – серповидный выступ
Представляет собой
цилиндрический резервуар из нержавеющей стали, закрытый приваренными
сферическими днищами. Рабочий резервуар внутри изолирован. Он помещен в кожух
(рубашку) из стали толщиной 8 мм, который служит основанием для крепления всей
конструкции и арматуры танка. К днищу кожуха приварены конические опоры.
Наверху рабочий резервуар соединен с кожухом при помощи фланца, а внизу –
посредством системы связей.
По периметру фланца
просверлены отверстия на расстоянии 30 мм. Через отверстия поступает вода,
которая, омывая поверхность резервуара, охлаждает его и стекает к днищу, откуда
через штуцер свободно сливается из межстенного пространства обратно в систему
ледяного охлаждения.
В танке смонтирована
мешалка. Ее верхние и нижние лопасти соединены между собой наклонно
расположенными тягами. Мешалка установлена на упорном шарикоподшипнике, который
закреплен в стакане привода, находящегося на верхнем днище рабочего резервуара;
приводится в действие электродвигателем. Все элементы мешалки разъемные, что
позволяет без особых затруднений осуществлять монтаж и сборку.
В нижней части цилиндра
танка расположен люк диаметром 500 мм, закрываемый поворотной крышкой, которую
укрепляют при помощи откидных болтов. Наличие на крышке резиновой прокладки
позволяет плотно закрывать люк.
Техническая
характеристика двустенного танка ОТК-6
Резервуар:
рабочая емкость, л - 6000
полная емкость, л - 6200
внутренний диаметр, мм - 1990
Наружный диаметр танка,
мм - 2115
Диаметр штуцера для
подводки хладагента, мм - 50
Диаметр патрубков для
слива охлаждающей воды, мм - 70
Толщина теплоизоляции, мм
- 32
Диаметр люка, мм - 500
Электродвигатель АО-32-4:
мощность, кВт - 1
число оборотов в минуту -
1410
Габариты, мм - 2235х2280х3100
Масса, кг - 2140
Рисунок 8
1 – стенка внутреннего
резервуара; 2 – стенка кожуха; 3 – крестообразная мешалка; 4 – привод мешалки;
5 – люк; 6 – клапан для спуска готового продукта; 7 – штуцер для подачи
хладагента; 8 – штуцер переливной трубы; 9 – штуцер моющего устройства; 10 –
пробный кран; 11 – изоляция танка; 12 – штуцер датчика верхнего уровня; 13 –
штуцер для удаления охлаждающей воды
Предназначен для
фасования продуктов в пакеты из полимерных материалов. Состоит из
разливочно-формовочного блока с механизмами сварки пакетов и устройства для
укладки пакетов в транспортные ящики. Рабочие органы, кроме конвейера, подачи и
отвода ящиков для пакетов, имеют пневмопривод, работой которого управляет
командоаппарат. Конвейер имеет электромеханический привод.
Разливочно-формовочный блок состоит их рулонодержателя, на котором находится
рулон пленки, устройства для выравнивания и натяжения ленты пленки, печатающего
устройства, рукавообразователя, механизма продольной сварки, поршневого
дозатора с дозирующей трубой, механизма поперечной сварки и обрезки пакета.
Поверхность пленки стерилизуют бактерицидной лампой.
Автомат осуществляет
следующие операции: разматывает пленку с рулона, наносит на пленку дату и код
молокозавода, проводит бактерицидную обработку пленки, формует из нее рукав,
сваривает продольный и поперечный швы, наполняет пакет продуктом, отсасывает из
пакета воздух, сваривает второй поперечный шов и одновременно отрезает пакет и
отводит его на конвейер, который подает пакеты в ящик.
Опорой при сварке
продольного шва служит формовочная труба, к которой пленка прижимается
сваривающей головкой с нагревательным элементом. В нижней части трубы размещены
пружинящие распорки, придающие рукаву удобную для поперечной сварки форму.
Распорки предотвращают образование складок на поперечном шве.
К верхней части
формовочной трубы подведена трубка от вакуумного устройства для отсасывания из
пакета воздуха.
Дозирование продукта в
автомате осуществляется поршневым дозатором со всасывающим и нагнетающим
клапаном. Порция кефира из дозатора по дозировочной трубе подается в пакет.
Дозировочная труба помещена в формовочную.
Механизм сварки
поперечного шва имеет две губы – сваривающую и прижимную. Их сжатие
обеспечивается пневмоцилиндром. К сваривающей губе прикреплен
электронагревательный элемент, к нажимной – резиновая прокладка. Для охлаждения
во время работы к сваривающей и прижимной губам подается вода. Механизм сварки
поперечного шва осуществляет также протяжку полиэтиленового рукава на длину
одного пакета.
Привод конвейера пакетов
– пневматический с храповым механизмом, конвейера ящиков с готовой продукцией –
электродвигателем через редуктор.
Техническая
характеристика фасовочно-упаковочног автомата М6-ОПЗ-Е
Производительность, пакетов/мин
- 2 и 25
Объем дозы, л - 0,25;
0,5; 1
Точность дозирования, %
дозы:
0,25 л - ± 4
0,5 л - ± 3
1 л - ± 2
Пленка, мм:
Ширина - 320
Размеры пакета для дозы
(без продукта), мм:
0,25 л - 110х150
0,5 л - 175х150
1 л - 255х150
Давление в пневмосистеме,
МПа - 0,62
Расход воздуха, м3/ч
- 48
Мощность привода, кВт - 22
Габаритные размеры, мм - 3240х2400х2580
Масса (без компрессора),
кг - 745
Рисунок 9
1 – поршневой дозатор; 2
– бак молочный; 3 – лестница; 4 – рулонодержатель; 5 – формовочная трубка; 6 -
рукавообразователь; 7 – механизм сварки продольного шва; 8, 10 – шкафы
электрооборудования; 9 – механизм сварки поперечного шва; 11 – конвейер
пакетов; 12 – фотоэлемент счетного устройства; 13 – бункер; 14 – конвейер ящиков
с пакетами
Расход сырья и выход готового продукта
Норма расхода сырья
представляет собой массу сырья в килограммах, затраченного на выработку 1 т
готового продукта. Массу сырья, затраченного на получение 1 т готового
продукта, рассчитывают по формуле:
Рс = 1000*rг * 100 ,
rс 100-n
где Рс – норма
расхода сырья, кг на 1 т кефира; rг, rс – массовая доля жира в готовом продукте и сырье, %; n – предельно допустимые потери, %.
Зная, что в данный цех
поступает нормализированное по жиру молоко, и жирность получаемого продукта
также равна 3,2 %, находим норму расхода сырья:
Рс = 1000*3,2
* 100 = 1001,5 кг
3,2 100-0,15
Для экономических
расчетов следует также учитывать норму закваски, которая составляет 5 % массы
заквашиваемой смеси, т.е. 50 кг на 1 т сырья. В данной технологической линии
закваска поступает из заквасочной, поэтому данный объем нами в дальнейшем
учитываться не будет.
Данная технологическая
линия производства кисломолочных напитков резервуарным способом рассчитана на
производительность 12 т в сутки, следовательно расход сырья в сутки равен:
12 т *1001,5 кг/т = 12018
кг (12,018 т)
При расходе
нормализованного молока в сутки 12,018 т на производство кефира в данной
технологической линии используется два молокохранительных танка В2-ОМГ-10,
объемом по 10 т каждый, что позволяет не только покрывать потребность линии в
сырье, но и создавать необходимый производственный резерв, перспективу для
дальнейшего развития.
Из молокохранительного
танка В2-ОМГ-10 молоко центробежным насосом НМУ-6 подается в
пастеризационно-охладительную установку ОПЛ-5.
Время работы технологического оборудования вычисляют
по формуле 1:
Тр = Мсм/
(q*n), где Тр – время работы; Мсм –
количество перерабатываемого сырья в смену, кг; q – производительность машины; n – число машин или установок.
Зная производительность
насоса (6000кг/ч), количество перерабатываемого сырья в смену, 6009 кг,
количество насосов – 1, получаем
Тр =
6009/6000*1 = 1,015 ч
Степень загрузки технологического оборудования
определяют по формуле 2:
Кзаг = Мсм/
(q*n*ксм*Тсм)*100%, где Кзаг – степень
загрузки технологического оборудования; Мсм – количество
перерабатываемого сырья в смену, кг; q – производительность машины, кг/ч; n – число насосов; ксм – коэффициент, учитывающий
использование времени смены, 0,8; Тсм – время рабочей смены, 12 ч.
Тогда степень загрузки
насоса НМУ-6 за смену Кзаг = 6009/(6000*1*0,8*12)*100 % = 10,4 %
Таким образом, молоко
перекачивается насосом НМУ-6 за 1,015 ч, после чего оно подвергается дальнейшей
технологической обработке, а насос промывается в соответствии с инструкцией,
сушится и используется по мере необходимости в иных технологических линиях
данного цеха выработки кисломолочной продукции. Необходимо также учитывать, что
степень общей загрузки машины складывается из всех его загрузок в различных
технологических линиях данного цеха, поэтому не стоит считать получившуюся степень
загрузки НМУ-6, равную 10,4 % ничтожно малой.
В дальнейшем молоко
поступает на обработку в пастеризационно-охладительную установку ОПЛ-5.
Пользуясь формулой 1, найдем время работы данной установки, зная, что ее
производительность 5000кг/ч:
Тр =
6009/5000*1 = 1,2 ч
Степень загрузки
установки определим по формуле 2:
Кзаг =
6009/(5000*1*0,8*12)*100 % = 12,5 %
В ходе расчетов мы
получили, что для гомогенизации и пастеризации необходимого сырья с помощью
данной установки требуется 1,2 ч и степень загрузки ОПЛ-5 составляет 12,5 %.
Эти данные позволяют использовать ОПЛ-5 в цехе в нескольких технологических
линиях, что увеличит нагрузку на оборудование и позволит сэкономить затраты.
В дальнейшем молоко поступает
в двустенный танк ОТК-6, куда насосом НРМ-2 подается закваска. Технологический
процесс требует сквашивания сырья в аппарате до необходимого уровня кислотности
(80-100 0Т), а потом его созревания в течении 6 ч. Рабочая емкость
данного резервуара составляет 6000 л, полная емкость – 6200 л. В данной
технологической линии используется четыре таких танка, что связано с
необходимостью длительной обработки резервуара после фасовки продукта, а также
наличием резервных возможностей для дальнейшего увеличения выпуска продукции в
цехе.
Степень загрузки
резервуара определим по формуле 2:
Кзаг =
6009/(1000*1*0,8*12)*100 % = 62,6 %
Где 1000 – условная
производительность ОТК-6 в час, т.к. 6000 кг молока выдерживаются в нем 6 ч.
Закваска подается насосом
НРМ-2 из заквасочной сразу в танк. Пользуясь формулой 1, найдем время его
работы, зная, что производительность НРМ-2 250 кг/ч, и количество
перекачиваемой закваски составляет 50 кг:
Тр = 50/250*1
= 0,2 ч
Степень загрузки насоса
определим по формуле Кзаг=50/(250*1*0,8*12)*100 % = 2,08 %
Из расчетов видно, что
время работы насоса НРМ-2 в данной технологической линии очень мало, 0,2 ч за
смену и степень его загрузки составляет всего 2,08 %. Но следует помнить, что
данный насос используется в цехе не только при производстве кефира, но и при
подаче закваски в других технологических линиях.
Готовая продукция
расфасовывается с помощью фасовочно-упаковочного автомата М6-ОПЗ-Е. Часовая
производительность такого автомата рассчитывается по формуле 3:
У = 60*У´*gy*ky , где У – производительность оборудования, кг/ч; У´-
производительность автомата, упаковок/мин; gy – масса продукта в одной упаковке,
кг; ky – коэффициент, учитывающий
допустимое отклонение массы дозируемого продукта (ky = 1,02).
Зная производительность
автомата (25 упаковок/мин), массу продукта в одной упаковке (1 кг), получаем:
У = 60*25*1*1,02 = 1530
кг
Пользуясь формулой 1,
найдем время работы автомата М6-ОПЗ-Е, зная, что его производительность 1530
кг/ч:
Тр = 6000/1530*1
= 3,9 ч
Степень загрузки
фасовочного автомата определим по формуле 2:
Кзаг =
6000/(1530*1*0,8*12)*100 % = 40,8 %
По данным расчетов видно,
что время работы фасовочно-упаковочного аппарата достаточно велико – 3,9 ч, как
и степень загрузки – 40,8 %. Это следует учитывать при проектировании остальных
технологических линий данного цеха и минимально задействовать на фасовке других
продуктов эту установку. При возникновении необходимости фасовки кефира в
пленочную упаковку по 0,5 л следует использовать имеющиеся в цехе автоматы для
розлива ряженки или йогурта, в данный момент не задействованные в своей линии.
Таким образом, в ходе
расчетов времени работы машин и степени их загрузки видно, что данная
технологическая линия соответствует требованиям технологического процесса
выработки кефира 3,2 % жирности, а также имеет высоких потенциал для расширения
объемов производства.
Расчет сетки колонн,
исходя из того, что строительный квадрат равен 6 х 6 м, осуществляется по
формуле 1: Sоб = (∑S*К)/36, где Sоб – количество квадратов; ∑S – сумма всех площадей, занимаемых
оборудованием; К- поправочный коэффициент, 3,5-5.
Исходя из габаритных
размеров оборудования, рассчитаем площадь, занимаемую им:
Танк молокохранительный
В2-ОГМ 2 шт
S1 = 2*(4,45*2,125) = 18,92 м2
Центробежный насос НМУ-6
1 шт
S2 = 1*(0,39*0,275) = 0,1 м2
Пастеризационно-охладительная
установка ОПЛ-5 1 шт
S3 = 1*(4,4*4,2) = 18,48 м2
Шестеренный насос НРМ-2 1
шт
S4 = 1*(0,475*0,295) = 0,14 м2
Танк Г6-ОПБ-1000 1 шт
S5 = 1*3,14*0,72 = 1,5 м2
Танк двустенный ОТК-6 4
шт
S6 = 4*3,14*1,142 = 16,4 м2
∑S = S1 + S2 + S3 + S4 + S5 + S6 = 18,92 + 0,1 + 18,48 + 0,14 + 1,5 +
16,4 = 65,82 м2
Sоб = (65,82*3,5) /36 = 6
1. Танк
молокохранительный В2-ОМГ-10
2. Насос центробежный
НМУ-6
3. Балансировочный бак
4. Центробежный насос для
молока
5. Пластинчатый
пастеризатор
6. Пульт автоматического
контроля и регулирования тепловой обработки молока
7. Обходной клапан
8. Молокоочиститель
ОМА-3М
9. Гомогенизатор А1-ОГМ
10. Танк Г6-ОПБ-1000 для
выдерживания пастеризованного молока
3, 4, 5, 6, 7, 8, 9, 10 –
входят в состав установки ОПЛ-5
11. Танк двустенный ОТК-6
для сквашивания молока
12. Смеситель для
закваски
13. Фасовочно-упаковочный
автомат М6-ОПЗ-Е
14. Трехходовой кран
1. Резервуары для
хранения молока В2-ОМГ-10
2. Насос центробежный для
молока НМУ-6
3. Балансировочный бак
4. Центробежный насос для
молока
5. Пластинчатый
пастеризатор
6. Молокоочистители
ОМА-3М
7. Гомогенизатор А1-ОГМ
8. Танк Г6-ОПБ-1000 для
выдерживания пастеризованного молока
9. Резервуары двустенные
для кисломолочных напитков ОТК-6
10. Бойлер
11. Насос для горячей
воды
3, 4, 5, 6, 7, 8, 10, 11
- входят в состав ОПЛ-5
12. Пульт автоматического
контроля и регулирования тепловой обработки молока
13. Фасовочно-упаковочный
автомат М6-ОПЗ-Е
Развитие пищевой
промышленности нашей страны и области имеет важное политическое, экономическое
и социальное значение. Только при верном подходе к организации перерабатывающих
предприятий, их модернизации и соблюдении всех технологических нормативов можно
добиться создания наиболее конкурентоспособной продукции. Необходимо помнить,
что производство и реализация пищевых продуктов несут в себе не только
экономическую целесообразность, но и коренным образом влияют на состояние
здоровья населения.
Кисломолочная продукция
оказывает положительное воздействие на пищеварительную систему человека, в
связи с тем, что в результате ряда биохимических процессов, протекающих при
сквашивании молока, образуется особая, молочнокислая микрофлора, имеющая в
своем составе различные вещества - молочную кислоту, углекислый газ, спирт,
антибиотики и др. Усвояемость кисломолочных продуктов выше, чем усвояемость
свежего молока, так как в кисломолочных продуктах белки частично
пептонизированы. Кроме того, в ряде кисломолочных продуктов сгусток
пронизывается мельчайшими пузырьками углекислого газа, в результате чего
становится более доступным воздействие ферментов пищеварительного тракта.
Кефир имеет приятный,
слегка освежающий и кислый вкус, нежный сгусток, возбуждает аппетит, усиливает
секреторную и моторную деятельность желудка и кишечника, укрепляет нервную
систему. Благодаря своим питательным свойствам он широко применяется для
лечения и профилактики малокровия, атеросклероза, болезней легких и плевры, при
нарушении функции желудочно-кишечного тракта и обмена веществ.
При соблюдении
технологического процесса, а именно тщательному подбору исходного сырья,
соблюдению норм температур и давления при пастеризации и гомогенизации, заквашиванию
молока хорошо смоделированными, качественными заквасками, постоянном контроле
качества полуфабриката в химической лаборатории, своевременном розливе и
маркировке, можно добиться получения продукции, отвечающей требованиям современной
индустрии питания. Выбор технологической линии, подбор машин по производительности и совместимости
их друг с другом, обеспечение санитарно-гигиенических норм удобством мытья
оборудования, а также максимальная автоматизация процесса и улучшение условий
труда рабочих наряду с реализацией технологического процесса играет важнейшую
роль в формировании свойств готового продукта, рентабельности всего
производства в целом.
1.
Беляев А.Н.
Механизация производства кисломолочных напитков резервуарным способом – Изд-во
«Пищевая промышленность», 1964
2.
Беляев А.Н.
Технологическое оборудование для производства кисломолочных напитков
резервуарным способом. – Изд-во «Пищевая промышленность», 1970
3.
Богданова Г.И.,
Новоселова Л.Ф. Опыт производства кефира резервуарным способом. – М.:
Центипищпрм, 1965
4.
Глазачев В.В.
Производство кисломолочных продуктов. – М.: Пищепромиздат, 1960
5.
Крусь Г.Н. и др.
Технология молока и молочных продуктов / Г.Н. Крусь, А.Г. Храмцов, З.В.
Волокитина, С.В. Карпычев; Под ред. А.М. Шалыгиной. – М.: Колос, 2006. – 455 с.
6.
Курочкин А.А.,
Ляшенко В.В. Технологическое оборудование для переработки продукции
животноводства / Под ред. В.М. Баутина. – М.: Колос, 2001. – 440 с.
7.
Основы
проектирования и строительства перерабатывающих предпритий. / Гордеев А.С.,
Завражнов А.И., Курочкин А.А., Хмыров В.Д., Шабурова Г.В. / под ред. Завражнова
А.И. – М.: Агроконсалт, 2002 – 492 с.
8.
Шершнева В.И.,
Беляев А.Н. Усовершенствование производства кисломолочных напитков резервуарным
способом. – М.: Центипищпрм, 1962
9.
Шидловская В.П.
Органолептические свойства молока и молочных продуктов. Справочник. – М.:
Колос, 2000. – 280 с.