|
Диапазон принимаемых частот, МГц
|
<0,5
|
0,5…2
|
2…20
|
20…200
|
>200
|
|
Эквивалентная добротность входной цепи
|
40
|
50
|
80
|
60
|
50
|
Максимальна полоса пропускания эквивалентного контура
получиться при максимальной частоте сигнала равной 520 кГц.
Отсюда можно найти требуемое число настраиваемых контуров:
Так как
, то в преселекторе будем использовать
одноконтурное входное устройство.
Полученное ослабление зеркального канала:
Ослабление сигнала помехи с промежуточной частотой:
Выберем в качестве входной цепи не перестраиваемый фильтр
низкой частоты с граничной частотой равной максимальной сигнала приема.
Проведем расчеты для второго преобразователя частоты. Оценим все частоты
способные повлиять на избирательность. После второго преобразователя частоты
будет находиться ФПЧ настроенный на частоту 128 кГц с полосой пропускания 100
Гц на уровне -3 дБ и -50 дБ при расстройке на ±5 кГц. Определим частоту второго
гетеродина и частоту зеркального канала.
Рассчитаем частоту помехи равную частоте второй промежуточной
после преобразования в первом смесителе.
Таким образом, для дополнительного снижения сигнала помехи с
первой промежуточной частотой и применим фильтр пробку после ФНЧ настроенный на
частоту помехи с частотой 2 МГц. Для фильтрации второго зеркального канала и
сигнала помехи с частой равной второй промежуточной после преобразования в
первом смесителе применим после первого смесителя фильтр (ФПЧ1) с центральной
частотой равной 2 МГц и полосой по уровню -3 дБ не более 5 кГц, при расстройке
на более чем 30 кГц ослабление не менее 30 дБ.
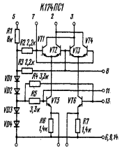
Два этих устройства (смесителя) можно реализовать на базе ИМС
К174ПС1.
.4 Выбор способа настройки на частоту приема
На данный момент существует несколько способов настройки на
частоту приема это ручной и автоматический. Определим количество каналов
приема:
Применение ручного переключения каналов используя набор
конденсаторов нецелесообразно. В соответствии с заданием нам подойдет
автоматический способ настройки на частоту приема с фиксированным шагом 1 кГц.
Наиболее удобно будет применить синтезатор частоты, который будет управляться
из вне с помощью микроконтроллера (в памяти которого будут храниться коды
каналов). Синтезатор будет вырабатывать управляющее напряжение в зависимости от
частоты входного сигнала отводимого от первого гетеродина и заданного
коэффициента деления частоты опорного генератора. С его помощью можно легко
управлять частотой гетеродина. Настройка будет обеспечиваться перестройкой
частоты первого гетеродина.
Величина этого коэффициента позволяет применить в качестве
перестраиваемого элемента варикап.
1.5 Выбор ФПЧ1 и ФПЧ2
Для обеспечения заданной избирательности по соседнему каналу
нам понадобиться применить фильтр промежуточной частоты, который будет
обеспечивать заданную избирательность по соседнему каналу и будет обладать
следующей амплитудно-частотной характеристикой.
Параметры для ФПЧ1 были приведены выше.
Рассмотрим вариант с применением LC-фильтра. Определим
приблизительную добротность контура LC-фильтра.
Учитывая что добротность одного контура на данной частоте 40,
то для реализации такой избирательности понадобиться фильтр 32-го порядка,
следовательно LC-фильтр здесь не применим.
В качестве фильтра лучше применить готовый кварцевый фильтр
6-10 порядков. Такой фильтр имеет качественные характеристики, не требует
настройки, имеет компактные размеры, что немаловажно для современной техники, и
большую стабильность в широком температурном диапазоне.
1.6 Выбор демодулятора
Для детектирования дискретных импульсов применим схему
диодного детектора радиоимпульсов.
1.7 Распределение усиления по каскадам
Исходными данными для расчета требуемого коэффициента
усиления радиотракта
являются заданная чувствительность по
напряжению, эффективное значение полезного сигнала на выходе и принятое входное
напряжение детектора. С учетом возможного отклонения параметров необходимо
обеспечить
.
Детектор будет реализован на диоде нагруженном на RC цепь и его коэффициент
передачи выбираем равным
Таким образом, на вход детектора необходимо
подать
Общий коэффициент усиления радиотракта должен составлять:
Общее усиление радиотракта определяется произведением
коэффициентов усиления составляющих его узлов.
где
- коэффициент передачи входной цепи (по частоте
среза ФНЧ);
коэффициент усиления резонанстого усилителя
радиочастоты;
коэффициент усиления смесителя на ИМС К174ПС1;
оэффициент усиления фильтра ПЧ;
коэффициент усиления усилителя промежуточной
частоты.
В качестве УПЧ применим интегральный широкополосный усилитель
SL612, коэффициент усиления
которого составляет 34дБ. Тракт усиления ПЧ1 будет состоять из усилителя
построенного на одном операционном усилителе с коэффициентом усиления порядка
20 дБ, а тракт УПЧ2 из двух усилителей SL612, максимальный
коэффициент усиления которого составит примерно 68дБ. УПЧ2 обеспечит запас
усиления необходимый для реализации АРУ.
1.8 Проверка соотношения сигнал/шум
В завершении расчет проверим реализацию требуемого по заданию
соотношения сигнал/шум на выходе устройства. Для определения необходимости
использования УРЧ рассчитаем коэффициент шума для первого активного прибора.
При приеме импульсных сигналов
.
Зададимся начальными параметрами. А именно выберем
эквивалентное входное сопротивление генератора шума, коэффициент шума первого
активного элемента (в нашем случае это транзистор в УРЧ), максимальной полосой
радиотракта.
Определим соотношение сигнал/шум на входе приемника, для
этого определим максимально допустимое напряжение шумов.
Проверим, удовлетворят ли выбранные нами условия заданному
соотношению. Вычислим величину тепловых шумов, для этого воспользуемся
приближенной формулой. Предположим, что транзистор находится в согласованном
режиме.
Данное значение удовлетворяет соотношению сигнал/шум.
Учитывая получившееся значение, приходим к выводу, что использовать УРЧ нет
необходимости и можно применить сразу преобразователь частоты.
2. Расчет каскадов приемника
.1 Входная цепь
Произведем расчет входной цепи. Как было решено ранее в
качестве входного устройства будет применен ФНЧ, который должен иметь следующие
параметры:
. Частота среза по уровню -3 дБ 520 кГц.
. Затухание на частоте 4.28 МГц не менее 57 дБ
(зеркальный канал).
. Входное сопротивление фильтра не менее 1000 Ом.
. Фильтр нагружен на нагрузку равную 1кОм.
Вычисляем крутизну характеристики фильтра:
По графикам нормированных кривых ФНЧ различного порядка
выбираем такой фильтр, который при рассчитанной AS обеспечивал бы
гарантированное затухание в ПЗ не менее заданного.
Необходимое затухание зеркального канала способен обеспечить
фильтр Баттерворта 3-го порядка.
Из таблицы выберем нормированные значения параметров фильтра.
Для определения реальных параметров рассчитаем величину коэффициента
масштабирования импеданса и частотного множителя.
Проверим результат, отмоделировав схему в Orcad 9.2.
Судя по АЧХ фильтр обеспечивает достаточное значение
затухания зеркального канала в 60 дБ.
Рассчитаем параметры фильтра пробки, который должен
обеспечить подавление сигнала помехи с частотой равной первой промежуточной.
Рассчитаем величину емкости и катушки индуктивности.
Сопротивление потерь катушки примем равным 3 Ом емкостью катушки можно
пренебречь. На резонансной частоте, равной 2МГц, сопротивление фильтра должно
быть большим, чтобы не пропускать сигнал помехи. На частоте 520 кГц
сопротивление фильтра не должно превышать 5 Ом, оно будет зависеть в основном
от величины индуктивности. Из этих условий и рассчитаем параметры фильтра.
Произведем моделирование в Orcad и проверим выполнение
требований предъявляемых к входной цепи. Схема в Orcad имеет следующий вид.
2.2 Преобразователь частоты (1) и гетеродин (1)
Для реализации первого преобразования частоты воспользуемся
схемой преобразователя частоты с совмещенным гетеродином. Контур гетеродина
подключен к транзисторам ИМС. Задача расчета: определение емкостей C2,
C3, C4, обеспечивающих режим автогенерации; величину
индуктивности L
и емкости контура обеспечивающих генерирование сигнала с частотой от 2.28-2.52
МГц. Величина управляющего напряжения изменяется в пределах от 0..5 В.
Для начала расчета приведем основные параметры микросхемы
К174ПС1.



У транзисторов ИМС значение эмиттерного тока при отсутствии
генерации ориентировочно IЭ = 0.5 мА. Выбираем амплитуду первой
гармоники эмиттерного тока транзисторов гетеродина, исходя из условия: Im1
Э = 1.6 IЭ=0.8 мА.
Выберем индуктивность контура гетеродина и рассчитаем
минимальную и максимальную допустимые емкости контура.
Задаемся значением конструктивной добротности QКГ=80
контура гетеродина и рассчитываем резонансное сопротивление контура гетеродина
на минимальной частоте
Определяем коэффициент включения контура гетеродина в цепь
эмиттеров транзисторов ИМС с учетом шунтирующего действия резисторов R4,
R5, R6, R7 (значение сопротивлений см. схема
ИМС К174ПС1):
Где R = (Im1 Э R4 - 0.28) R4
/ Um=5.192 кОм.
Рассчитываем коэффициент включения контура между базами
транзисторов из условия обеспечения устойчивой работы генератора:
Задаемся суммарной емкостью последовательно включенных конденсаторов
C2, C3, C4 приблизительно равной С =
(0.07…0.15) CК=15пФ (от средней емкости контура) и рассчитываем:
С учетом входных емкостей ИМС C/2 и C/4
(приблизительно 3…4 пФ) рассчитываем значения:
C2 = CБ
- C/2 =36.5пФ, C4 = CЭ
- C/4 =74.72пФ.
Выбираем стандартные значения емкостей конденсаторов (типовой
ряд E24)
C2=36пФ, C3=36пФ, C4=75пФ.
Рассчитаем значения подстроечной емкости контура и диапазон
изменения емкости варикапа. Так как емкости варикапа и постоянной емкости
включены последовательно, то необходимо выбрать величину постоянной емкости
больше максимальной контура в 5 раз.
Выберем варикап, который изменял бы емкость 150…210 пФ, при
изменения обратного напряжения от 0.5…5 В. Выберем подходящий варикап из
следующей таблицы.
Как видно нам подойдет варикап марки КВ101А.
Определим величины управляющих напряжений при которых
выполняется перестройка контура на заданный интервал частот.
Определим величину управляющего напряжения на варикапе, при
котором он будет иметь емкость 160 пФ.
Определим величину управляющего напряжения на варикапе, при
котором он будет иметь емкость 206 пФ.
Учитывая, что управляющее напряжение не выходит за интервал
от 0…4 В управляющее напряжение можно будет непосредственно подавать от
синтезатора частот на варикап. Рассчитаем величину переходной емкости в цепи
контура и сопротивление управляющего резистора. Величина тока утечки варикапа
1мкА. Определим величину Cp.
Определим параметры контура присоединенного к выводам 2 и 3.
Он должен быть настроен на промежуточную частоту. Единственным условием
является то, что он полностью должен пропускать спектр принимаемого сигнала 100
Гц и иметь резонанс на частоте 2 МГц.
Коэффициенты включения рассчитывать не будем. Они уточняются
в процессе сборки и не интересуют нас. Главным условием является лишь
резонансная частота.
2.3 Расчет параметров ФПЧ1 и ФПЧ2
При проведении предварительного расчета выяснилось, что
применение простого фильтра на колебательном контуре нам не подойдет, и было
решено применить готовый фильтр на кварцевых резонаторах. В качестве ФСИ
выберем фильтры ФП2П6-522 и ФП2П1-588-128к-100. Основные их параметры приведены
в таблице.
Передаточная характеристика имеет следующий вид и параметры.
2.4 Синтезатор частоты
В качестве синтезатора будем использовать микросхему LM7001J предназначенную для
построения частотных синтезаторов с системой ФАПЧ.
Функциональная схема прибора изображена на рис. 15.
Управляющая последовательность битов, поступающая на приемный сдвиговый
регистр, определяет значение шага частотной сетки синтезатора, коэффициент
деления программируемого делителя частоты, режим его работы и состояние выходов
BSoutl-BSout3.
Выходной сигнал генератора, управляемого напряжением (ГУН),
поступает на вход - АМ. Делители частоты уменьшают частоту сигналов образцового
генератора и входного сигнала в необходимое число раз - до значения частотного
шага сетки. Фазовый детектор сравнивает оба сигнала и формирует сигнал ошибки,
уровень которого пропорционален разности фаз между ними. Сигнал ошибки снимают
с выхода Pd2.
Микросхема может работать с семью стандартными значениями
шага частотной сетки - 1, 5, 9, 10, 25, 50 или 100 кГц (при частоте образцового
генератора 7200 кГц).
Введение информации происходит последовательно, начиная с младшего
бита коэффициента деления частоты программируемого делителя, который может
работать в двух режимах - AM и FM.
Основные технические характеристики
Номинальное напряжение питания, В ……………………….. 4,5…6,5
Входное напряжение высокого уроаня, В, по входам СЕ, СL, Data
. 2,2…6,5
Входное напряжение низкого уровня, В, по входам СЕ, CL,
Data.0…0.7
Максимально допустимое напряжение, подводимое к выходу SC, В.
6,5
Максимально допустимое напряжение, подводимое к входам BSout1-BSout3,
В …….13
Максимально допустимый выходной ток выхода SC, мА…………..3
Максимально допустимый входной ток входов BSout1-BSout3,
мА……3
Частотный интервал входа АМin,
МГц……………………………0.5…10
Частотный интервал входа FMin, МГц, при шаге частотной сетки
, 50, 100 кГц …………45…130
,5,9, 10 кГц…………………………5…30
Чувствительность по входам AMin и FMin,
В (эфф.)……………0,1…1,5
Типовое значение входного сопротивления по входам AMin
и FMin, кОм 500
Общий потребляемый ток, мА ………………………………………….40
При напряжении питания каскада на полевом транзисторе VT1 напряжение управления
изменяется в пределах от 0 до 5,25 В. Этого напряжения достаточно для
управления перестраиваемым контуром гетеродина.
.5 Усилитель промежуточной частоты 1
Как говорилось ранее в качестве УПЧ1 применим усилитель
построенный на операционном усилителе. Выберем постоянный коэффициент усиления
для этого усилителя равный 20 дБ.
Рассчитаем величину сопротивлений резисторов для данной схемы
исходя из следующих данных. Коэффициент усиления 10. Коэффициент усиления
определяется по следующей формуле.
ИМС выберем К140УД23, напряжение питания ±15 В. Данный
операционный усилитель можно применять на частоте до 10 МГц. Определим величину
Cp.
2.6 Преобразователь частоты (2) и гетеродин (2)
Исходными данными для расчета являются параметры резонатора:
L, r, C0, fПОСЛ.
Для
выбранного резонатора РК6-2110-2150 фирмы НПП «Деко-Кварц» эти параметры
составляют:
Значение fГ в небольших пределах зависит от
внешней емкости C, которую выбирают из следующих соображений. Увеличение C
ослабляет влияние нестабильностей емкостей ИМС, зависящих от температуры,
питающих напряжений и времени. При этом значение fГ приближается к fПОСЛ.
Однако чрезмерное увеличение C приводит к ухудшению условий самовозбуждения
автогенератора и росту рассеиваемой в резонаторе мощности.
Рассчитаем C при частоте генерации равной 2128 кГц.
Далее определяем коэффициенты включения эквивалентного
контура в эмиттерную и базовую цепи ИМС (pЭ и pБ) и
рассчитываем значения емкостей C2, C3, C4.
Рассчитываем коэффициент включения контура между
базами транзисторов из условия обеспечения устойчивой работы генератора:
Задаемся суммарной емкостью последовательно включенных
конденсаторов C2, C3, C4 приблизительно равной
Са= (0.07…0.15) CК=39пФ (от емкости контура) и
рассчитываем:
С учетом входных емкостей ИМС C/2 и C/4
(приблизительно 3…4 пФ) рассчитываем значения:
C2 = CБ
- C/2 =98пФ, C4 = CЭ
- C/4 =198пФ.
Выбираем стандартные значения емкостей конденсаторов (типовой
ряд E24)
C2=100пФ, C3=91пФ, C4=200пФ. Рассчитаем
величину емкости образуемую этими конденсаторами и вносимую в колебательную
систему:
С учетом вносимой емкости рассчитаем емкости C5, C6.
Емкости будут одинаковыми, при этом подключены
последовательно, а вносимая емкость паралельно.
Выбираем стандартные значения емкостей конденсаторов (типовой
ряд E24)
C5=680 пФ, C6=680 пФ.
2.7 Усилитель промежуточной частоты 2
Второй усилитель промежуточной частоты построим по
многокаскадной схеме с использованием интегральной микросхемы-усилителя
радиочастоты SL612C. Параметры микросхемы приведены в таблице.
Параметры SL612C
|
Параметр
|
Значение
|
Единица измерения
|
Примечания
|
|
Напряжение питания
|
6
|
В
|
|
|
Потребляемый ток
|
3,3
|
мА
|
|
|
Коэффициент усиления напряжения
|
34
|
дБ
|
|
|
Частота среза(-3дБ)
|
75
|
МГЦ
|
|
Данный усилитель является широкополосным и имеет выход
управления коэффициентом усиления, что позволит нам применить АРУ. Рассчитаем
число каскадов, необходимых для получения заданного коэффициента усиления.
Для этого воспользуемся полученными данными в ходе расчета
предыдущих каскадов.
Оценим необходимый коэффициент усиления УПЧ2.
Для реализации АРУ нам понадобиться запас изменения
коэффициента усиления по напряжению порядка 30 дБ (32 раз.)
Число каскадов УПЧ2, зная, что усиление на один каскад равное
34 дБ или в 50.118 раз будет равно двум.
Учитывая, что один усилитель перекрывает по регулировке 34
дБ, то управляющее напряжение будет подаваться на две микросхемы. Определим
минимальное и максимальное напряжение управления из условия, что при
минимальном напряжении КУ будет 68 дБ, а при максимальном КУ будет равен 1. По
графику рисунок 18 мы видим, что напряжение управления должно быть в пределах
от 1.8 В до 3.7 В.
.8 Система АРУ
Для того чтобы освободить оператора от операций регулировки
усиления, применяют автоматические регулировки усиления (АРУ). С помощью АРУ
обеспечивается необходимое для нормальной работы оконечных устройств систем
постоянство выходных сигналов при значительных изменениях интенсивности
принимаемых сигналов, АРУ предотвращает перегрузки приёмного устройства
сильными сигналами и тем самым устраняет нелинейные искажения в приёмном
канале, которые могут возникать при приёме амплитудно-модулированных сигналов.
В интегральные усилители промежуточной частоты SL612 встроена система АРУ.
Схема их включения изображена на рис. 20. Сигнал управления АРУ подается через
усилитель на вывод 7 микросхемы. Зависимость коэффициента усиления микросхемы
от управляющего напряжения приведена на рис. 21.
Необходимый коэффициент усиления тракта промежуточной частоты
должен составлять:
3 микросхемы SL612 обеспечивают
коэффициент усиления
Тогда коэффициент усиления микросхемы при
минимальном входном сигнале необходимо уменьшить на
По характеристике рис. 21 выберем начальное напряжение на
выводе 7 микросхем равным
. Таким образом сигнал с выхода детектора
необходимо усилить в:
Применение обычной схемы усиления продетектированного и
выпрямленного сигнала нецелесообразно. На вход управления необходимо постоянно
подавать напряжение равное 1.8 В, для защиты приемника в режиме ожидания
сигнала, так как в этот период коэффициент усиления будет больше требуемого на
20.5 дБ. Пересчитаем величину коэффициента усиления с учетом постоянного
напряжения управления.
Рассчитаем параметры схемы. Для этого определим коэффициент
передачи схемы диод-ФНЧ. После диода напряжение на входе ФНЧ имеет вид.
Учитывая падение напряжение на диоде в открытом состоянии не
менее 0.65 В,
Максимальное напряжение на выходе ОУ будет 3.79 В.
Минимальное входное напряжение 225 мВ, максимальное 5 В. Коэффициент передачи
ОУ равен:
Рассчитаем значения сопротивлений приняв R2=5.1 кОм.
Фильтр должен отфильтровывать гармонические составляющие
первая из которых равна минимальной частоте сигнала 100 Гц. Выберем граничную
частоту равной 50 Гц.
Диод выберем типа 1N4376.
Емкость в цепи питания выберем равной 0.1 мкФ. Напряжение
питания 5 В Стабилитрон на напряжение стабилизации 3.3 В тип КС133Г его
параметры приведены в следующей таблице.
|
Напр. Стаб.
|
Диапазон изменения тока
|
Рассеиваемая мощность
|
Нестабильность напр. стаб
|
|
3.3 В
|
1…37.5 мА
|
300 мВт
|
0.35 В
|
Рассчитаем сопротивление резистора взяв ток порядка 10 мА в
ненагруженном состоянии.
В качестве устройства сравнения напряжений применим обычную
схему сумматора на ОУ с разными коэффициентами передачи для разных напряжений.
Выходное напряжение определяется по следующей формуле:
ос/R4=R3/R1+R3/R2
- условие баланса при котором схема работает в режиме суммирования напряжений.
Выберем R3=2
кОм. Тогда остальные сопротивления определим из следующих выражений.
В качестве операционного усилителя применим микросхему
1407УД1А.
Технические параметры
|
Количество каналов
|
1
|
|
Напряжение питания, В
|
5
|
|
Частота, МГц
|
1
|
|
Напряжение смещения, мВ
|
10
|
|
Тип корпуса
|
DIP8
|
2.9 Детектор
В качестве детектора применим обычную схему однотактного
детектора на одном диоде. Как известно диод обладает одной особенностью,
которая ограничивает применение диодных детекторов при низких напряжениях, это
напряжение открытия диода. Поэтому дополним схему дополнительным делителем напряжения,
для подъема рабочей точки диода до нужного уровня. Выберем диод 1N4376 и приведем его ВАХ
для определения напряжения открытия.
Как видно напряжение открытия диода равно 0.4 В. Приведем
схему детектора и рассчитаем элементную базу.
Выберем емкости конденсаторов переходного и балластного
конденсаторов из условия, что сопротивление их на промежуточной частоте будет
равно 1 Ом.
Рассчитаем сопротивления делителя, если ток делителя не более
1 мА, а напряжение питания 9В.
Определим сопротивление нагрузки и емкость нагрузки диода.
Для этого приведем несколько условий. Время спада не должно превышать 25% от
длительности самого короткого импульса. За период напряжение на конденсаторе не
должно упасть более чем на 20%.
Из этих условий и выберем номиналы.
Определим уровень флуктуации амплитуд, зная уравнение спада
напряжения на конденсаторе.
Определим величину индуктивности.
Таким образом, мы произвели расчет всех параметров приемника.
Заключение
В результате выполнения работы удалось спроектировать
приёмник АМ - сигналов. Все его технические характеристики удовлетворяют
параметрам, заданным в техническом задании: приёмник имеет требуемую
чувствительность, соотношение сигнал/шум, избирательность по соседнему и
зеркальному каналу. Приёмник выполнен на малогабаритных и широко
распространённых микросхемах и дискретных элементах. Все активные приборы
выбирались из условия их работы в диапазоне температур от -20 до +40 градусов
Цельсия.
В качестве рекомендаций к применению предлагается перед
использованием прочитать инструкцию. При подключении устройства соблюдать
полярность и не превышать допустимых величин. При подключении для нормальной
работы рекомендуется согласовать устройство с нагрузкой и антенной.
Настройку приемника следует начинать с настройки резонансных
контуров, изменяя величину емкостей подстроечных конденсаторов. Далее следует
настроить УПЧ и АРУ при входном сигнале 5 мкВ. В качестве элементов настройки
используются подстроечные резисторы в цепях обратной связи ОУ цепи АРУ.
Начинать нужно с опорного напряжения. Заключительным этапом должна быть
проверка на соответствия радиоприемника требуемым параметрам.
Список литературы
1. «Проектирование радиоприемных устройств» под
ред. А.П. Сиверса. 1976 г.
2. «Расчет усилительных устройств» Учебное
пособие к практическим занятиям под ред. Ю.Т. Давыдова. Издательство МАИ 1993
г.
. Журнал Радио №4 2003 г. с. 49
. М.А. Кузнецов, Р.С Сенина
«Радиоприемники АМ, ОМ, ЧМ сигналов»
. Транзисторы и их зарубежные аналоги.
Маломощные транзисторы. Том 1. Справочник под. Редакцией В.М. Петухова. Москва
2000 г.
. Усатенко С.Т. «Выполнение электрических
схем по ЕСКД: справочник» 1990 г.
. «Электротехнические чертежи и схемы»
К.К. Александров, Е.Г. Кузьмина. 2007 г.