Расчет электрических цепей
Оглавление
Введение
Задание
№ 1. Расчет линейной электрической цепи постоянного тока
Определение
токов во всех ветвях методом контурных токов
Определение
токов во всех ветвях методом узловых напряжений
Свод
результатов расчетов проведенных двумя методами
Составление
баланса мощностей
Определение
тока I методом эквивалентного генератора
График
зависимости I1 = f (R)
Задание
№ 2. Расчет электрических цепей однофазного тока
Определение
комплексных действующих значений токов во всех ветвях методом узловых потенциалов
Определение
показаний ваттметров
Построение
векторных диаграмм токов и топографическую диаграмму напряжений
Задание
№ 3. Расчет трехфазной электрической цепи
Определение
комплексных действующих значений токов во всех фазах обоих приемников и токов на
линейных проводах
Определение
показания ваттметров
Библиографический
список
Введение
Теория электрических цепей изучает
электромагнитные явления в технических системах, предназначенных для
производства передачи и распределения электрической энергии.
При расчете линейной электрической цепи
используются следующие методы: метод контурных токов, метод узловых
потенциалов, метод эквивалентного генератора.
Метод контурных токов основан на применении
второго закона Кирхгофа. В методе узлового потенциала применяются уравнения,
составленные по первому закону Кирхгофа.
Под трехфазной системой ЭДС понимают три
синусоидальных ЭДС одинаковой частоты и амплитуды, но различающихся по фазе.
Совокупность трехфазной ЭДС нагрузки и соединительного провода называют трехфазной
цепью.
Достоинства трехфазной системы.
а) При передаче заданной мощности требуется
меньшее число проводов, чем в несвязных однофазных системах.
б) В цепи имеются два условия напряжения: фазные
и линейные, что позволяет читать различные нагрузки без применения
трансформаторов.
в) Симметричная мощность трехфазной системы: Р =
UаIа + UвIв + UсIс не зависит от времени. Мощность от трехфазного генератора и
нагрузки поступает равномерно в течение времени.
г) Трехфазные системы позволяют создавать
вращающиеся магнитные поля, которые используются для работы в наиболее
распространенном типе трехфазных асинхронных двигателях.
Задание №1. Расчет линейной электрической цепи
постоянного тока
Рисунок 1.1 Исходная схема рассчитываемой
цепи.
Определить токи во всех ветвях цепи
методом контурных токов.
Определить токи во всех ветвях цепи
методом узловых напряжений.
Для сравнения результаты расчетов
приведенных двумя методами свести в одну таблицу.
Составить баланс мощностей электрической
цепи.
Определить ток I1 методом
эквивалентного генератора при применении величины сопротивления R1 в пределах
от R1 до 6 R1. Построить график зависимости I1(R1).
Рисунок 1.2 Расчетная схема.
Исходные данные.
R1=50 Ом;=45 Ом;=44 Ом;=23 Ом;
R5=35 Ом;=66
Ом;=5
A;=4 A;
E1=100 B;=120 B;=4 B.
. Определить токи во всех ветвях цепи методом
контурных токов.
. Определить токи во всех ветвях цепи методом
узловых напряжений.
. Для уравнения результаты расчетов, проведенных
двумя методами свести в одну таблицу.
. Составить баланс мощностей в электрической
цепи.
. Определить ток I1 методом эквивалентного
генератора при изменении величины сопротивления R1 в пределах от R1 до 6R1.
Построить график зависимости I1(R1).
РЕШЕНИЕ:
Определим токи во всех ветвях методом контурных
токов
Выберем направления токов в ветвях и выберем
направления контурных токов I11, I22, I33 (контурные токи текут по часовой
стрелке), в контурах abca, acda, bcdb соответственно. Количество контуров определяется
из формулы: число ветвей, не содержащих источники тока - число токов + один.
Составим уравнения по второму закону Кирхгофа
для нахождения значений контурных токов.
Определим собственные сопротивления контуров и
контурные ЭДС:
R11 = R1 + R4 + R5 = 50 + 23 + 35 = 108 Ом= R2 +
R3 + R4 = 45 + 44 + 23 = 112 Ом= R3 + R6 + R5 = 44 + 66 + 35 = 145 Ом=-E4 +E1 +
Ik1 * R1 - Ik2 * R5 =-4+100+5*50-4*35= 206 В
Е22 = E4 - E3=4-120=-116 В= E3 +Ik2 * R5
=120+140=260 В
Запишем систему уравнений для контурных токов:
Где R12 = R21 = - R4 = - 23 Ом= R31
= - R5 = - 35 Ом= R32 = - R3 = -44 Ом
Подставим числовые значения.
В матричной форме:
Определим значения контурных токов.
Вычислим значения токов в ветвях
Определяем токи во всех ветвях цепи
методом узловых напряжений
Приравняем потенциал узла d нулю и
составим уравнения для определения потенциалов остальных узлов.
Подставим числовые значения

IAA = Ik1 +E1/R1 +E4/R4
=5+100/50+4/23=7,1739 A;
Iвв
= E3/R3 = 120/44=2,7273AСС
= -E4/R4 -E3/R3 + Ik2 = -4/23-120/44+4=1,0988A
Вычислим значения потенциалов узлов.
Найдем значения токов в ветвях цепи.
Сведем результаты расчетов,
проведенных двумя методами в одну таблицу:
Таблица 1. Данные вычислений.
|
Метод
расчета
|
I1,
A
|
I2,
A
|
I3,
A
|
I4,
A
|
I5,
A
|
I6,
A
|
|
Контурных
токов
|
-2,093
|
0,615
|
2,066
|
-2,292
|
-4,226
|
2,681
|
|
Узловых
напряжений
|
-2,093
|
0,615
|
2,067
|
-2,292
|
-4,226
|
2,682
|
|
Относительная
ошибка
|
0
|
0
|
0,001
|
0
|
0
|
0,001
|
Составим баланс мощностей в электрической цепи
Найдем мощность источников:
4.2 Найдем мощность нагрузок:

Относительная погрешность
А=(1644,45-1644,15/1644,45)*100%=0.02%
Определим ток I1 методом
эквивалентного генератора при изменении величины сопротивления R1 в пределах от
R1 до 6R1
Вместо сопротивления R1 разрыв и
найдем эквивалентное сопротивление цепи относительно точек da.
Рисунок1.2 Эквивалентная цепь
сопротивлений относительно точек da.
Заменим треугольник сопротивлений
R2, R3, R4, эквивалентной звездой сопротивлений Ra, Rb, Rc.
Рисунок 1.3. Эквивалентная цепь
сопротивлений соединенных «звездой».
Тогда, эквивалентное сопротивление
цепи относительно точек da будет равна:
Определим напряжение между точками
da. Найдем токи в цепи методом контурных токов.
Рисунок 1.4. Расчетная схема.
Разрываем ветвь там где нужно определить
ток и подсчитать напряжение между точками разрыва (Uxx) Составим систему
уравнений для определения потенциала в узлах 1,2,3.
Узловые токи:
= Ik1 +E4/R4 =5+4/23=5,1739 A;
Iвв
= E3/R3 = 120/44=2,7273AСС
= -E4/R4 -E3/R3 + Ik2 = -4/23-120/44+4=1,0988A
Вычислим значения потенциалов узлов.
Uxx=284,367В
Построение графика зависимости
I1(R1)
Рисунок 1.5.График зависимости
I1=f(R1).
Задание №2. Расчет электрических
цепей однофазного тока.
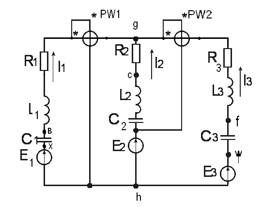
Рисунок 2.1 Исходная схема
|
R1=50
Ом; R2=0 Ом; R3=72 Ом L1=60 мГн; L2=41 мГн; L3=0 мГн C1=33 мкФ; C2=15 мкФ;
|
C3=0
мкФ E1=171 B; E2=0 B; E3=100 B Ф1=550 Ф2=00 Ф3=1380 f=50 Гц.
|
Определить комплексные действующие значения
токов во всех ветвях, пользуясь методом узловых потенциалов.
Определить показания ваттметров и составить
баланс активных и реактивных мощностей.
Построить векторную диаграмму токов и
топографическую диаграмму напряжений.
Решение
Рисунок 2.2 Расчетная схема
Определим комплексные действующие значения токов
во всех ветвях, пользуясь методом узловых потенциалов
Найдем комплексные сопротивления ветвей.
Найдем напряжение между точками g и
h.
Ugh=(E1*Y1
+E3*Y3)/ Y1+Y2+Y3
Комплексные проводимости ветвей Y1,
Y2, Y3 , будут равны
Определим токи в ветвях.
Определим показания ваттметров
Ваттметр W1 показывает значение,
равное действительной части произведения комплекса напряжения
и
сопряженного комплекса тока
.
Ваттметр W2 показывает значение,
равное действительной части произведения комплекса
и
сопряженного комплекса тока
Составим баланс мощностей
Найдем комплекс полной мощности
источников
Отсюда активная и реактивная
мощности источников:
Рист=194,5 Вт;ист=-164,3 Вар.
Отсюда активная и реактивная
мощности нагрузки
Таким образом баланс мощностей
выполняется, т.к.
Рист=Рнагр и Qнагр=Qист.
Построим векторную диаграмму токов и
топографическую диаграмму напряжений. Найдем значения падений напряжений на
элементах цепи.
Рисунок 2.2 Векторная диаграмма
токов и напряжений.
Задание №3. Расчет трехфазной
электрической цепи
Рисунок 3.1 Исходная схема
Исходные данные
|
Несимметричный
треугольник R1=54 Ом; R2=11 Ом; R3=0 Ом; XС1=38 Ом XC2=50 Ом XL3=81 Ом
|
Симметричная
звезда R=0 Ом; L=45 мГн; С=80 мкФ; Uл=220 B; f=50 Гц;
|
. Определить комплексные действующие значения
токов во всех фазах обоих приемников и токи на линейных проводах.
.Ввести необходимое количество ваттметров,
определить их показания и вычислить потребляемую мощность: полную, активную и
реактивную.
. Построить векторную диаграмму.
. При несимметричной нагрузке для случая обрыва
соответствующего провода вычислить фазные и линейные токи и построить векторные
диаграммы.
Решение
Рисунок 3.2 Расчетная схема
Определим комплексные действующие значения токов
во всех фазах обоих приемников и токи на линейных проводах.
Найдем комплексные значения сопротивлений
элементов:
для симметричной нагрузки
для несимметричной нагрузки
Линейные напряжения
Фазные напряжения
Фазные токи
несимметричного «треугольника»
симметричной «звезды»
Ток в нулевом проводе
Линейные токи
несимметричного «треугольника»
симметричной «звезды»
Общий линейный ток
Проверка
Расчеты верны
Определим показания ваттметров
Рисунок 3.3 Схема подключения
ваттметров
Показания первого ваттметра W1 равно
активной мощности потребляемой фазой симметричной «звезды»
Показания несимметричного
треугольника
Вычислим потребляемые активную,
реактивную и полную мощности
Активные мощности приемников и всей
цепи.

Рисунок 3.5 Векторная диаграмма
симметричной звезды
Рисунок 3.4 Векторная диаграмма для
несимметричного треугольника
Вычислим фазные и линейные токи в
несимметричном «треугольнике» при обрыве линейного провода А.Определим
сопротивление zcab
=Zca+Zab=0+j81+54-j38=54+j43=69ej38,53
(из-за обрыва провода А);
Напряжения на фазах ab и ca:
Построим векторную диаграмму.
Рисунок 3.3 Векторная диаграмма при
обрыве линейного провода «А»
Заключение
электрическая цепь ток
ваттметр
В данной курсовой работе для цепей
линейного однофазного и трехфазного токов определили следующие параметры:
токи для цепи линейного тока двумя
методами:
метод контурных токов
метод узловых напряжений
токи для цепи однофазного тока;
показания ваттметра
=33 Вт= 119,8 Вт
токи для цепи трехфазного тока
для соединения нагрузки звездой
для соединения нагрузки
треугольником
показания ваттметра
=0 Вт PWа=0 Вт PWb=599,2 Вт
PWc=203,3 Вт
БИБЛИОГРАФИЧЕСКИЙ СПИСОК
Бессонов
Л.А. Теоретические основы электротехники. Электрические цепи: 9-е изд.
Переработанное и дополненное - М.: Высшая школа, 1996. - С.638
Горбунов
А.Н., Кабанов И.Д., Кравцов А.В. Теоретические основы электротехники. -
Челябинск: Рекпол, 1996, С.420.
Касаткин
А.С., Немцов М.В. Электротехника в 2-х книгах, Ч1, 5 изд. - М.:
Энергоатомиздат., 1995. - С.220
1.