Расчет автоматического регулятора скорости вращения вала двигателя
Министерство
образования и науки Российской Федерации
Государственное
образовательное учреждение высшего профессионального образования
Сибирская
государственная автомобильно-дорожная академия (СибАДИ)
Кафедра
«Автоматизация производственных процессов и электротехника»
Дисциплина
«Автоматическое регулирование и управление двигателей внутреннего сгорания»
ПОЯСНИТЕЛЬНАЯ
ЗАПИСКА
к курсовому
проекту
Обозначение
проекта КП 02068982 - 140501 - 15 -14
Тема
проекта: Расчет автоматического регулятора скорости вращения вала двигателя
Студент Юсипов Руслан
Омск - 2014
Оглавление
Введение
1.
Основные сведения
2.
Математическая модель регулятора
3.
Математическая модель ДВС
Заключение
Список
используемой литературы
Введение
Двигатели внутреннего сгорания занимают в
энергетике ведущее место по количеству вырабатываемой энергии. Особо
существенна роль двигателей в автомобильном, водном транспорте, в стационарной
энергетике. Вследствие низкой устойчивости режимов дизелей чрезвычайно трудно
обеспечивать их работу в эксплуатационных условиях и особенно в тех случаях,
когда нагрузка оказывается переменной во времени или незначительна.
Именно поэтому двигатели внутреннего сгорания
снабжают автоматическими регуляторами частоты вращения, а в некоторых случаях и
другими устройствами.
Проблема регулирования дизелей с учетом
эксплуатационных условий их работы имеет большое практическое значение. Система
автоматического регулирования предназначена для обеспечения качественной работы
как на стационарных режимах, так и на неустановившихся, когда изменения
параметров процессов особо сильно влияют на эффективные показатели работы
силовой установки в целом.
Исследование динамики регулирования дизелей
показывает, что пока еще не решены такие вопросы, как обеспечение максимальной
эксплуатационной надежности, оптимальное управление в условиях резко выраженной
динамики изменения нагрузки, обеспечение качества переходных процессов дизеля
при сбросах или набросах нагрузки и т. п.
При разработке новых или модернизации
существующих двигателей, а также при доводке систем автоматического
регулирования следует прежде всего обеспечить надежность и устойчивость работы
их работы с максимально возможной производительностью и экономичностью.
Доводка систем автоматического регулирования производится
на уровне экспериментальных исследований, когда знание происходящих в системе
процессов позволяет ускорить доводку и обеспечить наибольшее качество
создаваемой продукции.
двигатель регулятор автоматический
скорость
1. Основные сведения
Единственным признаком появления в процессе
работы двигателя неустановившихся режимов является: изменение во времени
одного, нескольких или всех параметров.
При возникновении неустановившихся режимов
нарушаются условия статического равновесия, в результате чего в двигателе
оказывается неустойчивое равновесие.
Изменение параметров параметров двигателя во
времени называют переходными процессами, они являются важнейшими динамическими
характеристиками определяющими динамические свойства.
Рис. 1. Схема

- установившийся режим
где 
- приведённый к валу момент инерции
вращающих частиц; 
- угловая скорость коленчатого
вала; 
- момент коленчатого вала; 
- момент сопротивления.
Если 
Если 
- увеличивается;
Если - уменьшается.
где 
- нагрузка
По Тейлору
Момент зависит от положения рейки и
частоты вращения и давления

Фактор устойчивости двигателя

где 
- перемещение рейки насоса
Рис.2. Структурная схема регулятора
Момент на валу двигателя при
заданной частоте вращения

Рис. 3.
. Математическая модель регулятора
Основное уравнение описывающие
динамическую работу регулятора
Основное уравнение описывающие
динамическую работу регулятора.
Это уравнение статистической муфты
5, которое заключается в равенстве поддерживающей силы 
и восстанавливающей силы 
.
При нарушении статистического режима
поддерживающая сила получает приращение
оно вызывает перемещение муфты
получило
приращение
На точку А стала действовать сила 
и сила гидравлического трения 
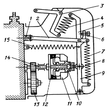
Рис. 4. Схема прецизионного
механического регулятора 1 , 8 - тяги; 2, 7 - рычаги; 3 - тарелка; 4, 9 -
пружины; 5 - муфта; 6 - груз; 10 - поршень; 11 - катаракт; 12 - игла; 13 -
топливный насос; 14 - рейка; 15 - траверса; 16 - кулачковый валик.
Уравнение силы гидравлического
трения
где 
- коэффициент гидравлического
трения; 
- скорость перемещения муфты.
где 
- угловая скорость вала регулятора;

- угловая скорость вала двигателя.
Рис. 5. Характеристики
поддерживающей силы механического чувствительного элемента, приведенной к оси
движения муфты
- 
-5 - 
где 
- жёсткость пружины; 
- передаточное отношение рычага; 
- перемещение поршня
Динамические свойства регулятора с
кататором
;
;
;
Рис. 6. Структурная схема регулятора
Уравнение движения поршня (механизм
Катаракт)
;
Рис. 7. Структурная схема регулятора
Рис. 8. Структурная схема регулятора
;
;
;
;
;
.
Рис. 9. Структурная схема регулятора
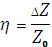
Рис. 10. Схема всережимного
регулятора: 1 - рейка; 2 - тяга; 3, 5, 9 - рычаги; 4, 7, 15 - пружины; 6 -
винт; 8 - ролик; 10 - муфта; 11 - груз; 12 - траверса; 13 - повышающая зубчатая
передача; 14 - валик.
Рис. 11. Структурная схема комплекса
«нагрузка-двигатель-регулятор»
. Математическая модель ДВС
Исходные данные:
Число оборотов коленчатого вала n0 = 1500
об/мин;
Мощность двигателя N0 = 240 кВт;
Нагрузка Е0 = 140 Н.
Таблица 1 - Зависимость момента на
валу двигателя от частоты вращения
|
w
|
0,25M
|
0,5M
|
0,75M
|
M
|
Mc
|
|
0,2
|
31,41593
|
290,2986
|
580,5972
|
870,8958
|
61,1155
|
|
0,25
|
39,26991
|
310,3521
|
620,7043
|
931,0564
|
1241,409
|
95,49297
|
|
0,3
|
47,12389
|
328,4958
|
656,9916
|
985,4874
|
1313,983
|
137,5099
|
|
0,35
|
54,97787
|
344,7296
|
689,4592
|
1034,189
|
1378,918
|
187,1662
|
|
0,4
|
62,83185
|
359,0536
|
718,1071
|
1077,161
|
1436,214
|
244,462
|
|
0,45
|
70,68583
|
371,4676
|
742,9353
|
1114,403
|
1485,871
|
309,3972
|
|
0,5
|
78,53982
|
381,9719
|
763,9437
|
1145,916
|
1527,887
|
381,9719
|
|
0,55
|
86,3938
|
390,5662
|
781,1325
|
1171,699
|
1562,265
|
462,186
|
|
0,6
|
94,24778
|
397,2507
|
794,5015
|
1191,752
|
1589,003
|
550,0395
|
|
0,65
|
102,1018
|
402,0254
|
804,0508
|
1206,076
|
1608,102
|
645,5324
|
|
0,7
|
109,9557
|
404,8902
|
809,7804
|
1214,671
|
1619,561
|
|
0,75
|
117,8097
|
405,8451
|
811,6902
|
1217,535
|
1623,38
|
859,4367
|
|
0,8
|
125,6637
|
404,8902
|
809,7804
|
1214,671
|
1619,561
|
977,848
|
|
0,85
|
133,5177
|
402,0254
|
804,0508
|
1206,076
|
1608,102
|
1103,899
|
|
0,9
|
141,3717
|
397,2507
|
794,5015
|
1191,752
|
1589,003
|
1237,589
|
|
0,95
|
149,2257
|
390,5662
|
781,1325
|
1171,699
|
1562,265
|
1378,918
|
|
1
|
157,0796
|
381,9719
|
763,9437
|
1145,916
|
1527,887
|
1527,887
|
|
1,05
|
164,9336
|
371,4676
|
742,9353
|
1114,403
|
1485,871
|
1684,496
|
|
1,1
|
172,7876
|
359,0536
|
718,1071
|
1077,161
|
1436,214
|
1848,744
|
По полученным данным строим графики
и определяем визуально точки пересечения графиков, занося их в таблицу 2.
Рис. 12. Зависимость момента
на валу двигателя от частоты вращения
Соответственно. На касательных берем по две
произвольные точки и опускаем перпендикуляры к осям. Вычитаем получившиеся
значения и получаем конечный результат.
Таблица 2 - Зависимость момента двигателя от
положения рейки (в %)
|
k
|
M
|
|
0,25
|
255.7847
|
|
0,5
|
544
|
|
0,75
|
829
|
|
1
|
Рис. 13. Зависимость момента двигателя от
положения рейки (в %)
Расчитываем остальные недостающие данные:
тогда
Результаты моделирования
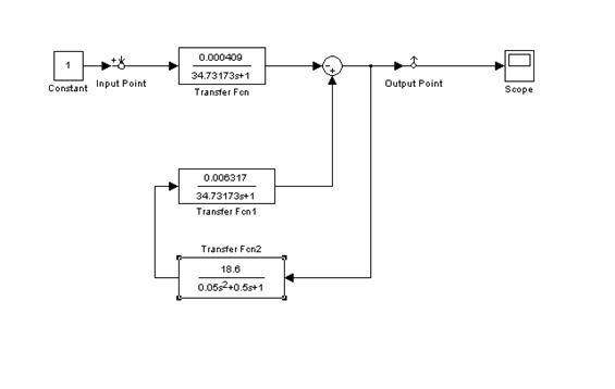
Рис. 14. Структурная схема системы
автоматического регулирования угловой скорости двигателя внутреннего сгорания
(дизеля) в обозначениях Simulink.
Таблица 3 - полученные результаты
перерегулирования
|
м
н
|
0,01
|
0,02
|
0,03
|
0,04
|
0,05
|
|
0,1
|
118
|
118
|
118
|
118
|
118
|
|
0,2
|
118
|
118
|
118
|
118
|
118
|
|
0,3
|
118
|
118
|
118
|
118
|
118
|
|
0,4
|
118
|
118
|
118
|
118
|
118
|
|
0,5
|
118
|
118
|
118
|
118
|
118
|
Рис. 15. Время перерегулирования при м = 0,01
Заключение
В данной курсовой работе был выполнен расчет
автоматического регулятора, предназначенного для поддержания скорости вращения
вала ДВС на заданном уровне.
Для наиболее оптимальной работы двигателя
необходимо учесть, что t
(время переходного процесса) должно быть минимально. Из расчета видно, что
время переходного процесса минимально при любом коэффициенте гидравлического
трения в пределах от 0,1 до 0,5 и при массе шариков от 0,01 до 0,05 г.
Список используемой литературы
1. Крутов В.И. Автоматическое
регулирование и управление двигателей внутреннего сгорания: Учебник для
студентов ВУЗов, обучающихся по специальности «Двигатели внутреннего сгорания».
- 5-е изд., перераб. и доп. М.: Машиностроение, 1989 г. - 416 с.
. Лекции по дисциплине
«Автоматическое регулирование и управление двигателей внутреннего сгорания».
. Щербаков B.C.,
Руппель А.А., Лазута И.В., Милюшенко С.А. Автоматические системы управления в
среде MATLAB-SIMULINK:
Методические указания к выполнению лабораторных работ. - Омск: СибАДИ, 2010. -
49 с.