Выбор элементов системы электропривода
Введение
станок токарный напряжение привод
В данном курсовом
проекте произведены необходимые расчёты для металлорежущих станков, целью
которых является правильный выбор приводных электродвигателей, аппаратов
управления, защиты и питающих проводов.
Основным
требованием при выборе электродвигателей является его соответствие условиям
технологического процесса станка. Задача выбора состоит в поисках такого
двигателя, который будет обеспечивать заданный технологический цикл, иметь
конструкцию, соответствующую условиям эксплуатации и компоновки со станком, а
его нагрев при этом не должен превышать допустимые значения.
Выбор двигателей
недостаточной мощности может привести к нарушению заданного технологического
цикла станка. Происходящие при этом его повышенный нагрев и ускоренное старение
изоляции определяют преждевременный выход самого двигателя из строя, остановку
станка и соответствующие экономические потери.
Недопустимым является также
использование двигателей завышенной мощности, так как увеличивается стоимость
механизмов, работа с низким КПД и cos ц. Таким образом, обоснованный выбор электродвигателя определяет
технико-экономические показатели работы станков.
Станки токарной группы составляют
значительную долю станочного парка. Она включает в себя девять типов станков,
различающихся по назначению, компоновке, степени автоматизации и другим
признакам. Токарные станки предназначены главным образом для обработки наружных
и внутренних цилиндрических, конических и фасонных поверхностей, нарезания
резьбы и обработки торцовых поверхностей деталей типа тел и вращения с помощью
разнообразных резцов, сверл, зенкеров, разверток, метчиков и плашек.
Применение в станках дополнительных
специальных устройств (для шлифования, фрезерования, сверления радиальных и
торцовых отверстий и других видов обработки) значительно расширяет
технологические возможности оборудования. В зависимости от расположения
шпинделя, несущего приспособление для установки заготовки, токарные станки
подразделяют на горизонтальные и вертикальные.
Основными параметрами токарных
станков являются наибольший диаметр заготовки, обрабатываемой над станиной, и
наибольшее расстояние между центрами. Важным размером станка является также
наибольший диаметр заготовки, обрабатываемой над поперечными салазками суппорта.
Токарные станки отечественного
производства имеют цифровое обозначение моделей. Первая цифра 1 в обозначении
модели показывает, что станок относится к токарной группе. Вторая цифра
указывает на типы станков в группе: 1 - одношпиндельные автоматы и полуавтоматы;
2 - многошпиндельные автоматы и полуавтоматы; 3 - револьверные станки; 5 -
карусельные станки и т.д. Две последние цифры определяют важнейшие технические
параметры станка: высоту центров над станиной для токарно-винторезного,
наибольший диаметр обрабатываемого прутка для токарно-револьверного и т.д.
Наличие буквы после второй цифры указывает на модернизацию станка, т.е. на
обновление конструкции.
Буква (Н, П, В, А, С) в конце
цифрового обозначения модели означает точность станка. [1, с. 133]
1. Технологическая часть
.1 Назначение и
техническая характеристика станка
Станки токарной
группы относятся к наиболее распространённым металлорежущим станкам и широко
применяются на промышленных предприятиях, в ремонтных мастерских. В эту группу
входят: универсальные токарные и токарно-винторезные, револьверные,
токарно-лобовые, карусельные, копировальные, токарные автоматы и полуавтоматы.
На токарных станках
производится обработка наружных, внутренних и торцевых поверхностей тел
вращения цилиндрической, конической и фасонной формы, а также прорезка канавок,
нарезка наружной и внутренней резьбы. Режущими инструментами на токарных
станках служат в основном резцы, но применяются также и свёрла, развёртки,
метчики, плашки.
Характерной
особенностью станков токарной группы является осуществление главного движения
за счёт вращения обрабатываемой детали. Подача режущего инструмента
производится путём поступательного перемещения суппорта.
Наибольшее
применение получили универсальные токарно-винторезные станки, на которых
выполняются всевозможные токарные работы. В электромашиностроении на токарных
станках производится обточка валов, подшипниковых щитов и других деталей
электрических машин.
Процесс обработки
деталей на токарных станках происходит при определённых значениях величин,
характеризующих режим резания. К ним относятся: глубина резания - t, подача - S (перемещение резца на один оборот
шпинделя), скорость резания - V, т.е. линейная скорость, с которой перемещается снимаемый слой
металла (стружка) относительно резца.
Назначенная
скорость резания зависит от свойств обрабатываемого материала, материала резца,
вида обработки, условий охлаждения резца и детали.
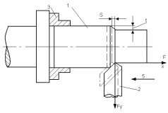
На рисунке 1.1
представлена схема токарной обработки, где
1 - деталь;
- резец;
- шпиндель станка;
- главное движение;
- движение подачи

Рисунок 1.1 - Схема токарной
обработки
Токарно-винторезный
станок модели IК62Б имеет следующие технические данные:
) наибольший
диаметр изделия, установленного над станиной, 400 мм;
) наибольший
диаметр обрабатываемого прутка 45 мм;
) расстояние между
центрами 1000 мм;
4) число ступеней частоты вращения
шпинделя 23 (от 12,5 до 2000 об/мин.).
1.2 Требования к
электроприводу и автоматике
Одним из важнейших вопросов
электрооборудования металлорежущих станков является выбор типа электропривода
для основных движений. На этот выбор оказывает влияние ряд факторов:
. диапазон и
плавность регулирования скорости рабочего механизма:
. характер нагрузки
привода;
. частота включений
привода;
. соотношение
периодов машинного и вспомогательного времени работы станка;
. энергетические
показатели работы привода - КПД и cos ц;
6. надежность привода, простота его
обслуживания и наладки.
2. Выбор системы
электропривода
.1 Анализ недостатков
существующей схемы
Основными
недостатками существенной схемы электропривода является:
электродвигатели
старой модификации, которые заменяют на более новые, имеющие более высокий
коэффициент полезного действия и меньшие потери электроэнергии;
магнитные пускатели
и реле управления старых серий, которые уже не выпускаются на производстве,
также подлежат замене на более совершенные;
применить вместо
часто включаемых контакторов бесконтактными устройствами с тиристорами.
Двигатели серии 5А
в отличие от асинхронных двигателей серии 4А имеют улучшенные энергетические
показатели, пусковые и виброакустические характеристики (уровень шума снижен по
сравнению с серией 4А на 10-15 дБ), повышенные показатели надежности, снижен
расход активных материалов (меди на 2,5%, электротехнической стали на 4%;),
снижена масса двигателей одинаковых мощностей за счет снижения их габаритов на
10 - 15%.
2.2 Выбор рода тока и
величины питающих напряжений
При проектировании
электрооборудования необходимо выбрать род тока (переменный или постоянный) и
напряжение питающей сети.
Основными токами в
электроустановках промышленных предприятий является переменный трехфазный ток.
При выборе величины
напряжений электроустановок до 1000В используют напряжение 380/220 и 660/380В.
С применением напряжения 660В снижаются потери электроэнергии и расход цветных
металлов, увеличивается радиус действия подстанций, повышается мощность
трансформаторов, сокращается количество подстанций, упрощается схема
электроснабжения. Недостатком напряжения 660В являются невозможность
совместного питания сети освещения и силовых электроприемников малой мощности,
а также отсутствие электродвигателей небольшой мощности на напряжение 660В. На
предприятиях с преобладанием электроприемников малой мощности более выгодно
использовать напряжение 380/220В.
Металлорежущие станки питаются
напряжением 380В переменного тока, включаемых через пакетные или вводные
выключатели. Цепи управления станков питаются через разделительный
трансформатор с вторичным напряжением 110В. На каждом металлорежущем станке
имеется лампа местного освещения, питаемая от отдельной обмотки трансформатора
напряжением 36В. Иногда один из выводов обмотки трансформатора низкого
напряжения присоединяют к газовой трубке, в которой проложен второй провод,
питающий лампу. В качестве одного из проводов вторичной цепи местного освещения
при напряжении 36В используют станину станка.
2.3 Выбор системы
электропривода
Выбор типа
электропривода иногда вызывает значительные трудности, так как различные его
системы можно применять для одного и того механизма. Поэтому прежде
рассматривается возможность применения асинхронного привода. Асинхронные
электродвигатели с короткозамкнутым ротором просты в эксплуатации, дешевы,
выпускаются промышленностью в широком ассортименте. Их следует применять в тех
случаях, когда использование синхронных двигателей экономически
нецелесообразно.
Диапазон
регулирования частоты вращения шпинделя токарных станков достигает (800-100).
При этом желательно иметь по возможности плавное ее изменение, чтобы обеспечить
наиболее выгодную скорость резания.
Для станков
токарной группы, в которых главное движение является вращательным, требуется
постоянство мощности и постоянство момента. Малые частоты вращения применимы
лишь для специфических видов обработки: нарезание резьбы метчиками, обточка
швов.
В главных приводах
токарных станков основным типом привода является привод от асинхронного
короткозамкнутого двигателя.
Асинхронный
двигатель конструктивно хорошо сочетается с коробкой скоростей станка, надежен
в эксплуатации и не требует специального ухода. Регулирование частоты вращения
шпинделя станка в таком приводе осуществляется путем переключений систем
коробки скоростей.
В токарных станках
малых размеров, пуск, остановка и изменение направления шпинделя часто
производится с помощью фрикционных муфт. Двигатель при этом остается
подключенным к сети и вращается в одном направлении.
Для главного
привода некоторых токарных станков применяются многоскоростные асинхронные
двигатели. Использование такого привода целесообразно, если оно приводит к
упрощению коробки скоростей или требуется переключение скорости шпинделя на
ходу. Для регулирования скорости подачи применяются многоступенчатые коробки
подач. Переключение ступеней производится вручную или с помощью
электромагнитных фрикционных муфт (дистанционно).
Для вспомогательных приводов
токарных станков - перемещение каретки суппорта, зажима изделия, охлаждающей
жидкости, применяется отдельные короткозамкнутые асинхронные двигатели [2, c. 238-240].
2.4 Расчет мощности и
выбор приводного двигателя токарного станка
На рисунке 2.1 приведён эскиз
обработки детали.
Рисунок 2.1 - Эскиз обработки детали
Для расчета
мощности приводного двигателя необходимо в начале произвести расчет
технологических усилий.
На позиции шпинделя
выполняются следующие операции:
. Загрузка
заготовки;
. Продольное
точение: t=4,2 мм, L=95 мм, S=0,55 мм -1
. Подрезка торца: t=2 мм, S=0,8 мм -1
. Сверление: d=14 мм, L=30 мм, S=0,30 мм -1
. Прорезание
канавки: t=12 мм, S=0,2 мм-1
. Отрезание: t=5,5 мм, S=0,12 мм -1, материал
детали - сталь конструктивная.
Произведем расчет
технологических условий для второй операции - продольное точение.
Определяем скорость
резания Vz, м·мин-1[3, c. 68-70]
(2.1.)
где Cн - постоянная скорости резания;
Т - среднее значение
стойкости инструмента при обработке, мин;
t
- глубина резания, мм;
S
- подача, мм·об-1;
kн
- общий поправочный коэффициент;
m,
х, у - показатели степени, зависящие от вида обработки и материала.
Определяем скорость резания для
второй операции - продольное точение, при S=0,55 мм-1; kн=1; Т=40 мин; t=4,2 мм; Cн=292; х=0,15;
у=0,20; m=0,2.
Определяем скорость резания для
третей операции - подрезка торца, при S=0,8 мм-1; kн=1; Т=40 мин; t=2 мм; Cн=292; х=0,15; у=0,20; m=0,2.

Определяем скорость резания для
четвёртой операции - сверление, при S=0,3 мм-1; kн=1; Т=40 мин; t=4,2 мм; Cн=292; х=0,15; у=0,2; m=0,2.
=
Определяем скорость
резания для пятой операции - прорезание канавки, при S=0,2
мм-1; kн=1;
Т=40 мин; t=12 мм; Cн=292;
х=0,15; у=0,2; m=0,2.
=
Определяем скорость резания для
шестой операции - отрезание, при
S=0,12 мм-1; kн=1; Т=40 мин; t=5,5 мм; Cн=292; х=0,15; у=0,20; m=0,2.
=
Определяем частоту
вращения шпинделя n, об/мин [3, c. 56-57]
(2.2)
где D - диаметр обрабатываемого изделия
или инструмента, мм.
Vz - скорость резания, м·мин-1.
Определяем частоту
вращения шпинделя для второй операции - продольное точение, при Vz=126,88 м·мин-1;
D=60 мм.
По таблице скоростей
станка выбираем ближайшую частоту вращения шпинделя. Принимаем nd2
=650 об/мин [3, с. 422].
Определяем частоту
вращения шпинделя для третей операции - подрезка торца, при Vz=131,58 м·мин-1; D=60 мм.
По таблице скоростей
станка выбираем ближайшую частоту вращения шпинделя. Принимаем nd3
=680 об/мин [3, с. 422].
Определяем частоту
вращения шпинделя для четвёртой операции - сверление, при Vz=143,23 м·мин-1; D=14 мм.
По таблице скоростей
станка выбираем ближайшую частоту вращения шпинделя. Принимаем nd4
=2800 об/мин [3, с. 422].
Определяем частоту
вращения шпинделя для пятой операции - прорезание канавки, при Vz=132,7 м·мин-1; D=60 мм.
По таблице скоростей
станка выбираем ближайшую частоту вращения шпинделя. Принимаем nd5
=680 об/мин [3, с. 422].
Определяем частоту
вращения шпинделя для шестой операции - отрезание, при Vz=165,22
м·мин-1; D=60 мм.
По таблице скоростей станка выбираем
ближайшую частоту вращения шпинделя. Принимаем nd=820 об/мин [3, с.
422].
Определяем
действительную скорость резания, м·мин-1
(2.3)
где D - диаметр обрабатываемого изделия или инструмента, мм;
nd
- частота вращения шпинделя, мин-1.
Определяем действительную скорость
резания для второй операции - продольное точение, при D=60 мм; nd2=650 мин-1

Определяем действительную скорость
резания для третей операции - подрезка торца, при D=60 мм; nd3=680 мин-1

Определяем действительную скорость
резания для четвёртой операции - сверление, при D=14 мм; nd4=2800 мин-1

Определяем действительную скорость
резания для пятой операции - прорезание канавки, при D=60 мм; nd5=680 мин-1

Определяем действительную скорость
резания для шестой операции - отрезание, при D=60 мм; nd6=820 мин-1

Определяем усилие
резания Fz, Н по формуле:
(2.4)
где Cд -
коэффициент, учитывающий вид обработки и материал при точении;
kд
- поправочный коэффициент, учитывающий фактические условия резания;
х, у, n - показатели степени, зависящие от вида обработки.
Определяем усилие резания для второй
операции - продольное точение, при S=0,55 мм-1; t=4,2 мм; Vz.d=122,46 м·мин-1; kд=0,70; Cд=290; х=1; у=0,70; n=-0,15

Н
Определяем усилие резания для третей
операции - подрезка торца, при S=0,8 мм-1; t=2,5 мм; Vz.d=128,11 м·мин-1; kд=0,70; Cд=290; х=1; у=0,70;
n=-0,15

Н
Определяем усилие
резания для четвёртой операции - сверление, при S=0,30
мм-1; t=4,2 мм; Vz.d=123,08
м·мин-1; kд=0,70;
Cд=290; х=1; у=0,70; n=-0,15

Н
Определяем усилие
резания для пятой операции - прорезание канавки, при S=0,2
мм-1; t=12 мм; Vz.d=128,11
м·мин-1; kд=0,70;
Cд=290; х=1; у=0,70; n=-0,15

Н
Определяем усилие
резания для шестой операции - отрезание, при при S=0,12
мм-1; t=5,5 мм; Vz.d=154,48
м·мин-1; kд=0,70;
Cд=290; х=1; у=0,70; n=-0,15

Н
Определяем мощность
резания Pz, кВт [3, c. 61-62]
по формуле:
(2.5)
где Fz -
усилие резания, Н;
Vz.d. - действительная скорость резания, м·мин-1.
Определяем мощность
резания для второй операции - продольное точение, при Fz=2727,72
Н; Vz.d=122,46
м·мин-1

Определяем мощность
резания для третей операции - подрезка торца, при Fz=1677,07
Н; Vz.d=128,11
м·мин-1

Определяем мощность
резания для четвёртой операции - сверление, при Fz=1783,20
Н; Vz.d=123,08
м·мин-1

Определяем мощность
резания для пятой операции - прорезание канавки, при Fz=3812,94;
Vz.d=128,11
м·мин-1

Определяем мощность
резания для шестой операции - отрезание, при Fz=1188,37
Н; Vz.d=154,48
м·мин-1

Определяем
технологическое время обработки Тм, мин по формуле:
(2.6)
где L - длина рабочего хода резца, мм;
nd - ближайшая частота вращения шпинделя.
Определяем
технологическое время обработки для второй операции - продольное точение, при L=95 мм; nd=650 м·мин-1;
S=0,55
мм

Определяем
технологическое время обработки для третей операции - подрезка торца, при L=95 мм; nd=680 м·мин-1;
S=0,8 мм

Определяем
технологическое время обработки для четвёртой операции - сверление, при L=30 мм; nd=2800 м·мин-1;
S=0,30
мм

Определяем
технологическое время обработки для пятой операции - прорезание канавки, при L=95 мм; nd=680 м·мин-1;
S=0,2 мм

Определяем
технологическое время обработки для шестой операции - отрезание, при L=95 мм; nd=820 м·мин-1;
S=0,12
мм

Данные расчетов по всем
операциям сводим в таблицу 2.1.
Таблица 2.1 - Данные расчёта
технологических усилий
|
№ операции
|
Vz,
м·мин-1
|
n,
мин-1
|
Vz.d., м·мин-1
|
Fz,
H (Мкр, Н·м)
|
Рz,
кВт
|
Тм, мин.
|
|
Первая операция
|
-
|
-
|
-
|
-
|
-
|
-
|
|
Вторая операция
|
126,88
|
673,46
|
122,46
|
2727,72
|
5,56
|
0,26
|
|
Третья операция
|
131,58
|
698,4
|
128,11
|
1677,07
|
3,58
|
0,17
|
|
Четвертая операция
|
143,23
|
3258,18
|
123,08
|
1783,20
|
3,65
|
0,03
|
|
Пятая операция
|
132,7
|
704,35
|
128,11
|
3812,94
|
8,14
|
0,69
|
|
Шестая операция
|
165,22
|
876,96
|
154,48
|
1188,37
|
3,05
|
0,96
|
Зная мощность
резания Рz и технологическое время обработки Тм на каждой операции, можно
определить эквивалентную мощность резания Рz экв., за цикл обработки приведенную к наиболее длительной операции.
(2.8)
где Рz2 - Рz6
- мощность резания на каждой операции соответственно, кВт;
Т2 - Т6
- технологическое время обработки на каждой операции соответственно, мин.
Тнаиб -
наибольшее время обработки, мин.
При Рz2=5,56 кВт; Рz3=3,58 кВт; Рz4=3,65кВт; Рz5=8,14 кВт; Рz6=3,05кВт; ТМ2=0,12 мин; ТМ3=0,04 мин; ТМ4=0,02
мин; ТМ5=0,15 мин; ТМ6=0,13 получим:

Рассчитываем мощность
двигателя главного привода Рдв, кВт
(2.9)
где Pz.экв.
- эквивалентная мощность резания, кВт;
зст - КПД
станка.
При Рz экв=8,24 кВт; зст=0,92

Выбираем двигатель
АИР132М4 из таблицы [4, c.
136], данные которого заносим в таблицу 2.2.
Таблица 2.2 - Данные
выбранного главного двигателя
|
Тип
|
Pном, кВт
|
nном,
об/мин
|
cos ц
|
ŋ, %
|
Iном,
А
|
Kп
|
л
|
Mном,
Н м
|
|
АИР132М4
|
11
|
1500
|
0,87
|
87,5
|
22
|
7,5
|
3,0
|
70,03
|
=
=
Расчет двигателей для
вспомогательных приводов производим аналогично главному приводу.
Выбираем двигатель АИР90L4 из таблицы [4, c.
150], данные которого заносим в таблицу 2.3.
Таблица 2.3 - Данные
выбранного вспомогательного двигателя М2
|
Тип
|
Pном, кВт
|
nном,
об/мин
|
cos ц
|
ŋ, %
|
Iном,
А
|
Kп
|
л
|
Mном,
Н м
|
|
АИР90L4
|
2.2
|
1500
|
0.83
|
0.81
|
4.4
|
6.5
|
2.2
|
14
|

Выбираем двигатель
4А71В4У3 из таблицы [4, c.
150], данные которого заносим в таблицу 2.3.
Таблица 2.4 - Данные
выбранного вспомогательного двигателя М3
|
Тип
|
Pном, кВт
|
nном,
об/мин
|
cos ц
|
ŋ, %
|
Iном,
А
|
Kп
|
л
|
Mном,
Н м
|
|
4А71В4У3
|
0,75
|
1390
|
0,72
|
0,72
|
1,7
|
4,5
|
2
|
5,15
|
Выбираем двигатель
5А80МА4 из таблицы [4, c.
150], данные которого заносим в таблицу 2.3.
Таблица 2.5 - Данные
выбранного вспомогательного двигателя М4
|
Тип
|
Pном, кВт
|
nном,
об/мин
|
cos ц
|
ŋ, %
|
Iном,
А
|
Kп
|
л
|
Mном,
Н м
|
|
5А80МА4
|
1,1
|
1410
|
0,80
|
0,75
|
2,29
|
4,5
|
2,1
|
7,45
|
Определяем максимальную
мощность резания Рz
макс., кВт
(2.10)
где ∑Рz - сумма мощностей резания на каждой операции, кВт.
При Рz2=5,56кВт; Рz3=3,58
кВт; Рz4=3,65 кВт; Рz5=8,14
кВт; Рz6=3,05кВт:
Рz.макс=5,56+3,58+3,65+8,14+3,05=23,98 кВт
2.5 Проверка выбранных
электродвигателей
Проверим выбранный
двигатель для главного привода по перегрузочной способности. Двигатель
удовлетворяет условию перегрузки, если выполняется следующее условие
, (2.11)
где Ммакс -
максимальный момент нагрузки, Н·м
,8 - коэффициент,
учитывающий для асинхронных двигателей возможное снижение напряжения на 10%;
л - перегрузочная
способность выбранного двигателя;
Мном -
номинальный момент двигателя, Н·м
Определяем максимальный
момент двигателя Mмакс,
Н·м
(2.12)
где Pдв. - мощность двигателя главного привода, кВт;
nдв.расч. - расчетная
частота вращения двигателя, мин-1.
При Pдв =8,9 кВт; nдв.расч.=1500 об/мин; зст=0,92

Определяем номинальный
момент двигателя Мном, кВт
Мном=
(2.13)
где Pном - номинальная мощность выбранного двигателя, кВт;
nном
- номинальная частота вращения выбранного двигателя, мин-1.
При Pном=11 кВт и nном=1500
об/мин
Мном=
,8·3,0·70,03
61,59
,07
56,33
Так как это условие
выполняется, то двигатель АИР132М4 принимаем к установке для главного привода.
Аналогично
проверяем двигатели, выбранные для вспомогательных приводов.
Произведем проверку
двигателя М2:

Проверяем условие (2.11):
0,8·2,2·14
15,22
,64
15,22
Так как это условие
выполняется, то двигатель АИР90L4 принимаем к установке для вспомогательного привода.
Произведем проверку
двигателя М3:

Проверяем условие (2.11):
,8·2·5,15
5.6
.24
5.56
Так как это условие
выполняется, то двигатель 4А71B4Y3 принимаем к установке для вспомогательного привода.
Произведем проверку
двигателя М4:

Проверяем условие (2.11):
,8·2,1·7,45
8.09
.51
8.09
Так как это условие
выполняется, то двигатель 5А80MA4 принимаем к установке для вспомогательного привода.
Так как все выбранные двигатели
удовлетворяют условию перегрузки, то принимаем их к установке для
вспомогательных приводов.
3.
Описание принципиальной электрической схемы
Привод шпинделя и рабочей подачи
суппорта осуществлён от Ак.з.Д. Регулирование угловой скорости шпинделя
производится переключением шестерён коробки скоростей с помощью рукояток,
изменение продольной и поперечной подач суппорта - переключением шестерён
коробки подач также посредством соответствующих рукояток. Для быстрых
перемещений суппорта служит отдельный АД. Включение и выключение шпинделя
станка, а также его реверсирование производится с помощью многодисковой
фрикционной муфты, которая управляется двумя рукоятками. Включение механической
подачи суппорта в любом направлении производится одной рукояткой.
На схеме представлена электрическая
схема станка ИК-62. Кроме главного двигателя М1 и двигателя быстрых ходов М4 на
схеме показаны: двигатель насоса охлаждения М2 и двигатель гидроагрегата М3,
присоединяемый через электрический разъединитель (штепсельный разъём) ШР в
случае применения на станке гидрокопировального устройства.
Напряжение на станок подаётся
включением пакетного выключателя SA1. Цепь управления получает питание через разъединительный
трансформатор TV с вторичным напряжением 110В, что повышает надёжность работы
аппаратов управления. Такое питание цепей управления характерно вообще для
большинства электрических схем металлорежущих станков.
Пуск двигателя М1 производится
нажатием кнопки SB1, при этом включается контактор KM1 и главными контактами
присоединяет статор двигателя к сети, а вспомогательными контактами шунтирует
пусковую кнопку. Одновременно пускаются двигатели насоса охлаждения (если
включён пакетный выключатель SA2) и гидроагрегата. Включение шпинделя производится поворотом
вверх рукоятки управления фрикционной муфтой. При повороте этой рукоятки в
среднее положение шпиндель станка отключается; одновременно нажимается путевой
переключатель SA и включается пневматическое реле времени KT. Если пауза в работе
превышает 3-8 мин, то контакт реле KT размыкается и контактор KM1 теряет питание. Главный двигатель отключается от сети и
останавливается, что ограничивает его работу вхолостую с низким значением cos f и уменьшает потери энергии. Если
пауза мала, то реле KT не успевает сработать и отключение двигателя шпинделя не
произойдёт.
Для управления быстрым перемещением
суппорта служит рукоятка на фартуке станка. При повороте этой рукоятки она
нажимает на переключатель ВБХ, его контакт замыкает цепь катушки контактора
КБХ, который включает двигатель М4. Возврат рукоятки в среднее положение
приводит к отключению двигателя М4.
Станок имеет местное освещение.
Питание лампы EL производится напряжением 36В от отдельной обмотки трансформатора TV. В цепи лампы находятся
предохранитель FU4 и выключатель SA3. Иногда один из выводов обмотки трансформатора НН TV присоединяют к газовой
трубке, в которой проложен второй провод, питающий лампу. В качестве одного из
проводов вторичной цепи местного освещения при напряжении 12 и 36В обычно
используют станину станка.
Схемой управления предусмотрены:
защита двигателей М1-М2 от длительных перегрузок тепловыми реле KK1, KK2 и KK3, от к.з.
соответствующими плавкими предохранителями. При кратковременных перегрузках,
возникающих на шпинделе, происходит проскальзывание фрикционной муфты, и
приводной двигатель отсоединяется от входного вала коробки скоростей станка.
Для быстрой остановки шпинделя станка служит установленный в передней бабке
механический тормоз [2, c. 244-247].
4.
Выбор элементов системы электропривода
.1
Выбор контакторов и магнитных пускателей
Одним из главных
элементов электропривода являются контакторы и магнитные пускатели. Это
аппараты дистанционного действия, предназначенные для частых включений и
отключений силовых электрических цепей при нормальных режимах работы. С их
помощью подается напряжение на электродвигатели, а также на другие цепи.
Контакторы работают
в сетях постоянного и переменного тока промышленной частоты.
Контакторы и пускатели
выбирают исходя из условий:
. мощности и рода
коммутируемой нагрузки;
. тока и напряжения
главных контактов;
. числа и рода
главных контактов;
. числа и рода
вспомогательных контактов;
. рода тока и
напряжения катушки;
. наличия теплового
реле;
. конструктивного
исполнения по степени защиты от воздействий окружающей среды;
. способа монтажа.
Произведем выбор
пускателя для двигателя главного привода M1. Главные контакты находятся в цепи
двигателя M1, поэтому напряжение силовых контактов равно 380В. Число силовых
контакторов замыкающих (размыкающих - 3/0, вспомогательных замыкающих
(размыкающих - 1/1)). Напряжение катушки 110В.
Определяем
номинальный ток двигателя Iном, А
(4.1)
Определяем
номинальный ток двигателя М1 Iном 1, А
Так как пускатель
устанавливается в шкафу управления, то принимаем к установке пускатель в
открытом исполнении, со степенью защиты от воздействия окружающей среды IPOО.
Принимаем к установке
магнитный пускатель типа ПA-311, который имеет следующие данные
. род тока контактов ~;
. ток главных контактов
40 А;
. напряжение главных
контактов 380В;
. число главных
контакторов, зам/разм. 3/0;
. число вспомогательных
контактов зам/разм. 1/0 +1/0;
. род тока катушки ~;
. напряжение катушки
110В;
. мощность катушки 130 В∙А.
Так как через главные
контакты магнитного пускателя проходят токи двигателей гидронасоса М2
и двигателя гидроагрегата М3, то ток главных контактов принимаем
равным 28,1 А.
Аналогично произведем
выбор пускателя для остальных двигателей и данные выбранных пускателей заносим
в таблицу 4.1. [6, с. 121]
Для двигателя М4:
Принимаем к установке
магнитный пускатель типа ПМЕ-004 с тепловым расцепителем ТРТ-115, который имеет
следующие данные
. род тока контактов ~;
. ток главных контактов
3 А;
. напряжение главных
контактов 380 В;
. число главных
контакторов, зам/разм. 3/0;
. число вспомогательных
контактов зам/разм. 0/0 +0/0;
. род тока катушки ~;
. напряжение катушки
110В;
. мощность катушки 130 В∙А.
Таблица 4.1 - Данные
выбранных магнитных пускателей
|
Тип
|
Тепловое реле
|
Род тока конт/кат.
|
Ток глав. конт., А
|
Напряжение главн. конт., В
|
Число глав. конт.
|
Число вспомогат. конт., зам/разм
|
Напр. кат., В
|
Мощ. кат., В·А
|
|
ПМЛ-311
|
ТРН-10
|
~/~
|
40
|
380
|
3/0
|
1/0+1/0
|
110
|
130
|
|
ПМЕ-004
|
ТРН-8
|
~/~
|
3
|
380
|
1/0
|
0/0+0/0
|
110
|
130
|
.2
Выбор реле управления
Реле управления
принимают для дистанционного и автоматического управления контакторами,
пускателями, электромагнитами. Это аппарат, предназначенный для передачи команд
из одной электрической цепи в другую.
Выбор реле
управления производится по следующим условиям:
. роду тока и виду
коммутируемой нагрузки;
. частоте
коммутаций;
. току и напряжению
контактов
. числу и роду
контактов;
. числу и роду
катушек, роду тока катушек;
. напряжению (току)
катушек;
. способу
присоединения внешних проводок;
. конструктивному
исполнению по способу монтажа и степени защиту;
. механической и
коммутационной износостойкости.
Реле времени
предназначены для создания выдержки времени при передаче электрических сигналов
в системах электропривода.
Для реле времени
необходимо дополнительно учитывать выдержку времени и направление ее действия,
число контактов с выдержкой времени.
Ток контактов реле
принимают для наиболее тяжелого режима работы - при разрыве тока индукционной
нагрузки.
Произведем выбор
реле управления. Определяем ток контакторов реле I, А, по наиболее загруженному
контакту
(4.2)
где Sном - номинальная мощность цепи, коммутируемой контактом, В∙А;
Uном
- номинальное напряжение цепи управления, В.

Требуемое число
контактов зам/разм - 4/4. Катушка переменного тока на напряжение 110В. Так как
реле управления устанавливается в шкафу управления, то принимаем к установке
реле в открытом исполнении, со степенью защиты от воздействия окружающей среды IPOO.
Принимаем к установке
реле типа ПЭ-23 [5, c 203] с Uном = 110В, которое имеет следующие данные:
. род тока нагрузки ~
(переменный);
. ток контактов, А 4А;
. напряжение контактов,
В 110В;
. число контактов
зам/разм. 4/4;
. род тока катушки ~
(переменный);
. напряжение контактов,
В 110;
. номинальная мощность
катушки, ВА 130.
Аналогично выбираем реле
времени.
Принимаем к установке
реле времени типа ЭВ-200 [6,203].
. род тока нагрузки ~
(переменный);
. ток контактов, А 3А;
. напряжение контактов,
В 110В;
. число контактов
зам/разм. 0/1;
. род тока катушки ~
(переменный);
. напряжение контактов,
В 110;
. номинальная мощность
катушки, ВА 130.
.3 Выбор командоаппаратов
Кнопки управления предназначены для
дистанционного управления контакторами, пускателями, реле и другими
электрическими аппаратами постоянного и переменного тока.
Кнопки управления выбирают по
условиям:
) току и напряжению контактов;
) числу и роду контактов;
) конструктивному исполнению, цвету
и виду толкателя.
Произведём расчёт и выбор кнопки SB1, которая осуществляет
коммутацию катушки реле КМ1 при напряжении 110В. Кнопка имеет один замыкающий
контакт.
Находим ток контактов кнопки SB1 при Uном =110В, Sном =130 кВА.
(4.3)
=1,23 А
Принимаем к установке
командоаппарат типа КУ-120, с цилиндрическим толкателем чёрного цвета, 1
замыкающим и 1 размыкающим контактами [5, c.
211]. Конструктивное исполнение по степени защиты от воздействия
окружающей среды IP54 после
установки на пульте управления. Результаты заносим в таблицу 4.2.
Таблица 4.2 - Данные
выбранных командоаппаратов
|
Тип
|
Ток контактов, А
|
Uном, В
|
Кол-во конт.
|
Толкатель
|
Цвет
|
Защ.
|
|
КУ-120
|
треб. 1,18 выбр. 4
|
380
|
1/1
|
цилиндр.
|
чёрный
|
IР54
|
.4
Выбор аппаратов защиты
В
электроприводах принимают следующие виды защит:
1. защиту при
коротких замыканиях в силовых цепях и при недопустимо больших бросках тока
двигателя;
. защиту двигателя
от перегрева, от самозапуска, от обрыва цепи обмотки возбуждения, от
перенапряжения, от затянувшегося пуска синхронных двигателей и выпадения из
синхронизма;
. защиту цепей
управления при коротких замыканиях.
Зашита
при коротких замыканиях обеспечивает немедленное отключение повреждений цепи.
В силовых цепях
защита осуществляется плавкими предохранителями, автоматическими выключателями
с электромагнитными и комбинированными расцепителями, максимально-токовыми
реле. Цепи управления защищают либо теми же аппаратами, что и силовые (обычно
при мощности двигателя до 5 кВт) либо своими плавкими предохранителями и
автоматическими выключателями. Максимально-токовые реле осуществляют защиту
двигателя от недопустимо больших толчков тока.
Ток
плавкой вставки предохранителей Ibct.hom определяем:
для защиты
двигателей с короткозамкнутым ротором с пусковым током
при нормальном
пуске (tпуск ≤ 10с):
, (4.4)
при тяжёлом пуске (tпуск ≥ 10с):

независимо от условий
пуска:


Для асинхронных
двигателей с фазным ротором и двигателей постоянного тока:


Выбираем предохранитель
FU1 для двигателей М1-М4:
(4.5)
Выбираем предохранитель
ПР-2-200 с Iвст =100А. Iпр=200А [5, c. 217].
Выбираем предохранитель
FU2 для двигателя М4:
Выбираем предохранитель
ПР2-15 с Iвст =6А. Iпр=15А [5, c. 217].
Выбираем предохранитель
FU3 для двигателей М2 и М3:
Выбираем предохранитель
ПР2-60 с Iвст =15А, Iпр=60А [5, c. 217].
Выбираем предохранитель
FU4 для цепи освещения:
(4.6)
Выбираем предохранитель
ПР2-15 с Iвст =6А, Iпр=15А [5, c. 217].
Выбираем предохранитель
для цепи управления:
=I
=
2,46А
Выбираем
предохранитель ПР2-15 с Iвст =6А, Iпр=15А [5, c. 217].
Данные выбранных
предохранителей заносим в таблицу 4.3
Таблица 4.3 -
Данные выбранных предохранителей
|
Тип
|
Марка
|
Напряжение, В
|
Номинальный ток, А
|
|
|
|
предохранителя
|
плавкой вставки
|
|
FU1
|
ПР-2-200
|
380
|
200
|
10
|
|
FU2
|
ПР2-15
|
380
|
15
|
6
|
|
FU3
|
ПР2-60
|
380
|
60
|
15
|
|
FU4
|
ПР2-15
|
36
|
15
|
6
|
|
FU5
|
ПР2-15
|
110
|
15
|
6
|
Автоматические
выключатели предназначены для электрической цепи при аварийном режиме, а также
нечастых оперативных коммутациях этих цепей
Произведем выбор
пакетного выключателя, который осуществляет коммутацию цепей двигателей.
Номинальный ток
электромагнитного или комбинированного расцепителя автоматического выключателя Iном.расц. выбирается по длительному расчетному току Iдл., равному при защите одинарного двигателя номинальному току
двигателя, а при защите группы двигателей - наибольшему суммарному току
одновременно работающих двигателей.
Определяем
максимальный кратковременный ток Iмакс.кр., А
(4.5)
где Iпуск.наиб - пусковой ток наибольшего двигателя в группе, А;
∑ Iном.ост - сумма номинальных токов остальных двигателей в группе, А.
Определяем максимальный
кратковременный ток, при Iпуск.наиб=165А
Аналогично выбираем остальные пакетные выключатели.
Автоматический
выключатель выбирают из условия, А
(4.7)
где Iном.расц. - номинальный ток расцепителя
автомата, А;
Iдл.
- наибольший суммарный ток, одновременно работающий двигателей, А
,85 - коэффициент,
учитывающий дополнительный нагрев автоматического выключателя при установке в
шкафу управления.
Определяем наибольший
суммарный ток одновременно работающих двигателей:
.
(4.8)
Рабочее напряжение
автомата должно соответствовать напряжению питающей сети
, (4.9)
где Uавт - номинальное напряжение автомата. В;
Uсети - номинальное напряжение
сети. В;
при Uсети = 380В,
Uавт ≥380В (4.9)
Исходя из данных
условий, выбираем пакетный выключатель ПВМ3-250 и ПВМ3-60, данные которых
приведены в таблице 4.4. [4, с. 214]
Таблица 4.4 -
Данные выбранных пакетных выключателей
|
Тип
|
Номинальный ток Iном,
А
|
Номинальное напряжение Uном,
В
|
|
ПВМ3-250
|
250
|
380
|
|
ПВМ3-60
|
40
|
380
|
4.5
Выбор установок теплового реле
Тепловое реле
обеспечивает защиту двигателей от перегрузки. Тепловое реле выбирают так, чтобы
максимальный ток продолжительного режима с данным тепловым элементом был не
меньше номинального тока защищаемого электродвигателя, а ток уставки реле был
равен допустимому току перегрузки или несколько больше длительного тока
защищаемого двигателя (в пределах 5%). Время срабатывания реле должно быть не
менее времени, необходимого для пуска электродвигателя.
Номинальный ток
нагревательного и комбинированного элемента Iном.нагр. теплового реле или комбинированного расцепителя выбирается из
условия
,
Ток уставки
(срабатывания) максимально-токовых реле Iуст:
для асинхронных двигателей с короткозамкнутым ротором
, (4.10)
где Iном - номинальный ток защищаемого двигателя.
при Iном= 22 А
Iуст.=22∙1,3=28,6А
По данным расчетов выбираем тепловое
реле ТРТ-135 с током уставки 35 А.
Аналогично производим расчет и выбор
остальных уставок тепловых реле и данные заносим в таблицу 4.5 [6, c. 125].
Для двигателя М2:
при Iном=4,4А
Iуст.=4,4∙1,3=5,72А
По данным расчетов выбираем тепловое
реле ТРТ-115 с током уставки 6 А.
Для двигателя М3:
при Iном=1,7А
Iуст.=1,7∙1,3=2,21А
По данным расчетов выбираем тепловое
реле ТРТ-115 с током уставки 6 А.
Таблица 4.5 - Данные выбранных
тепловых реле
|
Тип
|
Ток уставки, А
|
Номинальный ток реле, А
|
|
ТРТ-135
|
35
|
35
|
|
ТРТ-10
|
6
|
7
|
|
ТРТ-10
|
6
|
7
|
4.6
Расчет и выбор трансформаторов и выпрямителей управления
Выбор трансформатора,
питающего цепь управления переменного тока, производится по двум условиям:
. Мощность
трансформатора Sтp., В·А, должна быть не меньше суммарной мощности, потребляемой
максимальным числом одновременно
. включенных
аппаратов в длительном режиме работы
(4.11)
где n - максимальное число одновременно включенных аппаратов:
Shom.i -
номинальная мощность катушки i
- аппарата, В·А;
. Падение напряжения в
трансформаторе во всех режимах работы не должно превышать допустимой величины,
для чего должно выполняться условие
(4.12)
где ℓk - напряжение короткого замыкания, %;
ДU - падение напряжения в трансформаторе, %;
cosцпуск
- коэффициент мощности катушки аппарата при включении;
m
- число одновременно включаемых аппаратов;
Sпycк i -
мощность, потребляемая катушкой i
аппарата при включении, В∙А;
cosцном
- коэффициент мощности работающего аппарата;
k
- число включенных аппаратов.
Приняв для
трансформаторов ОСМ ℓk ≈ 5%, ДU ≈ 5%;
Для катушек аппаратов cosцпуск = 0,7; cosцном
= 0,3 получаем
(4.12)
Так как
трансформатор имеет две вторичные обмотки, то рассчитываем мощность каждой
вторичной обмотки, а мощность трансформатора Sтp., В·А, определяется
где S21, S22
- мощность соответствующей вторичной обмотки трансформатора, В·А
Рассчитываем мощность вторичной
обмотки (управления) трансформатора:
Рассчитываем мощность второй
вторичной обмотки (цепь освещения) трансформатора:
Определяем полную
мощность трансформатора
Sтр≥1066+107,1=1173,1 В∙А
Выбираем трансформатор
ОСМ1-1,6М со следующими параметрами: Sтp=1600 В∙А, ℓk ≈ 5%, ДU ≈ 5%.
Выбранный
трансформатор должен удовлетворять следующим условиям
где Shom.тр - номинальная мощность выбранного трансформатора, В·А;
Shom21, Shom22 - номинальная мощность вторичных обмоток трансформатора, В·А;
U21, U22 - требуемое напряжение вторичных обмоток трансформатора, В.
Данные соответствуют
требуемым условиям, следовательно оставляем выбранный трансформатор.
5.
Выбор типа сечения проводов и кабелей
Области применения
кабелей и проводов должны соответствовать требованиям стандартов и технических
условий, а также правил устройства электроустановок.
Допускается
использовать контрольные кабели для подключения до двух электроприемников
напряжением до 1 кВ и мощностью до 10 кВт, относящихся к одному или одной
технологической линии.
Для присоединения к
неподвижным электроприемникам применяют провода и кабели с алюминиевыми жилами.
Провода и кабели с медными жилами следует применять для присоединения к
переносным, передвижным и установленным на виброизолирующих опорах
электроприемникам, а также в случаях, оговоренных ПУЭ. Кабели и провода,
присоединяемые к переносным, передвижным и установленным на виброизолирующих
опорах электроприемникам, должны быть гибкими.
Электропроводки
станков и машин выполняют проводами и кабелями преимущественно в
поливинилхлоридной изоляции. Согласно общим техническим условиям для проводок
станков применяют медные провода сечением не менее 1 мм, лишь в цепях
усилительных устройств разрешается применять непосредственно на станках провода
сечением 0,75 мм2, на панелях и в облаках 0,5 - 0,35 мм2.
Выбор сечения
проводов и кабелей производится по следующим условиям:
. По нагреву
(5.1)
де Ipac - ток,
потребляемый двигателем, А;
Кпоп -
поправочный коэффициент на условиях прокладки Кпоп=1 [7, с. 29]
. По
соответствию выбранному аппарату защиты
(5.2)
где Iз - номинальный ток аппарата защиты, А
Кз -
коэффициент защиты Кз=0,33 [7, с. 107]
Производим расчет
питающего провода для двигателя М1:
Выбираем провод АПВ 3
(1х10) мм2 с Iдоп=42А
[7, с. 108].
Производим расчет
питающего провода для двигателя М2:
Выбираем провод АПВ 3
(1х2) мм2 с Iдоп=14А
[7, с. 108]
Производим расчет
питающего провода для двигателя М3:
Выбираем провод АПВ 3
(1х2) мм2 с Iдоп=14А
[7, с. 108]
Производим расчет
питающего провода для двигателя М4:
Выбираем провод АПВ 3
(1х2) мм2 с Iдоп=14А
[7, с. 108].
Производим расчет
питающего провода для цепи управления:
Выбираем провод АПВ 3
(1х2) с Iдоп=14А [7, с. 108].
Производим расчет
питающего кабеля для питающей цепи:
Выбираем кабель АВВГ 3
(1х4)+1 (1х2,5) мм2 с Iдоп=38А
[7, с. 109].
Данные выбранных
проводов и кабелей заносим в таблицу 5.1.
Таблица 5.1 - Данные
выбранных проводов и кабелей
|
Назначение
|
Тип
|
Сечение
|
Iном,
А
|
Iдоп,
А
|
|
М1
|
АПВ
|
3 (1х10)
|
22
|
42
|
|
М2
|
АПВ
|
3 (1х2)
|
4,4
|
14
|
|
М3
|
АПВ
|
3 (1х2)
|
1,7
|
14
|
|
М4
|
АПВ
|
3 (1х2)
|
2,29
|
14
|
|
Для питающей цепи
|
АВВГ
|
3 (1х4)+1 (1х2,5)
|
30,39
|
38
|
|
Для цепи управления
|
АПВ
|
3 (1х2)
|
1,23
|
14
|
Список использованных
источников
1. Черпаков, Б.И.
Металлорежущие станки / Б.И. Черпаков, Т.А. Альперович. - М.: Издательский
центр «Академия», 2003. - 368 с.
2. Зимин, Е.Н.
Электрооборудование промышленных предприятий и установок / Е.Н. Зимин, В.И.
Преображенский, И.И. Чувашов. - 2-е изд. - М.: Энергоиздат, 1981. - 552 с.
. Нефедов, Н.А.
Сборник задач и примеров по резанию металлов и режущему инструменту / Н.А.
Нефедов, К.А. Осипов. - 5-е изд. - М.: «Машиностроение», 1990. - 448 с.
. Алиев, И.И.
Справочник по электротехнике и электрооборудованию / И.И. Алиев - 4-е изд. -
М.: Высшая школа, 2004. - 255 с.
. Алиев, И.И.
Справочник по электротехнике и электрооборудованию / И.И. Алиев - 3-е изд. -
М.: Высшая школа, 2002. - 251 с.
. Кисаримов, Р.А.
Справочник электрика / Р.А. Кисаримов. - 2-е изд. - М.: ИП РадиоСофт, 2004. -
512 с.
. Королев О.П.
Электроснабжение промышленных предприятий / О.П. Королев. - Мн., 1995.
. Куценко, Р.А.
Охрана труда в Электроэнергетике/ Г.Ф. Куценко. - Мн.: Дизайн ПРО, 2005.-784 с.
. Правила
устройства электроустановок/ Минэнерго СССР. - 6-ое изд.-М.: Энергоиздат,
1978.-648 с.
. Сокол, Т.С.
Охрана труда / Т.С. Сокол. Мн.: Дизайн ПРО, 2006. - 299 с.
. Методическое
пособие по дипломному проектированию.