Разработка автоматизированного электропривода магистрального рудничного конвейера типа 2ЛУ-120
СОДЕРЖАНИЕ
ВВЕДЕНИЕ
. ТЕХНОЛОГИЧЕСКАЯ ЧАСТЬ
.1 Описание промышленной установки и анализ технологического
процесса
.2 Анализ взаимодействия оператор - промышленная установка
.3 Анализ кинематической схемы, определение параметров и
проектирование расчётной схемы механической части электропривода
.4 Анализ кинематической схемы, определение параметров и
составление расчетной схемы механической части электропривода
. ВЫБОР СИСТЕМЫ ЭЛЕКТРОПРИВОДА И АВТОМАТИЗАЦИИ ПРОМЫШЛЕННОЙ
УСТАНОВКИ
.1 Литературный обзор по теме дипломного проекта
.2 Формулирование требований к автоматизированному
электроприводу и системе автоматизации
.3 Определение возможных вариантов и выбор рациональной
системы электропривода
.4 Проектирование функциональной схемы автоматизированного
электропривода
. ВЫБОР ЭЛЕКТРОДВИГАТЕЛЯ
.1 Расчёт нагрузок и построение механической характеристики и
нагрузочной диаграммы механизма
.2 Предварительный выбор двигателя по мощности
.3 Выбор номинальной скорости двигателя и типоразмера
двигателя
.4 Построение нагрузочной диаграммы электропривода
.5 Проверка выбранного электродвигателя по нагреву и
перегрузочной способности
. ПРОЕКТИРОВАНИЕ СИЛОВОЙ СХЕМЫ АВТОМАТИЗИРОВАННОГО
ЭЛЕКТРОПРИВОДА И ВЫБОР КОМПЛЕКТНОГО ПРЕОБРАЗОВАТЕЛЯ ЭЛЕКТРИЧЕСКОЙ ЭНЕРГИИ
.1 Определение возможных вариантов и обоснование выбора типа
комплектного преобразователя
4.2 Расчёт параметров и выбор элементов силовой цепи
4.3 Выбор датчиков регулируемых координат электропривода
. ПРОЕКТИРОВАНИЕ СИСТЕМЫ АВТОМАТИЧЕСКОГО УПРАВЛЕНИЯ
5.1 Разработка математической модели автоматизированного
электропривода
5.2 Расчёт параметров объекта управления
.3 Определение структуры и параметров управляющего устройства
6. АНАЛИЗ ДИНАМИЧЕСКИХ И СТАТИЧЕСКИХ ХАРАКТЕРИСТИК
ЭЛЕКТРОПРИВОДА
.1 Разработка имитационной модели электропривода
6.2 Расчёт и определение показателей качества переходных
процессов
6.3 Построение статических характеристик электропривода
7. ОКОНЧАТЕЛЬНАЯ ПРОВЕРКА ДВИГАТЕЛЯ ПО НАГРЕВУ С УЧЁТОМ
ТОЧНОЙ НАГРУЗОЧНОЙ ДИАГРАММЫ ЭЛЕКТРОПРИВОДА
. ВЫБОР И ПРОЕКТИРОВАНИЕ СИСТЕМЫ АВТОМАТИЗАЦИИ
ПРОИЗВОДСТВЕННОЙ УСТАНОВКИ
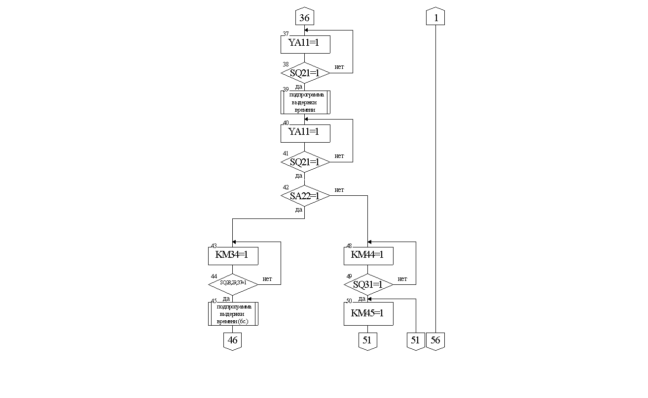
.1 Формализация условий работы установки
.2 Разработка алгоритма и программы управления
.3 Разработка функциональной, логической схемы
.4 Выбор аппаратов
. ПРОЕКТИРОВАНИЕ УЗЛА СИСТЕМЫ АВТОМАТИЗИРОВАННОГО
ЭЛЕКТРОПРИВОДА (ПРИНЦИПИАЛЬНОЙ ЭЛЕКТРИЧЕСКОЙ СХЕМЫ ИЛИ КОНСТРУКЦИИ УЗЛА)
. ПРОЕКТИРОВАНИЕ СХЕМЫ ЭЛЕКТРОСНАБЖЕНИЯ И ЗАЩИТЫ УСТАНОВКИ
.1 Выбор аппаратов, проводов и кабелей
. ОХРАНА ТРУДА
11.1 Меры безопасности при
эксплуатации конвейеров
11.2 Расчет зануления для двигателя конвейера питателя
. ЭКОНОМИЧЕСКОЕ ОБОСНОВАНИЕ ТЕХНИЧЕСКИХ РЕШЕНИЙ
.1 Определение капитальных вложений
.2 Определение эксплуатационных затрат
.3 Определение приведенных затрат
ЗАКЛЮЧЕНИЕ
СПИСОК ИСПОЛЬЗОВАННЫХ ИСТОЧНИКОВ
ВВЕДЕНИЕ
Автоматизированный регулируемый привод, Рудничный КОНВЕЙЕР 2ЛУ-120,
преобразователь частоты, модель электропривода, расчёт характеристик, система
автоматизации, контроллер SIMATIC S7.
Объектом проектирования является магистральный рудничный ленточный
конвейер типа 2ЛУ-120.
Цель проектирования - разработка автоматизированного электропривода
магистрального рудничного конвейера типа 2ЛУ-120.
В ходе проектирования проведен анализ технологического процесса,
представлено обоснование использования регулируемого электропривода, показана
методика расчета и выбора элементов электропривода конвейера, разработана
система автоматического управления и модель электропривода, исследованы
статические и динамические режимы электропривода конвейера 2ЛУ-120, разработана
программа управления системы автоматизации и регулирования скорости конвейера,
рассмотрены вопросы охраны труда, выполнено технико-экономическое обоснование
проекта.
В результате проектирования был разработан автоматизированный
электропривод с преобразователем частоты DYNAVERT BbD250/1000 и асинхронным двигателем типа ВАО2-355L8 мощностью 250кВт.
Результаты проектирования могут быть внедрены на предприятиях горнорудной
промышленности
В настоящее время в Республике Беларусь широкое распространение получили
асфальтосмесительные установки ДС-158, ДС-168, ДС-185 и другие, производимые АО
"Кредмаш".
В указанных выше асфальтосмесительных установках
наряду с положительными факторами (относительная простота конструкции,
надежность, высокая ремонтоспособность силами обслуживающего персонала,
относительно невысокая стоимость) имеется и ряд недостатков.
Наиболее важным из недостатков является невысокая степень автоматизации
технологического процесса и, как следствие, зависимость качества готового
продукта от опытности оператора.
Одним из наиболее существенно влияющих факторов на
качество асфальтобетонных смесей является температура каменных материалов на
выходе сушильного барабана.
Целью данного курсового проекта является разработка
системы автоматической стабилизации температуры каменных материалов на
требуемом уровне.
Таким образом, эта система автоматического управления позволит повысить
качество готового продукта и, как следствие, возрастет срок службы покрытия
автодорог, уменьшаться затраты на их ремонт и поддержание в рабочем состоянии.
1. ТЕХНОЛОГИЧЕСКАЯ ЧАСТЬ
1.1 Анализ технологического процесса
Асфальтосмесительная установка ДС-158 является
установкой циклического действия, что позволяет быстро изменять рецептуру
смеси.
Процесс приготовления асфальтобетонных смесей состоит
из следующих этапов:
грубое предварительное дозирование влажных каменных
материалов (щебня или гравия, природного (дробленого) песка) в агрегате питания
и подачу их к сушильному агрегату;
просушивание и нагрев каменных материалов до рабочей
температуры в сушильном агрегате и подачу нагретых материалов к грохоту
смесительного агрегата;
сортировка нагретых каменных материалов на четыре
фракции (0-5; 5-10; 10-20; 20-40 мм), временное хранение их в
"горячем" бункере, весовое дозирование в соответствии с рецептурой
замеса и выдача их в смеситель;
весовое дозирование минерального порошка и выдача его
в смеситель;
объемное дозирование нефтяного дорожного битума и
подача его в смеситель;
смешивание всех фракций материалов с минеральным
порошком и битумом и выдача смеси в автосамосвалы или подачу ее через скиповый
подъемник в бункер готовой смеси, а из него в автотранспорт.
1.2 Описание промышленной установки
Установка асфальтосмесительная ДС-158 предназначена
для приготовления асфальтобетонных и других видов черных смесей, применяемых
при строительстве и ремонте автомобильных дорог.
Основные технические данные.
Производительность техническая, т/ч.:
при влажности исходных материалов (песка и щебня) 5 %
и Dt=140°C 48±10%;
при влажности исходных материалов (песка и щебня) 3 %
и Dt=140°C 56±10%.
Мощность установленного оборудования, кВт, не более
194.
Удельный расход топлива для приготовления 1 т. смеси,
кг 5,5 - 9,5.
Общая вместительность бункеров агрегата питания, м, не
менее 32.
Вместимость бункера агрегата минерального порошка, м3,
не менее 23.
Вместимость бункера готовой смеси, м3 (т),
не менее 39 (70).
Вместимость битумных цистерн, м3, не менее
30.
Габаритные размеры, м, не более:
длинна 46,3;
ширина 29,45;
высота 17,61.
Примечание: Dt - разность температур каменных материалов на входе и выходе
сушильного барабана.
Вся асфольтосмесительная установка состоит:
агрегата питания;
агрегата минерального порошка;
ленточных конвейеров;
сушильного агрегата;
агрегата подготовки битума;
газоходов;
системы пылеочистки;
смесительного агрегата;
бункера готовой смеси;
скипового подъемника;
топливного бака;
кабины оператора;
системы теплоносителя;
- электрооборудования.
Агрегат питания служит для накопления и подачи
исходных каменных материалов (песка, щебня) в соответствии с заданной
рецептурой на ленточный конвейер.
Агрегат минерального порошка предназначен для приема,
хранения, дозирования и подачи минерального порошка в бункер смесительного
агрегата.
Конвейер ленточный служит для перемещения каменного
материала от агрегата питания к конвейеру ленточному загрузочному.
Конвейер ленточный загрузочный служит для загрузки
каменного материала в сушильный агрегат.
Сушильный агрегат служит для нагрева и сушки каменных
материалов до температуры, обеспечивающей приготовление асфальтобетонной смеси,
смешивания с битумом и минеральным порошком, поступающими в бункер
смесительного агрегата.
Разогрев сушильного агрегата производится топочным
агрегатом, работающим на мазуте.
Агрегат подготовки битума предназначен для приема,
хранения, нагрева битума до рабочей температуры и транспортирования его в
бункер смесительного агрегата. Нагрев битума производится жидким
теплоносителем.
В системе подготовки битума имеется емкость для непрерывного
обезвоживания битума, где битум нагревается топочным агрегатом через жаровые
трубы. Топочный агрегат работает на мазуте. Все трубопроводы обогреваются
жидким теплоносителем. В системе имеется агрегат дозирования обезвоженного и
нагретого до рабочей температуры битума и подачи его в смеситель.
Газоходы служат для соединения сушильного и
смесительного агрегатов с устройствами пылеочистки и дымовой трубой.
Система пылочистки служит для удаления пыли из газов,
выходящих из сушильного и смесительного агрегатов.
Установка пылеочистки имеет три ступени очистки - две
сухих и одну мокрую.
Смесительный агрегат предназначен для приготовления
асфальтобетонной смеси, путем смешивания каменных материалов с битумом и
минеральным порошком, которые дозируются в необходимых пропорциях в
соответствии с рецептурой замеса, и включает в себя следующие устройства:
горячий элеватор;
горячий грохот;
весовые бункеры каменных материалов;
бункер смесителя;
выгрузочное устройство.
Горячий элеватор служит для подачи просушенных и
нагретых до требуемой температуры каменных материалов в приемный бункер
горячего грохота.
Горячий грохот требуется для разделения каменных
материалов на необходимые фракции и отсева негабарита. Отсеянные материалы
поступают в весовые бункеры каменных материалов соответствующих фракций.
Весовые бункеры каменных материалов служат для
накопления и весового дозирования каменных материалов, требуемых фракций в
соответствии с рецептурой замеса.
Бункер смесителя предназначен для приготовления
асфальтобетонной смеси путем смешивания ее компонентов.
Выгрузочное устройство служит для выгрузки готовой
асфальтобетонной смеси в ковш скипового подъемника.
Скиповый подъемник служит для перегрузки
асфальтобетона из бункера смесительного агрегата в бункер-термос (бункер
готовой смеси).
Бункер-термос служит для приема, временного хранения и
выдачи асфальтобетонной смеси потребителю.
Кабина оператора является рабочим местом оператора,
осуществляющего управление работой асфальтосмесительной установки.
Электрооборудование и система автоматики установки служат для механизации
и автоматизации технологического процесса приготовления асфальтобетона,
обеспечивает автоматическую остановку установки при аварийной ситуации.
автоматический стабилизация
асфальтосмесительный электродвигатель
1.3 Анализ взаимодействия
оператор-промышленная установка
Электрооборудование асфальтосмесительной установки
имеет два режима работы "Наладка" и "Работа", которые
выбираются оператором путем перевода трехпозиционного переключателя в
необходимое положение. Для работы в режиме "Наладка" рукоятку
переключателя поворачивают относительно нулевого положения на 45° против
часовой стрелки до фиксации, а для режима "Работа" - на 45° по
часовой стрелке до фиксации. Режим "Наладка" предусматривает
возможность включения отдельных агрегатов без включения в работу всей
установки. Режим "Работа" предусматривает технологическую взаимосвязь
между всеми агрегатами.
Кроме того, переключатель в положении
"Работа" обеспечивает включение исполнительных механизмов для
закрытия крана топлива при отключенном насосе топлива и для закрытия заслонки дымососа
при его отключении.
Розжиг топки сушильного барабана.
Топливо в топливном баке должно быть заранее нагрето
до 60-70°С. Для этого необходимо включить нагреватели топлива в баке и при
достижении температуры топлива 50°С включить насос топлива в режиме
"Наладка". Тумблером включить нагреватели топлива перед горелкой. При
этом кран топлива к горелке закрыт, и топливо циркулирует через сливной кран и
бак пока не нагреется до 60-70°С. Прогрев топливо переключатель режимов
переводят в режим "Работа". Насос топлива и нагреватель перед
горелкой при этом выключается. Температуру топлива в баке поддерживает
электроконтактный термометр, включая электронагреватели в баке при остывании
топлива до 60°С и выключая их при 80°С.
Перед розжигом необходимо продуть сушильный барабан,
для чего включаются приводы дымососа и вентилятора. Затем включают приводы на
открытие заслонок этих агрегатов. Далее включают приводы грохота, элеватора,
сушильного барабана, шнека пыли, смесителя, компрессора, открыть кран топлива к
горелке.
Чтобы произвести розжиг горелки необходимо нажать на
кнопку "Факел", при этом дымосос должен быть включен, заслонка
открыта на 15-20% своего хода, заслонка первичного воздуха, подаваемого
дутьевым вентилятором открыта на 80-100%, заслонка вторичного воздуха ручного
управления - на 30% своего хода. Далее розжиг будет происходить автоматически с
помощью реле времени.
Если розжиг произошел, то реле отключает клапан запальника и подача
топлива для розжига прекратится, а прибор контроля пламени блокирует подачу
напряжения на электроды розжига. Включается насос топлива, нагреватель перед
горелкой, а также исполнительный механизм, открывающий заслонку вторичного
воздуха и обеспечивающий подачу основного топлива. О положении заслонки воздуха
и величине подачи топлива судят по стрелке показывающего прибора,
отградуированного в процентах. Розжиг главной горелки происходит при положении
стрелки прибора на 25%. Реле времени через 30 секунд отключает клапан
запальника. Дальнейшее открытие заслонки воздуха и подача топлива будет
происходить при включении соответствующего тумблера. При положении стрелки
прибора на 80% обеспечится подача рабочей нормы расхода топлива.
Для обеспечения устойчивого факела горения без сажи
необходимо наблюдать за факелом через смотровое окошко и за цветом дыма из
дымоотводной трубы.
Если дым черный - не хватает воздуха, не будет полного
сгорания топлива. Необходимо регулировать вручную подачу первичного и
вторичного воздуха и не допускать отрыва факела и его чрезмерного удлинения, в
противном случае топка может погаснуть.
Если дым белый и факел далеко - не полностью сгорает
топливо, и вторичный воздух снова необходимо регулировать вручную. Одновременно
по прибору контроля температуры наблюдают за температурой отходящих газов.
После образования устойчивого факела необходимо увеличить подачу топлива и
воздуха, чтобы довести температуру отходящих газов до 200-250°С. Как только эта
температура достигнута, барабан прогрет. В нормальных условиях это должно
произойти через 3-5 минут после розжига. Теперь можно подавать материал, для
чего следует включить привод наклонного конвейера и агрегата питания.
Приготовление асфальтобетона.
Дозирование каменных материалов, минерального порошка
и битума, а также управление работой насоса слива битума, затворами дополнительного
бункера и смесителя осуществляется в двух режимах: автоматическом и
дистанционном, для чего оператор устанавливает рукоятку переключателя в
положение "Авт." и "Дист." соответственно.
Управление работой секторных затворов каменных
материалов питающего устройства весового автоматического дозатора смесительного
агрегата, дозированием минерального порошка, дозатора битума смесительного
агрегата осуществляется соответствующими переключателями, которые оператор
устанавливает вручную в требуемое положение.
Для управления работой смесителя имеется счетчик
замесов, на котором перед началом работы оператор устанавливает требуемое
количество замесов.
В автоматическом режиме дозирование компонентов асфальтобетонной смеси
осуществляется с помощью циферблатного регулирующего прибора (КЭП-12У), путем
установки задающей стрелки на требуемую для одного замеса массу материала
(отдельно для всех фракций каменных материалов, минерального порошка и битума).
Прибор включается, когда будет отдозирован материал, т.е. когда флажок
указательной стрелки входит в паз датчика задающей стрелки.
С помощью сигнальных ламп оператор контролирует
процесс дозирования и выгрузки материалов в смеситель.
Дозирование материалов в дистанционном режиме
осуществляется отдельно для каждого компонента. Для этого соответствующий
переключатель устанавливается в положение "Доз.". За дозированием
наблюдают по указательной стрелке. Как только стрелка совместится с заданным
значением шкалы указателя, переключатель устанавливают в нейтральное положение.
При этом затвор закроется, и процесс дозирования материала прекращается.
Дозирование всех остальных компонентов смеси
осуществляется аналогично.
Приготовление смеси в автоматическом режиме начнется:
) если будет закончено дозирование фракций минеральных
материалов и битума, предусмотренных рецептом;
) если будет закрыт затвор смесителя.
При этом включается командный прибор. По его команде
откроется затвор весового бункера каменных материалов, включится привод шнека
выгрузки минерального порошка в смеситель, а также насос слива битума и
сигнальные лампы.
Привод смесителя включается кнопкой с пульта
управления, при этом загорается контрольная лампа.
Как только закроются затворы весовых бункеров, и кран
слива битума смесительного агрегата начнется дозирование фракций для следующего
замеса. Длительность вышеуказанных операций определяется циклограммой работы
командного прибора. Продолжительность смешивания компонентов 40-60с.
Для приготовления и выгрузки смеси в дистанционном
режиме следует:
) переключатель выбора режима установить в положение
"Дист.";
) произвести дозирование, как описано выше;
) переключателем открыть затвор весового бункера
каменных материалов и весового бункера минерального порошка (при этом включится
привод шнека минерального порошка). Как только указательная стрелка
циферблатного указателя минерального порошка возвратится в нулевое положение,
закрыть затворы. (До начала выгрузки минеральных материалов привод смесителя
должен быть включен);
) после выгрузки минеральных материалов включить насос
слива и слить в смеситель битум. Как только указательная стрелка циферблатного
указателя битума возвратится в нулевое положение отключить насос;
5) после окончания перемешивания дать команду на открытие затворов
дополнительного бункера и смесителя (или только затворов смесителя при выгрузке
непосредственно в автотранспортные средства). Произвести выгрузку и закрыть
затвор смесителя.
Во время работы установки оператор должен регулировать
уровень воды в отсеке очищенного газа мокрого пылеуловителя, наблюдая за цветом
дыма, (он должен быть белым) и за работой дымососа. Он должен работать без
перегрузки.
После окончания работы следует очистить смеситель от
налипшей смеси. Для этого смеситель загружают щебнем фракции 10-20 мм до
400-500 кг и дают ему поработать в течение 1-1,5 минут. Затем содержимое можно
выгрузить через промежуточный бункер. Сушильный барабан надо прокрутить без
материала в течение 5 минут с включенным вентилятором, чтобы барабан остыл.
В дозаторе минерального порошка и на шнеке не должно оставаться
минерального порошка. Бункера агрегата питания, бункер негабарита следует
освободить от материала.
Битум необходимо откачать из дозатора и битумных
коммуникаций.
После отключения приводов агрегатов и насосов, закрыть
краны, отключить цепи управления и вводные рубильники, слить шлам в
шламоотстойник. На основании всего вышеизложенного можно сделать следующие
выводы:
) установка имеет слабую автоматизацию
технологического процесса, так как даже при работе установки в автоматическом
режиме оператор осуществляет управление целым рядом устройств и агрегатов;
) не автоматизированы процессы розжига топки
сушильного барабана и стабилизации температуры каменных материалов на выходе
сушильного барабана, что предъявляет высокие требования к оператору, а именно к
его опыту работы на данной установке;
) оператор перегружен достаточно быстро меняющеюся
информацией (длительность процесса приготовление одно замеса асфальтобетонной
смеси 40-60 секунд).
1.4 Анализ кинематической схемы,
определение параметров и составление расчетной схемы механической части
электропривода
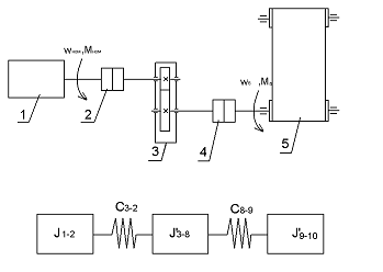
Механическая часть электропривода состоит из:
движущейся части электродвигателя, передаточного устройства и исполнительного
органа. Приведенная схема наглядно отражает то, что механическая часть электропривода
представляет собой систему связанных масс, движущихся с различными скоростями
поступательно и с вращением. В нагруженном состоянии элементы системы (валы,
опоры, зубчатые зацепления, транспортерная лента и т.п.) деформируются, так как
механические связи не являются абсолютно жесткими. При изменениях нагрузки
массы имеют возможность взаимного перемещения, которое при данном приращении
нагрузки определяется жесткостью связи.
Рисунок 1.1 - Кинематическая схема конвейера
1-двигатель; 2,4-соединительные муфты; 3-редуктор; 5-конвейер
Для анализа движения механической части электропривода
осуществляется переход от реальной кинематической схемы к расчетной, с которой
массы и моменты инерции движущихся элементов и их жесткости, а так же силы и
моменты, действующие на эти элементы, заменены эквивалентными величинами,
приведенными к одной и той же скорости.
Процесс перехода к расчетным схемам обычно называют
приведением, а сами величины приведенными. Обычно оказывается удобным и
целесообразным осуществлять приведение к скорости электродвигателя. Это бывает
в тех случаях, когда параметры системы таковы, что влияние упругих связей
незначительно, или при решении задач, в некоторых с этим влиянием можно не
считаться, механическая часть представляется простейшей расчетной схемой, не
учитывающей влияние упругих связей, - жестким приведенным звеном (рисунок 1.2).
В этих случаях много массовая механическая часть электропривода заменяется
одной эквивалентной массой с моментом инерции IS, на которую воздействуют
электромагнитный момент двигателя М и суммарный приведенный к валу двигателя
момент нагрузки Мс. Момент нагрузки Мс включает в себя
все внешние силы, приложенные к механической системе, кроме момента двигателя
М.
Рисунок 1.2 - Расчетная схема механической части
электропривода
В случае приведения к валу двигателя суммарный
приведенный момент инерции электропривода IS может быть выражен общей формулой:
, (1.1)
где
Iдв -
момент инерции ротора двигателя;
d - коэффициент, учитывающий момент инерции вращающихся частей
передаточного механизма (d=1,1 ¸ 1,3 если не известен Iмуф);
Iмуф - момент инерции соединительной муфты и других частей
(тормозные диски и пр.);
Iм - момент инерции вращающихся частей механизма;
т
- масса поступательно движущихся частей механизма;
j - передаточное
число редуктора;
r - радиус
приведения.
Суммарный
приведенный к валу двигателя момент статической нагрузки Мс можно в
общем виде записать:
, (1.2)
где
q, р - число внешних моментов М и сил Fj, приложенных к системе, кроме электромагнитного момента двигателя.
2.
ВЫБОР СИСТЕМ ЭЛЕКТРОПРОВОДА И АВТОМАТИЗАЦИИ ПРОМЫШЛЕННОЙ УСТАНОВКИ
.1
Литературный обзор по теме дипломного проекта
Был
произведен патентный поиск по теме дипломного проекта, в результате которого
были найдены следующие авторские свидетельства.
Авторское
свидетельство по способу автоматического регулирования процесса сушки в
барабанной сушилке 5F26B 2//06 А.С. №723354. По данному способу температуру
материала измеряют на выходе, а влажность материала - на входе в сушилку;
дополнительно измеряют температуру отходящих газов. По этим параметрам
воздействуют на скорость вращения сушильного барабана, а на расход
теплоносителя и расход каменных материалов воздействуют по влажности материала
и температуре сушильного барабана.
Известен
также способ для регулирования процесса сушки сыпучих материалов, включающий
регулирование подачи теплоносителя в барабан и регулирование расхода исходного
материала, предназначенный для стабилизации качества готового продукта. При
этом регулирование осуществляют путем измерения силы тока электропривода
сушильного барабана. Сравнение его измеренного и заданного значений, выработки
сигнала рассогласования и изменение расхода исходного материала для устранения
этого рассогласования, а корректировку расхода теплоносителя осуществляют по изменению
расхода исходного материала (А.С. №334462).
Известно
устройство (А.С. №926473), в котором количество материала, поступающее в
барабан, корректируется в зависимости от его влажности на входе в барабан и
требуемой влажности сухого материала.
Известно
также устройство для регулирования процесса сушки в сушильном барабане (А.С.
№263644). Температура внутри барабана регулируется по температуре выходного
материала путем изменения количества подводимого теплоносителя.
Известно устройство регулирования процесса сушки (А.С.
№318492) в сушильном барабане. Температура материалов на выходе поддерживается
на заданном уровне путем измерения ее величины, сравнения с заданной и
соответствующего уменьшения подачи материала в барабан, а также изменением угла
его наклона.
2.2 Формулирование требований к
автоматизированному электроприводу и системе автоматизации
Требования к электроприводу конвейеров обусловлены
необходимостью получения его трех основных режимов (пуска, установившегося
движения, торможения) и ряда вспомогательных и наладочных режимов, а также
обеспечения надежной и бесперебойной работы конвейерных установок. Основные
требования, предъявляемые к электроприводу конвейера, следующие:
1. Обеспечение плавного пуска двигателя
с ограниченным значением момента и ускорения с целью:
- безударного выбора зазоров в зубчатых передачах в
начальный период трогания;
ограничения динамических усилий тягового органа.
. Обеспечение больших моментов при трогании конвейера
в начале его пуска, поскольку сопротивление трения в покое примерно в 1,5 раза
превышают сопротивления трения при движении, а также из-за возможного наличия
грязи в ходовых частях механизмов, застывания смазки.
. Обеспечение установившегося режима с заданной
скоростью движения рабочего органа.
. Обеспечение регулирования скорости рабочего органа с
диапазоном D=3 с целью стабилизации температуры
каменных материалов на выходе сушильного агрегата.
Основные требования, предъявляемые к системе
автоматизации следующие:
. Обеспечение задания и поддержания более высокой
температуры каменных материалов, с учетом окружающей среды (в начале работы
установки) на первых двух замесах, что позволяет исключить брак из-за
несоответствия температуры готовой смеси требованиям ГОСТ.
. Обеспечение автоматического поддержания заданной
температуры каменных материалов на выходе сушильного агрегата с целью повышения
качества готового продукта. Для этого необходимо регулировать количество
подаваемого в барабан материала, то есть регулировать скорость конвейеров.
. Обеспечение работы конвейеров на заданной
минимальной скорости.
. Обеспечение движения конвейеров с одинаковыми
скоростями.
. Обеспечение требуемого порядка включения и
отключения конвейеров (с целью исключения завала): первым включается
загрузочный конвейер, а затем - конвейер питателя; отключается первым конвейер
питателя, вторым - загрузочный.
. Наличие блокировок и защит.
. Минимальные габариты и масса.
. Удобство монтажа, наладки и диагностики, а также
ремонта.
. Соответствие требованиям техники безопасности, а
также правилам пожарной безопасности.
. Обеспечение помехозащищенности и исключение
генерации радиопомех.
2.3 Определение возможных вариантов и выбор рациональной
системы электропривода
Системы электроприводов, применяемых для конвейеров, указаны в таблице
2.1.
Широкое распространение получили системы электроприводов с
короткозамкнутыми асинхронными двигателями. Достоинство таких электроприводов:
простота и относительно низкая стоимость, недостатки - повышенный пусковой
момент и, следовательно, возможность появления больших натяжений и пробуксовки
ленты, невозможность регулирования скорости двигателя.
Асинхронные электроприводы с муфтами скольжения обеспечивают плавный пуск
конвейера, регулирование скорости в необходимом диапазоне. Недостатками такой
системы являются невысокий КПД системы, установленная мощность электропривода
увеличивается примерно в два раза, большие габариты установки.
Применение асинхронных двигателей с фазным ротором и реостатным
управлением обеспечивает плавный пуск конвейера, регулирование скорости.
Недостатками такой системы электропривода являются: невысокий КПД, дискретность
регулирования скорости, мягкие механические характеристики.
Система управляемый выпрямитель - двигатель постоянного тока позволяет
плавно регулировать скорость в широком диапазоне, обеспечивает плавный пуск
конвейера, высокие динамические показатели, удобство управления. Недостатки:
очень высокая стоимость двигателя, высокие затраты на обслуживание из-за
наличия щеточного контакта, худшие массогабаритные показатели по сравнению с
асинхронными двигателями.
Система преобразователь частоты - асинхронные двигатель позволяет плавно
регулировать скорость в большом диапазоне, обеспечивает плавный пуск конвейера,
высокие динамические показатели, высокий КПД, удобство управления, высокую
надежность. Достоинством данной системы является невысокая стоимость
преобразователя частоты с двигателем по сравнению с системой управляемый
выпрямитель - двигатель постоянного тока. Недостаток - сложность системы
управления и силовой схемы.
В пользу применения системы преобразователь частоты - асинхронные
двигатель говорит также и тот факт, что в базовой установке в приводе
конвейеров применяются асинхронные двигатели с короткозамкнутым ротором.
Поэтому для получения возможности регулирования скорости двигателей достаточно
установить преобразователи частоты требуемой мощности.
В настоящее время системы автоматизации технологического процесса по
приготовлению асфальтобетонных смесей на установках отечественного производства
реализованы на релейно-контактных элементах. Это обусловлено тем, что такие
системы не требовательны к квалификации оператора и обслуживающего персонала,
неприхотливы в эксплуатации.
Таблица 2.1 - Системы электроприводов
конвейеров
|
Тип
|
Механические
характеристики
|
|
Асинхронный двигатель с
короткозамкнутым ротором.
|
|
|
Асинхронный двигатель с
короткозамкнутым ротором и муфтами скольжения (электромагнитными,
гидравлическими).
|
|
|
Асинхронный двигатель с
фазным ротором и управлением с помощью жидкостных и металлических реостатов.
|
|
|
Частотно-управляемый
асинхронный двигатель; тиристорный преобразователь - двигатель постоянного
тока.
|
|
2.4 Проектирование функциональной схемы автоматизированного
электропривода
Функциональная схема электропривода асфальтосмесительной установки
представлена на рисунке 2.1.
В качестве преобразователя используется преобразователь частоты (ПЧ) с
промежуточным звеном постоянного тока. Инверторный блок И, собранный на IGBT ключах, управляет непосредственно
3-фазным двигателем. ПЧ также содержит выпрямительно-дроссельный блок L и силовой конденсаторный фильтр C.
Инвертор управляется сигналами, поступающими с регуляторов момента РМ и
температуры РТ, которые имеют соответствующие обратные связи по моменту и
температуре Км и Кт.
Сигналы, поступающие на регуляторы, снимаются с датчика температуры
материала на выходе из сушильного барабана и датчика момента сушильного
барабана.
Рисунок 2.1 - Функциональная схема электропривода
3. ВЫБОР ЭЛЕКТРОДВИГАТЕЛЯ
3.1 Расчет нагрузок и построение механической характеристики
и нагрузочной диаграммы механизма
Статическая нагрузка конвейера определяется силами
трения в элементах конвейера (подшипниках, опорных роликах, в тяговых элементах
при его изгибах и т.д.), а также составляющими сил тяжести транспортируемого
груза на наклонных участках трассы конвейера. Значение результирующей силы
сопротивления (тяговой силы) Fс определяется с помощью тягового
расчета конвейера.
При работе конвейера электропривод создает движущее
усилие, которое передается приводным барабаном тяговому органу-ленте. Для
нормальной передачи этого усилия лента должна иметь предварительное натяжение,
создаваемое грузом Q0 (рисунок 3.1).
Рисунок 3.1 - Диаграмма тяговых усилий в ленте
конвейера с горизонтальной трассой
Усилие натяжения ленты F
будет изменяться от точки 0 по направлению к точкам 1-3 вследствие
дополнительных усилий сопротивления движению. В точке 3 усилие Fнаб, H, на набегающей ветви ленты будет складываться из следующих
составляющих:
, (3.1)
где
F0- усилие
предварительного натяжения, Н;
Fn -
усилие, обусловленное подъемом и опусканием груза (у наклонных конвейеров), Н,
определяется формулой:
; (3.2)
DF - суммарное усилие, вызванное трением в опорах
роликов, ленты по роликам и определяется формулой:
, (3.3)
где
Gгр - сила
тяжести транспортируемого груза, Н;
G0 - сила тяжести несущих и тяговых элементов (ленты,
роликов), Н;
b - угол наклона трассы к горизонту;
C=0,02¸0,05 - общий коэффициент сопротивления движению;
Fн.б - усилие, компенсирующее сопротивление движению от
трения в подшипниках натяжного барабана, Н, и находится по формуле:
, (3.4)
где
m - коэффициент трения, равный 0,03¸0,06;
D и d -
диаметры барабана и цапфы подшипника, м.
Усилие
Fс, Н,
определяемое приводным двигателем, обусловлено разностью усилий в точках 3 и 0,
т.е. в набегающей и сбегающей ветвях ленты конвейера, и усилием Fn.б., Н,
компенсирующим сопротивление движению на приводном барабане, т.е.
, (3.5)
где
усилие Fn.б.
определяется по формуле:
. (3.6)
Зная
массовую производительность установки Qт, т/ч, можно рассчитать линейную скорость движения
конвейерной ленты:
, (3.7)
где
F - площадь сечения потока насыпного груза, м2;
V - скорость
движения ленты, м/с; r - насыпная плотность, т/м3.
Для
формы поперечного сечения потока насыпного груза, указанного на рисунке 3.2
площадь определяется выражением (таблица 1 [1]):
, (3.8)
где
j - угол свободного расположения груза в поперечном
сечении ленты,0; В - ширина ленты конвейера, м.
Рисунок
3.2 - Форма поперечного сечения насыпного груза
Для
песчано-гравийной смеси j=150 (таблица 4.37 [2]).
В
данном случае ширина ленты конвейера B=0,4 м.
Тогда
по формуле (3.8):
Для
песчано-гравийной смеси насыпная плотность
r=1,8 т/м3
(таблица 4.37 [2]).
Выразим
из формулы (3.7) линейную скорость ленты:
. (3.9)
Тогда
в соответствии с (3.9) имеем
.
В
соответствии с шириной ленты конвейера и типом натяжного устройства (винтовое
натяжное устройство) усилие предварительного натяжения F0=8 кН (таблица 4.29 [2]).
Для
ленты конвейера шириной В=0,4 м и диаметром приводного и не приводного
барабанов Dб=0,16 м
(таблица 4.29 [2]):
диаметр
роликов dр=0,063 м
(таблица 4.29 [2]);
диаметр
цапфы подшипников d=0,04 м (таблица 4.35 [2]).
По
выражению (3.2):
.
Рассчитаем
силу тяжести транспортируемого груза:
, (3.10)
где
lк -
протяженность конвейера, м;
g=9,81 -
ускорение свободного падения.
Для
конвейера питателя lк=15 м.
Тогда
согласно (3.10):
.
Рассчитаем
силу тяжести несущих и тяговых элементов G0:
, (3.11)
где
Gл - сила
тяжести ленты;
Gр - сила тяжести роликов.
Сила
тяжести ленты определяется выражением:
, (3.12)
где
lл - длина
ленты, м;
m1л - масса одного метра ленты, кг.
Длина
ленты определяется по выражению:
, (3.13)
где
l1
-расстояние между осями приводного и не приводного барабанов, м; l2 - длина ленты, охватывающей барабаны.
Расстояние
между осями барабанов определим по формуле:
. (3.14)
Тогда:
.
Длину
ленты l2 при угле
обхвата a=1800 найдем по формуле:
. (3.15)
Тогда:
.
Тогда
по формуле (3.13):
.
Масса
одного метра длины ленты m1л=5,6 кг
(таблица 4.48 [2]).
Тогда
по выражению (3.12):
.
Силу
тяжести роликов определим по выражению:
, (3.16)
где
mв.р. и nв.р. - соответственно масса, кг, и количество верхних
роликоопор;
mн.р. и nн.р. -
соответственно масса, кг, и количество нижних роликоопор.
В
данном конвейере количество верхних и нижних роликоопор соответственно nв.р.=12 и nн.р.=8.
Из
таблиц 4.16 и 4.17 [2] массы роликоопор mв.р.=9,2 кг и mн.р.=8,8 кг.
Тогда
по формуле (3.16):
.
В
соответствии с (3.11):
.
По
формуле (3.3):
.
По
формуле (3.4):
.
По
формуле (3.1) рассчитаем усилие:
.
По
формуле (3.6) рас читаем усилие Fn.б.:
.
По
формуле (3.5) усилие:
.
Параметры
наклонного конвейера те же, что и у конвейера питателя, а именно: ширина ленты
В=0,4 м, протяженность конвейера lk=15 м, линейная скорость ленты n=1,4 м/с. Конвейер осуществляет подъем груза на высоту 3,1 м.
Рассчитаем угол наклона трассы к горизонту:
, (3.17)
где
h=3,1 м - высота подъема груза.
.
В
соответствии с (3.2) усилие
.
Усилие
DF
рассчитаем по формуле (3.3):
.
.
Усилие
Fп.б.
определяем по формуле (3.6):
.
В
соответствии с формулой (3.5) усилие
.
Построение
нагрузочной диаграммы.
Нагрузочной
диаграммой механизма являются зависимости Мс(t)
или Рс(t).
Расчетную
статическую мощность определим по формуле:
, (3.18)
где
hп - К.П.Д.
передачи, учитывающий потери в барабане и редукторе (hп=0,75¸0,85).
Принимаем
hп=0,85.
Тогда
расчетная статическая мощность конвейера питателя по (3.18):
Вт.
Расчетная
статическая мощность наклонного конвейера по (3.18):
Вт.
Рассчитаем
минимальное время работы установки tmin, с:
, (3.19)
где
tзам=60 с -
время замеса;
mбункера.т.=32×103 кг -
вместимость бункера-термоса;
mзамеса=750 кг - масса одного замеса.
Тогда:
.
С учетом рассчитанной статической мощности и времени ее действия строим
нагрузочную и скоростную диаграммы механизма за цикл. Диаграммы представлены на
рисунке 3.3.
а)
б)
Рисунок 3.3 - Нагрузочная и скоростная диаграммы механизма:
а - конвейера питателя; б - наклонного конвейера.
.2 Предварительный выбор двигателя по мощности
Мощность электродвигателя предварительно рассчитывается исходя из
статической нагрузки механизма и режима работы электропривода.
Конвейерам присущ продолжительный режим работы, как правило, в течение
значительных промежутков времени (от 43 минут до двух смен).
Поэтому мощность двигателя определяется по формуле:
, (3.20)
где
к - коэффициент запаса мощности, обычно к=1,08¸1,35.
С
учетом (3.18) выражение (3.20) примет вид:
, (3.21)
Тогда
предварительная номинальная мощность электродвигателя конвейера питателя в
соответствии с (3.21):
.
Предварительная
номинальная мощность электродвигателя наклонного конвейера:
.
3.3
Выбор номинальной скорости двигателя и типоразмера двигателя
В соответствии с расчетами предварительной мощности, проведенными в п.
3.2. по каталогу [3] выбираем асинхронные двигатели с короткозамкнутым ротором
серии 4А и частотой вращения n=1500
об/мин.
Для привода конвейера питателя выбираем двигатель 4А80В4У3 со следующими
техническими данными:
1) номинальная мощность Рном=1,5
кВт;
2) номинальный КПД hном=77 %;
3) номинальный коэффициент мощности cosjном=0,83;
4) номинальное напряжение питания Uном=220/380 В;
5) частота вращения при номинальной
мощности nн=1415 об/мин;
6) номинальный ток статора I1ном=3,57 А;
7) кратность пускового тока Iп/Iном=5,0;
8) кратность пускового момента Мп/Мном=2,0;
9) кратность минимального момента Мmin/Мном=1,6;
10)кратность
максимального момента Мmax/Mном=2,2;
11)критическое
скольжение sк=34,5 %;
12)момент инерции
ротора Jд=0,0033 кг×м2.
Для привода наклонного конвейера выбираем двигатель 4А100S4У3 со следующими техническими
данными:
1) номинальная мощность Рном=3,0
кВт;
2) номинальный КПД hном=82 %;
3) номинальный коэффициент мощности cosjном=0,83;
4) номинальное напряжение питания Uном=220/380 В;
5) частота вращения при номинальной
мощности nн=1435 об/мин;
6) номинальный ток статора I1ном=6,7 А;
7) кратность пускового тока Iп/Iном=6,0;
8) кратность пускового момента Мп/Мном=2,0;
9) кратность минимального момента Мmin/Мном=1,6;
10)кратность
максимального момента Мmax/Mном=2,4;
11)критическое
скольжение sк=31 %;
12)момент инерции
ротора Jд=0,0087 кг×м2
3.4 Построение нагрузочной диаграммы электропривода
Угловая скорость двигателя конвейера питателя и наклонного конвейера:
.
Угловая
скорость приводного барабана обоих конвейеров:
.
Передаточное
число редуктора:
.
Выбираем
редуктор типа Ц2У с передаточным числом j=8,5.
Радиус
приведения:
.
С
целью ограничения динамических нагрузок, обеспечения надежного сцепления
конвейерной ленты с приводным барабаном, а также формирования требуемых
переходных процессов ограничим ускорение аmax=0,2
м/с2.
Определим
статические моменты, приведенные к валу двигателя в соответствии с выражением
(1.2).
Для
двигательного режима:
.
Для
тормозного режима:
.
Как
видно из приведенных выше формул статический момент не зависит от скорости,
т.е. Мс(w)=const.
Приведем
момент инерции к валу двигателя в соответствии с (1.1). Момент инерции
вращающихся частей конвейеров:
, (3.22)
где
Jп.б. и Jн.б. - моменты инерции приводного и натяжного барабанов
соответственно.
Примем,
что натяжной и приводной барабаны имеют цилиндрическую форму. Тогда
, (3.23)
где
mб=58 кг -
масса приводного (натяжного) барабана.
.
Массу
поступательно движущихся частей механизма рассчитаем по формуле:
, (3.24)
где
Gл и Gгр - силы тяжести ленты и груза, рассчитанные в п. 3.1.
(Gл=1659,1
Н, Gгр=1827,6
Н).
Тогда
.
Момент
инерции, приведенный к валу двигателя питателя:
.
Момент
инерции, приведенный к валу двигателя наклонного конвейера:
.
Определим
угловое ускорение для обоих конвейеров:
.
Время
разгона:
.
Нагрузочная
диаграмма электропривода представляет собой зависимость электромагнитного
момента М, тока I или мощности Р от времени. В тех случаях, когда
момент и ток связаны линейной (или примерно линейной) зависимостью, обычно
нагрузочную диаграмму строят для момента, который определяют из основного
уравнения движения электропривода:
, (3.25)
где
Мс - статический момент на валу двигателя;
JS - суммарный момент
инерции электропривода;
w - угловая скорость
двигателя.
Динамический
момент электропривода Мдин предварительно определяют приближенно,
принимая линейный закон изменения скорости:
, (3.26)
где
tп.т. -
время пуска, торможения электропривода.
На
каждом интервале нагрузочной диаграммы момент двигателя с учетом выражений
(3.25) и (3.26) рассчитывается по формуле:
. (3.27)
Рассчитаем
динамический момент двигателя конвейера питателя по формуле (3.26):
.
Рассчитаем
динамический момент двигателя наклонного конвейера:
.
Рассчитаем
моменты двигателя на каждом интервале нагрузочной диаграммы по формуле (3.27):
- для двигателя конвейера питателя:
;
;
.
·
для двигателя
наклонного конвейера:
;
;
.
По результатам расчета строим нагрузочные диаграммы. В виду большой
длительности процесса для лучшей наглядности покажем отдельно участки пуска и
останова конвейеров.
а)
б)
Рисунок 3.4 - Нагрузочная диаграмма электропривода конвейера питателя: а)
пуск конвейера; б) останов конвейера.
а)
б)
Рисунок 3.5 - Нагрузочная диаграмма электропривода наклонного конвейера:
а) пуск конвейера; б) останов конвейера.
3.5 Проверка выбранного электродвигателя по нагреву и
перегрузочной способности
По нагрузочной диаграмме двигатель проверяется по перегрузочной
способности:
. (3.28)
Максимально допустимый момент асинхронного двигателя принимаем с учетом
возможного снижения напряжения питающей сети на 10%, тогда:
, (3.29)
где
lm
- кратность максимального момента;
Мном
- номинальный момент двигателя.
Номинальный
момент рассчитаем по формуле:
. (3.30)
Тогда
номинальный момент двигателя конвейера питателя:
.
Номинальный
момент двигателя наклонного конвейера:
.
По
формуле (3.29) рассчитаем допустимый момент двигателя конвейера питателя:
.
Допустимый
момент двигателя наклонного конвейера:
.
Итак, оба двигателя удовлетворяют условию (3.28), т.к.
.
.
Условием
правильного выбора двигателя по нагреву будет
. (3.31)
Эквивалентный
момент само вентилируемого двигателя, работающего в длительном режиме,
определяется по выражению:
, (3.32)
где
a0 -
коэффициент ухудшения условий охлаждения при пуске и торможении (a0@0,5 для асинхронных
двигателей);
b0 - коэффициент ухудшения условий охлаждения само
вентилируемого двигателя при отключении;
Мi
- момент двигателя на i-ом интервале;
tп.т.,i
- i-ый временной интервал пуска (торможения);
t0.i
- временной интервал i-ой паузы;
n - количество
токовых интервалов;
m - количество
интервалов пуска и торможения;
l - количество
пауз;
N - количество
интервалов установившегося движения за цикл.
В
соответствии с выражением (3.32) для двигателя конвейера питателя:
.
Таким
образом, условие (3.31) выполняется: 8,41<10,12.
Для
двигателя наклонного конвейера:
.
Таким
образом, условие (3.31) выполняется: 8,41<20,24.
Выбранные
двигатели соответствуют необходимым условиям нагрева и перегрузочной
способности.
4
ПРОЕКТИРОВАНИЕ СИЛОВОЙ СХЕМЫ АВТОМАТИ- ЗИРОВАННОГО ЭЛЕКТРОПРИВОДА И ВЫБОР
КОМПЛЕКТНОГО ПРЕОБРАЗОВАТЕЛЯ ЭЛЕКТРИЧЕСКОЙ ЭНЕРГИИ
4.1 Определение возможных вариантов и обоснование выбора типа
комплектного преобразователя
Эффективное регулирование скорости асинхронного двигателя возможно лишь
при наличии источника питания с регулируемой частотой. Причем при регулировании
частоты питающего напряжения, подводимого к статору. Для реализации этих
требований необходимо осуществлять питание двигателя от управляемого
преобразователя частоты.
Используем преобразователи частоты фирмы LG INDUSTRIAL SYSTEM, которые отличаются высокой надежностью; высоким КПД;
небольшими массогабаритными показателями; совместимостью с IGBT модулями фирм MITSUBISHI, SIEMENS и др.; невысокой стоимостью; руссифицированной
панелью оператора; наличием различного рода защит.
Выбираем частотные преобразователи типа iG5 - 4RUS,
предназначенные для плавного регулирования скорости вращения короткозамкнутых
асинхронных двигателей насосов, вентиляторов и подъемно-транспортной техники.
Данные ПЧ созданы на базе 16-разрядного микропроцессора, специализированного
для работы с трехфазными двигателями, и силового IGBT-модуля. Микропроцессор выполняет функцию регулятора,
генератора широтно-импульсно модулированного сигнала, формирующего в двигателе
синусоидальный ток, обеспечивает связь с пультом оператора, а также
осуществляет необходимые защитные функции.
Пульт оператора позволяет изменять режим работы и структуру ПЧ в системе
управления асинхронным двигателем, редактировать параметры, записывать их в
энергонезависимую память.
Имеется также возможность встроить преобразователь в контроллерные и
компьютерные сети, осуществлять настройку ПЧ, а также получать информацию о его
работе.
Таблица 4.1-Технические характеристики преобразователей частоты iG5-4RUS
|
Параметр
|
Единица измерения
|
Двигатель конвейера питателя
|
Двигатель наклонного конвейера
|
|
Номинальный ток
|
А
|
5
|
8
|
|
Ток перегрузки
|
А
|
10
|
13
|
|
Номинальная мощность
двигателя
|
кВт
|
2,2
|
3,7
|
|
Масса
|
кг
|
3
|
4
|
|
Номинальное питающее
напряжение
|
В
|
3´380
|
|
Диапазон выходного
напряжения
|
В
|
0¸3´380
|
|
Диапазон выходной частоты
|
Гц
|
0,1¸999,9
|
|
Диапазон регулирования
|
|
1¸100
|
|
Время пуска
|
с
|
0,2¸999,9
|
|
Время торможения
|
с
|
0,2¸999,9
|
|
Разрешающая способность по
частоте
|
Гц
|
0,1
|
|
Статическая ошибка скорости
вращения при изменении сетевого напряжения нагрузки температуры
|
% % %
|
0,1 6,0 0,01
|
|
Максимальная температура
радиатора
|
0С
|
70
|
|
Охлаждение
|
|
Принудительное
|
|
Устойчивость к
долговременной работе
|
Час
|
>24
|
|
Несущая частота выходного
сигнала
|
Гц
|
2,5; 5; 10; 16
|
|
КПД
|
%
|
95
|
|
Степень защиты
|
|
IP20
|
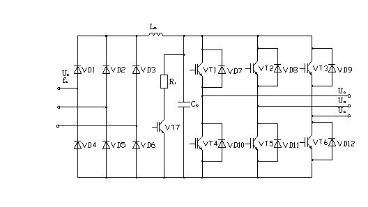
4.2 Расчет параметров и выбор элементов силовой цепи
Рисунок 4.1 - Функциональная схема преобразователя частоты с
промежуточным звеном постоянного тока
В преобразователях частоты данного типа переменное напряжение питающей
сети выпрямляется и через фильтр подается на автономный инвертор, который в
свою очередь преобразует постоянное напряжение в переменное с регулируемой
частотой.
Благодаря наличию звена постоянного тока выходная частота преобразователя
может регулироваться в широком диапазоне как вверх, так и вниз относительно
частоты сети.
Функциональная схема преобразователя, представленная на рис. 9, содержит:
выпрямитель В, индуктивно-емкостной фильтр Ф, автономный инвертор И с системой
управления СУИ, осуществляющей регулирование напряжения и частоты в статических
и динамических режимах в соответствии с принятыми законами частотного
регулирования.
Благодаря наличию звена постоянного тока выходная частота преобразователя
может регулироваться в широком диапазоне как вверх, так и вниз относительно
частоты сети.
Выпрямитель выполняется по трехфазной мостовой схеме реализованной на
диодах.
Силовая схема инвертора представляет собой трехфазную мостовую схему,
реализованную на транзисторах IGBT с
возвратными диодами.
Силовая схема преобразователя частоты представлена на рисунке 4.2.
Рисунок 4.2 - Силовая схема трехфазного преобразователя частоты.
Выбор диодов неуправляемого выпрямителя.
1) Для преобразователя частоты двигателя питателя.
Рассчитаем среднее и действующее значения тока через диод:
,
.
Коэффициент
формы тока:
.
Из
справочника [4] предварительно выбираем диод по соотношению:
, (4.1)
где
IFAVm -
максимально допустимый средний ток при заданной температуре корпуса;
kзо=0,8¸1,2 - коэффициент,
учитывающий отклонение условий работы диода от номинальных. Примем kзо=0,95.
kзрi=1,2¸1,6-коэффициент запаса по току в рабочем режиме.
Примем kзрi=1,6.
Тогда:
.
Выбираем
диод Д112-10 с охладителем О111-60, с IFAVm=7А при
естественном охлаждении и температуре окружающей среды Та=400С.
Для выбранного нами диода вычисляем максимально допустимый средний ток
при заданных условиях работы:
, (4.2)
где
UТ(ТО) -
пороговое напряжение, В;
rТ - дифференциальное сопротивление, Ом;
Тjm - максимально допустимая температура перехода, 0С;
Rthja - тепловое сопротивление
переход-среда, ч/Вт, вычисляется по формуле:
, (4.3)
где Rthjс - тепловое сопротивление переход-корпус;
Rthch-тепловое сопротивление
корпус-контактная поверхность охладителя;
Rthha - тепловое сопротивление
охладитель-охлаждающая среда.
Из справочника [4] значения тепловых
сопротивлений:
Rthjс=3 0С/Вт
по таблице 5.2;
Rthch=0,3 0С/Вт
по таблице 5.3;
Rthha=5,5 0С/Вт
по таблице 19.2.
Подставим значения в формулу (4.3):
.
Из справочника [4] определим:
UТ(ТО)=0,9 В по таблице 5.2;
rТ=17,5×10-3 Ом по таблице 5.2;
Тjm=+190 0С по таблице 5.2.
Подставляем в формулу (4.2):
.
Проверяем соотношение:
; (4.4)
,54<11,3.
Диод удовлетворяет соотношению (4.1).
Максимальное допустимое напряжение,
прикладываемое в схеме преобразователя не должно превышать допустимого значения
повторяющегося импульсного напряжения, определяющего класс вентиля по
напряжению:
, (4.5)
где Uобр.m - максимальное значение напряжения:
;
kзи=1,3¸1,5-коэффициент запаса по
напряжению, принимаем kзи=1,5;
kс=1,1 - коэффициент
учитывающий повышение напряжения сети.
Подставляем значения в (4.5):
.
Выбираем диод 9 класса по напряжению, т.е. URRM=900 В.
Проверим диоды по перегрузочной способности.
Определим средние потери мощности для тока, соответствующего перегрузке:
, (4.6)
где
,
где kзрim - коэффициент запаса по
току рабочей перегрузки, примем kзрim=1,2, тогда:
.
Подставим значения в формулу (4.6):
.
Определяем средние потери мощности для тока,
предшествующего перегрузке:
, (4.7)
.
Определяем переходное тепловое сопротивление
переход-среда:
, (4.8)
.
По графику зависимости Z(th)tja=f(t) (рисунок. 19.8 [4])
определяем допустимое время перегрузки tпер.max=9 c.
Считаем, что время перегрузки равно времени пуска
электродвигателя, которое было рассчитано в п. 3.4., т.е. tпер.=6,96 с. Так как время
пуска двигателя меньше допустимого времени перегрузки, то выбранные нами диоды
удовлетворяют требованиям по перегрузочной способности.
) Для преобразователя частоты двигателя наклонного
конвейера.
Рассчитаем
среднее и действующее значения тока через диод:
,
.
Коэффициент
формы тока:
.
Из
справочника [4] предварительно выбираем диод по соотношению (4.1):
.
Выбираем
диод Д112-10 с охладителем О111-60, с IFAVm=7А при естественном
охлаждении и температуре окружающей среды Та=400С.
Максимально
допустимый средний ток при заданных условиях работы рассчитан ранее по формуле
(4.2):
.76<11,3.
Диод удовлетворяет условию (4.4). Дальнейшая проверка аналогична для
диодов преобразователя частоты питателя.
Выбор элементов инвертора.
Транзисторы выбирают из условия:
, (4.9)
где IТР - требуемый ток транзистора;
UТР - требуемое напряжение
транзистора;
Uп.max - максимальное напряжение
на транзисторе.
,
где kп.с.=1,15-коэффициент, учитывающий повышение
напряжения в сети;
kсхе=2,34 - коэффициент схемы
по ЭДС (для трехфазной мостовой);
.
Максимальный ток:
, (4.10)
где kп=5,0 - кратность пускового тока для двигателя
питателя;
kзт=1,5 - коэффициент запаса
по току;
kf=1 - коэффициент
учитывающий частоту коммутации.
Максимальный ток преобразователя частоты питателя:
.
Максимальный ток через транзистор преобразователя
частоты наклонного конвейера при kп=6,0:
С учетом двукратного запаса по напряжению и в
соответствии с максимальным током выбираем инвертор фирмы Siemens, выполненный на IGBT транзисторах по
трехфазной мостовой схеме. Для преобразователя частоты питателя и наклонного
конвейера соответственно:
напряжение коллектор-эмитер Uce=1200 В,
ток коллекторной цепи Ic=35 А, при температуре
окружающей среды Tc=25 0C,
напряжение управляющий электрод-эмитер UGE=±20 В,
сопротивление управляющий электрод-эмитер RGE=20 кОм.
BSM50GD120DN2;
напряжение коллектор-эмитер Uce=1200 В,
ток коллекторной цепи Ic=72 А, при температуре
окружающей среды Tc=25 0C,
напряжение управляющий электрод-эмитер UGE=±20 В,
сопротивление управляющий электрод-эмитер RGE=20 кОм.
Расчет и выбор анодных реакторов
Требуемую индуктивность анодного реактора
рассчитаем по формуле:
, (4.11)
где Uc - линейное напряжение питающей сети;
Iуд - ударный прямой ток, из
таблицы 5.1 [4] Iуд=230 А;
kзи=1,6¸2 - коэффициент запаса по
напряжению, выбираем kзи=1,6;
k=3 - количество реакторов.
.
Из справочника выбираем анодный реактор
РТСТ-20,5-4,04УЗ, со следующими техническими данными:
номинальный ток фазовый Iном=20,5 А;
номинальная индуктивность Lар=4,04 мГн;
активное сопротивление обмотки Rар=885 мОм.
Расчет и выбор параметров фильтра цепи
постоянного тока
Полное активное сопротивление:
, (4.12)
где Rар - активная составляющая сопротивления реактора:
;
Rп - эквивалентное
коммутационное сопротивление:
,
где m=6 - пульсность схемы;
;
RДР - расчетное значение
активного сопротивления, обусловленное падением напряжение на диодах в открытом
состоянии:
,
где UFM=1,35 В - импульсное прямое напряжение (таблица
5.2 [4]).
Для преобразователя частоты двигателя конвейера
питателя:
.
Для преобразователя частоты наклонного конвейера:
.
Итак, по формуле (4.12):
.
.
Требуемую индуктивность на стороне постоянного
тока определим исходя из пульсаций переменной составляющей тока нагрузки:
, (4.13)
где
L0=Lар+Lф,
Lф - требуемая
индуктивность;
s - удельная относительная величина
действующего значения переменной составляющей тока.
Для данной схемы выпрямления s=0,015.
Значение if должно
находится в пределах 0,1¸0,2.
Принимаем if=0,1.
Из формулы (4.13) найдем L0:
, (4.14)
Для преобразователя частоты конвейера питателя
рассчитаем параметры фильтра:
;
.
Принимаем индуктивность дросселя Lф=0,18 Гн.
Постоянная времени:
.
С другой стороны постоянная времени:
.
Для устойчивой работы необходимо, чтобы
выполнялось неравенство:
.
Следовательно
.
Выбираем конденсаторы фильтра по справочнику
[5] типа К50-17, предназначенные для работы в цепи импульсного тока
К50-17-1500мкФ±10%.
Рассчитаем параметры фильтра для
преобразователя частоты наклонного конвейера:
;
.
Принимаем индуктивность дросселя Lф=0,091 Гн.
Следовательно
.
Выбираем конденсаторы фильтра по справочнику [5]
типа К50-17, предназначенные для работы в цепи импульсного тока К50-17-1500мкФ±10%.
Расчет и выбор тормозного реостата
Считаем, что максимальный тормозной момент МТ
равен критическому моменту на данной характеристике.
Рассчитаем номинальные потери двигателя по
формуле:
. (4.15)
.
Синхронная скорость при диапазоне регулирования D=3:
.
Частота питающего напряжения на данной
скорости:
, (4.16)
где рП=2 - число пар полюсов.
Итак, по формуле (4.16):
.
Считаем, что закон управления
.
Тогда
. (4.17)
Рассчитаем значения сопротивлений при торможении
двигателя с учетом выражения (4.17) и частотах f=16,7; 20; 30; 40; 50 Гц
исходя из формулы:
. (4.18)
Результаты расчетов по выражению (52) сведем
в таблицу 4.2.
Таблица 4.2 - Расчетные значения
сопротивлений при торможении двигателя конвейера питателя.
|
f, Гц
|
w, рад/с
|
U, В
|
R, Ом
|
|
50 40 30 20 16,7
|
157,1 125,7 94,2 62,8 52,5
|
220 176 132 88 73,5
|
0,064 0,079 0,102 0,144
0,165
|
Таблица 4.3 - Расчетные значения сопротивлений
при торможении двигателя наклонного конвейера.
|
f, Гцw, рад/сU,
ВR, Ом
|
|
|
|
|
50 40 30 20 16,7
|
157,1 125,7 94,2 62,8 52,5
|
220 176 132 88 73,5
|
0,172 0,213 0,279 0,404
0,475
|
5. ПРОЕКТИРОВАНИЕ СИСТЕМЫ
АВТОМАТИЧЕСКОГО УПРАВЛЕНИЯ
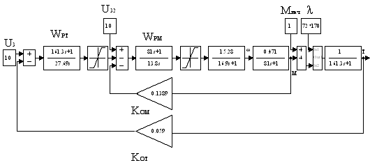
5.1 Разработка математической
модели автоматизированного электропривода
При создании математической модели трехфазного асинхронного
электродвигателя целесообразно принять следующие допущения, позволяющие в
доступной математической форме выразить соотношения основных параметров и
координат электродвигателя:
1) намагничивающие силы обмоток
двигателя распределены синусоидально вдоль окружности воздушного зазора;
2) потери в стали статора и ротора
отсутствуют;
3) обмотки статора и ротора строго
симметричны со сдвигом обмоток на 120 градусов;
4) насыщение магнитной цепи отсутствует.
Уравнения равновесия напряжений для обмоток трех фаз статора имеют вид:
(5.1)
соответственно для трех фаз ротора:
(5.2)
где
U1a, U1b,
U1c, U’2f,
U’2b, U’2c
- мгновенные значения фазных напряжений статора и ротора;
i1a,
i1b, i1c,
i’2f, i’2b,
i’2c -
мгновенные значения фазных токов статора и ротора;
Y1a,
Y1b, Y1c, Y2a, Y2b, Y2c - полные потокосцепления
фазных обмоток;
R1, R’2 - активные сопротивления обмоток статора
и ротора;
При
математическом описании трехфазных асинхронных электродвигателей удобно
оперировать не мгновенными значениями координат, а их результирующими векторами.
Если, например, мгновенные значения токов равны ia, ib, ic, то результирующий вектор тока определяется
уравнением:
, (5.3)
где
.
Аналогично
определяется результирующие векторы напряжения
,
и
потокосцепления
.
Используя
выражения результирующих векторов, уравнения (5.1)-(5.2) можно записать в виде
одного дифференциального уравнения в векторной форме. Для этого уравнение из
(5.1) умножается на 2/3а0, второе на 2/3а, третье на 2/3а2.
Суммируя полученные произведения, получим:
,
или
в векторной форме
. (5.4)
Аналогично
векторное уравнение напряжений ротора:
. (5.5)
В уравнениях (5.4) и (5.5) векторы записаны соответственно в системах
координат статора и ротора. Для совместного решения уравнений их необходимо
привести к одной системе координат.
При исследовании переходных процессов в асинхронном электродвигателе,
управляемом частотой и напряжением статора, удобно использовать систему
координат, вращающуюся со скоростью вращения магнитного поля w0’, приведенной к числу пар полюсов, равному единице
(приведенной к двухполюсному электродвигателю). Предполагается при этом
справедливым равенство:
w0’=w1=2p×f1,
где f1 - частота напряжения статора, Гц;
w1 - угловая
частота напряжения статора, рад/с.
Для рассматриваемой координатной системы можно записать:
(5.6)
где
S - скольжение электродвигателя:
,
(w0=w0’/p -
угловая скорость вращения магнитного поля или синхронная скорость
электродвигателя).
Потокосцепления
связаны с током через индуктивности
(5.7)
Для
определения электромагнитного момента двигателя используется векторное
произведение Y1´i1, тогда
, (5.8)
или
векторное произведение Y2´i’2, тогда
. (5.9)
Учитывая
(5.7) можно записать (5.8) и (5.9) в виде:
, (5.10)
(5.11)
Вторые
равенства в уравнениях (5.10), (5.11) справедливы потому, что векторное
произведение двух одинаково направленных векторов равно нулю.
Для полного описания переходных процессов в асинхронном электродвигателе
к уравнениям напряжений добавим уравнение записанное для скалярных значений
моментов М и Мс.
, (5.12)
Полученная
система уравнений электродвигателя является нелинейной, ее решение для
различных динамических режимов возможно с использованием вычислительной
техники. Вместе с тем при синтезе систем управления асинхронным
электродвигателем целесообразно располагать простыми и наглядными динамическими
моделями электродвигателя в виде передаточных функций или структурных схем.
Такая возможность появляется, если рассматривать переходные процессы в
отклонениях относительно начальных координат электродвигателя. Представим
результирующие векторы в виде проекций на комплексной плоскости и запишем их
через вещественные и мнимые части в следующем виде:
(5.13)
Совместив
вектор напряжения статора с действительной осью координатной системы, т.е.
положив U1b=0. На
основании (5.6) получим:
, (5.14)
, (5.15)
, (5.16)
. (5.17)
Выразим
также электромагнитный момент по уравнения (5.8) через составляющие векторов
тока и потокосцепления:
и
применив правило векторного произведения векторов, получим абсолютное значение
момента
,
;
.
Воспользовавшись
выражением (5.9), можно аналогично получить:
,
;
.
Составляющие
тока ротора могут быть выражены через составляющие потокосцепления в следующем
виде:
, (5.18)
где
k1 -
коэффициент электромагнитной связи статора,
, (5.20)
, (5.21)
где
L1, L’2
- полные эквивалентные индуктивности фаз статора и ротора;
L1s, L2s -
индуктивности от полей рассеяния;
Lm -
индуктивность главного потока;
Lm=3/2*L12,
где
L12 -
максимальная взаимная индуктивность между любой обмоткой статора и обмоткой
ротора, которая имеет место при соединении их осей.
С
учетом (5.7) и (5.19) можно выражения моментов записать в форме, удобной для
вывода передаточных функций двигателя:
Или
.
В случае одновременного изменения частоты и напряжения статора, при
котором потокосцепление статора остается постоянным, из уравнений (5.13) и
(5.14) можно получить
; Y1a=0.
(5.21)
Для
двигателя с короткозамкнутым ротом в уравнениях (5.15) и (5.16) U’2a=U’2b=0. Выразив из уравнения (5.18) Y2a и Y2b и подставив
их в уравнения (67), (68), получим:
, (5.22)
, (5.23)
. (5.24)
Рассматривая
переменные величины в приращениях относительно начальных значений i’2a=I’2a+Di’2a, i’2b=I’2b+Di’2b, w1=W1+Dw1, w=W+Dw, S=S+DS, M=Mнач+DM, получим из (5.21)-(5.24) уравнения для астатического
режима, связывающие начальные значения координат,
, (5.25)
, (5.26)
, (5.27)
, (5.28)
и
уравнения для динамического режима, связывающие приращения координат:
, (5.29)
, (5.30)
, (5.31)
где
Тэл=L’’2/R’2 -
электромагнитная постоянная времени электродвигателя;
Sk=R’2/(L’’2*W1) -
критическое скольжение.
На
основании (5.25)-(5.31) можно записать передаточную функцию:
. (5.32)
Выражение
в первом слагаемом числителя (5.32) представляет собой
значение фиктивного пускового момента Мпф, определяемое в результате
линеаризации рабочей части механической характиристики двигателя для принятых
значений напряжения статора U1a и угловой
частоты статора W1:
, (5.33)
где
-критический момент двигателя.
Момент
Мнач во втором слагаемом числителя (84) можно записать с учетом
принятых допущений в виде:
. (5.34)
С
учетом (5.33) и (5.34) выражение (5.32) примет следующий вид:
. (5.35)
Для
рабочей части механической характеристики можно принять (S/Sk)2<<1 и тогда передаточную функцию (5.37) можно
записать в упрощенном виде:
.
Представив
зависимость скольжения электродвигателя от угловой частоты напряжения статора в
приращениях, и выполнив линеаризацию при условии, что в рабочей области S<<1,
получим:
. (5.36)
Уравнение
равновесия моментов (5.12) может быть записано в приращениях в виде:
. (5.37)
На
основании полученных выражений может быть составлена структурная схема
асинхронного двигателя при управлении угловой частотой напряжения статора и при
условии постоянства потокосцепления статора. Однако это удобнее сделать, если
представить базовые значения координат двигателя в о.е., приняв за базовые
значения координат их значения в номинальном режиме: Мпфн, W1н., U1н, W0н=W1н/pп, где W0н - асинхронная угловая скорость двигателя. Тогда (Dw/Wон)=D`w, (Dw1/W1н)=D`w1, (DМ/Мпфн)=D`М, (DМс/Мпфн)=D`Мс, (U1a/U1aн)=DU1a. Передаточная функция (5.35) с учетом (5.36)
запишется:
, (5.38)
где
g=U1a/U1aн -
относительное напряжение статора;
n=W1/W1н -
относительная частота напряжения статора.
Или
в упрощенном виде:
. (5.39)
Соответственно
на основании уравнения (89) имеем
, (5.40)
где
Тм=J*Woн/Мпфн
- механическая постоянная времени.
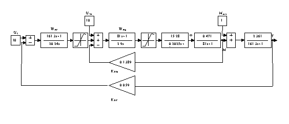
Упрощенная структурная схема асинхронного двигателя при управлении
угловой частотой напряжения статора, построенная на основании выражений (5.39),
(5.40), показана на рисунке 5.1.
Рисунок 5.1- Структурная схема асинхронного двигателя
Момент на валу двигателя, приводящего
сушильный барабан во вращение, меняется по закону, изображенному на рисунке
5.2.
Рисунок 5.2 - Зависимость момента на валу двигателя сушильного барабана
от времени
T - время достижения
моментом установившегося значения.
Время Т обусловлено скоростью заполнения
сушильного барабана каменными материалами.
Закон изменения момента можно описать следующей зависимостью:
, (5.41)
где
t=Т/3 - постоянная времени данного динамического звена;
k=М/w - коэффициент, определяющий зависимость момента от скорости.
Температура каменных материалов при прохождении через сушильный барабан
меняется по следующему закону, изображенному на рисунке 5.3.
Рисунок 5.3 - Закон изменения температуры каменных материалов
Интервал 1 обусловлен тем, что происходит нагрев каменного материала от
температуры окружающей среды до температура 1000С.
На интервале 2 происходит испарение влаги, находящейся в материале.
На интервале 3 происходит нагрев каменных материалов от температуры 100°С до заданной (в подавляющем
большинстве случаев до температуры 170°С).
Таким образом, мы можем получить информацию о температуре материала
спустя 484 секунды с момента его поступления в сушильный барабан. Такой процесс
можно описать звеном с передаточной функцией:
.
5.2 Расчет параметров объекта управления
Рассчитаем величину времени достижения моментом установившегося значения
исходя из условия заполнения барабана материалами.
Определим площадь поперечного сечения барабана:
,
где
d b=1,7 м - диаметр барабана.
Рисунок 5.4 - Сушильный барабан
-корпус сушильного барабана; 2-каменные материалы.
Известно, что сушильный барабан при максимальной производительности
асфальтобетонной установки заполняется каменными материалами на 1/3. Тогда площадь
поперечного сечения просушиваемых материалов в барабане
.
С
учетом производительности установки максимальная скорость прохождения
материалов через барабан:
.
Время
похождения материала через барабан:
,
где
lb=6 м - длина сушильного барабана.
5.3
Определение структуры и параметров управляющего устройства
В
рассматриваемой нами системе стабилизации температуры каменных материалов
объект управления инерционен, поэтому на его фоне преобразователь и
электродвигатель можно считать безынерционными. Однако должно выполнятся
условие ограничения ускорения на допустимом уровне. Таким образом, заменяем
преобразователь, и двигатель фиктивным апериодическим звеном первого порядка с
постоянной времени, равной времени разгона электродвигателя от нулевой до
номинальной скорости, то есть Тф=6,9 с. Структурная расчетная схема
системы автоматической стабилизации температуры каменных материалов
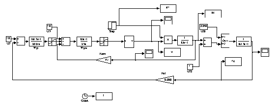
представлена на рис. 5.5.
Рисунок 5.5 - Структурная схема системы стабилизации температуры
Как видно из рисунка система построена по принципу подчиненного
регулирования. В системе предусмотрены два контура регулирования: момента и
температуры со своими регуляторами соответственно.
Система управления содержит нелинейный блок деления. Единых методов
расчета таких систем нет и мы линеаризуем данную систему заменяя блок деления
на блок разности и переходя от величины к их приращениям.
,
где
Z0=X0/Y0.
.
Рисунок 5.6 - Линеаризация блока деления
Обозначим l1=Dx/y0=const и b2=x0/y02
которое находится из начальных условий. Линеаризованная структурная схема
представлена на рисунке 5.7.
Рисунок 5.7 - Линеализированная система управления
Перенесем отрицательный знак момента влево. Получим структурную конечную
схему.
Рисунок 5.8 - Структурная схема системы управления стабилизацией
температуры
Синтезируем регулятор в контуре момента. На рисунке 5.9 показана
структурная схема контура регулирования момента.
Рисунок 5.9 - Контур регулирования момента
Регулятор момента используем ПИ. Настройку регулятора будем осуществлять
на оптимум по модулю (технический оптимум).
Запишем операторное уравнение контура:
.
Передаточная
функция:
.
Условия
настройки системы на модульный оптимум:
, (5.42)
тогда:
.
Окончательно
имеем:
.
Передаточная
функция ПИ-регулятора момента примет вид:
.
Синтезируем
регулятор в контуре регулирования температуры. Применим ПИ-регулятор,
настроенный на модульный оптимум. Структурная схема контура регулирования
температуры представлена на рисунке 5.10.
Рисунок
5.10 - Контур регулирования температуры
Запишем
передаточное уравнение контура:
.
C учетом
передаточной функции контура регулирования момента передаточную функцию контура
регулирования температуры можно записать в виде:
.
В
соответствии с условием настройки на модульный оптимум:
.
Таким
образом, постоянная времени:
.
Передаточная
функция примет вид:
.
В
соответствии со структурной схемой на рисунке 5.8. Рассчитаем значения
коэффициентов передачи системы. Электродвигатель привода сушильного барабана
имеет мощность Рном=11 кВт и номинальную угловую скорость wном=152,8
рад/с. Номинальный момент
Мном=Рном/wном=11000/152,8=72
Н×м.
;
;
;
.
Коэффициенты
обратных связей по моменту и температуре соответственно:
;
.
Постоянные
времени:
;
;
;
;
с.
6. АНАЛИЗ ДИНАМИЧЕСКИХ И
СТАТИЧЕСКИХ ХАРАКТЕРИСТИК ЭЛЕКТРОПРИВОДА
.1 Разработка программного
обеспечения для компьютерного моделирования автоматизированного электропривода
Имитационную модель электропривода
разрабатываем в соответствии с математическим описанием асинхронного
электродвигателя, а также объекта управления.
Рисунок 6.1 - Линеаризованная имитационная
модель электропривода
Рисунок 6.2 - Нелинеаризованная имитационная
модель электропривода
Рисунок 6.3 - Имитационная модель двигателя
Рисунок 6.4 - ПИ-регулятор
Имитационная модель ПИ-регулятора
представлена на рисунке 6.4. С помощью блока Saturation выполняется
моделирование ограничения выходного сигнала. Моделирование ПИ-регуляторов
выполняется с помощью блока Transfer Fnc с заданием соответствующих параметров. Для развязки
алгебраических контуров введем начальное значение момента Мнач.
Так как блок деления как таковой имеется в
пакете для моделирования Мatlab Simulink, но его применение вызывает значительные
погрешности результата из-за его нелинейности применим блок деления
представленный на рисунке 6.5.
Рисунок 6.5 - Модель блока деления
Рисунок 6.6 - Начальная имитационная модель электропривода
Проведем моделирование переходных процессов электропривода сушильного
барабана при увеличении статического момента, что соответствует поступлению
более сырого материала в сушильный барабан. Этот процесс соответствует
увеличению коэффициента b1 или
уменьшении коэффициента l в
два раза. Имитационные модели представлены на рис.26 и рис.27. Моделирование
изменения коэффициентов b1 и l осуществляется с помощью блока Step.
Рисунок 6.7 - Имитационная модель при увеличении коэффициента b1 в 2 раза
Рисунок 6.8 - Имитационная модель при уменьшении коэффициента l в 2 раза
Графики переходных процессов приведены на рисунках 6.9 -6.13.
Рисунок 6.9 - Переходные процессы для линеаризованной модели
Рисунок 6.10 - Переходные процессы для не линеаризованной модели
Рисунок 6.11 - Переходные процессы при увеличении коэффициента b1 в 2 раза
Рисунок 6.12 - Переходные процессы при уменьшении коэффициента l в 2 раза.
6.2 Расчет и определение показателей качества переходных
процессов
Из анализа графиков переходных процессов
можно сделать следующие выводы:
1.
Электродвигатель разгоняется в точности с требованиями по
ограничению ускорения, а именно за 6,9 секунд.
2.
Время регулирования системы tр=585
секунд (временем регулирования системы называется время, начиная с которого
выходная координата не выходит за пределы 5% отклонения от установившегося
значения).
3.
Как видно из графиков переходных процессов для нелинеаризованной
схемы необходимо ограничение по мощности установки.
4.
Перерегулирование системы при увеличении статического момента на
валу электродвигателя сушильного барабана, что соответствует поступлению более
сырого материала, определяем по формуле:
5. Колебательность
системы равняется нулю.
Построение статических характеристик электропривода
Расчет параметров асинхронного двигателя.
В табл. 2 /3/ приведены параметры схемы замещения асинхронного двигателя
конвейера питателя типа 4A80В4У3
в относительных единицах: Xm*=1,9; R1*=0,12; X1*=0,078; R2’*=0,069; X2’*=0,12.
;
,
где
X, R - индуктивное и активное сопротивления, Ом;
I1ном - номинальный фазный ток статора, А;
U1ном.ф. - номинальное фазное напряжение, В.
Рассчитаем
значения сопротивлений в абсолютных величинах и результаты занесем в таблице
6.1.
Таблица
6.1 - Параметры схемы замещения асинхронного двигателя.
|
Xm, Ом
|
X1, Ом
|
X2`, Ом
|
R1, Ом
|
R’2, Ом
|
|
117,1
|
4,8
|
7,4
|
7,4
|
4,3
|
Рассчитаем коэффициент мощности при пуске:
, (6.3)
где
g - отношение потерь мощности в обмотке статора при
номинальной нагрузке к полным номинальным потерям,
.
Принимаем
g=0,35. Тогда
.
Индуктивное
сопротивление короткого замыкания:
. (6.4)
Итак,
.
Ток
холостого хода:
. (6.5)
Подставим
значения в (96):
.
В
табл. 2 /7/ приведены параметры схемы замещения асинхронного двигателя
наклонного конвейера типа 4A100S4У3 в относительных единицах: Xm*=2,2; R1*=0,078; X1*=0,079; R2’*=0,053; X2’*=0,13.
Аналогично
рассчитаем значения сопротивлений в абсолютных величинах и результаты занесем в
таблице 6.2.
Таблица
6.2 - Параметры схемы замещения асинхронного двигателя.
|
Xm, ОмX1, ОмX2`, ОмR1, ОмR’2, Ом
|
|
|
|
|
|
72,2
|
2,5
|
4,27
|
2,56
|
1,47
|
Рассчитаем коэффициент мощности при пуске по формуле (6.1):
.
Индуктивное
сопротивление короткого замыкания по формуле (6.2):
.
Ток
холостого хода:
.
Естественная
механическая характеристика двигателя выражается уточненной формулой Клосса:
, (6.4)
где
МК - критический момент, который определяется по формуле:
. (6.5)
Для
короткозамкнутых асинхронных двигателей, параметры которых изменяются при
пуске, формулой (6.5) можно пользоваться только для скольжений S<SK. В области скольжений 1³S>SK удовлетворительные результаты дает формула Чекунова:
, (6.6)
. (6.7)
Построим
естественную механическую характеристику двигателя конвейера питателя по
формулам (6.4) и (6.6). Для этого сначала рассчитаем величину критического
момента и коэффициент КS.
;
;
.
Результаты расчета занесем в таблицу 6.3.
Таблица 6.3
|
SS,о.е.
|
0,05
|
0,10
|
0,20
|
0,30
|
0,35
|
0,40
|
0,50
|
0,60
|
0,70
|
0,80
|
0,90
|
11,00
|
|
МM, НH×м
|
88,46
|
14,13
|
19,90
|
21,71
|
21,84
|
22,08
|
21,86
|
21,33
|
20,79
|
20,35
|
20,00
|
19,91
|
Естественная механическая характеристика представлена на 6.13.
Рисунок 6.13 - Естественная механическая характеристика асинхронного
двигателя конвейера питателя типа 4А80В4У3
Построим естественную механическую характеристику двигателя наклонного
конвейера по формулам (6.4) и (6.6). Для этого сначала рассчитаем величину
критического момента и коэффициент КS.
;
;
.
Результаты расчета занесем в табл. 8.
Таблица 8
|
SS,о.е.
|
0,05
|
0,10
|
0,20
|
0,30
|
0,40
|
0,50
|
0,60
|
0,70
|
0,80
|
0,90
|
11,00
|
|
МM, НH×м Н×м
|
22,06
|
37,03
|
51,66
|
55,1
|
53,9
|
51,04
|
47,71
|
44,43
|
41,37
|
40,91
|
40,2
|
Естественная механическая характеристика представлена на рис. 33.
Рис. 33. Естественная механическая характеристика асинхронного двигателя
наклонного конвейера типа 4А100S4У3
Расчет и построение статических характеристик электродвигателя при
частотном управлении.
При выполнении закона Ф1=const механическая характеристика асинхронного двигателя
выражается формулой:
, (101)
где
МК - критический момент, зависящий от закона частотного управления;
Sak -
критическое значение параметра абсолютного скольжения, зависящее от закона
частотного управления;
a, n - соответственно относительная частота и относительная скорость.
;
,
где
w0ном -
синхронная угловая скорость двигателя при номинальной частоте fном.
При
частотном управлении по закону Ф1=const имеем
; (102)
; (103)
;
; (104)
; (105)
, (106)
где
X1ном, X’2ном,
Xmном -
индуктивные сопротивления схемы замещения АД при номинальной частоте,
I1ном - номинальный ток фазы статора.
Двигатель
конвейера питателя.
По
формуле (106) с учетом табл. 5:
.
.
Тогда
по формуле (105):
.
Критическое
абсолютное скольжение:
.
Критический
момент по (102):
.
Уравнение
механической характеристики примет вид:
.
.
Построим
механические характеристики для частот 50; 40; 30; 20; 16,7 Гц. Результаты
расчетов сведем в таблицы.
Таблица
9 - Статическая характеристика при a=1 (f=50
Гц)
|
S,о.е.
|
0,05
|
0,1
|
0,2
|
0,3
|
0,4
|
0,5
|
0,6
|
0,7
|
0,8
|
0,9
|
1,0
|
|
М, Н×м
|
7,49
|
14,48
|
23,35
|
27,05
|
27,03
|
26,08
|
24,26
|
22,37
|
20,58
|
18,97
|
17,53
|
Таблица 10 - Статическая характеристика при a=0,8 (f=40 Гц)
|
S,о.е.
|
0,05
|
0,1
|
0,2
|
0,3
|
0,4
|
0,5
|
0,6
|
0,7
|
0,8
|
|
М, Н×м
|
7,51
|
14,19
|
23,36
|
27,10
|
27,30
|
26,12
|
24,25
|
22,35
|
20,60
|
Таблица 11 - Статическая характеристика при a=0,6 (f=30 Гц)
|
S,о.е.
|
0,05
|
0,1
|
0,2
|
0,3
|
0,4
|
0,5
|
0,6
|
|
М, Н×м
|
7,50
|
14,18
|
23,25
|
27,05
|
27,30
|
26,08
|
24,26
|
Таблица 12 - Статическая характеристика при a=0,4 (f=20 Гц)
|
S,о.е.
|
0,05
|
0,1
|
0,2
|
0,3
|
0,4
|
|
М, Н×м
|
7,50
|
14,19
|
23,36
|
27,06
|
27,30
|
Статические характеристики при частотном управлении представлены на рис.
34.
Рис. 34 - Статические характеристики при регулировании частоты по закону
Ф1=const для двигателя конвейера питателя.
По формуле (106) с учетом табл. 7:
.
.
Тогда
по формуле (105):
.
Критическое
абсолютное скольжение:
.
Критический
момент по (102):
.
Уравнение
механической характеристики примет вид:
.
.
Построим
механические характеристики для частот 50; 40; 30; 20; 16,7 Гц. Результаты
расчетов сведем в таблицы.
Таблица
13 - Статическая характеристика при a=1 (f=50
Гц)
|
S,о.е.
|
0,05
|
0,1
|
0,2
|
0,3
|
0,4
|
0,5
|
0,6
|
0,7
|
0,8
|
0,9
|
1,0
|
|
М, Н×м
|
20,40
|
42,3
|
53,16
|
54,44
|
50,26
|
45,03
|
40,13
|
35,90
|
32,33
|
29,33
|
26,79
|
Статические характеристики при частотном управлении представлены на рис.
35.
Рис. 34 - Статические характеристики при регулировании частоты по закону
Ф1=const для двигателя наклонного конвейера.
7. КОНЧАТЕЛЬНАЯ ПРОВЕРКА ДВИГАТЕЛЯ ПО НАГРЕВУ С УЧЕТОМ ТОЧНОЙ
НАГРУЗОЧНОЙ ДИАГРАММЫ ЭЛЕКТРОПРИВОДА
По условиям технологического процесса выбранный двигатель 4А80В4У3
работает в продолжительном режиме с незначительным изменением нагрузки, которая
не превышет номинальных параметров. Следовательно, нет необходимости в проверке
его по нагреву и перегрузочной способности. Температура двигателя при работе в
этом режиме не достигает предельно допустимой.
Пуски и торможения двигателя происходят плавно без значительных
перегрузок и в течение относительно продолжительного отрезка времени. Эти
процессы практически не влияют на установившуюся температуру.
8. ВЫБОР И ПРОЕКТИРОВАНИЕ СИСТЕМЫ
АВТОМАТИЗАЦИИ ПРОИЗВОДСТВЕННОЙ УСТАНОВКИ
8.1 Формализация условий работы
установки
В настоящее время, в подавляющем большинстве случаев, системы
автоматизации технологического процесса по приготовлению асфальтобетонных
смесей на асфальтосмесительных установках отечественного производства
реализованы на релейно-контактных элементах. Это обусловлено тем, что такие
системы не требовательны к квалификации оператора и обслуживающего персонала,
неприхотливы в эксплуатации.
Однако при наличии указанных положительных сторон, данная система имеет
ряд существенных недостатков: недостаточная надежность работы, сравнительно
высокое потребление энергии, плохие массогабаритные показатели.
Хотя система автоматизации асфальтосмесительной установки с
использованием релейно-контактных элементов и рассматривается как базовая, в
перспективе, как вариант, имеется возможность применения программируемого
контроллера. Это позволит повысить качество асфальтобетонных смесей, так как
исключается вмешательство оператора в ход технологического процесса, снизить
потребление электроэнергии по отношению к системе, выполненной на
релейно-контактных элементах, а также уменьшить габариты системы автоматизации
установки.
Электрооборудование может работать в двух
режимах: "Наладка" и "Работа". В цепях управления
двигателями приводов элеватора, сушильного барабана, шнека пыли, насоса
топлива, наклонного конвейера, конвейера агрегата питания используется
переключатель SA1. Режим "Работа" предусматривает
технологическую взаимосвязь между включением вышеперечисленных агрегатов.
Включение вибраторов бункеров агрегата
питания осуществляется переключателями SA8, SA7, SA9, SA10, нижний вибратор - кнопкой SB27.
Вибраторы включаются периодически на 5 секунд с паузой 100 секунд с реле
времени КТ2.
В рабочем режиме привод сушильного барабана
включится, если включены грохот и элеватор. Шнек пыли включается тоже при
включенных вышеупомянутых приводах. Над кнопками включения находятся лампочки,
загорающиеся при включении.
Искровой трансформатор, электроды розжига,
клапан запальника и прибор контроля пламени включается кнопкой SA17. Время работы запальника и розжига горелки зависит от
настройки реле КТ1.
Фотоэлектрический прибор контроля пламени
предназначен для отключения системы подачи топлива и сигнализации при
исчезновении пламени топки. Если факел горелки погаснет или не образуется, если
освещенность фоторезисторов прибора контроля пламени не будет устойчивой, то
лампа HL8 по погаснет, двигатель насоса топлива
отключится и кран топлива закроется.
Управление работой секторных затворов
каменных материалов питающего устройства весового автоматического дозатора
смесительного агрегата осуществляется:
1)
затвора песка до 5 мм - переключателем SA11;
2)
затвора песка от 5 мм до 10 мм - переключателем SA12;
3)
затвора щебня 10¸20 мм -
переключателем SA13;
4)
затвора щебня 20¸40 мм -
переключателем SA14.
Управление работой дозатора битума
смесительного агрегата осуществляется переключателем SA16.
Переключатель количества замесов РС2 с ручным
сбросом показаний на нуль предназначен для автоматического суммирования
электрических импульсов.
Счетчик включается в работу одновременно с
включением насоса слива битума смесительного агрегата.
Реле времени КТ4 предназначено для
регулирования во времени последовательности и продолжительности операций в
технологическом цикле по приготовлению и выгрузке готовой смеси. Реле
включается, когда будет отдозирован битум.
Сигнализаторы уровня предназначены для
контроля верхнего уровня заполнения бункеров минеральными материалами. При
затормаживании сыпучим материалом лопаток указателя производится нажим на
кнопку микро выключателя. После освобождения лопатки рычаг возвращается в
первоначальное положение. Срабатывая, микро выключатель выключает сигнальные
лампы.
Дозирование материалов может осуществляться в
автоматическом и ручном (дистанционном) режимах. Основной режим -
автоматический.
Для дозирования задающие стрелки с датчиками
В1-В6, В9-В11 оператор устанавливает по шкале циферблатных указателей согласно
значениям доз, заданных в рецепте.
Цепи дозирования включаются кнопкой SA36. Дозирование начинается при следующих условиях:
1)
закрыты затворы автоматического весового дозатора каменных
материалов;
2)
закрыт затвор автоматического весового дозатора минерального
порошка;
3)
переключатель РС1 (при выгрузке в автотранспорт) установлен на
заданное количество замесов.
Автоматическое дозирование происходит в
следующей последовательности:
1)
дозируется песок, если переключатель SA11
установлен в положение "Доз.". В этом случае открывается затвор
песка, срабатывает конечный выключатель SQ12 и
включается сигнальная лампа HL27. Как только флажок
указательной стрелки войдет в паз датчика В1, задающей стрелки циферблатного
указателя, затвор закроется, лампа HL27
погаснет, замкнутся контакты конечного выключателя SQ12, давая
возможность дозирования следующей фракции;
2)
другие фракции дозируются аналогично;
3)
дозируется минеральный порошок (дозирование минерального порошка
начинается параллельно с дозированием каменных материалов) если переключатель SA15 находится в положении "Доз". При этом
включается привод лопастного питателя минерального порошка и загорается лампа HL32. Как только флажок указательной стрелки циферблатного
указателя минерального порошка войдет в паз датчика BS, вал
лопастного питателя начнет вращаться в обратную сторону, что обеспечит
дозирование с меньшей интенсивностью и, когда отдозируются остальные 20% дозы,
привод питателя отключится, лампа HL32
погаснет Чтобы провести аэрацию порошка, необходимо нажать кнопку SB46, которая выключает электроцепь электромагнита вентиля
подачи воздуха из пневмосистемы;
4)
дозируется битум (дозирование битума начинается одновременно с
дозированием минеральных материалов) SA16 находится
в положении "Доз" и не включен насос слива битума.
Как только флажок указательной стрелки войдет
в паз датчика В10 задающей стрелки циферблатного указателя битума, магистраль
закроется пробкой трехходового крана, а откроется магистраль слива. Лампа HL35 при этом погаснет, сигнализируя об окончании процесса
дозирования битума.
Если в автоматическом режиме дозирование
битума не прекратится, то при входе флажка в паз датчика В11 (аварийного
перелива) задающей стрелки указателя должен отключиться электромагнит YA11, управляющий открытием крана на дозирование, и двигатель
насоса готового битума нагревателя. Если это произойдет, то битум, поднимая
поплавок кверху, нажмет конечный выключатель SQ36,
который отключит насос готового битума нагревателя битума. При сливе битума и
совмещении стрелки шкалы с нулевым датчиком отключается насос слива битума.
Для откачки битума из системы по окончании
работы предусмотрен реверс насоса слива битума. Для осуществления откачки нужно
нажать кнопку SB16.
Исключается дозирование следующих фракций,
если не произошло дозирование предыдущей.
Приготовление смеси в автоматическом режиме
начнется:
1)
если будет закончено дозирование фракций минеральных материалов и
битума, предусмотренных рецептом;
2)
если будет закрыт затвор смесителя и включен привод смесителя.
По команде КТ4 на соответствующем циклограмме
делении включится привод шнека выгрузки минерального порошка в смеситель и
откроется затвор весового бункера.
По команде КТ4 включится насос слива битума и
лампа HL9, сигнализирующая о сливе битума в
смеситель, а также счетчик РС2. Привод смесителя выключается кнопкой SB32. При этом загорается лампа HL22.
Как только закроются затворы весовых бункеров
и кран слива битума смесительного агрегата, начнется дозирование фракций для следующего
замеса.
Выгрузка смеси в скип в автоматическом режиме
произойдет если:
1)
скип находится под загрузочным лотком;
2)
закончена операция перемешивания. При этом контакт реле КТ3 включает
цепь открытия затвора лотка и смесителя. Как только начнется открываться затвор
смесителя, включается лампа HL38, сигнализирующая о
начале разгрузки смесителя.
Как только выгрузка смеси из смесителя в скип
закончится, начнет закрываться затвор смесителя и разгрузочного лотка.
При закрытии затвора смесителя лампа погаснет,
сигнализируя этим об окончании разгрузки смесителя.
После закрытия затвора смесителя элементы
системы автоматики, участвующие в процессе приготовления смеси, будут готовы
для выполнения последующего цикла приготовления смеси. При этом произойдет подготовка
цепи управления подъемом скипа.
Схема включения контактов КТ4 выполнена так,
что по команде реле размыканием его контактов КТ4-2, Кт4-5, КТ4-7, КТ4-9
осуществляется проверка действительного открытия затворов весовых бункеров
минеральных материалов, полного слива битума в смеситель, открытия затвора
смесителя. Если в ходе приготовления и выгрузки смеси не будет на
соответствующем этапе открыт затвор весового бункера или не произойдет слив
битума, или разгрузка смесителя то процесс приготовления и выгрузки смеси по
команде КТ4 будет прекращен.
На 92 делении шкалы по команде КТ4 с помощью
контакта КТ4-11 произойдет подготовка цепи включения звукового сигнала HA1. В случае выгрузки последнего замеса из смесителя
включается звонок.
Управление работой скипа осуществляется
переключателем SA22, командным аппаратом,
конечными выключателями подвижных упоров и аварийного блока (обрыв контакта), а
также реле времени КТ6, контролирующим время разгрузки скипа.
Время разгрузки (срабатывания) реле КТ6 равно
6 секундам.
Для разгрузки скипа в промежуточный бункер
переключатель SA22 устанавливают в положение
"Промеж".
Когда скип остановится над проемом бункера
промежуточной разгрузки, произойдет разгрузка смеси. Окончание разгрузки
оператор определяет визуально. После окончания разгрузки кнопкой SB52 производят включение двигателя лебедки и опускают скип
под смеситель.
С подъемом скипа на упоры бункера готовой
смеси начнет закрываться затвор скипа. По истечении 6 секунд скип начнет
опускаться под смеситель. Для закрытия крышки бункера готовой смеси ее
освобождают от фиксатора включением электромагнита YA18
соответствующим тумблером.
Руководствуясь вышеприведенным описанием
работы установки по производству асфальтобетона составим алгоритм ее
функционирования.
8.2 Разработка алгоритма и
программы управления
Алгоритм функционирования
асфальтосмесительной установки представлен на рисунке 8.1.
Рисунок 8.1 - Алгоритм функционирования
асфальтосмесительной установки

Составим программу в символах языка РКС
(релейно-контактных символах, Ladder Diagramm) для программируемого контроллера TOYOPUC-PC3 фирмы TOYODA для цикла дозирования минеральных материалов и
битума. При разработке программы воспользуемся алгоритмом работы
асфальтосмесительной установки и исходной релейно-контактной схемой управления
технологическим процессом.
Выбираем следующие устройства
программируемого контроллера:
1)
для входных сигналов: IN, ~220 B, блок 0;
2)
для выходных сигналов:
OUT-19, 24 В,
блок 2;-12, 220 В, блок 0.
В выбранном программируемом контроллере
используется следующая система обозначений:
X - вход;
Y - выход;
M - накопитель;
K - накопитель с памятью;
T - таймер.
Далее следуют три цифры, первая из которых
обозначает номер блока (0,1,…,E,F), вторая
- номер модуля (0,1,…,E,F), а
третья - номер контакта (0,1,…,E,F).
Разделим сигналы на входные и выходные.
Результаты сведем в таблицу 8.1.
Таблица 8.1 - Входных и выходных сигналов
|
Входы
|
Выходы
|
|
Позиц. обознач.
|
Адрес
|
Позиц. обознач.
|
Адрес
|
|
SQ10 SQ11 SB35
SB36 K5 K6 K7 K8 SQ12 SQ13
|
X000 X001 X002
X003 X004 X005 X006 X007 X008 X009
|
YA2 YA3 YA4 YA5
YA6 YA8 YA7 YA9 YA10 YA11
|
Y000 Y001 Y002
Y003 Y004 Y005 Y006 Y007 Y008 Y009
|
|
SQ14 SQ15 SQ19
SQ16 SQ17 SQ18 SQ23 SQ22 SQ21 SA11 SA12 SA13 SA14 SA15 SA19 SA16 SA20 SA21
SA27 K10 K14 K15 K16 K17 SB38 SB39
|
X00A X00B X00C
X00D X00E X00F X010 X011 X012 X013 X014 X015 X016 X017 X018
|
KM26 KM28 KM29
KM30 HL25 HL27 HL28 HL29 HL30 HL35 HL37 HL32 PC2
|
Y00A Y00B Y00C
Y00D Y200 Y201 Y202 Y203 Y204 Y205 Y206 Y207 Y208
|
|
QF26 QF28 QF29
KT4-1 KT4-2 KT4-3 KT4-6 K4 KT4-4 KT4-8 PC1
|
X02E X02F X024
X025 X026 X027 X029 X02D X028 X02A X02B
|
|
|
Текст программы:
Составим программу в символах РКС, которая
представлена на рисунке 8.2.
Рисунок 8.2 - Программа в символах РКС
.3 Разработка функциональной, логической схемы
На основании алгоритма функционирования
асфальтосмесительной установки, изображенного на рисунке 8.1,составим схему
дозирования минеральных материалов битума.
Рисунок 8.3 - Схема управления дозированием
минеральных материалов и битума
8.4 Выбор аппаратов
Рисунок 8.4 - IN12~220 В
ВХОД БЛОК 0 МОДУЛЬ 0
Рисунок 8.4 - IN12~220 В
ВХОД БЛОК 0 МОДУЛЬ 1
Рисунок 8.5 - IN12~220 В
ВХОД БЛОК 0 МОДУЛЬ 2
Рисунок 8.6 - OUT12~220 В
ВЫХОД БЛОК 0 МОДУЛЬ 0
Рисунок 8.7 - OUT19 - 24 В
ВЫХОД БЛОК 2 МОДУЛЬ0
9. ПРОЕКТИРОВАНИЕ УЗЛА СИСТЕМЫ
АВТОМАТИ-ЗИРОВАННОГО ЭЛЕКТРОПРИВОДА (ПРИНЦИПИАЛЬНОЙ ЭЛЕКТРИЧЕСКОЙ СХЕМЫ ИЛИ
КОНСТРУКЦИИ УЗЛА)
Функциональная схема системы автоматического
управления представлена на рисунке 9.1.
Рисунок 9.1 - Функциональная схема системы
автоматического управления
Выбираем операционный усилитель типа К140УД7.
Рассчитаем параметры элементов.
.
Из справочника [31] выбираем конденсатор К10-47-25В-6,8мкФ±5%. Соединим три таких
конденсатора параллельно. Тогда
.
Из справочника [30] выбираем резисторы
МЛТ-0,125-3МОм±5%, МЛТ-0,125-976кОм±5%.
Значение сопротивления R2 рассчитаем из соотношения
.
Из справочника [30] выбираем резистор
МЛТ-0,125-681кОм±5%.
Выбираем конденсаторы К10-47-25В-6,8мкФ±5% - 3 шт.
Тогда по соотношению
.
Из справочника [30] выбираем резисторы
МЛТ-0,125-3МОм±5% - 3шт,
МЛТ-0,125-100кОм±5% - 1 шт,
МЛТ-0,125-1,8МОм±5% - 1шт,
Из соотношения
.
Из справочника [30] выбираем резисторы
МЛТ-0,125-1,3МОм±5%,
МЛТ-0,125-51кОм±5%.
Из справочника [29] выбираем стабилитроны типа
2С10Б.
Включение цепей управления осуществляем с помощью
кнопки SB2
черного цвета, а отключение - кнопкой SB1 красного цвета. Для сигнализации включения цепей
управления используем арматуру светосигнальную с линзой зеленого цвета - HL1.
Для сигнализации включения нагревателей топлива
используем лампы HL10,HL11 с линзами зеленого
цвета. Включение нагревателей осуществляется тумблерами SA23 и SA24. В соответствии с [17]
выбираем тумблеры ТВ1-2, 5А, 220 В.
Выбор режима работы установки осуществляется
переключателем SA1.
Выбираем переключатель из [17] типа ПКУ3-11С1001У3.
Для сигнализации работы грохота, элеватора,
сушильного барабана, шнека пыли, дымососа, дутьевого вентилятора, смесителя и
компрессора используются лампы с зелеными линзами HL2, HL23, HL4, HL5, HL6, HL7, HL12, HL13, HL22, HL23 соответственно. Для
включения вышеперечисленных устройств применяем кнопки черного цвета SB4, SB6, SB8, SB10, SB12, SB14, SB42, SB44, SB32, SB34 соответственно.
Отключение этих устройств выполняем с помощью кнопок красного цвета SB3, SB5, SB7, SB9, SB11, SB13, SB41, SB43, SB31, SB33 соответственно.
Включение и отключение цепей дозирования исходных
материалов осуществляем кнопками SB36, SB35 черного и красного цветов соответственно. Для
сигнализации включенного состояния цепей используем сигнальную лампу HL25 с линзой зеленого
цвета.
Для сигнализации дозирования исходных материалов
используются следующие сигнальные лампы с линзами зеленого цвета:
·
HL27 - дозирование песка;
·
HL28 - дозирование щебня 5-10 мм;
·
HL29 - дозирование щебня 10-20 мм;
·
HL30 - дозирование щебня 20-40 мм;
·
HL32 - дозирование минерального порошка;
·
HL35 - дозирование битума.
Включение цепей дозирования вышеперечисленных
материалов производится переключателями SA11, SA12, SA13, SA14, SA15, SA16 соответственно. Из справочника [17] выбираем
переключатели типа ПКУ3-11И0101. Включение насоса слива битума осуществляется
переключателем SA20. Из [17] выбираем
переключатель ПКУ3-11И0101.
Включение цепей разгрузки смесителя
производится переключателем SA21. Из [17] выбираем
переключатель типа ПКУ3-11И0101.
Контроль верхнего уровня каменных материалов
в бункерах весовых дозаторов осуществляется с помощью следующих сигнальных ламп
с линзами красного цвета:
·
HL39 - песок;
·
HL40 - щебень 5-10 мм;
·
HL41 - щебень 10-20 мм;
·
HL42 - щебень 20-40 мм;
·
HL45 - минеральный порошок;
Сигнализация о превышении уровня битума в
мерном бачке объемного дозатора осуществляется с помощью лампы HL43 с линзой красного цвета.
Переключатель SA2
предназначен для включения прибора контроля пламени ПКП-Ф. Из [17] выбираем
переключатель типа ПТ26-1В.
Лампа HL8 с
зеленой линзой служит для сигнализации наличия пламени.
Кнопка SB16-черная
предназначена для включения насоса топлива.
Лампа HL9 с
зеленой линзой сигнализирует о работе топливного насоса.
Кнопки SB17
(черная) SB15 (красная) предназначены для включения
запальника и для его отключения соответственно.
РС2 служит для установки оператором
требуемого количества замесов. Из [16] выбираем счетчик импульсов СИ205.
Из [16] выбираем реле ВЛ-59УХЛ4, 220В (РС1).
Переключатель SA40
предназначен для выгрузки минерального порошка. Из [17] выбираем переключатель
типа ПТ26-1В.
Кнопка SB38
(черная) предназначена для аэрации минерального порошка. Разгрузка весового
бункера осуществляется переключателем SA19. Из
[17] выбираем переключатель типа ПКУ3-11А0102.
Кнопка SB39
(черная) служит для включения откачки битума.
Лампа HL37 с
зеленой линзой сигнализирует о ходе откачки битума.
Амперметр РА2 используется для контроля за
нагрузкой смесителя. Из [16] выбираем амперметр 78030-М1.
Р1, Р2, Р3 - указатели положения заслонок
дистанционные ДУП-М воздуха, топлива, дымососа соответственно.
Включение управления заслонками
осуществляется с помощью переключателей:
SA3 - заслонкой воздуха; SA4 - заслонкой топливной магистрали;
SA6 - заслонкой дымососа.
Из [17] выбираем переключатели ПКУ3-11А0102.
RP - потенциометр, с помощью
которого задается требуемая температура каменных материалов на выходе
сушильного барабана. Из [16] выбираем устройство задающее потенциометрическое
34-11.
RA - указатель температуры
каменных материалов на выходе сушильного барабана. Из [16] выбираем
милливольтметр Ш4541, 0-3000С.
Включение питателей осуществляется кнопками Sb20, SB23, SB26, SB29 черного цвета. Лампы HL14, HL16, HL18, HL20 с зелеными линзами
сигнализируют о включении питателей. Отключение питателей осуществляется
кнопками SB19, SB22, SB25, SB28 красного цвета.
Включение нижних вибраторов осуществляется
кнопками SB21, SB24, SB27, SB30 черного цвета.
Включение верхних вибраторов осуществляется
переключателями SА7, SА8, SА9, SА10.
Из [17] выбираем переключатели ПЕ-011
исполнение 1П.
Выбираем арматуру сигнальных ламп АМЕ32322 с
линзами зеленого цвета и АМЕ32122 с линзами красного цвета.
Выбираем из [17] кнопки DR14-21 черного и красного цветов.
10. ПРОЕКТИРОВАНИЕ СХЕМЫ
ЭЛЕКТРОСНАБЖЕНИЯ И ЗАЩИТЫ УСТАНОВКИ
В системах электропитания следует применять
напряжение принятое для электроснабжения автоматизируемого объекта, которое
может быть использовано без дополнительного преобразования. Питание будем
осуществлять от трехфазной сети переменного тока 380/220 в с глухозаземленной
нейтралью.
Выбор схемы электропитания определяется
требуемой бесперебойностью электроснабжения, территориальным расположением
источников питания и электроприемников, величиной нагрузки, особенностями
технологического процесса, удобством эксплуатации.
Схема электропитания подразделяется на
следующие основные звенья:
1.
питающая сеть (питающие линии) - сеть от источников питания до щитов
и сборок системы электропитания;
2.
распредилительная сеть - сеть от щитов и сборок системы
электропитания до электроприемников; к распределительной сети относятся также
цепи всех назначений связывающие первичные приборы и датчики с вторичными
приборами и регулирующими устройствами.
В соответствии с требованиями резервирования
и взаимным расположением щитов системы электропитания и источников питания
схема питающей сети может быть следующей конфигурации (рисунок 10.1):
1.
радиальной с двухсторонним или односторонним питанием;
2.
смешанной;
3.
магистральной с односторонним или двухсторонним питанием от одного
источника или двух независимых.
Схема распределительной сети должна, как правило,
строиться по радиальному принципу: каждый электроприемник присоединяется к щиту
или сборке питания отдельной радиальной линией.
Питание приборов, аппаратов и средств
автоматизации параллельных технологических потоков, как правило, осуществляется
по отдельным питающим линиям от распределительных щитов (источников питания)
системы электроснабжения указанных технологических потоков.
Магистральные системы применяются для
электроснабжения группы щитов (сборок), допускающих перерыв питания.
Выбираем радиальную схему электроснабжения.
10.1 Выбор аппаратов, проводов и
кабелей
Аппаратура управления и защиты,
устанавливаемая в системе электропитания, должна обеспечивать: включение и
отключение электроприемников и участков сетей в нормальном режиме работы; надежное
отсоединение электроприемников и линий для резервации и ремонтных работ; защиту
от всех видов коротких замыканий и перегрузки, если она требуется.
В питающей и распределительной сетях
электроснабжения, как правило, применяются следующие сочетания аппаратов и
защиты:
а) в питающих линиях-автоматический
выключатель; выключатель-предохранители;
б) в цепях электродвигателей-автоматический
выключатель-магнитный пускатель; выключатель-предохранители-магнитный
пускатель;
Для защиты от перегрузки электродвигателей
используются тепловые расцепители или гидравлические замедлители срабатывания,
встроенные в автоматические выключатели, либо тепловые элементы магнитных
пускателей; при защите автоматическими выключателями тепловые элементы в
магнитных пускателях не предусматриваются, если расцепители автоматических
выключателей достаточно чувствительны к токам перегрузки.
Выбор аппаратов управления и защиты в
системах электроснабжения производится с учетом следующих основных требований:
а) напряжение и номинальный ток аппаратов
должны соответствовать напряжению и допустимому длительному току цепи.
Номинальные токи аппаратов защиты выбирают по возможности наименьшими по
расчетным токам отдельных электроприемников, при этом аппараты защиты не должны
отключать цепи при кратковременных перегрузках;
б) аппараты управления должны включать
пусковой ток электроприемника и отключать полный рабочий ток, а также допускать
отключение пускового тока;
в) аппараты защиты по своей отключающей
способности должны соответствовать токам короткого замыкания в начале
защищаемого участка; отключение защищаемой линии или электоприемника должно
осуществляться с наименьшим временем;
г) при коротких замыкания по возможности
должна быть обеспечена селективность работы защитных аппаратов с ниже и выше
стоящими защитными аппаратами; рекомендуется номинальные токи каждого
последующего по направлению тока аппарата защиты принимать на две ступени ниже,
чем предыдущего, если это не приводит к завышению сечения проводов;
д) аппараты защиты должны обеспечивать
надежное автоматическое отключение одно- и многофазных коротких замыканий в
сетях с изолированной нейтралью в наиболее удаленной точке защищаемой цепи;
е) в сетях с глухозаземленной нейтралью
проверка по пункту д) является обязательной.
Сечение проводников питающей и
распределительной сети системы электроснабжения должны выбираться по условию
нагревания электрическим током и механической прочности с последующей проверкой
по потере напряжения.
Сечения проводников на любом участке сети
должны удовлетворять всем трем условиям.
Выбор сечений проводников по условиям нагрева
электрическим током осуществляется по допустимым токовым нагрузкам на провода и
кабели с учетом условий прокладки.
При этом расчетный ток, по которому
выбираются сечения, должен приниматься как большая величина, определяемая двумя
условиями: нагревом проводников длительным расчетным током и соответствием
выбранному аппарату защиты.
По условиям механической прочности провода и
кабели системы электропитания должны иметь сечения не менее минимально
допустимых.
В питающей и распределительных сетях системы
электроснабжения сечения нулевых жил проводников и кабелей, независимо от того,
используются они в качестве нулевых защитных проводников или нет, должны
выбираться:
а) в однофазных двухпроводных сетях-равными
фазному;
б) в трехфазных четырехпроводных сетях-не
менее 50% сечения фазных жил медных, алюмомедных и алюминиевых проводов и
кабелей; однофазная нагрузка при этом должна быть равномерно распределена между
фазами. Схема электропитания асфальтосмесительной установки представлена на
рисунке 10.2.
Выбор вводного устройства.
На основании [32] суммарная номинальная
мощность:
.
Определим расчетную мощность
, (10.1)
где Кс - коэффициент спроса. Для данной
установки Кс=0,71.
.
Расчетный ток
, (10.2)
где cosсрj - среднее значение коэффициента мощности
электроприемников данной установки;
; (10.3)
hср - среднее значение КПД
электроприемников данной установки:
. (10.4)
На основании [14] по формулам (10.3) и (10.4) cosсрj=0,86 и hср=0,82.
.
Вводным устройством выбираем блок
предохранитель-выключатель типа БПВ, который предназначен для неавтоматической
коммутации силовых электрических цепей с номинальным напряжение 380В, а также
для защиты электрических цепей при токах перегрузки и токов короткого
замыкания. Выбор предохранителя производится по номинальному расчетному току.
. (10.5)
Для защиты линии, питающей группу электродвигателей,
определяем ток плавкой вставки:
, (10.6)
где Iн.max - номинальный ток
двигателя максимальной мощности; таким является двигатель сушильного агрегата
мощностью Pном=58 кВт с Iн.max=100 А;
Iп.max - пусковой ток двигателя
максимальной мощности, который в соответствии с таблицей 14 [15] равен Iп.max=700 А.
Тогда по формуле (10.6)
.
Выбираем ток плавкой вставки Iпл.вст.=400 А, что соответствует
условию защиты группы двигателей:
А >350 А.
Выбор сечения питающего кабеля производим по
условиям нагрева.
Выбираем кабель с медными жилами и
поливинилхлоридной изоляцией, бронированный ВРБ; прокладка-в земле.
. (10.7)
По условиям защитного аппарата осуществляется
исходя из выражения:
, (10.8)
где kз - кратность допустимых длительных токов;
Iз - ток защитного аппарата.
Для сети, защищаемой предохранителем kз=0,33.
.
.
Таким образом, расчетным током для выбора сечения
кабеля является Iр=274 А. Для данного значения тока и принятого типа кабеля по табл.
1.3.15. [18] выбираем сечение кабеля равное 150 мм2, для которого
длительная допустимая нагрузка равна 300 А.
С практической точки зрения целесообразно выбрать
два кабеля сечением 50 мм2 и длительной допустимой нагрузкой
.
А > 274 А.
Выбираем два кабеля ВРБ 3´50+1´25.
Выбор автоматических выключателей.
Двигатель конвейера питателя. Выбираем
автоматический выключатель типа АП50Б-3М исходя из формул:
, (10.9)
, (10.10)
где Uн.а. и Iн.а. - номинальные напряжение и ток автомата;
Uн.с. - номинальное напряжение
сети;
Iдлит. - длительный расчетный
ток линии.
Длительным расчетным током линии, в данном случае,
является номинальный ток двигателя 3,57 А.
~500 В > ~380 В, 50 А > 3,57 А.
Определяем номинальный ток комбинированного
расцепителя:
, (10.11)
где Iн.расц. - номинальный ток расцепителя.
Выбираем расцепитель с номинальным током Iн.расц.=4 А.
Определяем ток уставки (отсечки) электромагнитного
расцепителя:
. (10.12)
.
.
Принимаем
.
Двигатель наклонного конвейера.
Выбираем автоматический выключатель типа
АП50Б-3М.
Длительным расчетным током линии, в данном
случае, является номинальный ток двигателя 6,7 А.
Итак ~500 В > ~380 В, 50 А > 6,7 А.
Определяем номинальный ток комбинированного
расцепителя по формуле (10.11). Выбираем расцепитель с номинальным током Iн.расц.=10 А.
Определяем ток уставки (отсечки)
электромагнитного расцепителя по формуле (10.12):
.
.
Принимаем
. Выбор сечений проводников.
Выбор сечений проводников для двигателей конвейера
питателя и двигателя наклонного конвейера производим по условию нагрева:
. (10.13)
В качестве проводников от питающей сети до
автоматических выключателей QF10 и QF11 и от них до преобразователь частоты выбираем провода с
поливинилхлоридной изоляцией с алюминиевыми жилами, а от преобразователей
частоты до электродвигателей - кабелем с поливинилхлоридной изоляцией.
Определяем ток Iдлит. Из условия соответствия
тока расцепителя автоматического выключателя
, (10.14)
где kз - кратность допустимых длительных токов; Iз - ток защитного аппарата.
В соответствии с п. 5.3. [18] kз=0,66.
Для двигателя наклонного конвейера
.
Так как Iном>Iдлит., то выбор сечения проводим по номинальному току
двигателя. Исходя из соотношения
, (10.15)
где Iдл.пр. - длительный ток провода;
по таблице 1.3.5. [18] выбираем сечение проводника
от питающей сети до магнитного пускателя равное 2 мм2 с допустимым
током 21 А.
По соотношению
,
где Iдлит.каб. - длительный ток кабеля;
выбираем по таблицей 1.3.8. [18] кабель сечением
0,75 мм2 с допустимым током 16 А. Но исходя из условий механической
прочности выбираем кабель с сечением 1,0 мм2 КВВГ 4´1,0.
Для двигателя конвейера питателя.
Определяем ток Iдлит. Из условия соответствия
тока расцепителя автоматического выключателя
,
.
В соответствии с таблицей 1.3.5. и таблицей 1.3.8
[18] выбираем провод АПВ 2,0 и кабель КВВГ 4´1,0.
11. ОХРАНА ТРУДА
11.1 Меры безопасности при
эксплуатации конвейеров
Устройство и эксплуатация конвейеров
осуществляется в соответствии с ГОСТ 12.0.002.
Охрана труда - это система мероприятий,
обеспечивающих безопасность, сохранение здоровья и работоспособность человека в
процессе труда. Она включает в себя законодательные мероприятия, технику
безопасности и производственную санитарию.
Техника безопасности представляет собой
систему технических средств и приемов работы, обеспечивающих безопасность
труда.
Производственная санитария - это совокупность
практических мероприятий по устройству, оборудованию и содержанию предприятий,
гарантирующая сохранение здоровья как их работников, так и населения в
окружающей местности.
В местах прохождения конвейеров над
проходами, проездами и рабочими местами должны быть устроены ограждения, а
также борта. Прочность бортовых и подвесных ограждений должна быть подтверждена
расчетом. В местах прохода устанавливается предупредительная надпись
"Проход".
Пред пуском конвейера должен автоматически
подаваться звуковой предупредительный сигнал, слышимый по всей длине конвейера.
Стационарные конвейеры независимо от их длины
оснащаются устройством, позволяющим в аварийных случаях остановить конвейер с
любого места по его длине.
Барабаны натяжных устройств и приводных
механизмов конвейеров имеют сплошное или сеточное ограждение. Ограждение
закрывает ленту с боков и сверху на расстояние не менее 1,0 метра от образующей
барабана по длине конвейера. Зазор между контуром барабана и контуром
ограждения имеет 100 мм.
Для снятия материала, налипшего на барабаны и
ленты, предусматриваются специальные очищающие устройства. Очистка барабанов,
элеваторов и лент конвейеров вручную допускается только при полной их остановке
и обесточивании.
Уборка просыпавшегося материала из-под
ленточных конвейеров во время их работы механизирована. Уборка материала
вручную допускается только при остановленном конвейере.
На ленточных конвейерах предусмотрены
устройства, отключающие привод конвейера при обрыве ленты или канатов натяжных
устройств.
Конвейеры, имеющие угол наклона 100
и более оснащены тормозными устройствами, препятствующими передвижению
груженной ветви ленты в обратном направлении при остановке конвейера.
Зона перемещения подвижных конвейеров
(челночных и др.) ограждена кожухами или щитами высотой 1,2 м. Ограждение имеет
дверцу для прохода в зону для проведения ремонта при остановленном передвижном
конвейере. Предусмотрена блокировка, исключающая открывание дверцы при движущимся
конвейере и пуск его при открытой дверце. Колеса передвижных конвейеров укрыты
кожухами.
Вдоль конвейеров, расположенных выше пола 1,5
м и более, устроены проходные мостики шириной 800 мм с ограждением и
отбортовкой.
Открытые приемки, где расположены конвейеры,
ограждены и защищены сверху сеткой.
При расположении конвейеров с уклоном более 60
полы галерей и мостиков вдоль конвейеров выполнены такими, что исключается
скольжение, и снабжены поперечными планками на расстоянии 0,5 м одна от другой.
Рабочие, обслуживающие станции конвейеров,
проходящих вне здания, размещаются в кабинах с размерами, обеспечивающими
удобное и безопасное обслуживание механизмов привода. Кабины имеют окна для
наблюдения за конвейером.
На раме натяжного устройства установлены
буферные упоры, препятствующие падению натяжной тележки в случае обрыва ленты
или цепи.
Блоки, канаты и грузы натяжных станций имеют
ограждения, исключающие возможность несчастных случаев при обрыве троса, ленты
или цепи и падения груза. Под грузом нет прохода для людей.
Грузовые и натяжные станции ленточных и
цепных конвейеров снабжены предохранительными устройствами, предупреждающими
увод ленты или цепи в случае обрыва натяжного груза.
Во избежание травм, нарушения
технологического процесса, поломки оборудования во время работы конвейера
запрещается устранять скольжение ленты путем подбрасывания соли, канифоли и
т.п. между лентой и барабаном, а также натягивать, укреплять, направлять ленту
или цепь, переставлять ролики, поддерживающие ленту, становиться на движущуюся
ленту или цепь или передвигаться по ним.
Вновь смонтированные или капитально
отремонтированные тяговые органы и подвесные захваты цепных конвейеров испывают
под двойной нагрузкой в рабочем состоянии в течение 15 минут.
Места набегания ленты на барабан ленточных
конвейеров ограждены.
Допускается одностороннее обслуживание
винтовых конвейеров. Ширина прохода составляет 0,8 м. Питатели винтовых
конвейеров располагаются выше пола на 0,7 м и ограждены решеткой.
При перемещении пылящих материалов крышки
винтовых конвейеров герметизированы, а при невозможности достижения достаточной
герметизации - подключены к аспирационной установке.
Для отбора проб транспортируемого материала
винтовой конвейер имеет специальное приспособление. Отбор проб вручную должен
производиться после останова конвейера. В случае отбора проб вручную крышка
люка блокирована с пусковым устройством винтового конвейера.
При задевании винтовых лопастей за стенки или
дно желоба винтовой конвейер должен быть остановлен.
Во избежание травм, нарушения
технологического процесса, поломки оборудования во время работы винтового
конвейера запрещается снимать крышку, проталкивать материал для устранения
скопления его у подвесных подшипников, извлекать руками из желоба случайно
попавшие предметы, очищать конвейер от прилипшего материала.
11.2 Расчет зануления для
двигателя конвейера питателя
Зануление - это преднамеренное электрическое
соединение с нулевым защитным проводником металлических нетоковедущих частей,
которые могут оказаться под напряжением.
Принцип действия зануления - превращение
замыкания на корпус в однофазное короткое замыкание (между фазным и нулевым
проводником) с целью вызвать больший ток, способный обеспечить срабатывание
защиты и автоматически отключит поврежденное электрооборудование от питающей
сети. В качестве отключающих аппаратов могут быть использованы плавкие
предохранители, автоматические выключатели, магнитные пускатели и т.д.
Необходимо также отметить, что с момента возникновения аварии (замыкания на
корпус) до момента автоматического отключения поврежденного оборудования от
сети имеется небольшой промежуток времени, в течение которого прикосновение к
корпусу опасно, так как корпус находится под напряжением Uф (рисунок 11.1) и отключение его
от сети еще не произошло. В этот период сказывается защитная функция заземления
корпуса оборудования через нулевой защитный проводник.
Из рис. видно, что схема зануления требует
наличия в сети следующих элементов: нулевого защитного проводника, глухого
заземления нейтрали источника тока, повторного заземления нулевого защитного
проводника.
Нулевой защитный проводник предназначен для
обеспечения необходимого отключения установки значения тока путем создания для
этого тока цепи с малым сопротивлением.
Назначение заземления нейтрали - снижение
напряжения зануленных корпусов относительно земли до безопасного значения при
замыкании фазы на землю.
Назначение повторного заземления нулевого
защитного проводника - снижение напряжения 6а корпус относительно земли при
замыкании фазы на корпус в случае исправной схемы и в случае обрыва нулевого
защитного проводника.
Рисунок 11.1 - Схема зануления
-корпус; 2-аппараты защиты от токов к.з.; R0-сопротивление заземления
нейтрали источника тока; Ik-ток
короткого замыкания; Iн-часть
тока короткого замыкания, протекающая через нулевой проводник; Iз-часть тока короткого,
протекающая через землю; 0-нулевой защитный проводник.
Согласно ПУЭ в электроустановках напряжением
до 1 кВ с глухо-заземленной нейтралью сопротивление заземляющего устройства R0, к которому присоединены
нейтрали генераторов или трансформаторов, или выводов источника однофазного
тока, в любое время года должно быть не более 4 Ом при линейном напряжении сети
Uл=380 В.
Общее сопротивление растеканию заземлителей
(в том числе естественных) всех повторных заземлений нулевого рабочего провода
каждой линии в любое время года должно быть не более величины Rн=30 Ом при линейном напряжении Uл=380 В.
Область применения зануления:
1)
трехфазные четырех проводные сети напряжением до 1000 В с
заземленной нейтралью;
2)
сети постоянного тока, если средняя точка источника заземлена;
3)
однофазные сети переменного тока с заземленным выводом.
Рассчитаем наименьшее допустимое значение
тока Iki короткого замыкания, при котором
произойдет срабатывание защиты и поврежденное оборудование отключится от сети:
, (11.1)
где Iном - ток срабатывания автоматического выключателя, Iном=22,3 А;
k - коэффициент кратности
тока, k=1,25.
.
Определим полное сопротивление петли
"фаза-ноль":
,
где Rф, Rн.з. - активные сопротивления фазного и нулевого
защитного проводников;
Xф, Xн.з. - внутреннее индуктивные
сопротивления фазного и нулевого защитного проводников;
Xn - внешнее индуктивное сопротивление
петли "фаза-ноль", Xn=0,02 Ом.
.
Действительное значение тока однофазного короткого
замыкания, проходящего в схеме в аварийном режиме:
, (11.2)
где Uф - фазное напряжение;
Zn - полное сопротивление
петли "фаза-ноль";
ZТ - полное сопротивление
трансформатора, в соответствии с таблицей приложения 5 [25] ZТ=1,237 Ом.
.
Сравним действительное (вычисленное) значение тока
однофазного короткого замыкания Iк2 с наименьшим допустимым по условиям срабатывания
защиты током Iк1.
. (11.3)
.
Таким образом, отключающая способность системы
зануления обеспечена.
12. ЭКОНОМИЧЕСКОЕ ОБОСНОВАНИЕ
ТЕХНИЧЕСКИХ РЕШЕНИЙ
.1 Определение капитальных вложений
Расчет технико-экономических показателей
осуществляется на основе сравнительного анализа технических данных двух
альтернативных систем электропривода. Экономическая оценка базируется на
принципе минимальных расходов: минимальных начальных затрат, эксплуатационных
затрат, затрат электроэнергии, затрат связанных с вынужденным простоем
электрооборудования. По техническим соображениям приняты асинхронные
электродвигатель с короткозамкнутым ротором типа 4A80В4У3 и преобразователь частоты типа iG5-4RUS. В качестве альтернативного варианта будем
рассматривать широко используемую в тяговом внутризаводском электроприводе
систему с асинхронным электродвигателем с фазным ротором и кулачковым
командоконтроллером. Технические данные электрооборудования сравниваемых систем
приведены в таблице 12.1.
Таблица 12.1
|
Параметры
|
Базовый вариант
|
Проектируемый вариант
|
|
Тип двигателя
|
4А90LАУ3
|
4A80В4У3
|
|
Мощность, кВт
|
2,2
|
1,5
|
|
К.П.Д., %
|
80
|
82
|
|
Частота вращения, об/мин
|
930
|
3000
|
|
Тип преобразователя
|
-
|
iG5-4RUS
|
|
Мощность преобразователя,
кВт
|
-
|
7,5
|
|
к.п.д. преобразователя, %
|
-
|
0,95
|
Наиболее дорогостоящими составляющими электропривода
являются двигатель, преобразователь и передаточный механизм. Таким образом,
сметная стоимость электропривода для базового варианта:
, (12.1)
где
Kдв1 -
стоимость электродвигателя 4А90LАУ3, Kдв1 =
550000 руб.,
Kпра1 - стоимость пускорегулирующей аппаратуры Kпра1 = 1200000 руб.
Для
проектируемого варианта:
, (12.2)
где
Kдв2 -
стоимость электродвигателя 4A80В4У3, Kдв2 =
420000 руб.,
Kпр - стоимость преобразователя, Кпр = 2135000
руб.,
Kпра2 - стоимость пускорегулирующей аппаратуры, Kпра2 = 50000 руб.
.
Стоимость
монтажных работ для базового и проектируемого вариантов учитывает различную
сложность проводимых работ (простота и удобство монтажа современного
преобразователя частоты). Для базового электропривода эту величину можно
принять равной 12% от стоимости электропривода, а для проектируемого варианта -
5% стоимости электропривода. Таким образом, стоимость монтажных работ:
для
базового варианта:
, (12.3)
для
проектируемого варианта:
. (12.4)
Транспортно-заготовительные
работы, составляют 2% от суммы стоимости электропривода и стоимости монтажных
работ для базового варианта:
(12.5)
для
проектируемого варианта:
(12.5)
Плановое
накопление монтажной организации составляют 10% от стоимости монтажных работ
для базового варианта:
(12.7)
для
проектируемого варианта:
(12.8)
Для
наглядности выполненный расчет капитальных вложений для обоих вариантов сведем
в таблицу 12.2
Таблица
12.2
|
Источник затрат
|
Базовый вариант
|
Проект, вариант
|
|
Электродвигатель, руб.
|
550000
|
420000
|
|
Преобразователь, руб.
|
-
|
2135000
|
|
Пускорегулирующая
аппаратура, руб.
|
1200000
|
50000
|
|
Монтажные работы, руб.
|
210000
|
130250
|
|
Транспортно-
заготовительные работы, руб.
|
39200
|
54705
|
|
Плановые накопления
монтажной организации, руб.
|
21000
|
13025
|
|
Суммарные капитальные
вложения, руб.
|
2020200
|
2802980
|
12.2 Определение эксплуатационных
затрат
При расчете эксплуатационных затрат важное значение
имеет величина периода, за который производится расчет. При сравнении приводов
ограничимся периодом в 1 год.
Затраты на электроэнергию определяются количеством
энергии, потребляемой за год, номинальной мощностью двигателей, а также
тарифной ставкой на электроэнергию. Для расчета энергии, потребляемой за год,
нужно знать суммарное время работы электропривода за год, которое определяется
коэффициентом использования:
, (12.9)
где
ПВ - продолжительность включения установки, о.e.;
tраб.см - продолжительность работы установки за смену, tраб.см = 8 ч;
tсм - число рабочих часов за смену, tсм = 8 ч.
Для
базового варианта получим:
.
Для
проектируемого варианта:
.
Определим
число рабочих часов установки за год:
, (12.10)
где
Траб.см. - число рабочих дней в году, Траб.см. = 253;
nсм - число смен в сутки, nсм = 2.
Для
исходного варианта:
.
Для
проектируемого варианта:
.
Определим
энергию потребляемую за год:
для
базового варианта
, (12.11)
где
Pн.двX, ηX
- номинальные параметры привода, таблица 12.1;
для
проектируемого варианта:
, (12.12)
Таким
образом, затраты на электроэнергию за 1 год эксплуатации:
для
базового варианта
; (12.13)
где
Стс - тарифная ставка, Стс = 120 руб/кВт·ч.
для
проектируемого варианта:
(12.14)
Амортизационные
отчисления составляют 9,5% от сметной стоимости электропривода. Тогда для обоих
вариантов:
, (12.15)
,
.
Плановая
продолжительность ремонтного цикла (ремонтный цикл -наработка электрического
оборудования, выраженная в годах календарного времени между двумя капитальными
плановыми ремонтами) для асинхронного двигателя:
; (12.16)
где
Ттабл.дв. - продолжительность ремонтного цикла для электродвигателя,
Ттабл.дв. = 9 лет;
βр -
коэффициент, определяющий сменность работы оборудования, βр = 2;
βо -
коэффициент, учитывающий уменьшение ремонтного цикла машин, отнесенных к
категории основного оборудования, βо = 0,85;
.
Для
преобразователя частоты:
;
где
Ттабл.пч. - продолжительность ремонтного цикла для преобразователя
частоты, Ттабл.пч. = 5 лет.
.
Наработка
энергетического оборудования, выраженная в месяцах календарного времени между
двумя плановыми ремонтам, для асинхронного электродвигателя:
. (12.17)
Для
преобразователя частоты:
. (12.18)
По
полученным величинам можно рассчитать количество капитальных и текущих ремонтов
в расчете за 1 год. Количество капитальных ремонтов в год составляет:
,
(12.19)
. (12.20)
Количество
текущих ремонтов за один год определяется аналогично:
По
заданному количеству ремонтов в год, а также по заданной норме трудоемкости
определяется годовая трудоемкость ремонтов. Годовая трудоемкость электрических
машин рассчитывается по формуле:
, (12.21)
где
Нк.р.ад - норма трудоемкости капитальных ремонтов для двигателя, Нк.р.ад
= 32 человеко-часов;
Кω - поправочный коэффициент, учитывающий частоту
вращения электродвигателя, Кω = 1,1.
.
Для
преобразователя частоты:
.
Годовая
трудоемкость текущих ремонтов для соответствующих типов определяем аналогично
трудоемкости капитальных ремонтов:
. (12.22)
. (12.23)
Для
удобства сравнения выполненный расчет трудоемкости ремонта и технического
обслуживания для обоих вариантов сведен в таблицу 12.3
Таблица
12.3
|
Тип оборудования
|
Базовый вариант
|
Проект, вариант
|
|
Годовая трудоемкость
капитальных ремонтов, человеко-часы
|
|
Электродвигатель
|
2,4
|
2,4
|
|
Преобразователь
|
-
|
8,4
|
|
Пускорегулирующая
аппаратура
|
0,6
|
0,6
|
|
Годовая трудоемкость
текущих ремонтов, человеко-часы
|
|
Электродвигатель
|
3,82
|
3,82
|
|
Преобразователь
|
-
|
2,13
|
|
Пускорегулирующая
аппаратура
|
0,95
|
0,95
|
|
Годовая трудоемкость
технического обслуживания, человеко-часы
|
|
Электродвигатель
|
22,8
|
22,8
|
|
Преобразователь
|
-
|
28,4
|
|
Пускорегулирующая
аппаратура
|
6,8
|
4,7
|
|
Суммарная трудоемкость
эксплуатации оборудования:
|
168,37
|
154,5
|
По известной годовой трудоемкости эксплуатации
оборудования, учитывая тарифную ставку ремонтного рабочего, а также
соответствующие налоги, можно определить затраты на заработную плату ремонтных
рабочих за 1 год:
для базового варианта:
, (12.24)
где Стар - часовая тарифная ставка ремонтного рабочего (по
4-му разряду), Стар = 1700 руб/ч.
Налоговые отчисления 40%.
.
Для проектируемого варианта:
.
Стоимость материалов для ремонта и обслуживания
принимается равной 100% от основной заработной платы ремонтных рабочих без
учета выплаты налогов:
для базового варианта:
.(12.25)
Для проектируемого варианта:
. (12.26)
Общецеховые расходы принимаются равными 100% от
основной заработной платы без учета налогов, т.е.:
, (12.27)
. (12.28)
Общезаводские
расходы принимаются равными 50% от основной заработной платы без учета налогов:
, (12.29)
. (12.30)
.3
Определение приведенных затрат
Произведем сравнение двух вариантов по приведенным затратам по формуле:
, (12.31)
где
¾ суммарные
эксплуатационные расходы,
,
.
¾ нормативный коэффициент рентабельности, согласно
рекомендациям ЮНИДО для развивающихся стран
;
¾ стоимость капиталовложений.
для
базового варианта
,
для
проектируемого варианта
,
Полученные показатели сравниваемых вариантов приведены
в таблице 12.4.
Таким образом определяем экономический эффект при
использовании электропривода переменного тока, на основе преобразователя
частоты и асинхронного двигателя:
.
(12.32)
Определяем
критерий оптимальности:
. (12.33)
Таблица 12.4
|
Наименование
|
Обозначение
|
Базовый вариант
|
Проектируемый вариант
|
|
Номинальная мощность
двигателя, кВт
|
Pном
|
2.2
|
1.5
|
|
Номинальный к.п.д.
двигателя, %
|
ηном.дв
|
80
|
82
|
|
Номинальный к.п.д.
преобразователя, %
|
ηном.пч
|
-
|
95
|
|
Капиталовложения, руб.
|
K
|
2020200
|
2802980
|
|
Амортизационные отчисления,
руб.
|
Са
|
191919
|
266283
|
|
Плата за потребляемую
электроэнергию, руб.
|
СЭ
|
1131504
|
580434
|
|
Заработная плата ремонтных
рабочих, руб.
|
Сзп
|
171737
|
171737
|
|
Стоимость материалов для
ремонта ЭП, руб.
|
Смат
|
286229
|
262650
|
|
Цеховые расходы, руб.
|
Сц
|
286229
|
262650
|
|
Общезаводские расходы, руб.
|
С3
|
143115
|
131325
|
|
Суммарные эксплуатационные
расходы, руб.
|
C∑
|
2210733
|
1675079
|
|
Приведенные затраты, руб.
|
Зi
|
2513763
|
2095526
|
ЗАКЛЮЧЕНИЕ
В ходе данной дипломной работы была
разработана система автоматической стабилизации температуры каменных материалов
на выходе сушильного барабана асфальтосмесительной установки ДС-158. Была также
рассмотрена задача комплексной автоматизации установки с применением
программируемого контроллера TOYPUC-PC3 фирмы TOYODA (составлены
алгоритм функционирования установки и программа в символоах РКС для цикла
дозирования материалов).
Таким образом, все вопросы, подлежащие
рассмотрению в ходе дипломного проектирования, выполнены.
СПИСОК ИСПОЛЬЗОВАННЫХ ИСТОЧНИКОВ
1. Башарин
А.В., Новиков В.А., Соколовский Г.Г. Управление электроприводами: учебное
пособие для вузов.-Л.: Энергоиздат. Ленинградское отделение,1982.-392 с.
2. Ключев
В.И. Теория электропривода: учебник для вузов.-М.: Энергоатомиздат,1985.-560 с.
3. Конвейеры:
Справочник /Р.А. Волков, А.Н. Гнутов, В.К. Дьячков и др. Под общ. Ред. Ю.А.
Пертена/.-Л.: Машиностроение, 1984.-367 с.
4. Пертен Ю.А.
Крутонаклонные конвейеры.-Л.: Машиностроение, 1977.-216 с.
5. Зимин
Е.Н. и др. Электрооборудование промышленных предприятий и установок /Под ред.
В.И. Преображенского и И.И. Чувашова: Учебник для техникумов.-2-е изд.,
перераб. и доп.-М.: Энергоиздат,1981.-552 с.
6. Каталог
01.40.22.-81 Двигатели асинхронные единой серии 4А мощностью от 0,06…400 кВт.
Информэлектро,1983.
7. Силовые IGBT модули. Материалы по применению.-М.:
ДоДэка,1997.-ISBN-5-87835-020-3.
8. Power-Semiconductors Power Modules IGBT 2 Generetion Data Book
05.96. Published by Siemens AG.
9. Инструкция
по эксплуатации асфальтосмесительной установки ДС-158 АО "Кредмаш".