Трехфазная цепь, соединенная звездой

  • Вид работы:
    Практическое задание
  • Предмет:
    Физика
  • Язык:
    Русский
    ,
    Формат файла:
    MS Word
    235,96 Кб
  • Опубликовано:
    2013-10-31
Вы можете узнать стоимость помощи в написании студенческой работы.
Помощь в написании работы, которую точно примут!

Трехфазная цепь, соединенная звездой
















ТРЕХФАЗНАЯ ЦЕПЬ, СОЕДИНЕННАЯ ЗВЕЗДОЙ

Цель работы: проверить основные соотношения в цепи трехфазного тока при соединении фаз звездой для симметричной и несимметричной нагрузки и выявить роль нейтральною провода.

. Содержание работы


В работе предусматривается изучение различных режимов нагрузки трехфазной цепи при соединении в звезду с нейтральным проводом и без него.

Соединение звездой с нейтральным проводом осуществляется при соединении звездой фазные токи равны линейным. Фазные напряжения U А, U в, U с и линейные напряжения U АВ, U вс, U СА источника обычно образуют симметричные трехфазные системы (рис.2)


При наличии нейтрального провода, не обладающего сопротивлением, нейтральная точка нагрузки находится в центре тяжести треугольника линейных напряжений, даже при несимметричной нагрузке (рис. 2 а).

Поэтому как линейные, так и фазные напряжения на приемнике равны напряжениям источника, так как сопротивлениями соединительных проводов можно пренебречь. Токи фаз приемника зависят от величины и характера нагрузки:

Ток в нейтральном проводе


Векторная диаграмма токов для несимметричной нагрузки показана на рис. 2а.

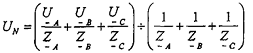
Вектор тока I N находится по формуле (2) как геометрическая сумма векторов фазных токов. Если при несимметричной нагрузке нейтральный провод отсутствует, то нейтральная точка нагрузки сметается, и между нейтральными точками NN' источника и приемника возникает напряжение смещения нейтрали U N. В этом случае фазные напряжения приемника будут неодинаковы:

U Л = ид -IJN; U н = U в - 0 м; U'. = Ut.-UN.                              (3)

Векторная диаграмма напряжений для несимметричной цепи без нейтрального провода приведена на рис. 2б. При симметричной нагрузке фаз U N = 0. данной работе путем снятия векторных диаграмм исследуются режимы трехфазных цепей при различных нагрузках. В качестве активной нагрузки берутся лампы накаливания, индуктивная первичная обмотка трехфазного трансформатора, ёмкостной - батарея конденсаторов.

. Порядок выполнения работы

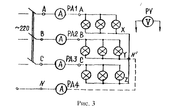
Включите в трехфазную цепь ламповую нагрузку, соединенную звездой без нейтрального провода (рис. 3).


Проведите следующие опыты:

б)      несимметричная нагрузка всех фаз: включить разное число ламп в фазах; в) обрыв одной фазы (выключить все лампы этой фазы, в остальных фазах все лампы включены);

г)       короткое замыкание одной фазы (для короткого замыкания фазы приемника необходимо проводом соединить начало и конец фазы, например, зажимы А и X, в остальных фазах все лампы включить) Во всех этих опытах измерьте линейные и фазные напряжения, токи и напряжения, смещения нейтрали.

2.       Включите и трехфазную сеть ламповую нагрузку, соединенную звездой с нейтральным проводом (рис. 3), и проделайте опыты:

а)       симметричная нагрузка всех фаз;

б)      несимметричная нагрузка всех фаз;

в)      обрыв одной фазы.

Опытные данные занесите в табл. 2. Замените ламповую нагрузку одной фазы (см. рис. 3) на ёмкостную. В качестве ёмкости используйте батарею конденсаторов (величина ёмкости устанавливается по указанию преподавателя). В остальных фазах включите все лампы. Выполните измерения по схеме с нейтральным проводом. Постройте в масштабе векторные топографические диаграммы напряжений для всех опытов н векторные диаграммы токов. Сделайте графическую проверку построенных векторных диаграмм по первому закону Кирхгофа для всех режимов. Обработка результатов опыта. Построение топографических диаграмм напряжении для всех случаев рекомендуется начинать с симметричной системы фазных и линейных напряжений источника.

При отсутствии нейтрального провода положение нейтральной I04KH приемника N' на топографической диаграмме нужно искать методом засечек. Из вершины А треугольника линейных напряжений проводится окружность радиусом IJ^5 мз вершины В - радиусом Ujj и из вершины С - радиусом U . Точка пересечения окружностей есть точка N'. Её соединяю! с точками А, 13, С диаграммы и получают векторы фазных напряжений потребителя.

При обрыве одной из фаз две другие фазы оказываются соединенными последовательно и подключенными к линейному напряжению.

Сопротивления для фаз одинаковы, го точка N' на диаграмме находится па середине соответствующего линейною напряжения.

При коротком замыкании и отсутствии нейтрального провода, например (разы В, потенциал нейтральной точки N' становится равным потенциалу точки В. На диаграмме точка N' совпадает с точкой В. При этом на закороченной фазе напряжение равно нулю, а на двух других фазах приемника напряжения равны линейным.

При построении диаграмм по пунктам 3...5 принять:

а)       ёмкостный ток опережает фазное напряжение на 90°;

б)      в фазах с индуктивностью направление вектора тока определяется из соотношения токов в данном режиме (2).

провод фаза нагрузка звезда


Контрольные вопросы

1.       Какие преимущества имеют трехфазные цепи перед однофазными?

Трехфазный ток позволяет создавать вращающий момент поля при неподвижных обмотках, что используется в большинстве эл. двигателей

3.       Что такое симметричный режим работы трехфазных цепей. В каких случаях используется соединение звездой без нейтрального провода и в каких случаях с нейтральным проводом?

Это режим при котором к симметричной системе ЭДС равных по величине и отстающих по фазе на 120о подключена система равных нагрузок соединенных звездой и треугольником.

4.       Какую роль выполняет нейтральный провод при несимметричной нагрузке?

Если к симметричной системе ЭДС звездой подключена симметричная нагрузка то нейтральный провод не нужен, а в остальных случаях нейтральный провод нужен он обеспечивает симметрию фазных напряжений.

5.       Почему в цепи нейтрального провода не ставится предохранитель?

Обрыв происходит только в фазе т.к. обрыв нейтрального провода приводит к несимметрии системе напряжений.

.        Как рассчитывается напряжение смещения нейтрали?

7.       Каким образом надо изменить схему, чтобы получить обратное следование фаз на нагрузке?

Поменять местами любые две фазы.

8.       По каким формулам можно рассчитать активную, реактивную и полную мощности при симметричной и несимметричной нагрузке?

При несимметричной

P=UAIAcosφA+ UBIBcosφB+ UCICcosφC+=PA+PB+PC

Q=UAIAsinφA+ UBIBsinφB+ UCICsinφC+=QA+QB+QC

S=√(P2+Q2)

При симметричной

P=√3·UAIAcosφ

Q=√3·UAIAsinφ

S=√3·UAIA

9.       Как изменятся токи и фазные напряжения, при соединении симметричной нагрузки в звезду, без нейтрального провода, если одну фазу закоротить?

Токи и напряжения возрастут.

Похожие работы на - Трехфазная цепь, соединенная звездой

 

Не нашли материал для своей работы?
Поможем написать уникальную работу
Без плагиата!
Без нейросетей!