Абсорбционная осушка газа

  • Вид работы:
    Контрольная работа
  • Предмет:
    Химия
  • Язык:
    Русский
    ,
    Формат файла:
    MS Word
    970,92 Кб
  • Опубликовано:
    2013-10-29
Вы можете узнать стоимость помощи в написании студенческой работы.
Помощь в написании работы, которую точно примут!

Абсорбционная осушка газа

1. Краткое описание технологического процесса


Абсорбция - процесс поглощения одного вещества другим во всем объеме сорбента. Примером может служить растворение газов в жидкостях. Поглощаемое вещество в этом процессе называют абсорбатом, а поглощающее абсорбентом.

В технологических процессах связанных с нефтегазовой отраслью, процесс абсорбции применяется для абсорбционной осушки газа.

Процесс абсорбционной осушки газа основан на избирательном поглощении влаги раствором диэтиленгликоля в тарельчатых колоннах, особенностью которых является ступенчатый характер проводимого в них процесса. Газ и жидкость последовательно соприкасаются на отдельных ступенях (тарелках) аппарата.

Поверхность соприкосновения фаз развивается потоком газа, распределяющимся в жидкости в виде пузырьков и струек. Среды движутся по аппарату по принципу противопотока: сверху вниз движется абсорбент, а снизу вверх - осушаемый газ. В результате контакта фаз происходит массообмен: пары воды из газа переходят в раствор абсорбента. Степень осушки газа на абсорбционных установках определяется главным образом концентрацией подаваемого в абсорбер раствора, а концентрация раствора, в свою очередь, зависит от используемого на установке метода регенерации отработанного абсорбента. Для глубокой регенерации раствора и получения низких (от -20 до +30 °С) точек росы осушенного газа регенерацию ДЭГ проводят под вакуумом.

В промысловых условиях адсорбционные установки осушки подвержены различным внешним воздействиям, что и вызывает необходимость управления ими. Основная задача управления состоит в обеспечении заданной степени осушки газа при минимальных энергетических и материальных затратах и соблюдении ограничений на технологические параметры процесса. Процесс осушки газа на газовых промыслах осуществляют, как правило, в нескольких параллельно работающих абсорберах, входы и выходы которых подключены к коллекторам. Опыт эксплуатации их показывает, что, несмотря на одинаковые конструктивные характеристики аппарата, их гидравлические сопротивления различны. Это приводит к неравномерной нагрузке аппаратов и уменьшению общей эффективности их работы. Поэтому задача автоматического управления заключается не только в поддержании требуемой точки росы осушенного газа, но и в обеспечении равномерного распределения потоков газа между абсорберами.

абсорбционный осушка газ

 

2. Анализ технологического процесса


Целью управлением процессом абсорбции является поддержание постоянства заданной концентрации целевогокомпонента в обедненном газе.

Рис. 1. Упрощенная технологическая схема процесса абсорбционной осушки газа

 

.1 Оценка параметров влияющих на качество


Главным показателем качества данного процесса является концентрация извлекаемого компонента в обедненной смеси. В данном случае этим параметром будет являться влагосодержание.

Эффективность процессов абсорбции зависит от следующих параметров: давления, рабочей температуры процесса, соотношения между количествами контактирующих абсорбента и газа, скорости газа в абсорбере. Рассмотрим влияние каждого в отдельности.

Повышение температуры процесса, снижает эффективность процесса абсорбции. Снижение температуры абсорбционной осушки газа приводит к увеличению поглотительной способности абсорбента и соответственно увеличению производительности установки осушки газа. Но для регулирования температуры, необходимо ставить дополнительное оборудование, что в свою очередь ведет к дополнительным материальным и экономическим затратам. А, т.к. температура газа и температура абсорбента, поступающих в абсорбер, являются приемлемыми для протекания нормального процесса абсорбции, то регулировать температуру нецелесообразно.

Повышение давления в абсорбере способствует увеличению извлекаемой концентрации влаги из исходной газовой смеси.

В нижней части колонны должно находиться некоторое количество жидкости. Если уровень жидкости будет слишком низким, не будет контакта насыщенного газа и абсорбента.

Изменение расхода газовой смеси и начальных концентраций извлекаемого компонентав фазах представляют собой выходные величины предыдущих технологических аппаратов, а, следовательно, представляют собой основные возмущения процесса абсорбции.

В связи с тем что на начальную концентрацию целевого компонента в исходной смеси нельзя повлиять, регулирующие воздействия необходимо производить изменением расходов абсорбента и газовой смеси.

Контролю подлежат: Концентрация целевого компонента на выходе, давление в абсорбере, а так же температура и уровень жидкости внутри абсорбера.

Регулировать необходимо: расход абсорбента (исходного и насыщенного), расход газа на входе.

2.2 Возможные опасные ситуации и риски


Опасной ситуацией является отклонение давления в аппарате от номинального значения, так как это может повлечь за собой повреждение и выход из строя установки.

Существует опасность разгерметизации, которая будет сопровождаться резким падением давления внутри абсорбера. Эта ситуация опасна тем что вблизи абсорбера может образоваться горючая среда. Поэтому необходимо сигнализировать о резком изменении давления выполнить аварийный останов. На схеме предусмотрена защита по давлению. Чрезмерное падение давления говорит о разгерметизации абсорбера. В случае возникновения аварийной ситуации необходимо перекрыть все потоки, подав сигнал закрытия на клапаны (2-2), (3-2), (4-2), (5-2) и активировать сброс газа и дренажкую емкость подав сигнал открытия на клапаны (1-3) и (1-4).

В нижней части колонны должно находиться некоторое количество жидкости, обеспечивающее гидравлический затвор, что исключает поступление газовой смеси из аппарата в линию насыщенного абсорбента и позволяет регулировать давление в абсорбере. Постоянное количество этой жидкости поддерживается регулированием уровня в аппарате путем изменения расхода насыщенного абсорбента.

При возникновении аварийной ситуации необходимо немедленно остановить установку, перекрыв подачу исходного газа и поступления абсорбента. Так же необходимо предусмотреть дренаж и сброс газа на случай аварийной ситуации.

 

.3 Экономические параметры


Единственный параметр влияющий на экономику данного процесса это количество товарного газа на выходе. Необходимо вести его учет.

 

3. Описание функциональной схемы автоматизации


На основании анализа технологического процесса была построена схема автоматизации.

-       Для измерения содержания влаги в потоке обедненного газа, на линии выхода из абсорбера установлен влагомер (3-1). Обработав полученные данные, контроллер формирует сигнал регулирования, который подается на электро-пневматический позиционер клапана (3-2), регулирующего подачу абсорбента.

-       расходомер (4-1), данные с которого поступают на контроллер. После обработки контроллер формирует сигнал регулирования, который подается на электро-пневматический позиционер клапана (4-2), изменяющего гидравлическое сопротивление потока отходящего газа.

На линии входа газа необходимо установить измерительный преобразователь:

-       Расходомер (5-1), данные с которого поступают на контроллер. После обработки данных контроллер формирует сигнал регулирования, который подается на электро-пневматический позиционер клапана (5-2), изменяющего гидравлическое сопротивление потока входящего газа.

-       Измерительный преобразователь расхода необходимо установить на линии входа (6-1) абсорбента для учета этого потока.

На абсорбере устанавливаются:

-       измерительный преобразователь давления (1-1), измерительный преобразователь температуры (14-1) а так же измерительный преобразователь уровня (2-1), сигнал с которого поступает на контроллер. Сформированное контроллером управляющее воздействие подается на позиционер клапана (2-2), регулирующего отбор насыщенного абсорбента.

4. Описание комплекса технических средств

Технические средства измерения температуры.

Термопреобразователь с унифицированным выходным сигналом cерии Метран-2700

Метран-2700 - микропроцессорные термопреобразователи с унифицированным выходным сигналом 4-20 предназначены для измерения температуры различных сред. Первичный преобразователь в Метран-2700 помещен в защитную арматуру, измерительный преобразователь Метран-270М встроен в соединительную головку, которая имеет внутренний и внешний винты заземления. В ИП Метран-270М реализована гальваническая развязка входа от выхода. В качестве первичного преобразователя будем использовать платиновый термометр сопротивления.


Измерение температуры термопреобразователем сопротивления основано на свойстве металлов и полупроводников, в частности платины, изменять свое электрическое сопротивление с изменением температуры. Если известна зависимость между электрическим сопротивлением термопреобразователя сопротивления и его температурой, то, измерив это сопротивление, можно определить значение температуры среды, в которую он погружен. Затем полученный сигнал сопротивления преобразуется измерительным преобразователем Метран-270М в унифицированный сигнал тока 4-20 мА.

Таблица 1. Технические характеристики:

Чувствительный элемент

термометр сопротивления платиновый

Степень защиты

IP65

Диапазон измерения

-50…200 оС

Выходной сигнал

4 - 20 мА

Предел допускаемой основной погрешности

±0,15 %

Температура окружающей среды

-40…85 оС

Питание

12 - 42 В постоянного тока


Технические средства измерения давления.

Преобразователь давления PC-28.

Назначение. Преобразователь давления РС-28 предназначен для измерения разрежения, а также избыточного и абсолютного давления газа, пара и жидкости.

Преобразователь состоит из приемника давления и электронного модуля. Чувствительным элементом является пьезорезистивная кремниевая монолитная структура, встроенная в приемник давления, который отделен от измеряемой среды разделительной мембраной и заполнен специальной манометрической жидкостью.

Принцип действия.

Давление измеряемой среды подается на приемник давления, вызывая деформацию чувствительного элемента. Деформация чувствительного элемента приводит к пропорциональному изменению сопротивления пьезорезисторов и разбалансу мостовой схемы. Сигнал с мостовой схемы поступает на электронный модуль.

Технические данные

Измерительный диапазон 0 - 6МПа

Допускаемая перегрузка (зона упругой деформации) 12МПа

Повреждающая перегрузка    40МПа

Предел основной допускаемой приведенной погрешности ±0,25%

Дополнительная погрешность, вызванная изменением температуры окружающей среды0,2% / 10°С

Гистерезис, повторяемость 0,05%

Диапазон термокомпенсации         0 + 70°С

Диапазон предельных температур окружающей среды -50 + 85°С

Диапазон температур среды измерения -50 + 120°С

Напряжение питания 12 - 28В

Выходной сигнал, мА  4 .. 20


Интеллектуальный вихревой расходомер Rosemount 8800DF.

Интеллектуальный вихревой расходомер Rosemount 8800D принадлежит к известному семейству приборов RosemountSMARTFAMILY. Предназначен для измерения массового и объемного расхода.

Принцип действия

Основан на определении частоты вихрей, образующихся в потоке измеряемой среды при обтекании тела специальной формы. Частота вихрей пропорциональна объемному расходу. Расходомеры 8800D имеют разнообразные конструкции проточной части: фланцевая, бесфланцевая, со встроенными коническими переходами, сдвоенная и на высокое давление. В конструкции расходомеров отсутствуют отверстия и полости, которые могут засоряться в процессе эксплуатации.

Таблица 2. Технические характеристики:

Измеряемые среды

газ, пар, жидкость

Диаметр условного прохода

150 мм

Диапазон измерения

15,6…511 м3/ч

Выходные сигналы

4 - 20 мА с HART

Основная приведенная погрешность

Для жидкости ±0,65%, для пара, газа ±1,35%

Избыточное давление в трубопроводе

До 25 МПа

Диапазон температур измеряемой среды

-73…205°С

Температура окружающего воздуха

- 50...70°C

Питание

10,8 - 42 В постоянного тока


Технические средства измерения уровня.

Измерительный преобразователь уровня Rosemount 5301 НР. серии 5300 / это двухпроводный волноводный уровнемер для измерения уровня и уровня границы раздела жидкостей.

Принцип действия:

Принцип действия волноводного уровнемера Rosemount серии 5300 основан на технологии рефлектометрии с временным разрешением (TDR = TimeDomainReflectometry) (см. рис.). Микроволновые наносекундные радарные импульсы малой мощности направляются вниз по зонду, погруженному в технологическую среду. Когда радарный импульс достигает среды с другим коэффициентом диэлектрической проницаемости, часть энергии импульса отражается в обратном направлении. Разница во времени между моментом передачи радарного импульса и моментом приема эхо/сигнала пропорциональна расстоянию, согласно которому рассчитывается уровень жидкости или уровень границы раздела двух сред. Интенсивность отраженного эхо/сигнала зависит от диэлектрической проницаемости среды. Чем выше коэффициент диэлектрической проницаемости, тем выше интенсивность отраженного сигнала. Волноводная технология имеет ряд преимуществ по сравнению с другими методами измерений уровня, поскольку радарные импульсы практически невосприимчивы к составу среды, атмосфере резервуара, температуре и давлению.

Рис.1 Принцип действия волноводного уровнемера.

Таблица 3. Технические характеристики

Измеряемые среды

вязких жидкостей, взвесей, водных растворов

Принцип действия

Рефлектометрия с временным разрешением (TDR)

Излучаемая мощность

Номинальная 300 мкВт, максимальная 45 мВт

Погрешность

±3 мм или 0,03 % диапазона измерений, в зависимости от того, какое значение больше

Диапазон измерений

от 0,1 до 50 м

Влажность

До 100%

Температура окружающей среды

-40…+80°С

Давление процесса

-0,1…34,5 МПа

Температура процесса

-40,6…+150 °С

Источник питания

16 - 42,4 В постоянного тока

Выходные сигналы

4-20 мА, HART, FoundationFieldbus


Технические средства измерения влагосодержания.

Для контроля содержания воды в нефти необходимо установить влагомер газа.

Анализатор влажности Xentaurсерии LPDT.

Анализаторы влажности серии LPDT предназначены для контроля влажности различных газов.

Чувствительный элемент, используемый в анализаторах влажности XENTAUR, изготовлен из тончайшего пористого оксида алюминия - Al2O3, покрытого сверху золотой пленкой  

Рис.2 Принцип изготовления чувствительного элемента.

Принцип действия

Анализируемый газ, содержащий молекулы воды, проникает в пористый слой и изменяет емкость конденсатора, образованного пористой золотой мембраной и алюминием, как проводниками и пористым слоем оксида алюминия как диэлектриком. Данное изменение регистрируется прибором и преобразуется в индикацию или необходимый выходной сигнал (0/4-20 мА, RS232 или др.).

Таблица 4. Технические характеристики:

Тип

Емкостной сверхтонкопленочный на основе Al2O3

Диапазон точки росы

-100... +20 °C точки росы

Погрешность

±3 °С в пределах точки росы

Рабочая температура

Выходные сигналы

0/4-20 мА, RS-232 (двунаправленный)

Электропитание

10-33 В постоянного тока


.1 Описание исполнительных устройств

Для реализации сигнала управления, вырабатываемого контроллером, на всех материальных потоках необходимо установить запорно-регулирующую аппаратуру.

Запорно-регулирующие клапаны РУСТ-420-1У с сильфонным уплотнением штока предназначены для автоматического управления потоками жидких и газообразных сред, включая агрессивные и пожароопасные, а также для перекрытия трубопроводов. Воздействие на процесс осуществляется изменением расхода проходящей через исполнительное устройство среды таким образом, чтобы это воздействие вызвало изменение регулируемого параметра в нужном направлении. Клапан состоит из корпуса 1, крышки 2, втулки 3, плунжера 4 со штоком 5 и деталей сальникового уплотнения штока: пружины 6, центрирующей втулки 7, фторопластовых колец 8,9,10, втулки 11, фланца 12, шпилек 13 и гаек 14.

Уплотнение втулки 3 с корпусом 1 и крышкой 2 осуществляется при помощи прокладок 17, 18 и спирально-навитой прокладки 19.В плунжере имеются отверстия, соединяющие входной канал корпуса с камерой, расположенной над плунжером, что позволяет значительно уменьшить величину неразгруженного усилия на плунжере. Наружная цилиндрическая поверхность плунжера направлена стеллитом. Крепление кронштейна 20 привода на крышке клапана осуществляется с помощью гайки 21, которая контрится шайбой 22. Шток клапана через бобышку 25 соединяется со штоком привода 23 муфтой 27. Стыковка клапана с технологическим трубопроводом производится при помощи фланцев 28.

Принцип действия регулирующего клапана заключается в изменении гидравлического сопротивления, а, следовательно, пропускной способности клапана за счет изменения проходного сечения дроссельного узла. Управления перемещением плунжера осуществляется приводом. При перемещении штока привода под действием управляющего сигнала плунжер 4 клапана совершает возвратно-поступательное движение во втулке 3. На цилиндрической поверхности втулки в зависимости от требуемой условной пропускной способности и проходной характеристики (линейной, равнопроцентной или иной) выполнен набор отверстий или профилированных окон. Площадь отверстий, через которые дросселируется рабочая среда (проходное сечение дроссельного узла) зависит от высоты подъема плунжера.

Устройство и принцип действия.

Клапана укомплектовываются мембранно-пружинными приводами. Мембранно-пружинный привод прямого или обратного действия преобразует изменение давления сжатого воздуха, подаваемого в рабочую полость, в перемещение штока. Давление управляющего воздуха воздействует на мембрану 1, зажатую по периметру между крышками 2 и 3, и создает усилие, которое уравновешивается размещенной на кронштейне 4 привода пружиной 5. Таким образом, ход штока 6 привода пропорционален величине управляющего давления. Жесткость и предварительное сжатие пружины определяет диапазон усилий привода и номинальный ход.

Позиционер предназначен для повышения точности позиционирования штока привода и соединенного с ним штока клапана.

Конечные выключатели предназначены для сигнализации о нахождении плунжера в крайних положениях (открыт-закрыт).

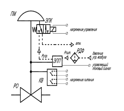
Рис.3 Функциональная комбинированная схема запорно-регулирующего клапана: КВ - конечные выключатели; ЭПК - электропневмоклапан; РДФ - редуктор давления - фильтр; ЭПП - электропневматический или пневматический позиционер; РО - регулирующий орган.

Рис.4 Базовая конструкция клапана.

Рис.5 Конструкция мембранно-пружинного привода в разрезе.

Таблица 5. Технические характеристики:

Условное давление

1,6…25 МПа

Диаметр условного прохода

15…300 мм

Условный ход

5…125 мм

Диапазон температур рабочей среды

-40…+225°С

Диапазон температур окружающей среды

-40…+70°С

Влажность окружающей среды

80%

Пропускная характеристика

линейная

Время закрытия/открытия

8 ÷ 10


Электропневматический позиционер ЭПП 300 является регулятором в следящей системе, который обеспечивает заданную координацию положения пневматического исполнительного механизма поступательного или поворотного действия (регулируемой величины) и командного сигнала (задающей величины). В зависимости от выбранного режима работы, задающей величиной может быть аналоговый сигнал постоянного тока 4…20 мА, команда, переданная по каналу цифрового обмена HART или задание, введенное оператором вручную.

Структурно ЭПП 300 состоит из трех блоков: блока электроники, электропневматического блока и блока обратной связи.

Рис.6 Структурная схема ЭПП.

Блок электроники является информационной системой на базе микропроцессора и предназначен для обработки команд HART-протокола, сигналов управления и обратной связи, питания всех подсистем ЭПП, индикации и кнопочного управления его состоянием в момент настройки и работы.

Электропневматический блок представляет собой дискретный двухкаскадный двухканальный усилитель-преобразователь с электропъезоклапаном в первом каскаде и одномембранным пневмоусилителем - во втором. Объединенный выход вторых каскадов обеспечивает питание исполнительного механизма в режиме нагнетания и сброса.

Блок обратной связи предназначен для выдачи электрического сигнала, пропорционального текущему положению исполнительного механизма. Этот блок выполнен на основе поворотного потенциометра и одноступенчатого шестеренного редуктора.

ЭПП 300 имеет встроенный HART-модем монтажно размещенный на единой плате с электроникой управления позиционера. HART-модем позволяет по токовой петле обеспечивать обмен информацией с операторской, при этом имеется возможность управления как по аналоговой, так и по HART-линии.

ЭПП 300 позволяет задавать любые значения токового управляющего сигнала для минимального и максимального положения ИМ в пределах 4…20 мА, в том числе использовать инверсную характеристику управления. Эти функциональные возможности ЭПП 300 используются, если необходимо управлять двумя и более регулирующими клапанами РК одним управляющим сигналом. Например, первый РК работает в диапазоне 4…12 мА, а второй - в диапазоне 12…20 мА. При этом повышается точность и КПД в зоне работы каждого РК. ЭПП позволяет также производить регулирование в произвольном диапазоне хода РК, например, в диапазоне 20%…30% и т.д.

Таблица 6. Технические характеристики:

Рабочий ход поступательного движения ИМ

5…130 мм

Конструктивное исполнение

искробезопасное

Температура окружающей среды

-50…+70°С

Управляющий сигнал

4…20мА, HART

Минимальный ток питания

3.8 мА

Необходимое напряжение нагрузки(при 20 мА)

8 В

Давление воздуха питания

0.14…0.6 МПа

Кабельный ввод

13 мм


Похожие работы на - Абсорбционная осушка газа

 

Не нашли материал для своей работы?
Поможем написать уникальную работу
Без плагиата!
Без нейросетей!