Осушка газа методом абсорбции

  • Вид работы:
    Дипломная (ВКР)
  • Предмет:
    Химия
  • Язык:
    Русский
    ,
    Формат файла:
    MS Word
    1,94 Mb
  • Опубликовано:
    2011-07-26
Вы можете узнать стоимость помощи в написании студенческой работы.
Помощь в написании работы, которую точно примут!

Осушка газа методом абсорбции

Содержание

Введение

. Теоретические основы

.1 Влажность УВ газов

.2 Структура и состав гидратов. Скорость образования гидратов и методы борьбы с ними

.3 Свойства жидких поглотителей

.3.1 Регенерация поглотителей

.4 Аппаратура установок абсорбционной осушки

.5 Осушка газов абсорбцией

.5.1 Осушка в барботажных абсорберах

.5.2 Осушка в распыливающем абсорбере

.5.3 Двуступенчатая абсорбция

.5.4 Осушка газов на промысловых установках низкотемпературной сепарации.

. Технологическая схема процесса и ее описание

. Расчетный раздел

. Охрана окружающей среды ну установках осушки УВ газов

.1 Обезвреживание водного конденсата десорбера ректификацией.

.2 Термическое обезвреживание водного конденсата

.3 Закачка промышленных сточных вод в пласт

Список литературы

Введение

В настоящее время газовая промышленность занимает одну из ведущих отраслей РФ. Основной процент добытого газа идет на экспорт, следовательно, потребность в газе растет, а это ведет к развитию газодобывающей промышленности. Как то: Разработка новых месторождений, прокладка новых газопроводов, постройка перерабатывающих заводов, применение новых технологий.

Осушка углеводородных газов - важное звено в процессе подготовки природных газов к транспорту по магистральным газопроводам, установок охлаждения природных и нефтезаводских газов, циркуляции газов риформинга, установок получения этана, этилена, пропилена и т. п. Все газы, подаваемые в магистральные газопроводы, подвергаются обязательной осушке от влаги. Глубина осушки определяется требованиями отраслевых стандартов и технологией процессов дальнейшей переработки газов.

В практике осушки углеводородных газов применяют абсорбционные и адсорбционные методы, причем из абсорбционных чаще всего используют осушку гликолями (этиленгликоль, диэтиленгликоль и триэтиленгликоль), а из адсорбционных силикагелем или цеолитами (природными либо синтетическими).

Широко применяется процесс низкотемпературной сепарации для извлечения углеводородного конденсата и воды.

Разнообразны методы борьбы с гидратами углеводородных газов. Применение глубокой регенерации гликолей отдувочным газом или азеотропной ректификацией позволяет осушать газы до точки росы -70 °С и ниже, что сближает процессы осушки абсорбцией и адсорбцией.

За последние годы накоплен большой материал по проектированию и эксплуатации установок абсорбционной и адсорбционной осушки, по процессам регенерации гликолей и метанола. Разработаны новые конструкции аппаратов - абсорберов, огневых подогревателей гликоля, сепараторов и др. Широко используют осушку сероводородсодержащих газов, имеющих специфические особенности, связанные с коррозией оборудования и охраной окружающей среды.

Серьезные осложнения вызывает появление солей, загрязняющих оборудование.

1. Теоретические основы

.1 Влажность углеводородных газов

Вода, присутствующая в углеводородных газах в виде паров, удаляется из газа в процессе осушки. Влажный газ как влагособиратель характеризуется следующими параметрами: абсолютной и относительной влажностью и влагосодержанием. Масса паров воды, выраженная в кг, содержащихся во влажном газе, в пересчете на 1 кг абсолютно сухого газа, называется влагосодержанием газа.

Абсолютная влажность определяется количеством водяного пара (в кг), содержащегося в 1 м3 влажного газа. Относительной влажностью называется отношение массы водяного пара в 1 м3 влажного газа при данных температуре и давлении к максимально возможной массе водяного пара в 1 м3 газа при тех же условиях.

Важной характеристикой влажных газов является так называемая точка росы. Это - температура, охлаждаясь до которой газ при постоянном влагосодержании становится насыщенным водяными парами.

При нормальных условиях влажность углеводородных газов выше влажности воздуха, однако, с повышением температуры эта разница уменьшается. Для определения равновесной влажности природных газов с относительной плотностью, равной 0,60, не содержащих азот и насыщенных парами воды, в интервале температур от - 40 до 180°С и при различных давлениях рекомендуется пользоваться графиком (рис. 1.1), составленным по уравнению Бюкачека:

=A/10.1P+B

А - коэффициент, характеризующий влажность идеального газа:

В - коэффициент, учитывающий отклонение влажности природного газа относительной плотностью 0,60 от показателей идеального газа;

Р - давление газа, МПа.

Рис 1.1. Равновесная влажность природного газа при разных температурах и давлениях:- поправка на плотность газа; k2 - поправка на содержание солей в растворе.

Пропан, получаемый на газобензиновых заводах, обычно насыщен влагой. При транспортировании жидкого пропана даже по коротким трубопроводам (длиной 3-20 км) отмечены случаи полной закупорки труб кристаллогидратами. При проектировании магистральных продуктопроводов, по которым перекачивается пропан, необходимо предусматривать установки осушки. Большие неудобства создаются при наличии влаги в сжиженных газах, используемых в быту и на осушки газа. При высоких давлениях в абсорберах установок осушки газ растворяется в гликолях и интенсивно выделяется в газосепараторах, теплообменниках, десорбере, создавая определенные трудности в процессе эксплуатации аппаратов.

.2 Структура и состав гидратов. Скорость образования гидратов и методы борьбы с ними

В связи с развитием добычи и транспорта природного газа перед работниками газовой промышленности остро встала проблема борьбы с гидратами углеводородных газов. Кристаллические соединения, схожие со снегом или льдом, образуемые ассоциированными молекулами углеводородов и воды, называются кристаллогидратами (или просто гидратами). Гидраты индивидуальных газообразных углеводородов или их смесей состоят из нестехиометрических соединений включения клеточного типа - клатратов.

Рис. 1.2. Кристаллическая решетка газового гидрата структуры I (a) и структуры II (б).

Советскими и зарубежными исследователями были изучены условия образования гидратов, их структура и разработаны меры борьбы с ними. Рентгенографическое исследование природы гидратов показало, что они образуют две основные структурные формы (рис. 1.2). Газовые гидраты имеют кристаллическую решетку, образуемую молекулами воды. Полости решетки заполнены поглощенными углеводородами.

Ячейки гидрата структуры I (см. рис. 1.2, а) включает 46 молекул воды и содержит 6 больших и 2 малых полости, доступных молекулам газа. Малые полости в обеих структурах гидратов имеют средний диаметр «0,52 нм, большие полости - диаметр 0,59 нм. Вещества, размер молекул которых более 0,69 нм, не образуют гидратов. Когда размер молекулы гидратообразователя менее 0>52 нм, образуется гидрат структуры I. Если размер молекулы гидратообразователя находится в автотранспорте, так как влага может вызывать замерзание редукторов и перебои в подаче газа.

При осушке сероводородсодержаших газов сероводород растворяется в гликолях, вызывая интенсивную коррозию оборудования и загрязняя окружающую среду. Наличие данных по растворимости сероводорода в гликолях позволяет разрабатывать меры его утилизации и создавать безотходную технологию.

По экспериментальным данным, гидраты образуются с момента появления центров кристаллизации, которые обычно формируются на поверхностях раздела:

при контакте вода - газ, вода - сжиженный газ, сжиженный газ - влажный газ;

при конденсации воды из объема газа и на пузырьках газа при его барботировании через воду;

при контакте вода - металл за счет сорбции газа, растворенного в воде.

Метан образует прямолинейные структуры кристалла гидрата, этан - извилистые и нитевидные, пропан - разветвленные и беспорядочные структуры. Природные газы, включающие различные углеводороды, образуют смешанные гидраты со сложной кристаллической разветвленной структурой.

Изучение кинетики образования гидратов представляет научный и практический интерес, поскольку знание скорости их образования позволит определить частоту подачи ингибитора в скважины или газопроводы. Однако в литературе имеется очень мало работ по кинетике образования гидратов в динамических условиях, характеризующих реальные условия выделения гидратов в трубопроводах и аппаратах.

Известно, что скорость образования гидратов при контакте природного газа с водой увеличивается с понижением температуры и повышением давления. Большое влияние на скорость гндратообразования оказывают и условие массопередачи. Если гидратообразователь не растворяется в воде, преобладающее влияние на скорость образования гидрата оказывает абсорбция гидратообразователя водой - массопередача. В тех случаях, когда гидратообразователь хорошо растворим в воде, преобладающим фактором является интенсивность отвода тепла - теплопередача.

Зависимость времени перехода природного газа в гидратную решетку от давления при разных температурах приведена на рис. 1.3. Анализ кривых показывает, что с увеличением давления и понижением температуры повышается скорость образования гидрата. Однако при низких температурах повышение давления мало влияет на процесс гидратообразоваиия. Повышение же температуры замедляет процесс образования гидратов.

Практический интерес представляют исследования, показавшие влияние незначительной добавки (0,5-2,0 % мол.) некоторых органических соединений, таких, как этиленгликоль, метанол, этанол и пропанол, на ускорение процесса образования гидратов. На рис. 1.4 показано, как с введением метанола изменяется количество пропана, связанного в гидрат, и время образования гидрата. Как видно, с увеличением содержания метанола в водно-метанольном растворе количество пропана в смеси проходит через максимум. Характерно, что с увеличением времени образования гидрата максимум возрастает.

Присутствие азота в природном газе понижает температуру образования гидратов, а наличие сероводорода и диоксида у углерода повышает температуру гидратообраэования природного газа.

При транспортировании газоконденсата, особенно нестабильного, по трубопроводам при наличии в нем пресной или низкоминерализованной воды и природного газа возможно образование гидратных пробок. В процессе образования гидратов легких углеводородов происходит механический захват жидкого конденсата. Капли конденсата как бы оказываются окруженными кристалликами гидрата. Объем конденсата, захваченного при образовании льда, примерно в 1,5-2,0 раза меньше, чем при образовании гидратов.

В толще земной коры при наличии благоприятных климатических условий из воды и природного газа образуются целые гидратные зоны, толщина которых может достигать 1,5 км на суше и 300-700 м в океанических отложениях. По предварительным данным, гидратные зоны в осадочных породах могут залегать на 25 % площади материков и до 90 % акваторий океанов.

Гидраты, образующиеся в скважинах, шлейфах, газопроводах или аппаратах, разрушаются при снижении давления в системе, при разогреве аппарата или участка трубопровода, где произошло образование гидрата, а также при вводе ингибиторов - метанола, этанола и пропанола, гликолей, аммиака, хлорида кальция, способствующих разрушению гидратов.

Аммиак в качестве ингибитора гидратообразования применяется редко, так как он реагирует с диоксидом углерода, содержащимся в природном газе, и при этом образуется осадок карбоната аммония, который забивает запорную арматуру.


Рис. 1.3. Скорость перехода 100 мл. природного Рис. 1.4 Влияние метанола на объем пропана связанного в газа в гидратную решетку от давления гидрат при -10°С и 354,6 кПа:

при разных температурах 1-1ч. 2-2ч. 3-3ч. 4-4ч. 5-5ч. 6-7ч.45мин.

Ингибиторы гидратообразования подаются из специальных бачков, дозировочными насосами, индивидуальными на каждую скважину, или централизованно одним насосом с регулятором подачи в каждую точку. Зону газопровода, в которой могут выделяться гидраты, определяют графическим методом.

Вначале находят температуру газа на заданном участке газопровода, распределение давления на этом же участке и рассчитывают температуру гидратообразования. Затем полученные данные наносят на график (рис. 1.5). Заштрихованная площадь, расположенная между кривыми 2 и 3, показывает опасную зону гидратообразования.

Однако для образования гидратов необходимо присутствие воды, которая может выделиться при соответствующих термодинамических условиях или наличии капельной влаги, увлеченной газом.

Рис 1.5. Условия образования гидратов в газопроводе:

- кривая изменения давления;

- кривая гидратообразования;

- кривая изменения температуры.

Минерализованные пластовые воды способны понижать температуру гидратообразования природных газов. Это свойство следует учитывать при расчете количества антигидратных ингибиторов.

.3 Свойства жидких поглотителей

В настоящее время для абсорбционной осушки углеводородных газов в основном применяют ди- и триэтиленгликоли. При осушке «впрыском» как ингибитор гидратообразования находит применение этиленгликоль и метанол. Ряд производных ди- и триэтиленгликоля или побочные продукты, получаемые при их производстве, такие, как этилкарбитол, тетраэтиленгликоль, пропиленгликоль, эфиры диэтиленгликоля и др., хотя и обладают высокой гигроскопичностью, широкого применения в качестве осушающих агентов не нашли.

Гликоли представляют собой прозрачные бесцветные (химически чистые) или слабо окрашенные в желтый цвет гигроскопические жидкости, не имеющие запаха и обладающие сладким вкусом.

Качество товарных гликолей, выпускаемых отечественной промышленностью, отличается от качества химически чистых веществ. Технические требования на качество гликолей определяются областью их применения.

Гликоли являются веществами с относительно низкой токсичностью. Вследствие малой летучести гликолей при комнатной температуре опасности острого, отравления при вдыхании их паров нет. Попадая в организм через рот, гликоли представляют серьезную опасность, так как действуют на центральную нервную систему и почки, т. е. они обладают оральной токсичностью. Триэтиленгликоль обладает меньшей токсичностью, чем диэтиленгликоль, а пропиленгликоль вообще нетоксичен.

В зимнее время гликоли следует хранить в теплых помещениях, так как вследствие высокой вязкости при низких температурах транспортирование и слив затруднены.

Характерно, что диэтиленгликоль и триэтиленгликоль в сточных водах биологически не разрушаются, однако для диэтиленгликоля МКб.о.с составляет 200 мг/л, а для триэтиленгликоля - 10 мг/л.

Токсичность этиленгликоля и диэтиленгликоля в водоемах значительно превышает таковую для триэтиленгликоля и пропиленгликоля.

Глубина осушки в значительной степени зависит от температуры, при которой газ контактирует с абсорбентом. С повышением температуры контакта увеличивается парциальное давление воды над абсорбентом, при этом повышается точка росы осушаемого газа, и наоборот, с понижением температуры контакта точка росы осушаемого газа понижается. Обычно абсорбционная осушка применяется при температуре осушаемого газа не выше 45-50 °С.

Важное значение для эффективности осушки имеет концентрация абсорбента: чем меньше воды содержится в абсорбенте, тем ниже точка росы осушаемого газа. Как правило, для осушки газов, имеющих температуру до 40 °С, применяют растворы, содержащие 98,5 % (масс.) диэтиленгликоля или до 99 % (масс.) триэтиленгликоля.

При осушке газов, охлажденных до -30 °С, путем «впрыска» используют раствор этиленгликоля концентрации 80 % (масс.). Для осушки газа, имеющего температуру выше 40 °С, предпочтительно использовать диэтиленгликоль или триэтиленгликоль концентраций 98,5-99,8 % (масс.).

Первым реагентом, применяемым при осушке природных газов и бутенов, был гранулированный хлорид кальция и его растворы в воде. Затем он был заменен менее коррозийным поглотителем - гликолем или молекулярными ситами (цеолитами). В настоящее время раствор хлорида кальция на некоторых газовых промыслах применяют для борьбы с гидратами в скважинах. За рубежом находит применение осушка природных газов гранулированным и растворенным в воде хлоридом кальция.

Метанол широко применяют в газовой промышленности для борьбы с гидратами природных газов в скважинах, газопроводах и технологических установках. При низких температурах метанол хорошо растворяет сероводород и диоксид углерода.

Метанол - бесцветная, прозрачная, легкоподвижная и легколетучая жидкость; молекулярная масса 32,04. Температура кипения при атмосферном давлении, равна 64,65 °С, температура замерзания -97,70 °С, критическая температура 239,50 °С, критическое давление 7,9 МПа.

Метанол смешивается с водой во всех соотношениях и хорошо поглощает пары воды. При разбавлении метанола водой растворимость в нем газов уменьшается. При расчете процесса регенерации метанольных растворов пластовых вод, содержащих хлорид натрия, необходимо иметь данные по составу и температурам кипения таких смесей.

Оценка потерь гликолей за счет их растворимости в углеводородах представляет интерес для проектантов и эксплуатационников. Растворимость парафиновых, нафтеновых и ароматических углеводородов в диэтиленгликоле разной концентрации в интервале температур 0-60°С приведены на рис. 1.6. Анализ кривых показывает, что с повышением температуры увеличивается, а с введением воды уменьшается растворимость углеводородов в диэтиленгликоле. Наименьшей растворимостью в диэтиленгликоле обладают парафиновые углеводороды, наибольшей- ароматические. Снижение молекулярной массы парафиновых углеводородов улучшает их растворимость в диэтиленгликоле.

На рис. 1.7 приведена растворимость газоконденсата в диэтиленгликоле и полипропиленгликоле. Состав газоконденсата следующий (% масс.): ароматические углеводороды - 26,3, парафиновые углеводороды -- 44,1 и нафтеновые углеводороды - 29,6. Как видно из рисунка, растворимость газоконденсата увеличивается с повышением температуры и концентрации диэтиленгликоля.

Следует отметить хорошую растворимость различных углеводородов в метаноле. В табл. 1.1 приведена растворимость некоторых углеводородов в метаноле при разной температуре.

Метанол хорошо растворяется в гликолях. При подаче метанола в скважины и шлейфы и последующей осушке газа на установках низкотемпературной сепарации или в абсорберах метанол извлекают из газа гликолями, что снижает вязкость поглотителя. По экспериментальным данным, извлечение метанола из газа при абсорбционной осушке диэтиленгликолем, достигает 60-70 % от потенциала. Применяемые для осушки реагенты, свойства которых приведены выше, требуют в целях охраны окружающей среды глубокой очистки сточных вод или их сжигания, также как хвостовых газов десорбции. Необходимо продолжить научно-исследовательские работы с целью разработки новых, более эффективных и менее токсичных осушителей.

Рис. 1.6. Растворимость парафиновых углеводородов в диэтиленгликоле концентрации 97 % (масс.) (а), нафтеновых и ароматических углеводородов (б) при разной температуре:

К 4,7 - толуол, концентрации ДЭГ 97, 90 и 85 % (масс.); 2, 5, 8 - л-ксилол, концентрации ДЭГ 97, 90 и 85 % (масс.); 5, 9 - циклогексан, концентрации ДЭГ 97, 90 и 85 % (масс.)

Рис 1.7. Растворимость газоконденсата в гли- колях при разной температуре: 1, 2 - 97 и 90% (масс.) диэтиленгликоля соответственно; 3 - 99,5% (масс.) пропиленглнколя.

Таблица 1.1 Растворимость углеводородов в метаноле.

Углеводород

Растворимость * при различной температуре, г/100 мл


5 °С

10 °С

20°С

30 °С

40 °С

Пентан

62,5

81,0

Раст.

Раст.

Раст.

Гексан

32,4

37,0

49,5

83

»

Гептан

18,1

20

25,4

32,7

45,0

Октан

12,2

13,6

16,7

20,6

26,0

Нонан

8,4

9,5

11,6

14,2

17

Декан

6,2

6,8

8

9,8

12

Циклопектан

68

86,0

Раст.

Раст,

Раст.

Циклогексан



38,4

50,3

74,0


.3.1 Регенерация поглотителей

Существенное влияние на процесс осушки оказывает глубина регенерации раствора поглотителя, насыщенного водой. При концентрации регенерируемых растворов 96,0-97,5 % (масс.) применяется десорбция при давлении, близком к атмосферному. Стремление получить более концентрированные растворы привело к необходимости внедрения вакуумной регенерации или к подаче в систему десорбции нейтрального агента - природного газа, снижающего парциальное давление водяных паров и обеспечивающего получение регенерированных поглотителей концентрацией 98,0-99,95 % (масс.). Находит применение также азеотропная ректификация.

Можно получить регенерированные растворы гликолей концентрации до 99,95 % (масс.) при подаче отдувочного агента - осушенного газа - в испаритель или регенерационную колонну либо в процессе азеотропной ректификации.

Благодаря более высокой температуре разложения триэтиленгликоля его можно нагревать до более высокой температуры при атмосферном давлении, чем диэтиленгликоль, и получать высококонцентрированный раствор, что обеспечит лучшую депрессию точки росы осушаемого газа. Глубина осушки газа гликолями в основном зависит от температуры контакта газ - поглотитель и содержания остаточной влаги в регенерированном растворе гликоля.

Технология регенерации должна обеспечить концентрации гликолей, которая позволяет осушать газы до температуры, соответствующей заданной проектом точке росы газа в абсорбере.

Следует отметить, что выбор оптимальной схемы регенерации гликолей требует технико-экономического обоснования.

Регенерация при атмосферном давлении чаще всего применяется на промысловых и заводских установках низкотемпературной сепарации для выпаривания воды из 70 %-х растворов этиленгликоля и доведения их концентрации до 80 % (масс.). Раствор гликоля подогревается в паровых или огневых испарителях. На установках осушки головных сооружений магистральных газопроводов регенерация при атмосферном давлении применяется в южных районах СССР, где точки росы осушаемого газа равны -10 °С, а концентрация регенерированного раствора гликоля не превышает 97,5 % (масс.).

Схема регенерации гликоля, выполненная в ЦКБН, с использованием огневого подогревателя, аналогична схеме регенерации гликоля с подачей отдувочного газа (см. далее рис. 2.0.). Производительность установки 2 т/ч гликоля, насыщенного влагой, тепловая нагрузка подогревателя 1463 МДж/чг Глубина регенерации - от 70 до 80% (масс.) гликоля. Установка выполнена в виде отдельных блоков, в состав которых входят десорбер, огневой подогреватель и теплообменник, два насоса. Отдельно монтируют резервуары и емкости.

Технологическая схема установки регенерации этиленгликоля на Оренбургском газоперерабатывающем заводе приведена на рис. 2.1.

Рис. 2.1. Установка регенерации диэтиленгликоля с паровым подогревом:

- фазовый разделитель; 2 - сепаратор; 3 - фильтр; 4 - теплообменник; 5-десорбер; 6 - испаритель; 7 - конденсатор-холодильник; в - емкость орошения;  9 - насос орошения; 10 - холодильник.

Режим работы установки следующий: давление в фазовом разделителе-1,4 МПа и в сепараторе - 0,6 МПа; температура этиленгликоля на входе в десорбер - 75 °С, наверху десорбера - 100 °С, внизу испарителя - 135 °С, на выходе из десорбера регенерированного этиленгликоля яг40°С.

Концентрация раствора этиленгликоля, поступающего на регенерацию - 70 % (масс.) и регенерированного - 80 % (масс.).

Опыт показывает, что в этиленгликоле содержится 1 % (масс.) и выше диэтаноламина, увлекаемого .раствором с установки сероочистки. При вспенивании раствора в абсорбере в результате механического уноса концентрация диэтаноламина в этиленгликоле может достигать 20-30 % (масс.), что изменяет условия осушки.

Схема включает сепаратор, где происходит разделение смеси насыщенный раствор этиленгликоля - газоконденсат, сепаратор для сепарации газа, растворенного в этиленгликоле, теплообменники и десорбер, смонтированный на испарителе с паровым подогревом. Производительность установки 8 м3/ч этиленгликоля. Наверх колонны подается водяное орошение. Избыток влаги иногда направляется на установку сероочистки (для подпитки циркулирующего в системе диэтаноламина). В приведенной схеме исключается сброс сточной воды в канализацию.

В целях обеспечения надежного транспорта смеси газа и газоконденсата, особенно с морских месторождений, разработана схема одновременной их осушки. Осушка газа гликолем проводится в первой по ходу газа колонне. Осушенный газ поступает во вторую колонну, где извлекает воду из газоконденсата, стекающего по тарелкам. Увлажненный газ, поглотивший влагу, содержащуюся в конденсате, осушается вторично в верхней секции этой же колонны, разделенной глухой тарелкой. Затем он смешивается с осушенным газоконденсатом и в виде газожидкостной смеси подается в газопровод. Насыщенные влагой гликоли из обеих колонн подаются в общую систему регенерации.

Практический интерес представляют схемы регенерации гликоля, в которых вместо вакуума используется отдувка газом. Следует, однако, учесть, что вакуум-насос заменяется циркуляционным компрессором, так как выпускать отдувочный газ в атмосферу нерационально. Схема установки регенерации гликоля с подачей отдувочного газа в систему регенерации с огневым подогревателем приведена на рис. 2.0. Насыщенный влагой гликоль проходит через змеевик дефлегматора 1 размещенного в верху выпарной колонны 2. Конденсирующийся водяной пар обеспечивает необходимое орошение верха колонны. Колонна заполнена насадкой из колец Решига или седел Берля. Далее влажный гликоль проходит через теплообменник 8 и поступает в десорбер, где из него частично отгоняется вода. В испарителе гликоль нагревается за счет сжигания топливного газа в топке 6.

Из испарителя гликоль перетекает в отпарную колонну 9, в низ которой подается нагретый отдувочный газ. Здесь в колонне 9 концентрация гликоля доводится до 99,9 % (масс.) и выше. Температура верха колонны регулируется подачей части холодного гликоля через змеевик на верху колонны.

Рис. 2.0. Схема установки регенерации гликоля с подачей отдувочного газа:

-дефлегматор; 2 - выпарная колонна; 3 - термопара; 4 - регулирующий клапан; 5 - испаритель; 6-топка: 7 - буферная емкость; 8 - теплообменники; 9 - отпарная колонна.

К недостаткам схемы следует отнести отвод отдувочного газа и паров воды в атмосферу, что приводит к потерям газа и загрязнению окружающей среды. Для ликвидации потерь газа устанавливают циркуляционные газодувки и колонны осушки циркулирующего газа.

При необходимости получения триэтиленгликоля концентрацией до 99,9 % (масс.) можно подавать на установку неосушенный газ, подогретый до 140-160°С.

При использовании осушенного газа удается получить гликоль концентрацией 99,97 % (масс.). Отдувочный газ можно вводить частично в испаритель через перфорированную трубу, расположенную под топкой, что позволяет интенсифицировать теплообмен и уменьшить вероятность перегрева гликоля. Опыт показал, что наиболее эффективным является ввод газа в отпарную колонну.

В некоторых схемах в качестве отдувочного газа предлагается использовать отходящие газы, отбираемые из дымовой трубы огневого подогревателя. Газы охлаждаются, отделяются от влаги, подогреваются в теплообменнике и подаются в отпарную камеру. Однако наличие кислорода в продуктах сгорания газа может вызвать окисление гликоля, поэтому использование отходящего газа на наш взгляд не представляет особого интереса, хотя обеспечивает экономию электроэнергии для привода вакуум-насоса.

Для получения точек росы газа от -10 до -25 °С и ниже применяют вакуумную регенерацию гликолей. Вакуум в системе создается при конденсации водяных паров в конденсаторе, а неконденсирующиеся газы отсасываются вакуум-насосом. Наличие избыточного давления гликоля и газа, теряемое в процессе регенерации, позволяет использовать их энергию для получения вакуума.

Регенерация влажного гликоля осуществляется в две стадии. На первой стадии в испарителе отгоняется вода при атмосферном давлении; на второй стадии вода отгоняется в испарительной камере, вакуум в которой создается системой воздушного холодильника и эжектора . За рубежом патентуют схемы, в которых вакуум в испарительной камере поддерживается эжектором, работающим на осушенном газе, выходящем из абсорбера.

Парогазовая смесь из эжектора направляется в испаритель, работающий при атмосферном давлении, где эта смесь используется в качестве отдувочного газа. Применение эжекторов позволяет снизить расход электроэнергии, так как исключает привод вакуум-насоса. Для широкого промышленного внедрения методов с использованием эжекторов для создания вакуума необходимо накопить опыт эксплуатации таких установок.

При осушке сероводородсодержащего газа сероводород в значительном количестве растворяется в гликоле. В процессе регенерации сероводород десорбируется и сжигается на факеле, загрязняя окружающую среду диоксидом серы, при этом, конечно, имеют место и потери серы. В целях снижения потерь сероводорода и защиты окружающей среды во ВНИИгаз разработана безотходная технология осушки сероводородсодержащих газов (рис. 2.1). Процесс заключается в следующем.

Рис. 2.1. Схема осушки сероводородсодержащих газов и регенерация гликоля:

- абсорбер; 2- отпарная колонна; 3 - десорбер; 4 -• очистная колонна; 5 -теплообменники; б - конденсатор; 7 - насос.

Диэтиленгликоль, насыщенный сероводородом, выходящий с низа абсорбера 1, поступает после нагрева в отпарную колонну 2. Здесь с помощью нагретого бессернистого газа, поступающего из колонны 4, из него выделяется сероводород. Затем газ возвращается обратно в абсорбер, и с основным потоком газа направляется на установку сероочистки. Раствор диэтиленгликоля после отдувки сероводорода поступает в обычную систему регенерации. Бессернистый газ для отдувки получается на этой же установке путем очистки его регенерированным диэтиленгликолем в специальной очистной колонне либо подается со стороны. Потери серы при осушке 1 млрд. м3 газа/ содержащего 5% (об.) сероводорода, очень велики и достигают 2000 т в год.

При применении подобной схемы исключается сброс сероводорода на факел, снижается также коррозионность раствора гликоля, поступающего в систему десорбции. Аналогичную схему можно применять и для дегазации серйводородсодержащего газоконденсата и воды. Такие установки целесообразно сооружать на газовых промыслах перед транспортом газа на газоперерабатывающие заводы. Для обеспечения надежной работы газопроводов, транспортирующих сероводородсодержащий газ, рекомендуется осушать его до 60 % относительной влажности. Необходимо также систематически подавать ингибиторы в трубопроводы.

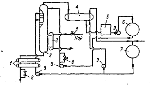
Регенерация метанола из пластовых вод, получаемых при сепарации продукции скважин, становится неотъемлемой частью технологической схемы газового промысла и подземного хранилища. Для извлечения метанола сооружаются специальные установки. Схема такой установки приведена на рис. 2.2.

Выделение метанола из воды осуществляется в ректификационной колонне 2, оборудованной 26 тарелками. Режим процесса следующий: давление 98-108 кПа, температура верха колонны 68-72 °С, низа - 103-105 °С; сырье подается на 15-ю и 21-ю тарелки. Концентрация метанола в сырье составляет 30-60 % (масс.); концентрация метанола, получаемого с верха колонны, равна 90-96 % (масс.). Содержание метанола в кубовой жидкости 1,0-1,5 % (масс.). При осушке газа, содержащего метанол, диэтиленгликолем одновременно с водой поглощается и метанол, который затем выделяется при десорбции из водного конденсата на установках регенерации метанола.

Рис. 2.2. Схема установки регенерации метанола:

-теплообменники; 2- ректификационная колонна; 3 - паровой подогреватель; 4-конденсатор-холодильник; 5 - промежуточная емкость; 6, 7 - резервуары чистого я насыщенного метанола; 8- регулирующий клапан; 9-насосы.

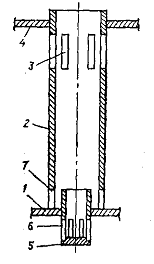
Осушка газа хлоридом кальция осуществляется в колонне, состоящей из трех секций. Нижняя секция является сепаратором и служит для отделения капельной влаги и углеводородного конденсата. Средняя секция оборудована барботажными тарелками специальной конструкции (в количестве 5-10 шт.), по которым противотоком к поднимающемуся газу сливается раствор хлорида кальция. Третья секция засыпана твердым хлоридом кальция. Колонна для осушки газа и устройство тарелки показаны на рис. 2.3.

Газ, проходящий с большой скоростью через патрубок, увлекает за собой раствор хлорида кальция в виде тумана и мелких капель. Эти капли уносятся вверх в камеру, где интенсивно смешиваются с турбулентным потоком газа. Более тяжелые частицы раствора отделяются от газа на выходе из камеры смешения и направляются специальной отбойной пластинкой вниз на сборный лоток. Отсюда раствор хлорида кальция перетекает через сливной стакан в поддон и из него снова увлекается вверх потоком газа. Таким образом, происходит циркуляция раствора поглотителя. Избыток раствора хлорида кальция из поддона стекает на лежащую ниже тарелку.

Наибольшую концентрацию имеет раствор, поступающий на верхнюю тарелку колонны. Отработанный раствор хлорида кальция с нижней тарелки стекает в сепарационную секцию колонны, а затем отводится из колонны. Доосушка газа происходит при его движении через слой твердого хлорида кальция.

В процессе эксплуатации колонны уровень гранулированного хлорида кальция постепенно понижается, но точка росы осушаемого газа остается постоянной, пока не «отработается» около 75 % осушаемого слоя. После этого колонну необходимо заполнить вновь до требуемого уровня. Обычно в колонну добавляют 0,3-0,5 м3 таблеток хлорида кальция в зависимости от влажности газа. Частота возобновления слоя хлорида кальция зависит от объема пропускаемого газа, его температуры и объема осушающей секции. Например, при осушке 99 тыс. м3сут газа с одной скважины при температуре 50 °С колонну перезаряжают ежемесячно. Для установки, обслуживающей скважину с суточным дебитом 2880 м3, требуется перезарядка через 6 мес. Рекомендуемый диаметр таблеток хлорида кальция 12,5-25,0 мм. Допускается не более 10% таблеток размером <6 мм.

Производительность установки рассчитывают с запасом на 1/3 от начального расчетного дебита скважин. При снижении производительности установки ниже 2/3 от номинальной мощности ухудшается контакт газа с раствором на тарелках, и основная осушка осуществляется в слое гранулированного хлорида кальция. При этом весь слой увлажняется, отдельные таблетки слипаются и образуются перемычки между ними, которые прилипают к стенкам колонны. Растворившийся хлорид кальция стекает вниз, образует каверны и каналы между барботажной секцией с твердым осушителем. Для уплотнения слоя рекомендуется подавать воду на стенки колонны, чтобы опустить слой и обеспечить заполнение образовавшихся пустот, после чего добавляют свежий хлорид кальция. Ввиду малой стоимости хлорида кальция раствор не регенерируют.

Рис. 2.3. Колонна для осушки газа хлоридом кальция (а) и устройство тарелки (б):

- сливной стакан; 2 -сборный лоток; 3- отбойная пластина; 4 - камера смешения; 5 - патрубок; 6 - поддон.

.4 Аппаратура установок абсорбционной осушки

Процесс массопередачи при абсорбции протекает на поверхности соприкосновения фаз, поэтому в абсорберах должна быть создана развитая поверхность соприкосновения между газом и жидкостью. Как правило, для абсорбционной осушки углеводородных газов используют колонные аппараты, оборудованные тарелками разной конструкции или заполненные насадкой. В нижней и верхней секциях абсорбера размещают сепараторы для удаления капельной жидкости. Рассмотрим ниже конструкции тарелок, которыми обычно оборудуется абсорбер.

Колпачковые тарелки благодаря широкому диапазону эффективной работы особенно целесообразно применять на газовых промыслах, где со временем наступает период падающей добычи. В колпачковых тарелках газ на тарелку поступает через патрубки, покрытые колпачками с прорезями. Проходя через прорези, газ разбивается на отдельные струи и пузырьки, которые движутся через слой жидкости, образуя пену и брызги, где и происходит тепло и массообмен между газом и жидкостью.

Необходимость осушки больших объемов добываемого газа направило конструкторскую мысль на создание более высокопроизводительных и эффективных контактных устройств, чем колпачковые тарелки. К таким конструкциям относятся инжекционные тарелки. Инжекционная тарелка работает по следующей схеме (рис. 5.2): газ проходит в камеру смешения 5 снизу вверх и через сопло 6 «всасывает» жидкость, находящуюся на поддоне. В камере смешения происходит интенсивный массообмен в прямотоке между газом и жидкостью. Жидкость отделяется в отбойнике 4 и через сливной стакан 8 стекает обратно в поддон 1. Каждая тарелка работает в прямотоке, а весь абсорбер в режиме противотока.

Опытный абсорбер диаметром 1600 мм был оборудован четырьмя инжекционными тарелками и ситчатыми отбойниками. Испытания проводили при давлении 2 МПа и температуре 20- 39 °С. «Скорость газа в период испытаний составляла 0,54- 0,56 м/с, производительность аппарата 1,9 млн. м3/сут. Осушенный газ имел точку росы на1-3°С выше равновесной. Перепад давления в абсорбере составил 49,3 кПа, к. п. д. тарелок 0,83-0,86. Производительность абсорбера с инжекционными тарелками в 2,5 раза выше, чем у аналогичного аппарата с колпачковыми тарелками.

Рис. 5.3. Элемент контактной тарелки с тангенциальным вводом газа:

- полотно тарелки; 2 -контактный элемент; 3, 7 - прорези; 4 - отбойная перегородка; 5 - стакан; 6 - тангенциальные прорези.

Рис. 5.2. Схема работы инжекционной тарелки:

- поддон; 2- стойка; 3 - сборный лоток; 4 -отбойники; 5 -камера смешения; 6 - сопло; 7 - дозирующее отверстие; 8 - сливной стакан.

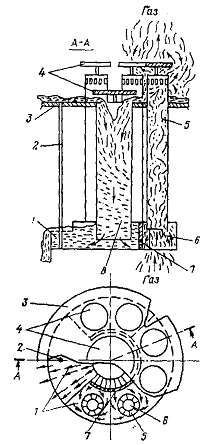
Рис. 5.4. Схема абсорбера и варианты контактных элементов:

/ - выход сухого газа; // - филътр-сепарационная тарелка; / / / - выход отсепарированного гликоля;- массообменные устройства;V - сепарационнея тарелка; V/ - выход отсепарированной жидкости; - вход сырого газа; VIII - выход насыщенного гликоля; IX -вход регенерированного гликоля;

-9 - контактные элементы.

За последние годы в СССР было разработано десять разных конструкций массообменных контактных устройств. В целях выбора оптимального варианта тарелки для абсорбционной осушки была проведена оценка имеющихся конструкций и их технико-экономический анализ. Оценка проводилась по удельным металлозатратам и относительной стоимости изготовления. Исходные данные для сравнения: рабочее давление в аппарате 5 МПа; температура стенки корпуса 40 °С; плотность газа 0,711 кг/м3; начальная влажность газа 1 г/м3; точка росы осушенного газа-15 °С; удельный расход диэтиленгликоля 0,016 кг/кг газа; концентрация диэтиленгликоля - 99,5% (масс.). Корпус и днища изготовляются из стали 16ГС, внутренние устройства-ст. 3. За базовый вариант принят абсорбер с типовыми колпачковыми тарелками ТСК-Р-16, Различные конструкции контактных элементов приведены на рис. 5.4. Результаты технико-экономических расчетов приведены на рис. 5.5.

Анализируя графики удельной металлоемкости, мы видим, что наибольшую массу имеют абсорберы с колпачковыми тарелками-вариант 1. Промежуточное место занимают варианты 5, 6 и 9 и наименьшую металлоемкость имеют варианты с центробежными контактными элементами. Аналогичная картина наблюдается при оценке относительной стоимости абсорберов. Наибольшую стоимость имеют абсорберы с колпачковыми тарелками и с тангенциальным завихрителем. Далее идут тарелки с клапанно-вихревыми и клапанно-центробежными элементами (варианты 7, 5); наименьшую стоимость имеют абсорберы с тарелками по вариантам 2,3 и 9.

В конструкциях 6 и 9 массообмен осуществляется без закручивания, а в конструкциях 3, 4 и 7-в закрученном потоке при помощи завихрителей. Завихрение потока вызывает интенсификацию массопередачи и обеспечивает лучшую сепарацию газа, что позволяет повысить производительность абсорбера по газу сравнительно с колпачковыми тарелками и патрубками без завихрителей. Закручивание потока в конструкциях 2 и 5 производится при помощи тангенциального ввода газа. Такая система создает условия для лучшей сепарации жидкости, что позволяет уменьшить высоту контактного элемента по сравнению с вариантами 3, 4, 7. Клапанно-центробежные завихрители в вариантах 7 и 8 обеспечивают работу тарелки в широком диапазоне нагрузок.

Абсорберы с инжекционными элементами, работающие на высоких скоростях газа, должны быть оборудованы эффективными сепараторами, обеспечивающими минимальный унос гликоля. Повышенные потери гликоля из-за его высокой стоимости могут быстро нивелировать выигрыш в металлозатратах, получаемых за счет интенсификации процесса осушки.

Испытания абсорбера производительностью 10 млн. м3/сут, оборудованного пятью сетчатыми тарелками в сочетании с контактно-сепарационными элементами с прямоточными патрубками, показали возможность замены трех технологических линий осушки производительностью 3 млн. м3/сут, включающих три абсорбера с 16 колпачковыми тарелками каждый. Нижняя сепарационная секция абсорбера имеет коалесцирующую ступень в виде сетчатой насадки и сепарационную тарелку с прямоточными патрубками. Верхняя сепарационная секция состоит из батареи коалесцирующих патронов и сепарационной тарелки с прямоточными патрубками. Абсорбер рассчитан на рабочее давление 9,4 МПа, имеет диаметр 1800 мм, масса его 61,5 -103 кг. Диапазон стабильной работы 5-12 млн, м3/сут при давлениях 8,0-9,2 МПа. Точка росы осушенного газа до - 25 °С; удельный расход диэтиленгликоля 8,0-17,6 кг/1000 м3 газа, унос диэтиленгликоля - до 15 г/1000 м3 газа [5].

Рис. 5,5. Удельная металлоемкость абсорберов при разной производительности:

/-10 - варианты контактных злементов (см. рис, 8,4).

.5 Осушка газов абсорбцией

Абсорбция весьма экономична при осушке больших потоков природных газов под высоким давлением и депрессии точки росы до 60 °С. При необходимости иметь депрессию точки росы 60-80 °С и выше возможно применение абсорбции и адсорбции. В этом случае необходим сравнительный технико-экономический анализ обоих процессов исходя из конкретных условий их осуществления.

Использование жидких поглотителей при осушке газа по сравнению с твердыми поглотителями характеризуется следующими преимуществами:

возможность осушки газов, которые содержат вещества, отравляющие твердые сорбенты;

непрерывность процесса;

простота автоматической системы управления;

осушка газа до точки росы -70 °С.

Абсорбцией называется процесс поглощения газов или паров из газовых либо паровых смесей жидкими поглотителями.

При абсорбции влаги из газа процесс будет протекать до тех пор, пока парциальное давление поглощенной влаги в газе не достигнет величины парциального давления над жидкостью. Абсорбированная поглотителем влага выделяется из него в результате последующей десорбции.

Десорбция - процесс, обратный абсорбции, и его осуществляют при нагревании поглотителя, снижении давления в системе, либо подаче отдувочного газа или азеотропного компонента. Влага выделяется из раствора и переходит в газовую фазу, так как равновесное давление ее выше, чем давление в десорбируемом поглотителе.

Десорбция - наиболее сложная стадия в схеме осушки газа, и поэтому задача глубокого выделения поглощенной влаги при наименьшей затрате энергии имеет большое значение. Оптимальное решение - создание противотока между поглотителем и десорбирующим агентом, в связи с этим для десорбции используют противоточные колонные аппараты с барботажными тарелками или насадкой. Осушка углеводородных газов жидкими поглотителями обычно осуществляется в вертикальных колонных аппаратах с барботажными тарелками. Некоторое распространение на промыслах, особенно за рубежом, имеют горизонтальные распыливающие абсорберы.

.5.1 Осушка в барботажных абсорберах

Установки абсорбционной осушки в барботажных аппаратах имеют следующую технологическую схему (рис. 1.8.). Влажный газ направляется в абсорбер /, где в нижней скрубберной секции происходит отделение капельной влаги. Абсорбер оборудован тарелками различной конструкции. Навстречу потоку газа в абсорбер подается раствор гликоля, вводимый на верхнюю тарелку. Стекая по тарелкам вниз, раствор извлекает влагу из газа и, насыщаясь, отводится с низа колонны (или с глухой тарелки) на регенерацию.

Газ проходит верхнюю сепарационную секцию абсорбера, где отделяются капли унесенного раствора гликоля. Осушенный газ поступает в газопровод. Раствор гликоля, насыщенный влагой и газом, выходит из абсорбера и поступает в сепаратор 2. Здесь из раствора выделяются газы, поглощенные в абсорбере. Далее раствор гликоля проходит первый теплообменник 3, где подогревается за счет тепла горячего поглотителя, выходящего с низа десорбера 6. Затем раствор проходит второй теплообменник и сепаратор 2 и далее поступает в десорбер 6 для извлечения влаги. Низ десорбера соединен с кипятильником 11 где раствор нагревается за счет тепла водяного пара или огневого подогрева.

Выделение влаги может осуществляться под вакуумом или при атмосферном давлении. При работе под вакуумом (53,3- 79,9 кПа) водяные пары и растворенный в гликоле газ поступают в конденсатор-холодильник 7. Водяной пар конденсируется и образовавшаяся вода (конденсат) собирается в емкость 8, откуда он частично подается наверх десорбера как орошение, а избыток конденсата отводится. Несконденсировавшиеся газы откачиваются водокольцевым вакуум-насосом 10 в атмосферу или на факел. Для обеспечения отвода регенерированного раствора гликоля из десорбера и водяного конденсата, а также для создания подпора на насос орошения десорбер устанавливается на 12-13 м выше нулевой отметки. Часто для откачивания раствора из десорбера устанавливают специальный насос, в этом случае высота поднятия десорбера может быть снижена.

При работе при атмосферном давлении вакуум-насос отсутствует.

Рис. 1.8. Схема установки осушки в барботажных абсорберах:

- абсорбер; 2 - сепараторы; 3 - теплообменники; 4 - промежуточная емкость, 5 - насосы; 6 - десорбер, 7- конденсатор-холодильник; 8 - емкость орошения; 9 - насос орошения; 10 - вакуум-насос; 11- кипятильник.

.5.2 Осушка в распыливающем абсорбере

Вариант осушки газа в распыливающих абсорберах представлен на рис. 1.9. Осушка газа проводится путем распыливания раствора гликоля в абсорбере. Эффективность процесса определяется степенью распыла раствора, осуществляемого специальными форсунками, и сепарацией капельной жидкости. Распыленная жидкость создает большую поверхность контакта фаз, а высокие скорости газа обеспечивают интенсивный масообмен и хорошее распределение частиц в потоке. Наилучший массообмен происходит при высоких относительных скоростях газа и капель, что достигается при «впрыске» гликоля навстречу газовому потоку. Пределом дробления частиц жидкости является образование тумана, выделение частиц которого лимитируется существующими конструкциями сепараторов.

Оптимальная температура осушки составляет 15-30°С. При низких температурах сказывается вязкость гликолей, а высокая температура увеличивает давление насыщенных паров гликолей, что повышает потери гликоля. Следует отметить, что подачу гликоля к форсункам можно осуществлять при температуре выше 30 °С, т. е. когда вязкость его невелика. Во время контакта с газом гликоль мгновенно принимает температуру потока, так как относительное количество его незначительно.

Процесс осушки в каждой ступени, состоящей из форсунки и сепаратора, проходит в конусе форсунки преимущественно в момент образования капель гликоля и заканчивается в объеме аппарата и в сепараторе. Механические примеси, содержащиеся в гликоле, забивают сопла форсунок, поэтому раствор гликоля предварительно пропускается через специальные фильтры, обеспечивающие удаление частиц размером выше 5 мкм.

Исследование процесса осушки в распыливающих абсорберах показало, что до 70-80 % влаги удаляется в первой ступени. Каждая ступень может включать от одной до шести форсунок. Число ступеней распыливания (практических тарелок) принимается не менее трех, причем после каждой ступени проводится сепарация жидкости и ее отвод. Депрессия точки росы достигает 35-45°С, и точка росы выходящего газа минус 25-30 °С И ниже в зависимости от концентрации гликоля и температуры контакта. Подача регенерированного гликоля в каждую ступень обеспечивает высокую степень осушки.

Перед поступлением в распылительную камеру из газа должны быть тщательно удалены капельная влага, механические примеси и конденсат. Для этих целей служит первая секция аппарата, где имеется отбойная перегородка и сетчатый сепаратор. Выделившаяся жидкость стекает в емкость и удаляется из системы. Для очистки первого участка аппарата от грязи, а также для контроля и монтажа распыливакицих и сепарирующих элементов в абсорбционной части предусмотрен фланец. Конструкция промежуточных сепараторов обеспечивает высокую степень отделения жидкой взвеси. Сепаратор вписывается в объем абсорбера и образует с распыливающим участком одно целое. Концевая ступень сепарации включает сетчатый отбойник для отделения капель гликоля и емкость для сбора жидкости.

Вместо форсунок для осушки газа может применяться труба Вентури, в горловину которой насосом подается раствор гликоля (высокие скорости в горловине - 40 м/с и выше - создают хороший распыл жидкости). Каждая ступень контакта включает трубу Вентури и сепаратор. Применение труб Вентури позволяет исключить форсунки и обеспечить условия для более надежной эксплуатации установок осушки, особенно в промысловых условиях.

Система регенерации гликоля на установке осушки «впрыском» представлена ректификационной колонной с встроенным дефлегматором (см. рис. 1.9). Насыщенный водой гликоль нагревается в змеевике, смонтированном в емкости, и направляется в ректификационную колонну 4, установленную непосредственно на кубе. Подогрев жидкости в кубе проводится путем сжигания топливного газа в жаровой трубе. Колонна засыпана насадкой и имеет наверху дефлегматор, охлаждаемый атмосферным воздухом.

В целях глубокой регенерации раствора гликоля сливная труба, соединяющая куб с емкостью, заполняется насадкой. Под насадку подается сухой газ для удаления влаги из горячего раствора, стекающего по насадке. Регенерированный гликоль из емкости насосом прокачивается через фильтр и подается к форсункам.

Проводились опыты по очистке газа от сероводорода и одновременной осушке его смесью амина и гликоля. При этом был получен газ с точкой росы -6°С и остаточным содержанием сероводорода 0,23 % (об.).

Учитывая высокие требования к глубине очистки газа оторганических соединений серы, возможности применения распыливающих абсорберов для этих целей должны быть детально изучены. .

Общие потери триэтиленгликоля при давлении 10 МПа и температуре 20 °С составляют от 10 до 15 г на 1000 м3 газа.

Рис. 1.9. Схема установки осушки в распыливающем абсорбере:

 - абсорбер; 2 - участок распыления гликоля; 3 - емкости; 4 - ректификационная колонна; 5 - испаритель; 6 - емкость для гликоля; 7 - насос системы Кимрея; 8- фильтр.

гидрат абсорбционный осушка сепарация

1.5.3 Двухступенчатая абсорбция

Для снижения эксплуатационных затрат при' глубокой осушке газа был предложен процесс двухступенчатой абсорбции (рис. 2.0). Осушка осуществляется в абсорбере 2, в который раствор гликоля разной концентрации вводится в две точки по высоте аппарата - на 3 и 10-ю тарелки.1 При использований триэтиленгликоля в качестве осушителя на 3ю тарелку абсорбера подается основное количество частично регенерированного триэтиленгликоля концентрации 98,0 % (масс.). Этот раствор извлекает из газа большую часть влаги. На 10-ю тарелку подается остальной гликоль, концентрации 99,9 % (масс.) и выше, с помощью которого газ осушается окончательно.

Регенерация раствора триэтиленгликоля, насыщенного водой, также проводится в две ступени. На первой ступени в десорбере И при температуре 204 °С и атмосферном давлении концентрация гликоля доводится до 98,0 % (масс.). Часть этого раствора и подается на 3-ю тарелку абсорбера. Оставшееся количество направляется в отпарную колонну 12 (II ступень), куда подается отдувочный газ. Здесь концентрация раствора гликоля доводится до 99,9 % (масс.) и выше, и этот поглотитель подается на 10-ю тарелку абсорбера.

Осушенный газ имеет точку росы -70 °С. Для глубокой регенерации абсорбента, поступающего на вторую ступень абсорбции, могут применяться цеолиты.-Абсорбент подается поочередно в два аппарата, в которых извлекается остаточная влага и концентрация гликоля достигает 99,90-99,88 % (масс.). К недостаткам процесса относится необходимость специальной системы регенерации цеолитов.

В осушенном газе остаются следы гликоля, которые, поступая вместе с осушенным газом в теплообменники установок ожижения метана или получения этана и гелия, забивают трубки, ухудшают теплопередачу и повышают их гидравлическое сопротивление. Для извлечения паров гликоля, содержащихся в осушенном газе, на верхнюю секцию абсорбера (схема Притчарда, рис. 2.0) подается пентан. Подача пентана не является оптимальным решением, направленным на извлечение паров гликоля, так как для его извлечения из газа, направляемого на дальнейшую переработку, требуется добавочный холод. Пары гликоля из осушенного газа можно также адсорбировать активированным углем.

Сравнительные технико-экономические показатели процессов адсорбционной и абсорбционной осушки приведены в табл. 2.1. Как следует из таблицы, глубокая абсорбционная осушка для данного конкретного примера более экономична, чем адсорбционная. Однако выводы о целесообразности замены адсорбционной осушки абсорбцией высококонцентрированным гликолем можно будет сделать после накопления опыта эксплуатации таких установок.

Рис 2.0. Схема установки двухступенчатой абсорбции

,3 - сепараторы; 2 - абсорбер; 4 - воздушный холодильник; 5,14 - емкости; 6,7,8 - насосы; 9,13,15 - теплообменники; 10 - фильтры; 11 - десорбер; 12 - отпарная колонна.

Таблица 2.1. Технико-экономические показатели процессов адсорбционной и абсорбционной осушки

Показатели

Осушка на циолитах

Одноступенчатая осушка триэтиленглнколем

Двухступенчатая осушка трнэтиленглнхолем

Капитальные затраты с учетом доставки оборудования и стоимости сорбентов, %

100

77

87

Расход газа на топливо и отдувку,

100

74

38

Расход электроэнергии, %

100

36.5

36.5

Себестоимость осушки с учетом потерь сорбентов (срок службы цеолита- 4 года), %

100

14

14


1.5.4 Осушка газов на промысловых установках низкотемпературной сепарации на газоперерабатывающих заводах

При добыче газа из газоконденсатных месторождений извлечение конденсата и осушка совмещаются в одном процессе низкотемпературной сепарации (НТС). При охлаждении газа за счет дросселирования или применения искусственного холода происходит одновременное выделение углеводородов и влаги. Для предотвращения образования гидратов в теплообменники вводят (впрыскивают) метанол или гликоли. Схема установки низкотемпературной сепарации на промыслах приведена на рис. 4.4.

Газ, выходя из скважин под высоким давлением, по промысловым трубопроводам, поступает на сборный пункт, где размещены установки НТС. В сепараторе 1, работающем при давлении 10-15 МПа, отделяются конденсат и влага, выделившиеся из газа на пути от пласта до сепаратора.

Далее газ проходит через теплообменник 2, где охлаждается обратным потоком газа, выходящего из сепаратора 3, дросселируется в дроссельном устройстве или эжекторе до давления 5,5-7,5 МПа, при этом охлаждается, и поступает в сепаратор 3.

Перед теплообменником в газ вводится метанол или этиленгликоль. Конденсат с низа сепараторов 1 и 3 собирается в емкости 4. Газ из сепаратора иногда эжектируется основным потоком газа высокого давления и возвращается в сепаратор 3 или используется на установке. Конденсат и гликоль (или метанол) отводятся раздельно. Конденсат подвергается стабилизации, а гликоль или метанол поступает на установки регенерации. На газоперерабатывающих заводах для осушки газа и извлечения углеводородов применяют низкотемпературную конденсацию. Технологическая схема установки низкотемпературной конденсации и извлечения углеводородного конденсата оборудуется системой подачи этиленгликоля в теплообменники. Температура охлаждения газа и точка росы минус 30 °С. Рассмотрим условия работы узла осушки попутного нефтяного газа на малогабаритной установке (рис. 4.5).

Рис. 4.4. Схема установки низкотемпературной сепарации на промыслах:

- сепаратор; 2 - теплообменник; 3 - низкотемпературный сепаратор; 4 - разделитель гликоля и конденсата; 5 - установка регенерации гликоля; 6 - фильтр.

Рис. 4.5 Схема установки низкотемпературной конденсации на малогабаритной установке.

- холодильник; 2 - водоотделитель; 3 - теплообменник; 4 - пропановый охладитель; 5 -трехфазный сепаратор; 6 - отстойник; 7 -сепаратор; 8 - регенератор гликоля; 9 - насос; 10 - фильтры для гликоля.

Сырой газ поступает с промыслов под давлением 0,1 МПа и сжимается трехступенчатым поршневым компрессором до давления 4,5 МПа. При этом в межступенчатых холодильниках газ охлаждается до 35-40 °С, из него выделяется влага. Сжатый газ поступает далее в теплообменники 3, где вначале охлаждается обратным потоком холодного газа, затем в пропановом охладителе 4 до температуры минус 25-30 °С. С такой температурой газ поступает в трехфазный сепаратор 5. Для предупреждения образования гидратов в теплообменники и охладитель с помощью специальных форсунок впрыскивается этиленгликоль концентрацией 75-80 % (масс.)

Основное количество влаги выпадает при сжатии газа до 4,5 МПа; она отделяется в сепараторах и выводится из системы. В теплообменниках выделяется меньшая часть влаги, которая удаляется в трехфазном сепараторе вместе с этилен гликолем. Температура образования гидратов для указанного газа составляет 21 °С. Следовательно, в первый и последующий теплообменники и охладитель следует подавать этиленгликоль.

Следует отметить, что в растворе этиленгликоля содержится много механических примесей, включающих свыше 70 % (масс.) железа. Для обеспечения нормальной работы форсунок необходимо систематически очищать фильтр, иначе происходит быстрое засорение форсунок. Разделение раствора этиленгликоля и конденсата, подогретого в отстойнике трехфазного сепаратора до 15-20°С, происходит успешно. На газоперерабатывающих заводах, работающих по схеме низкотемпературной конденсации, при охлаждении газа до более низких температур, например на одном из заводов США, в теплообменники подают метанол. Схема установки такова. Газ, содержащий 85 % (об.) метана, 10 % (об.) этана и 5 % (об.) диоксида углерода при давлении 3,8 МПа охлаждается в трех теплообменниках. В первый теплообменник, где газ охлаждается до -43 °С, подается 95 %-й метанол. Насыщенный влагой 94 %-й метанол отделяется от газа в сепараторе и подается во второй теплообменник, где газ охлаждается до -53 вС. После сепарации метанол подается в третий теплообменник, где газ охлаждается до-13 °С. Обводненный метанол направляется на регенерацию. Удельный расход метанола составляет 1,56 кг на 1000 м3 газа. Поскольку метанол извлекает значительное количество диоксида углерода, соответственно уменьшается мощность установки по очистке товарного этана.

2. Осушка в барботажных абсорберах

Установки абсорбционной осушки в барботажных аппаратах имеют следующую технологическую схему (рис. 1.8.). Влажный газ направляется в абсорбер /, где в нижней скрубберной секции происходит отделение капельной влаги. Абсорбер оборудован тарелками различной конструкции. Навстречу потоку газа в абсорбер подается раствор гликоля, вводимый на верхнюю тарелку. Стекая по тарелкам вниз, раствор извлекает влагу из газа и, насыщаясь, отводится с низа колонны (или с глухой тарелки) на регенерацию.

Газ проходит верхнюю сепарационную секцию абсорбера, где отделяются капли унесенного раствора гликоля. Осушенный газ поступает в газопровод. Раствор гликоля, насыщенный влагой и газом, выходит из абсорбера и поступает в сепаратор 2. Здесь из раствора выделяются газы, поглощенные в абсорбере. Далее раствор гликоля проходит первый теплообменник 3, где подогревается за счет тепла горячего поглотителя, выходящего с низа десорбера 6. Затем раствор проходит второй теплообменник и сепаратор 2 и далее поступает в десорбер 6 для извлечения влаги. Низ десорбера соединен с кипятильником 11 где раствор нагревается за счет тепла водяного пара или огневого подогрева.

Выделение влаги может осуществляться под вакуумом или при атмосферном давлении. При работе под вакуумом (53,3- 79,9 кПа) водяные пары и растворенный в гликоле газ поступают в конденсатор-холодильник 7. Водяной пар конденсируется и образовавшаяся вода (конденсат) собирается в емкость 8, откуда он частично подается наверх десорбера как орошение, а избыток конденсата отводится. Несконденсировавшиеся газы откачиваются водокольцевым вакуум-насосом 10 в атмосферу или на факел. Для обеспечения отвода регенерированного раствора гликоля из десорбера и водяного конденсата, а также для создания подпора на насос орошения десорбер устанавливается на 12-13 м выше нулевой отметки. Часто для откачивания раствора из десорбера устанавливают специальный насос, в этом случае высота поднятия десорбера может быть снижена.

При работе при атмосферном давлении вакуум-насос отсутствует.

Рис. 1.8. Схема установки осушки в барботажных абсорберах:

- абсорбер; 2 - сепараторы; 3 - теплообменники; 4 - промежуточная емкость, 5 - насосы; 6 - десорбер, 7- конденсатор-холодильник; 8 - емкость орошения; 9 - насос орошения; 10 - вакуум-насос; 11- кипятильник.

3. Расчетный раздел

Исходные данные.

Рассчитать абсорбер для осушки углеводородной газовой смеси диэтеленгликолем при следующих исходных данных: количество газовой смеси при нормальных условиях Vc=2000000 м3/ч; состав смеси: СН4 С2Н6 С3Н8 С4Н10 Н2S CO2; давление в аппарате π=1,47 МПа, точка росы осушаемой газовой смеси tp=-10ºC, содержание диэтелен гликоля в свежем растворе х1=0.98 масс. долей. Принципиальная технологическая схема установки осушки газа диэтеленгликилем в приложении 1.

Расчет.

. Влагосодержание газа. В случае насыщения газа водяным паром влагосодержание определяется в зависимости от температуры и давления в системе. Температура контакта влажного газа (или температура при которой следует подавать газовую смесь в аппарат) определяется в зависимости от содержания диэтеленгликоля х1=0.98 масс. долей. Мы имеем что tc=27 ºC.

Точка росы влажного газа до контакта с диэтеленгликолем:

t´p = tp + Δt = - 10 + 16 = 6 ºC

где Δt=16 ºC понижение точки росы, определяемое в зависимости от температуры контакта.

Начальное влагосодержание углеводородного газа при tc=27 ºC и давлении π=1,47 МПа равно Сн = 250*10-5 кг/ м3 , конечное - при температуре tp=-10ºC и давлении π=1,47 МПа равно Ск=23*10-5 кг/ м3

Температура диэтеленгликоля при вводе в аппарат принимается равной Tгл=27 ºC

. Количество раствора диэтеленгликоля. Количество свежего раствора (кг/ч) подаваемого в поглотительную абсорбционную колонну, рассчитывается по формуле:

Gгл = Gвл.п. х2 / х1 - х2

Где Gвл.п. количество поглощаемой влаги, кг/ч; х1 и х2 - кончентрация ДЭГ в свежем и насыщенном растворе, масс. Доли.

Количество поглощаемой влаги рассчитывается по формуле:

Gвл.п .= (Сн - Ск) V

Где V - объемное количество углеводородного сырья м3/ч

Объемное количество углеводородного сырья находим по формуле:

V = 22.4G(tc+273)0.1 * 106 z / Мг 273 π

Где G=2056222 кг/ч - количество газа, z - коэффициент сжимаемой газовой жидкости .

Для смеси газов коэффициент сжимаемости определяется в зависимости от приведенных температур и давлении:

tпр = Т / Тпс. кр .= 300 / 235.1 = 1.28

πпр = π / πпс. кр .= 1.47 / 4.54 = 0.32

Следовательно:

z = 0.95

Тогда

V = 22.4 * 2056222(27+273)0.1 * 106 * 0.95 / 23 * 273 * 1.47 * 106 = 142218 м3/ч

Gвл.п .= (250-23)10-5 * 142218 = 322.8 кг/ч

Концентрация гликоля в насыщенном растворе принимается равной х2=0.97;

Количество свежего раствора равно:

Gгл = 322.8 * 0.97 / 0.01 = 31311.6 кг/ч

Объемное количество свежего раствора равно:

Vгл = Gгл / ρ=31311.6 / 1150 = 27.2 м3/ч

Где ρ - плотность раствора гликоля при tc=27 ºC

. Материальный баланс аппарата

Уравнения материального баланса абсорбера:

Gy + Gгл = G0 + Qгл.н

Его левая часть отвечает вводимым в аппарат материальным потоком (кг/ч):

Gy - с увлажненным газовым сырьем; Gгл - с раствором гликоля; правая - выводимыми из аппарата материальными потокам (кг/ч): G0 - осушенным газовым сырьем; Qгл.н - с насыщенным раствором гликоля.

Количество увлажненного газового сырья равно:


Количество осушенного газового сырья составит:

G0 = Gу - Gвл.п - Gр.у

Gр.у - количество углеводородных компонентов, растворимых в ДЭГ, кг/ч

Количество углеводородных компонентов, поглощаемых ДЭГ в результате растворения равно:

Gр.у = Vр.у * ρр.у * Vгл

Vр.у - растворимость углеводородных газов в ДЭГ м3/м3; ρр.у - плотность растворяемой газовой смеси кг/м3

Растворимость углеводородных газов в ДЭГ при давлении π=1,47 МПа и принятой средней температурой в аппарате t=33 ºC:

Vр.у = 2.5 м3/м3

Плотность растворяемой газовой смеси, или плотность сырья равна:

ρр.у = Мг 273 π / 22.4(t+273)0.1z = 23 * 1.47 273 / 22.4(33+273)0.1 * 0.95 = 14.2

Gр.у = 2.5 * 14.2 * 27.2 = 956.6 кг/ч

Равновесные потери гликоля при его испарении и уносе из колонны с выводимым осушенным газом зависит от температуры контакта tc=27 ºC; и давлении в аппарате π=1,47 МПа; они равны Δg = 5.8 * 10-3 кг/(м3 * 103)

gгл = Δg * V / 1000 = 5.8 * 10-3 * 142218 / 1000 = 0.824 кг/ч

Количество осушенного газа равно:

G0 = Gу - Gвл.п - Gр.у + gгл = 2056578 - 322.8 - 956.6 + 0.824 = 2055299.424 кг/ч

Количество насыщенного раствора гликоля равно:

Gгл.н = Gгл + Gвл.п + Gр.у - gгл = 31311.6 + 322.8 + 956.6 - 0.824 = 32590.176 кг/ч

Таблица 1. Материальный баланс осушки газа.

Поток поступающий в аппарат

Количество кг/ч

Поток выводимый из аппарата

Количество кг/ч

Увлажненная парогазовая смесь Gу

2056578

Осушенная газовая смесь G0

2055299.424

Свежий раствор гликоля Gгл

31311.6

Насыщенный раствор гликоля Gгл.н

32590.176

Σ

2087889.6

Σ

2087889.6


Содержание ДЭГ в насыщенном растворе составляет:

х2р = х1 * Gгл / Gгл.н = 0.98 * 31311.6 / 32590.176 = 0.94

Расчеты показываю что увеличение х2 приведет к заметному росту количества ДЭГ и, как следствие, к увеличению энергозатрат на его перекачку и регенерацию. Поэтому расхождение числовых значений х2=0.97 и х2р=0.94, равное 3% следует считать допустимым и пересчетов не делать.

.Тепловой баланс аппарата. В рассчитываемом абсорбере осушка газа должна протекать при изотермических условиях, что практически не значительно повлияет на температуру ДЭГ.

Уравнение теплового баланса абсорбера имеет вид:

QGy + QGгл + Qk + Qp = QGo + QGгл.н

Его левая часть отвечает приходу тепла (кВт); QGy - с газовым сырьем; QGгл - со свежим раствором ДЭГ; Qk - от выделения тепла при конденсации водяного пара и растворении конденсата в гликоле; правая - расходу тепла (кВт): QGo - с осушенным газом; QGгл.н - с еасыщенным раствором гликоля.

Количество тепла вносимое в аппарат влажным газовым сырьем равно:

QGy = Gycptc

Где cp - теплоемкость газового сырья

ср = ср0 - Δср

ср0 - изобарная теплоемкость газовой смеси в расчете на идеальный газ; Δср - поправка на давление.

Δср = R(Δcp0 - ώΔcp') / M

Δср = 8.315[-0.25 + 0.0458(-0.29)] / 23 = - 0.1

Тогда:

ср = 1.98-(-0.1) = 2.08

QGy = 2056578 * 2.08 * 27 = 102664373.76

Количество тепла которое вносится в аппарат с раствором ДЭГ составляет:

QGгл = Gглсглtгл

сгл = 2.38 кДж/(кг* ºC) при tгл=27 ºC; следовательно:

QGгл = 31311.6 * 2.38 * 27 = 2012083.416

Количество тепла которое выделяется при конденсации водяного пара и растворении конденсата и ДЭГ равно:

Qк = Q' + Q''

Q' - количество тепла выделяемое при конденсации водяного пара; Q'' - количество тепла выделяемого при растворении конденсата.

rH2O = 2424 кДж/кг теплота конденсации водяного пара при tc=27 ºC

Q' = Gвл.п * rH2O = 322.8 * 2424 = 782467.2

Q'' = Gвл.пrp = 322.8 * 135.2 = 43642.56

rp = 135.2 - теплота растворения воды в ДЭГ

Qк = 782467.2 - 43642.56 = 738824.64 кВт

Qp= 10011205.324

Количество тепла которое выводится из аппарата осушенным газом:

QGo = Gocpto = 2055299.424 * 2.08 * 27 = 115425591.84

Температура насыщенного абсорбента, выводимого из аппарата:

tн = 3600 QGгл.н / Gгл.нсn = 3600 * 895.3 / 32590.176 * 2.3 = 43 ºC

Тогда средняя температура в абсорбере будет равна:

t' = tc + tн / 2 = 27 + 43 / 2 = 35 ºC

Расхождение с принятым в условиях разделения средним значением температуры в аппарате t = 33 ºC составляет приемлемую величину 5.7%

Таблица. 2 Тепловой баланс абсорбера

Наименование теплового потока

Температура ºC

Количество тепла кВт

Приход

-


Газовое сырье QGy

27

102664373.76

Свежий раствор QGгл

27

2012083.416

Тепло конденсации и растворения воды Qk

-

738824.64

Тепло растворения углеводородов Qp

-

10011205.324

Σ

-

115426487,14

Расход

-


Осушенный газ QGo

27

115425591.84

Насыщенный раствор QGгл.н

43

895.3

Σ

-

115426487,14


. число теоретических тарелок:

Nt = 5

. Число рабочих тарелок:

Np = 20

. Диаметр аппарата:

G`гл.н = Gгл.н / 3600 = 9.05 кг/с

DА = 10.42 м.

. Высота аппарата:

Рабочая высота аппарата равна:

Нр = 16.5 м.

Диаметры штуцеров рассчитываются по формулам гидравлики.

. Охрана окружающей среды на установках осушки углеводородных газов.

В связи с необходимостью охраны окружающей среды и рационального использования природных ресурсов ряд процессов, в том числе и осушка углеводородных газов, ранее считавшихся безвредными, оказались источниками вредных выбросов, загрязняющих атмосферу и сточные воды. В процессе осушки газа на нефтегазоперерабатывающих заводах, газовых промыслах и подземных хранилищах из газа извлекаются влага; тяжелые углеводороды, сероводород, метанол, меркаптан и другие вещества, которые после десорбций поступают в атмосферу, загрязняя окружающую среду. Состав газов, выделяющихся, например, из емкостей орошений .установок осушки, приведен ниже:

Содержание

№1

№2

№3

Метан %(масс.)

56.4

9.0

7.8

Этан %(масс.)

26.2

1.5

1.2

Пропан+выше %(масс.)

11.1

1.0

0.8

Сероводород мг/м3

25.0

84.1*

0.3*

Меркаптаны мг/м3

426.7

-

-

Диоксид углерода мг/м3

-

4.4

89.9

Метанол мг/м3

0.72

-

-

Общее кол-во газов м3 /сут

1500**

3670

3300

* В % (масс ).

** При подаче в испаритель >3000 м3/сут отдувочного газа.

Безусловно, выброс таких газов с установок осушки отравляет атмосферу не только на территорий самой установки, но и окружающую среду. В тех-случаях, когда утилизация относительно небольших количеств дурно пахнущих газов не целесообразна, их можно сжигать на специальном факеле или смешивать с топливным газом, поступающим на собственные НУЖДЫ установки.

Ущерб от выбросов токсичных веществ в атмосферу распределяется следующим образом:

ухудшение здоровья населения (здравоохранение) - оплата пособий по временной нетрудоспособности, затраты на лечение, недопроизводство национального дохода;

Жилищно-коммунальное хозяйство-затраты на ремонт зданий в связи с коррозией крыш и прочих металлических предметов, затраты на бытовое обслуживание, гибель зеленых насаждений;

Промышленность и транспорт - интенсивный износ основных фондов, потери ценного сырья с выбросами, повышенная текучесть кадров;

Сельское и лесное хозяйство - снижение урожайности культур и снижение продуктивности животноводства, снижение прироста и усыхание древесины, затраты на восстановление леса, снижение рекреационной способности леса.

На установках осушки Природных газов, содержащих 5-6 % (об.) сероводорода, на; факелах сжигается сбросный газ, в котором концентрация сероводорода достигает 70-88 % (об.).

Только потери серы на таких установках составляют 2000-3000 т в год, не считая ущерба по другим статьям. Во ВНИИгазе разработана схёма безотходной установки осушки сероводородсодержащих газов, в которой предусмотрен возврат сероводорода, растворенного в насыщенном растворе гликоля, в магистральный газопровод для последующего его извлечения на установках сероочистки с получением серы.

В сточных водах установок осушки также содержатся токсичные вещества Если учесть, что максимальная концентрация в воде, поступающей на биологическую очистку, составляет (в мг/л): метанола -20, этиленгликоля-1,0,триэтиленгликоля - 10, диэтиленгликоля - 200 и бензина 3, то возникает настоятельная необходимость очистки этих вод. Для отделения газоконденсата из сточных вод установок осушки необходимо иметь достаточный объем емкости орошения десорбера и создать систему сбора, хранения и сбыта газоконденсата.

Для выделения метанола при; наличии значительного его количества в сточных водах целесообразно использование блока регенерации метанола с огневым подогревом (серийно изготовляемого по проекту ЦКБН), который позволяет получить метанол концентрации 70-80 % (масс.) и выше. Следует отметить, что при работе десорбера установки осушки под вакуумом к водяному конденсату, получаемому с верха десорбера, добавляется до 3,6 м3/ч отработанной воды из жидкостно-кольцевого вакуум-насоса, что снижает концентрацию метанола в воде с 15,0 до 0,6 % (масс.) и осложняет его извлечение. Для создания вакуума желательно применять не жидкостно-кольцевые вакуум-насосы, а другие конструкции без использования воды. В этом отношении эженторные системы для создания вакуума имеют преимущество.

4.1 Обезвреживание водного конденсата десорбера ректификацией

Важным вопросом очистки воды, поручаемой с верха десорбера, является извлечение из нее диэтиленгликоля. Биологическая очистка не эффективна, так как микроорганизмы не разрушают гликоль. Очистка активированным углем или с помощью полупроницаемых мембран не обеспечивает глубокого извлечения гликолей.

Сотрудниками ВНИИгаза разработана и экспериментально проверена технология переработки водяного конденсата, содержащего диэтиленгликоль, ректификацией. Опыты показали, что благодаря большой разнице температур кипения воды и диэтиленгликоля- 145 °С, в ректификационной колонне с 5-7 тарелками можно получить дистиллят, практически не содержащий растворителя. С низа колонки 30-60 % диэтиленгликоль возвращается в систему циркуляции раствора. Схема установки ректификации водного раствора диэтиленгликоля приведена на рис. 11.1.

Результаты испытаний процесса на опытно-промышленной установке в зависимости от кратности орошения представлены ниже:

Кратность отношения

Содержание диэтеленгликоля в дистилляте мг/л

1:0.2

8.0

1:0.9

4.3

1:1.2

-

1:1.5

-


Режим работы колонки: давление - атмосферное, температура верха-100°С, низа-110°С. Как видно из приведенных данных, при кратности орошения 1 : 1,2 дистиллят не содержит даже следов диэтиленгликоля, т. е. такую воду можно отводить с установки или использовать для подпитки котлов и градирни. Включение дополнительной колонки для ректификации позволит сэкономить 5-8 г диэтиленгликоля на 1000 м3 газа. При наличии в орошении метанола может быть рекомендована двухколонная схема ректификации: в первой выделяется метанол, а во второй - из диэтиленгликоля отгоняется вода.

При наличии в конденсате фенолов они переходят в дистиллят и тогда воду, следует обезвреживать. Целесообразность переработки конденсата с получением метанола и диэтиленгликоля в каждом случае должна экономически обосновываться.

Рис. 11.1. Схема установки ректификации водного раствора диэтиленгликоля:

- емкость орошения десорбера установки осушки; 2 - насос; 3 - теплообменник 4 - колонка; 5 - испаритель.

.2 Термическое обезвреживание водного конденсата

Рис. 11.2. Схема установки термической нейтрализации водвого конденсата:

-печи; 2 - встроенный эжектор; 3 - футеровка; 4 - форсунка; 5 - горелка; б -смесителя; 7 - огнепреградйтели; 5 - газораспределительный пункт; 9 - вентиляторы;  10 - разделительная емкость; 11 - насос,

Одним из процессов обезвреживания сточных вод является их сжигание в специальных печах. Установка по сжиганию разработана Южниигипрогазом представлена на рис. 11.2.

Установка состоит из емкости для сбора и отстаивания конденсата, двух печей, а также устройств для подачи воздуха, топливного газа и конденсата в печь-вертикальный цилиндрический аппарат, футерованный огнеупорным кирпичом. В низу корпуса монтируется горелка, изготовленная из трубы с цилиндрическим стабилизатором пламени. Форсунка центробежного, типа устанавливается по оси стабилизатора в зоне рециркуляции потока газа. В верху корпуса печи размещен эжектор. Подаваемая в горелку- газовоздушная смесь подготавливается в многосопловом смесителе, отделенном от горелки огнепреградителем. Поступающий с установки осушки водяной конденсат направляется в разделительную емкость, где отделяется газоконденсат. Отстоявшаяся жидкость подается насосом в печь. Подача воздуха в горелки печи осуществляется вентилятором. Топливом служит газ сепарации диэтиленгликоля с установки осушки с частичной добавкой топливного газа. Безопасность работы печи обеспечивается автоматическим устройством, прекращающим поступление газа и конденсата в случае снижения давления воздуха ниже заданного, затухания пламени и отклонения давления газа перед смесителями ниже предельно допустимого.

Установка надежна в эксплуатации и не требует постоянного надзора. В сточных водах может содержаться неограниченное количество органических соединений и незначительное количество минеральных примесей. В зарубежной практике при наличии в сточных водах солей применяют специальные печи, в которых после испарения воды соли выносятся из системы потоком дымовых газов, в виде мелкодисперсного порошка.

.3 Закачка промышленных сточных вод в пласт

Наиболее широко применяемыми методами обезвреживания промышленных сточных вод в настоящее время являются закачка их в поглощающие горизонты. Экономический эффект от такого способа обезвреживания на некоторых заводах и промыслах приведен в табл. 11.2. Анализ табличных данных показывает, что закачка промышленных сточных вод в поглощающие горизонты более экономична, чем термическая обработка.

Таблица 1.2. Экономический эффект от обезвреживания промышленных сточных вод

Метод очистки

Удельные капитальные вложения, руб./ мЗ

Себестоимость, руб./мЗ

Приведенные затраты, руб./мЗ

Термическая обработка и упаривание




Лисичанский НПЗ

2.03

1,375

1,62

Новгородский НХК

4.08

9,05

9,54

Закачка в поглощающие горизонты месторождения




Шатлыкское

3,12

0,83

1,20

Култакское

3,37

0,38

0,78

Уренгойское

5,45

0,54

1,16


Список литературы

1. Гихман Л. М., Касперович Л. Г.- Газ. пром., 1974,

. Жданова И. В., Халиф А. Л. Осушка природных газов. М., Недра, 1975.

. Бородина И, И., Нам И. К. - В хн.: - Подготовка и переработка газа и газового конденсата. М., ВНИИЭгаэпром, 1980,.

. Хорошилов В. А. и др. - В кн.: Переработка газа и газового конденсата„ ВНИИЭгаэпром, 1975,.

. Катц Д. Л. Руководство по добыче, транспорту и переработке природного газа. М„ Недра, 1965,

. Бык С. Макагон Ю. Ф„ Фомина В. И. Газовые гидраты. М., Химия, 1980.

. Требин Ф. А., Хорошилов В. А., Демченко А. В. - Газ. пром., 1966,

. Краснов А. А., Клименок Б. В. - Нефтехимия, 1973, 9. Коротаев Ю. П., Кулиев А. М„ Мусаев Р. М. Борьба с гидратами при транспорте природных газов. М., Недра, 1973.

. Агаева С. М. и др. - В кн.* Переработка газа и газового конденсата. ВНИИЭгаэпром, 1972,

. Гухман Л. М„ Изосимова И. П. - В кн.: Подготовка и переработка газа и газового конденсата, М., ВНИИгазпром, 1981,

. Гриценко А. И. и др. - Газ. пром., 1980,

. Попов В. И., Семенова Т. В. Способы осушки природного газа абсорбентом. М., ВНИИЭгазпром, 1974,

. Ключева С. К. и др.- В кн.: Подготовка и переработка газа и газового конденсата. М., ВНИИЭгазпром, 1979,

. Расулов А. И., и др. - В кн.: Переработка газа и газового конденсата. М., ВНИИЭгазпром, 1976,


Не нашли материал для своей работы?
Поможем написать уникальную работу
Без плагиата!
Без нейросетей!