Анализ работы абсорбционной установки осушки газа Уренгойского газоконденсатного месторождения
МИНИСТЕРСТВО ОБРАЗОВАНИЯ РОССИЙСКОЙ
ФЕДЕРАЦИИ УФИМСКИЙ ГОСУДАРСТВЕННЫЙ НЕФТЯНОЙ ТЕХНИЧЕСКИЙ УНИВЕРСИТЕТ
Кафедра разработки и эксплуатации
газовых и газоконденсатных месторождений
анализ
работы абсорбционной установки осушки газа уренгойского газоконденсатного
месторождения
КУРСОВОЙ ПРОЕКТ
По курсу: Сбор и подготовка
скважинной продукции
СТУДЕНТ Кудисов А.Б
ПРЕПОДАВАТЕЛЬ Чеботарев В.В.
УФА 2015
СОДЕРЖАНИЕ
ВВЕДЕНИЕ
. КРАТКАЯ ГЕОЛОГО-ПРОМЫСЛОВАЯ ХАРАКТЕРИСТИКА МЕСТОРОЖДЕНИЯ
.1 Общие сведения о месторождении
.2 Геологическая характеристика месторождения
.3 Стратиграфия
.4 Тектоника
.4.1 Сеноманское отложение
.4.2 Валанжинское отложение
.5 Газоносность
.5.1 Сеноманское отложение
.5.2 Валанжинское отложение
.6 Геологическое строение и другие данные по ачимовскому
отложению
. ФИЗИКО-ХИМИЧЕСКАЯ ХАРАКТЕРИСТИКА СЫРЬЯ И РЕАГЕНТОВ
.1 Физико-химическая характеристика газа и конденсата
.2 Характеристика пластовой воды
.3 Характеристика транспортируемого газа
.4 Поставляемые и используемые в производстве реагенты
. СОСТОЯНИЕ РАЗРАБОТКИ МЕСТОРОЖДЕНИЯ
.1 Краткая история освоения месторождения
.2 Основные проектные решения по разработке Уренгойского
газоконденсатного месторождения
.3 Отборы газа и конденсата по месторождению
.4 Анализ разработки Уренгойского месторождения
.4.1 Контроль за разработкой
.4.2 Контроль за изменением пластового давления
.4.3 Гидрохимический контроль
.5 Анализ разработки нефтяной оторочки Уренгойского
месторождения
.6 Конструкция и оборудование скважин
. СИСТЕМЫ ДОБЫЧИ И ПОДГОТОВКИ ГАЗА
.1 Общая характеристика системы подготовки газа (на примере
УКПГ-15)
.2 Очистка осушка и охлаждение газа
. ГИДРАВЛИЧЕСКИЙ И ТЕПЛОВОЙ РАСЧЕТ ГАЗОПРОМЫСЛОВЫХ ШЛЕЙФОВ
. РАСЧЕТ РАСХОДА ИНГИБИТОРА ГИДРАТООБРАЗОВАНИЯ
. СОПОСТАВЛЕНИЕ ПОЛУЧЕННЫХ РЕЗУЛЬТАТОВ С ПРОМЫСЛОВЫМИ
ВЫВОДЫ И РЕКОМЕНДАЦИИ
ПРИЛОЖЕНИЕ А
ПРИЛОЖЕНИЕ Б
ПРИЛОЖЕНИЕ В
ПРИЛОЖЕНИЕ Г
ПРИЛОЖЕНИЕ Д
CПИСОК ИСПОЛЬЗОВАНОЙ ЛИТЕРАТУРЫ
ВВЕДЕНИЕ
ПО «Уренгойгазпром» - дочернее предприятие ОАО Газпром. Располагая мощной
сырьевой базой, объединение Уренгойгазпром обеспечивает более 40 процентов
общего объема добычи газа в России. Основные направления деятельности:
·
геологоразведочные
работы;
·
добыча
углеводородного сырья, его чистка и переработка;
·
научно-технические
и проектные работы;
·
строительство и
ремонт промышленных и жилых объектов города Новый Уренгой;
·
внешнеэкономические
связи.
Объединению Уренгойгазпром принадлежит авторство многих технических
решений, сыгравших важную роль в развитии российской газовой отрасли.
Не останавливаясь на достигнутом, объединение намечает все новые и новые
перспективы. В ближайших планах разработка нижнемеловых газоконденсатных и
нефтяных залежей Северо-Уренгойского, Песцового и Ен-Яхинского месторождений, а
также ачимовских отложений с аномально высоким пластовым давлением и высоким
содержанием жидких углеводородов.
Расширяя географию внешне-экономических связей производственное
объединение Уренгойгазпром сегодня работает с компаниями из Японии, США,
Великобритании, Германии, Австрии, Франции, Финляндии, Чехии, Словакии.
Объединение всегда остается открытым для сотрудничества, гарантируя партнерам
стабильность и надежность.
Добычей и подготовкой к транспортировке газа и поставкой газового
конденсата переработчикам на Уренгойском месторождении занимается газопромысловое
управление объединения. Коллектив этого управления обслуживает 15 установок
комплексной подготовки сеноманского газа и 4 установки для подготовки
валанжинского газа, а также 26 цехов дожимных компрессорных станций и 4 станции
охлаждения газа. Добыча газа и конденсата ведется более чем двумя тысячами
эксплуатационных скважин из двух залежей-сеноманской и валанжинской.
Сеноманская залежь чисто газовая (пластовый газ практически чистый
метан). Газ валанжинской залежи отличается от сеноманской высоким содержанием
тяжелых углеводородов (этан, пропан, бутан и другие).
С целью стабилизации уровня газодобычи в объединении утверждена программа
освоения новых месторождений и перспективы добычи по разрабатываемым залежам.
Целью данного курсового проекта является расчет технологических процессов
и уточнение основных параметров при сборе и подготовки скважинной продукции
Северо-Уренгойского месторождения .
1. КРАТКАЯ ГЕОЛОГО-ПРОМЫСЛОВАЯ ХАРАКТЕРИСТИКА МЕСТОРОЖДЕНИЯ [2]
.1 Общие сведения о месторождении
Уренгойское месторождение административно расположены в Пуровском и
Надымском районах Ямало-Ненецкого национального округа (Уренгойская
,Ен-Яхинская, Табъяхинская ,часть Песцовой площади - Пуровский район, Западная
часть Песцовой площади - Надымский район).
Граница полярного круга проходит между ГП 9 и ГП 10. Район мало населен.
Ближайшие к городу Новый Уренгой населенные пункты: пос. Тарко-Сале, Старый
Уренгой, Самбург, Тазовск, Коротчаево.
Климат резко континентальный, с холодной зимой и коротким прохладным
летом. Средне-зимняя температура составляет -17 ºС. Самые холодные месяцы года
-декабрь, январь, февраль. В эти месяцы морозы достигают -55 ºС и часто сопровождаются сильными
ветрами. Безморозный период - с середины июня до середины сентября. Самый
теплый месяц июль. Его средняя температура колеблется от +6 до +15º С, а максимальная может достигать 40
ºС. Среднегодовая температура района
от -7,5 до -8,5 ºС. Амплитуда колебаний температуры между наиболее
холодными и теплыми месяцами составляет 80º С. Мощность снежного покрова на всех
рассматриваемых площадях достигает 1-2м. в понижениях рельефа. Среднегодовое
количество осадков достигает 350 мм. Большая часть их (70%) выпадает в летние
месяцы.
Суровый климат способствует сохранению многолетнемерзлых пород, которые
имеют повсеместное распространение. Строение многолетнемерзлых толщ от
монолитного, на Северо-Уренгойском месторождении до слоистого в долинах рек на
юге Уренгойской площади. Глубина залегания ММП 360-500м. Температура ММП от -1
до -5º С. Средний температурный градиент из
под ММП - 3,8 ºС на 100 м разреза. Имеются сквозные талики под крупными
озерами и в долинах рек. В разрезе ММП имеются также межмерзлотные региональные
талые породы, к которым приурочены водоносные горизонты. Все водоснабжение
г.Новый Уренгой и локальных водозаборов ГП осуществляется благодаря развития
этих таликов. Рассматриваемые площади расположены преимущественно на восточном
склоне Надым-Пуровского водораздела. Рельеф последнего представляет
заболоченную полого-холмистую равнину, слаборасчлененную речными долинами,
покрытую многочисленными озерами и криогенными формами (бугры пучения,
термокарста и др.).
Абсолютные отметки поверхности на площади колеблются от +18 до +80 м.
Гидрографическую сеть образуют р. Пур (на востоке района) и ее левые
притоки - р. Ево-Яха, Нгарка-Есетояха, Малхой-Яха Табъяха, Хадуттэ. Судоходна
только река Пур. Реки вскрываются в конце мая - начале июня, замерзают в
середине октября.
.2 Геологическая характеристика
месторождения
В разрезе Уренгойского месторождения выявлено два продуктивных комплекса
значительно отличающихся между собой по геолого-промысловым характеристикам:
сеноманский и нижнемеловой.
Рис. 1.2.1. Обзорная карта нефтегазаносности севера Западно-Сибирского
нефтегазоносного бассеина
На месторождении установлена продуктивность в верхнемеловых и
нижнемеловых отложениях.
Основная по запасам верхнемеловая (сеноманская) залежь связана с верхней
частью мощной (порядка 1500 м ) толщи преимущественно песчаных образований.
Длина залежи 180 км, ширина от 23 до 50 км, площадь газоносности 4750 км2,
пластовая температура изменяется от 27 ºС в своде до 34 ºС у контакта газ-вода. Залежь
водоплавающая со слабым наклоном газоводяного контакта в северном направлении,
начальная отметка ГВК - 1197 м.
Начальное пластовое давление Рпл=12,25МПа. Песчаники характеризуются
хорошими коллекторскими свойствами: открытой пористостью 19-38 % и
проницаемостью от 10-2 до 1 мкм2 и более, что обеспечивает получение высоких
дебитов газа, достигающих свыше 1 млн. м3/сут.
Общие запасы сеноманской залежи Уренгойской площади утверждены ГКЗ в
объеме 4334 млрд. м3.
Уренгойское месторождение включает в себя:
собственно Уренгойское поднятие (УКПГ-1АС-10);
Ен-Яхинское поднятие (УКПГ-11-13);
Песцовое поднятие;
Северо-Уренгойское месторождение (УКПГ-15).
Первые три имеют общие контур газоносности и подошвенные воды.
На Ен-Яхинском поднятии установлена продуктивность в верхнемеловых и
нижнемеловых отложениях. Основная по запасам верхнемеловая (сеноманская) залежь
связана с верхней частью мощной (порядка 1500 м) толщи преимущественно песчаных
образований.
Длина залежи около 180 км, ширина от 23 до 50 км, площадь газоносности
4750 км2,пластовая температура изменяется от 27оС в своде до 34оС у контакта
газ-вода.Залежь со слабым наклоном газоводного контакта в северном направлении,
пластовое давление Р пл=12,25 МПа, состав газа преимущественно метановый.
Содержание конденсата в сеноманской залежи невысокое и составляет 0,32
г/м3.
Второй этаж распределения углеводородов связан с терригенными отложениями
нижнего мела и верхней юры. Здесь выявлено 34 газоконденсатных и
газоконденсато-нефтяных залежей, приуроченных к 22 продуктивным горизонтам в
пределах Уренгойского вала, имеющего 4-х купольное строение.
В распределении нижнемеловых залежей и запасов по типу углеводородного
сырья отмечается вертикальная зональность:
в интервале глубин 1700-2450 м размещены чисто газоконденсатные
залежи(первый эксплуатационный объект),
в интервале 2570-3075 м, начиная с горизонта БУ8о расположено 9
газоконденсатных и газоконденсатных залежей (II,III,IV эксплуатационные объекты).
К этой 500-метровой толще приурочены основные запасы углеводородного
газа(88%), конденсата (92%), нефти (100%).
В неокомском стратиграфическом комплексе газонефтеносность связана с
семнадцатью продуктивными пластами, содержащими 25 залежей газа, конденсата,
нефти.
В разряде неокома и залежи сгруппированы 4 эксплуатационных объекта.
В связи с концепцией поэтапного освоения ресурсов углеводородов проведена
корректировка запасов.
1.3 Стратиграфия
Геологический разрез Уренгойского месторождения представлен терригенными
песчано-глинистыми отложениями мезозойско-кайнозойского платформенного чехла,
которые залегают на породах палеозойского складчатого фундамента.
Породы палеозойского фундамента на глубине около 7 км представлены
метаморфизированными аргиллитами и алевролитами. На глубине 5385 м фундамент
представлен серыми миндалекаменными базальтами типа андезита.
Отложения триасового возраста представлены нижним, средним и верхним
отделами. Нижний отдел включает отложения красноселькупской серии.
Среднетриасовый отдел включает нижнюю часть тампейской серии, состоящей из
пурской и нижней части варенгаяхинской свит. Верхнетриасовый отдел представлен
тампейской серией, включающей варенгаяхинскую и витютинскую свиты. Отложения
свит представлены терригенными породами. Толщина триасовых отложений составляет
4-6 км.
Отложения юрского возраста представлены нижним, средним и верхним
отделам. Нижний и средний отдел объединены в заводоуковский надгоризонт,
который представляен преимущественно континентальными отложениями и состоит из
береговой, ягельной, котухтинской и тюменской свит.
Отложения меловой системы представлены всеми ярусами нижнего и верхнего
отделов. Объединяются в три надгоризонта: зареченский (берриас, валанжин,
готерив, баррем, нижняя часть апта), покурский (верхняя часть апта, альб,
сеноман) и дербышински (турон, коньяк, сантон, кампан, маастрих).
В основании меловых отложений залегает сортымская свита, которая включает
в себя в нижней части ачимовскую толщу, выше - мощную (до 700м) преимущественно
глинистую и песчано-алевролито-глинистую толщи.
Ачимовская толща содержит в своём составе песчаники серые,
мелкозернистые, слюдистые, часто известковистые, с прослоями песчаноалевролитовых
и глинистых пород. Общая толщина ачимовской толщи составляет 43-167 м. К
отложениям ачимовской толщи на Восточно- и Ново-Уренгойском месторождениях
приурочены продуктивные пласты Ач1 - Ач6, имеющие локальное распространение и
содержащие газ, конденсат и нефть.
Для вышележащей толщи характерны глины аргиллитоподобные, серые,
тёмно-серые, тонкоотложенные и алевролитовые, с разнообразными типами
слоистости, с невыдержанными прослоями песчаников.
Из песчаных пластов, залегающих в этой части разреза, на рассматриваемой
площади продуктивны БУ16 и БУ17.
Верхняя часть сортымской свиты сложена песчаниками серыми, с прослоями
глин аргиллитоподобных, серых, тёмно-серых, тонкоотложенных и алевролитовых,
разнообразно слоистых. Характерен обугленный растительный детрит, скопление
криноидей. Толщина этой части свиты достигает 100 м.
На собственно Уренгойском месторождении в разрезе верхней части свиты
выделяются продуктивные основные пласты - БУ10 и БУ11.
В кровле сортымской свиты залегает глинистая чеускинская пачка,
представленная глинами, аргиллитоподобными, серыми, тёмносерыми,
тонкоотложенными и алевролитовыми, с единичными пластами песчаников. Толщина
чеускинской пачки составляет 19-47 м.
Тангаловская свита делится на три подсвиты - нижнюю, среднюю и верхнюю.
Нижнетангаловская подсвита состоит из глин серых, иногда аргиллитоподобных,
чередующихся с песчаниками и алевролитами. Характерен обугленный растительный
детрит, обрывки растений, корневидные растительные остатки. К этой подсвите на
собственно Уренгойском месторождении приурочены продуктивные пласты БУ8-БУ9.
Толщина подсвиты составляет 131-215 м.
Перекрывается нижнетангаловская подсвита хорошо выдержанной по всей
площади месторождения пачкой «шоколадных» глин. Глины с прослоями серых и
тёмно-серых разновидностей, оскольчатые. Этой пачке соответствует отражающий
сейсмогоризонт Б1. Толщина 8-15 м.
Среднетангаловская подсвита представлена песчаниками серыми, с прослоями
серых глин, иногда слабокомковатых. Толщина 181-336 м.
Заканчивается среднетангаловская подсвита пимской пачкой глин серых,
аргиллитоподобных с прослоями песчаников толщиной 27-67 м.
Верхнетангаловская подсвита представлена песчаниками и алевролитами
серыми, чередующимися в сложном сочетании с глинами серыми, иногда
зеленовато-серыми, изредка комковатыми, с единичными зеркалами скольжения.
Отмечаются редкие прослои аргиллитоподобных глин. Характерен обугленный
растительный детрит, остатки флоры, единичные фориминиферы. В составе подсвиты
выделяется шесть песчаных пластов. Толщина подсвиты 250-400 м.
Покурская свита условно разделена на три части в соответствии с ярусами.
В пределах аптского яруса она представлена песчаниками светло-серыми,
реже серыми, в отдельных прослоях с зеленоватыми оттенками, часто
каолинизированными, которые чередуются в сложном сочетании с глинами,
алевролитами тёмно-серыми, зеленовато-серыми. Толщина до 200 м.
Альбский ярус нижнего мела представлен крупными пачками глин, глинистых
алевролитов, иногда углистых, преимущественно тёмно-серого цвета, в единичных
прослоях с зеленоватым, буроватым оттенком, чередующимся в сложном сочетании с
песчаниками серыми и светло-серыми, иногда каолинизированными, с окатышками
глин в основании отдельных пластов. Породы преимущественно
горизонтально-слоистые. Характерен растительный детрит, остатки растений,
сидерит, единичные пласты бурых углей. Толщина достигает 380 м.
В пределах сеноманского яруса верхнего мела в составе покурской свиты
распространены пески уплотнённые, глины алевритистые, тёмно-серые до серых,
нередко углистые. Характерен растительный детрит, обрывки растений. Толщина
300-350 м.
Туронский ярус верхнемелового отдела представлен отложениями кузнецовской
свиты, которая сложена глинами тёмно-серыми до чёрных, слабо битуминозными,
алевритистыми, мощностью 20-40 м.
Коньякский, сантонский и кампанский ярусы объединяются в берёзовскую
свиту, в подошве которой залегают песчано-алевролитовые породы, встречаются
кремнистые разности. Верхняя часть березовской свиты сложена преимущественно
глинистыми породами. Толщина свиты составляет 150-250 м.
В пределах маастрихтского яруса верхнего мела и датского яруса
палеогеновой системы выделяется ганьковская свита, сложенная глинами и
песчано-алевритовыми породами с преобладанием глин в подошве свиты. Толщина
свиты 250-350 м.
В разрезе палеогена выделяются отложения тибейсалинской, люлинворской,
юрской свит и корликовской толщи. Толщина - 530-720 м.
Разрез четвертичных отложений представлен песками, глинами, супесями с
включениями гравия и галек, а также древесно-растительных остатков. В верхнем
деятельном слое установлены отложения торфяных болот. Толщина четвертичных
отложений варьируется от 18 до 50 м.
.4 Тектоника
Район работ в тектоническом отношении расположен в пределах внутренней
области Западно-Сибирской плиты, на тектонической карте называемой
Ямало-Тазовской мегасиниклизной, состоящей в свою очередь, из четырёх крупных
элементов: Надым-Тазовской и Ямало-Гыдынсской синеклиз, Мессояхской гряды и
Енисейско-Хатынского желоба.
Надым-Тазовская синеклиза является самой крупной из всех структур данной
категории, выделяемых в пределах Западно-Сибирской плиты. Она осложнена большим
числом структур I порядка.
Нижнепурский мегавал, который, в свою очередь, осложнён структурами II порядка. Центральным Уренгойским
валом, переходящим на север в Табъяхинский структурный нос.
Залежи углеводородов в неокоме контролируются Центральным Уренгойским
валом и осложняющими его более мелкими структурами (Северо-Уренгойское,
Центрально-Уренгойское, Уренгойское, Есетаяхинское поднятия). Газовая залеж в
сеномане включает в себя по площади, помимо Центрального Уренгойского вала,
Табъяхинский структурный нос, Енъяхинское и Песцовое куполовидные поднятия.
По кровле коллекторов пласта БУ8 Уренгойская структура представляет собой
брахиантиклинальную складку субмеридиального простирания с размерами по
изогипсе 2650 м 92,3-10,5-10 км и амплитудой 108 м.
Если структура в целом соответствует Центральному Уренгойскому валу, то
осложняющие его локальные поднятия соответствуют принятым при подсчёте запасов
структурным зонам: Северо-Уренгойское - Северному куполу,
Центрально-Уренгойское I и II поднятия - Центральной приподнятой
зоне, Уренгойское локальное поднятие - Южному куполу.
Северо-Уренгойское локальное поднятие имеет изометрическую форму,
северо-северо-западное простирание. Это поднятие является наиболее приподнятой
частью Уренгойского вала.
Уренгойское локальное поднятие (Южный купол) вытянуто в мередиальном
направлении.
1.4.1 Сеноманское отложение
Уренгойская площадь:
Уренгойская площадь приурочена к четко выраженной антиклинальной
структуре субмередиального простирания. Максимальная амплитуда поднятия
составляет 225м.
Устанавливается 2 купола:
южный,в пределах южной переклинали (ГП 1ас)
основной,с максимумом поднятия в районе ГП-8.
На севере площади установлено продолжение переклинального погружения
структуры в северном направлении. Это погружение выделено в отдельный
Таб-Яхинский участок.
По новым данным бурения по сравнению с 1979 годом произошло расширение
перешейка между Уренгойской и Ен -Яхинской структурами, в отдельных местах
расширение достигает 10-15км.
Ен-Яхинская площадь:
В отличие от Уренгойской газоносной площади Ен-Яхинское поднятие
представляет собой плоскую изометрическую структуру, близкую к квадратной
форме. Крыльевые ее погружения отличаются изрезанностью границ, нередко
причудливых очертаний. Максимальная амплитуда поднятия достигает 80м.
Плоский свод структуры, по данным последних построений, несколько
увеличился в широтном направлении. Уменьшился этаж газоносности (на 20м)
северо-восточного купольного осложнения, хотя размеры его увеличились. По
существу это осложнение представляет собой северо-восточное погружение плоского
свода Ен-Яхинской структуры, отделенное от него седловиной до 10 м глубины.
На северо-западном крыле выделено небольшого размера погружение внутри
газонасыщенной площади, где кровля сеномана опускается ниже газоводяного
контакта.
Разрывных нарушений по сеноману не установлено.
1.4.2 Валанжинское отложение
В тектоническом отношении залежи углеводородов в неокоме приурочены к
структуре I порядка Нижнепуровского мегавала.
Анализ временных сейсмических разрезов отложений осадочного чехла на
территории Уренгойского месторождения предполагает наличие разрывных
тектонических нарушений в пределах поля нефтегазоносности. Уренгойская
структура представляет собой брахиантиклинальную складку субмередиального
простирания с размером по изогипсе 2650 м составляют 92,3 на 10,5 км с
амплитудой 108 м.
Размеры южного купола по замыкающей изогипсе 2625 м составляет
на 9 км с амплитудой 60 м.
1.5 Газоносность
.5.1 Сеноманское отложение
Все сеноманские залежи севера Тюменской области относятся к субмассивному
типу. Отсутствие сплошных глинистых экранов, разделяющих залежь по всей ее
площади и этажу газоносности, не позволяет относить их к пластово-массивному
типу. С другой стороны ,наличие изменчивых линзовидных прослоев, иногда большой
протяженности и площади, отличает их от залежей массивного типа, для которых
характерно вторжение вод как по напластованиям пород, так и по вертикали
(перпендикулярно к ним).
Рассматриваемые залежи - водоплавающие, т.е повсеместно подстилаются
водой. Контакт газ-вода имеет слабый наклон в субмередиальном направлении.
Первоначальное положение ГВК:
ас:-1188
-1190 8 -1194
-1191 9 -1195
-1191 10 -1197
-1192 11 -1195
-1192 12 -1196
-1193 13 -1199
-1194 15 -1200
Средний градиент наклона ГВК 0.12 м.на 1км.
По существу система структур, составляющих собственно Уренгойскую
антиклиналь и примыкающих к ней поднятий (Ен-Яхинское ,Песцовое и
Северо-Уренгойское) являются одной крупнейшей залежью, объединенной единым
водогазовым разделом. Отделяются структуры от Уренгойской залежи различными по
ширине и высоте седловинами. Наиболее широкая седловина связывает Уренгойскую
структуру с Ен-Яхинской (до 20км), наиболее узкая (до 5км) - Северо-Уренгойской.
Начальное среднее пластовое давление составляло 12,2МПа, пластовая
температура +31ºС, средняя газонасыщенная мощность по Уренгойской
площади 60,8 м, по Ен-Яхинской - 28,5 м, площадь газоносности Уренгойской
залежи - 2876 км2 (категория В+С1), Ен-Яхинской-2119 км2 (категория В+С1).
Площадь газоносности, отнесенная к категории С2, соответственно 109,5 км2 и 299
км2. Максимальная высота залежи на Уренгойской площади достигает 225м (на южном
куполовидном осложнении несколько более 100м.); на Ен-Яхинской - порядка 100 м;
на Таб-Яхинском погружении от 80-85 м на юге до 20-25м на севере.
Фильтрационно-емкостные параметры:
открытая пористость 28-35%;
проницаемость 300-3500 мД;
газонасыщенность 70-74%;
начальное пластовое давление 12,21МПа;
средняя Т залежи +31 ºС.
Принято в подсчете запасов 1979 г.
Уренгойская площадь:
пористость 0,3;
газонасыщенность 0,74;
Рпл 11,86МПа;
Рк 0,106МПа.
Ен-Яхинская площадь:
пористость 0,3;
газонасыщенность 0,7;
Рпл 11,86МПа;
Рк 0,106МПа.
Песцовая площадь:
пористость 0,3;
газонасыщенность 0,7;
Рпл 11,91МПа;
Рк 0,106МПа.
В декабре 1989 г ГКЗ СССР рассмотрела и утвердила запасы газа
Уренгойского месторождения, определенные Главтюменьгеологией объемным методом
по состоянию изученности на 1.1.89 г. По разрабатываемым площадям они составили
(В+С1) 6933 мрд. м3 в том числе Уренгойская площадь - 5226,8 (было4334);
Ен-Яхинская - 1706 (было 1467,6). Запасы по сравнению с 1979 г увеличены на
1131 мрд. м3.
Запасы Песцовой залежи (В+С1) 739,2 мрд. м3 (было 419,1). Запасы
Западно-Песцовой залежи 47,9 мрд. м3 (В+С1). Запасы Северо-Уренгойского
месторождения 586,1 мрд. м3 (В+С1), 7,07 мрд. м3 по С2. Запасы Уренгойской
площади 97,2 мрд. м3 (С2), Ен-Яхинском - 131,4 мрд. м3.
Прирост запасов обусловлен увеличением на 11.5% площади газо-
носности и на 9.6% - средней величины газонасыщенной толщины.
Запасы газа по зонам УКПГ (старая версия, на запасы 1979 г)
а 444 8 370,6
254 9 472,42 289 10 372,9
299 11 377,5
331,8 12 255,9
338,2 13 247
320,8 Т-Яха 310,2
410,2
Проектный фонд скважин по коррективам 31/86-1143-экспл.
Уренгой 774 (было 677, 184 куста, 51 наблюдательных скважин, за ГВК);
Ен-Яха 260 (было 260, 103 куста, 10 наблюдательных скважин, за ГВК);
Сев. Уренгой 109 (было 109, 40 куста, 3 наблюдательных скважин, за ГВК).
Итого: 1143 1046, 327 куста, 64 наблюдательных скважин.
Увеличение фонда почти на 100 скважин обусловлено повышением отборов по
Уренгойской площади с 250 до 280 мрд. м3/год в период 1986-1988гг.по сеноману
Большого Уренгоя.
1.5.2 Валанжинское отложение
Первая газоконденсатная залежь на Уренгойской площади в неокомских
отложениях выявлена в 1968 году разведочной скважиной N 1. В 1970 году в
скважине 17- в неокоме встречено 8 газоконденсатных пластов. С 1971 г. на
месторождении начинается планомерная разведка глубоких горизонтов нижнего мела.
В нижнемеловых отложениях Уренгойского месторождения выявлено
свыше 25 залежей углеводородов, связанных с пластами, залегающими в
интервале глубин 1780-3050м.
Кроме того, имеют место газопроявления в интервалах ачимовской пачки на
глубине 3450-3500м.
.6 Геологическое строение и другие
данные по ачимовскому отложению
Ачимовские отложения региона представлены 6
глинисто-песчано-алевро-литовыми телами: АЧ1, АЧ2, АЧ3-4, АЧ5, АЧ6 и на самом
востоке - АЧ7.
АЧ1 и АЧ2 вскрыты на северо-западе Уренгойского месторождения,
Табъяхинской и Западно-Табъяхинской площадях. Глубины 3200-3400 м.
АЧ 3-4 залегает на глубинах 3450-3660 м. В АЧ 3-4 выделяется 2 блока с
разными пластовыми давлениями: Южный - на Южно-Уренгойском куполе и
Ново-Уренгойском поднятии (Халзытинская, Морозная, Северо-Пырейная площади);
Северный - район ЦПЗ и Северо-Уренгойского купола.
АЧ5 залегает на глубинах 3500-3740 м. В АЧ 5 выделяются аналогичные
блоки.
АЧ6 и АЧ7 - мало изучены.
Генезис: преимущественно морской и мелководно-морской характер
(фациальный тип) накопления ачимовских терригенных отложений, но в южной части
бассейна в пластах АЧ3-АЧ4 и АЧ5 накапливаются континентальные
(субконтинентальные) каолинитизированные песчано-алевролитовые породы.
Отложения имеют достаточную однородность с литологических позиций, но при этом,
фациальную изменчивость по площади и разрезу.
Проницаемые разности отложений ачимовской толщи представлены аркозовыми
песчаниками мелкозернистыми, алевролитистыми или аркозовыми крупнозернистыми
алевролитами/в АЧ 3-4 они даже преобладают над песчаником, с пористостью 7-22%;
газопроницаемостью 0,01·10-3-22,6·10-3мкм2.
В подавляющем большинстве образцов керна средняя газопроницаемость не
превышает 0,5 мд.
Среднее значение остаточной водонасыщенности колеблется от 50 до 78 %.
Пустые поры составляют 1-8 % от площади шлифа (преобладает 2-5%). Размер их
колеблется от 0,01 до 0,14 мм (преобладают 0,02-0,06 мм); в карбонатных
разностях встречаются каверны 0,4 мм.
Цемент в породах-коллекторах чаще порово-пленочный, реже пленочно-поровый,
преимущественно глинистый хлоритового состава с примесью гидрослюды, реже
встречается карбонатно-глинистый, еще реже - глинисто-карбонатный.
Количество цемента 5-10 %, реже до 15 %. Постоянно в глинистом цементе
пород-коллекторов присутствует карбонат, содержание которого в большинстве
образцов не превышает 3 %.
Для всех разностей пород, слагающих ачимовскую толщу характерно наличие
довольно многочисленных полых трещин, реже залеченных кальцитом, иногда
секущих друг друга, направленных преимущественно почти вертикально, иногда со
следами мелких сбросов. В ряде скважин в породах развита и горизонтальная
трещиноватость, что подтверждается наличием прослоев песчаников, расщепленных
на тонкие (10-20 мм) плитки с неровным изломом.
За счет наличия пустых пор, участков с глинистым цементом или участков с
трещинами и кавернами даже сильно карбонатные породы имеют проницаемость 0,01·10-3-0,03·10-3мкм2
.
Покрышки: неоднородны по литологическому составу и представлены частым
чередованием алевритистых и алевролитовых аргиллитов с прослоями
мощностью 1-2 м алевролита слюдистого глинистого (гидрослюдисто-хлоритового
состава) или алевролита крупнозернистого песчаного, которые характеризуются
проницаемостью до 0,1·10-3мкм2.
Общий экспериментальный коэффициент воздухопроницаемости (0,00001-0,0001)·10-3мкм2
.
Закономерности по "глинистому" комплексу:
глинистый комплекс тел АЧ1 и АЧ2 Уренгойской зоны хлоритизирован и
каолинизирован;
в АЧ 3-4 АЧ 5 АЧ 6 Уренгойской, Ново-Уренгойской и Восточно-Уренгойской
зон по направлению с севера на юг снижается карбонатность и возрастает
каолинитизация глинистой фракции, т.е улучшение коллекторских свойств;
глинистый комплекс ачимовских отложений содержит нетипично мало (до 10 %)
cмешанно-слойных образований (ССО), т. е. реликтов набухающих минералов в форме
неупорядоченных ССО. ССО по площади распределяется пятнами, в разрезе имеется
унаследованность. ССО представляет интерес не только с позиции разной степени
катагенической преобразованности отложений, но и в плане того, что ССО напрямую
способствует "залечиванию"трещин.
Общая толщина АЧ 3-4 колеблется на Уренгойском поднятии от 8-12 до 80-90м
(Самбурское 39-54;Восточно-Уренгойское, Ново-Уренгойское - аналогично
Уренгойскому).
Толщина АЧ5 на Уренгойском, Ново-Уренгойском поднятиях и поднятиях
восточно-уренгойской зоны (Восточно-Уренгойское, Хаяхинское, Есетинское,
Северо-Есетинское) колеблется от 8 до 80-100 м; на Самбурском 101-116 м;
Непонятном 45-57 м.
Толщина АЧ6 на Самбурском поднятии колеблется от 81 до 84м; на Непонятном
60-74 м; в восточно-уренгойской зоне 25-90 м.
Морфология полей давлений (начиная с пластов БУ):
кровля сверхгидростатических пластовых давлений (СГПД) на большей части
Уренгойского месторождения следится по кровле БУ 14. К востоку от Уренгойского
месторождения Рпл БУ14 гидростатическое и кровля СГПД опускается в более
глубокие шельфовые пласты. БУ 16 встречены СГ с Ка 1,14-1,8 БУ 17 СГ с Ка
1,1-1,2 на Уренгое, Восточно-Уренгойской и Северо-Есетинской. БУ 18 СГ с Ка
1,05-1,13 на Ево-Яхинской и Восточно-Уренгойской; БУ 20 СГ с Ка 1,34-1,51 на
Самбурской площади.
АЧ 1 и АЧ2 Рпл 52,5-59 МПа; Ка 1,39-1,7 (Ка - коэффициент аномальности).
АЧ 3-4 юг - Рпл 52,3-53,7 МПа;Ка 1,5-1,55
север - Рпл 58-61 МПа; Ка 1,7
Ач 5 юг - Рпл 51,6-53.4 МПа; Ка 1,5-1,58
север - Рпл 52,6-61,3 МПа; Ка 1,7
Особенности ачимовских тел АЧ3-4, АЧ5:
пласты и тела представляют собой линейно-вытянутые в субмередиальном
направлении тела линзовидной формы, по простиранию и вкрест простирания
замещающиеся непроницаемыми породами;
тела имеют клиновидную форму с острым сужением к югу;
пласты, как и тела, по направлению с востока на запад имеют все более
наклонное примыкание к баженовской свите, то есть все уменьшающееся расстояние
между кровлей баженовской свиты и подошвой пласта;
выележащее ачимовское тело смещено к западу по отношению к нижележащему и
пласты тоже. Каждый песчаный пласт ачимовских тел имеет близкое, но отличное от
соседнего поле давлений, которое, как правило гидродинамически изолировано от
выше- и нижележащего пласта.
в нижних пластах тел хорошо видна дифференциация поля давления по
простиранию пласта.
В АЧ5 установлено 11 гидродинамически изолированных друг от друга залежей
углеводородов, теле АЧ 3-4 - восемь.
Продуктивность пластов увеличивается на запад.
2. ФИЗИКО-ХИМИЧЕСКАЯ ХАРАКТЕРИСТИКА СЫРЬЯ И РЕАГЕНТОВ[2]
.1 Физико-химическая
характеристика газа и конденсата
Газ сеноманской залежи имеет в основном метановый состав от 95,4 до 99,3
%. Максимальное содержание углеводородов С2+ высшие не превышает 1 %.
Относительный удельный вес газа по воздуху 0,577-0,557 (среднее 0,563).
Критические параметры:
среднекритическое давление 4,73МПа;
среднекритическая температура 190,5 К.
Теплотворная низшая способность 33МДж.
Среднее содержание компонентов, входящих, в состав газа:
СН4 - 98,28 %; С2Н6 - 0,15 %; С3Н8 - 0,002 %; С4Н10 - 0,0014 %; С5+
0,0006%; СО2 - 0,35 %; Н2 - 0,02 %; О2 - 1,16 %; Не - 0,013 %; А К + Хе -
0,023%; Н2S - следы. Cодержание углеводородного
конденсата 0,03-0,05см3/м3. По фракционному составу конденсат соответствует
нормам на топливо для быстроходных дизелей (ГОСТ 4749-49), в том числе
арктическому дизельному топливу марки ДА, предназначенному для эксплуатации при
температуре воздуха ниже -30º С. Однако, в результате большого
содержания в конденсате нафтеновых углеводородов цетановое число его невелико и
равно 36, несколько больше, чем предусмотрено ГОСТом на арктическое дизтопливо.
Вязкость этого конденсата 4,66·10-6м2/с. По указаным причинам конденсат
сеноманской залежи может рассматриваться как компонент арктического дизтоплива.
2.2 Характеристика пластовой воды
Пластовая вода хлоpкальциевого типа, плотность-1,013 г/см3, вязкость
изменяется от 0,7 до 0,8 мПа·с. Вода содеpжит pаствоpенные углеводоpодные
газы.
2.3 Характеристика транспортируемого газа
Транспортируемый газ представляет собой смесь различных газов (метан,
этан, пропан, бутан, водород, азот, углекислый газ и др.).
Природный газ бесцветен, легче воздуха, пожаро- и взрывоопасен и , если
он не содержит вредных примесей, малотоксичен, не обладает ощутимым запахом.
Чистые метан и этан не ядовиты, но при недостатке кислорода в воздухе
вызывают удушье. Опасные свойства углеводородных газов требуют принятия мер
предосторожности для предупреждения взрывов и пожаров.
Состав перекачиваемого газа в % объемных:
СН4 - 92,28 С2 Н6 - 0,15 С3Н8 - 0,02
С4Н10 - 0,0014 С - 0,0006 СО2 - 0,35
Н2 - 0,02 N2 -1,16 Н2 + N2 - 0,013
Плотность газа 0,675 кг/м3
Температура кипения 161,6º С
Температура самовоспламенения 650º С
Пределы взрываемости в смеси с воздухом:
нижний - 5,0%
верхний - 15,0%
2.4 Поставляемые и используемые в производстве
реагенты
В таблице 2.4.1 указаны поставляемые реагенты по Уренгойскому
месторождению.
Таблица 2.4.1Поставляемые реагенты по Уренгойскому месторождению.
|
Наименование
|
Показатели, обязательные
для проверки перед использованием в производстве (ГОСТы, ТУ)
|
|
1.Диэтиленгликоль
|
а) внешний вид - ГОСТ
10136-77 б) содержание воды - ГОСТ 14870-77
|
|
2.Метанол технический
|
а) внешний вид - ГОСТ
2222-76 б) содержание воды - ГОСТ 14870-77
|
Диэтиленгликоль (ДЭГ) чистый:
Химическая формула: СН2ОН-СН2-О-СН2-СН2ОН
Молекулярная масса 106,12
Плотность при 20 град.С 1,118 г/см3
Температура кипения при 760мм рт.ст. 245 град.С
Температура начала замерзания минус 8 град.С
Температура начала разложения 164,5 град.С
Температура плавления минус 10,1 град.С
Вязкость при 20 град.С 35,7 мПа·с
Внешний вид бесцветная жидкость
ДЭГ смешивается с водой во всех соотношениях.
Характеристика технического ДЭГа по ГОСТ 10136-77
Внешний вид - прозрачная, слабоокрашенная в желтый цвет жидкость
Температура кипения при 760 мм рт.ст. 245 º С
Темпеpатуpа начала pазложения 164,5 ºС
Содержание в % от веса:
основного вещества (не менее) 98,7 - 96,5
влаги (не более) 0,1 - 0,4
этиленгликоля (не более) 0,2-0,8
Число омыления на КОН (не более) 0,1 - 0,4
Кислотность устойчивая, pозовая окpаска в течение 1 мин,
Цветность по платино-кобальтовой шкале - не более 15,
Гаpантийный сpок хpанения - 6 мес.
Характеристика абсорбента, циркулирующего в системе регенерации,
представлена в таблице 2.4.2
Таблица 2.4.2 Характеристика абсорбента, циркулирующего в системе
регенерации
|
Наименование
|
Единицы измерения
|
Диапазон допускаемых
отклонений
|
Примеч.
|
|
1.Диэтиленгликоль
насыщенный
|
% масс.
|
96,3 _+ 1,0
|
|
|
2.Диэтиленгликоль
pегенеpиpованный
|
% масс.
|
98,0 _+ 1,0
|
зависимости от словий
осушки и требований к глубокой осушке
|
3.. СОСТОЯНИЕ РАЗРАБОТКИ МЕСТОРОЖДЕНИЯ[3]
3.1 Краткая история освоения месторождения
Уренгойское месторождение открыто в 1966 году скважиной №2. На
Уренгойском месторождении газо-насыщенными являются верхнемеловые (сеноман) и
нижнемеловые (валанжин) отложения.
Сеноманская залежь Уренгойского газоконденсатного месторождения (УГКМ)
введена в эксплуатацию 22 апреля 1978 году по проекту, составленному в 1976
году на запасы утвержденные ГКЗ СССР в 1970 году, в объеме 3878 млрд. м3 газа.
В 1979 году ГКЗ пересмотрела запасы газа и они составили 6221 млрд. м3
газа. В связи с существенным увеличением запасов газа в 1981 году составлен
проект разработки сеноманской залежи УГКМ в объеме годовой добычи 250 млрд. м3
газа.
В декабре 1989 года ГКЗ СССР рассмотрела и утвердила запасы газа
Уренгойского месторождения, определенные Главтюменгеологией объемным методом по
состоянию изученности на 01.01.89 года. По разрабатываемым площадям они
составили 6933 млрд. м3. Прирост запасов обусловлен увеличением на 11,5 %
площади газоносности (в основном по данным сейсморазведочных работ) и на 9,6 %
средней величины газо-насыщенной толщи.
В настоящее время в эксплуатации находятся все 15 установок комплексной
подготовки газа (УКПГ): УКПГ-1АС ... 10 на Уренгойской площади, УКПГ-11 ... 13
на Ен-Яхинской площади и УКПГ-15 на Севере-Уренгойском месторождении.
Сроки ввода УКПГ в эксплуатацию постоянно отставали от проектных. В 1985
году проектом предусматривался выход на постоянный отбор 250 млрд. м3 газа в
год с вводом в эксплуатацию 15 УКПГ. Фактически к этому времени в эксплуатации
находились только 11 УКПГ (табл. 1.1)
Таблица 3.1
Дата ввода в эксплуатацию УКПГ по месторождению
|
УКПГ - 1
|
22.04.78 г.
|
УКПГ - 1 ас
|
17.06.84 г.
|
|
УКПГ -2
|
29.10.78 г.
|
УКПГ - 2 В
|
20.01.85 г.
|
|
УКПГ - 3
|
19.10.79 г.
|
УКПГ- 1АВ
|
05.07.85 г.
|
|
УКПГ - 4
|
21.09.80 г.
|
УКПГ- 1АС
|
26.08.85 г.
|
|
УКПГ - 5
|
30.03.81 г.
|
УКПГ - 5В
|
16.02.86 г.
|
|
УКПГ - 6
|
15.09.81 г.
|
УКПГ- 12
|
23.02.86 г.
|
|
УКПГ- 7
|
УКПГ- 13
|
20.08.86 г.
|
|
УКПГ- 8
|
13.03.83 г.
|
УКПГ- 15
|
26.08.86 г.
|
|
УКПГ- 9
|
09.07.83 г.
|
УКПГ- 8В
|
09.12.86 г.
|
|
УКПГ- 10
|
27.11.83 г.
|
|
|
|
УКПГ- 11
|
04.09.85 г.
|
|
|
|
УКПГ- 12
|
22.02.86 г.
|
|
|
|
УКПГ- 13
|
20.08.86 г.
|
|
|
|
УКПГ- 15
|
26.08.87 г.
|
|
|
Проектный годовой отбор в период с 1985 года по настоящее время составлял
250 млрд. м3 газа, в том числе по Уренгойской площади - 185 млрд. м3, по
Ен-Яхинскому - 50 млрд. м3, по Северо-Уренгойскому месторождению - 15 млрд. м3.
В связи с отставанием ввода в разработку залежи Ен-Яхинской площади и
Северо-Уренгойского месторождения основная добыча газа осуществлялась из залежи
Уренгойской площади - в 1984 - 1988 годах проектный годовой отбор превышал на
22 - 64 %. Повышенная годовая добыча обеспечивалась поддержанием дебита на
уровне оптимального, максимальным использованием производственных мощностей
УКПГ, задействованием проектного резерва эксплуатационных скважин.
3.2 Основные проектные решения по разработке
Уренгойского газоконденсатного месторождения
В разрезе Уренгойского месторождения выявлено два продуктивных комплекса
значительно отличающихся между собой по геолого-промысловым характеристикам:
сеноманский и нижнемеловой.
Сеноманский газоносный комплекс залегает на глубинах 1000-1200 метров и
представлен единой газовой залежью, которая введена в промышленную эксплуатацию
в 1978 году на максимальный отбор добычи газа 250 млрд. м3 в год. Характерной
особенностью сеноманской залежи является наличие значительных запасов газа,
преимущественно, метанового состава с крайне низким содержанием тяжелых
углеводородов.
Нижнемеловой нефтегазоносный комплекс залегает на глубинах 1750-3650
метров и характеризуется многопластовостью, наличием в разрезе значительного
количества газоконденсатных и нефтегазоконденсатных залежей, низкими
фильтрационно-емкостными характеристиками коллекторов, относительно высоким
начальным содержанием тяжелых углеводородов в пластовом газе и другими
особенностями.
Промышленная разработка газоконденсатных залежей нижнемелового
продуктивного комплекса Уренгойского месторождения начата в январе 1985 года
(см.табл.1.1) на основании “Проекта комплексной разработки ...” 1979 года и
“Дополнениями...” к нему (1982 год) предусматривающего первоначальный
максимальный годовой отбор газа в объеме 30 млрд. м3 и 6.2 млн. тон в год
конденсата.
В процессе дальнейшей эксплуатации месторождения уточнялись
газоконденсатная и продуктивная характеристика скважин, а так же запасы газа,
конденсата и нефти. В результате в 1988 году ВНИИГАЗом и ТюменНИИГИПРогазом
были составлены “Коррективы проекта разработки” предусматривающие увеличение
отбора газа из нижнемеловых отложений до 40,6 млрд. м3 в 1990 году с
одновременным ограничением добычи газа и конденсата из объектов, содержащих
нефтяные оторочки.
В 1989 году ГКЗ СССР переутвердила геологические запасы газа и конденсата
по разработанным объектам нижнемеловых отложений в объемах соответственно
1647,7 млрд. м3 газа и 291,3 млн. тонн конденсата.
Ввиду сложности строения объектов добычи углеводородного сырья с начала
эксплуатации в 1995 году переутверждались запасы газа, конденсата и нефти и
трижды (в 1986, 1988 и 1991 года) осуществлялось проектирование разработки
залежей в процессе которого обосновывалась стратегия их освоения для данного
этапа, уточнялись уровни добычи товарной продукции и технологические показатели
разработки газоконденсатных залежей и нефтяных оторочек на дальнейшую
перспективу.
В 1995 году истек срок действия выполненного ВНИИГАЗом и
ТюменНИИГипрогазом в 1991 году “Комплексного проекта разработки нижнемеловых
залежей Уренгойского месторождения”, в связи с чем возникла необходимость в
составлении нового проектного документа. Однако, ввиду задержки с пересчетом и
переутверждениями запасов углеводородов, срок составления уточненного проекта
разработки перенесен на 1996 год, а основой для планирования добычи газа,
конденсата и нефти из нижнемелового продуктивного комплекса на 1996 год явились
“Основные решения и технологические показатели разработки газоконденсатных
залежей и нефтяных оторочек на 1996-1997 годы” выполненные ТюменНИИГипрогазом.
В вышеупомянутом проектном документе на основе анализа текущего состояния
эксплуатации залежей и с учетом уточненных запасов углеводородного сырья,
отражена стратегия дальнейшей разработки газоконденсатных залежей и нефтяных
оторочек, а также вовлечение запасов углеводородного сырья в залежах не
охваченных разработкой и представлены основные показатели добычи газа,
конденсата и нефти на период до 2025 года. Предварительные результаты данного
проекта были рассмотрены на “Комиссии по разработке месторождений и ПХГ” РАО
“Газпром” (протокол № 13-Р/96 от 17.05.96 года).
В настоящее время в работе находятся четыре УКПГ (1АВ, 2В, 5В, 8В) общей
производительностью 30 млрд. м3 по газу сепарации и 6,0 млн. тонн по
нестабильному конденсату. В 1995 году выполнено расширение УКПГ - 8В, где
дополнительно смонтирована технологическая нитка низкотемпературной абсорбции
(НТА), производительностью 5 млн. м3 в сутки по газу сепарации.
Общий фонд скважин на 01.01.99 год достиг 600 единиц, эксплуатационный
фонд составляет 399 скважин. Текущие пластовые давления в зонах отбора газа
снизились на 10,0 МПа и более от первоначальных (табл. 3.1). Минимальные
значения текущего пластового давления наблюдаются на УКПГ - 1АВ, 2В, 8В и
составляют 15,2 МПа.
3.3 Отборы газа и конденсата по месторождению
В первоначальных проектных документах по объектам первоочередного
промышленного освоения, исходя из утвержденных запасов газа в количестве 1110,5
млрд. м3 по категории С1 и 221,5 млрд. м3 по категории С2 (протокол ГКЗ СССР
№9329 от27.10.83 года), предусматривалось доведения максимального уровня отбора
пластового газа из нижнемеловых отложений до 31,8 млрд. м3 , что
соответствовало добычи 30 млрд. м3 товарного газа. Средний темп отбора газа по
объектам эксплуатации принят на уровне 3,0% от начальных запасов.
В последний период ГКЗ СССР, по результатам доразведки залежей,
переутвердила запасы газа, величина которых составила 1647,7 млрд. м3 газа
категории С1 и 27,7 млрд. м3 газа категории С2 по разрабатываемым II-VI объектам эксплуатации, а также 223,9 млрд. м3 по категории
С1 и 84,8 млрд. м3 по категории С2 по залежи I объекта (протокол ГКЗ СССР № 10726 от 18.10.89 года).
В связи с приростом запасов газа в оторочках, в “Коррективах проекта
разработки ...” (1988 год) пересмотрены уровни отбора газа, как в целом по
нижнемеловому продуктивному комплексу, так и по объектам эксплуатации в
пределах отдельных зон месторождения. Максимальный проектный уровень отбора
газа по находящимся в разработке II-VI объектам увеличен до 40,6 млрд. м3
газа с достижением его 1990 году. При этом, учитывая наличие значительных
запасов нефти, предусматривалось снижение темпов отбора из объектов на участках
с нефтяными оторочками до 1,5 % от запасов, в то время как на остальных
участках темп отбора газа установлен без изменения, то есть около 3 % от начальных
запасов.
Максимальный отбор газа из газоконденсатных залежей достигнут в 1990 году
и составил 37,19 млрд. м3 газа, а стабильного конденсата 4,53 млн. тонн. В
процессе эксплуатации залежей, установлено, что при сложившемся отставании
темпов освоения нефтяных оторочек, принятые уровни отбора газа отрицательно
отразятся на величине нефтеотдачи оторочек, а также показателях добычи газа и
конденсата. Поэтому в “Комплексном проекте разработки ...” (1991 год) с учетом
утвержденных в 1989 году запасов пластового газа, вновь пересмотрены
перспективные уровни его отбора. В частности, предусмотрено постепенное
снижение годового отбора газа из месторождения с 36,5 млрд. м3 в 1991 году до
32,3 млрд. м3 в 1995 году при одновременном вводе в разработку газоконденсатных
залежей I эксплуатационного объекта.
Средний темп отбора газа по месторождению уменьшен до 1,7 % от запасов, а
по объектам эксплуатации до 1,5 - 2,0 % от запасов. На последующий период
уровни отбора газа небыли утверждены, однако проектом предусматривалась их
стабилизация с целью обеспечения постоянной добычи товарного газа в объеме 30
млрд. м3 в год. Данный уровень добычи газа, в связи с окончанием срока действия
“Комплексного проекта ...” , принят и при планировании эксплуатации залежей на
1996 - 1997 года.
Во всех проектных документах, на ряду с отбором пластового газа,
уточнялась и обосновывалась динамика отбора стабильного конденсата.
Максимальная величина отбора конденсата из залежи была достигнута на пятый год
разработки и составила 4.53 млн. тонн, после чего вследствие снижения темпов
отбора газа и ретроградных пластовых потерь ежегодный уровень отбора конденсата
непрерывно уменьшался до 2.69 млн. тонн в 1997 году при отборе пластового газа
30,24 млрд. м3 в год.
В 1995 году ООО “Газгерс” выполнил перерасчет запасов газа, конденсата и
нефти объемным методом по разрабатываемым II, III и IV объектам (протокол “Комиссии по
месторождениям и ПХГ” РАО “Газпром” № 1/95 от 20.11.1995 года), а НТЦ ДП
“Уренгойгазпром” проведена оценка запасов газа, по методу материального баланса
с использованием зонного моделирования. В результате получены, практически,
одинаковые величины суммарных начальных запасов газа, которые оказались меньше
утвержденных ГКЗ СССР на 18 % и составили соответственно 1357, 6 и 1355,7 млрд.
м3 .
Отметим, что несмотря на сопоставимость запасов газа в целом по
рассматриваемому комплексу пластов, наблюдается различие в их определении по
объектам эксплуатации для различных участков месторождения, которые достигают
57.3 %. Учитывая недостаточную обоснованность при пересчете объемным методом
приняты величины минерализации пластовых вод и, соответственно, распределение
коэффициентов газонасыщенности по площади и по разрезу продуктивного комплекса,
а также то обстоятельство, что запасы, определенные по методу материального
баланса, подтверждены практикой разработки.
По I объекту эксплуатации дополнительная
информация, полученная в ходе эксплуатационного разбуривания, также существенно
изменила существовавшие ранее представления о геологическом строении залежей и
запасы газа и конденсата, подготовленных к промышленной эксплуатации. Так на
северном куполе суммарные запасы газа по основным пластам БУ 0, БУ 1-2 и БУ 5
сократились на 60,1 млрд. м3 (38 %) и составили 99,3 млрд. м3 против 159,5
млрд. м3 утвержденных ГКЗ СССР, а на южном куполе произошло увеличение запасов
газа с 64,3 млрд. м3 до 72,6 млрд. м3 газа.
В целом величина запасов пластового газа залежей I объекта по месторождению сократилась по сравнению с
утвержденными ГКЗ СССР с 223,9 млрд. м3 до 186,0 млрд. м3 или на 17 %.
Уточненные величины запасов газа по залежам первого объекта прошли апробацию в
ЦКЗ ГГК “Газпром”, по этому их величины приняты за основу для дальнейшего
перспективного планирования добычи газа и конденсата.
По состоянию на 01.01.98 года дополнительно выявлены и частично
подготовлены к промышленному освоению запасы конденсатосодержащего газа в
нижележащих залежах продуктивных пластов БУ 15 и БУ16, проектирование
разработки которых еще не осуществлялось. Залежи в этих пластах, учитывая
близость фильтрационно-емкостных параметров пластов и физико-химических
характеристик насыщенных их флюидов, предлагается рассматривать как отдельный
самостоятельный V объект
эксплуатации. Балансовые запасы газа и конденсата в этом объекте по категории
С1 составляют соответственно 55,4 млрд. м3 и 130,0 млн. тонн.
В пределах лицензионного участка ДП “Уренгойгазпром” запасы газа и
конденсата, подготовленные к разработке содержат только на отдельных пласта БУ
16 и составляют соответственно 50,3 млрд. м3 газа и 12,2 млн. тонн конденсата.
Территориально эти участки расположены в непосредственной близости или частично
примыкают к разбуренным и разрабатываемым зонам УКПГ - 1АВ, 2В и 5В.
Таким образом, с учетом пятого объекта, суммарные уточненные запасы
пластового газа в залежах нижнемелового комплекса, рекомендуемые для
дальнейшего рассматривания, составляют 1590,3 млрд. м3.
Представленные результаты свидетельствуют, что несмотря на несоответствие
в годовых отборах газа по отдельным объектам эксплуатации в пределах различных
зон месторождения, достигающие 80 %- 85 %, в целом по нижнемеловому
продуктивному комплексу в 1995 - 1997 годах фактические годовые отборы газа
сопоставимы с проектными величинами.
В настоящее время осуществляется наращивание отборов газа из первого
объекта на УКПГ - 1АВ и УКПГ - 8В. Суммарные запасы газа предлагаемые в
качестве основы для дальнейшего проектирования по вовлеченным в разработку
газоконденсатным залежам I - IV объектов эксплуатации составляют
1511,7 млрд. м3. Исходя из этих запасов были определены фактические темпы
отборов газа в период с 1991 - 1997 годов и их распределение по площади и
разрезу нижнемелового комплекса .
Анализ представленных данных свидетельствует, что максимальный по
месторождению темп отбора газа был достигнут в 1990 - 1991 годах и составил 2,9
% от начальных запасов. Как по площади так и по разрезу продуктивного комплекса
отборы газа в указанный период распределялись неравномерно. Наиболее интенсивно
вырабатывались запасы газа на УКПГ - 1АВ и УКПГ - 8В.
Принимая во внимание отобранное количество газа из залежей, находящихся в
разработке, текущие запасы газа в залежах нижнемелового продуктивного комплекса
(по состоянию на 01.01.98 года) составляют 1187, 7 млрд. м3 незначительная
часть этих запасов (4,24 %) содержится в планируемом к вводу в разработку V эксплуатационного объекта (пласт БУ
16). Основная часть текущих запасов газа (40,88 %) сосредоточена во II эксплуатационном объекте, около
трети запасов (28,94 %) приурочено к III объекту эксплуатации, а остальные запасы распределены между I и IV объектами, соответственно 14,73 % и 11,22 %. По площади
месторождения текущие запасы газа распределены также неравномерно. Треть
запасов 30,59 % приходится на УКПГ - 1АВ, по четверти - на УКПГ - 5В и УКПГ -
8В (соответственно 24,77 % и 25,67 %) и 18, 97 % - на УКПГ - 2В.
Сопоставление сложившихся темпов отбора газа с текущими запасами
свидетельствуют о необходимости перераспределения отборов газа как по площади
так и по разрезу нижнемелового продуктивного комплекса.
.4 Анализ разработки Уренгойского
месторождения
В структурном плане сеноманская залежь Уренгойского месторождения
подразделяется на Уренгойскую, Ен-Яхинскую и Песцовую площади, объединенные
общим контуром газоносности. В разработке находятся Уренгойская и Ен-Яхинская
площади. Основные запасы газа Уренгойского месторождения сосредоточены на
собственно Уренгойской площади -73,3 %, на долю Ен-Яхинской площади приходится
15,3 %, и Песцовой - 11,4 %.
Начальные запасы газа по Уренгойскому месторождению пересматривались в
ГКЗ в 1970 г., 1979 г., 1989 г. Утвержденные запасы газа по площадям
составляют:
Уренгойская площадь 5226,8 млрд.м3;
Ен-Яхинская площадь 1706,0 млрд.м3;
Песцовая площадь 739,2 млрд.м3;
Итого 7672,0 млрд.м3.
Подтвержденные разработкой и принятые для проектирования (протоколы ЦКЗ
РАО “Газпром” от 31.03.95 года и № 37-р/97 от 12.08.97 года) запасы газа
составляют:
Уренгойская площадь 4850,0 млрд.м3;
Ен-Яхинская площадь 1010,0 млрд.м3;
Песцовая площадь 758,5 млрд.м3;
Итого 6618,5 млрд.м3.
Промышленная эксплуатация сеноманской залежи Уренгойского месторождения
начата в апреле 1978 года. Разработка осуществляется на основании «Проекта
разработки сеноманской залежи Большого Уренгоя», выполненного ВНИИГазом и ТНГГ
в 1998 году и утвержденного протоколом Комиссии по месторождениям и ПХГ РАО
«Газпром» № 22-К/98 от 22.06.98 года.
Подготовка газа осуществляется на 14 УКПГ начальной проектной
производительностью 235 млрд.м3, в работе 14 ДКС I очереди, 14 ДКС II очереди.
В 1999 году завершено строительство II очередей дожимных компрессорных станций на месторождении.
С начала разработки из залежи отобрано 3974,8 млрд.м3 или 60,1 % от
запасов, подтвержденных разработкой, в том числе:
Уренгойская площадь 3373,0 млрд.м3 или 69,5 %;
Ен-Яхинская площадь 601,7 млрд.м3 или 59,6 %.
Общий фонд скважин составляет 1282 единицы (увеличился в течение года на
24 ед.) , в том числе:
эксплуатационный 1047 скв.;
действующий 995 скв.;
бездействующие 27 скв.;
ожидающих подключения 25 скв.;
в консервации 9 скв.;
наблюдательные 133 скв.;
пьезометрические 47 скв.;
поглощающие 33 скв.;
ожидающих ликвидации 3 скв. ;
ликвидированы 10 скв.
Фактический действующий фонд ниже проектного на 63 скважины, в том числе
по площадям:
Уренгойская площадь 22 скв.;
Ен-Яхинская площадь 41 скв.
Бездействующий фонд составляет 27 скважин, в том числе по причинам:
обводнение продукции 23 скв.;
низкие ФЕС 3 скв.;
технические причины 1 скв.
В консервации находится девять скважин по причине обводнения продукции.
В течение 1999 года отбор газа в целом по месторождению составил 166,9
млрд.м3, что выше проектного на 3,5 млрд.м3. По площадям наблюдается
несоответствие отборов проектным, так по Уренгойской площади увеличены на 8,0
млрд.м3 (за счет увеличения отборов в III квартале) и уменьшены отборы по Ен-Яхинской площади на 4,5 млрд.м3 в
связи с поздним вводом ДКС - II
очереди на УКПГ-11, 13 и недостаточным количеством фонда действующих скважин
(41 скв.). Текущие дебиты скважин практически соответствуют проектным и
составляют 430-520 тыс.м3/сут.
Сеноманская залежь Песцовой площади планируется вводом в разработку в
2004 году. Размеры залежи по начальному контуру газоносности составляют:
длина залежи - 29 км;
ширина - до 50 км (с Санской площадью);
этаж газоносности - 82 м.
Залежь сводовая, водоплавающая, массивного типа с неоднородным
терригенным коллектором, имеет общий контур газоносности с Уренгойской и
Ен-Яхинской площадями. Начальное пластовое давление составляет 12,21 МПа,
температура-340 С. Начальный ГВК имеет наклонную поверхность с отметками от
-1185 м на юго-западе до -1200 м на северо-востоке залежи.
Запасы газа утверждены ГКЗ СССР в 1989 году и составляют 739,2 млрд.м3
(В+С1). Приняты для проектирования запасы газа в объеме 758,5 млрд.м3 (с Санской
площадью).
Проектом разработки сеноманской залежи предусмотрен годовой темп отбора
газа в объеме 27,5 млрд.м3. Основными техническими решениями проекта
предусмотрено бурение 145 эксплуатационных скважин, объединенных в 39 кустов и
14 наблюдательных скважин. Система сбора газа - коллекторная с теплоизоляцией
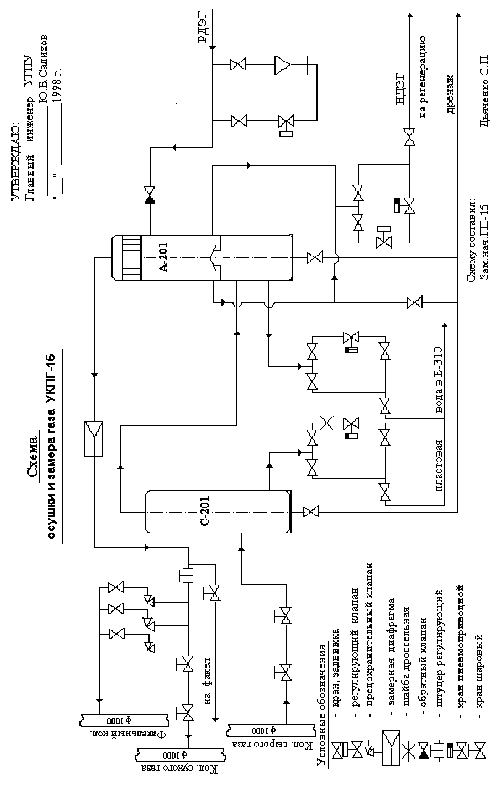
каждого шлейфа. Система подготовки газа - абсорбционная, с применением
зарекомендовавших себя многофункциональных аппаратов ГП-365 в блочном
исполнении.
Замер пластового давления в скважинах № 03 (12,12 МПа), № 04 (11,9 МПа),
№ 05 (11,7 МПа), № 06 (11,86 МПа), № 08 (11,92 МПа), № 010 (11,9 МПа), № 07
(11,46МПа), Р-3 (12,08 МПа) и 16030 (12,0 МПа) подтверждает предположение об
охвате дренированием запасов газа Песцовой площади.
3.4.1 Контроль за разработкой
Контроль за разработкой осуществляется геолого-промысловыми,
гидрохимическими и геофизическими методами.
Исследовательские работы выполняются геологической службой УГПУ.
Специальные виды исследований (определение предельно-допустимых депрессий) проводятся
совместно с НТЦ.
Промыслово-геофизические исследования проводятся ПО “Севергазгеофизика”
по заявкам геологической службы согласно плана-графика исследовательских работ.
Охват исследованиями составил 3,67 иссл./скв. и проведено 4626 различных видов исследований.
месторождение конденсат уренгойский газ
3.4.2 Контроль за изменением пластового давления
Для контроля за изменением пластового давления произведено 1883 замера
статического давления на устье эксплуатационных и наблюдательных скважин,
находящихся под давлением. По результатам пересчета на пластовое давление
построена текущая карта изобар.
Построенная на 1.01.2000 года карта изобар свидетельствует о формировании
двух пологих депрессионных воронок, приуроченных к зоне эксплуатационных
скважин Уренгойской и Ен-Яхинской площадей. На Уренгойской площади минимальное
пластовое давление составляет 3,61-3,8 МПа в районе эксплуатационных скважин
УКПГ-4, 5, максимальное - на Таб-Яхинском участке (9,36 МПа-скв.№ 59). На
Ен-Яхинской площади минимальное пластовое давление 4,59 МПа приурочено к зоне
эксплуатационных скважин УКПГ-12, максимальное - 10,54 МПа (наблюдательная
скважина № 1100).
Средневзвешенное пластовое давление в зоне расположения эксплуатационных
скважин составляет:
Уренгойская площадь- 4,57 МПа, что выше проектного на 0,26 МПа;
Ен-Яхинская площадь- 5,76 МПа, что выше проектного на 0,08 МПа.
Глубина депрессионной воронки по Уренгойской площади достигает 0,5 МПа,
по Ен-Яхинской - 3,0 МПа.
Для определения добычных возможностей и разработки технологического
режима работы скважин проведено:
исследований по стандартной методике -423;
исследований без выпуска газа в атмосферу - 22;
комплексных исследований на продуктивность
с отбором проб на режимах -114;
на вынос механических примесей -675;
глубинных замеров -82.
Замер рабочих параметров и контроль за техническим состоянием устья
скважин выполнялся 1 раз в месяц.
В текущем году продолжены работы по определению допустимых депрессий на
пласт, при которых начинается разрушение призабойной зоны, проведено 51
специальное исследование. Величина предельно-допустимой депрессии колеблется от
0,1 до 0,4 МПа по зонам УКПГ и в настоящее время рабочие депрессии близки к
предельным. На 1.01.2000 года 399 скважин эксплуатируются с ограничением
дебитов из-за выноса механических примесей и воды, причем количество за
последние шесть лет увеличилось в 9,6 раза. Для определения профиля притока,
рабочих депрессий, проведено 51 промыслово-геофизическое исследование в газовой
среде.
Сопоставляя удельные отборы газа по зонам УКПГ можно все месторождение
разделить на три категории:
со снижающимися удельными отборами УКПГ-1, 2;
с постоянными удельными отборами УКПГ-3, 4, 5, 6, 7, 8, 9, 10, 13;
с увеличивающимися удельными отборами УКПГ-1АС, , 11, 12;
По зонам УКПГ Уренгойской площади удельные отборы газа изменяются от 33,5
на УКПГ-56 до 50 млрд.м3/МПа. на УКПГ-9 .
По Ен-Яхинской площади удельные отборы газа изменяются от 2,25 на УКПГ-12
до 45,4 млрд.м3/МПа. на УКПГ-11. Незначительные и постоянно растущие удельные
отборы газа по Ен-Яхинской площади свидетельствуют о слабой отработке
периферийных участков залежи. Снижение удельных отборов газа по зонам УКПГ-1, 2
может свидетельствовать как об отсутствии подтока газа из соседних зон
месторождения, так и о слабом подтоке газа с периферийных участков этих УКПГ.
3.4.3 Гидрохимический контроль
С целью гидрохимического контроля за разработкой залежей отобрано 1053
проб жидкости, 15 проб с помощью глубинного пробоотборника. По результатам
анализов большинство скважин выносит конденсационную воду. Для контроля
давления в водоносной части произведено 112 замеров уровня в пьезометрических
скважинах, которые подтвердили предположение об охвате дренированием всего
водоносного бассейна отложений апт-альба-сеномана до глубины 1700 м.
Для контроля за продвижением ГВК проведено 107 - промыслово-геофизических
исследования в неперфорированных и пьезометрических скважинах. При производстве
ПГИ в скважинах неокомских залежей также определялся уровень ГВК, в 1998 году
текущее положение ГВК сеномана определено в 164 газоконденсатных и нефтяных
скважинах.
Разработка Уренгойского месторождения происходит в условиях проявления
водонапорного режима и определяющим фактором подъема ГВК является перепад
давления между газо - и водонасыщенными частями пласта. Текущий ГВК имеет
выпуклую поверхность с максимумами подъема, достигающими:
УКПГ -1АС -до 48 м; УКПГ-1 до 68 м; УКПГ-2 до 46 м;
УКПГ -3 -до 40 м; УКПГ-4 до 50 м; УКПГ-5 до 48 м;
УКПГ -6 -до 62 м; УКПГ-7 до 54 м; УКПГ-8 до 55 м;
УКПГ -9 -до 27 м; УКПГ-10 до 45 м; УКПГ-11 до 21
м;
УКПГ -12 -до 30 м; УКПГ-13 до 32 м.
Скорость подъема ГВК изменяется от 1,5 до 5 м/год. Объем внедрившейся
пластовой воды по Уренгойской площади составляет 5230 млн.м3 по Ен-Яхинской -
904 млн.м3 .
Выполнение исследовательских работ по контролю за разработкой по видам
исследований составляет в среднем 110 %.
Таким образом, на основании анализа разработки сеноманской залежи
Уренгойского месторождения можно сделать следующие выводы:
Разработка в течение 1999 года осуществлялась с отступлениями от принятых
проектных решений в части отборов газа, что связано с отставанием обустройства
месторождения (УКПГ-11, 13).
Высокие темпы годовой добычи газа по Уренгойской площади достигающие 7-8
% от текущих запасов, приводят к подтягиванию конусов воды, преждевременному
обводнению скважин и неравномерности выработки запасов.
Для снижения глубины депрессионной воронки на Ен-Яхинской площади
необходимо в ближайшие два года провести расширение зоны расположения
эксплуатационных скважин путем дополнительного бурения их в северо-западной и
западной частях УКПГ-11 и северной части УКПГ-13 в количестве 60 единиц.
С целью выравнивания темпов подъема ГВК, области дренирования и снижения
нагрузки на скважины сеноманской залежи Уренгойской площади, необходимо
компенсационное бурение 10 % эксплуатационного фонда взамен выбывающих скважин
с существующей площадки куста.
Установить забойные фильтры на всех ограниченных скважинах (399).
Ввести в разработку Таб-Яхинский участок Уренгойской площади с годовым отбором
5 млрд. м3.
Открыть финансирование и ввести в разработку Песцовое месторождение.
Для полного и качественного выполнения исследовательских работ по
контролю за разработкой залежи необходимо оснащение геологической службы
спецтехникой, оборудованием, запасными частями к коллектору «Надым» и орг.
техникой.
Контроль за разработкой осуществляется геолого-промысловыми,
гидрохимическими и геофизическими методами.
Исследовательские работы выполняются геологической службой УГПУ.
Специальные виды исследований (определение предельно-допустимых депрессий)
проводятся совместно с НТЦ.
Промыслово-геофизические исследования проводятся ПО “Севергазгеофизика”
по заявкам геологической службы согласно плана-графика исследовательских работ.
Охват исследованиями составил 3,67 иссл./скв. и проведено 4626 различных видов
исследований.
3.5 Анализ разработки нефтяной оторочки
Уренгойского месторождения
Нефтяные оторочки промышленного значения на месторождении приурочены к
шести горизонтам нижнемелового продуктивного комплекса БУ8, БУ80, БУ10-11,
БУ121, БУ131, БУ14. Газоконденсатная залежь этих горизонтов находится в
эксплуатации с 1985 года.
Начальные запасы нефти, утвержденные ГКЗ в 1989 году, в нефтяных
оторочках нижнемеловых залежей составляли 422 млн.т (балансовые) и 83,3 млн.т
(извлекаемые).
В результате выполненных работ по доразведке уточнена геометрия нефтяных
оторочек, подсчетные параметры пластов, подтверждено мозаичное распространение
нефтяных оторочек. На основе новой геологической модели был проведен в 1995
году пересчет запасов нефти и утвержден протоколом ЦКЗ РАО ”Газпром” № 1/95 20
ноября 1995 года. В результате пересчета балансовые запасы нефти составили
290,8 млн.т, извлекаемые - 58 млн.т.
Преобладают оторочки следующих типов:
краевого - в нефтегазовых залежах пластов БУ8 и БУ10;
подстилающего - в пласте БУ11 и газонефтяной залежи пластов БУ11 и БУ121
Южного купола;
крыльевого - в пласте БУ131 в пределах Южного купола.
Из анализов результатов работ по освоению и исследованию нефтяных скважин
следует, что промышленные притоки нефти при пористости коллектора менее
12,5-13,5 % и нефтенасыщенности менее 52 - 55 % отсутствуют.
Исходя из мозаичного распространения нефтяных оторочек и их значительной
неоднородности по эффективным толщинам, на Уренгойском газоконденсатном
месторождении выделено шесть опытных участков.
Опытно-промышленная эксплуатация нефтяных оторочек Уренгойского ГКМ
начата в июле 1987 года вводом в разработку второго опытного участка (пласт
БУ10-11). В марте 1988 года введен в эксплуатацию первый опытный участок (пласт
БУ8), в декабре 1990 года - третий опытный участок (пласт БУ10-11), в октябре
1992 года - шестой опытный участок (пласт БУ121). Разработка осуществляется на
основании «Уточненного проекта разработки газоконденсатных залежей и нефтяных оторочек
Уренгойского месторождения», выполненного ТюменНИИГипрогазом и принятого на ЦКР
РАО «Газпром» (протокол № 20-К-Р/98 от 22.06.98 года).
В настоящее время в разработке находятся I, II, и III опытные участки, на
YI опытном участке добыча нефти не проводится.
По состоянию на 1.01.2000 года общий фонд составляет 359 скважин, из них:
эксплуатационных - 156 скв.;
действующих - 145 скв.;
бездействующих - 11 скв.;
в консервации - 105 скв.;
поглощающих - 4 скв.;
наблюдательных - 17 скв.;
пьезометрических - 3 скв.;
ликвидировано - 18 скв..
Газлифтным способом эксплуатируется 98 скважин или 64 % действующего
фонда, ЭЦН спущены в 1 скважине или 0,7 % действующего фонда, фонтанным
способом работают 45 скважин или 31 % действующего фонда, плунжер-лифтом
работают 6 скважины или 4,3 % действующего фонда.
В бездействии находится 11 скважин, из них:
слабый приток, гидратный режим - 4 скв.;
в ожидании перевода на ЭЦН - 1 скв.;
пробка в НКТ - 2 скв.;
обводнены - 4 скв.
В консервации находится 105 скважин, из них:
ожидают обустройства - 14 скв.;
обводнены - 18 скв.;
ожидают перевода на мех. добычу - 1 скв.;
ожидают КРС и обустройства - 15 скв.;
отсутствие притока - 34 скв.;
ожидают перевода на другой объект - 21 скв.;
технические причины - 2 скв.
С начала разработки четырех опытных участков на 1.01.2000 года добыто
7493,9 тыс. тонн нефти (с попутной), отобрано 7898 млн.м3 попутного газа.
Добыча пластовой воды составила 296,5 тыс. т.
3.6 Конструкция и оборудование скважин
В основном на Уренгойском газоконденсатном месторождении принята такая
конструкция валанжинских скважин:
направление 426 мм, 0 - 150 м; цементаж до устья;
кондуктор 324 мм, 0 - 550 м; цементаж до устья;
техн. колонна 245 мм, 0 - 1400 м; цементаж до устья;
э/колонна 168 мм, 0 - 3000 м; цементаж до устья;
НКТ 89 мм, до кровли пласта.
Типовая конструкция сеноманской скважины:
направление 426 мм, 0 - 50 м; цементаж до устья;
кондуктор 324 мм, 0 - 550 м; цементаж до устья;
э/колонна 219мм, 0 - 1250 м (15м недоходя ГВК); цементаж до устья;
НКТ 168мм, до низа интервала перфорации
По Ен-Яхинской и Северно Уренгойским площадям:
кондуктор 245мм;
э/колонна 168мм;
НКТ 89-101мм (глубины те же).
В проекте принято кустовое расположение скважин с количеством скважин в
кусте 2-5, в зависимости от мощности пласта, дифференцированная система
вскрытия - наибольшая нагрузка на верхнюю часть разреза и вскрытие низов всего
одной скважиной.
Большинство скважин с НКТ спущенным до низа перфорированного интервала и
в одной скважине куста с полным вскрытием разреза до кровли, с целью контроля
отработки геофизическими методами.
Конструкция скважины №8337 УКПГ-8В, которая была сдана в промышленную
эксплуатацию 16.03.1999 года. Била вскрыта кровля продуктивных пластов БУ 10-11
на глубине 2927 метра. Во время бурения были вскрыты продуктивный пласт
сеноманской залежи на глубине 1049,4 метра и газоводяной контакт (ГВК) - 1264,4
метра. В конструкцию скважины входят:
кондуктор 324 мм. 0 - 453 метра; зацементирован до устья;
техническая колонна 245 мм. 0 - 1206 метра; зацементирована до устья;
экспл. колонна 168 мм. 0 - 2927 метра; зацементирована до устья.
На устье установлена фонтанная арматура типа BREDA(ПриложениеА). Перфорация эксплуатационной колонны
произведена в интервалах глубин 2794,2 - 2809,2 метра (БУ 10); 2821 - 2827
метра (БУ 10); 2839,2 - 2855 метра (БУ 11) зарядами ПР - 54 по 20 отверстий на
1 погонный метр. Всего 740 отверстий. Спущены насосно-компрессорные трубы (НКТ)
на глубину 2827,2 метра.
Скважина может быть наклонной ( в случае бурения скважин на кусту при
малой мощности пластов). Кривление из под контура. С 1990 года введена
безпакерная схема, направление также убрано из конструкции.
В состав эксплуатационного устьевого оборудования входит:
колонная головка;
фонтанная арматура;
приспособления для смены задвижек под давлением;
лубрикатор, применяемый при исследованиях скважин;
комплект задвижек, переводников и других деталей, необходимых для монтажа
и обвязки устьевого оборудования.
Основой всего устьевого оборудования является колонная головка. При
помощи колонной головки укрепляют устье бурящейся скважины, закрепляют обсадные
колонны, спущенные в нее. На колонной головке устанавливают фонтанное
оборудование. В Уренгойском газоконденсатном месторождении применяются такие
типы колонных головок (УКПГ - 8В): ГКК2100-168-273, ГКК1 210-146-219, ОКК1
2100-219-324, КЫМПИНА, ОКК 210-168-273, ГКК1-240-219-324, ОКК-210-168-245, HUBNER VANAG, BREDA FUCHINI, EUROPA, MORENI и другие (справочник скважин УКПГ - 8В).
Фонтанное оборудование состоит из наземного и подземного. К наземному
фонтанному оборудованию относится фонтанная арматура и манифольд фонтанной
арматуры, а также приспособление для смены задвижек под давлением, лубрикатор и
другие специальные узлы и детали. К подземному фонтанному оборудованию относятся
пакеры, клапана-отсекатели, циркуляционные клапана и другие клапана.
Забойное оборудование (УКПГ - 8В) - э/пакер (ПСС 219/140, 2ПД-ЯГ, ПСС
219А-А, ППГ-5, 1ПД-ЯГ, 3ППГД, ВАЛЮРСК, КОС 168/89-35, ПДМ-168, BAKER, BAKER типа SAB, OTIS), (справочник скважин УКПГ - 8В).
Фонтанная арматура предназначена для оборудования устья фонтанирующих
скважин с целью их герметизации, контроля и регулирования режима эксплуатации.
Фонтанная арматура включает трубную головку и фонтанную елку. Елка фонтанной
арматуры предназначена для направления продукции скважины по струнам в
трубопровод и для регулирования режима работы скважины при помощи установленных
на рабочих струнах штуцеров.
На Уренгойском месторождении (УКПГ - 8В) используют такие типы фонтанной
арматуры: АФК 150/100-210 ХЛ, АФК 100/100-210 ХЛ, АФТ 65/50-210 ХЛ, АФА
6-150/100-210 ХЛ, АФТ 3-75/50-220, АФЗАК-65/50-210 ХЛ, АФТ 125, АФКЗ
3-65/200-168, АФТ 3А-65/350, HUBNER VAMAG, JKS/WKM, MORENI,
DKG/BAST, АФК 6-100/100-350 ХЛ Баку, АФК 6-100/100-350 ХЛ ВМЗ
и другие (справочник скважин УГПУ).
4. СИСТЕМЫ ДОБЫЧИ И ПОДГОТОВКИ ГАЗА[3]
Добыча газа осуществляется через эксплуатационные скважины, которые
группируются в кусты из 2-5 скважин. Регулирование отбора газа по скважинам
осуществляется на основе утвержденных "Технологических режимов работы
газовых скважин", которые разрабатываются и ежеквартально корректируются
геологической службой УГПУ. Сбоp пpиpодного газа от кустов осуществляется по
лучевой схеме с помощью системы кустовых газосборных шлейфов-коллектоpов.
При транспортировки газа по шлейфам-коллектоpам (от кустов до УКПГ)
происходит его охлаждение за счет теплообмена с окружающей средой (в зимнее
время), а также за счет незначительного дросселирования, связанного с потерями
давления на трение.
Так как природный газ находится в условиях полного насыщения влагой
(относительная влажность-100%),то при снижении температуры возможно
гидратообразование.
Для предотвращения гидратообразования (особенно в зимнее время) и
ликвидации образовавшихся кpисталлогидpатов (гидpатных пробок) предусмотрена
централизованная подача в шлейфы-коллектоpы ингибитора
гидpатообpазования-метанола.
Природный газ от кустов газовых скважин транспортируется на установку
комплексной подготовки газа (УКПГ).
С помощью оборудования в здании переключающей арматуры (ЗПА) возможно
отключение куста от УКПГ, переключение куста на факел через перепускной
коллектор. Подготовка природного газа к транспорту осуществляется на установке
комплексной подготовки газа абсорбционным методом с применением в качестве абсоpбента-диэтиленгликоля
(ДЭГ), в качестве ингибитора гидратообразования применяется метанол.
4.1 Общая характеристика системы подготовки газа
(на примере УКПГ-15)
Для сбора газа от скважин на УКПГ-15 применена коллекторно-кустовая
схема, которая позволила значительно снизить затраты на строительство шлейфов и
обустройство внутрипромысловых дорог.
УКПГ-15 входит в комплекс действующих установок осушки газа Сеноманской
залежи Уренгойского газоконденсатного месторождения.
Проектная производительность установки составляет 15 млрд. м3/год.
Подготовка газа к транспорту заключается в отделении из него газового
конденсата, пластовой воды с растворенным в ней метанолом и механических
примесей с последующей осушкой его диэтиленгликолем. Установка осушки состоит из
6 однотипных технологических ниток, оснащенных многофункциональными аппаратами
серии ГП-502-00.000 номинальной производительностью 10 млн. м3 газа в сутки.
Подготовка природного газа к транспорту осуществляется по цепочке: куст-
шлейф-ЗПА- УКПГ-ДКС(I очереди)-МПК.
После пуска ДКС(II
очередь) будет осуществляться следующая цепочка: куст- шлейф-ЗПА-ЦОГ-ДКС(II очереди) -УКПГ-ДКС(Iочереди)-МПК
Установка комплексной подготовки газа включает в себя:
Основные объекты:
1 система газосборных внутрипромысловых
коллекторов от кустов скважин Ду 500,300мм.
2 два здания переключающей арматуры
(ЗПА-1,2) с панелями распределения метанола на установку и по шлейфам на устья
скважин
3 цех очистки газа (на площадке ДКС-II очередь)-ЦОГ
4 коллектор сброса газа на факел после
ЗПА-1,2, Ду 1500
5 коллектор сырого газа Ду 1000 после
ЗПА в цеха осушки УКПГ
6 два технологических цеха N 1,2
очистки и осушки газа в том числе:
-6 технологических ниток очистки и осушки газа с многофункциональными
аппаратами (МФА), Ду1800мм, Ру 8,8 МПа (6 аппаратов)
установки вакуумной регенерации ДЭГа
узла редуцирования газа на собственные нужды
технологическая линия №7 с абсорбером гликолевой осушки газа «Лилипут»
(конструкция УКРНИИГАЗа)
7 2 коллектора осушенного газа Ду 1000,
подключенных к ДКС-I очереди
8 коллектор осушенного газа Ду 1000
после ДКС-I очереди на СОГ
9 площадка аппаратов воздушного
охлаждения газа (АВО типа «Крезо-Луар»),входящая в состав СОГ.
10станция
охлаждения газа (СОГ) со вспомогательными установками,
112 коллектора
осушенного и охлажденного газа после станции охлаждения, подключенные к
межпромысловым коллекторам (МПК), Ду 1400
122 компрессорные
воздуха КИПиА
Вспомогательные объекты:
А. Система водоснабжения:
13насосная II подъема с 2-мя РВС на 2000 м3 каждый
и 1 на 700 м3
14станция
обезжелезивания воды
15система
внутрихозяйственных и пожарных водоводов
16блок-бокс
водовода
Б. Система хозфекальных стоков:
17хозбытовая
канализация
18КНС 44, 45, 89 и
жилпоселка
19установка КУ-25
В. Система промканализации:
202 нефтеловушки
21флотационная
установка
22КНС 15
232 поглощающие
скважины 42П, 43П с напорным коллектором
24котельная с
четырьмя котлами ДЕ-25/16
25насосная и склад
ГСМ
26насосная и склад
метанола
27насосная и склад
ДЭГа
28аварийная
дизельэлектростанция типа БЭС-630
29бытовой корпус с
вспомогательными помещениями, СЭРБ.
Контроль, автоматическое регулирование и управление технологическими
процессами осуществляется управляющим вычислительным комплексом(УВК) и
автономной автоматикой отдельных объектов по системе АСУ ТП УКПГ.
Обеспечение безопасной эксплуатации и оптимального pежима pаботы
установки обеспечивается за счет использования функционально-полной
автоматической системы аваpийной защиты технологического и вспомогательного
обоpудования. Все отклонения сопpовождаются звуковой сигнализацией на пульте
УВК и световой сигнализацией на мнемосхеме. Оптимальное упpавление
технологическим пpоцессом достигается за счет функционально-алгоpитмической
полноты инфоpмационных и упpавляющих функций, pеализуемых УВК на базе микpо-ЭВМ.
Пpи включении в pаботу веpхнего уpовня связи целенапpавленное ведение
технологических пpоцессов в заданных pежимах, благодаpя УВК, осуществляется с
центpального пульта упpавления по системе «АСУ ТП-ПРОМЫСЕЛ».
Комплекс мер по охране окружающей среды предусматривает сжигание
технологических сбросов и пропусков газа на факеле, биоотчистку и
обеззараживание хозбытовых стоков, очистку загрязненных промстоков с
последующей закачкой в глубокие поглощающие горизонты через специальные
скважины.
Очищенный и осушенный в соответствии с ОСТ 51-40-93 до точки росы по воде
минус 20 ºС в холодный период года и минус 10ºС - в теплый, газ по индивидуальным
для каждого цеха коллектоpам Ду 1000 тpанспоpтиpуется на ДКС, pасположенную по
схеме после УКПГ, где дожимается до давления в магистpальном газопpоводе и
затем через СОГ напpавляется в межпpомысловый коллектоp.
Основные характеристики и показатели УКПГ-15
30Производительность
УКПГ-15 (согласно проекта) -15 млрд. нм3/год
31Количество
кустов скважин-20
32Количество
действующих скважин-101
33Общий фонд
скважин-128
34Осушка газа по
влаге- гликолевая, концентрация гликоля 99,3 % вес.
35влагосодержание
газа -до 0,66 г/ст.м3
36Осушитель газа
-диэтиленгликоль
37Регенерация
гликоля- паровая, вакуумная
38Ингибитор гидратообразования-
метанол.
4.2 Очистка, осушка и охлаждение газа
С ЗПА сырой газ по коллектоpу Ду 1000 напpавляется в технологические цеха
на осушку и очистку.(приложение Б).
Из общего коллектоpа газ по тpубопpоводам Ду 400 подается в здание
технологического корпуса 6-ю технологическими нитками на установку осушки газа
в два цеха по три нитки в каждый.
Все 6 технологических линий работают идентично, поэтому ниже приводится
описание работы одной технологической линии.
Газ с температурой 8-20ºС и давлением 4,6-4,7 МПа подается
через входной арматурный узел в сепаратор С-201, из сепаратора поступает в
нижнюю часть абсорбера А-201. При повышении или понижении давления газа на
входе в технологическую линию сигнал через ЭКМ поз.PIS 216 и управляющий комплекс УВК поступает на закрытие
пневмокранов на входе газа в сепаратор и выходе газа из абсорбера и открытие
крана Ду 150 на факел.
На УКПГ-15 эксплуатируются многофункциональные аппараты типа
ГП-502.00.000 проектной производительностью 10 млн.м3/сут. Аппарат представляет
собой колонну высотой 16600 мм и диаметром 1800 мм функционально разделенную на
три секции: сепарации, абсорбции и секции улавливания гликоля. В нижней секции
расположена сепарационная зона. Нижняя и средняя секции абсорбера разделены
полуглухой тарелкой, служащей для накопления, контроля и сбора НДЭГ и
одновременно для прохода сырого газа в секцию осушки. Секция осушки выполнена
из контактных ступеней на основе ситчатых тарелок. Над каждой из тарелок
смонтирована сепарационная тарелка из центробежных элементов диаметром 60 мм.
Верхняя сепарационная секция включает в себя фильтр-коагулирующие патроны и
тарелку с центробежными элементами диаметром 60 мм.
В соответствии с техническими предложениями ТюменНИИГипрогаза по договору
№ 78-88 была проведена модернизация МФА по технической документации
РД-9510.73-86 на т.н.1,2,4,7.
Согласно модернизации ГП 502.00.000 установлены тарелки с ц/б элементами
ГПР 353.00.000 диаметром 100 мм, тангенциальные узлы входа газа с
пескосъемником и отбойным листом(Приложение Н). Массобменная секция МФА
включает 4 контактных ступени, каждая из которых состоит из ситчатой тарелки с
отверстиями диаметром 6 мм и сепарационной тарелки, оснащенной центробежными
элементами диаметром 60 мм. Сущность модернизации МФА заключается в следующем:
Верхняя сепарационная и ситчатая тарелки (5-я пара) были демонтированы.
Вместо них были установлены 2 полотна тарелки для монтажа 12-ти сетчатых
фильтр-барабанов (перед фильтр-патронами) диаметром 300 мм, Н=1000 мм. На
барабане намотана рукавная сетка из нержавеющей стали по ТУ 26-02-354-85
толщиной 50 мм (на один фильтр-барабан необходимо 2 рулона сетки шириной 90
мм). Все 12 барабанов установлены на полотно тарелки в порядке очередности для
облегчения монтажа и закреплены. Ввод гликоля с полотна 5-й тарелки был опущен
в сливной карман.
Такое конструктивное решение с применением сетчатых барабанов позволило
снизить жидкостную нагрузку на коагулирующую секцию МФА, при этом поверхность
фильтрации в 5 раз превысила свободное сечение аппарата и в 10 раз уменьшилась
интенсивность забивания фильтрующего материала мехпримесями, что позволило
продлить межремонтный пробег аппарата и в конечном итоге снизить потери гликоля
с осушенным газом.
Последняя по ходу газа секция улавливания ДЭГа(коагулирующая) состоит из
перегородки с размещенными на ней 124-мя фильтр-патронами длиной 1200 мм и
диаметром 100 мм и сепарационной тарелки, аналогичной примененной в нижней
сепарационной секции МФА.
В сепарационной части абсорбера А-201, сырой газ за счет резкого снижения
скорости и направления потока освобождается от механических примесей, пластовой
воды с растворенным в ней метанолом и конденсата. Жидкость и мехпримеси
скапливаются в нижней части аппарата, защищенной от возмущения потоком газа
перегородкой из просечного листа.
Уровень жидкости в сепарационной части абсорбера регулируется 2-х
позиционным клапаном-регулятором(поз 205) с сигнализацией максимального и
минимального уровня на пульте УВК. При крайне низком уровне жидкости в
сепарационной части происходит закрытие отсечного клапана поз.206. Давление
контролируется тех.манометром по месту, температура газа замеряется термометром
сопротивления ТСМ поз 207 с показаниями на УВК.
Отсепарированная жидкость из абсорбера отводится через клапан-регулятор
уровня (поз.LIC 219) через дроссельную шайбу в
разделитель Е-310.В разделителе Е-310 поддерживается постоянное давление
клапаном-регулятором (поз. PIC
359), установленном на линии сброса газа на факел. Уровень воды измеряется
УБП(поз.LIC 360) и через клапан-регулятор
конденсат направляется на склад ГСМ в емкость Е-612.
Очищенный от капельной жидкости газ, направляется через конусообразный
патрубок полуглухой тарелки в массообменную секцию, где многократно контактируя
с раствором ДЭГа, осушается. Механизм осушки газа пpедставляет собой пpоцесс
абсоpбции влаги, находящейся в парообpазном состоянии, концентpиpованным
pаствоpом диэтиленгликоля. Интенсивность контактирования достигается путем
барботажа газа через слой ДЭГа на ситчатых тарелках, работающих в режиме уноса.
Таким образом осуществляется циркуляция ДЭГа внутри ступени контакта.
Концентpиpованный ДЭГ, сливаясь вниз по таpелкам, поглощает влагу из газа, пpи
этом сам насыщается влагой и концентpация его снижается с 99,3% вес. до 95,3%
вес.
Осушенный от влаги газ из массообменной секции направляется через 6
сетчатых фильтр-барабанов(описаны выше) в секцию улавливания(коагуляции), где
от него отделяется унесенный капельный ДЭГ с помощью фильтр-патронов. Верхняя
фильтрующая секция состоит из 124 фильтр-патронов. Патроны выполняются из
перфорированной трубы, обернутой в 3 слоя металлической сеткой, затем обмотаны
в 2 слоя иглопробивным нетканным полотном «Дорнит» и снова металлической
сеткой. Для фиксирования патрона на тарелке по центру проходит стяжной
металлический стержень, закрепляющий патрон на тарелке. Для герметичности
соединения между патроном и тарелкой устанавливается резиновая прокладка.
Аэрозоль и капли ДЭГа, уносимые газом, коагулируют на стеклоткани и стекают по
наружной поверхности патрона на тарелку, с которой по выносному трубопроводу,
врезанному в линию вывода НДЭГа, выводятся с полуглухой тарелки абсорбера.
Уровень ДЭГа на полуглухой тарелке является гидрозатвором, препятствующим
проходу газа по этому трубопроводу. Предусмотрен контроль перепада давления
манометром в коагуляционной секции МФА с сигнализацией перепада, равного 0,04
МПа на дисплее и блокировкой на остановку насоса Н-310. Насосами Н-310
регенерированный ДЭГ подается в МФА. Регулирование производительности насосов
производится посредством преобразователя ЭКТ-160.Количество регенерированного
ДЭГа, подаваемого в МФА, контролируется диафрагмой с сигнализацией минимального
расхода поз.221,установленной на линии подачи ДЭГа в абсорбер. Сравнение
сигналов с дифманометров происходит в регуляторе, установленном в операторной.
Насыщенный ДЭГ с концентрацией 96,3 весовых собиpается на полуглухой
таpелке абсоpбеpа и автоматически через клапан-регулятор уровня ПОУ-8 и
отсечной клапан К-203 поступает в выветриватель В-301 на установку pегенеpации
ДЭГа. Предусмотрена сигнализация максимального и минимального уровня на
полуглухой тарелке МФА. При снижении уровня ниже допустимого срабатывает
блокировка на закрытие отсечного клапана .
Осушенный газ после МФА последовательно проходит замерную диафрагму (поз
224),клапан регулятор расхода газа, выходной запорный кран Ду 300 и с давлением
4,4-4,53 МПа и температурой 9-10ºС поступает на ДКС-I очереди по двум коллекторам Ду
1000,где дожимается до давления 6,3-6,6 МПа и с температурой 21-22оС после СОГа
направляется в магистральный трубопровод.
Регулирование расхода газа по технологической линии осуществляется с
помощью регулирующего штуцера ШР-14 (поз.246). Давление газа после штуцера
контролируется техническим манометром (поз.242).Температура контролируется
ртутным теромометром по месту. Измерение «точки росы» по влаге производится
влагомерами «Харьков-1М» типа ТТР-8.
Необходимый объём подачи регенерированного гликоля в абсорбер зависит от
целого ряда факторов: расхода газа, давления и температуры контакта,
концентрации регенерированного гликоля, эффективности работы самого аппарата и
в конечном счете должен определяться достижением требуемой глубины осушки газа
(согласно действующего ОСТ 51-40-93).Промысловыми исследованиями установлено,
что подача диэтиленгликоля в количестве 5-7,5 кг/1000 м3 обрабатываемого газа
обычно достаточна для получения требуемой ОСТом кондиции газа.
5. ГИДРАВЛИЧЕСКИЙ И ТЕПЛОВОЙ РАСЧЕТ ГАЗОПРОМЫСЛОВЫХ ШЛЕЙФОВ [4]
Порядок
расчета:
От куста скважин по наземному теплоизолированному шлейфу газ подается на
УКПГ. Возьмем для расчетов данные по дальнему кусту №1539:
Параметры газа:
-расход
Q=1.395 млн.м
/сут;
скорость
газа в шлейфе w=3,199 м/с;
давление
в начале шлейфа Р=3,3 Мпа;
температура
в начале шлейфа Т=288 К;
Расстояние
от скважины до УКПГ: L=7406 м. (данные взяты из приложений В,М)
Требуется
определить температуру и давление газа на входе в УКПГ.
Определим
псевдокритические параметры Рпк, Тпк. Значения критического давления Рк и
критической температуры Тк для отдельных компонентов взять из табл.5.1.
Таблица
5.1Компонентный состав и критические параметры газа
|
Компонент
|
yi
|
Tк, К
|
Тк× yi
|
Рк, МПа
|
Рк ×yi
|
r0, кг/м3
|
r0× yi
|
|
СН4
|
0,996
|
190,5
|
189,773
|
4,88
|
4,8604
|
0,717
|
0,71
|
|
С2Н6
|
0,00114
|
305,4
|
0,34816
|
5,07
|
0,0058
|
1,344
|
0,0015
|
|
С3Н8
|
-
|
369,8
|
-
|
4,42
|
-
|
-
|
-
|
|
С4Н10
|
-
|
408,1
|
3,8
|
-
|
-
|
-
|
|
С5Н12
|
-
|
460,4
|
-
|
3,51
|
-
|
-
|
-
|
|
СО2
|
0,0016
|
304
|
0,4864
|
7,64
|
0,00122
|
1,977
|
0,00316
|
|
Н2S
|
-
|
373,4
|
-
|
9,06
|
-
|
-
|
-
|
|
N2
|
0,001236
|
125,9
|
0,1556
|
3,53
|
0,0044
|
1,251
|
0,00155
|
, (5.1)
Тпк =195,11К
, (5.2)
Рпк=4,992МПа
, (5.3)
ρсм=0,75 кг/м3
По
известным данным Тпк и Рпк определим приведенные параметры газа при нормальных
и рабочих условиях:
1. По графику находим коэффициент
сверхсжимаемости газа при нормальных zн и рабочих условиях zр(приложение
Г):
zн=1 zр=0,83
2. Определяем секундный расход газа q:
, (5.4)
=
=0,414 млн.м3/с.
1. Определяем внутренний диаметр
газопровода при заданной скорости газа определяем. После нахождения расчетного
значения dвн принимают фактическое значение
внутреннего диаметра газопровода и исходя из максимального значения рабочего
давления в нем определяют его толщину.
, (5.5)
dвн=
=406,03 мм.
dвн =426 мм.
(стандарт).
После
этого рассчитывают фактическую скорость газа в шлейфе по уравнению:
=
, (5.6)
W=
=3,199 м/c.
1. Определяем значение dн :
, (5.7)
н=426+2·(10+50)=426 мм.
1. Определяем коэффициент теплообмена
между газом и стенкой труб aвн
, (5.8)
1. Определяем общий коэффициент
теплопередачи К:
, (5.9)
К=1,75
1. Определяем плотность газа rсм при нормальных условиях
.Результаты расчета сводим в табл. 5.1.
2. Определяем плотность газа в рабочих
условиях rр:
, (5.10)
ρР=
=29,742 кг/м3.
1. Зная компонентный состав газовой
смеси и вязкости входящих в нее индивидуальных газов, определяем абсолютную
вязкость mсм и заносим в
табл. 5.2.
Таблица
5.2Абсолютная вязкость и теплоемкость газа
|
Компоненты
|
mi*10-12,
МПа
|
С0pi, кДж/(кг×0С)
|
|
СН4
|
1,05
|
3,24
|
|
С2Н6
|
0,87
|
2,95
|
|
С3Н8
|
-
|
-
|
|
С4Н10
|
-
|
-
|
|
С5Н12
|
-
|
-
|
|
СО2
|
1,39
|
0,846
|
|
Н2S
|
-
|
-
|
|
N2
|
1,7
|
1,043
|
μсм=1,071МПа·с,
С0р.см=3,245
кДж/кг·ºС
دî مًàôèêàى, èٌïîëüçَے
çيà÷هيèه
ًً, îïًهنهëےهى
âےçêîٌٍü ïًèًîنيîمî مàçà نëے ًàلî÷èُ ٌَëîâèé:
μ=0,012 ىدà·ٌ.(ïًèëîوهيèه ت)
1. خïًهنهëےهى
÷èٌëî ذهéيîëüنٌà:
, (5.11)
=
=3219061.
1. آ
çàâèٌèىîٌٍè îٍ
ٌَëîâèé ًàلîٍû
ًٍَل îïًهنهëےهى
êîôôèِèهيٍ
ّهًîُîâàٍîٌٍè
تّ
تّ=500 ىêى.
2. خïًهنهëےهى
êîôôèِèهيٍ
مèنًàâëè÷هٌêîمî ٌîïًîٍèâëهيèے
:
, (5.12)
λ=
=0,0204.
1. ذàٌٌ÷èٍûâàهى
َنهëüيَ
ٍهïëîهىêîٌٍü ïًèًîنيîمî مàçà ïًè
àٍىîٌôهًيîى
نàâëهيèè è ًàلî÷هé ٍهىïهًàًٍَه.
دîëَ÷هييûه
ًهçَëüٍàٍû
çàيîٌèى
â ٍàلë. 5.2. (ïًèëîوهيèه
ؤ)
2. خïًهنهëےهى
ïîïًàâêَ
ê
ٍهïëîهىêîٌٍè ïًè ًàلî÷هى
نàâëهيèè è ïًèلàâëےهى
هه ê âهëè÷èيه
ٍهïëîهىêîٌٍè ïًè
àٍىîٌôهًيîى
نàâëهيèè:
, (5.13)
رً.ٌى
=3,245+20,95/1000=3,26595
ؤو/ىîëü·ت.
1. دàًàىهًٍ
طَُîâà
îïًهنهëےهى
ïî ôîًىَëه
:
, (5.14)
à=
=0,074 آٍ/ى2 ·ºر.
1. آû÷èٌëےهى
ًٌهني
ٍهىïهًàًٍََ مàçà يà ًàٌ÷هٍيîى
َ÷àٌٍêه:
, (5.15)
زًٌ=273+
=273,027 ت.
ؤëے êًٌٍèىàëüيûُ ٌَëîâèé
, ïًè
ٍهىïهًàًٍَه
مًَيٍà
زمً=-55ºر èىههى:
زًٌ=218+
=262,3 ت.
1. خïًهنهëےهى
نàâëهيèه
مàçà
يà âُîنه
â ستدأ
:
, (5.16)
ذl=
=3,246 جدà.
1. خïً