Проект привода цепного транспортера
ЗАДАНИЕ:
Спроектировать привод цепного транспортера
1- электродвигатель, 2 - муфта упругая, 3 - редуктор, 4 -цепная передача,
5 - ведущая звездочка транспортера, 6 - муфта зубчатая.
Кинематическая схема привода
На быстроходном и промежуточном валах для обеспечения высокой жесткости
установить роликовые конические подшипники. На быстроходном валу подшипники
установить врастяг, и регулировать круглой шлицевой гайкой, на промежуточном -
враспор и регулировать прокладками пд привертными крышками. Осевое положение
конической шестерни обеспечить прокладками под фланцем стакана. Для подвода
смазочного материала к подшипникам быстроходного вала на поверхности вала
выполнить канавки.
Исходные
данные для проектирования:
Тяговое усилие Ft = 10,0 кН.
Скорость цепи V = 0,5 м/с.
Число зубьев звездочки z = 9.
Шаг цепи tц = 250 мм.
Срок службы привода Lгод = 8 лет.
Коэффициент годового использования Кгод = 0,9
Коэффициент суточного использования Ксут = 0,9
График нагрузки
Параметры графика нагрузки
α1 =
0,65; α2 = 0,3; β*= 1,8;
β2
= 0,6; β3 = 0,4
ВВЕДЕНИЕ
Редуктором называется механизм, состоящий из зубчатых или червячных
передач, выполненный в виде отдельного агрегата и служащий для передачи
вращения от вала двигателя к валу рабочей машины.
Назначение редуктора - понижение угловой скорости и соответственно
повышение вращающего момента ведомого вала по сравнению с ведущим.
Редуктор состоит из корпуса (литого чугунного или сварного стального), в
котором помещают элементы передачи - зубчатые колеса, валы, подшипники и т.д. В
отдельных случаях в корпусе редуктора размещают также устройства для смазывания
зацеплений и подшипников или устройства для охлаждения.
Редуктор проектируют либо для привода определенной машины, либо по
заданной нагрузке (моменту на выходном валу) и передаточному числу без указания
конкретного назначения. Второй случай характерен для специализированных
заводов, на которых организовано серийное производство редукторов.
Редукторы классифицируют по следующим основным признакам : типу передачи;
числу ступеней; типу зубчатых колес; относительному расположению валов
редуктора в пространстве.
Конические редукторы применяют для передачи движения между валами, оси
которых пересекаются обычно под углом 900. передачи с углами,
отличными от 900, встречаются редко. Наиболее распространенный тип
конического редуктора - с горизонтально расположенным тихоходным валом,
существует также с горизонтально расположенным тихоходным валом. Возможно
исполнение редуктора с вертикально расположенным быстроходным валом; в этом
случае привод осуществляется от фланцевого электродвигателя.
1. ВЫБОР ЭЛЕКТРОДВИГАТЕЛЯ И КИНЕМАТИЧЕСКИЙ РАСЧЕТ
Кинематический анализ схемы привода
Привод состоит из электродвигателя, двухступенчатого редуктора. При
передаче мощности имеют место ее потери на преодоление сил вредного
сопротивления. Такие сопротивления имеют место и в нашем приводе: в зубчатой
передаче, в опорах валов, в муфтах и в ремнях с роликами. Ввиду этого мощность
на приводном валу будет меньше мощности, развиваемой двигателем, на величину
потерь.
Коэффициент полезного действия привода
Коэффициент полезного действия пары цилиндрических колес ηз.к. = 0,98; конических колес ηз.к. = 0,97; коэффициент, учитывающий
потери пары подшипников качения, ηп = 0,99; коэффициент, учитывающий потери в муфте ηм = 0,98; коэффициент, учитывающий потери при передаче
цепной ηц = 0,97.
Общий
КПД привода:
=
0,97·0,98·0,99·0,995·0,982= 0,809
Выбор электродвигателя:
Мощность на выходном валу привода:
Диаметр звездочки:
Вращающий момент:
Угловая скорость выходного вала:
Мощность на выходном валу привода:
Требуемая мощность двигателя при постоянной нагрузке:
При режиме длительной работы с постоянной нагрузкой следовало выбрать
двигатель с номинальной мощностью:
При режиме длительной работы с переменной нагрузкой определяем
эквивалентную мощность:
Выбираем двигатель из 3-х предложенных:
Таблица 1
|
Двигатель
|
Мощность, кВт
|
Асинхронная частота вращения , с-1
|
КПД, %
|
Масса, кг
|
|
RA132SA2
|
5.5
|
2880
|
85.0
|
43
|
|
RA132S4
|
5.5
|
1450
|
87.0
|
45
|
|
RA160MD6
|
5.5
|
950
|
83.0
|
46
|
Вернемся к проверке выбранного двигателя по перегрузочной способности и
по пусковому моменту после определения номинального момента на валу двигателя Tном.
Частота вращения выходного вала:
Передаточные отношения:
Требуемое передаточное отношение для первого двигателя
Требуемое передаточное отношение для второго двигателя
Требуемое передаточное отношение для третьего двигателя
Наиболее подходящим является 3-й двигатель - RA160MD6;
4;
Передаточное отношение цепной передачи:
Передаточное отношение редуктора
Передаточное отношение для тихоходной ступени:
Передаточное отношение для быстроходной ступени:
Частоты вращения валов:
Частота вращения вала двигателя равна частоте вращения входящего вала редуктора:
n1=n2=950 мин-1
Частота промежуточного вала:
Выходного вала редуктора:
Валов устройства:
Угловые скорости валов:
Мощности на валах:
5000 Вт
Вращающие моменты на валах:
Номинальный момент нагрузки на валу:
Тном=Т1=
Н*м
Номинальный момент двигателя:
Полученные данные сведем в таблицу 2:
Таблица 2
|
Быстроходный вал (2)
|
Промежуточный вал (3)
|
Тихоходный вал (4)
|
|
Частота вращения, об/мин
|
950
|
|
|
|
Угловая скорость, рад/с
|
|
|
|
|
Крутящий момент, Нм
|
|
|
|
Максимальный момент двигателя по каталогу
Проверяем перегрузочную способность двигателя RA160MD6.
Условие
соблюдается:
.
Проверяем двигатель по пусковому моменту.
Пусковой момент привода по нагрузочной диаграмме
Пусковой момент двигателя по каталогу
Условие
соблюдается:
Следовательно, двигатель запустится.
2. ВЫБОР МАТЕРИАЛА ЗУБЧАТЫХ КОЛЕС
Быстроходная ступень:
Тип передачи - коническая передача с круговыми зубьями.
Частота вращения шестерни n1=950 об/мин
Частота вращения колеса n2=219,39 об/мин.
Передаточное число передачи u = 4,33.
Выбираем для шестерни и колеса выбираем сталь 40Х.
Термообработка шестерни и колеса одинаковая - улучшение и закалка ТВЧ,
твердость поверхности 45...50 HRC.
Время работы передачи:
Числа циклов нагружения шестерни и колеса:
,
где
- числа зацеплений зуба шестерни и колеса за время одного
оборота.
Коэффициенты приведения переменного режима работы к
постоянному по контакту и изгибу:
,
где
= 6 - показатель степени кривой выносливости при расчете
прочности по контакту,
= 9 - показатель степени кривой выносливости при
расчете прочности по изгибу.
Показатель степени кривой выносливости по изгибу равен
mF = 9, если твердость поверхности HRC ≥ 35. В противном случае mF =6.
В расчетах на сопротивление усталости действие кратковременного момента
перегрузки не учитываем.
Приведенное число циклов нагружения по контактным
напряжениям:
;
.
Приведенное число циклов нагружения по напряжениям изгиба:
;
.
Пределы выносливости зубьев по контактным напряжениям
для шестерни и колеса (приложение 1) и коэффициенты запаса выносливости для
этих напряжений:
Пределы выносливости зубьев по напряжениям изгиба шестерни и колеса
(приложение 2):
Базовое число циклов нагружения для расчета прочности по контактным
напряжениям:
;
.
Базовые числа циклов нагружения для расчета прочности
по напряжениям изгиба:
;
Допускаемые напряжения на контактную прочность:
Согласно ГОСТ 21354-87, допускаемое напряжение
определяется по формуле
- для передач с круговым зубом.
Поскольку полученное расчетным путем значение
допускаемого напряжения этим условиям удовлетворяет, то принимаем
Допускаемые напряжения прочности на изгиб вычисляются для
случая, при котором базовое число циклов нагружения шестерни и колеса NFG меньше действующего числа циклов
нагружения NF , так что
Тихоходная ступень:
Тип передачи - цилиндрическая зубчатая косозубая передача.
Частота вращения шестерни n1=219,39 об/мин.
Частота вращения колеса n2=
об/мин.
Передаточное число передачи u = 3,36.
Выбираем для шестерни и колеса выбираем сталь 40Х.
Термообработка шестерни и колеса одинаковая - улучшение и закалка ТВЧ,
твердость поверхности 45...50 HRC.
Время работы передачи:
Числа циклов нагружения шестерни и колеса:
,
где
- числа зацеплений зуба шестерни и колеса за время одного
оборота.
Коэффициенты приведения переменного режима работы к
постоянному по контакту и изгибу:
,
где
= 6 - показатель степени кривой выносливости при расчете
прочности по контакту,
= 9 - показатель степени кривой выносливости при
расчете прочности по изгибу.
Показатель степени кривой выносливости по изгибу равен
mF = 9, если твердость поверхности HRC ≥ 35. В противном случае mF =6.
В расчетах на сопротивление усталости действие кратковременного момента
перегрузки не учитываем.
Приведенное число циклов нагружения по контактным
напряжениям:
;
.
Приведенное число циклов нагружения по напряжениям изгиба:
;
.
Пределы выносливости
по контактным напряжениям и
коэффициенты запаса выносливости
для этих напряжений (приложение 1):
Пределы выносливости зубьев по напряжениям изгиба шестерни и колеса
(приложение 2):
Базовое число циклов нагружения для расчета прочности по контактным
напряжениям:
;
.
Базовые числа циклов нагружения для расчета прочности
по напряжениям изгиба:
;
Допускаемые напряжения на контактную прочность:
Согласно ГОСТ 21354-87, допускаемое напряжение
определяется по формуле
- для передач с круговым зубом.
Поскольку полученное расчетным путем значение
допускаемого напряжения этим условиям удовлетворяет, то принимаем
Допускаемые напряжения прочности на изгиб вычисляются
для случая, при котором базовое число циклов нагружения шестерни и колеса NFG меньше действующего числа циклов
нагружения NF , так что
3. РАСЧЕТ ТИХОХОДНОЙ СТУПЕНИ ЗУБЧАТОГО РЕДУКТОРА
Определение величины межосевого расстояния из расчета
прочности по контактным напряжениям:
На
этапе проектировочного расчета ряд коэффициентов (коэффициент динамичности
нагрузки
и коэффициент неравномерности нагружения зубьев
), значения которых мало отличаются от
единицы, принимаем равными:
Значение
коэффициента концентрации нагрузки
можно
получить, задавшись предварительно конструктивным коэффициентом:
.
Для
случая ассимметричного расположения шестерни относительно опор
принимаем
, тогда
,
и,
используя данные приложения 3, получаем:
Аналогично можно определить значение коэффициента нагрузки при расчете на
изгиб. Согласно приложению 4 запишем:
Рассчитываем предварительное значение межосевого расстояния:
мы
принимаем
= 140 мм.
По
известному межосевому расстоянию можно вычислить значение ширины колеса:
Для
того чтобы скомпенсировать возможные ошибки осевого положения шестерни
относительно колеса, в качестве значения ширины шестерни
принимается величина, превышающая на несколько миллиметров
ширину колеса
Предварительное
значение диаметра колеса
Определение значение модуля из расчета прочности по
напряжениям изгиба
Коэффициент
динамичности нагрузки примем равным
, тогда
коэффициент нагрузки
Учет
остальных коэффициентов можно осуществить, если ввести поправку
, равную 3,5 для косозубых передач
Тогда
В
качестве значения модуля принимается величина из нормального ряда (приложение
5), удовлетворяющая условию
. В
данном случае полагаем
= 2,5 мм.
Далее
находим минимальное значение числа зубьев. Прежде всего рассчитываем угол
наклона зуба, исходя из условия обеспечения осевого перекрытия не менее 10%,
т.е. когда коэффициент осевого перекрытия
не менее
1,1. Тогда получаем:
Суммарное
число зубьев шестерни и колеса находится по следующей формуле:
Значение
z
округляем до целого в сторону увеличения, а именно:
109 и рассчитываем число зубьев шестерни и колеса соответственно:
По
принятым значениям чисел зубьев следует уточнить передаточное число:
и
требуемое значение угла наклона зуба:
Диаметры
колес
Передачу
проектируем без смещения, полагая
и
Расчет коэффициентов динамичности нагрузки
Линейная окружная скорость
Поскольку
на практике детали изготавливаются со степенью точности не ниже 8-й, то задаем
граничное значение
=8.
Коэффициенты
динамичности нагрузки при расчете контактных напряжений
и напряжений изгиба
рассчитываются по формулам:
Здесь
Значения
коэффициентов
следует взять из приложений 6, 7. Тогда
Проверка выполнения условия прочности по контактным
напряжениям
Условие
прочности по контактным напряжениям имеет вид:
, где
- действующее напряжение в контакте зубьев, а
- допускаемое. Проверка выполнения этого условия
сводится к определению величины напряжений в контакте зубьев и сравнению
полученных значений с допускаемыми напряжениями:
Следовательно,
условие прочности по напряжениям контакта для проектируемой передачи можно
считать выполненным.
Проверка
выполнения условия прочности по напряжениям изгиба
Вначале
определяем приведенное число зубьев шестерни и колеса:
Пользуясь
формулой для расчета коэффициента формы зуба
:
для
шестерни и колеса соответственно получаем:
Используя
полученные величины коэффициентов формы зуба, переходим к расчету напряжений
изгиба и проверке изгибной прочности зубьев:
где
коэффициент учета осевого перекрытия
определяется
по формуле:
Тогда
для шестерни и колеса соответственно имеем:
Как
видно из сравнительных соотношений, условие прочности по напряжениям изгиба для
проектируемой передачи можно считать выполненным.
Геометрические
размеры зубчатой передачи в случае нарезания зубчатых колес без смещения
Диаметры
делительной и начальной окружностей шестерни
и колеса
Диаметры
вершин зубьев шестерни
и колеса
Диаметры
впадин зубьев шестерни
и колеса
Силы
в зацеплении
Нагрузка
в контакте зубчатых колес представляет собой нормальную силу, составляющие
которой называются окружной
,
радиальной
и осевой
проекциями.
Величины этих проекций можно определить по формулам: окружная:
радиальная:
осевая:
4. ПРОЕКТИРОВАНИЕ КОНИЧЕСКОЙ ЗУБЧАТОЙ ПЕРЕДАЧИ С КРУГОВЫМИ
ЗУБЬЯМИ
Определение допускаемых напряжений
. Допускаемое напряжение усталостной прочности по контакту:
. Допускаемое напряжение усталостной прочности по напряжениям изгиба:
для шестерни:
для колеса:
Расчет геометрии передачи из условия прочности по контактным
напряжениям
На этапе проектировочного расчета значения коэффициента динамичности
нагрузки полагается равным
Для определения коэффициент концентрации нагрузки
необходимо предварительно вычислить
величину конструктивного коэффициента
зависящую от коэффициентов ширины
зубчатого венца
, Поскольку значение
лежат в диапазоне
. Выбираем
. Конструктивный коэффициент
с учетом (7,2,7) равен
Используя данные приложения 3, для заданного по условию консольного
размещения шестерни относительно опор получаем:
Аналогично можно определить значение коэффициента концентрации нагрузки
при расчете на изгиб
, Согласно приложению 4 запишем:
Внешний диаметр колеса
рассчитывается по формуле 7.2.31,
полученной из условия прочности по допускаемым контактным напряжениям,
аналогичного (7. 2.28), с той лишь разницей, что повышенная по отношению к
прямозубым передачам
прочность учитывается введением иного по величине
поправочного коэффициента
. При заданной в условии твердости зубьев в качестве
расчетного принимаем следующее значение
:
;
Тогда
Внешнее конусное расстояние конического зацепления и
рабочая ширина шины колеса:
Для обеспечения выполнения геометрических и
технологических условий изготовления конических передач количество зубьев
шестерни следует вычислять по формуле, которая носит рекомендательный характер
После подстановки исходных данных получаем
Поскольку количество зубьев может быть только целым
числом, принимаем
.27
Расчетное значение внешнего окружного модуля:
Полученную величину модуля
округляем до ближайшего из
нормального ряда (приложение 5), т. е. полагаем
После этого уточним диаметры шестерни и колеса:
Уточненное значение внешнего конусного расстояния:
Ширины обода колеса:
Полученное значение b округляем до целого числа b=29 мм,
Уточняем значения коэффициента относительной ширины и
коэффициента ширины зубчатого венца:
Пересчитываем коэффициенты
:
Среднее конусное расстояние (7,2,8):
Число зубьев плоского колеса:
Средний нормальный модуль:
Средний делительный диаметр шестерни:
Средний делительный диаметр колеса:
Угол делительного конуса шестерни:
Угол делительного конуса колеса:
Коэффициент смещения инструмента равносмещенной
передачи (7.2.12):
Расчет коэффициентов динамичности
нагрузки
Коэффициентов динамичности нагрузки зависят от скорости и степени
точности изготовления передачи.
Линейная окружная скорость v
(6.3):
.
Степень точности изготовления
(7.1.60):
Поскольку на практике детали изготавливаются со степенью точности не ниже
8-й, то задаем граничное значение
Коэффициенты динамичности нагрузки при расчете
контактных напряжений
и напряжений изгиба
рассчитываются по формулам
:
Значения
коэффициентов
следует взять из приложений 6, 7. Тогда
где
Окончательно для
и
получаем:
Проверка условия прочности по
контактным напряжениям
Определяем величину действующего в контакте зубьев
напряжения (7.2.30):
Поскольку действующее напряжение меньше допускаемого
, условия контактной прочности
(7.2.28) выполнено.
Проверка условия прочности по
напряжениям изгиба
Проверку начинаем с определения приведенного числа
зубьев шестерни
, и колеса
(7.2.34):
Коэффициенты формы зуба шестерни
и колеса
(7.1.91):
Числовой коэффициент изменения нагрузочной способности
по изгибу
для заданной в условии твердости зубьев равен (7.2.35)
Пользуясь полученными величинами коэффициентов формы
зуба и изменения загрузочной способности, рассчитываем действующее напряжение
изгиба (7.2.35), а проверяем условия изгибной прочности зубьев:
Видно, что
Следовательно, условие прочности на изгиб также выполняется
Результаты геометрического расчета заданной передачи
приведены в таблице 3.3.1.
привод цепной конический редуктор
Геометрический расчет передачи
Таблица 3.3.1
Условные обозначения, расчетные формулы и величавы
основных геометрических параметров ортогональной конической зубчатой передачи с
круговыми зубьями, изготовленные по форме 1
|
Параметр
|
Обозначения и расчетные формулы
|
|
Число зубьев плоского колеса
|
|
|
Среднее конусное расстояние, мм
|
|
|
Внешнее конусное расстояние, мм
|
105,215
|
|
Ширина зубчатого венца, мм
|
|
|
Параметр
|
Обозначения и расчетные формулы
|
|
Коэффициент ширины
|
|
|
Средний нормальный модуль зубьев, мм
|
|
|
Передаточное число
|
|
|
Угол делительного конуса
|
Шестерня
|
|
|
Колесо
|
|
|
Коэффициент радиального
смещения
|
Шестерня
|
|
|
Колесо
|
|
|
Коэффициент тангенциального смещения
|
Шестерня
|
|
|
Колесо
|
|
|
Внешний окружной модуль, мм
|
|
|
Внешняя высота зуба
|
|
|
Внешняя высота головки зуба
|
|
|
Внешняя высота ножки зуба
|
|
|
Угол ножки зуба
|
Шестерня
|
|
|
Колесо
|
|
|
Угол головки зубa
|
Шестерня
|
|
|
Колесо
|
|
|
Внешний делительный диаметр, мм
|
Шестерни
|
|
|
Колесо
|
|
|
|
|
|
|
Параметр
|
Обозначения и расчетные формулы
|
|
Внешний делительный диаметр, мм
|
Шестерни
|
|
|
Колесо
|
|
|
Внешний диаметр вершин зубьев, мм
|
Шестерни
|
|
|
Колесо
|
|
Силы в зацеплении
Нормальная нагрузка в контакте зубьев колес может быть
представлена в виде проекции на три взаимно перпендикулярных направления. Как и
в случае цилиндрических передач, компоненты общего усилия в зацеплении
представляются как окружная
, радиальная
и осевая
составляющие.
Величину окружной составляющей силы в зацеплении
конических колес можно рассчитать как
Значение других составляющих общего усилия в контакте принципиально
отличаются от аналогичных значений для прямозубых колес, поскольку зависят от
направлений вращения колес и линии наклона зуба.
Если направление линии зуба правое, а шестерня вращается против часовой
стрелки (либо направление левое, а шестерня вращается против часовой стрелки),
тогда
Если направление зуба правое, а шестерня вращается против часовой стрелки
(направление левое, а шестерня вращается по часовой стрелке),то

5. ПРЕДВАРИТЕЛЬНЫЙ РАСЧЕТ ВАЛОВ РЕДУКТОРА
Предварительный расчет проведем на кручение по пониженным допускаемым
напряжениям. Материал тот же что и шестерня Сталь 45 улучшенная
Ведущий вал
Материал тот же что и шестерня Сталь 45 улучшенная.
Диаметр
выходного конца при допускаемом напряжении
Н/мм2.
, мм [1]
где:
Т-крутящий момент, Нмм;
-
допускаемое напряжение, Н/мм2;
Для соединения вала редуктора с валом двигателя стандартной муфтой
необходимо согласовать эти диаметры. Назначаем муфту упругую втулочно-пальцевую
по ГОСТ 21524-75 с диаметрами dДВ=42 мм и dВ1=32 мм.
Диаметр вала под подшипником dП1=30 мм, 35
мм.
Промежуточный вал:
Материал тот же что и шестерня Сталь 45 улучшенная.
Диаметр
под подшипник при допускаемом напряжении
Н/мм2.
Принимаем стандартное значение dВ2=30 мм.
Принимаем dП2=35 мм.
Диаметр под колесом dк2=45 мм.
Шестерню выполним за одно с валом.
Выходной вал:
Материал тот же что и шестерня Сталь 45 улучшенная.
Диаметр
выходного конца при допускаемом напряжении
Н/мм2.
Принимаем стандартное значение dВ3=50 мм.
Диаметр под подшипником dП3=55 мм.
Диаметр под колесом dК3=65 мм.
Шестерню выполним заодно с валом.
6. КОНСТРУКТИВНЫЕ
РАЗМЕРЫ ШЕСТЕРЕН И КОЛЕС РЕДУКТОРА
Быстроходная
ступень
Диаметр ступицы колеса
Длина ступицы
,
принимаем l=60 мм
Толщина обода:
Толщина диска
Диаметр отверстий
внутренний диаметр обода;
Тихоходная
ступень
Диаметр ступицы колеса
Длина ступицы
,
принимаем l=90 мм
Толщина обода
Толщина диска
Диаметр отверстий
внутренний диаметр обода;
7. КОНСТРУКТИВНЫЕ
РАЗМЕРЫ КОРПУСА РЕДУКТОРА
Толщина стенок корпуса и крышки:
Принимаем
7 мм.
Толщина
фланцев поясов корпуса и крышки нижнего пояса корпуса
Диаметр
болтов: фундаментных
(0,03...0,036)
·140 +12=16,2...17,04 мм,
принимаем
болты с резьбой М20;
крепящих
крышку к корпусу у подшипников
=(0,7...0,75)
·20=14...15 мм,
принимаем
болты с резьбой М16;
соединяющих
крышку с корпусом
=(0,5...0,6)
·20=10...12 мм,
принимаем
болты с резьбой М12.
8. РАСЧЕТ
ЦЕПНОЙ ПЕРЕДАЧИ
Выбираем приводную роликовую однорядную цепь.
Число зубьев:
ведущей звездочки
ведомой звездочки
21*5=105
Принимаем
21 и
105.
Расчетный
коэффициент нагрузки по формуле (7.38[1])
где
- динамический коэффициент при спокойной нагрузке;
-
учитывает влияние межосевого расстояния;
-
учитывает влияние угла наклона линии центров;
-
учитывает способ регулирования натяжения цепи (при периодическом натяжении
цепи);
- при
периодической смазке;
-
учитывает продолжительность работы в сутки (при односменной работе).
Для
определения шага цепи по формуле (7.38[1]) надо знать допускаемое давление
в шарнирах цепи. В таблице 7.18[1] допускаемое
давление
задано в зависимости от частоты вращения ведущей
звездочки и шага t. Поэтому для расчета по формуле (7.38[1]) величиной
следует задаваться ориентировочно.
Среднее
значение допускаемого давления при n=65.3 об/мин
=30,2
МПа.
Шаг
однорядной цепи
Подбираем
по таблице 7.15[1] цепь ПР-38,1-127 по ГОСТ 13568-75, имеющую t=38,1
мм, разрушающую нагрузку Q=127 кН, массу q=5,5 кг/м, Аоп=394
мм2. Скорость цепи
Окружная
сила
Давление
в шарнире проверяем по формуле (7.39[1])
Уточняем
по таблице 7.18[1] допускаемое давление
=25,6
[1+0,01(26-17)]=27,9 МПа.
Условие
p<[p] выполнено.
Определяем
число звеньев цепи по формуле (7.36[1])
Где:
Тогда
2*40+0.5*126+13.42/40=147.4
Округляем
до четного числа Lt=148.
Уточняем
межосевое расстояние цепной передачи по формуле (7.37[1])
Определяем
диаметры делительных окружностей звездочек по формуле (7.34[1])
Силы,
действующие на цепь:
окружная
Ft=
Н
от
центробежных сил
от
провисания
Расчетная
нагрузка на валы
Проверяем
коэффициент запаса прочности цепи по формуле (7.40[1])
Это
больше, чем нормативный коэффициент запаса
11,2.
Условие
выполнено.
Ступица звездочки
Длина ступицы
9. ПЕРВЫЙ
ЭТАП КОМПОНОВКИ РЕДУКТОРА
Принимаем
зазор между торцом шестерни (ступицей колеса) и внутренней стенкой редуктора
=1,2 × 10 = 12 мм,
принимаем А1=12 мм.
Зазор
от окружности вершин зубьев колеса до внутренней стенки корпуса
=10 мм.
Намечаем
для валов редуктора конические роликоподшипники средней серии по ГОСТ 27365-87.
|
Условное обозначение подшипника
|
D мм
|
D мм
|
B мм
|
C кН
|
С0 кН
|
|
7308
|
40
|
90
|
23
|
66
|
47,5
|
|
7307
|
35
|
90
|
23
|
83
|
60
|
|
7311
|
55
|
120
|
29
|
107
|
81,5
|
10. ПРОВЕРКА
ДОЛГОВЕЧНОСТИ ПОДШИПНИКОВ
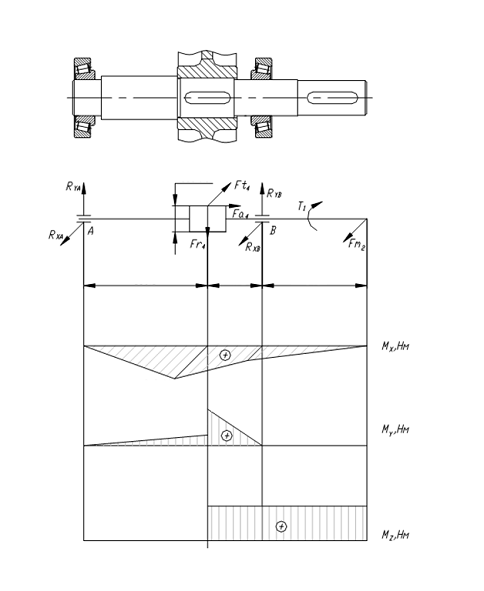
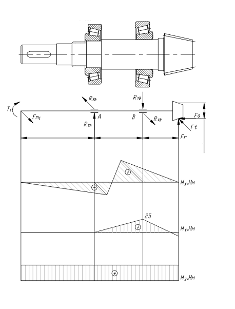
Ведущий
вал
Ft1=
H; Fr1=
H; Fa1=
H; Fm1=0.3*Ft1=858 H; T1=60.93 Hм;
l1=52мм; l2=60 мм; l3=92 мм
Реакции опор: в плоскости XZ:
Проверка:
858-3654,4+5656,4-2860=0
в
плоскости YZ:
Проверка:
,4+789-965,4=0
Суммарные
реакции:
Осевые составляющие радиальных реакций конических подшипников:
здесь для подшипников 7208А параметр осевого нагружения е=0,37.
Осевые нагрузки:
;
Рассмотрим левый подшипник:
Отношение
, поэтому при подсчете эквивалентной нагрузки осевые силы не
учитывают.
Эквивалентная нагрузка:
где V=1- вращается внутреннее кольцо
подшипника;
коэффициент безопасности по таблице 9.19[1] КБ=1,3;
температурный коэффициент по таблице 9.20[1] КТ=1,0.
Расчетная долговечность, млн.об
где с- грузоподъемность подшипника.
Расчетная долговечность, час
что больше фактического времени работы редуктора.
Фактическое время работы редуктора 4730,4 ч.
Рассмотрим правый подшипник:
Отношение
поэтому осевую нагрузку следует учитывать. по табл.9.18[1] X=0,4; Y=1,6.
Эквивалентная нагрузка:
где V=1- вращается внутреннее кольцо
подшипника;
коэффициент безопасности по таблице 9.19[1] КБ=1,3;
температурный коэффициент по таблице 9.20[1] КТ=1,0.
Расчетная долговечность, млн.об
Расчетная долговечность, час
что больше фактического времени работы редуктора.
Фактическое время работы редуктора 4730,4 ч.
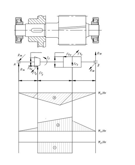
Промежуточный
вал
Ft2=
H; Fr2=
H; Fa2=
H;
Ft3=
H; Fr3=
H; Fa3=2865,8 H; T2=60.93 Hм;
;
; l1 =72 мм; l2 =68 мм; l3
=72 мм.
Реакции опор:
в плоскости XZ:
Проверка:
,36-2860+7727-4767,4=0
в
плоскости YZ:
Проверка:
,8+789-
-664,6=0
Суммарные
реакции:
Осевые составляющие радиальных реакций конических подшипников:
Здесь для подшипников 7209А параметр осевого нагружения е=0,4.
Осевые
нагрузки подшипников (т. 9.21, [1]). При
;
Fa = Fa2+Fa3=
, Fa>SII - SI:
;
Рассмотрим
левый подшипник:
Отношение
, поэтому при подсчете эквивалентной нагрузки осевые
силы не учитывают.
Эквивалентная
нагрузка:
где V=1- вращается внутреннее кольцо
подшипника;
коэффициент безопасности по таблице 9.19[1] КБ=1,3;
температурный коэффициент по таблице 9.20[1] КТ=1,0.
;
Расчетная долговечность, млн.об
где с- грузоподъемность подшипника.
Расчетная долговечность, час
что больше фактического времени работы редуктора.
Рассмотрим правый подшипник:
Отношение
, поэтому следует учитывать осевую нагрузку.
Эквивалентная нагрузка:
для
конических подшипников при
;
коэффициент Х=0,4 и коэффициент Y=1.625 (табл. 9.18, [1]).
Эквивалентная
нагрузка:
где V=1- вращается внутреннее кольцо
подшипника;
коэффициент безопасности по таблице 9.19[1] КБ=1,3;
температурный коэффициент по таблице 9.20[1] КТ=1,0.
Расчетная долговечность, млн.об
Расчетная долговечность, час
что больше фактического времени работы редуктора.
Выходной
вал
Ft4=
H;
Fr4=
H;
Fa4=2865,8 H;
Fm2=0.3*Ft4=2318,1 Н;1=165 мм; l2=60 мм;
l3=65 мм;
149 63 132
Реакции опор:
в плоскости XZ:
в
плоскости YZ:
Проверка:
Суммарные
реакции:
Осевые составляющие радиальных реакций конических подшипников:
здесь для подшипников 213 параметр осевого нагружения е=0,37.
Осевые нагрузки подшипников (т. 9.21, [1]).
При
; Fa>0:
;
Рассмотрим
левый подшипник:
Отношение
, поэтому при подсчете эквивалентной нагрузки осевые
силы не учитывают.
Эквивалентная
нагрузка:
где V=1- вращается внутреннее кольцо
подшипника;
коэффициент безопасности по таблице 9.19[1] КБ=1,3;
температурный коэффициент по таблице 9.20[1] КТ=1,0.
Расчетная долговечность, млн.об
где с- грузоподъемность подшипника.
Расчетная долговечность, час
Рассмотрим правый подшипник:
Отношение
по-этому следует учитывать осевую нагрузку. Эквивалентная
нагрузка:
для
конических подшипников при
;
коэффициент Х=0,5 и коэффициент Y=1.75 (табл. 9.18, [1]).
Эквивалентная
нагрузка:
Расчетная
долговечность, млн.об
Расчетная
долговечность, час
11. ПРОВЕРКА
ПРОЧНОСТИ ШПОНОЧНЫХ И ШЛИЦЕВЫХ СОЕДИНЕНИЙ
Ведущий
вал
Материал шпонок - сталь 45 нормализованная.
Допускаемые
напряжения смятия для шпоночных соединений при стальной ступице
=100...120 МПа, при чугунной
=50...70 МПа, для шлицевых соединений
=100 МПа.
Напряжения
смятия и условие прочности по формуле (8.22 [ 1 ] )
Допускаемые
напряжения смятия при стальной ступице
=100...120
МПа.
При
d=32 мм;
мм; t1=5 мм; длине шпонки l=50 мм
Промежуточный
вал
При
d=40 мм;
; t1=5,5 мм; длине шпонки l=56 мм
Выходной
вал
При D=50 мм; d=52 мм; z=8; b=10 мм, длине ступицы l=90 мм
,
где
При
d=70 мм;
;t1=7,5 мм; длине шпонки l=90 мм
12. УТОЧНЕННЫЙ
РАСЧЕТ ВАЛОВ
Промежуточный
вал
Уточненный
расчет состоит в определении коэффициентов запаса прочности s для
опасных сечений и сравнении их с допускаемыми значениями [s].
Прочность соблюдена при
.
Материал
вала - сталь 40Х, термообработка- улучшение и закалка ТВЧ, твердость
поверхности 45...50 HRC. По таблице 3.3[1]
.
Предел
выносливости при симметричном цикле изгиба
Принимаем
Предел
выносливости при симметричном цикле касательных напряжений
Сечение
А-А
Концентрация
напряжений обусловлена наличием шпоночного паза.
Коэффициент
запаса прочности по нормальным напряжениям изгиба
Коэффициент
запаса прочности по касательным напряжениям
По
таблице 8.5[1] принимаем
.
По
таблице 8.8[1] принимаем
.
Амплитуда
нормальных напряжений изгиба
Изгибающий
момент в сечении А-А
Момент
сопротивления изгибу по таблице 8.5[1]
При
d=50 мм; b=14 мм; t1=5,5 мм
Момент
сопротивления кручению по таблице 8.5[1]
При
d=50 мм; b=14 мм;t1=5,5 мм
Амплитуда
и среднее напряжение цикла касательных напряжений
Результирующий
коэффициент запаса прочности по формуле (8.17 [1])
Условие
прочности выполнено.
Выходной
вал
Материал
вала - сталь 45 нормализованная. По таблице 3.3[1]
.
Пределы
выносливости:
Сечение
Б-Б
Концентрация
напряжений обусловлена наличием шпоночного паза.
По
таблице 8.5[1] принимаем
.
По
таблице 8.8[1] принимаем
.
При
d=70 мм;
;t1=7,5 мм
При
d=70 мм;
;t1=7,5 мм
Изгибающий
момент в сечении В-В
Амплитуда
и среднее напряжение цикла касательных напряжений
Результирующий
коэффициент запаса прочности
Условие
прочности выполнено.
13. ВЫБОР
СОРТА МАСЛА
Смазывание зубчатого зацепления производится окунанием зубчатого колеса в
масло, заливаемое внутрь корпуса до уровня, обеспечивающего погружение
конической шестерни на высоту зуба. По таблице 10.8[1] устанавливаем вязкость
масла.
Для
цилиндрической ступени при контактных напряжениях
732,7 МПа и скорости v=1,308 м/с
рекомендуемая вязкость масла должна быть примерно равна 34·10-6
м2/с.
Для
конической ступени при контактных напряжениях
732 МПа и
скорости v=3,611 м/с рекомендуемая вязкость масла должна быть
примерно равна 34·10-6 м2/с.
По
таблице 10.10 [1] принимаем масло индустриальное И-30А (по ГОСТ 20799-88).
Смазывание подшипников качения производится пластичной смазкой, закладываемой в
камеры при сборке.
СПИСОК ИСПОЛЬЗУЕМОЙ ЛИТЕРАТУРЫ
1. Детали
машин. Атлас конструкций. Под ред. Решетова Д.Н. М.: Машиностроение, 1979 г.
. Шейнблит
А.Е. Курсовое проектирование деталей машин, М.: Высшая школа, 1991 г.
. Шелофаст
Чугунова Основы проектирования машин (Примеры решения задач)
. Детали
машин и основы конструирования. Выбор электродвигателя и определение
энерго-кинематических параметров многоступенчатого привода: учеб. пособие/
Составители В.И. Умнов, В.Г. Грудинин. - Иркутск: Изд-во ИрГТУ, 2009. - 32 с.
.Детали машин
и основы конструирования. Работа над курсовым проектом на завершающем этапе:
учеб. пособие / составители В.И. Умнов, В.М. Чеботнягин. - Иркутск: Изд-во
ИрГТУ, 2009. - 32стр.
Приложение 1
Пределы
выносливости
зубьев стальных зубчатых колес (при расчете на
контактную выносливость)
|
Вид обработки
|
, МПа
|
|
Нормализация, Улучшение, Твердость менее 350 НВ
|
2 НВ 70
|
|
Объемная закалка, твердость
18 HRC 180
|
|
|
Поверхностная закалка, твердость 17 HRC 200
|
|
|
Цементация, твердость
более 56 HRC
|
23 HRC
|
|
Азотирование, твердость
1050
|
|
Приложение 2
Пределы
выносливости
зубьев стальных зубчатых колес (при расчете на
изгибную выносливость)
|
Твердость зубьев
|
|
|
Термическая либо химико-термическая обработка
|
поверхность
|
сердцевина
|
, МПа
|
|
|
Нормализация, улучшение
|
 1,8 НВ1,7
|
|
|
|
|
Закалка ТВЧ по контуру зуба
|
 6001,7
|
|
|
|
|
Объемная закалка
|
6001,7
|
|
|
|
Азотирование
|
 300+12HRC1,7
|
|
|
|
|
Цементация
|
 8001,6
|
|
|
|
Примечание:
по рекомендации ISO можно
=1,4.
Приложение 3
Коэффициент
концентрации нагрузки