Разработка объемного гидропривода машины
Содержание
Введение
.
Разработка принципиальной гидравлической схемы
.
Расчет и выбор силовых гидродвигателей, рабочей жидкости и насоса
.
Расчет и выбор гидроаппаратов
.
Расчет гидролиний
.
Тепловой расчет гидропривода
.
Расчет внешней характеристики гидропривода
Список
литературы
Приложение
Введение
Под объемным гидроприводом понимается
совокупность устройств, в число которых входит один или несколько объемных
гидродвигателей, предназначенных для приведения в движение механизмов и машин с
помощью рабочей жидкости под давлением. Основой насосного гидропривода является
объемный насос, создающий напор рабочей жидкости, которая обладает в основном
энергией давления. Эта энергия преобразовывается затем в механическую работу.
Благодаря высокому объемному модулю упругости рабочей жидкости в объемном
гидроприводе обеспечивается практически жесткая связь между его входными и
выходными органами.
Применительно к горным машинам достоинства
гидропривода в следующем.
. Простота получения практически любого вида
механического перемещения с независимым расположением выходных элементов, что
упрощает компоновку, кинематику и конструкцию горной машины, отличающейся
разнообразием видов движения исполнительных органов. Механизмы поступательного
движения горных машин являются гидравлическими, а такие сложные системы, как
механизированные крепи, не могут быть выполнены без гидропривода.
. Малая масса и объем, приходящиеся на единицу
передаваемой мощности, что обеспечивает повышение энерговооруженности в
заданных габаритах горной машины.
. Возможность бесступенчатого регулирования
выходной скорости в широком диапазоне, что обеспечивает эффективность работы
горных машин.
. Возможность создания низкооборотного
высокомоментного привода, что позволяет исключить большегабаритные механические
передачи из конструкции машины.
. Надежное ограничение в заданных пределах
величин нагрузок и простота защиты машины от экстренных перегрузок, что
обеспечивает высокую надежность горных машин.
. Хорошие динамические свойства, высокая частота
реверсирования и высокое быстродействие, что существенно упрощает создание
систем автоматизированного управления горными машинами.
К недостаткам гидропривода можно отнести:
) возможность загрязнения и утечек рабочей
жидкости. Что ухудшает характеристики гидропривода и уменьшает его надежность;
) жесткие требования к точности изготовления; в
связи с этим относительная сложность монтажа и ремонта гидропривода в условиях
горного производства;
) взрыво- и пожароопасность в случае применения
рабочих жидкостей с горючими свойствами.
Объемный насосный гидропривод с приводом от
электродвигателя широко применяется в современных машинах и механизмах. Это
объясняется такими преимуществами гидропривода как: он легко управляется и
автоматизируется; простота преобразования вращательного и поступательного
движения друг в друга; надежное предохранение приводного электродвигателя от
перегрузок; возможность реализации больших передаточных чисел; хорошие
динамические свойства привода; возможность плавного и широкого регулирования скорости
движения исполнительно органа
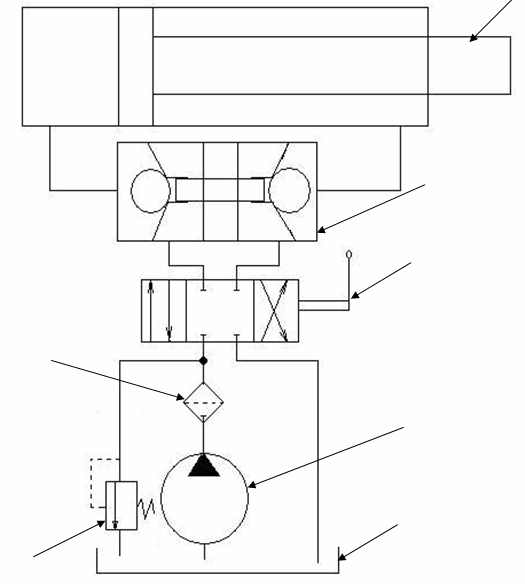
1. Разработка принципиальной
гидравлической схемы
Рис. 1
Таблица перечня элементов принципиальной
гидравлической схемы гидропривода.
|
Поз.
обозначение
|
Наименование
|
Кол.
|
Примечание
|
|
1
|
гидроцилиндр
|
1
|
|
|
2
|
гидрозамок
|
1
|
|
|
3
|
гидрораспределитель
|
1
|
|
|
4
|
насос
|
1
|
|
|
5
|
фильтр
|
1
|
|
|
6
|
предохранительный
клапан
|
1
|
|
|
7
|
гидробак
|
1
|
|
Гидроцилиндр двустороннего действия с
односторонним штоком;
Гидрозамок, служит для запирания и удержания
штока в необходимом положении;
Гидрораспределитель, предназначен для включения,
выключения и реверсирования движения штока гидроцилиндра;
Насос с постоянной подачей и постоянным
направлением действия;
Фильтр, для очистки рабочей жидкости от твердых
загрязнителей;
Предохранительный клапан (с собственным
управлением), предназначен для защиты гидропривода от давления, превышающего
установленное;
Гидробак, служит для размещения рабочей
жидкости, дополнительной очистки жидкости от загрязнений за счет оседания
твердых частиц, а также охлаждения жидкости выделением тепла через внешние
поверхности бака в окружающую среду.
2. Расчет и выбор силовых
гидродвигателей, рабочей жидкости и насоса
а) расчет и выбор гидроцилинда
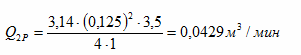
Расчетное значение диаметра гидроцилиндра D2Р
определяется по формуле:
P=
где Р2Р - расчетное давление рабочей жидкости на
входе в гидроцилиндр; F2- усилие на штоке; ηмех
- механический КПД гидроцилиндра (рекомендуется принимать ηмех=(0,95..
.0,96).
Давление Р2р предварительно принимается равным
Р2Р = (0,85...0,9)РН)
где Рн - номинальное давление в гидросистеме.
P=
в мм = 125 мм при φ =1,6; диаметр
штока d2 = 80 мм.
Р2 = 
Р2 = 
Расход жидкости, подводимой в поршневую полость
гидроцилиндра, составит
где υ2 - заданная
скорость движения поршня; η0- объемный
КПД гидроцилиндра, который для новых гидроцилиндров с манжетными уплотнениям
б) расчет и выбор гидронасоса
Расчетная подача гидронасоса Q]P определяется из
условия неразрывности потока жидкости, которое с точностью до утечек в
гидролиниях и гидроаппаратуре, что допустимо на стадии предварительного
расчета, имеет вид
Тогда расчетный рабочий объем гидронасоса
определяют
по формуле
,
Где n1 - номинальная частота вращения вала
насоса,
;
η01 - Объемный КПД гидронасоса, который предварительно
можно принять равным 0,9 - 0,95.
Принимаем V op=
.
При выборе типа гидронасоса необходимо в первую
очередь учитывать уровень номинального давления. Аксиально-поршневые
гидронасосы рассчитаны на высокие значения номинального давления. Они имеют
также более высокие объемный и полный КПД по сравнению с гидронасосами других
типов. Поэтому для условий задания на контрольно-курсовую работу целесообразно
ориентироваться на аксиально-поршневые гидронасосы.
|
Тип
насоса
|
Рабочий
объем, см3
|
Номинальное
давление, МПа
|
Частота
вращения, мин-1
|
КПД
|
Масса,
кг
|
|
|
|
|
Объемный
h0
|
Полный
h
|
|
|
НА
|
33
|
16
|
1500
|
0,91
|
0,85
|
14,0
|
С учетом фактических параметров принятого
гидронасоса действительная его подача будет равна
где V01 и h01 - рабочий объем
и объемный КПД принятого типоразмера гидронасоса; n1 - частота вращения вала
гидронасоса по условиям задания.
в) Выбор рабочей жидкости
Первоначально необходимо выбрать условия
применения гидрофицированной машины или оборудования: при отрицательных
температурах; при положительных температурах в закрытых помещениях; при
положительных температурах на открытом воздухе.
Условия применения на открытом воздухе при
положительных температурах - МГ-30.
|
Плотность
ρ
|
980
кг/м³
|
|
Вязкость
|
0,3
м²/с
|
|
Температура
°С
|
+5…+85
|
3. Расчет и выбор гидроаппаратов
Гидрораспределитель служит для включения,
выключения и реверсирования движения штока гидроцилиндра. Технические
характеристики гидрораспределителей типа Р-16 на номинальное давлениеРн=16 МПа
приведены в таблице.
Технические характеристики распределителей типа
Р-16
|
Параметры
|
Типозамер
|
|
Р-16
|
|
|
Расход
жидкости, л/мин
|
63
|
|
|
Давление
номинальное, МПа
|
16
|
|
|
Внутренние
утечки, не более, л/мин
|
0,05
|
|
|
Потери
давления, МПа
|
0,2
|
|
Предохранительный гидроклапан предназначен для
защиты гидропривода от давления, превышающего установленное. Технические
характеристики предохранительных гидроклапанов типа БГ 52-13 приведены в
таблице
Технические характеристики предохранительных
гидроклапанов БГ 52-13
|
Параметры
|
Типозамеры
БГ-52-14
|
|
14
|
|
Расход,л/мин
|
70
|
|
Давлениеноминальное,
МПа
|
5-20
|
|
Масса,кг
|
7
|
Гидрозамок представляет собой управляемый
обратный клапан и служит для фиксации штока выключенного гидроцилиндра в
требуемом положении. Технические характеристики гидрозамков типа КУ-16
приведены в таблице
Технические характеристики гидрозамков типа КУ
КУ-20
|
|
Расход,
л/мин
|
63
|
|
Давление
номинальное, МПа
|
32
|
|
Потери
давления, не более, МПа
|
0,4
|
|
Утечки
в сопряжении клапан-седло, см3/мин
|
4,98
|
|
Масса,
кг
|
13,1
|
Фильтр служит для очистки рабочей жидкости от
твердых загрязнителей. Выбор типа фильтра производится по требуемой тонкости
очистки, расходу рабочей жидкости через фильтр и давлению в сливной гидролинии
гидропривода, значение которого не превышает 0,63 МПа. Технические
характеристики фильтра приведены в таблице.
Технические характеристики фильтров
|
Тип
фильтра
|
Тонкость
Фильтрации, мкм
|
Номинальный
расход, л/мин
|
Давление,
МПа
|
|
1.1.20-25
|
25
|
63
|
0,63
|
Гидробак служит для размещения рабочей жидкости,
дополнительной очистки жидкости от загрязнений за счет оседания твердых частиц,
а также охлаждения жидкости выделением тепла через внешние поверхности бака в
окружающую среду.
Объем бака ориентировочно определяется по
формуле:
,
где Q1 - подача гидронасоса, л/мин.
,
гдеQ1 -подача гидронасоса,л/мин.
Номинальную вместимость бака принимаем в
соответствии с рекомендациями ГОСТ 16770 (дм3): 100.
4. Расчет гидролиний
Расчетный диаметр гидролиний определяется по
формуле
,
где Q - расход жидкости на рассматриваемом
участке, м/с;nд- допускаемая скорость движения рабочей
жидкости в трубопроводе: для всасывающего трубопровода nд=0,5...1,5
м/с; для сливного nд=1,5..,2,5 м/с; для напорного приPH³10
МПа иℓ<10 м - nд=5...6 м/с.
Для всасывающего трубопровода
,
Для сливного трубопровода
,
Для напорного трубопровода
.
Расчетное значение диаметра (в мм) округляется
до ближайшего по ГОСТ 8732 или ГОСТ 8734. Эти значения диаметров выбираются при
номинальных давлениях от 10 до 20 МПа:
По принятому диаметру определяется
действительная скорость движения жидкости в напорном, сливном и всасывающем
трубопроводах:
,
=0,681м/с,
=1,823 м/с,
=3.92 м/с.
Расчет гидравлических потерь в напорной
гидролинии производится с учетом потерь давления по длине трубопровода DРТ,
потерь давления в местных сопротивлениях трубопровода DРМ
и потерь давления вгидроаппаратахDРГА.
Потери давления по длине трубопровода
определяются по формуле
,
,
где r - плотность
рабочей жидкости; l - коэффициент гидравлического
трения; l - длина гидролинии; n- скорость движения жидкости;
d- диаметр напорной гидролинии.
Для вычисления коэффициента гидравлического
трения первоначально необходимо определить режим движения жидкости, для чего
определяется значение числа Рейнольдса по формуле
,
где u- кинематическая
вязкость рабочей жидкости.
,
Если Re<2300 ,то режим движения жидкости
ламинарный, а в случае Re>2300 - турбулентный.
При ламинарном движении жидкости коэффициент
гидравлического трения с учетом теплообмена с окружающей средой через стенки
трубопровода определяется по формуле
,
λ=0,0382.
Потери давления в местных сопротивлениях
определяются по формуле
где x- коэффициент
местного сопротивления.
В качестве местных сопротивлений учитываются:
входы в гидрораспределитель, гидрозамок и гидроцилиндр (x1=x2=x3=0,8...0,9);
место присоединения гидролинии предохранительного гидроклапана к напорной
гидролинии (x1=0,2) и два закругленных колена (x5=x6=0,15).
Действительные потери давления в
гидрораспределителе и гидрозамке определяются по формулам:
где DPPH и DPЗH
номинальные потери давления в гидрораспределителе и гидрозамке в соответствии с
их техническими характеристиками; QPH и QЗH - номинальные расходы рабочей
жидкости через гидрораспределитель и гидрозамок в соответствии с их
техническими характеристиками;Q1 - подача гидронасоса рассчитанная.
Суммарные потери давления в гидроаппаратах

Суммарные потери давления в напорном
трубопроводе определяются по формуле
,
Суммарные потери давления не превышают 5..6% номинального
давления.
При этом
14,9<16
МПа
где Р2 - давление у гидроцилиндра, рассчитанное
ранее.
=0.5*100/16=3.125%
5. Тепловой расчет гидропривода
Энергия, затраченная на преодоление различных
сопротивлений в гидроприводе, в конечном итоге превращается в теплоту, что
вызывает нагрев рабочей жидкости и нежелательное снижение ее вязкости.
Приближенно считается, что полученная с рабочей жидкостью теплота должна
отдаваться в окружающую среду через поверхность бака.
Тепловой поток через стенки бака эквивалентен
потерянной мощности DN
,
где N1 - мощность гидронасоса; N2П - полезная
мощность на штокегидроцилиндра.
Мощность гидронасоса
где Q1 - подача гидронасоса, определенная по
формуле (3.7); Р1 - давление гидронасоса, рассчитанное по формуле (3.21); h1
- полный КПД гидронасоса в соответствии с его технической характеристикой.
Полезная мощность определяется по формуле

гдеF2 - усилена штоке в соответствии с заданием;n2
- действительная скорость движения штока.
Действительная скорость движения n2
определяется по формуле
где DQP - утечки рабочей
жидкости в гидрораспределителе, принимаемые в соответствии с его технической
характеристикой.


Утечки жидкости в предохранительном гидроклапане
не учитываем из-за их малости.
Потребная площадь поверхности охлаждения

где k0 - коэффициент теплопередачи, который при
отсутствии обдува не превышает 15 Вт/м2, tЖ=60…70 0С, tВ-температура воздуха.
6. Расчет внешней характеристики
гидропривода
Применительно к проектируемому гидроприводу под
внешней характеристикой понимают зависимость скорости перемещения штока
гидроцилиндра от усилия на штоке n2=f(F2). Для
построения графика внешней характеристики необходимо задаться несколькими (4…5)
значениямиF2i в пределах 0£F2i£F2.
Каждому значению усилия F2i соответствует давление p2i гидроцилиндра, которое
определяется по формуле
Принимаем F2i=42;84;126;168KH.
Поскольку потери давления в напорном
трубопроводе практически не зависят от давления в напорном трубопроводе, то
соответствующие значения давленияDP2i у гидронасоса
определяются по формуле
=4,104МПа=7,708МПа=11,313МПа=14,917МПа
где DР - потери давления,
рассчитанные по формуле
С увеличением давления Р1i возрастают утечки
рабочей жидкости в гидронасосе DQ1i и в гидрораспределителеDQРi.
Поэтому действительная подача рабочей жидкости в гидроцилиндр с возрастанием
усилияF2i уменьшается. В связи сэтим уменьшается и скорость движения штокаn2i,
значение которой определяется по формуле
где Q1T - теоретическая подача гидронасоса; DQ1i
и DQРi
- утечки рабочей жидкости в гидронасосе и гидрораспределителе.
При этом
где a1 и a2 - коэффициенты утечек для
гидронасоса и гидрораспределителя.
Коэффициенты утечек определяются по формулам
где h01 - объемный КПД
гидронасоса в соответствии с его технической характеристикой; DQP
- утечки принятого гидрораспределителя в соответствии с его технической
характеристикой; PH - номинальное давление.
|
P
|
PIi
|
Q1T
|
QPi
|
V2i
|
|
42
|
4104,425075
|
0,599246
|
1,28263E-08
|
0,061908
|
|
84
|
7708,850151
|
1,125492
|
2,40902E-08
|
0,061193
|
|
126
|
11313,27523
|
1,651738
|
0,060478
|
|
168
|
14917,7003
|
2,177984
|
4,66178E-08
|
0,059763
|
|
0
|
500
|
0,073
|
1,5625E-09
|
0,062624
|
По полученным данным строится график зависимости
.
Рис. 2
гидродвигатель насос гидравлический
шток
Далее необходимо оценить степень снижения
скорости движения штока при изменении усилия F2i от нуля до F2.
где n20 - скорость
движения штока при F2=0.
Список литературы
1. Гидравлика,
гидромашины и гидроприводы / Т.М. Башта, С.С. Руднев, Б.Б. Некрасов и др. М.:
Машиностроение, 1982, 423 с.
2. Гидравлика
и гидропривод / В.Г. Гейер, В.С. Дулин, А.Г. Боруменский и др. М.: Недра, 1981,
295.
. Коваль
П.В. Гидравлика и гидропривод горных машин. М.: Машиностроение, 1979, 319 с.
. Юшкин
В.В. Основы расчета объемного гидропривода. М.: Высшая школа, 1982, 93 с.
. ГОСТ
2.701-84. ЕСКД. Схемы. Виды и типы. Общие требования к выполнению.
. ГОСТ
2.704-76. ЕСКД. Правила выполнения гидравлических и пневматических сетей.
. ГОСТ
2.780-96. ЕСКД. УГО. Элементы гидравлических и пневматических сетей.
. ГОСТ
2.782-68. ЕСКД. УГО. Насосы и двигатели гидравлические и пневматические.
. ГОСТ
2.784-70. ЕСКД. УГО. Элементы трубопроводов.
. ГОСТ
6540-68. Цилиндры гидравлические и пневматические. Основные параметры.
. ГОСТ
13824-68. Насосы объемные и моторы. Рабочие объемы.
. ГОСТ
14063-68. Аппаратура гидравлическая и пневматическая. Основные параметры.
. ГОСТ
14066-68. Фильтры гидравлических и смазочных систем. Основные параметры.
. ГОСТ
17398-72. Насосы. Термины и определения.
. ГОСТ
17752-81. Гидропривод объемный и пневмопривод. Термины и определения.
Приложение
Рис. 3