Расчёт объёмного гидропривода
Курсовая работа
"РАСЧЕТ ОБЪЕМНОГО
ГИДРОПРИВОДА"
Содержание
1. Исходные данные для расчета гидропривода
2. Разработка принципиальной гидравлической схемы гидропривода
2.1 Выбор схемы: открытая, закрытая
2.2 Назначение элементов гидросхемы:
2.2.1 Насос аксиально-поршневой типа 207
2.2.2 Гидроцилиндр типа ДСШ 14.56.001
2.2.3 Фильтры магнитные (тип ФМ)
2.3 Описание принципа действия гидропередачи
3. Предварительный расчет гидропривода
4. Подбор и назначение гидроагрегатов передачи
4.1 Подбор гидравлического насоса
3.2 Подбор гидроцилиндра
3.2.1 Гидроцилиндры поршневые. Назначение и устройство
3.3 Назначение рабочей жидкости гидропередачи
3.3.1 Характеристики рабочей жидкости
4. Подбор и назначение гидроаппаратуры
4.1 Распределитель
4.2 Назначение, устройство и принцип действия распределителя
Р-20.160
4.3 Клапан предохранительный
4.4 Подбор фильтра
5. Расчет гидравлических линий гидропередачи и назначение их
диаметра
5.1 Расчет диаметра трубопровода (магистрали)
5.2 Выбор стандартного трубопровода
5.3 Проверка
5.4 Расчет гидравлических потерь в системе гидропередачи
6. Поверочный расчет гидропередачи графоаналитическим методом
6.1 Расчет параметров диаграммы режимов работы гидропередачи
Заключение о работоспособности гидропередачи
Литература
1.
Исходные данные для расчета гидропривода
Рассчитать и спроектировать объемную гидропередачу привода
рабочего органа строительно-дорожной машины по следующим данным:
Давление гидропередачи, Рг. п. =16 [МПа].
Сила на рабочем органе машины Р=15000 [Н].
Скорость движения поршня V =0,08 [м/сек].
Длина соединительных линий гидропередачи L=10 [м].
2. Разработка
принципиальной гидравлической схемы гидропривода
Под гидроприводом понимают совокупность устройств -
гидромашин и аппаратов, предназначенных для передачи механической энергии и
преобразования движения при помощи жидкости.
Гидропривод, содержащий объемные машины, называется объемным.
Объемный гидропривод - это совокупность устройств, состоящая из объемного
насоса, гидродвигателя, гидросети и гидроаппаратуры, предназначенная для
приведения механизмов и машин в движение посредством рабочей жидкости.
Объемная гидропередача - это силовой узел гидропривода,
состоящий из объемного насоса, гидродвигателя и гидросети.
Объемным называется насос, в котором жидкость перемещается
путем периодического изменения объема его камеры, попеременно сообщающейся с
входом и выходом насоса.
Гидроцилиндр - объемный гидродвигатель с поступательным
движением выходного звена.
Гидропривод делится на: насосный, аккумуляторный,
магистральный. Также по характеру выходного звена различают следующие объемные
гидроприводы:
А). поступательного движения - с поступательным движением
выходного звена гидродвигателя;
Б). поворотного движения - с поворотным движением выходного
звена гидродвигателя на угол менее 360°.
В). вращательного движения - с вращательным движением
выходного звена гидродвигателя.
Если в объемном гидроприводе отсутствуют устройства для
изменения скорости выходного звена гидродвигателя, то такие гидроприводы
называются неуправляемыми. Гидроприводы, в которых скорость выходного звена
гидродвигателя может изменяться по заданному закону, называется управляемым.
Регулирование скорости может осуществляться вручную -
гидропривод с ручным управлением; автоматически - гидропривод с автоматическим управлением.
Объемные гидроприводы широко применяются в качестве приводов
станков, дорожных и строительных машин, прокатных станов, прессового и
литейного оборудования, транспортных и сельскохозяйственных машинах.
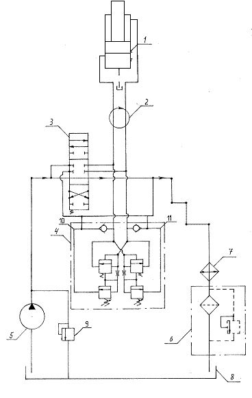
Рис. 1. Принципиальная гидравлическая схема гидропривода
ковша экскаватора
2.1 Выбор
схемы: открытая, закрытая
|
2.1
Спецификация к гидравлической схеме:
|
|
Обозначение
|
Наименование
|
Количество, шт.
|
|
1
|
|
|
|
2
|
|
|
|
3
|
|
|
|
4
|
|
|
|
5
|
|
|
|
6
|
|
|
|
7
|
|
|
|
8
|
|
|
|
9
|
|
|
|
10-11
|
|
|
По способу циркуляции жидкости гидроприводы бывают с
замкнутой или разомкнутой циркуляцией. В гидроприводах с замкнутой циркуляцией
рабочая жидкость от гидродвигателя поступает во всасывающую гидролинию насоса,
а в гидроприводах с разомкнутой циркуляцией - в гидробак. В данной схеме
рабочая жидкость поступает в гидробак, следовательно схема - открытая.
2.2
Назначение элементов гидросхемы:
2.2.1 Насос
аксиально-поршневой типа 207
Насос аксиально-поршневой регулируемый типа 207 предназначен
для гидравлических систем машин, в которых необходимо регулирование подачи при
постоянном направлении потока.
2.2.2
Гидроцилиндр типа ДСШ 14.56.001
Гидроцилиндры поршневые предназначены для преобразования
энергии перекачиваемой насосом жидкости в механическую энергию исполнительного
механизма.
Возвратно-поступательное движение поршня осуществляется путем
подвода рабочей жидкости под давлением в штоковую или бесштоковую полости
гидроцилиндра через крышки, гильзу или шток.
2.2.3 Фильтры
магнитные (тип ФМ)
Фильтры магнитные типа ФМ предназначены для улавливания
ферромагнитных частиц и механических примесей, содержащихся в маслах и охлаждающих
жидкостях гидравлических, смазочных систем и систем охлаждения металлорежущих
станков (и других машин).
Распределитель гидравлический трехпозиционный типа Р-20.160.
Распределитель трехпозиционный типа Р-20.160. предназначены
для реверсирования движения рабочих органов в прессах (или других машинах).
Распределители работают на чистом минеральном масле вязкостью
10-400 мм2/сек при температуре масла до 50°. Рекомендуется применять
масло индустриальное 30 или 50 (ГОСТ 1707-51).
Напорный клапан У 4790.15.
Напорные клапаны предназначены для предохранения гидросистемы
от перегрузки давлением и разгрузки от давления при помощи дистанционного
управления.
Клапаны работают на чистом минеральном масле вязкостью 10-400
мм2/сек при температуре масла до 50°. Рекомендуется применять
масло индустриальное 20, 30 или 50 (ГОСТ 1707-51).
.3 Описание
принципа действия гидропередачи
При включении насоса создается поток жидкости. Жидкость под
давлением с определенной скоростью по напорной линии поступает в гидроцилиндр.
Благодаря перепаду давления, жидкость поступает под поршень гидроцилиндра и
создает силу F,
благодаря которой происходит поступательное движение штока гидроцилиндра. После
этого, жидкость, пройдя в систему очистки (фильтры) сливается обратно в
гидравлический бак. Если усилие на гидроцилиндре превысит определенную
величину, что приведет к увеличению давления в напорной гидролинии выше
заданного, предохранительный клапан откроется и через него жидкость будет
сливаться в бак, или на всасывающую гидролинию. Изменение направления движения
рабочей жидкости производят посредством распределителя.
3.
Предварительный расчет гидропривода
В предварительном расчете гидропривода определяется
номинальные значения давления, расхода и мощности гидропередачи.
Мощность гидропередачи вращательного действия:
;
;
Мощность гидропередачи возвратно - поступательного действия:
Nг. п. =
[Вт];
Расход гидропередач:
Qг. п. =
[м3/с]
Основные гидравлические параметры гидропередачи:
;
;
.
гидропередача привод машина строительная
4.
Подбор и назначение гидроагрегатов передачи
4.1 Подбор
гидравлического насоса
Условия назначения насоса: p г. п. ³ p насоса; Q г. п. ³ Q насоса; Nнасоса³ N г. п.
Исходя из данных условий, выбираем насос типа 207.
|
Марка насоса
|
Рн, МПа
|
Qн, л/мин
|
Nн, кВт
|
hн
|
hо
|
hмех
|
Марка масла
|
|
ТИП 207.20
|
16
|
60
|
23,6
|
0,91
|
0,966
|
0,942
|
Индустриальное
50 (ГОСТ 1707-51)
|
Насос аксиально-поршневой типа 207
Насос аксиально-поршневой регулируемый типа 207 предназначен
для гидравлических систем машин, в которых необходимо регулирование подачи при
постоянном направлении потока.
Рис 2. Насос аксиально-поршневой регулируемый типа 207
3.2 Подбор
гидроцилиндра
Условия подбора: р г. ц. ³ p г. п., Q г. ц. ³ Q г. п., N г. ц. ³ N г. п.
=
=0,034 м = 34 мм.
Гидроцилиндр конструкции типа ДСШ 14.56.001 необходимо изготовить
с толщиной стенки для давления 16 МПа.
|
Марка г/ц
|
dг. ц., мм
|
dштока, мм
|
Толщина стенки d, мм
|
Длина хода
штока Lштока, мм
|
h0
|
|
|
ДСШ 14.56.001
|
36
|
18
|
-
|
250
|
0,87
|
1
|
3.2.1
Гидроцилиндры поршневые. Назначение и устройство
Назначение. Гидроцилипдры поршневые (рис 3) предназначены
для преобразования энергии перекачиваемой насосом жидкости в механическую
энергию исполнительного механизма.
Гидроцилипдры работают на чистом минеральном масле вязкостью 10-500
мм2/ сек при температуре масла от - 35 до +50°.
Рис 3. Гидроцилиндр
3.3
Назначение рабочей жидкости гидропередачи
Согласно условиям работы гидропривода и требованиям выбранных
гидроагрегатов, наиболее подходящей рабочей жидкостью является масло идустриальное
50.
3.3.1
Характеристики рабочей жидкости
|
Рабочая
жидкость
|
ГОСТ
|
Плотность,
кг/м3
|
Вязкость при
+50°С, см2/c
|
Температуры в°С
|
Пределы рабочих
температур,°С
|
Вспы-шки
|
|
|
Индустриальное
50
|
1707-51
|
960
|
0.42-0.58
|
-20
|
200
|
+10…+70
|
4.
Подбор и назначение гидроаппаратуры
4.1
Распределитель
Условие подбора:
,
|
Марка
|
, МПа , л/мин , МПа
|
|
|
|
|
Р-20.160.
|
16
|
100
|
1,3
|
158,93
|
- перепад на распределителе (гидравлические потери)
- коэффициент местного сопротивления распределителя
4.2
Назначение, устройство и принцип действия распределителя Р-20.160
Золотники распределительные с гидравлическим управлением (рис
4) предназначены для реверсирования движения рабочих органов в прессах (или
других машинах). Золотники работают на чистом минеральном масле 'вязкостью
10-400 мм2/сек при температуре масла до 50°. Рекомендуется применять
масло индустриальное 20 или 30 (ГОСТ 1707-51). Распределительный золотник,
выполненный 'по основной (первой) схеме и показанный на рис, работает следующим
образом. При среднем положении золотника линия нагнетания соединяется со
сливом, а обе полости цилиндра заперты. При подводе масла из системы управления
под один из торцов золотника последний смещается в крайнее положение, соединяя
одну полость цилиндра с линией нагнетания, а другую - со сливом.
Гидравлическая схема трехпозиционного пяти ходового
реверсивного золотника с соединением на слив нагнетательной линии и запертыми
полостями цилиндра показана на рис 4.
рис.5
4.3 Клапан
предохранительный
Условие подбора:
,
|
Марка
|
, МПа , л/мин , МПа
|
|
|
|
У 4790.15
|
16
|
160
|
0,3-0,6
|
Клапаны предохранительные с переливным
золотником. Назначение, устройство и принцип действия.
Клапаны предохранительные с переливным золотником (рис.6)
предназначены для предохранения гидросистемы от перегрузки давлением и
разгрузки от давления при помощи дистанционного управления.
Клапаны работают на чистом минеральном масле вязкостью 10 -
400 мм2/сек при температуре масла до 50°. Рекомендуется применять масло
индустриальное 20 или 30 (ГОСТ 1707--51).
Масло из полости давления, но каналу Е в корпусе 3 поступает
в полость Г и через демпферное отверстие. А в золотнике 4 - в полость. В и под
конусный клапан 1, который настроен на определенное давление.
Пока давление в системе не преодолеет усилия, на которое настроена
пружина 2, гидравлический уравновешенный золотник 4 пружиной 5 удерживается в
крайнем нижнем положении, перекрывая выход масла на слив.
При повышении давления в гндросистеме конусный клапан,
преодолевая усилие пружины 2, открывается, и масло из полости. В по каналу. Б
поступает на слив. Давление масла при прохождении через демпферное отверстие А
понижается, и давление в полости В становится меньшим, чем в полостях Д и Г,
вследствие чего золотник поднимается, соединяя линию давления со сливом и прекращая
увеличение давления в гидросистеме.
С падением давления в гидросистеме ниже того, на который
настроена пружина 2, конусный клапан 1 закрывается, перекрывая поток масла на
слив.
При этом давление в полостях В, Г и Д выравнивается и
золотник под действием пружины 5 опускается, перекрывая слив масли в бак.
Разгрузка гидросистемы производится при помощи дистанционного
управления. Для этого из отверстия Ж удаляют пробку и присоединяют к нему
трубопровод с клапанами дистанционного управления.
рис.6
рис.7
4.4 Подбор
фильтра
Условие подбора: 
|
Марка
|
Q, л/мин
|
, МПаxф
|
|
|
ФМ-5
|
70
|
0,025
|
6,308
|

-перепад давления на фильтре, при котором обеспечивается нужный
расход (пропускная способность фильтра при давление);
xф - коэффициент местного сопротивления
фильтра;
r - плотность рабочей жидкости
[Индустриальное 50 (ГОСТ 1707-51)]
Фильтры пластинчатые ТИП Г41
Назначение. Фильтры пластинчатые типов Г41-1 (рис. 191)
и Г41-2 (рис) предназначены для очистки от механических примесей минеральных
масел вязкостью до 600 мм2/сек в гидравлических н смазочных системах машин.
Рис.8
Фильтр работает следующим образом. Через впускное отверстие
загрязненное масло. поступает в корпус фильтра и через щели между пластинами
попадает во внутреннюю полость, образованную вырезами в основных пластинах в
форме круговых секторов.1< выходному отверстию отфильтрованное масло
проходит через ряд цилиндрических отверстии в шайбе. Фильтрующий. пакет
очищается. путем поворота рукоятки. При очистке скребки, входящие на небольшую
глубину в прорези между основными и промежуточными пластинами, удаляют слой
загрязнений, скопившийся на входах в щели.
Фильтрующий пакет центрируется в расточках корпусов механизмов
(узлов) при помощи специальной центрирующей шайбы, в торце которой имеются
отверстия для выхода отфильтрованной жидкости.
5. Расчет
гидравлических линий гидропередачи и назначение их диаметра
5.1 Расчет
диаметра трубопровода (магистрали)
; [м] Þ
[мм] = dстанд
Допускаемые скорости жидкости в линиях гидропередачи выбираются в
соответствии с таблицей:
|
Р, МПа
|
6,3
|
10
|
16
|
16
|
|
[u], м/с
|
3
|
4,5
|
5,5
|
6
|
Т.к. давление в гидросистеме превышает 16Мпа, значит
допустимое значение скорости рабочей жидкости составляет 6м/с.
=0,01386 м = 13,86 мм.
5.2 Выбор
стандартного трубопровода
Из ГОСТ 8374-75 по условию
выбираем трубопровод со следующими данными:
Dн = 28 мм (наружный диаметр трубы)
Dу = 16 мм (условный проход)
S = 6 мм (толщина стенки)
G1= 3,2 кг/м (вес одного погонного метра)
5.3 Проверка
=
= 4,128 м/с,
т.е. условие
, выполняется.
5.4 Расчет
гидравлических потерь в системе гидропередачи
Гидравлические потери в гидропередаче складываются из потерь
по длине в линиях системы и в местных гидравлических сопротивлениях.
, где
-потери давления трубопроводах;
- потери давления в местных сопротивлениях.
где r -
плотность масла (r = 960
кг/м3);
l - коэффициент гидравлических потерь;
l - длина трубопровода (l = 16
м.);
d - диаметр трубопровода (d = 0.016
м.)
Число Рейнольдса:
, где
n - коэффициент кинематической вязкости (n = 100 10-6 м3/с);
Т.к. Re < 2320, то режим движения рабочей
жидкости в гидросистеме ламинарный, следовательно:
Þ
где
x - суммарный коэффициент
гидравлических потерь
·
местные потери на поворотах x = 1;
·
распределитель x = 40…60;
·
калорифер (теплообменник) x = 25…40;
·
фильтр x = 5…20.
·
Þ
.
6. Поверочный
расчет гидропередачи графоаналитическим методом
6.1 Расчет
параметров диаграммы режимов работы гидропередачи
Максимальная подача насоса:
,
Давление настройки клапана:
,
Максимальное давление насоса:
,
Максимальная скорость или обороты на выходном звене гидропередачи:
Давление холостого хода:
Номинальная нагрузка на выходном звене гидропередачи:
= 14168 н. = 14,168кн.
Скорость или обороты на выходном звене при номинальном давлении
гидропередачи:
где
= 0,08 м/с.
Рис. 9. Диаграмма режимов работы гидропередачи: 1 -
характеристика насоса; 2-характеристика предохранительного клапана; 3 - Глава
1. Общее представление о цикличности. Анализ затрат и себестоимости
продукции механическая характеристика гидромотора; 4 - скоростная
характеристика гидропередачи; 5 - моментная характеристика гидропередачи; 6 -
кпд гидропередачи.
Таким образом, рассчитанная в данной курсовой работе
гидропередача привода стрелы является работоспособной и может использоваться в
реальной конструкции привода стрелы экскаватора.
Литература
1. Гидравлическое
оборудование. Каталог-справочник. ч. I и II., М., ВНИИГидропривод, 1967.
2. Башта
Т.М. Гидравлика, гидравлические машины и гидравлические приводы. Учеб. пособие
для вузов - М., “Машиностроение”, 1970.
. Казарян
С.М. Лабораторный практикум по гидравлике, гидравлическим машинам и
гидроприводам. Учеб. пособие для вузов - Ер.: Луйс, 1984.
. Скубаренко
Д.Д. Расчет гидропривода на заданные условия работы. Методические указания к
выполнению курсовой работы. Калинин 1981.
. Васильченко
В.А. Гидравлическое оборудование мобильных машин: Справочник - М.:
Машиностроение, 1983.