Расчет объемного гидропривода
Введение
Объемный гидропривод согласно ГОСТ 17752-81 - это привод, в состав
которого входит гидравлический (пневматический) механизм, в котором рабочая
среда находится под давлением, с одним или более объемными гидродвигателями
(объемными пневмодвигателями). Под рабочей средой понимается рабочая жидкость в
объемном гидроприводе и рабочий газ в пневмоприводе.
По универсальности выполняемых функций гидравлический привод занимает на
сегодняшний день одну из ведущих позиций. Сегодня можно говорить о широкой области
применения гидропривода: это и автокраны, экскаваторы, погрузчики,
автогрейдеры, автовышки, мелиоративные и сельскохозяйственные машины, токарные,
шлифовальные, фрезерные станки, прессовое и литейное оборудование и т.д. Такое
широкое применение гидравлического привода объясняется рядом преимуществ (по
сравнению с механическим и электрическим приводами), к которым относятся:
1) Простота преобразования вращательного движения в
возвратно-поступательное;
2) Возможность отдалённого расположения исполнительных органов от
систем управления ими;
) Способность к регулированию параметров гидропривода в широком
диапазоне, а также возможность дистанционного электрического управления
приводом, и следовательно, гидропривод можно использовать в качестве
усилительно-преобразовательного каскада управления;
) Лёгкость управления динамическими характеристиками;
) Очень низкая удельная масса, т.е. масса гидропривода,
отнесённая к единице передаваемой мощности (0,2 - 0,3 кг на 1 кВт);
) Малая инерционность вращающихся частей, обеспечивающая быструю
смену режимов работы (пуск, разгон, реверс, остановка);
) Бесступенчатое регулирование передаточного числа в широком
диапазоне и возможность создания больших передаточных отношений.
Объемные гидроприводы подразделяются по виду источника энергии на три
типа:
Насосный гидропривод - гидропривод, использующий для подачи рабочей
жидкости насосы объемного действия. Насосные гидроприводы бывают с замкнутой
циркуляцией, когда жидкость от гидродвигателя поступает во всасывающую линию
насоса, и с разомкнутой циркуляцией, когда жидкость от гидродвигателя поступает
в гидробак.
Насос гидропривода может приводиться в движение электродвигателем,
турбиной, дизельным, карбюраторным двигателями, двигателем внутреннего сгорания
и др.
. Аккумуляторный гидропривод - гидропривод, в котором рабочая жидкость
подается в гидродвигатель от предварительно заряженного гидроаккумулятора.
Такие гидроприводы используются в системах с кратковременным рабочим циклом.
. Магистральный гидропривод, в котором рабочая жидкость подается в
гидродвигатель от гидромагистрали, питающей от насосной станции одновременно
несколько гидроприводов.
По характеру движения выходного звена различают гидроприводы
поступательного, поворотного и вращательного движения. Гидроприводы бывают регулируемые
и нерегулируемые. По способу регулирования скорости гидроприводы делят на три
типа:
. С дроссельным регулированием, когда для регулирования скорости
производится дросселирование потока рабочей жидкости и часть потока отводится,
минуя гидродвигатель.
. С объемным регулированием, когда регулирование скорости производится в
результате изменения рабочих объемов насоса или гидродвигателя.
. С объемно-дроссельным регулированием, когда регулирование скорости
осуществляется одновременно двумя способами.
Если скорость выходного звена гидропривода поддерживается постоянной и не
зависит от внешних воздействий, то гидропривод называется стабилизированным.
Если скорость выходного звена изменяется по определенному закону в
зависимости от задающего воздействия, то гидропривод называется следящим.
Жидкость, применяемая в гидроприводах в качестве рабочего тела,
одновременно является смазывающим и охлаждающим агентом, обеспечивает защиту
деталей от коррозии и надежную работу всех узлов гидропривода.
1. Описание работы гидросхемы
гидросхема гидропривод
управление
Гидравлическая схема, общий вид которой представлен на рисунке 1, по
своей структуре разделена на два потока.
Рисунок 1 - Гидросхема принципиальная
Подача рабочей жидкости в гидросистему производится насосами Н1 и Н2.
Предохранительные клапана КП1 и КП4 поддерживают постоянное рабочее давление в
системе. От насоса Н1 рабочая жидкость поступает к гидрораспределителю Р1, Р2,
а от насоса Н2 к Р3. При установленных распределителях Р1, Р2 и Р3 в исходных
положениях жидкость с насососов Н1 и Н2, через клапаны КП1 и КП4 сливается в
гидробак Б. Для обеспечения прямых ходов гидроцилиндров Ц1 и Ц2 необходимо
переключение распределителей Р1 в левое, а Р2 в правое положение.
Предохранительные клапана КП1 и КП2 поддерживают настроенное давление в
поршневых полостях гидроцилиндров Ц1 и Ц2. При переключении распределителей Р1
в право, а Р2 в левое положение, штоки гидроцилиндров начнут совершать обратные
ходы. При переключении распределителя Р3 в левое положений, жидкость от насоса
Н2, через регулятор потока РП, поступит на гидромотор ГМ, он начнет вращаться,
при этом частота вращения гидромотора настраивается РП. При переключении
распределителя Р3 в левое положений, жидкость от насоса Н2 поступит на
гидромотор ГМ и он начнет совершать обратное вращение и далее через обратный
клапан будет сливаться в бак.
Для очистки заливаемой жидкости в гидробак Б служит заливной фильтр.
Фильтр Ф служит для очистки подаваемой рабочей жидкости. Переключатель
манометра ПМ и манометр МН, служат для контроля давления в гидросистеме
2. Литературно - патентный обзор конструкция проектируемых элементов
.1 Предохранительные клапаны
I)
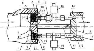
Предохранительные клапаны непрямого действия МКПВ
Предохранительные клапаны непрямого действия МКПВ РУП «Гомельский завод
Гидропривод» (Беларусь) и ОАО «Гидравлик» (г. Грязи Липецкой обл.) для
стыкового и трубного монтажа по ТУ2-053-1737-85 (рисунок 2) состоят из
следующих основных деталей и узлов: корпуса 1, клапана 8, размещенного в гильзе
10, пружины 9 и вспомогательного клапана 3, а в исполнении с электроуправлением
они дополнительно комплектуются пилотом, устанавливаемым на клапане 3. Масло из
напорной линии подводится к отверстию Р корпуса и от водится в сливную линию
через отверстие Т. Отверстие Р через малое отверстие 11, в клапане 8, соединено
с надклапанной полостью 2, откуда масло через клапан 3 может поступать в отверстие
Т по каналу 7. Если давление в гидросистеме не превышает давления настройки
клапана 3 (регулируется винтом 6, сжимающим пружину 5), последний закрыт,
давления в торцовых полостях клапана 8 одинаковые, и он прижат пружиной 9 к
конусному седлу гильзы 10, разъединяя отверстия Р и Т. Когда сила от давления
масла на конус 4 вспомогательного клапана превышает усилие его пружины, конус
отходит от седла, и масло в небольшом количестве из отверстия Р через малое
отверстие 11, вспомогательный клапан и канал 7 проходит в отверстие Т. Из-за
потери давления в отверстии 11 давление в надклапанной полости 2 уменьшается, и
клапан под действием давления в отверстии Р поднимается вверх, сжимая пружину 9
и соединяя отверстия Р и Т. Перемещение клапана вверх происходит до тех пор,
пока сила от давления в отверстии Р не уравновесит силу от давления в полости 2
и силу пружины 9, после чего давление в отверстии Р (в напорной линии
гидросистемы) автоматически поддерживается постоянным в широком диапазоне
расходов масла через клапан. Если отверстие А соединить с линией слива,
давление в полости 2 упадет, и клапан 8 под действием небольшого давления (-0,3
МПа) в отверстии Р поднимется, сжимая сравнительно слабую пружину 9 и соединяя
отверстия Р и Т (режим разгрузки). В аппаратах с электроуправлением разгрузка
производится при выключенном (нормально открытое исполнение) или включенном
(нормально закрытое исполнение) электромагните пилота. При необходимости
разделения слива потока управления от основного слива в канал 7 устанавливается
заглушка (винт М5), а в отверстие Y - штуцер с резьбой К1/6´.
Рисунок 2 - Общий вид клапана предохранительного типа МКПВ
II)
Гидроклапаны предохранительные модульного монтажа типа МКПМ
Гидроклапаны предохранительные модульного монтажа типа МКПМ производства
ГСКТБ ГА являются гидроаппаратами непрямого действия и состоят из корпуса, в
котором выполнены гидролинии подвода рабочей жидкости Р, отвода рабочей
жидкости Т, цилиндровые гидролинии А и В и гидролинии управления X и У (только
для исполнений МКПМ-16/ЗМ и МКПМ-20/ЗМ). В корпусе установлены один или два
регулирующих элемента (в зависимости от исполнения), связанных с
соответствующими гидролиниями. Управляющие клапаны размещены в торцовых крышках
аппаратов.
Гидроклапаны устанавливаются между гидрораспределителем и монтажной
плитой и уплотняются в сборе уплотнительными кольцами круглого сечения,
размещенными в цековках корпуса.
Основные габаритные и присоединительные размеры клапанов типа МКПМ,
показаны на рисунке 3.
Рисунок 3 - Основные габаритные и присоединительные размеры клапанов типа
МКПМ
III) Предохранительный гидравлический
клапан (патент № 2379567)
РЕФЕРАТ
Изобретение относится к области машиностроения гидравлической автоматики,
в частности к объемным гидроприводам гидравлических систем строительных и
дорожных машин, и предназначено для предохранения этих систем от перегрузок
высоким давлением. Предохранительный гидравлический клапан содержит корпус со
встроенной системой сброса основного давления и подпитки, неподвижную втулку,
вспомогательный запорный элемент в виде конуса с хвостовиком, демпфирующую
втулку, пружину и регулировочную пробку. Хвостовик вспомогательного запорного
элемента установлен в демпфирующую втулку с зазором, создавая тем самым
механизм гашения автоколебаний. Запорный элемент и демпфирующая втулка
расположены в полости внутри пружины. Изобретение направлено на повышение
герметичности и уменьшение габаритных размеров клапана (см. рисунок 5).
Рисунок 4 - Предохранительны гидравлический клапан
ОПИСАНИЕ
ИЗОБРЕТЕНИЯ К ПАТЕНТУ
Изобретение относится к области машиностроительной гидравлической
автоматики и может быть использовано, в частности, в объемных приводах систем
строительных и дорожных машин и предназначено для предохранения этих систем от
перегрузок высоким давлением.
Известны конструкции гидравлических клапанов, в которых запорные элементы
предохраняются от автоколебаний различного вида устройствами.
Так, известен клапан, содержащий корпус, седло из полиамидной смолы,
стальной шарик, втулку с пазами, упор, пружину упора, толкатель и пружину
толкателя. В данной конструкции для демпфирования (гашения) автоколебаний
запорного элемента - шарика применяется втулка с пазами, в которую он
помещается (см. Обратный разгрузочный клапан. АС № 422905 F16K 15/04,
УДК621.646 (088.8) от 05.04.74. Бюллетень № 13).
Данное решение является довольно эффективным для запорных элементов в
виде шарика. Однако при запорном элементе в виде конуса применение втулки
является проблематичным.
Наиболее близким аналогом - прототипом к заявленному техническому решению
по совокупности признаков и достигаемому эффекту является клапан прямого
действия с демпфированием запорно-регулирующего элемента, содержащий корпус с
седлом, запорный регулирующий элемент с демпфером, пружину, направляющую
втулку, пружину и пробку. В нем демпфирование автоколебаний запорного элемента
достигается наличием демпфера, выполненного за одно целое с запорным элементом,
установленным по посадке с минимальным зазором в седле, являющимся продолжением
корпуса (см. В.А.Васильченко. Справочник «Гидравлическое оборудование мобильных
машин». М.: «Машиностроение», 1983, стр.173, рис.4.47).
Известны достоинства указанного клапана. Он достаточно чувствителен к
изменениям нагрузки и устойчив в работе, а главное, эффективно демпфируются
автоколебания запорного элемента.
Однако существуют и недостатки указанного клапана. Седло, которое
является продолжением корпуса, служит направляющей для демпфера и запорного
элемента, продолжением которого является. Обеспечение герметичности в данной
конструкции требует точного (без взаимных биений) изготовления поверхностей
демпфера и запорного элемента, седла и уплотняющей кромки. В противном случае
необходимо вводить притирку уплотняющей кромки и запорного элемента. Кроме
того, седло и демпфер выступают за пределы основного корпуса, увеличивая
габариты клапана.
Технической задачей предлагаемого изобретения является устранение
указанных недостатков.
Поставленная задача решается тем, что в заявленном предохранительном
гидравлическом клапане, содержащем корпус со встроенной системой сброса
основного давления и подпитки, неподвижную втулку, вспомогательный запорный
элемент в виде конуса с хвостовиком, демпфирующую втулку, пружину и
регулировочную пробку, согласно изобретению хвостовик вспомогательного
запорного элемента входит в демпфирующую втулку с зазором, создавая тем самым
механизм гашения автоколебаний, при этом запорный элемент и демпфирующая втулка
расположены в полости внутри пружины.
Сущность предлагаемого изобретения поясняется чертежом, на котором
показан предохранительный гидравлический клапан прямого действия с
демпфированием запорно-регулирующего элемента.
Клапан содержит корпус 1 с запорно-регулирующим элементом 2 системы
сброса основного давления и подпитки, неподвижную втулку 3, содержащую
демпфирующую втулку 4, вспомогательный запорный элемент 5 в виде конуса с
хвостовиком, пружину 6 и регулировочную втулку 7.
Механизм демпфирования автоколебаний запорного элемента 5 находится
внутри корпуса клапана в свободном пространстве под витками пружины 6, что
уменьшает габаритные размеры клапана, а хвостовик запорного элемента находится
внутри демпфирующей втулки 4 с определенным зазором, что дает возможность
запорному элементу самоустанавливаться в оптимальном положении, обеспечивающем
герметичность соединения.
Клапан работает следующим образом. При повышении давления в напорной
гидролинии (со стороны полости А) запорный элемент 5 открывается, преодолевая
усилие пружины 6, при этом срабатывает система сброса основного давления и
подпитки, автоколебания гасятся хвостовиком вспомогательного запорного элемента
5 и демпфирующей втулкой 4.
.2 Гидрораспределители
I)
Гидрораспределители В10
Гидрораспределители В10 (ГОСТ 24679-81) ОАО «Гидроалпарат» (г. Ульяновск)
имеют следующие основные детали (рисунок 5): чугунный литой корпус 1 с каналами
Р, Т, А и В (крайние каналы Т объединены в корпусе), золотник 2 диаметром 16
мм, толкатели 3 и кнопки переключения 4. Подключение электромагнитов может
производиться через индивидуальные штепсельные разъемы или без штепсельных
разъемов с подводом кабеля сверху или сбоку. Предусмотрены исполнения с
электрическим, гидравлическим, ручным (от рукоятки) и механическим управлением.
Принцип работы аналогичен описанным выше распределителям типа В6. Для
уплотнения стыковой плоскости используются кольца 013-016-19-2-2 по ГОСТ
9833-73.
Рисунок 5 - Распределитель типа В10 с ручным управлением
II)
Гидрораспределители 1Р10
Гидрораспределители 1Р10 по ТУ2-053-1815-86 ОАО «Гидроаппарат» (г.
Ульяновск) по сравнению с типом В10 имеют пониженные потери давления.
Предусмотрены исполнения с электрическим, гидравлическим, механическим и ручным
(от рукоятки или поворотной кнопки) управлением. Общий вид распределителя с
электромагнитами переменного тока показан на рисунке 6. При необходимости
ограничения потока масла, проходящего через распределитель, в линию Р может
устанавливаться диафрагма с диаметром отверстия 0,8.. .3 мм.
Рисунок 6 - Распределитель типа 1Р10 с ручным управлением
III)
Гидрораспределители В16
Гидрораспределители В16 по ГОСТ 24679-81 ОАО «Гидроаппарат» (г.
Ульяновск) имеют электрогидравлическое, гидравлическое или ручное управление
(рисунок 7). В чугунном литом корпусе 1 выполнены каналы для подключения
основных линий (Р, Т, А, В), линий управления (Х - подвод; Y - слив) и
дренажной линии L (только для исполнений с гидравлическим возвратом). В
центральном отверстии диаметром 25 мм выполнены пять канавок (крайние - сливные
объединены) и расположен золотник 2, перемещаемый давлением масла в его
торцовых полостях или рукояткой. Возврат золотника в исходную позицию
обеспечивается пружинами 3 или плунжером 10 (гидравлический возврат) В
распределителях с ручным управлением золотник может фиксироваться в каждой
позиции.
В трехпозиционных распределителях с электрогидравлическим управлением
устанавливается пилот 5 - распределитель ВЕ6.34 для исполнений с пружинным
возвратом или ВЕ6.24 для исполнений с гидравлическим возвратом. В
двухпозиционных распределителях с пружинным возвратом применяется пилот
ВЕ6.574А. а в распределителях без пружинного возврата - пилот ВЕ6.574А.О. В
последнем случае исходная и рабочая позиция пилота фиксируются включенным
электромагнитом, а золотника 2 - давлением управления. В распределителях без
пружинного возврата с фиксацией используется пилот ВЕ6.574А.ОФ.
Напорная X и сливная У линии управления могут подключаться независимо или
объединяться с соответствующими основными линиями Р и Т'.
Рисунок 7 - Гидрораспределитель типа В16
2.3 Регуляторы потока
) Регулятор расхода типа МПГ55-2М
Регулятор расхода типа МПГ55-2М (ТУ2-053-1790 - 86) представляют собой
комбинацию дросселя с регулятором, поддерживающим постоянный перепад давлений
на дросселирующей щели, благодаря чему практически исключается зависимость
расхода от нагрузки. Аппарат (рисунок 8) состоит из корпуса 1, деталей 2 - 11,
которые аналогичны деталям дросселей ПГ77-1 втулки 18, золотника 20 регулятора,
пружины И и пробок 12. Масло из напорной линии поступает 8 отверстие
"Подвод" и далее " через отверстия 19 во втулке 18, частично
перекрытые рабочей кромкой золотника 20, и отверстия 16 в этой же втулке - к
дросселирующей щели втулки 2, а затем к отверстию "Отвод". Золотник
20 находится в равновесии под действием усилия пружины 13 и усилий от давления
масла в его торцовых полостях 15 и 21, соединенных с полостью 17 входа в
дросселирующую щель, а также от давления в полости 14, соединенной с выходом из
дросселирующей щели с помощью канала в корпусе. При осевых перемещениях
золотника изменяется гидравлическое сопротивление отверстий 19, благодаря чему
давление р, на входе в дросселирующую щель понижается по сравнению с давлением
в напорной линии.
II) Регулятор
расхода жидкости высокого давления (патент РФ №2381542)
Регулятор расхода жидкости работает следующим образом.
После предварительной проверки надежности соединений регулятора его
доставляют к месту монтажа, например, его могут устанавливать в блоке напорной
гребенки по ТУ 366/00/-00220239-97, на водоводах к арматуре нагнетательных
скважин в нефтедобывающих промыслах, а также в других отраслях промышленности,
требующих ручного или программного регулирования расхода жидких и газообразных
сред высокого давления.
Рисунок 8 - Регулятор расхода МПГ55-2М
После монтажа регулятора в гидросистему высокого давления с помощью
муфтового соединения или электросваркой открывают все запорные клапана 18 и 19
делительных патрубков 12 и 13 вручную или автоматически согласно заданной
программе, тем самым обеспечивают быстрое заполнение нагнетательной линии
(водовода) жидкостью. Затем согласно технологической карты режимов,
составленных с учетом изменения нефтеотдачи пласта, выбором вариантов
суммарного проходного сечения дроссельных отверстий штуцеров 16 и 17 путем
открытия одних и закрытия других запорных клапанов 18 и 19 делительных
патрубков 12 и 13 добиваются требуемого расхода жидкости. При этом число
возможных комбинаций суммарного сечения дросселей составляет несколько десятков
и может быть сотни в зависимости от количества штуцеров, следовательно, и от
количества запорных клапанов. Комбинация суммарного сечения дросселей,
соответствующего определенному расходу жидкости, составляется заранее и
находится у обслуживающего оператора или диспетчера.
Дроссельные отверстия штуцеров при содержании в транспортируемой жидкости
механических частиц подвергаются износу. Для замены изношенного штуцера сначала
закрывают задвижку напорного трубопровода (задвижка напорного трубопровода на
фиг. не изображена), после чего, отвинчивая накидные гайки 20, отсоединяют
запорный клапан и далее из ступенчатого стакана 1 извлекают упорные гнезда 8
или 9 с размещенными там штуцерами 16 и 17, соединенные с частью делительных
патрубков. Затем из упорных гнезд извлекают изношенные штуцера и вставляют
взамен новые штуцера.
Рисунок 9 - Регулятор расхода
) Регулятор расхода (патент РФ № 2310900)
Регулятор расхода состоит из корпуса 1 с входной полостью Д и выходной -
Е. По оси корпуса размещены самоцентрирующийся чувствительный элемент 2 с
центральной трубкой 3, регулируемый упор 4 с отверстиями, пружина 5 и
регулировочный элемент, состоящий из конической проставки 6 и гайки 7.
Чувствительный элемент 2 выполнен в виде усеченного конуса, образующего с
корпусом суживающуюся по направлению потока расходную кольцевую щель Fo, а
между соплом 8, выполненном по центру перегородки 9 и торцом А
самоцентрирующегося чувствительного элемента 2 - дросселирующая щель Fдр.
За дросселирующей щелью в корпус 1 помещена проставка 10 с отверстиями, в
которой выполнена разгрузочная полость Б, сообщающаяся по каналу Ж с входной
полостью Д и над разгрузочной частью 11 трубки 3, взаимодействующей с
разгрузочной полостью Б, выполнена расходная кольцевая щель Fo.
В корпусе выполнен перепускной канал В, соединяющий входную полость Д с
полостью Г перед дросселирующей щелью Fдр . В перепускном канале В размещено
переменное дросселирующее устройство в виде закрепленного в корпусе сопла 12,
выполненного с возможностью взаимодействия с кулачковым валиком 13 с
образованием переменного дросселирующего сечения Fo1 , при этом кулачковый
валик с элементами уплотнений 16 размещен в перепускном канале на подшипниках
15, 17.
Величина дросселирующего сечения Fo1 изменяется по команде за счет вращения
кулачкового валика 13, соединенного с приводом через полумуфту 14.
Регулятор расхода настраивается и работает следующим образом.
Настройка исходного сопротивления на регуляторе осуществляется
регулируемым упором 4. Настройка перепада давления на расходной кольцевой щели
Fo и переменном дросселирующем сечении Fo1 осуществляется регулировочным
элементом, состоящим из гайки 7 и конической проставки 6. Управление статизмом
гидравлической характеристики зависимости расхода от перепада давлений на
регуляторе осуществляется изменением диаметров разгрузочной части трубки 11 и
разгрузочной полости Б.
Рабочее тело поступает на вход, проходит через полость Д, отверстия в
регулируемом упоре 4, суживающуюся расходную кольцевую щель Fo и далее
поступает в полость Г. Второй поток, который организован для управления
расходом через регулятор, из входной полости Д по перепускному каналу В через
переменное дросселирующее сечение Fo1 также поступает в полость Г.
В полости Г два потока смешиваются и идут через дросселирующую щель Fдр,
сопло 8, отверстия в проставке 10, выходную полость Е на потребитель.
Принцип действия регулятора основан на поддержании постоянного перепада
давлений на кольцевой щели Fo и дросселирующем сечении Fo1 за счет изменения
дросселирующей щели Fдр типа "сопло-заслонка". На установившемся
режиме самоцентрирующийся чувствительный элемент находится в состоянии
равновесия под действием силы пружины с одной стороны и перепада давления на
чувствительном элементе, с другой.
При отклонении расхода от настроенного значения изменяется перепад
давления на чувствительном элементе. В этом случае нарушается равновесие сил и
чувствительный элемент перемещается в сторону закрытия дросселирующей щели Fдр
при увеличении перепада давления и в сторону ее открытия при уменьшении
перепада давления, восстанавливая в обоих случаях прежнее значение перепада
давления на чувствительном элементе (на кольцевой щели Fo и дросселирующем
сечении Fo1), тем самым поддерживается постоянство расхода через регулятор.
Изменение настройки регулятора от номинального значения обеспечивается по
команде от системы управления вращением кулачкового валика 13, находящегося в
кинематической связи через полумуфту 14 с приводом. Равномерность кольцевой
щели Fo между корпусом и чувствительным элементом на работающем регуляторе
обеспечивается гидродинамическим центрированием чувствительного элемента.
При прохождении потока жидкости через суживающуюся кольцевую щель на
чувствительном элементе возникают радиальные составляющие силы, которые
обеспечивают концентричное положение чувствительного элемента без трения его о
стенки корпуса.
Рисунок 10 - Регулятор расхода
3. Расчет и выбор параметров элементов гидросхемы
.1 Расчет и выбор параметров насосов
Исходные данные для выбора насосов:
-
насос Н1:
МПа;
л/мин.
насос
Н2:
МПа;
л/мин.
В
качестве насоса Н1 выбираем шестеренчатый насос типа НШ63М-3, а в качестве
насоса Н2 - шестеренчатый насос типа НШ80М-3 по ([1], стр. 47), со следующими
характеристиками
Н1
Н2
номинальный
объем насоса, см3 63 80;
номинальное
давление на выходе, МПа 13 16;
частота
вращения, об/мин
минимальная
500 500;
максимальная
3000 2400;
КПД
объемный
0,97 0,98;
полный
0,86 0,87.
Подачи
насосав определим по формуле
,
где
- рабочий объем насоса, см3;
-
частота вращения приводного электродвигателя, об/мин;
-
объемный КПД насоса.
л/мин.
л/мин.
.2
Расчет и выбор параметров гидродвигателей
Расчет
и выбор параметров гидроцилиндров.
Исходя
из перепаде давления на гидроцилиндре P1=10 МПа и требуемому расходу Q1=87
л/мин, производим выбор гидроцилиндров Ц1 и Ц2, по ([2], стр. 71)
Гидроцилиндры
поршневые Ц1 и Ц2 - 211-100х50х630 ОСТ 2 Г25-1-86, со следующими техническими
характеристиками:
диаметр
поршня Dп = 100 мм;
диаметр
штока Dш = 50 мм;
ход
поршня S = 630 мм;
номинальное
давление Pном = 16 МПа;
номинальная
сила цилиндра
тянущая
Fтян =118,2 кН;
толкающая
Fтолк =149 кН;
максимальная
скорость поршня υ
= 0,75 м/с;
КПД
гидромеханический
;
КПД
общий
.
Определяем
площадь поршневой полости гидроцилиндров по формуле
,
где
- диаметр поршня гидроцилиндра, м.
м2.
Площадь
штоковой полости рассчитываем по формуле
.
м2.
Определим
максимальные скорости штока при прямом и обратном ходах, по формулам
,
.
м/с,
м/с.
Определяем
усилия на штоках гидроцилиндров, по формулам
,
.
Н,
Н.
Поскольку
расчетные скорости движения и усилия на штоков гидроцилиндров не превышают
номинальные значения, следовательно гидроцилиндры выбраны правильно.
Расчет
и выбор параметров гидромотора.
Исходя
из перепада давления на гидромоторе P2=6 МПа и требуемому расходу Q2=111
л/мин, производим выбор гидромотора, по ([2], стр. 122). Гидромотор
пластинчатый типа 25М55А Vickers, со следующими характеристиками:
рабочий
объем, см3 57,7;
рабочие
давление, МПа 14;
крутящий
момент на валу гидромотора, Н·м 119;
частота
вращения, об/мин
минимальная
100;
максимальная
2800;
КПД
объемный
0,95;
полный
0,9;
Максимальную
частоту вращения гидромотора определим по формуле
,
об/мин.
Вращающий
момент на валу гидромотора, определим из выражения
,
где
- гидромеханический КПД гидромотора.
Н·м.
Поскольку
расчетные частота вращения и крутящий момент гидромотора не превышают
номинальные значения, следовательно гидромотор выбран правильно.
.3
Выбор рабочего давления
При выборе рабочего давления необходимо учитывать следующие факторы:
) с увеличением давления до определенного предела уменьшается
масса и стоимость гидрооборудования.
) увеличение давления в системе связано с повышением требований:
а) к качеству материалов;
б) к точности его изготовления;
в) к чистоте рабочей жидкости при эксплуатации.
) необходимо учитывать, что действующее давление в гидросистемах машин
отличается от расчетного на величину погрешности измерений, при настройке
предохранительного клапана.
Обычно погрешность равна цене деления шкалы манометра используемого при
настройке клапана.
) по соображениям качества обрабатываемых на станках поверхностей,
надежности и бесшумности работы различных механизмов и гидромашин на практике
приняты следующие максимальные давления в гидросистемах.
Для шлифовальных, отделочных и прецизионных станков (до 2,5 МПа), для
станков общего назначения, автоматических линий и технологического оборудования
от 6,3 до 12,5 МПа, для гидроприводов сельскохозяйственных машин 6,3 - 16 МПа,
для зажимных устройств станков и автоматических линий до 20 МПа.
По соображениям качества обрабатываемых на станках поверхностей, а также
надежности и бесшумности работы станочного гидропривода и привода мобильных
машин на практике для оборудования общего назначения за номинальное давление в
гидросистемах принимается давление равное 6,3 МПа .. 12,5 МПа.
Давление в системе определим их уравнения
,
где
- перепад давления на гидродвигатели, МПа.
МПа.
МПа.
.4 Расчет мощности привода. Выбор электродвигателя
Мощность, подводимая к насосу, определяется по формуле
.
где
Рном - номинальное давление, создаваемое насосом, атм;
Qнас - расход,
на выходе из насоса, л/мин;
- общий
КПД насоса.
кВт.
кВт.
Таким образом, мощность приводного двигателя будет лежать в пределах
кВт.
По ГОСТ 19523-74 выбираем асинхронный трехфазный двигатель с
короткозамкнутым контуром марки АИР200L4 ([3], стр.805), мощностью 45 кВт и с частотой вращения 1500 об/мин.
Рассчитаем номинальный момент вращения
Н∙м,
где
,
-
мощность и частота вращения выбранного электродвигателя, кВт, об/мин.
3.5 Выбор рабочей жидкости
Выбор марки машинного масла определяется температурными условиями,
режимом работы, номинальным давлением в гидросистеме.
В общем случае рабочая жидкость должна иметь:
) малое изменение вязкости в широком диапазоне температуры;
) большой модуль упругости;
) как можно меньший коэффициент температурного расширения;
) низкую стоимость и производство в достаточном количестве.
В гидроприводах с легким режимом работы и меньшим номинальным давлением
применяют масла с меньшей кинематической вязкостью, чем для гидроприводов с
большим номинальным давлением и тяжелыми режимами работы, а именно:
Выбираем масло индустриальное И-50А ГОСТ 20799-88, по ([1]), с
техническими характеристиками, показанными в таблице 1.
Таблица 1 - Параметры рабочей жидкости
|
Параметр
|
Значение
|
|
плотность, кг/м3
|
900
|
|
вязкость при 50°С, сСт
|
50
|
|
температура застывания, °С
|
-20
|
|
температура вспышки, °С
|
+200
|
|
рабочая температура, °С
|
30-90
|
.6 Гидравлический расчет трубопроводов и их выбор.
Типоразмер любого трубопровода характеризуется условным проходом dy, примерно равным внутреннему диаметру
трубы d.
Учитывая рекомендацию СЭВ ВС 3644-72, регламентирующую скорость uд потоков рабочей жидкости в
трубопроводах, принимаем:
-
для всасывающих трубопроводов:
=1,6 м/с;
для
напорных трубопроводов, при Р=12 МПа:
=3,8 м/с;
для
напорных трубопроводов, при Р=8 МПа:
=3,3 м/с;
для
сливных трубопроводов:
=2 м/с.
Внутренний
диаметр трубопровода определяется по формуле
,
по
ГОСТ 16516-80 ([3], стр.555) выбирается ближайшее большее стандартное значение.
Минимально
допустимая толщина стенки d трубопровода
мм,
где
К = 3 - коэффициент запаса прочности;
= 140
МПа - допустимое напряжение материала на разрыв стали 20 по ([4]);
p -давление в
гидролинии.
Уточненная
средняя скорость в трубопроводе составит
м/с.
Расчет
параметров трубопроводов сведем в таблицу 2.
Таблица
2 - Расчет параметров трубопроводов
|
Тип трубопровода
|
, м/с , л/мин , МПа , мм , мм , мм , мм , мм , м/с
|
|
|
|
|
|
|
|
|
|
всасывающий
|
1,6
|
91,665
|
0,1
|
43,7
|
50
|
0,054
|
0,5
|
51
|
0,78
|
|
всасывающий
|
1,6
|
117,6
|
0,1
|
39,5
|
40
|
0,043
|
0,5
|
41
|
1,56
|
|
напорный
|
3,8
|
91,665
|
12
|
22,6
|
25
|
3,5
|
4
|
33
|
3,11
|
|
напорный
|
3,3
|
117,6
|
8
|
27,5
|
32
|
2,53
|
3
|
38
|
2,44
|
|
сливной
|
2
|
91,665
|
0,5
|
31,2
|
32
|
0,172
|
1
|
34
|
1,9
|
|
сливной
|
2
|
117,6
|
0,5
|
35,3
|
40
|
0,22
|
1
|
42
|
1,56
|
По ГОСТ 8734-75 ([1], стр.366) принимаем трубы стальные бесшовные
холодно-деформируемые.
.7 Расчет и выбор параметров гидроаппаратов
.7.1 Выбор гидроаппаратуры
Исходя из номинальных давления и расхода насосов:
Насос Н1
-
номинальный расход
номинальное
давление
Насос
Н2
номинальный
расход
номинальное
давление
Исходя
из номинальных давления и расхода насоса, произведем подбор параметров и
типоразмеры применяемых гидроаппаратов.
КП1,
КП2 - клапан предохранительный МКПМ-16/3МА-В1 УХЛ4 модульного исполнения ([5]);
КП3,
КП4 - клапан предохранительный МКПМ-16/3МР-В1 УХЛ4 модульного исполнения ([5]);
Р1
- гидрораспределитель ВММ16.574А УХЛ4 ГОСТ 24679-81 стыкового монтажа ([1],
стр. 120);
Р2
- гидрораспределитель ВММ16.44 УХЛ4 ГОСТ 24679-81 стыкового монтажа ([1], стр.
120);
Р3
- гидрораспределитель ВММ16.14 УХЛ4 ГОСТ 24679-81 стыкового монтажа ([1], стр.
120);
РП
- регулятор расхода МПГ55-24М УХЛ4 ТУ2-053-1790-86 стыкового монтажа ([1], стр.
169);
Технические
характеристики гидроаппаратов, представлены в таблице 3.
Таблица
3 - Технические характеристики предохранительных клапанов
|
Гидроаппарат
|
КП1, КП2, КП3, КП4
|
Р1, Р2, Р3
|
РП
|
|
Условный проход, мм
|
16
|
20
|
|
Рабочие давление, МПа
минимальное номинальное максимальное
|
1 10 12,5
|
- 25 -
|
0,8 20 20
|
|
Расход, л/мин минимальный
номинальный максимальный
|
- 160 200
|
- 125 240
|
0,09 100 120
|
В качестве напорного фильтра Ф выбираем - фильтр 3ФГМ16-10К
ТУ2-053-1778-86 ([1], стр. 313), со следующими техническими характеристиками:
расход рабочей жидкости 200 л/мин;
рабочие давление 16 МПа;
тонкость фильтрации 10 мкм;
В качестве манометра МН выбираем - манометр МТП2 ТУ25-02.101293-83 по
([1], стр. 325), на 25 МПа.
В качестве переключателя манометра ПМ выбираем - переключатель манометра
ПМ2.2-С320 ТУ2-053-1707-84 ([1], стр. 336), с номинальным давлением 32 МПа.
3.7.2 Расчет конструктивных особенностей предохранительных клапанов
Исходные данные для расчета:
КП1 и КП2 и КП3
-
расход
давление
на входе
давление
на сливе
КП4
расход
давление
на входе
давление
на сливе
Предохранительные
клапаны непрямого действия отличаются особенностью работы, которая заключается
в том, что давление на входе поддерживается постоянным независимо от величины
расхода жидкости через клапан. Это происходит потому, что расход жидкости через
вспомогательный шариковый клапан зависит от расхода через демпфирующее
отверстие в клапане.
Исходя
из практики конструирования предохранительных клапанов, предварительно задаемся
видом вспомогательного клапана - конический.
Для
расчета задаются скоростью течения жидкости в подводящем канале, которую
рекомендуется принимать: 5 м/с для давления Р<0,5 МПа, 12-15 м/с для
давления Р<1,2 - 2,0 МПа, 25-30 м/с для давления Р>2,0 МПа.
Принимаем
КП1,
КП2 и КП3
КП4
Диаметр
подводящего канала, определим из условия, что через него должно проходить 5-10%
от общего расхода
КП1,
КП2 и КП3
Принимаем
КП4
Принимаем
Средним
диаметром, определим по формуле
где
- наружный диаметр фаски (см. рисунок 10), мм
- угол
конуса клапана, во избежание заклинивания клапана принимают α >20°, принимаем α =75°.
КП1,
КП2 и КП3
КП4
Рисунок
10 - Общий вид вспомогательного клапана
Определяем
площадь вспомогательного клапана, находящегося под давлением
КП1,
КП2 и КП3
м2.
КП4
м2.
С
учетом перегрузки расчетное давление Ррас рекомендуется определять по формуле
где
- давление на входе клапана, принимаем равным
номинальному давлению создающим насосам.
КП1,
КП2 и КП3
МПа.
КП4
МПа.
Максимальное
усилие пружины вспомогательного клапана находится из выражения
,
где
- жесткость пружины, Н/мм;
- длинна
пружины в свободном состоянии, мм;
-
рабочее число витков пружины, шт;
- диаметр
проволоки пружины, мм.
при
этом необходимо, чтобы рассчитанное усилие было больше, чем усилие со стороны
шарика при расчетном давлении, т.е. выполнялось условие
.
КП1,
КП2, КП3 и КП4
По
ГОСТ 13771, выбираем параметры пружины
номер
позиции №384;
диаметр
проволоки
мм;
наружный
диаметр пружины
мм;
жесткость
одного витка
Н/мм;
наибольший
прогиб одного витка
мм;
сила
пружины при максимальной деформации
Н.
Задавшись
длинной пружины в свободном состоянии, определяем число витков
мм.
шт,
принимаем
шт.
Н/мм,
где
G - модуль упругости (для пружинной стали 65Г
составляет 8·104 Н/мм2).
Н.
Проверяем
условие
КП1,
КП2 и КП3
Н.
КП4
Н.
Высота
подъема клапана, определяем из условия равенства сил, действующих на клапан
,
где
- перепад давления на клапане, МПа;
-
поджатие пружины (определяется настройкой регулировочного винта
вспомогательного клапана, в зависимости от требуемого давления).
КП1,
КП2 и КП3
мм.
КП4
мм.
Площадь
щелевого зазора вспомогательного конического клапана, будет равна
,
КП1,
КП2 и КП3
мм2.
КП4
мм2.
Геометрические
параметры вспомогательного клапана окончательно выбираются после проверки
расхода масла через клапан по формуле
,
где
α
- коэффициент расхода (принимается в
пределах 0,65 - 0,72);
-
плотность рабочей жидкости, кг/м3.
Если
расход через вспомогательный клапан больше 5 - 10 % от общего расхода, то
необходимо увеличить жесткость с пружины или уменьшить диаметр dcp.
КП1,
КП2 и КП3
л/мин,
что
составляет
от общего расхода.
КП4
л/мин,
что
составляет
от общего расхода.
Диаметр
подводного канала определим, по формуле
,
где
- расход протекающий через гидроаппарат, принимаем
равным номинальному расход насоса, л/мин;
-
скорость течения жидкости через гидроаппараты, м/с.
Скоростью
течения жидкости подводящая к гидроаппаратам, рекомендуется принимать от 5 до 7
м/с.
Для
КП1, КП2 и КП3
м =
16,7…19,7 мм.
Принимаем
мм.
Для
КП4
м =
18,9…22,3 мм.
Принимаем
мм.
Предварительно задаемся параметрами основного клапана по ГОСТ 12447-80
Для КП1, КП2 и КП3
.
Для
КП4
.
Скорость
потока на входе для КП1, КП2 и КП3
м/с.
Скорость
потока на входе для КП4
м/с.
Высота
открытия основного клапана при его работе с разгрузкой определим по формуле
где
- расход протекающий через клапан, принимаем равным
номинальному расходу насоса, л/мин;
-
перепад давления на клапане, МПа;
-
давление на сливе.
- угол
конусной фаски основного клапана, во избежание заклинивания клапана принимают β >20°, принимаем β =45°.
КП1,
КП2 и КП3
КП4
Усилие
трения при открытии клапана определим по формуле
где
- скорость перемещения стенки щели, м/с ;
δ - максимальная величина зазора между клапаном и гильзой, м.
Принимаем
посадку
Для
КП1, КП2 и КП3
- Ø20H7+0,021/g6-0,007-0,02
δmax=0,021-(-0,02)=0,041
мм;
Для
КП4 - Ø22H7+0,021/g6-0,007-0,02
δmax=0,021-(-0,02)=0,041
мм;
l - длина щели,
м;
b - ширина щели,
м.
Для
КП1, КП2 и КП3
м.
Для
КП4
м.
μ - зависит от свойств рабочей жидкости, рассчитывается по формуле
м2/с,
где
ν
- кинематическая вязкость жидкости.
КП1,
КП2 и КП3
КП4
Силу
трения от неуравновешенного давления при коэффициенте трения fтр=0,01
по формуле
КП1, КП2 и КП3
Н.
КП4
Н.
Усилие струи при максимальном расходе по формуле
КП1, КП2 и КП3
где φ - угол направления струи, для расчета принимаем φ=69º.
КП3
Для
КП!, КП2, КП3 и КП4
номер
позиции №408;
диаметр
проволоки
мм;
наружный
диаметр пружины
мм;
жесткость
одного витка
Н/мм;
наибольший
прогиб одного витка
мм;
сила
пружины при максимальной деформации
Н.
Задавшись
длинной пружины в свободном состоянии, определяем число витков
мм.
шт,
принимаем
шт.
Жесткость
пружины
Н/мм,
Начальное
поджатие
мм.
Усилие
от давления пружины
,
где
c' - жесткость пружины основного клапана,
hΣ - суммарная деформация пружины, мм.
КП1,
КП2 и КП3
мм.
Н.
КП4
мм.
Н.
Проверим
условие не соприкосновения витков пружины
.
КП1,
КП2 и КП3
.
КП4
.
Так
же, необходимо, чтобы пружина обеспечивала возможность закрытия клапана, для
чего она должна удовлетворять условию
.
КП1,
КП2 и КП3
КП4
Суммарное осевое усилие, по формуле
.
КП1,
КП2 и КП3
Н.
КП4
Н.
Расчетный перепад давления, определяем по формуле
.
КП1, КП2 и КП3
Па.
КП4
Па.
Постоянные утечки через демпфирующее отверстие, площадь которого
выполняется размером ≈1 мм2 (dд.о=1,1 мм), рассчитываются по формуле
.
КП1
и КП2
КП4
Утечки
в переливном клапане из полости высокого давления в полость низкого давления
составят
КП1,
КП2 и КП3
КП4
Собственную частоту вспомогательного клапана определим по формуле
.
где
- масса вспомогательного клапана, кг;
- масса
пружины вспомогательного клапана, кг;
- объем
вспомогательного клапана, м3;
-
плотность материала клапана и пружины, для сталей 7800 кг/м3.
КП1,
КП2, КП2 и КП4

кг.
Гц.
Собственная частота переливного клапана
.
где
- масса основного клапана, кг;
масса
пружины основного клапана, кг;
- объем
основного клапана, м3;
-
плотность материала клапана и пружины, для сталей 7800 кг/м3.
КП1,
КП2 и
КП3
Гц.
КП4
Гц.
При
расчете на быстродействие принимаются следующие допущения:
а)
подача жидкости насосом в систему осуществляется равномерно;
б)
срабатывание клапана происходит при полной остановке исполнительного механизма;
в)
подъем давления в системе в момент открытия клапана осуществляется по линейному
закону;
г)
путь разгона и торможения, по отношению к основной величине открытия клапана,
пренебрежимо мал.
Очевидно,
что пик давления будет иметь минимальное значение, если время, за которое
происходит увеличение давления в системе, и время срабатывания клапана будут
при условии
Время
подъема насосом давления в системе может быть выражено формулой
,
где
V - объем жидкости в напорной части клапана, м3;
β=1 - сжимаемость жидкости в напорной части клапана;
Qкл - средний
расход сливаемой жидкости при постоянном давлении (Qкл≈0,5·Q),
м3/с;
ΔPк - пиковое
значение перепада давления, Па.
где
- площадь клапана, м2;
k - коэффициент
силы (принимают в пределах 0,125 - 0,25, причем меньшее значение числового
коэффициента относят к клапанам золотникового типа, а большее - к клапанам
шарикового типа.).
Время
открытия клапана определяется из условия равноускоренного движения клапана без
начальной скорости под действием среднего значения перепада давления
Если
расчетное значение ΔPк
больше, чем заданное показателем чувствительности, определяемым
,
необходимо
скорректировать конструкцию клапана с целью снижения массы или высоты подъема
клапана.
КП1
и КП2
КП4
.7.3
Расчет конструктивных особенностей гидрораспределителей
Исходные
данные для расчета:
Р1
и Р2
расход
давление
на входе
давление
на сливе
Р3
расход
давление
на входе
давление
на сливе
Диаметр
и ход запорно-регулирующего элемента (золотника) определяются в основном исходя
из обеспечения максимальной мощности (расхода жидкости) в исполнительном
механизме. Так как усилия трения зависят от диаметра золотника, то его размеры
должны быть минимальными. Минимальным должен быть и ход золотника, который,
например, для гидрораспределителей следящих систем не должен превышать 0,2-0,5
мм.
Ход
золотника можно выразить через уравнения
,
где
- вылечена открытия щели проходного сечения, мм;
-
величина перекрытия золотника рабочей камеры (зазор), мм.
Исходя
из практики конструирования золотниковых гидрораспределителей, задаёмся
Для
Р1, Р2 и Р3
Ход
золотник
Р1,
Р2 и Р3
Площадь
проходного сечения, определим из условия рекомендуемой скорости течения
жидкости в гидрораспределителе 5…6 м/с
где
- рекомендуемая скорость жидкости в
гидрораспределителе.
Р1
и Р2
Р3
Большое
распространение получили золотниковые гидрораспределители, у которых сечения
рабочих окон выполнены по всей окружности гильзы. В этом случае сечение
рабочего окна определяется по формуле
,
где
hо - вылечена открытия щели проходного сечения, мм.
Отсюда
определяем диаметр золотника
Р1
и Р2
По
ГОСТ 12447-80 Принимаем
Р3
Принимаем
Тогда
площадь проходного сечения
Р1
и Р2
Р3
Сечение
карманов, где происходит изменение направления потока, должно быть на 30-50%
больше сечения рабочих окон
Р1
и Р2
Принимаем
Р3
Принимаем
Диаметр
шейки золотника выбирается из соображения равенства сечения рабочего окна и
сечения образованного проточкой золотника по следующему неравенству
,
Р1
и Р2
Р3
Кроме
этого условия, диаметр шейки золотника должен обеспечить достаточную жесткость
всего золотника, обеспечивается выполнением следующего условия
Р1
и Р2
Принимаем

Принимаем
При
конструировании и расчете гидрораспределителей решающее значение имеют
гидравлические потери, которые обуславливаются вязкостью жидкости,
шероховатостью поверхностей обтекания и формой каналов.
Гидравлические
потери в гидрораспределителях в основном определяются местными потерями и
рассчитываются по формуле
где
ξ
- коэффициент местного сопротивления (ξ =2 - 4);
-
объемный вес жидкости,
-
плотность масла, кг/м3;
- средняя
скорость течения жидкости в распределителе, превышающая скорость течения во
внешних гидролиниях в 2 - 2,5 раза.
Р1
и Р2
Р3
При определении максимального расхода Qmax необходимо учитывать потери жидкости за счет утечек
через зазоры
где
μ - динамическая вязкость;
-
величина перекрытия золотника рабочей камеры (зазор), м;
δ - ширина зазора.
Р1
и Р2
Принимаем
посадку Ø36H7+0,025/g6-0,009-0,025.
δmax=0,05 мм,
Нс/м2.
Р3
Принимаем
посадку Ø45H7+0,025/g6-0,009-0,025.
δmax=0,05 мм,
Р1
и Р2
Р3
Наибольшая
потребная площадь сечения рабочего окна определяется по выражению
где
α - коэффициент расхода.
Р1
и Р2
Р3
Суммарная
сила, потребная для перемещения золотника, определяется выражением
Гидродинамическая
сила может быть рассчитана по формуле
Сила
вязкого трения определяется по формуле
Силу,
связанную с нагрузкой золотника пружиной, можно определить по формуле
где
- длина золотника, на которой возможно одностороннее
высокое давление;
-
коэффициент трения золотника о гильзу;
-
коэффициент, зависящий от точности изготовления золотника (
). Значение
принимают
тем больше, чем меньше
,
.
Также
может быть определена через параметры пружины
.
Р1
и Р2
Выбираем
параметры пружины по ГОСТ 13770:
номер
позиции №383;
диаметр
проволоки
мм;
наружный
диаметр пружины
мм;
жесткость
одного витка
Н/мм;
наибольший
прогиб одного витка
мм;
сила
пружины при максимальной деформации
Н.
Задавшись
длинной пружины в свободном состоянии, определяем число витков
мм.
шт,
принимаем
шт.
Жесткость
пружины
Н/мм,
Начальное
поджатие
мм.
Р3
Выбираем
параметры пружины по ГОСТ 13770:
номер
позиции №383;
диаметр
проволоки
мм;
наружный
диаметр пружины
мм;
жесткость
одного витка
Н/мм;
наибольший
прогиб одного витка
мм;
сила
пружины при максимальной деформации
Н.
Задавшись
длинной пружины в свободном состоянии, определяем число витков
мм.
шт,
принимаем
шт.
Жесткость
пружины
Н/мм,
Начальное
поджатие
мм.
.6.4 Расчет регулятора потока типа МПГ55-24М
Регулятор расхода предоставляют собой комбинацию дросселя с редукционным
клапаном, поддерживающим постоянный перепад давлений на дросселирующей щели,
благодаря чему практически исключается зависимость расхода от нагрузки.
Произведем расчет основных параметров регулятора расхода.
Для расчета рассмотрим регулятор расхода при перекрытии дросселя которого
возникает перепад давлений и давление действует на торцы золотника клапана, при
этом сопротивление пружины приближенно будет равняется переду давления.
Определяем перепад давления регуляторе расхода, при расходе Q
где
- коэффициент расхода;
-
диаметр дросселирующего элемента, м;
-
количество дросселирующих элементов, принимаем 6 шт;
-
плотность рабочей жидкости;
- перепад
давлений на дросселе.
Выразим
Определим
площадь окна дросселя в зависимости от перемещения
где
SДрi - площадь окна после перекрытия на расстояние r;
Sсег- площадь
сегмента, при перекрытии окна;
где
- радиус окружности дросселирующего элемента;
- угол
сегмента в градусах.
Расход,
проходящий через дроссель равен
где
- перепад давления на аппарате является величиной
постоянной.
Геометрически определим угол сегментов при перекрытии окна дросселя от 1
до 8 мм
Площадь
сегментов при перекрытии от 1 до 8 мм, будет равна
Площадь
дросселирующего элемента
Таким образом, площадь окна дросселя, после его перекрытия на 1…8 мм,
будем равна
Определим
расход при перекрытии окна дросселя от 1 до 8 мм
Рисунок
17 - График зависимости расхода от перекрытия окна дросселя
Исходя
из полученных результатов, можно сделать вывод, что полное перекрытие дросселя
невозможно. Из-за этого возникают внутренние утечки жидкости и потери давления.
4. Проверочный расчет
.1 Расчет потерь давления
.1.1 Определение потерь давления на гидроаппаратах
Каждый гидроаппрат имеет характеристику зависимости перепада давления на
гидроаппарате от расхода, которая, является справочной. Перепады давления на
гидраппаратах, рассчитанные в предыдущей главе, представлены ниже
Клапана
предохранительные КП1, КП2 и КП3 -
Клапан
предохранительный КП4 -
Распределители
Р1 и Р2 -
Распределители
Р3 -
Регулятор
потока РП -
Фильтр
Ф -
Теплообменник
АТ -
Потери в линии Ц1
Потери
в линии Ц2
Потери
в линии ГМ
.1.2
Определение правильности выбора насосов
Определим
потребное давление насосов с учетом потерь
Получаем
Так
как потребные давления насосов Рн1 и Рн2 не превышает номинальных значений
насосов, то данные насосы удовлетворяют требованиям гидропривода.
4.2 Тепловой расчет гидропривода
Так как, невостребованная энергия жидкости переходит в тепло, то
мощность, переходящие в тепло, можно определить по формуле
,
где
- затрачиваемая мощность насосам, Вт;
-
полезная мощность гидродвигателей, Вт.
Затрачиваемая
мощность насосов определяем по фактическим параметрам насосов
Вт.
Вт.
Полезную
мощность привода определяем по заданным нагрузкам и скоростям гидродвигателей
Вт;
Вт;
Вт.
Тогда
получаем
Вт.
Предполагаем,
что теряемая мощность превращается в тепло Епр = N.
Определим
температуру масла в гидробаке
,
где
tв = 20 (0С) - температура окружающей среды;
а
= 0,065 - коэффициент пропорциональности;
Кпр
= 12 (Вт/м2·0С) - коэффициент теплопередачи от масла к окружающему воздуху (при
спокойном воздухе и незначительной скорости рабочей жидкости в баке);
- объём
масла в баке, л;
- объем
гидробака, л.
На
практике, объем гидробака выбирается равным объему жидкости перекачиваемой
насосами за время от 60 до 180 с
л.
По
ГОСТ 12448-80 принимаем
л.
С0.
(С0)>
С0.
Так
как температура масла превышает допустимое значение, то требуется устанавливать
теплообменный аппарат.
Рассчитываем
тепловой поток рассеиваемый баком, по формуле:
,
Вт,
где
- допустимый перегрев масла,
С0.
Определяем
тепловой поток рассеиваемый теплообменником.
Вт.
В
соответствии с полученным значением
Вт
выбираем теплообменник воздушный 2.530.01.3.01 производства EMMEGI
([6], c. 20).
максимальный
расход
л/мин;
максимальная
рассеиваемая мощность
кВт;
максимальное
давление
МПа.
4.3 Определение КПД гидропривода
Общий к.п.д. привода
%;
%;
%.
5.
Описание гидроблока управления
Проектирование
гидравлической плиты производилось из цельного отрезного металла. В нем
рассверлены отверстия, по которым жидкость будет попадать в гидроаппаратуру.
Сама же гидроаппаратура непосредственно крепиться к плите при помощи шпилек или
винтов. Соединение имеет штуцерные переходники, которые используются при
переходе от трубы к гидравлической плите.
Гидроаппаратура
располагается на верхней и передней гранях плиты. На верхней гране,
последовательно, по направлению движения рабочей жидкости, в три ряда, а на
передней гране - в один.
В
первом ряду верхней грани крепится клапан предохранительный КП3 (МКПМ-16/3МР-В1
УХЛ4), на нем предохранительный клапан КП1 (МКПМ-16/3МВ-В1 УХЛ4) и далее,
гидрораспределитель Р1 (ВММ16.574А УХЛ4).
Второй
ряд верхней грани, состоит из предохранительного клапана КП2 (МКПМ-16/3МВ-В1
УХЛ4) и гидрораспределителя Р2 (ВММ16.44 УХЛ4).
Третий
ряд верхней грани состоит из клапана предохранительного КП4 (МКПМ-16/3МР-В1
УХЛ4) и гидрораспределителя Р3 (ВММ16.14 УХЛ4).
На
передний грани плиты крепится регулятор потока РП (МПГ54-34М УХЛ4).
6.
Описание вопросов охраны труда и экологии
Многие машины и агрегаты в процессе работы характеризуются высоким
уровнем шума и вибрации. Шум делится на механический и аэродинамический.
Шум механического происхождения возникает в результате соударения твердых
тел, упругих деформаций деталей машин, вибраций узлов или агрегатов в целом.
Аэродинамический шум возникает при больших скоростях движения газов, тел в
воздухе, в результате взрывных процессов.
Снижения уровней шума и вибрации можно достигнуть различными путями.
Прежде всего, необходимо уменьшить их в самом источнике образования, уменьшая
поверхность соударяющихся частей, применяя без редукционные передачи и т. д.
Если смонтированное производственное оборудование создает повышенные вибрации и
шум, то его изолируют от строительных конструкций установкой на специальные
фундаменты. Для устранения жесткой связи оборудования с фундаментом, между ними
располагают амортизаторы.
Если шум на рабочих местах невозможно устранить всеми известными
способами, то в таких случаях применяют, либо дистанционное управление
производственным процессом из специальных кабин с необходимой изоляцией звука,
либо применяют индивидуальные средства защиты органов слуха.
Под вибрацией понимают механические колебания упругих тел или
колебательные движения механических систем.
Нормируемыми параметрами общей вибрации является среднеквадратичное
значение колебательной скорости в октавных полосах частот или амплитуды
перемещений, возбуждаемые работой оборудования (машин, электродвигателей,
вентиляторов, станков и других) и передаваемые на рабочие места в
производственных помещениях (пол, рабочие площадки, сиденье).
Санитарными нормами введены регламентируемые параметры СН245-71.
Нормируемыми параметрами шума являются предельно допустимые уровни звукового
давления в октавных полосах частот, уровни звука и эквивалентные уровни звука.
Предельные нормы шума и вибраций для среднегеометрической октавной полосы
1000Гц: шума 80дБ, действующее значение допустимой колебательной скорости
0,63·10-2м/с. Проектируемый механический участок содержит станки, при работе
которых шум и вибрация не превышают допустимых уровней.
С целью уменьшения вредного воздействия вибрации на работающих
предусматривают систему технических мероприятий, которые должны учитываться при
разработке нового, эксплуатации и модернизации существующего оборудования,
машин, механизмов и инструментов.
Основными мероприятиями по устранению вредного воздействия вибрации
являются:
- снижение вредных вибраций в самом источнике, используя конструктивные,
технологические и эксплуатационные способы и приёмы;
установка технологического оборудования с динамическими нагрузками на
фундаменты;
ограничение или устранение вибрации по пути распространения ее средствами
виброизоляции и вибропоглощения;
устранение неблагоприятных факторов производственной среды, сопутствующих
возникновению вибрационной болезни;
использование средств индивидуальной защиты (виброизоляционная обувь и рукавицы);
введение комплекса санитарно-гигиенических и лечебно-профилактических
мероприятий, направленных на снижение вредного воздействия вибрации на организм
человека.
Из перечисленных мер, виброизоляция является наиболее доступным и
достаточно эффективным решением, позволяющим обеспечивать нормальные условия
для обслуживания персонала.
Указание мер безопасности:
. Эксплуатация гидростанции должна производиться в соответствии с
правилами пожарной безопасности, требованиями ГОСТ 12.1.019 - 79, ГОСТ 12.2.009
- 80, ГОСТ 12.2.040 - 79 и руководства по эксплуатации гидросистемы.
. Общие требования безопасности к монтажу, испытаниям и
эксплуатации должны соответствовать ГОСТ 12.2.086 - 83.
. Не допускать к обслуживанию персонал, предварительно не
ознакомив его с общими правилами техники безопасности, руководствами по
эксплуатации на комплектующие изделия .
. Перед эксплуатацией станцию заземлить.
. Между головками винтов или болтов, используемых для заземления,
и заземляющими частями не должно быть электроизолирующего слоя лака, краски,
эмали. При наличии указанного слоя он должен быть удалён.
. Подключение энергоисточников должно производиться только после
окончания сборочно - монтажных работ.
. Периодически, во время профилактических осмотров, проверять
правильность работы блокировочных и контрольно - измерительных устройств. При
обнаружении каких - либо отклонений от нормальной работы немедленно отключить
станцию от энергоисточников.
. Перед демонтажем станции отключить все энергоисточники и
принять меры против их случайного включения.
. Обслуживание приводных электродвигателей производить только
отключения их от сети и полной остановки вращающихся частей.
. Перед пуском приводных электродвигателей убедиться в отсутствии у
вращающихся частей посторонних предметов.
Запрещается:
оставлять работающие станции без надзора;
подтягивать болты, винты, гайки и другие соединения во время пуска и
работы станции;
производить пуск станции без необходимого количества рабочей жидкости в
гидробаке;
работа станции на режимах, превышающих значения, установленные
руководством по эксплуатации;
запуск станции при температуре масла менее + 10ºС.
Экология:
Проблема защиты окружающей среды - одна из важнейших задач современности.
Выбросы промышленных предприятий, энергетических систем и транспорта в
атмосферу, водоемы и недра на современном этапе развития достигли таких
размеров, что в ряде районов земного шара, особенно в крупных промышленных
центрах, уровни загрязнений существенно превышают допустимые санитарные нормы.
Важными направлениями защиты окружающей среды следует считать:
1. Создание и повсеместное внедрение безотходных технологий;
2. Совершенствование технологических процессов и разработку нового
оборудования с меньшим уровнем выбросов примесей и отходов в окружающую среду;
. Замена токсичных отходов на нетоксичные;
. Замена неутилизируемых отходов на утилизируемые;
. Применение пассивных методов защиты окружающей среды.
Важная роль в защите окружающей среды отводится мероприятиям по
рациональному размещению источников загрязнений. К ним относятся:
1. Вынесение промышленных предприятий из крупных городов и сооружение
новых в малонаселенных районах с непригодными и малопригодными для
сельскохозяйственного использования землями;
2. Оптимальное расположение промышленных предприятий с учетом топографии
местности и розы ветров;
3. Установление санитарных охранных зон вокруг промышленных
предприятий;
. Рациональная планировка городской застройки, обеспечивающая
оптимальные экологические условия для человека и растений.
Заключения
В результате проделанной работе, мной был спроектирован гидроблок
управления гидродвигателями, станции гидропривода, для этого были произведены:
расчет и выбор насосов гидропривода;
расчет и выбор гидродвигателей гидропривода;
выбор рабочей жидкости;
расчет и выбор приводных электродвигателей;
расчет и выбор трубопроводов;
расчет и выбор гидроаппаратов;
расчет потерь давления;
проверочный и тепловой расчеты.
По результатам расчетов, спроектировал:
гидравлическую схему гидропривода;
монтажную схему гидроблока управления;
монтажную плиту гидроблока управления;
сборочные чертежи предохранительного клапана, гидравлического
распределителя, дросселя;
сборочный чертеж гидроблока управления.
В конечном счете общий КПД гидропривода составил 55%.
Список используемой литературы
1 Свешников В.К. «Станочные гидроприводы», Справочник.
Москва, Маширостроение, 2004 г.
2 Свешников В.К. Международный каталог. Книга 1.
Москва. “Машиностроение” 2004 г.
Анурьев В. И. «Справочник конструктора
машиностроителя», М., Машиностроение 1980г, т3.
Анурьев В. И. «Справочник конструктора
машиностроителя», М., Машиностроение 1979г, т1.
Свешников В.К. Международный каталог. Книга 2.
Москва. “Машиностроение” 2005 г.
Свешников В.К. Международный каталог. Книга 3.
Москва. “Машиностроение” 2006 г.