Повышение инвестиционной привлекательности ОАО 'НИИ Гириконд'
Содержание
Введение
Глава 1. Теоретические аспекты инвестиционной
привлекательности предприятия на современном этапе экономического развития
.1 Сущность инвестиционной привлекательности современного
предприятия
.2 Методические основы анализа инвестиционной
привлекательности организации
.3 Инвестиционный климат для НИИ в Санкт-Петербурге
Глава II. Анализ инвестиционной привлекательности организации
.1 Организационно-экономическая характеристика ОАО «НИИ
Гириконд»
.2 Анализ финансового состояния ОАО «НИИ Гириконд»
.3 Оценка инвестиционной привлекательности ОАО «НИИ Гириконд»
.Направления по повышению инвестиционной привлекательности
организации
.1 Разработка мероприятий по повышению инвестиционной
привлекательности ОАО «НИИ Гириконд»
.2 Оценка перспектив внедрения мероприятий по повышению
инвестиционной привлекательности ОАО «НИИ Гириконд»
Заключение
Список литературы
Введение
Актуальность темы состоит в том, что необходимым условием развития
экономики является высокая инвестиционная активность. Она достигается
посредством роста объемов реализуемых инвестиционных ресурсов и наиболее
эффективного их использования в приоритетных сферах материального производства
и социальной сферы. Инвестиции формируют производственный потенциал на новой
научно-технической базе и предопределяют конкурентные позиции стран на мировых
рынках. Инвестиции предназначены для поднятия и развития производства,
увеличения его мощностей, технологического уровня.
Все предприятия в той или иной степени связаны с инвестиционной
деятельностью. Принятие решений по инвестиционным проектам осложняется
различными факторами: видом инвестиций, стоимостью инвестиционного проекта,
множественностью доступных проектов, ограниченностью финансовых ресурсов,
доступных для инвестирования, риском, связанным с принятием того или иного
решения.
Поскольку инвестиционная теория строится на базовом соотношении риска и
доходности, возникает вопрос, как же изменилось это соотношение и как
изменилось поведение корпораций в части инвестиционной активности после их выхода
из международного финансового кризиса. Проблемой данного исследования как раз и
являются особенности адаптации инвестиционных стратегий международных
корпораций в посткризисный период.
Под инвестиционной стратегией в данной работе понимается совокупность
инструментов и действий, которые применяются и осуществляются компанией в части
управления свободным капиталом с целью увеличения своей рыночной стоимости.
Под свободным капиталом, прежде всего, понимается чистая прибыль
корпорации после уплаты налогов, другими словами, нераспределенная прибыль,
которую компания может направить либо на выплату дивидендов, либо
реинвестировать, направив средства на развитие бизнеса. Также компания может
использовать долговые инструменты финансирования (кредиты, займы, облигации) а
также собственный капитал. В работе будет затронута проблема распределения
чистой прибыли и проблема поиска оптимальной структуры капитала.
Предметом исследования является инвестиционная деятельность ОАО «НИИ
Гириконд». Объект исследования - инвестиционная стратегия на ОАО «НИИ Гириконд»
Цель работы состоит в анализе инвестиционной стратегии ОАО «НИИ
Гириконд».
Для достижения цели поставлены следующие основные задачи:
. проанализировать инвестиционную деятельность предприятия и
деятельность, связанную с разработкой соответствующих управленческих решений;
. определить и обосновать состав параметров инвестиционной
деятельности, которые должны формироваться и отслеживаться при стратегическом,
тактическом и оперативном управлении, а также диапазоны их приемлемых
состояний.
. разработать управленческие решения, связанные с повышением
инвестиционной привлекательности предприятия
Глава 1.
Теоретические аспекты инвестиционной привлекательности предприятия на
современном этапе экономического развития
.1 Сущность
инвестиционной привлекательности современного предприятия
Степень развития российской отрасли промышленного производства во многом
зависит от активности привлечения в нее инвестиций.
В современной экономической литературе используется множество терминов
применительно к инвестициям - «инвестиционная политика», «климат»,
«привлекательность», «риски», «потенциал» и др. Однако экономисты не могут
сойтись в единой трактовке данных понятий.
На наш взгляд наиболее интересным с экономической точки зрения является
термин «инвестиционная привлекательность», так как он появился сравнительно
недавно и в разных трактовках включает в себя: инновационную привлекательность,
инвестиционную политику, инвестиционный климат и инвестиционную активность.
Прежде чем определить данное понятие, рассмотрим его основные части.
Впервые термин инвестиции появился еще в средневековье, обозначая
определенные указания по управлению феодом. В процессе эволюции слово
«инвестиция» (от латинского investir - «одевать, покрывать, окружать»)
распространилось по разным сферам жизнедеятельности (в том числе и в экономику)
и приобрело несколько новых значений, по сути не отличающихся от
первоначального.
Считается, что эволюция инвестиций прошла несколько периодов. Первыми
считаются работы австрийской экономической школы. В 1820-1830-х гг., в период
зарождения такой науки как теория финансов, появились работы И. Фишера по
теории процентной ставки. Ф. Вильямсом были разработаны теоретические подходы к
оценке капитальных активов. Д. Кейнс в 1936 г. выделил мотивы, побуждающие
хранить сбережения в денежной (ликвидной) форме. К ним он отнес транзакционный
мотив, определяемый потребностью покупать товары и услуги.
Наиболее распространенным термином, используемым отечественными
экономистами времен социализма, являлся термин «капитальные вложения». Понятие
"инвестиции" практически не использовалось и отождествлялось с
капитальными вложениями. Огромный вклад в развитие теоретических основ
капитальных вложений внес академик Т. С. Хачатуров. Капитальные вложения Т. С.
Хачатуров определял как: «затраты на воспроизводство основных фондов, их
увеличение и совершенствование».
В настоящее время в научных работах российских ученых, так же, как и на
практике, в основном принято расширенное толкование инвестиций. Так, В. Бочаров
и Р. Попова определяют инвестиции как все виды имущественных и интеллектуальных
ценностей, вкладываемых в объекты предпринимательской деятельности, формирующие
прибыль или достижение высокого полезного эффекта. Этому определению близка трактовка
А. Е. Городецкого и А. А. Воронина: «Инвестиции - экономическая категория,
выражающая долгосрочное вложение капитала в объекты предпринимательской
деятельности с целью получения прибыли».
В литературе имеются и другие трактовки. Федеральным законодательством
«Об инвестиционной деятельности в Российской Федерации, осуществляемой в форме
капитальных вложений» инвестиции определяются как «денежные средства, ценные
бумаги, иное имущество, в том числе имущественные права, иные права, имеющие
денежную оценку, вкладываемые в объекты предпринимательской и (или) иной
деятельности в целях получения прибыли и (или) достижения иного полезного
эффекта».
Такое понятие как инвестиционная привлекательность используется многими
авторами для оценки признаков инвестиционной деятельности на этапе анализа ее
состояния и перспектив, качественной характеристики и перспективы ее успешного
ведения.
Изучение инвестиционной привлекательности происходит как на микро, так и
на макроуровне. Веретенникова О. Б. и Рыбина Е. С. выделяют 4 уровня
инвестиционной привлекательности:
. Инвестиционная привлекательность страны;
. Инвестиционная привлекательность регионов;
. Инвестиционная привлекательность отраслей;
. Инвестиционная привлекательность хозяйствующих субъектов.
А. А. Дружинина исключает региональный уровень, и включает инвестиционную
привлекательность отраслей региона и проекта.
Выделим основные факторы, определяющие инвестиционную привлекательность
(см. рис. 1.1).
В экономической литературе до настоящего времени не выработан единый
подход к определению сущности понятия «инвестиционная привлекательность».
Большинство экономистов примерно одинаково трактуют содержание понятий
инвестиционный климат, инвестиционная привлекательность применительно к
экономике страны, к отрасли, региону, предприятию, но при конкретизации
структуры этих понятий, методов и методик оценки мнения ученых существенно
расходятся. Так, например, Белых Л. П. определяет инвестиционную
привлекательность как «соотношение уровня риска и ставки доходности». Игонина Л.
Л. считает, что инвестиционный климат включает в себя инвестиционную
привлекательность, и определяет инвестиционный климат как «обобщающую
характеристику совокупности социальных, экономических, организационных,
правовых, политических и иных условий, определяющих привлекательность и
целесообразность инвестирования в экономику страны (отрасли, региона)».
Рис. 1.1 Основные факторы, определяющие инвестиционную привлекательность
История сравнительных оценок инвестиционной привлекательности или
инвестиционного климата насчитывает более 80 лет. Гарвардская школа бизнеса
впервые осуществила исследование в этой области для сравнения инвестиционной
привлекательности стран. Исследование включало следующие характеристики:
законодательные условия для иностранных и национальных инвесторов,
возможность вывоза капитала,
устойчивость национальной валюты,
политическая ситуация,
уровень инфляции,
возможность использования национального капитала.
Выделенные факторы оказались недостаточно детальным для достоверного
отражения всей совокупности условий, принимаемых во внимание инвесторами.
Поэтому в дальнейшем развитие методик сравнительной оценки инвестиционной
привлекательности различных стран пошло по пути расширения и усложнения
системы, оцениваемых экспертами параметров и введения количественных
показателей.
Некоторые учёные определяют термин «инвестиционная привлекательность» как
независимую экономическую категорию, для которой характерно, прежде всего,
устойчивое финансовое положение. Другие исследователи развивают определение
термина, добавляя принципы формирования инвестиционной привлекательности, такие
как: возможность продукции к конкурированию на рынке, ориентирования
предприятий на клиентов, инновационная деятельность предприятий.
Как правило, исследований инвестиционной привлекательности и ее
составляющих в отраслевом разрезе не осуществляется. Мы же считаем, что это
необходимо, так как способствует эффективному распределению отраслевых
капиталовложений; а так же такие характеристики как: размер рынка, уровень
конкуренции, темпы роста рынка и этапы его жизненного цикла, наличие крупных
конкурентов и угроза появления новых, количество покупателей, наличие рычагов
воздействия покупателей и поставщиков, прогнозируемый объем спроса, степень
дифференциации товаров (услуг) компаний-конкурентов и т. д. значительно влияют
на инвестиционную привлекательность предприятий и проектов и должны быть
оценены.
Под инвестиционной привлекательностью отраслей экономики предлагается,
понимать совокупность характеристик отдельных отраслей экономики с позиции
перспективности развития, доходности инвестиций и уровня инвестиционных рисков.
1.2
Методические основы анализа инвестиционной привлекательности организации
В связи с недостаточной исследованностью содержания категории
«инвестиционная привлекательность предприятия», в настоящее время не существует
и единой методики её оценки, которая содержала бы общепринятый перечень
показателей, позволяла однозначно охарактеризовать полученные результаты.
Существующие на данный момент методики базируются на использовании различных
показателей, способов анализа и интерпретации результатов и на это имеются
следующие причины.
Процесс анализа инвестиционной привлекательности отраслей реального
сектора экономики является комплексным, однако единой методики оценки не
существует. В основном, инвестор самостоятельно определяет необходимые
показатели, способ оценки, а так же занимается сбором необходимой информации.
Однако не всегда компания (получатель инвестиций) раскрывает информацию в
полном размере. При этом в ситуациях с готовностью предоставления необходимых
данных для анализа возникает новая проблема - недопонимания в том какую
информацию, в какой форме и в каком разрезе необходимо предоставить для
анализа.
Большинство методик оценки инвестиционной привлекательности отраслей
сводятся к построению интегрального показателя (без эконометрических моделей):
,
где:
- количественная оценка фактора инвестиционной
привлекательности,
- «вес» или экспертная оценка значимости фактора,-
порядковый номер фактора.
Формирование оценочных показателей может быть выстроено:
на потребительских предпочтениях различных групп инвесторов;
на стоимостной оценке.
Одними из известных и признанных классификаций показателей, необходимых
для проведения анализа, являются показатели, предложенные в работе М. И.
Самаргородской:
. уровень прибыльности деятельности отрасли;
. уровень перспективности развития отрасли;
. уровень инвестиционных рисков, характерных для отрасли,
Данные критерии оцениваются комплексно по совокупности входящих в
критерий аналитических показателей, рассчитываемых на статистических данных
Росстата.
Механизм определения инвестиционной привлекательности, предложенный М.И.
Самаргородской, в большей степени отражает ее направленность на выработку
инвестиционной политики предприятия и позволяет ее рассматривать как одни из
факторов принятия инвестиционного решения. В ходе оценки автор определяет
отдельные направления инвестиционной деятельности и предлагает наиболее
эффективные пути использования капитала в процессе инвестирования, оценивая не
только объект инвестирования, но и влияющие на внешние факторы. Получившая в
итоге оценка инвестиционной привлекательности является комплексной
характеристикой, отражающей преимущества и недостатки инвестирования отдельных
направлений и объектов с позиций конкретного инвестора.
Т. В. Федорович предлагает в качестве показателей финансового состояния
предприятия использовать:
. экономическую добавленную стоимость;
. рыночную добавленную стоимость;
. рыночную капитализацию и предпринимательскую прибыль;
. приращение стоимости корпорации, достигнутое благодаря
эффективному управлению.
Согласно автору, чем выше данные показатели стоимости бизнеса, тем выше
инвестиционная привлекательность оцениваемой корпорации.
О. М. Фокина и А. В. Красникова в качестве измерения стоимости предлагают
использовать только один показатель - экономическую добавленную стоимость
(EVA), так как данный показатель характеризует эффективность использования
капитала предприятия, прибавление к рыночной стоимости предприятия. Прирост
стоимости компании свидетельствует о ее инвестиционной привлекательности,
уменьшение - о непривлекательности объекта инвестирования.
Достоинством проводимого на основе EVA анализа является наглядное
представление того, происходит ли прирост стоимости компаний в отрасли. Однако
существенным недостатком данного метода является использование абсолютных
показателей, не позволяющих потенциальному инвестору сравнивать не только
оцениваемые предприятия, но и отрасли в целом, между собой.
Л. В. Минько выделяет пять блоков показателей, необходимых для оценки
инвестиционной привлекательности отраслей:
Показатели динамики развития отрасли (%):
темп роста/падения уровня производства,
темп роста физического объема,
отношение индекса физического объема отрасли к индексу по всем отраслям
РФ в целом.
Показатели эффективности:
коэффициент рентабельности всего капитала,
коэффициент рентабельности продаж,
коэффициент рентабельности собственного капитала.
Показатели финансового состояния (характеризуют степень защищенности
интересов инвесторов и кредиторов):
коэффициент финансового рычага (левериджа),
коэффициент обеспеченности предприятий собственными средствами (%),
коэффициент текущей ликвидности,
коэффициент восстановления (%)
Показатели деловой активности (оборачиваемости) и технико-экономического
состояния отраслей:
износ ОПФ (%),
коэффициент ввода в действие ОПФ на 1 рубль инвестиций в основной
капитал,
коэффициент оборачиваемости запасов,
общий коэффициент оборачиваемости капитала,
фондоотдача основных фондов на 1 тысячу рублей,
соотношение темпов роста производительности труда и заработной платы.
Характеристика институциональной среды:
отношение кредиторской задолженности к дебиторской (%),
коэффициент отношения выручки от реализации к просроченной дебиторской
задолженности и авансам,
коэффициент выручки от реализации к просроченной кредиторской
задолженности,
доля просроченной кредиторской задолженности в общей сумме задолженности
(%),
доля просроченной дебиторской задолженности (%).
Методика Гришиной (методика РАН в литературе), включает в себя:
Показатели инвестиционного потенциала:
показатели производственно-финансового потенциала (объем промышленного
производства, доля убыточных предприятий, суммарный объем внутренних
инвестиционных ресурсов и т.д.),
показатели социального потенциала (уровень жизни населения, объем платных
услуг населения и т.д.),
уровень инвестиционных некоммерческих рисков отрасли (уровень
конфликтности трудовых отношений, доля малоимущего населения и т.д.).
Методика Сорокиной А. В. включает:
экономические факторы инвестиционной привлекательности (деловая
активность, институциональная среда, состояние инфраструктуры),
социальные факторы инвестиционной привлекательности (уровень жизни,
человеческий потенциал, покупательная способность населения),
инновационные факторы инвестиционной привлекательности
(научно-исследовательский потенциал, результативность НИОКР)
Отметим, что представленная интегральная оценка и выбор возможных
показателей-факторов для ее анализа не включает динамику предшествующих лет,
что искажает полученные данные и может привести к неправильному решению
инвестора, так как при принятии решения в текущий момент времени мы не можем
знать текущие экономические показатели в связи с особенностями сбора, обработки
и предоставления статистической информации.
Так же при оценке инвестиционной привлекательности отраслей экономики
используется модель согласования инвестиционных контрактов. Основой модели
служит предпосылка о том, что инвестор, принимая решение о вложении денежных
средств, делает выбор не между различными отраслями экономики, а между
отраслью, которую он хорошо знает, с приемлемым для него уровнем риска, и
процедурой размещения средств в ликвидные ценные бумаги.
Характеристикой инвестора является максимальный уровень инвестируемого
капитала и его норма прибыли (v) на финансовом рынке. В зависимости от
характеристик отрасли инвестор разбивает их на три группы. Такое разбиение
имеет следующее графическое представление:
Рис. 1.2 Области инвестиционной привлекательности для инвестора
Отрасли первой группы являются высокопривлекательными для данного
инвестора. Отрасли второй группы являются среднепривлекательными для данного
инвестора. Отрасли третьей группы являются крайне малопривлекательными для
данного инвестора.
Преимуществом данного метода оценки инвестиционной привлекательности
является наглядное представление предпочтений инвестора. Недостатком методики
является сложность в определении функции предпочтений инвестора.
Наиболее часто оценка инвестиционной привлекательности проводится про
помощи одного из двух методов оценки: рейтинговой и интегральной.
Метод рейтинговой оценки проводится в два этапа:
. Первый заключается в анализе ограничений, которые накладываются
инвестором, с целью «просеивания» предприятий и формирования «узкого списка»
кандидатов, удовлетворяющих первоначальным требованиям и претендующих на
получение средств для финансирования своей инвестиционной программы.
. Второй предполагает рейтинговую оценку предприятий из «узкого
списка» - ранжирование по степени убывания инвестиционной привлекательности
попавших в него предприятий.
Анализ ограничений идет в контексте выбора «соответствует- не
соответствует». Если предприятия соответствуют заданным ограничениям, они
включаются в «узкий список», при несоответствии - исключаются из дальнейшего
рассмотрения.
Для анализа инвестиционной привлекательности накладываются следующие
основные ограничения по:
) Абсолютной окупаемости инвестиций при заданном проценте по
привлечению средств;
) Минимальной рентабельности инвестиций.
Рейтинговая оценка основывается на выведении некоего комплексного
показателя, рассчитываемого как сумма взвешенных репрезентативных
коэффициентов, которые характеризуют различные аспекты эффективности
деятельности и устойчивости финансового состояния предприятия. Существенное
влияние на выбор весов коэффициентов оказывают:
. Характер кредитования. При кредитном финансировании необходимо
существенно увеличить веса показателей финансового состояния (ликвидность,
финансовая маневренность, общая платежеспособность) по сравнению с показателями
эффективности хозяйственной деятельности (прибыль к собственным средствам,
рентабельность и пр.). Напротив, при институциональном финансировании
показатели эффективности должны доминировать;
. Предельное ограничение по срокам окупаемости. По мере
возрастания срока окупаемости (срока кредитования при банковском
финансировании) увеличивается вес показателей долгосрочного финансового
состояния (общая платежеспособность) по сравнению с показателями текущей
платежеспособности (ликвидность и финансовая маневренность). Напротив, при
коротком сроке окупаемости коэффициенты ликвидности «в своей весовой категории»
должны занимать доминирующую роль.
Таким образом, при составлении рейтинга анализируются две группы
финансовых показателей, характеризующие инвестиционную привлекательность
предприятий. В первую из них объединены пять показателей, характеризующих
эффективность деятельности предприятий, а именно возможность получения прибыли.
Во вторую группу входят пять финансовых показателей, которые характеризуют
платежеспособность предприятий или, другими словами, косвенно оценивают
вероятность возврата вложенных инвесторами средств. Используемые при анализе
показатели рассчитываются на основании данных бухгалтерской отчетности по
итогам года.
Показатели, характеризующие эффективность деятельности предприятия:
. Рентабельность продаж. Рассчитывается как отношение чистой
прибыли к выручке от реализации. Рентабельность продаж показывает, какую
прибыль имеет предприятие с каждого рубля реализованной продукции. Величина
данного показателя широко варьирует в зависимости от сферы деятельности
предприятия. Объясняется это различием в скорости оборота средств, связанным с
различиями в размерах используемого капитала, необходимого для осуществления
хозяйственных операций в данном объеме, сроках кредитования, величине складских
запасов и т.д. Длительный оборот капитала делает необходимым получение большей прибыли,
чтобы достичь удовлетворительных результатов.
Величина показателя рентабельности продукции находится в непосредственной
зависимости от структуры капитала предприятия. Очевидно, что при прочих равных
условиях рентабельность продаж будет тем меньше, чем значительнее величина
задолженности.
. Рентабельность активов. Рассчитывается как отношение чистой
прибыли к среднегодовой стоимости активов. Рентабельность активов
показывает, сколько денежных единиц прибыли получено предприятием с единицы
стоимости активов независимо от источников привлечения средств.
Целесообразность использования данного показателя при оценке
инвестиционной привлекательности обусловлена тем, что он позволяет оценить
эффективность использования всего имущества предприятия (прибыльность суммарных
активов). С помощью тех же активов предприятие будет получать доходы и в
последующие периоды деятельности. Таким образом, рентабельность активов дает
возможность оценить эффективность использования активов и их прибыльность, а
следовательно, оказывает влияние на инвестиционную привлекательность
предприятия.
. Рентабельность оборотных средств. Рассчитывается как отношение
чистой прибыли к средней величине оборотных средств.
. Рентабельность собственного капитала. Данный показатель
определяют как отношение чистой прибыли предприятия к величине собственного
капитала. Инвесторы капитала (акционеры) вкладывают в предприятие свои средства
с целью получения прибыли от инвестиций, поэтому, с точки зрения акционеров,
наилучшей оценкой результатов хозяйственной деятельности является получение
прибыли на вложенный капитал, а именно рентабельность собственного капитала.
. Доля износа основных средств (коэффициент износа). Данный
показатель определяется как отношение суммы износа к среднегодовой стоимости основных
фондов. Данный показатель указывает на техническое состояние основных средств
предприятия.
Показатели, характеризующие платежеспособность предприятия:
. Коэффициент текущей ликвидности. Показывает, какую часть текущих
обязательств предприятие сможет погасить, мобилизовав все оборотные средства.
Данный финансовый коэффициент рассчитывают как отношение оборотных средств к
краткосрочным обязательствам. Чем больше значение коэффициента, тем больше
уверенность в оплате обязательств. Превышение активов над пассивами
обеспечивает также резервный запас для компенсации убытков, возникающих при
ликвидации активов. Данный коэффициент определяет границу безопасности для
возможного снижения рыночной стоимости активов.
. Коэффициент срочной ликвидности. При расчете данного
коэффициента используют наиболее ликвидные активы. При этом предполагается, что
дебиторская задолженности имеет более высокую ликвидность, чем запасы и прочие
активы. При расчете коэффициента срочной ликвидности с краткосрочной
задолженностью сопоставляют денежные средства, краткосрочные финансовые
вложения и дебиторская задолженность.
. Коэффициент абсолютной ликвидности. Показывает, какую часть
краткосрочных обязательств сможет погасить организация в ближайшее время за
счет денежных средств на различных счетах и в краткосрочных ценных бумагах.
Данный финансовый коэффициент рассчитывают как отношение наиболее ликвидных
активов к краткосрочным обязательствам. Он характеризует величину денежных
средств, которые необходимы для уплаты текущих обязательств. Объем денежных
средств является своего рода страховым запасом и предназначен для покрытия
краткосрочной несбалансированности денежных потоков. Так как денежные средства
не приносят дохода предприятию, то их размер должен поддерживаться на уровне безопасного
минимума.
. Коэффициент обеспеченности текущих активов собственными
оборотными средствами. Показывает, какая часть оборотных средств предприятия
была сформирована за счет собственного капитала.
. Коэффициент автономии. Показывает долю собственных средств в
общей сумме источников финансирования. Данный финансовый коэффициент позволяет
оценить зависимость предприятия от внешних источников финансирования, т.е.
возможность осуществления деятельности без дополнительного привлечения заемного
капитала. С другой стороны, коэффициент автономии показывает, насколько
финансовые обязательства предприятия могут быть покрыты за счет собственного
капитала. Коэффициент автономии рассчитывается как отношение собственного
капитала ко всем активам.
На основе экспертных исследований была разработана балльная оценка
параметров, входящих в рейтинговую оценку инвестиционной привлекательности
(табл. 1.1.). При этом оценивалась величина первичного параметра (за
определенный год), затем полученный балл корректировался с учетом динамики.
Таблица 1.1. Балльная оценка параметров
|
Показатель
|
Хорошо
|
Удовлетворительно
|
В районе предельно
допустимого значения
|
Неудовлетворительно
|
Крайне неудовлетворительно
|
|
Рентабельность продаж, %
|
>20
|
5-20
|
0-5
|
0-20
|
<-20
|
|
Рентабельность активов, %
|
>15
|
5-15
|
0-5
|
0-10
|
<-10
|
|
Рентабельность собственного
капитала
|
>45
|
15-45
|
0-15
|
0-30
|
<-30
|
|
Рентабельность оборотных
средств, %
|
>30
|
10-30
|
0- 10
|
-20-0
|
<-20
|
|
Текущая ликвидность
|
>1,3
|
1,15-1,3
|
1-1,15
|
0,9-1
|
<0,9
|
|
Срочная ликвидность
|
>1
|
0,8-1
|
0,7-0,8
|
0,5-0,7
|
<0,5
|
|
Абсолютная ликвидность
|
>0,3
|
0,2-0,3
|
0,15-0,2
|
0,1-0,15
|
<0,1
|
|
Коэффициент обеспеченности
собственными средствами, %
|
>22
|
12-22
|
0-12
|
-11-0
|
<-11
|
|
Коэффициент автономии, %
|
>50
|
20-50
|
10-20
|
3-10
|
<3
|
Первичные параметры:
Оценки: «хорошо» -2 балла; «удовлетворительно» -1 балл; «в районе
предельно допустимого значения» - 0; «неудовлетворительно»- минус 1 балл;
«крайне неудовлетворительно»- минус 2 балла.
Поправка на динамику: «крайне положительная» (более +50%)- плюс
20%;»положительная» (от +10% до 50%)- плюс 10%; «стабильная» (от -10% до +10%)-
0; «отрицательная» (от -50% до -10%)- минус 10%; «крайне отрицательная» (менее
-50%) -минус 20%.
Далее проводится ранжирование предприятий по количеству баллов,
рассчитанных ранее и скорректированных с учетом динамики. В итоге составляется
рейтинг предприятий по инвестиционной привлекательности.
Составление рейтинга является завершением оценки абсолютной и
относительной инвестиционной привлекательности предприятий. В практическом
ключе это означает, что инвестор получает количественное обоснование
сравнительной выгодности различных альтернатив вложения финансовых ресурсов при
накладываемых им ограничениях и требованиях к возвратности средств.
В соответствии с результатами рейтинговой оценки инвестиционной
привлекательности предприятий, целесообразно использовать метод интегральной
оценки, который позволяет рассчитать показатель , воспроизводящий значения
других показателей, скорректированных в соответствии с их весомостью и другими
факторами.
Существуют разные подходы в отношении того, какие именно показатели
должны входить в интегральную оценку инвестиционной привлекательности
предприятия. Специалисты считают, что основными, удовлетворяющим требованиям
международного меморандума IASC являются показатели оценки:
показатели оценки имущественного состояния объекта вложения инвестиций;
показатели оценки финансовой устойчивости (платежеспособености) объекта
инвестиций.
Интегральная оценка позволяет определить в одном показателе много разных
по содержанию, единицам измерения, весомости и другим характеристикам факторов.
Это упрощает процедуру оценки конкретного инвестиционного предложения, а иногда
является единственно возможным вариантом ее проведения и предоставления
объективныв окончательных заключений.
Для исследования инвестиционной привлекательности предприятия с помощью
интегрального метода на основе внутренних показателей показатели деятельности
хозяйствующего субъекта разделены на 5 блоков (ниже раскрыт состав показателей
по блокам).
По каждому из блоков производятся расчеты, сводящиеся к интегральному
показателю инвестиционной привлекательности предприятия. Расчет интегральной
оценки включает 2 этапа. На первом рассчитываются стандартизированные значения
всех показателей, эталонных значений, определяются их веса в комплексной оценке.
Затем за все годы вычисляются потенциальные функции, которые в конце первого
этапа сводятся в комплексные оценки инвестиционной привлекательности по каждому
блоку показателей [12]. Итогом второго этапа является вычисление интегральной
оценки инвестиционной привлекательности предприятия [12].
Показатели первого блока, отражающие эффективность использования
материально-вещественных ресурсов:
|
Обозначение
|
Показатель
|
|
Х11
|
Рентабельность основных
средств, %
|
|
Х21
|
Рентабельность материальных
оборотных средств, %
|
|
Х31
|
Коэффициент оборачиваемости
производственных запасов
|
|
Х41
|
Коэффициент оборачиваемости
собственного капитала
|
Показатели второго блока, отражающие финансовое состояние:
|
ОбозначениеПоказатель
|
|
|
Х12
|
Коэффициент текущей
ликвидности
|
|
Х22
|
Коэффициент финансовой
независимости
|
|
Х32
|
Коэффициент заемного
капитала
|
|
Х42
|
Степень обеспечения запасов
и затрат собственными оборотными средствами
|
|
Х52
|
Коэффициент оборачиваемости
дебиторской задолженности
|
|
Х62
|
Коэффициент оборачиваемости
кредиторской задолженности
|
Показатели третьего блока, отражающие эффективность использования
трудовых ресурсов:
|
Обозначение
|
Показатель
|
|
Х13
|
Доля квалифицированных
кадров
|
|
Х23
|
Производительность труда
|
Показатели четвертого блока, отражающие инвестиционную деятельность:
|
Обозначение
|
Показатель
|
|
Х14
|
Рентабельность инвестиций
|
|
Х24
|
Доля собственных инвестиций
|
|
Х34
|
Темп роста инвестиций
|
Показатели пятого блока, отражающие эффективность хозяйственной
деятельности:
|
Обозначение
|
Показатель
|
|
Х15
|
Рентабельность собственного
капитала
|
|
Х25
|
Рентабельность активов
|
|
Х35
|
Рентабельность оборотных
активов
|
|
Х45
|
Рентабельность продукции
|
|
Х55
|
Рентабельность производства
|
|
Х65
|
Рентабельность продаж
|
Расчет и стандартизация значений показателей позволили определить пять
потенциальных функций по блокам:
у1 = 0,377Z11 + 0,370Z21 + 0,487Z31 + 0,695Z41 (1)
у2 = 0,756Z12 + 0,376Z22 + 0,203Z32 + 0,322Z42 + 0,277Z52 + 0,256Z62 (2)=
0,999Z13 + 0,043Z23 (3)= 0,041Z14 + 0,330Z24 + 0,943Z34 (4)= 0,347Z15 +
0,342Z25 + 0,342Z35 + 0,357Z45 + 0,341Z55 + 0,634Z65 (5)
На втором этапе рассчитаны комплексные оценки инвестиционной
привлекательности по каждому из блоков и получена единая оценка в виде общей
потенциальной функции:
= 0,052y1 + 0,116y2 + 0,867y3 + 0,478y4 + 0,056y5 (6)
На заключительном этапе определяется интегральная оценка инвестиционной
привлекательности предприятия.
Достоинством методики является ее объективность, а также сведение всех
расчетов к окончательному интегральному показателю, что значительно упрощает
интерпретацию результатов. К негативным моментам можно отнести, в первую
очередь, ориентированность методики только на внутренние показатели
деятельности предприятия, изолированность её от внешних индикаторов.
.3
Инвестиционный климат для НИИ в Санкт-Петербурге
инвестиционный привлекательность повышение оценка
Санкт-Петербург является полноправным субъектом Российской Федерации. Это
означает, что город вправе самостоятельно предоставлять инвесторам налоговые
льготы в пределах сумм, зачисляемых в бюджет города (по отдельным налогам), а
также принимать собственные нормативно-правовые акты, регулирующие
инвестиционную деятельность.
Основы инвестиционного законодательства Санкт-Петербурга определены
Законом «О государственной поддержке инвестиционной деятельности на территории
Санкт-Петербурга». Особые условия инвестиций в объекты недвижимости,
находящиеся в городской собственности, определены Законом «О порядке
предоставления объектов недвижимости, находящихся в собственности
Санкт-Петербурга, для строительства и реконструкции». Положения названного
Закона распространяются на земельные участки, объекты незавершенного
строительства, а также здания, подлежащие реконструкции, и определяют
законодательные основы передачи этих объектов инвестору.
Санкт-Петербургский инвестиционный закон определяет основные принципы
инвестиционной политики города, формы государственной поддержки инвестиционной
деятельности, права и обязанности инвесторов и основы льготного
налогообложения. Предоставление налоговых льгот регулируется городским Законом
«О налоговых льготах».
Городской инвестиционный закон декларирует принцип поддержки инвестиций,
открытости и доступности информации, ясности инвестиционного процесса,
неизменности принятых решений, взаимной ответственности Санкт-Петербурга и
инвесторов, определяет презумпцию добросовестности инвесторов.
Закон «О государственной поддержке инвестиционной деятельности на
территории Санкт-Петербурга» гарантирует равные права инвесторов. Особенно это
касается получения государственной поддержки, предусмотренной законом и другими
нормативными актами, а также доступа к информации, необходимой для
осуществления инвестиционной деятельности. Закон предписывает также
унифицирование публичных процедур и гарантирует инвестору право на владение,
свободное использование и репатриацию прибыли, полученной в результате
инвестиционной деятельности.
Также важно отметить гарантию стабильности положения инвесторов в ходе
реализации инвестиционного проекта. Данная гарантия подразумевает, что вновь
издаваемые нормативные акты Санкт-Петербурга, ухудшающие положение инвесторов,
не применяются в течение трех лет в отношении инвесторов, реализующих
инвестиционные проекты в момент вступления таких актов в силу.
В отношении исследований и разработок специальных форм поддержки не
предусматривается, поэтому следует проанализировать именно
научно-исследовательскую составляющую инвестиционного климата в
Санкт-Петербурге.
В современный период перед отраслью исследований и разработок стоит ряд
проблем. Процесс оснащения R&D-центров при вузах идет достаточно динамично,
но научные центры должны использовать исследовательское оборудование, для
производства необходимо проведение ряда процессов на технологических
производственных линиях. Для развития технологий необходимо постоянное
совершенствование технологических процессов. Тенденция к устранению этого
разрыва появилась недавно в связке «вуз, проводящий фундаментальные
исследования, + технологический центр, обеспечивающий развитие технологии и ОКР
(предприятие - реципиент технологий)». Подобный научно-производственный альянс
способен обеспечить независимость от дальнейшего заимствования технологий,
постоянное развитие техпроцессов, снижение производственных затрат и, в
конечном счете, конкурентоспособность продукции предприятия в целом. В России
примеры уже существуют: ФТИ им. Иоффе осуществляет фундаментальные
исследования, НТЦ Тонкопленочных технологий в энергетике при ФТИ проводит НИОКР
и обеспечивает развитие технологического процесса. По такой же схеме сейчас
происходит развитие МЭМС-направления. Центры прикладных разработок также
появляются на уровне крупных отраслеобразующих концернов и корпораций, но они
ориентированы на исследование и совершенствование ключевых технологий отрасли.
В рамках регионального развития сходная модель потенциально может быть
воплощена в концепции технопарков для формирования региональных кластеров и
точек технологического роста, но фактически это только возможный сценарий
развития. В настоящее время технопарки еще находятся на стадии становления в
качестве центров технологической компетенции регионов и ориентированы в первую
очередь на привлечение внешних высокотехнологичных компаний и специалистов.
Информационная кампания, запущенная в СМИ против РАН, дискредитирует саму
инновационную идею: объем капиталовложений падает, инвестиционная
привлекательность неуклонно снижается, промышленное производство стагнирует,
экономика замедляет свой рост.
В отечественном комплексе исследований и разработок для повышения
качества выпускаемой продукции целесообразна структурная реорганизация.
Объединение ряда отраслевых институтов необходимо (например, в ведении
Рособоронзаказа), как и перевод непрофильных предприятий из ведения Минобороны
в Минпромторг. В частности, в авиационно-космической сфере важно усиление роли
наземной подготовки и тестирования оборудования методами комплексного контроля.
Важный инструмент улучшения финансово-экономической ситуации и
инвестиционного климата - совершенствование нормативно-правовой базы.
Необходима доработка механизмов страновых рисков, изменяющих стоимость
продукции в соответствии с кредитным рейтингом государства.
С развитием исследовательских институтов и ЦКП начинает особенно остро
вставать проблема отсутствия объединяющих структур в наиболее развитых
научно-технологических центрах России (это, прежде всего, Москва, Санкт-Петербург,
Новосибирск, Екатеринбург), консолидирующих целые научно-исследовательские
кластеры, технопарки, ЦКП и вузы этих регионов. Объем исследований в таких
центрах проводится огромный, но, как правило, взаимосвязь внутри и между
центрами слабая. При этом возникает конкуренция за «свои» предприятия, что не
приводит к повышению качества НИОКР.
Основной функцией трансферных центров в регионах с высокой концентрацией
вузов и R&D-центров должно стать объединение технологических возможностей и
компетенций ведущих вузов на уровне прикладных разработок, отладки
производственных технологий, технологических маршрутов, производственного цикла
и трансляция готовых технологических решений на предприятия менее развитых
регионов. Трансферные центры могут привлекать не один конкретный
исследовательский центр для решения практических технологических задач, а
коллектив разработчиков и представителей разных научных школ и R&D-центров.
Это обеспечит поток технологий и специалистов, подготовленных для работы с
этими технологиями, в регионы, активно реализующие локальные стратегии
инновационного развития или предоставляющие привлекательные льготы для развития
предприятий высокотехнологичного сектора, но не обладающие значительным
научно-техническим потенциалом. Таким образом, появляется связь техноцентров и
регионов и решается проблема асимметричности их развития.
Трансферные центры должны не столько развивать производства в своем
регионе, сколько передавать результаты в регионы, потенциально готовые к
трансферу этих технологий. Почти все регионы уже имеют действующие
высокотехнологичные предприятия, существующие еще со времен Советского Союза.
Централизация власти придавала логику построению региональных экономических
связей, с распадом СССР некоторые ключевые предприятия либо совсем исчезли,
либо оказались за границей. Во многих случаях старые организации стали просто
неактуальны и не адаптированы к мировой технологической среде. Необходимо
определить некие точки роста и, используя исследовательский потенциал ведущих
российских научных школ и свои знания и опыт, там, где существует потенциал,
модернизировать старый.
Общемировые тенденции становления постиндустриального общества
характеризуются несколькими показателями: роль научных разработок и инноваций
возрастает до важнейшего фактора развития экономики, первостепенным
производственным ресурсом становится квалификация специалистов, благосостояние
населения напрямую зависит от уровня образования и профессионализма,
значительно снижается роль добывающей промышленности по сравнению с высокотехнологичным
производством. Россия в данной концепции находится только на стадии
формирования постиндустриальной парадигмы, но уже сейчас необходимо учитывать,
что наиболее развитые в научном плане города будут концентрировать и наиболее
квалифицированные кадры. При этом производственные мощности, опять же следуя
общей тенденции, будут выноситься за территорию мегаполисов и в регионы. В
России эта тенденция, кроме традиционных экологических причин и высокой
стоимости земли, подкрепляется еще и необходимостью развивать огромную
территорию страны.
Дефицит квалифицированных инженеров и технологов уже сильно ощущается в
стране. В будущем же кадровый вопрос встанет еще более остро: смена технологий
в современном мире происходит в промежутке два-четыре года. Поэтому тесная
взаимосвязь вузов, как источников знаний о современном развитии технологий, и
предприятий - реципиентов технологий должна поддерживаться постоянно. Центры
должны стать таким связующим звеном, прежде всего, через профессиональную
подготовку инженерно-технических работников. Причем принцип систематического
повышения квалификации может быть утвержден отраслевыми нормативами -
периодические квалификационные экзамены или сертификаты для ИТР при таком
сценарии становятся нормой. Трансферные центры должны обеспечить двухсторонний
процесс: повышение квалификации специалистов из регионов и поток
квалифицированных кадров из развитых технологических центров.
Одна из общих проблем российских регионов - частое отсутствие некоего
независимого эксперта между предприятиями региона, государственными
структурами, ответственными за развитие и инвестирование инновационной
экономики, и региональными административными ресурсами. Летом 2012 г. при
участии руководства компании ЭЛТЕХ (Санкт-Петербург) была проведена встреча
административных, промышленных и научных элит Петербурга, Москвы, Республики
Мордовия и Самарской области. Эффективность таких собраний оказалась
чрезвычайно высока. Трансферные центры могут решить данную проблему, участвуя в
подготовке региональных стратегий развития инновационной экономики и интегрируя
научно-исследовательские, производственные и административно-финансовые ресурсы
не только на уровне региона, но и всей страны.
Функции трансферных центров должны быть интегрирующими, а не дублирующими,
их создание должно четко следовать принципу системности, не нужно дублировать
возможности уже действующих технологических центров. При этом следует еще раз
подчеркнуть, что трансферные центры должны создаваться не под отрасль или
развитие какой-то конкретной технологии, а под целый технологический кластер,
объединяющий ряд региональных вузов и R&D-центров. Такой подход обеспечит
не только многообразие научных школ и взглядов, но и междисциплинарное
взаимодействие в прикладных разработках. Кроме того, создание мощнейших
технологических центров в России даст возможность взаимодействия с западными
технологическими центрами, что должно стать одним из важнейших приоритетов их
деятельности.
Таким образом, трансферный центр - это передача производственных технологий,
современная площадка для прикладных разработок и ОКР, точка объединения
ресурсов вузов и научных лабораторий целого развитого региона, перемещение
квалифицированных кадров из наиболее развитых научно-технологических центров
России в регионы и повышение квалификации местных специалистов, привлекательный
партнер в проведении совместных исследований для западных центров
технологической компетенции. Это бесценный источник актуальной информации для
стратегических планов регионального развития.
Приоритет в создании научного трансферного центра должен быть
предоставлен Санкт-Петербургу уже потому, что в городе развито сильнейшее
межвузовское взаимодействие, работают мощные R&D-центры в ведущих учебных
заведениях. Санкт-Петербург был и останется самым европейским городом России,
архитектурным памятником, всегда привлекательным для иностранцев своими
историческими достояниями, культурой и атмосферой. Город всегда был средоточием
науки, и именно Императорская Санкт-Петербургская Академия Наук постановлением
Временного правительства в 1917 г. была преобразована в Российскую Академию
Наук. Позже в СССР произошло развитие региональных и отраслевых научных
центров, но научно-техническое значение Ленинграда являлось главенствующим
вплоть до Великой Отечественной войны, когда значительная часть научных и
производственных ресурсов была эвакуирована из блокадного города. До сих пор
центры научно-исследовательской и технологической компетенции России
сконцентрированы в Москве, Санкт-Петербурге, Новосибирске и Екатеринбурге, во
второй эшелон входят Нижний Новгород, Казань, Уфа, Тюмень, Ростов-на-Дону,
Иркутск и Томск.
Такие петербургские научные центры, как ФТИ им. Иоффе РАН, СПбГЭТУ ЛЭТИ,
СПбГУ, НИУ ИТМО, СПбГПУ и многие другие, имеют большой авторитет не только в
России, но и за рубежом. Каждый из этих вузов обладает собственными достаточно
развитыми исследовательскими ресурсами, но только создание общего трансферного
центра, объединяющего возможности вузовских R&D-центров, предоставляющего
возможность перейти от исследований и производства опытных образцов к серийному
производству, обеспечит отлаженный технологический процесс, готовый к
применению в серийном производстве на конкретных предприятиях. Кроме того,
трансферные центры призваны осуществлять послевузовскую практику и приток
квалифицированных кадров в регионы, поскольку основной смысл деятельности таких
центров, что видно уже из названия, - трансфер технологий и кадров из наиболее
развитых технологических центров России в регионы.
Глава II.
Анализ инвестиционной привлекательности организации
2.1
Организационно-экономическая характеристика ОАО «НИИ Гириконд»
Научно-исследовательский институт «Гириконд», был основан в 1939 году и
стал родоначальником новой подотрасли - конденсаторостроения. За эти годы это
предприятие прошло целый ряд этапов в своем развитии от НИИ-34 до ОАО «НИИ
Гириконд», всегда оставаясь одним из головных предприятий отрасли. «НИИ
Гириконд» является базовым предприятием радиоэлектронного комплекса Российской
Федерации в области конденсаторов и нелинейных полупроводниковых резисторов.
Более 90% всей современной отечественной номенклатуры этих изделий было
разработано в «НИИ Гириконд». В настоящее время институт разрабатывает и
производит электронные компоненты как универсального применения, ток и уникальные
изделия для специфических или экстремальных условий работы, а также материалы
для них. Изделия ОАО «НИИ Гириконд» отмечены более чем 500 медалями различных
выставок и ярмарок, из них 31 золотой. Только за последние 5 лет разработки в
области пожарных извещателей «НАБАТ» удостоены 6 золотых и одной серебряной
медалей специализированных выставок «За лучшее техническое решение». ОАО «НИИ
Гириконд» ежегодно участвует в выставках в Москве, инициированных ОАО
Государственной Корпорацией «Ростехнологии», регулярно поставляет свою
продукцию по заказу клиентов для участия в различных тендерах.
ОАО «НИИ» Гириконд» входит в состав холдинга ОАО «Российская электроника»
и является базовым предприятием радиоэлектронного комплекса РФ в области
конденсаторов и нелинейных полупроводниковых резисторов. Вследствие данного
факта на предприятии происходит целевое распределение прибыли. Также Российская
Электроника координирует деятельность НИИ в отношении кадровой политики и
участии в тематических выставках и научных конференциях, таких как «Экспо-
Элекроника-2014» и «MIPS 2014». Для инвестирования в собственные внеоборотные
средства необходимо разрешение на данные действия ОАО «Российская Электроника».
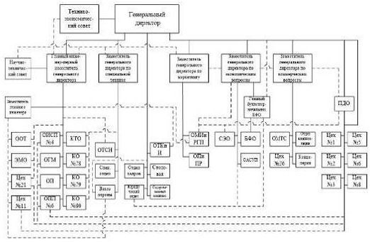
Организационная структура ОАО «НИИ Гириконд» представлена на рис.2.1
Рис.2.1.Организационная структура ОАО НИИ Гириконд
Данное предприятие является «закрытым», т.е. не вся информация доступна
для широкого круга лиц. Это связано с сотрудничеством с Министерством Обороны и
направленность на оборонную промышленность. В целях сохранения безопасности
производства, не имею полномочий раскрывать внутреннюю информацию.
В планово-экономическом отделе работают экономисты, маркетологи,
бухгалтера. Также в подчинении находится отдел сбыта продукции и склад готовой
продукции. Планово-экономический отдел возглавляет заместитель генерального
директора по экономике и финансам.
Главный инженер имеет штат сотрудников, которые разрабатывают продукцию,
осуществляют научно-исследовательскую деятельность.
В производственный отдел включены отделы, связанные с производством
различных видов продукции, таких как извещатели пламени, структуры, паи, флюсы,
гирлены. В этом отделе работают специалисты по качеству, военные представители,
которые контролируют производство.
Можно видеть, что для данного НИИ представленная функциональная структура
является оптимальной, так как четко разделены основополагающие функции.
В данной структуре предполагается перераспределение задач, прав и
ответственности, информационных потоков, что потребует подбора на каждое
рабочее место высококвалифицированных и опытных специалистов. Эти меры позволят
повысить производительность труда каждого.
Особенностью организационной структуры является наличие комплексных
подразделений, в которые будут, входит квалифицированные специалисты от каждого
из отделов, разрабатывающие отдельные части проекта.
Состав комплексного подразделения должен быть оптимальным и позволять
получить требуемый результат при разработке проекта, при этом итоговый
показатель ценности проекта определяется как средневзвешенная величина,
отражающая мнение всех участников этой бригады с учетом значимости каждого
показателя эффективности.
Каждое из подразделений специалистов размещается в одном помещении, и все
её члены работают параллельно, не сходя с места, проводят обсуждение вариантов
решений и их согласование. Разрабатываемая компьютерным способом по единой
программе проектная документация рассматривается и совершенствуется всей
группой одновременно, что позволяет быстро, без потерь времени достичь высокого
качества продукции и соответствия принятых решений действующим нормам и
правилам.
Мало того, если при постановке цели заложить в проект самые современные и
эффективные решения, при такой организации работы успешно достигается и она.
Каждое из комплексных подразделений будет занято в течение определенного
периода времени разработкой одного проекта, а завершив его, одновременно
приступать к следующему. Этот прием существенно повышает мотивацию
разработчиков на ускорение сроков выдачи результата, способствует интеграции
усилий внутри подразделений.
Информационной инфраструктурой для разработки проектной документации
является использование современных комплексных систем трехмерного
проектирования, позволяющее использовать лучшие прикладные средства как для
создания новых, так и для управления проектными данными эксплуатируемых
объектов.
В силу того, что ОАО «НИИ Гириконд» - единственный в России производитель
керамических конденсаторов, которые, в свою очередь, поставляются по всей
России и в Беларусь, существует огромный поток заказов и заявок. Основными
покупателями ОАО «НИИ Гириконда» являются такие фирмы, как ОАО «Экситон», ОАО
концерн «НПО Аврора», ОАО «Ярославский радиозавод», ОАО «Муромский завод
радиоизмерительных приборов» и другие. В среднем, у ОАО «НИИ Гириконд» около
300-400 заказчиков. В связи с этим, не хватает производственных мощностей,
производство по конкретному заказу растягивается до 9 месяцев. Ранее, несколько
месяцев назад, ОАО «НИИ Гириконд» осуществил капитальные вложения- закупил
основные средства в Словении. Это оборудование дорогостоящее, для него
необходимы отдельные площади и специальные климатические условия. Частный
сектор пока не заинтересован в инвестициях в российское оборонное предприятие,
так как нет возможности в управлении капиталом из-за того, что это предприятие
закрытое и деятельность регламентируется Министерством обороны. Несмотря на
закупку оборудования, существует дефицит мощностей.
Сырье и комплектующие для своей продукции ОАО «НИИ Гириконд», в основном,
импортирует из Франции, Германии, Беларуссии. Французская организация «Баларэ»
поставляет пленку для пленочных конденсаторов. У Белоруссии, как основного
импортного поставщика, закупается сырье для керамических конденсаторов. В
Казахстане и в Германии ОАО «НИИ Гириконд» импортирует танталовый порошок для
танталовых конденсаторов К53, по которым ОАО «НИИ Гириконд» получает наибольшую
долю прибыли среди всего ассортимента продукции ОАО «НИИ Гириконд», так как это
одно из самых дорогих изделий предприятия. В Российской Федерации
производство средств производства практически отсутствует в данной отрасли.
Существует монополист «Копир», который поставляет сырье для изучаемого
предприятия. Таким образом, можно сделать вывод, что международные политические
условия являются мощным макроэкономическим фактором, влияющим на объемы
производства и деятельность в целом исследуемого предприятия.
У ОАО «НИИ Гириконд» практически нет конкурентов, так как китайское сырье
для изготовления конденсаторов обладает низкими технологическими качествами, а
готовые китайские изделия не подходят по ряду параметров к отечественной
оборонной продукции. Существуют немецкие аналоги продукции рассматриваемого
предприятия, но они дорогостоящие. Существует еще одна значимая причина, почему
ОАО «НИИ Гириконд» занимает лидирующую позицию среди предприятий, поставляющих
вышеперечисленную продукция,- это периодическая разработка интервалом в 5-8 лет
совершенно новых технологий, у которых не может быть конкурентов, потому что,
ОАО «НИИ Гириконд» - это, прежде всего, научно-исследовательский институт,
который совершает открытия. Поэтому, ОАО «НИИ Гириконд» можно назвать
крупнейшим производителем в России кондесаторов, резисторов, варисторов и
ионисторов.
ОАО «НИИ Гириконд» находится на собственном обеспечении и к различным
видам кредитов не прибегает и лишь изредка берет займы, вследствие этого
уровень долгосрочной кредиторской задолженности невелик. Предприятие является
безубыточным, что подтверждает положительная динамика и положительный финансовый
результат от основной деятельности.
Выводы:
. ОАО «НИИ Гириконд» имеет функциональную структуру, которая
является оптимальной, так как четко разделены основополагающие функции. В
данной структуре предполагается перераспределение задач, прав и ответственности,
информационных потоков, что потребует подбора на каждое рабочее место
высококвалифицированных и опытных специалистов.
. особенностью организационной структуры является наличие
комплексных подразделений, в которые будут, входит квалифицированные специалисты
от каждого из отделов, разрабатывающие отдельные части проекта. Каждое из
подразделений специалистов размещается в одном помещении, и все её члены
работают параллельно, не сходя с места, проводят обсуждение вариантов решений и
их согласование.
. информационной инфраструктурой для разработки проектной
документации является использование современных комплексных систем трехмерного
проектирования, позволяющее использовать лучшие прикладные средства как для
создания новых, так и для управления проектными данными эксплуатируемых
объектов.
2.2 Анализ
финансового состояния ОАО «НИИ Гириконд»
В таблице 2.1 приведены основные финансовые результаты деятельности ОАО
«НИИ Гириконд» за период 31.12.11-31.12.13 на основе данных бухгалтерской
отчетности организации за 3 года.
Таблица 2.1.
|
Показатель
|
Значение показателя, тыс.
руб.
|
Изменение показателя
|
Средне- годовая величина,
тыс. руб.
|
|
2012 г.
|
2013 г.
|
тыс. руб. (гр.3 - гр.2)
|
± % ((3-2) : 2)
|
|
|
1
|
2
|
3
|
4
|
5
|
6
|
528 927
|
626 855
|
+97 928
|
+18,5
|
577 891
|
|
2. Расходы по обычным видам
деятельности
|
481 463
|
561 201
|
+79 738
|
+16,6
|
521 332
|
|
3. Прибыль (убыток) от
продаж (1-2)
|
47 464
|
65 654
|
+18 190
|
+38,3
|
56 559
|
|
4. Прочие доходы и расходы,
кроме процентов к уплате
|
-6 094
|
3 239
|
+9 333
|
↑
|
-1 428
|
|
5. EBIT (прибыль до уплаты
процентов и налогов) (3+4)
|
41 370
|
68 893
|
+27 523
|
+66,5
|
55 132
|
|
6. Проценты к уплате
|
62
|
-
|
-62
|
-100
|
31
|
|
7. Изменение налоговых
активов и обязательств, налог на прибыль и прочее
|
-8 149
|
-15 143
|
-6 994
|
↓
|
-11 646
|
|
8. Чистая прибыль (убыток)
(5-6+7)
|
33 159
|
53 750
|
+20 591
|
+62,1
|
43 455
|
|
Справочно: Совокупный
финансовый результат периода
|
33 159
|
53 750
|
+20 591
|
+62,1
|
43 455
|
|
Изменение за период
нераспределенной прибыли (непокрытого убытка) по данным бухгалтерского
баланса (измен.стр. 1370)
|
27 775
|
25 099
|
х
|
х
|
х
|
Годовая выручка за последний год составила 626 855 тыс. руб., что на 97
928 тыс. руб., или на 18,5% выше значения за 2012 год.
Прибыль от продаж за 2013 год равнялась 65 654 тыс. руб. За два года
финансовый результат от продаж значительно вырос (на 18 190 тыс. руб.).
Изучая расходы по обычным видам деятельности, следует отметить, что
организация не использовала возможность учитывать общехозяйственные расходы в
качестве условно-постоянных, включая их ежемесячно в себестоимость производимой
продукции (выполняемых работ, оказываемых услуг). Поэтому показатель
«Управленческие расходы» за отчетный период в отсутствует.
Изменение выручки наглядно представлено ниже на рис.1.1.
Рис.2.1. Динамика выучки и чистой прибыли
Формальное исследование правильности отражения в Балансе и «Отчете о
финансовых результатах» за последний отчетный период отложенных налоговых
активов и обязательств подтвердила взаимоувязку показателей отчетности.
Оценивать динамику основных показателей деятельности фирмы необходимо,
сопоставляя темпы их изменения. Оптимальным является следующее соотношение:
Тбп > Топ > Та >100 %, где
Тбп - темп изменения балансовой прибыли;
Топ - темп изменения объёма продаж;
Та - темп изменения валюты баланса.
Данное соотношение означает, что:
прибыль возрастает более высокими темпами, чем объём продаж, что может
свидетельствовать о сокращении себестоимости;
объём продаж увеличивается быстрее, чем активы предприятия, что
доказывает эффективное использование ресурсов предприятия;
экономический потенциал предприятия возрастает по сравнению с
предшествующим периодом.
Такое соотношение в мировой практике получило название «золотое правило
экономики предприятия».
Выполнение «золотого правила экономики предприятия», в части соотношения
темпов роста объема реализации и прибыли, дает адекватную оценку динамики
развития исследуемых предприятий.
С большей интерпретацией обобщенное «золотое правило экономики
предприятия» для акционерных обществ выражено в формуле:
Такц > Тчп > Тп > Тврт > Тперс.>1 , где
Тк - темп роста рыночных цен акций; Тчп - темп роста чистой прибыли; Тп -
темп роста прибыли до налогообложения; Тврт - темп роста выручки от реализации
товаров; Т перс. - темп роста численности персонала. Неравенства имеют
очевидное объяснение. Так, неравенство Тврт >Тперс. следует из требования
роста производительности труда. Неравенство Тчп> Тп также объяснимо. Чистая
прибыль, в отличие от прибыли до налогообложения, полностью поступает в
распоряжение коллектива. Естественно предположить, что эффективно превосходство
роста чистой прибыли по сравнению с прибылью до налогообложения. Доминирование
темпа показателя Такц над темпами остальных характеристик означает, что
желательно увеличение курсовой стоимости принадлежащих предприятию акций. Сформулированное
правило выражает условие эталонной динамики развития организации и является
основой управления в интересах ее акционеров. Степень приближения реальной
динамики к эталонной будет характеризовать высокий уровень менеджмента
управленческих систем. [13, с 85-109]
Таблица 2.2 - Финансовые показатели деятельности фирмы и их динамика
|
Чистая прибыль, тыс. руб.
|
Темп роста, %
|
Выручка от реализации
товаров, тыс. руб.
|
Темп роста, %
|
Собственный капитал, тыс.
руб.
|
Темп роста, %
|
Сумма активов. тыс. руб.
|
Темп роста, %
|
|
2012 г
|
2013 г
|
|
2012г
|
2013г
|
|
2012г
|
2013г
|
|
2012г
|
2013г
|
|
|
33159
|
53750
|
162,1
|
528927
|
626855
|
118,5
|
117934
|
142148
|
120,53
|
328069
|
437916
|
133,48
|
Используем одну из представленных формул:
Тпр >Треал >Тсоб. кап. >Такт > 100 %,
где Тпр - темп роста чистой прибыли;
Треал - темп выручки от реализации товаров;
Тсоб. кап. - темп роста собственного капита¬ла;
Такт - темп роста активов.
На основе данных таблицы 1 получен результат: 162,1 > 118,5>
120,5>133,48> 100 %.
Выполненная оценка данных состояния по данному правилу показала, что
финансовое состояние дестабилизировано и отдалено от норматива.
Таблица 2.3 Структура имущества и источники его формирования
|
Показатель
|
Значение показателя
|
Изменение за анализируемый
период
|
|
в тыс. руб.
|
в % к валюте баланса
|
тыс. руб. (гр.4-гр.2)
|
± % ((гр.4-гр.2) : гр.2)
|
|
31.12.2011
|
31.12.2012
|
31.12.2013
|
на начало анализируемого
периода (31.12.2011)
|
на конец анализируемого
периода (31.12.2013)
|
|
|
|
1
|
2
|
3
|
4
|
5
|
6
|
7
|
8
|
|
Актив
|
|
1. Внеоборотные активы
|
61 382
|
70 128
|
104 360
|
22,4
|
23,8
|
+42 978
|
+70
|
|
в том числе: основные
средства
|
60 900
|
67 153
|
76 365
|
22,3
|
17,4
|
+15 465
|
+25,4
|
|
нематериальные активы
|
-
|
-
|
-
|
-
|
-
|
-
|
-
|
|
2. Оборотные, всего
|
212 197
|
257 941
|
333 556
|
77,6
|
76,2
|
+121 359
|
+57,2
|
|
в том числе: запасы
|
117 775
|
89 187
|
51 980
|
43
|
11,9
|
-65 795
|
-55,9
|
|
дебиторская задолженность
|
13 379
|
36 973
|
26 900
|
4,9
|
6,1
|
+13 521
|
+101,1
|
|
денежные средства и
краткосрочные финансовые вложения
|
81 043
|
131 779
|
254 676
|
29,6
|
58,2
|
+173 633
|
+3,1 раза
|
|
Пассив
|
|
1. Собственный капитал
|
90 159
|
117 934
|
142 148
|
33
|
32,5
|
+51 989
|
+57,7
|
|
2. Долгосрочные
обязательства, всего
|
14 240
|
11 337
|
5 368
|
5,2
|
1,2
|
-8 872
|
-62,3
|
|
в том числе: заемные
средства
|
601
|
-
|
-
|
0,2
|
-
|
-601
|
-100
|
|
3. Краткосрочные
обязательства*, всего
|
169 180
|
198 798
|
290 400
|
61,8
|
66,3
|
+121 220
|
+71,7
|
|
в том числе: заемные средства
|
6 500
|
-
|
-
|
2,4
|
-
|
-6 500
|
-100
|
|
Валюта баланса
|
273 579
|
328 069
|
437 916
|
100
|
100
|
+164 337
|
+60,1
|
Данные таблицы 2.3 позволяют сделать вывод, что общая величина активов за
рассматриваемый период увеличилась на 60,1 % (по сравнению с 2012 г.).
Увеличилась доля денежных средств и краткосрочных финансовых вложений на 310%
по сравнению с 2011 г и в 2013 г. они составили 58,2% от общей величины
активов.
Во внеоборотных активах значительная доля принадлежит основным средствам
(73,17 %). В оборотных активах преимущественную долю занимают после финансовых
вложений (58,2%) запасы (11,2%).
Далее проанализируем структуру пассивов предприятия.
Поскольку величина пассивов равна величине активов, то следует отметить,
что общий объем пассивов за 2013 г. также возрос на 109847 тыс. руб. (на
33,48%) по сравнению с 2012 г. В структуре пассивов большую долю занимают
краткосрочные обязательства, затем капитал и резервы. За данный период времени
можно проследить тенденцию значительного увеличения размера капитала и резервов
(на 20,53% по сравнению с 2012 г.), которые в 2013 г. составили 32,46% от общей
величины пассивов. Величина долгосрочных обязательств снизилась в 2013 г. по
сравнению с 2011 г. на 62,3%. Краткосрочные обязательства, наоборот,
увеличились на 121220 тыс. руб. (на 71,7%). В общем можно говорить о тенденции
увеличения величины заемного капитала и сохранения величины собственного.
Чтобы более наглядно можно было проследить динамику изменения величины
валюты баланса, построим следующую диаграмму (рис.2.2).
Из данной диаграммы видно, что величина активов и пассивов в 2013 г.
возросла на 225% по сравнению с 2010 г. и на 33,48% по сравнению с 2012 г.
Наблюдается равномерное увеличение валюты баланса с каждым годом.
Рис2.2. Динамика изменения величины валюты баланса за 2010-2013гг.Анализ
ликвидности и платежеспособности
Ликвидность баланса - это степень покрытия обязательств активами, срок
превращения которых в денежную форму соответствует сроку погашения
обязательств.
Существует несколько способов анализа ликвидности баланса.
. Построение уплотненного (агрегированного) баланса.
Для этого все активы группируются по степени их ликвидности (таблица
2.4).
Большую долю в структуре активов занимают высоколиквидные активы
(55,37%). Величина быстрореализуемых активов возросла за 2011-2013 примерно в 2
раза.
Таблица 2.4. Анализ соотношения активов по степени ликвидности и
обязательств по сроку погашения
|
Активы по степени
ликвидности
|
На конец отчетного периода,
тыс. руб.
|
Прирост за анализ. период,
%
|
Норм.соотношение
|
Пассивы по сроку погашения
|
На конец отчетного периода,
тыс. руб.
|
Прирост за анализ. период,
%
|
Излишек/ недостаток платеж.
Средств тыс. руб., (гр.2 - гр.6)
|
|
1
|
2
|
3
|
4
|
5
|
6
|
7
|
8
|
|
А1. Высоколиквидные активы
(ден. ср-ва + краткосрочные фин. вложения)
|
254 676
|
+3,1 раза
|
≥
|
П1. Наиболее срочные
обязательства (привлеченные средства) (текущ. кред. задолж.)
|
276 766
|
+81,7
|
-22 090
|
|
А2. Быстрореализуемые
активы (краткосрочная деб. задолженность)
|
26 900
|
+101,1
|
≥
|
П2. Среднесрочные
обязательства (краткосроч. обязательства кроме текущ. кредит.задолж.)
|
13 634
|
-19
|
+13 266
|
|
А3. Медленно реализуемые
активы (прочие оборот.активы)
|
51 980
|
-55,9
|
≥
|
П3. Долгосрочные
обязательства
|
5 368
|
-62,3
|
+46 612
|
|
А4. Труднореализуемые
активы (внеоборотные активы)
|
104 360
|
+70
|
≤
|
П4. Постоянные пассивы
(собственный капитал)
|
142 148
|
+57,7
|
-37 788
|
Из представленных в первой части таблицы данных видно, что по состоянию
на 31.12.2013 в активах организации доля внеоборотных средств составляет одну
четвертую, а текущих активов, соответственно, три четвертых. Активы организации
в течение анализируемого периода увеличились на 164 337 тыс. руб. (на 60,1%).
Учитывая значительный рост активов, необходимо отметить, что собственный
капитал увеличился в меньшей степени - на 57,7%. Отстающее увеличение
собственного капитала относительно общего изменения активов - фактор
негативный.
Наглядно соотношение основных групп активов организации представлено ниже
на рис.2.3.
Рис.2.3.
Рост величины активов организации связан, в первую очередь, с ростом
следующих позиций актива бухгалтерского баланса (в скобках указана доля
изменения статьи в общей сумме всех положительно изменившихся статей):
• краткосрочные финансовые вложения (за исключением денежных
эквивалентов) - 140 000 тыс. руб. (60,8%)
• денежные средства и денежные эквиваленты - 33 633 тыс. руб.
(14,6%)
• прочие внеоборотные активы - 24 626 тыс. руб. (10,7%)
• основные средства - 15 465 тыс. руб. (6,7%)
Одновременно, в пассиве баланса наибольший прирост наблюдается по
строкам:
• кредиторская задолженность - 124 421 тыс. руб. (68,9%)
• нераспределенная прибыль (непокрытый убыток) - 52 874 тыс. руб.
(29,3%)
Среди отрицательно изменившихся статей баланса можно выделить «запасы» в
активе и «отложенные налоговые обязательства» в пассиве (- 65 795 тыс. руб. и -
8 271 тыс. руб. соответственно).
По состоянию на 31.12.2013 значение собственного капитала составило 142
148,0 тыс. руб. Собственный капитал организации в течение анализируемого
периода вырос на 51 989,0 тыс. руб., или на 57,7%.
В структуре пассивов значительный удельный вес приходится на наиболее
срочные обязательства (63,2%), величина которых за данный период времени
увеличивается. Равномерно увеличиваются и постоянные пассивы. Высокий уровень
кредиторской задолженности связан с авансированием платежей за заказанную
продукцию. Сначала ОАО «НИИ Гириконду» перечисляется оплата по продукции и
только затем начинается производство. Как уже ранее было сказано, продукция
может изготавливаться до 9 месяцев, поэтому эти суммы и входят в краткосрочную
задолженность.
Далее необходимо провести соотношение между активами и пассивами баланса
предприятия. Баланс является абсолютно ликвидным, если выполняется следующее
условие: А1>П1, A2>П2, A3>П3, A4<П4. Рассмотрим данное соотношение
применимо к нашему предприятию (таблица 2.4).
Из четырех соотношений, характеризующих наличие ликвидных активов у
организации, выполняется три. Высоколиквидные активы не покрывают наиболее
срочные обязательства организации (разница составляет 22 090 тыс. руб.). В
соответствии с принципами оптимальной структуры активов по степени ликвидности,
краткосрочной дебиторской задолженности должно быть достаточно для покрытия
среднесрочных обязательств (краткосрочной задолженности за минусом текущей
кредиторской задолженности). В данном случае это соотношение выполняется
(быстрореализуемые активы превышают среднесрочные обязательства на 97,3%).
Общий показатель ликвидности баланса определяется по формуле
КОЛ = (А1 + 0,5А2 + 0,3А3) / (П1 + 0,5П2 + 0,3П3).
Значение данного коэффициента должно быть больше или равно 1.
Для данного предприятия этот показатель за 2013 г. равен 0,995
Исходя из полученных результатов, можно сказать, что баланс, несмотря на
нарушение неравенства первой группы активов и первой группы пассивов, можно
назвать ликвидным.
Таблица 2.5. Оценка стоимости чистых активов организации
|
Показатель
|
Значение показателя
|
Изменение
|
|
в тыс. руб.
|
в % к валюте баланса
|
тыс. руб. (гр.4-гр.2)
|
± % ((гр.4-гр.2) : гр.2)
|
|
31.12.2011
|
31.12.2012
|
31.12.2013
|
на начало анализируемого
периода (31.12.2011)
|
на конец анализируемого
периода (31.12.2013)
|
|
|
|
1
|
2
|
3
|
4
|
5
|
6
|
7
|
8
|
|
1. Чистые активы
|
117 934
|
142 148
|
33
|
32,5
|
+51 989
|
+57,7
|
|
2. Уставный капитал
|
518
|
518
|
518
|
0,2
|
0,1
|
-
|
-
|
|
3. Превышение чистых
активов над уставным капиталом (стр.1-стр.2)
|
89 641
|
117 416
|
141 630
|
32,8
|
32,3
|
+51 989
|
+58
|
Чистые активы организации на 31 декабря 2013 г. намного (в 274,4 раза)
превышают уставный капитал. Данное соотношение положительно характеризует
финансовое положение, полностью удовлетворяя требованиям нормативных актов к
величине чистых активов организации. Более того, определив текущее состояние
показателя, необходимо отметить увеличение чистых активов на 57,7% за
рассматриваемый период (с 31 декабря 2011 г. по 31 декабря 2013 г.). Превышение
чистых активов над уставным капиталом и в то же время их увеличение за период
говорит о хорошем финансовом положении организации по данному признаку.
Существует 3 способа анализа финансовой устойчивости.
. Использование простых соотношений.
Его суть состоит в том, что если собственный капитал больше половины
размера валюты баланса, то предприятие является финансово устойчивым.
Произведем данное соотношение (таблица 2.6).
Таблица 2.6. Соотношение между валютой баланса и собственным капиталом
|
2011 год
|
2012 год
|
2013
|
|
½
валюты баланса, тыс. руб.
|
136789,5
|
164034,5
|
218958
|
|
Величина собственного
капитал, тыс. руб.
|
90159
|
117934
|
142148
|
Данное соотношение помогает определить, что предприятие не является
финансово устойчивым за весь рассматриваемый период времени, за исключением
2012 г..
.Использование абсолютных показателей финансовой устойчивости.
Расчеты этих показателей оформлены в таблице 2.7.
Таблица 2.7. Абсолютные показатели финансовой устойчивости
|
Показатели
|
2011 год
|
2012 год
|
2013
|
Абсолютное отклонение 2013
г. по сравнению с 2011 г.
|
|
Наличие собственных
оборотных средств
|
28777
|
47806
|
37788
|
+9011
|
|
Наличие собственных и
долгосрочных заемных источников формирования запасов и затрат или
функционирующий капитал
|
43017
|
59143
|
43156
|
+139
|
|
Общая величина запасов и затрат
|
117775
|
89189
|
51980
|
-65795
|
|
5) Фс
|
-88998
|
-41383
|
-14192
|
+74806
|
|
6) Фк
|
-74758
|
-30046
|
-8824
|
+65934
|
|
7) Фви
|
-68258
|
-27935
|
|
+40323
|
Как видно из таблицы, величина собственных оборотных средств значительно
возросла (на 19029 тыс. руб. по сравнению с 2011 г.). Функциональный капитал
также возрос за данный период и в 2012 г. составил 59143 тыс. руб. Величина
запасов и затрат сократилась в 2012 г. на 28586 тыс. руб.. по сравнению с 2011
г.
В ходе расчетов выявился недостаток собственных оборотных средств для формирования
запасов и затрат, функционального капитала для формирования запасов и затрат,
общей величины источников для формирования запасов и затрат.
В итоге сформировалась трехмерная модель (0;0;0), которая свидетельствует
о кризисном состоянии предприятия в данных экономических условиях.
Таблица 2.8
|
Показатель
|
Значение показателя
|
Изменение показателя
(гр.4-гр.2)
|
Описание показателя и его
нормативное значение
|
|
31.12.2011
|
31.12.2012
|
31.12.2013
|
|
|
|
1
|
2
|
3
|
4
|
5
|
6
|
|
1. Коэффициент автономии
|
0,31
|
0,33
|
0,32
|
+0,01
|
Отношение собственного
капитала к общей сумме капитала. Нормальное значение для данной отрасли: 0,4
и более (оптимальное 0,5-0,7).
|
|
2. Коэффициент финансового
левериджа
|
2,03
|
1,78
|
2,08
|
+0,05
|
Отношение заемного капитала
к собственному. Нормальное значение для данной отрасли: 1,5 и менее
(оптимальное 0,43-1).
|
|
3. Коэффициент
обеспеченности собственными оборотными средствами
|
0,14
|
0,19
|
0,11
|
-0,03
|
Отношение собственных
оборотных средств к оборотным активам. Нормальное значение: 0,1 и более.
|
|
4. Индекс постоянного
актива
|
0,68
|
0,59
|
0,73
|
+0,05
|
Отношение стоимости
внеоборотных активов к величине собственного капитала организации.
|
|
5. Коэффициент покрытия
инвестиций
|
0,38
|
0,39
|
0,34
|
-0,05
|
Отношение собственного
капитала и долгосрочных обязательств к общей сумме капитала. Нормальное
значение: 0,7 и более.
|
|
6. Коэффициент
маневренности собственного капитала
|
0,32
|
0,40
|
0,27
|
-0,05
|
Отношение собственных
оборотных средств к источникам собственных средств. Нормальное значение для
данной отрасли: не менее 0,15.
|
|
7. Коэффициент мобильности
имущества
|
0,78
|
0,79
|
0,76
|
-0,02
|
Отношение оборотных средств
к стоимости всего имущества. Характеризует отраслевую специфику организации.
|
|
8. Коэффициент мобильности
оборотных средств
|
0,38
|
0,51
|
0,76
|
+0,38
|
Отношение наиболее
мобильной части оборотных средств (денежных средств и финансовых вложений) к
общей стоимости оборотных активов.
|
|
9. Коэффициент
обеспеченности запасов
|
0,24
|
0,54
|
0,73
|
+0,49
|
Отношение собственных
оборотных средств к стоимости запасов. Нормальное значение: 0,5 и более.
|
|
10. Коэффициент
краткосрочной задолженности
|
0,92
|
0,95
|
0,98
|
+0,06
|
Отношение краткосрочной
задолженности к общей сумме задолженности.
|
Коэффициент автономии организации по состоянию на 31.12.2013 составил
0,32. Полученное значение свидетельствует о ее значительной зависимости от
кредиторов по причине недостатка собственного капитала. За два последних года
наблюдалось незначительное уменьшение коэффициента автономии (на 0,01).
Наглядно структура капитала организации представлена ниже на рис.2.4.
Рис.2.4.
Коэффициент обеспеченности собственными оборотными средствами на
31.12.2013 составил 0,11. За весь рассматриваемый период коэффициент
обеспеченности собственными оборотными средствами ощутимо снизился (на 0,03).
Значение коэффициента на последний день анализируемого периода можно
характеризовать как положительное. В течение всего периода коэффициент
обеспеченности собственными оборотными средствами укладывался в нормативное
значение.
За весь рассматриваемый период коэффициент покрытия инвестиций снизился
на 0,05 и составил 0,34. Значение коэффициента на 31 декабря 2013 г.
значительно ниже нормативного значения (доля собственного капитала и
долгосрочных обязательств в общей сумме капитала организации составляет
33,68%).
Коэффициент обеспеченности материальных запасов на 31.12.2013 равнялся
0,73. Прирост коэффициента обеспеченности материальных запасов за весь
анализируемый период составил +0,49. Несмотря на то, что в начале
рассматриваемого периода значение коэффициента не соответствовало норме,
позднее оно приняло нормальное значение. На 31.12.2013 значение коэффициента
обеспеченности материальных запасов можно характеризовать как полностью
укладывающееся в норму.
По коэффициенту краткосрочной задолженности видно, что величина
краткосрочной кредиторской задолженности организации значительно превосходит
величину долгосрочной задолженности (98% и 02% соответственно). При этом за
анализируемый период (31.12.11-31.12.13) доля долгосрочной задолженности
уменьшилась на 6 %.
На следующем графике (рис.2.5.) наглядно представлена динамика основных
показателей финансовой устойчивости ОАО «НИИ Гириконд»:
Рис.2.5
Таблица 2.9 Анализ финансовой устойчивости по величине излишка
(недостатка) собственных оборотных средств
|
Показатель собственных
оборотных средств (СОС)
|
Значение показателя
|
Излишек (недостаток)*
|
|
на начало анализируемого
периода (31.12.2011)
|
на конец анализируемого
периода (31.12.2013)
|
на 31.12.2011
|
на 31.12.2012
|
на 31.12.2013
|
|
1
|
2
|
3
|
4
|
5
|
6
|
|
СОС1 (рассчитан без учета
долгосрочных и краткосрочных пассивов)
|
28 777
|
37 788
|
-88 998
|
-41 381
|
-14 192
|
|
СОС2(рассчитан с учетом
долгосрочных пассивов; фактически равен чистому оборотному капиталу,
NetWorkingCapital)
|
43 017
|
43 156
|
-74 758
|
-30 044
|
-8 824
|
|
СОС3 (рассчитанные с учетом
как долгосрочных пассивов, так и краткосрочной задолженности по кредитам и
займам)
|
49 517
|
43 156
|
-68 258
|
-30 044
|
-8 824
|
*Излишек (недостаток) СОС рассчитывается как разница между собственными
оборотными средствами и величиной запасов и затрат.
Поскольку на 31 декабря 2013 г. наблюдается недостаток собственных
оборотных средств, рассчитанных по всем трем вариантам, финансовое положение
организации по данному признаку можно характеризовать как неудовлетворительное.
Несмотря на неудовлетворительную финансовую устойчивость, следует отметить, что
все три показателя покрытия собственными оборотными средствами запасов за весь
рассматриваемый период улучшили свои значения.
Рис.2.6
Таблица 2.10. Расчет коэффициентов ликвидности
|
Показатель ликвидности
|
Значение показателя
|
Изменение показателя (гр.4
- гр.2)
|
Расчет, рекомендованное
значение
|
|
31.12.2011
|
31.12.2012
|
31.12.2013
|
|
|
|
1
|
2
|
3
|
4
|
5
|
6
|
|
1. Коэффициент текущей
(общей) ликвидности
|
1,25
|
1,29
|
1,15
|
-0,1
|
Отношение текущих активов к
краткосрочным обязательствам. Нормальное значение: не менее 2.
|
|
2. Коэффициент быстрой
(промежуточной) ликвидности
|
0,56
|
0,85
|
0,97
|
+0,41
|
Отношение ликвидных активов
к краткосрочным обязательствам. Нормальное значение: 1 и более.
|
|
3. Коэффициент абсолютной
ликвидности
|
0,48
|
0,66
|
0,88
|
+0,4
|
Отношение высоколиквидных
активов к краткосрочным обязательствам. Нормальное значение: 0,2 и более.
|
На 31 декабря 2013 г. при норме 2 коэффициент текущей (общей) ликвидности
имеет значение 1,15. Более того следует отметить отрицательную динамику
показателя - за весь рассматриваемый период коэффициент снизился на -0,1.
Значение коэффициента быстрой ликвидности (0,97) также оказалось ниже
допустимого. Это говорит о недостатке у организации ликвидных активов, которыми
можно погасить наиболее срочные обязательства. Коэффициент быстрой ликвидности
сохранял значение, не соответствующие нормальному, в течение всего
рассматриваемого периода.
Коэффициент абсолютной ликвидности имеет значение, соответствующее норме
(0,88). За два последних года коэффициент вырос на 0,4.
Рис.2.7
Таблица 2.11. Анализ рентабельности
|
Показатели рентабельности
|
Значения показателя (в %,
или в копейках с рубля)
|
Изменение показателя
|
|
2012 г.
|
2013 г.
|
коп., (гр.3 - гр.2)
|
± % ((3-2) : 2)
|
|
1
|
2
|
3
|
4
|
5
|
|
1. Рентабельность продаж
(величина прибыли от продаж в каждом рубле выручки). Нормальное значение для
данной отрасли: не менее 10%.
|
9
|
10,5
|
+1,5
|
+16,7
|
|
2. Рентабельность продаж по
EBIT (величина прибыли от продаж до уплаты процентов и налогов в каждом рубле
выручки).
|
7,8
|
11
|
+3,2
|
+40,5
|
|
3. Рентабельность продаж по
чистой прибыли (величина чистой прибыли в каждом рубле выручки).
|
6,3
|
8,6
|
+2,3
|
+36,8
|
|
Cправочно: Прибыль от
продаж на рубль, вложенный в производство и реализацию продукции (работ,
услуг)
|
9,9
|
11,7
|
+1,8
|
+18,7
|
|
Коэффициент покрытия
процентов к уплате (ICR), коэфф. Нормальное значение: 1,5 и более.
|
667,3
|
-
|
-667,3
|
-100
|
Представленные в таблице показатели рентабельности за 2013 год имеют
положительные значения как следствие прибыльной деятельности ОАО «НИИ Гириконд».
Прибыль от продаж в анализируемом периоде составляет 10,5% от полученной
выручки. К тому же имеет место рост рентабельности продаж по сравнению с данным
показателем за период с 01.01.2012 по 31.12.2012 (+16,7%).
Рентабельность, рассчитанная как отношение прибыли до налогообложения и
процентных расходов (EBIT) к выручке организации, за последний год составила
11%. Это значит, что в каждом рубле выручки ОАО «НИИ Гириконд» содержалось
11коп.прибыли до налогообложения и процентов к уплате.
Рис.2.8
В следующей таблице представлена рентабельность использования вложенного
в предпринимательскую деятельность капитала.
Таблица 2.12
|
Показатель рентабельности
|
Значение показателя, %
|
Изменение показателя (гр.3
- гр.2)
|
Расчет показателя
|
|
2012 г.
|
2013 г.
|
|
|
|
1
|
2
|
3
|
4
|
5
|
|
Рентабельность собственного
капитала (ROE)
|
31,9
|
41,3
|
+9,4
|
Отношение чистой прибыли к
средней величине собственного капитала. Нормальное значение для данной
отрасли: 15% и более.
|
|
Рентабельность активов
(ROA)
|
11,03
|
14,03
|
+3
|
Отношение чистой прибыли к
средней стоимости активов. Нормальное значение для данной отрасли: 6% и
более.
|
|
Прибыль на инвестированный
капитал (ROCE)
|
31,9
|
46,7
|
+14,8
|
Отношение прибыли до уплаты
процентов и налогов (EBIT) к собственному капиталу и долгосрочным
обязательствам.
|
|
Рентабельность
производственных фондов
|
28,3
|
46,1
|
+17,8
|
Отношение прибыли от продаж
к средней стоимости основных средств и материально-производственных запасов.
|
|
Справочно: Фондоотдача,
коэфф.
|
8,3
|
8,7
|
+0,4
|
Отношение выручки к средней
стоимости основных средств.
|
За последний год каждый рубль собственного капитала ОАО «НИИ Гириконд»
обеспечил 0,41 руб. чистой прибыли. Рентабельность собственного капитала за
анализируемый период (31.12.11-31.12.13) повысилась на 9,4%. За 2013 год значение
рентабельности собственного капитала можно характеризовать как вполне
соответствующее нормальному.
За последний год рентабельность активов составила 14,03%. За 2013 год в
сравнении с данными за 2012 год имело место существенное повышение рентабельности
активов (на 3%).
Ниже на графике представлено изменение основных показателей
рентабельности активов и капитала организации в течение анализируемого периода
(31.12.11-31.12.13).
Рис.2.9
В следующей таблице рассчитаны показатели оборачиваемости ряда активов,
характеризующие скорость возврата авансированных на осуществление
предпринимательской деятельности денежных средств, а также показатель
оборачиваемости кредиторской задолженности при расчетах с поставщиками и подрядчиками.
Таблица 2.13.
|
Показатель оборачиваемости
|
Значение в днях
|
Коэфф. 2012 г.
|
Коэфф. 2013 г.
|
Изменение, дн. (гр.3 -
гр.2)
|
|
2012 г.
|
2013 г.
|
|
|
|
|
1
|
2
|
3
|
4
|
5
|
6
|
|
Оборачиваемость оборотных
средств (отношение средней величины оборотных активов к среднедневной
выручке*; нормальное значение для данной отрасли: 301 и менее дн.)
|
162
|
172
|
2,1
|
2,3
|
+10
|
|
Оборачиваемость запасов
(отношение средней стоимости запасов к среднедневной выручке; нормальное
значение для данной отрасли: 153 и менее дн.)
|
78
|
46
|
4,7
|
-32
|
|
Оборачиваемость дебиторской
задолженности (отношение средней величины дебиторской задолженности к
среднедневной выручке; нормальное значение для данной отрасли: 96 и менее
дн.)
|
26
|
16
|
14,3
|
23,3
|
-10
|
|
Оборачиваемость
кредиторской задолженности (отношение средней величины кредиторской
задолженности к среднедневной выручке)
|
129
|
151
|
2,8
|
2,4
|
+22
|
|
Оборачиваемость активов
(отношение средней стоимости активов к среднедневной выручке)
|
227
|
255
|
1,6
|
1,4
|
+28
|
|
Оборачиваемость
собственного капитала (отношение средней величины собственного капитала к
среднедневной выручке)
|
72
|
76
|
5,1
|
4,8
|
+4
|
* Приведен расчет показателя в днях. Значение коэффициента равно
отношению 365 к значению показателя в днях.
Оборачиваемость активов в среднем за весь анализируемый период
показывает, что организация получает выручку, равную сумме всех имеющихся
активов за 216 календарных дней. Чтобы получить выручку равную среднегодовому
остатку материально-производственных запасов в среднем требуется 56 дней.
Факторный анализ рентабельности собственного капитала.
За 2013 год рентабельность собственного капитала равнялась 41,3%. В
течение анализируемого периода (с 31 декабря 2011 г. по 31 декабря 2013 г.)
рост рентабельности собственного капитала составил +9,4%. Рассмотрим, какие
факторы повлияли на изменение отдачи от собственного капитала. Проведем
факторный анализ по формуле Дюпона:
|
Рентабельность собственного
капитала
|
=
|
Чистая прибыль (ЧП)
|
=
|
ЧП
|
x
|
Выручка
|
x
|
Активы
|
|
|
Собственный капитал (СК)
|
|
Выручка
|
|
Активы
|
|
СК
|
В данной формуле рентабельность собственного капитала представлена в виде
произведения трех факторов: рентабельности продаж по чистой прибыли,
оборачиваемости активов и показателя, характеризующего долю собственного
капитала. В следующей таблице представлено влияние каждого из указанных факторов,
рассчитанное методом цепных подстановок.
Таблица 2.14
|
Фактор
|
Изменение рентабельности
собственного капитала, сравнение двух периодов: 2013 г. и 2012 г.
|
|
Увеличение рентабельности
продаж (по чистой прибыли)
|
+16,7
|
|
Снижение оборачиваемости
активов
|
-1,2
|
|
Снижение доли собственного
капитала
|
+3,48
|
|
Итого изменение
рентабельности собственного капитала, выраженной в %
|
+9,4
|
Ниже в качестве одного из показателей, отражающих эффективность
использования трудовых ресурсов, представлена производительность труда (отношение
выручки от реализации к средней численности персонала).
Рис.2.10
Производительность труда за 2013 год составила 1 050 тыс. руб./чел., при
том что за 2012 год производительность труда составляла 921 тыс. руб./чел.
(т.е. имел место рост на 129 тыс. руб./чел., или на 14%).
В следующей таблице рассчитаны показатели, рекомендованные в методике
Федерального управления по делам о несостоятельности (банкротстве)
(Распоряжение № 31-р от 12.08.1994).
Таблица 2.15
|
Показатель
|
Значение показателя
|
Изменение (гр.3-гр.2)
|
Нормативное значение
|
Соответствие фактического
значения нормативному на конец периода
|
|
на начало периода
(31.12.2012)
|
на конец периода
(31.12.2013)
|
|
|
|
|
1
|
2
|
3
|
4
|
5
|
6
|
|
1. Коэффициент текущей
ликвидности
|
1,38
|
1,21
|
-0,17
|
не менее 2
|
не соответствует
|
|
2. Коэффициент
обеспеченности собственными средствами
|
0,19
|
0,11
|
-0,08
|
не менее 0,1
|
соответствует
|
|
3. Коэффициент
восстановления платежеспособности
|
x
|
0,56
|
X
|
не менее 1
|
не соответствует
|
Анализ структуры баланса выполнен за период с начала 2013 года по
31.12.2013 г.
Поскольку один из первых двух коэффициентов (коэффициент текущей
ликвидности) на 31 декабря 2013 г. оказался меньше нормативно установленного
значения, в качестве третьего показателя рассчитан коэффициент восстановления
платежеспособности. Данный коэффициент служит для оценки перспективы
восстановления организацией нормальной структуры баланса (платежеспособности) в
течение полугода при сохранении имевшей место в анализируемом периоде динамики
первых двух коэффициентов. Значение коэффициента восстановления
платежеспособности (0,56) указывает на отсутствие в ближайшее время реальной
возможности восстановить нормальную платежеспособность. При этом необходимо
отметить, что данные показатели неудовлетворительной структуры баланса являются
достаточно строгими, поэтому выводы на их основе следует делать лишь в
совокупности с другими показателями финансового положения организации. Кроме
того, в расчете не учитывается отраслевая специфика.
Далее приведен анализ кредитоспособности ОАО НИИ ГИРИКОНД по методике
Сбербанка России (утв. Комитетом Сбербанка России по предоставлению кредитов и
инвестиций от 30 июня 2006 г. № 285-5-р).
Таблица 2.16
|
Показатель
|
Фактическое значение
|
Катего- рия
|
Вес показателя
|
Расчет суммы баллов
|
Справочно: категории
показателя
|
|
|
|
|
|
1 категория
|
2 категория
|
3 категория
|
|
Коэффициент абсолютной
ликвидности
|
0,88
|
2
|
0,05
|
0,1
|
0,1 и выше
|
0,05-0,1
|
менее 0,05
|
|
Коэффициент промежуточной
(быстрой) ликвидности
|
0,97
|
1
|
0,1
|
0,1
|
0,8 и выше
|
0,5-0,8
|
менее 0,5
|
|
Коэффициент текущей
ликвидности
|
1,15
|
2
|
0,4
|
0,8
|
1,5 и выше
|
1,0-1,5
|
менее 1,0
|
|
Коэффициент наличия
собственных средств (кроме торговых и лизинговых организаций)
|
0,32
|
2
|
0,2
|
0,4
|
0,4 и выше
|
0,25-0,4
|
менее 0,25
|
|
Рентабельность продукции
|
0,11
|
1
|
0,15
|
0,15
|
0,1 и выше
|
менее 0,1
|
нерентаб.
|
|
Рентабельность деятельности
предприятия
|
0,09
|
1
|
0,1
|
0,1
|
0,06 и выше
|
менее 0,06
|
нерентаб.
|
|
Итого
|
3,52
|
х
|
1
|
1,65
|
|
По методике Сбербанка все заемщики делятся в зависимости от полученной
суммы баллов на три класса:
• первоклассные - кредитование которых не вызывает сомнений (сумма
баллов до 1,25);
• второго класса - кредитование требует взвешенного подхода (свыше
1,25 но меньше 2,35);
• третьего класса - кредитование связано с повышенным риском (2,35
и выше).
В данном случае сумма баллов равна 1,65. Поэтому организация может
рассчитывать на получение банковского кредита.
В качестве одного из показателей вероятности банкротства организации ниже
рассчитан Z-счет Альтмана (для ОАО НИИ ГИРИКОНД взята 4-факторная модель для
частных непроизводственных компаний):
счет = 6,56T1 + 3,26T2 + 6,72T3 + 1,05T4 ,
Таблица 2.17
|
Коэф-т
|
Расчет
|
Значение на 31.12.2013
|
Множитель
|
Произведение (гр. 3 х гр.
4)
|
|
1
|
2
|
3
|
4
|
5
|
|
T1
|
Отношение оборотного
капитала к величине всех активов
|
0,1
|
6,56
|
0,65
|
|
T2
|
Отношение нераспределенной
прибыли к величине всех активов
|
0,31
|
3,26
|
1,01
|
|
T3
|
Отношение EBIT к величине
всех активов
|
0,16
|
6,72
|
1,06
|
|
T4
|
Отношение собственного
капитала к заемному
|
0,48
|
1,05
|
0,5
|
|
Z-счет Альтмана:
|
3,21
|
Предполагаемая вероятность банкротства в зависимости от значения Z-счета
Альтмана составляет:
• 1.1 и менее - высокая вероятность банкротства;
• от 1.1 до 2.6 - средняя вероятность банкротства;
• от 2.6 и выше - низкая вероятность банкротства.
По результатам расчетов для ОАО НИИ ГИРИКОНД значение Z-счета на последний
день анализируемого периода составило 3,21. Такое значение показателя
свидетельствует о незначительной вероятности банкротства ОАО НИИ ГИРИКОНД.
Таблица 2.18 Расчет рейтинговой оценки финансового состояния
|
Показатель
|
Вес показателя
|
Оценка
|
Средняя оценка (гр.3 х 0,25
+ гр.4 х 0,6 + гр.5 х 0,15)
|
Оценка с учетом веса (гр.2
х гр.6)
|
|
|
прошлое
|
настоящее
|
будущее
|
|
|
|
1
|
2
|
3
|
4
|
5
|
6
|
7
|
|
I. Показатели финансового
положения организации
|
|
Коэффициент автономии
|
0,25
|
-1
|
-1
|
-1
|
-1
|
-0,25
|
|
Соотношение чистых активов
и уставного капитала
|
0,1
|
+2
|
+2
|
+2
|
+2
|
+0,2
|
|
Коэффициент обеспеченности
собственными оборотными средствами
|
0,15
|
+2
|
+2
|
+1
|
+1,85
|
+0,278
|
|
Коэффициент текущей (общей)
ликвидности
|
0,15
|
-1
|
-1
|
-1
|
-1
|
-0,15
|
|
Коэффициент быстрой
(промежуточной) ликвидности
|
0,2
|
-2
|
-1
|
+1
|
-0,95
|
-0,19
|
|
Коэффициент абсолютной
ликвидности
|
0,15
|
+2
|
+2
|
+2
|
+2
|
+0,3
|
|
Итого
|
1
|
Итоговая оценка (итого гр.7
: гр.2):
|
+0,188
|
|
II. Показатели
эффективности (финансовые результаты) деятельности организации
|
|
Рентабельность собственного
капитала
|
0,3
|
+2
|
+2
|
+2
|
+2
|
+0,6
|
|
Рентабельность активов
|
0,2
|
+2
|
+2
|
+2
|
+2
|
+0,4
|
|
Рентабельность продаж
|
0,2
|
-1
|
+1
|
+1
|
+0,5
|
+0,1
|
|
Динамика выручки
|
0,1
|
+2
|
+2
|
+2
|
+2
|
+0,2
|
|
Оборачиваемость оборотных
средств
|
0,1
|
+2
|
+2
|
+2
|
+2
|
+0,2
|
|
Соотношение прибыли от
прочих операций и выручки от основной деятельности
|
0,1
|
+2
|
+2
|
+2
|
+2
|
+0,2
|
|
Итого
|
1
|
Итоговая оценка (итого гр.7
: гр.2):
|
+1,7
|
Итоговая рейтинговая оценка финансового состояния ОАО НИИ Гириконд:
(+0,188 x 0,6) + (+1,7 x 0,4) = +0,79 (BBB - положительное)
Можно сделать выводы по итогам проведенного анализа:
финансовое положение и результаты деятельности ОАО характеризуют такие
показатели: чистые активы превышают уставный капитал, при этом за весь
рассматриваемый период наблюдалось увеличение чистых активов; полностью
соответствует нормальному значению коэффициент абсолютной ликвидности; отличная
рентабельность активов (14,03% за последний год); положительная динамика
рентабельности продаж (+16,7 процентных пункта от рентабельности 9% за период
01.01-31.12.2012); за 2013 год получена прибыль от продаж (65 654 тыс. руб.),
более того наблюдалась положительная динамика по сравнению с предшествующим
годом (+18 190 тыс. руб.); чистая прибыль за 2013 год составила 53 750 тыс.
руб. (+20 591 тыс. руб. по сравнению с предшествующим годом); рост прибыли до
процентов к уплате и налогообложения (EBIT) на рубль выручки организации (+3,2
коп.к7,8 коп. с рубля выручки за 2012 год).
Оценка ключевых показателей;
С очень хорошей стороны финансовое положение и результаты деятельности
ОАО НИИ ГИРИКОНД характеризуют такие показатели:
• чистые активы превышают уставный капитал, при этом за весь
рассматриваемый период наблюдалось увеличение чистых активов;
• полностью соответствует нормальному значению коэффициент
абсолютной ликвидности;
• отличная рентабельность активов (14,03% за последний год);
• положительная динамика рентабельности продаж (+16,7 процентных
пункта от рентабельности 9% за период 01.01-31.12.2012);
• за 2013 год получена прибыль от продаж (65 654 тыс. руб.), более
того наблюдалась положительная динамика по сравнению с предшествующим годом
(+18 190 тыс. руб.);
• чистая прибыль за 2013 год составила 53 750 тыс. руб. (+20 591
тыс. руб. по сравнению с предшествующим годом);
• рост прибыли до процентов к уплате и налогообложения (EBIT) на
рубль выручки организации (+3,2 коп.к7,8 коп. с рубля выручки за 2012 год).
Положительно финансовое положение организации характеризует следующий
показатель - значение коэффициента обеспеченности собственными оборотными
средствами, равное 0,11, характеризуется как достаточно хорошее.
Показателем, имеющим значение на границе норматива, является следующий -
не в полной мере соблюдается нормальное соотношение активов по степени
ликвидности и обязательств по сроку погашения.
Следующие четыре показателя финансового положения ОАО НИИ ГИРИКОНД имеют
отрицательные значения:
• низкая величина собственного капитала относительно общей
величины активов (32%);
• коэффициент текущей (общей) ликвидности ниже нормального
значение;
• коэффициент быстрой (промежуточной) ликвидности ниже нормального
значение;
• отрицательная динамика собственного капитала относительно общего
изменения активов организации.
Показатели финансового положения ОАО НИИ ГИРИКОНД, имеющие критические
значения:
коэффициент покрытия инвестиций значительно ниже нормы (доля собственного
капитала и долгосрочных обязательств в общей сумме капитала организации
составляет 34% (нормальное значение: 70% и более);
• крайне неустойчивое финансовое положение по величине собственных
оборотных средств.
При переводе на рейтинговую систему финансовое положение ОАО НИИ Гириконд
оценено по балльной системе в +0,188, что соответствует рейтингу BB (нормальное
положение). Финансовые результаты деятельности организации в течение
анализируемого периода оценены в +1,7, что соответствует рейтингу AAA (отличные
результаты). Следует отметить, что итоговые оценки получены с учетом как
значений показателей на конец анализируемого периода, так и динамики
показателей, включая их прогнозные значения на последующий год. Итоговый балл
финансового состояния, сочетающий в себе анализ финансового положения и
результаты деятельности организации, равняется +0,79 - по шкале рейтинга это
положительное состояние (BBB).
Рейтинг «BBB» свидетельствует о положительном финансовом состоянии
организации, ее способности отвечать по своим обязательствам в краткосрочной
(исходя из принципа осмотрительности) перспективе. Имеющие данный рейтинг
организации относятся к категории заемщиков, для которых вероятность получения
кредитных ресурсов высока (хорошая кредитоспособность).
2.3 Оценка
инвестиционной привлекательности ОАО «НИИ Гириконд»
В исследовании применена методика комплексной сравнительной рейтинговой
оценки инвестиционной привлекательности компании и ее основных конкурентов.
Использование такой методики дает возможность ранжировать компании по рейтингу
их инвестиционной привлекательности, проанализировать уровень инвестиционной
привлекательности ОАО «НИИ Гириконд» с аналогичным показателем его конкурентов.
Предприятия ранжируются в порядке возрастания рейтинговой оценки.
Наивысший рейтинг имеет предприятие с максимальным значением сравнительной
оценки. В таблице 2.19 представим расчетные показатели за 31.12.2011-31.12.2012
гг. ОАО «НИИ Гириконд», во второй таблице - ОАО «Реконд», в третьей- ОАО
«Электрон».
Таблица 2.19. Показатели инвестиционной привлекательности ОАО «НИИ
Гириконд»
|
Показатель
|
Значение 2011 г.
|
Оценка 2011 г.
|
Значение 2012 г.
|
Оценка 2012 г.
|
Абсолютное отклонение
|
Относительное отклонение, %
|
|
Рентабельность продаж, %
|
7,5
|
Удовлетворительно
|
9
|
+1,5
|
+19,6
|
|
Рентабельность активов, %
|
4,18
|
В районе предельно
допустимого значения
|
11,03
|
Удовлетворительно
|
+6,85
|
+147,3
|
|
Рентабельность собственного
капитала
|
11,16
|
В районе предельно
допустимого значения
|
31,9
|
Удовлетворительно
|
+20,74
|
+151,97
|
|
Рентабельность оборотных средств,
%
|
4,79
|
В районе предельно
допустимого значения
|
12,86
|
Удовлетворительно
|
+8,07
|
+161,66
|
|
Текущая ликвидность
|
1,25
|
Удовлетворительно
|
1,29
|
Удовлетворительно
|
+0,04
|
+1,61
|
|
Срочная ликвидность
|
0,56
|
Неудовлетворительно
|
0,85
|
Удовлетворительно
|
+0,29
|
+41,81
|
|
Абсолютная ликвидность
|
0,48
|
Хорошо
|
0,66
|
Хорошо
|
+0,18
|
+31,91
|
|
Коэффициент обеспеченности
собственными средствами, %
|
13
|
Удовлетворительно
|
19
|
Удовлетворительно
|
+6
|
+30,76
|
|
Коэффициент автономии, %
|
31,45
|
Удовлетворительно
|
33,29
|
Удовлетворительно
|
+1,84
|
+5,85
|
Таблица 2.20. Показатели инвестиционной привлекательности ОАО «Реконд»
|
Показатель
|
Значение 2011 г.
|
Оценка 2011 г.
|
Значение 2012 г.
|
Оценка 2012 г.
|
Абсол отклон
|
Относител, %
|
|
Рентабельность продаж, %
|
0,62
|
В районе предельно
допустимого значения
|
0,57
|
В районе предельно
допустимого значения
|
-0,05
|
-8,06
|
|
Рентабельность активов, %
|
5,62
|
Удовлетворительно
|
5,79
|
Удовлетворительно
|
+0,17
|
+3,02
|
|
Рентабельность собственного
капитала
|
10,89
|
В районе предельно
допустимого значения
|
11,01
|
В районе предельно
допустимого значения
|
+0,12
|
+1,1
|
|
Рентабельность оборотных
средств, %
|
6,15
|
В районе предельно
допустимого значения
|
6,77
|
В районе предельно
допустимого значения
|
+0,62
|
+10,08
|
|
Текущая ликвидность
|
1,88
|
Хорошо
|
1,5
|
Хорошо
|
-0,38
|
-20,21
|
|
Срочная ликвидность
|
0,77
|
В районе предельно допустимого
значения
|
0,7
|
В районе предельно
допустимого значения
|
-0,07
|
-9,09
|
|
Абсолютная ликвидность
|
0,36
|
Хорошо
|
0,31
|
Хорошо
|
-0,05
|
-13,89
|
|
Коэффициент обеспеченности
собственными средствами, %
|
22,11
|
Хорошо
|
12,5
|
Удовлетворительно
|
-9,61
|
-43,46
|
|
Коэффициент автономии, %
|
51,57
|
Хорошо
|
47
|
Удовлетворительно
|
-4,57
|
-8,86
|
Таблица 2.21 Показатели инвестиционной привлекательности ОАО «Электрон»
|
Показатель
|
Значение 2011 г.
|
Оценка 2011 г.
|
Значение 2012 г.
|
Оценка 2012 г.
|
Абсолют
|
Относит, %
|
|
Рентабельность продаж, %
|
7,55
|
Удовлетворительно
|
6,5
|
Удовлетворительно
|
-1,05
|
-13,91
|
|
Рентабельность активов, %
|
1,19
|
В районе предельно
допустимого значения
|
2,27
|
В районе предельно
допустимого значения
|
+1,08
|
+90,75
|
|
Рентабельность собственного
капитала
|
1,9
|
В районе предельно допустимого
значения
|
3,6
|
В районе предельно
допустимого значения
|
+1,7
|
+89,47
|
|
Рентабельность оборотных
средств, %
|
2,79
|
В районе предельно
допустимого значения
|
4,97
|
В районе предельно
допустимого значения
|
+2,18
|
+78,14
|
|
Текущая ликвидность
|
1,02
|
В районе предельно
допустимого значения
|
2,31
|
Хорошо
|
1,29
|
+126,47
|
|
Срочная ликвидность
|
0,48
|
Крайне неудовлетворительно
|
1,7
|
Хорошо
|
1,22
|
+254,17
|
|
Абсолютная ликвидность
|
0,38
|
Хорошо
|
0,96
|
Хорошо
|
+0,58
|
+152,63
|
|
Коэффициент обеспеченности
собственными средствами, %
|
-4,41
|
Крайне неудовлетворительно
|
4,75
|
В районе предельно
допустимого значения
|
+9,16
|
+370
|
|
Коэффициент автономии, %
|
52,75
|
Хорошо
|
56,31
|
Хорошо
|
+3,56
|
+6,74
|
Из полученных стандартизируемых показателей произведем расчет
сравнительной рейтинговой оценки уровня инвестиционной привлекательности
исследуемых предприятий.
Таблица 2.22. Система рейтинговых значений исследуемых компаний.
|
Место
|
Организация
|
Рейтинговая оценка
|
|
1-е
|
ОАО «Электрон»
|
316,17
|
|
2-е
|
ОАО «Гириконд»
|
298,27
|
|
3-е
|
ОАО «Реконд»
|
268,16
|
Таблица 2.23
|
Обозначение
|
Показатели
|
2011 г.
|
2012 г
|
2013 г .
|
|
Х11
|
Рентабельность основных
средств
|
13,3
|
49,38
|
88,26
|
|
Х21
|
Рентабельность материальных
оборотных средств
|
5,19
|
14,11
|
18,17
|
|
Х31
|
Коэффициент оборачиваемости
производственных запасов
|
3,26
|
4,7
|
7,9
|
|
Х41
|
Коэффициент оборачиваемости
собственного капитала.
|
3,88
|
5,1
|
4,8
|
|
Х12
|
Коэффициент текущей
ликвидности
|
1,25
|
1,29
|
1,15
|
|
Х22
|
Коэффициент финансовой
независимости
|
0,33
|
0,36
|
0,32
|
|
Х32
|
Коэффициент заемного
капитала
|
0,67
|
0,64
|
0,68
|
|
Х42
|
Степень обеспечения запасов
и затрат собственными оборотными средствами
|
0,24
|
0,54
|
0,73
|
|
Х52
|
Коэффициент оборачиваемости
дебиторской задолженности
|
25,14
|
21,01
|
20,26
|
|
Х62
|
Коэффициент оборачиваемости
кредиторской задолженности
|
2,41
|
1,42
|
2,42
|
|
Х13
|
Доля квалифицированных
кадров
|
59
|
65
|
66
|
|
Х23
|
Производительность труда
|
879.
|
921
|
1050
|
|
Х14
|
Рентабельность инвестиций
|
14,13
|
31,95
|
46,7
|
|
Х24
|
Доля собственных инвестиций
|
45,87
|
46,24
|
51,72
|
|
Х34
|
Темп роста инвестиций
|
35,77
|
40,13
|
42,28
|
|
Х15
|
Рентабельность собственного
капитала
|
11,16
|
31,9
|
41,3
|
|
Х25
|
Рентабельность активов
|
4,18
|
11,03
|
14,03
|
|
Х35
|
Рентабельность оборотных
активов
|
4,79
|
12,86
|
16,11
|
|
Х45
|
Рентабельность продукции
|
8,15
|
9,86
|
11,69
|
|
Х55
|
Рентабельность производства
|
108,16
|
109,85
|
111,69
|
|
Х65
|
Рентабельность продаж
|
3,01
|
9
|
10,5
|
у1 = 0,377X11 + 0,370X21 + 0,487X31 + 0,695X41 (1)
у2 = 0,756X12 + 0,376X22 + 0,203X32 + 0,322X42 + 0,277X52 + 0,256X62 (2)=
0,999X13 + 0,043X23 (3)= 0,041X14 + 0,330X24 + 0,943X34 (4)= 0,347X15 +
0,342X25 + 0,342X35 + 0,357X45 + 0,341X55 + 0,634X65 (5)
Таблица 2.24
|
Функция
|
Значение
|
|
2011
|
2012
|
2013
|
|
Y1
|
11,21862
|
29,67035
|
47,18022
|
|
Y2
|
8,86311
|
7,59769
|
7,59536
|
|
Y3
|
96,738
|
104,538
|
111,084
|
|
Y4
|
49,44754
|
54,41174
|
58,85234
|
|
Y5
|
65,92455
|
73,5556
|
|
Сумма
|
214,908
|
262,1423
|
298,2675
|
Расчёты показывают, что интегральный показатель инвестиционной
привлекательности возрос с 214,08 в 2011 г. до 262,1423 в 2012 г. и до 298,2675
в 2013 г.
Вывод по итогам анализа инвестиционной привлекательности: проведённые
расчёты свидетельствуют о достаточно высоком уровне инвестиционной
привлекательности ОАО «НИИ Гириконд» по сравнению с его одним из основных
конкурентов - ОАО «Реконд». Но в то же время полученное значение уровня
инвестиционной привлекательности исследуемого предприятия на 17,9 меньше
лидирующего предприятия - ОАО «Электрон».
3.
Направления по повышению инвестиционной привлекательности организации
.1 Разработка
мероприятий по повышению инвестиционной привлекательности ОАО «НИИ Гириконд»
ОАО «Гириконд» должно постоянно соответствовать уровню
научно-технического прогресса в отрасли, но инновации достаточно быстро
обновляются, и внедренная технология сегодня через какое-то время уже не будет
отвечать новым требованиям рынка. Стремление к постоянной модернизации и
внедрению инноваций в технологический процесс приводит к замещению еще вполне
жизнеспособного имеющегося оборудования на обновленное, увеличивая затраты
предприятия на техническое перевооружение при наличии возможно морально
устаревшего, но еще не отработавшего свой ресурс оборудования, тем самым рынок
вынуждает предприятия находиться в зависимости от уровня инновационных
достижений, постоянно балансировать между снижением затрат и выпуском
современной продукции.
С одной стороны, все это придает особую актуальность сокращению
себестоимости, минимизации расходов ОАО «Гириконд», а с другой стороны -
технологическому перевооружению, стратегическому управлению инвестиционной
привлекательностью ОАО «Гириконд», которые требуют дополнительного
финансирования.
Для того, чтобы ОАО «Гириконд» могло привлекать внешних инвесторов для
финансирования собственных проектов, необходимо осуществлять соответствующий
комплекс мероприятий по повышению инвестиционной привлекательности предприятия.
Для повышения инвестиционной привлекательности ОАО «Гириконд» необходимо
постоянно совершенствоваться, обновлять применяемые технологии, модернизировать
оборудование, внедрять новые виды продукции. Для этих целей необходимы
дополнительные инвестиции, которые дают возможность повысить
конкурентоспособность промышленного предприятия. Одной из ключевых задач
привлечения инвестиций является повышение эффективности деятельности
организации, то есть результатом реализации любого инвестиционного проекта
должно быть увеличение стоимости предприятия и других показателей его
деятельности.
Для осуществления инвестиционных проектов можно выделить следующие виды
внешнего финансирования: вложения в акционерный капитал предприятия,
предоставление заемных ресурсов.
Прямое инвестирование в виде вложений в акционерный капитал предприятия
можно подразделить на следующие направления:
финансовое инвестирование;
стратегическое инвестирование.
Финансовое инвестирование в акционерный капитал предприятия
рассматривается как покупка сторонним инвестором пакета акций предприятия в
обмен на инвестиции с обратной продажей собственникам этих акций через какое-то
время (срок предоставления инвестиций), как правило, в таком случае может
приобретаться блокирующий пакет акций, но не контрольный, либо как свободная
реализация акций предприятия участникам рынка ценных бумаг - в этом случае
может осуществляться как дополнительный выпуск акций, так и реализация части
имеющегося пакета. Основной целью финансового инвестора является получение
дохода от вложенных средств, а также дополнительного дохода от реализации своих
акций через определенное время при выходе из состава акционеров.
Привлечение финансовых инвесторов используется для развития промышленного
предприятия: обновления производства, выпуска новой продукции, покупки
оборудования, увеличения объемов реализации, сокращения себестоимости
продукции, повышения результатов деятельности предприятия. Результатом таких
вложений должен быть рост активов предприятия, и как следствие - увеличение
стоимости акций промышленного предприятия (дополнительный доход инвестора от
вложений в акции).
Стратегическое инвестирование заключается в приобретении ключевым
инвестором значительного количества акций промышленного предприятия, как
правило, контрольного пакета. Целью стратегического инвестора является либо
полное приобретение предприятия и контроль за его деятельностью, либо
дальнейшее объединение предприятия с другими бизнес-проектами инвестора. В
основном при стратегическом инвестировании представители инвестора присутствуют
при принятии существенных, а иногда и всех решений.
Стратегическими инвесторами могут выступать потенциальные инвесторы,
имеющие стратегический интерес к данному предприятию, лидирующие предприятия в
данной отрасли (с целью укрупнения своих позиций), холдинги, а также
государственные органы (например, с целью национализации значимых для
государства предприятий). Стратегическое инвестирование, как правило,
осуществляется с целью завоевания более существенных позиций в данной отрасли,
объединения различных частей одного производственного цикла и т. д., т. е.
наряду с получением дохода от вложений, как при финансовом инвестировании,
решаются задачи производственного и организационного характера.
Другой формой инвестирования является предоставление заемных ресурсов
предприятию. В этом случае основными инструментами могут выступать: займы и
кредиты, облигационные займы. Заемные средства предоставляются на условиях
платности, срочности и возвратности. То есть инвестор ожидает получения
процентного дохода от вложенных средств, при этом в процентную ставку
закладывается величина инвестиционного риска.
Можно выделить две основные категории инвесторов:
инвесторы, которые заинтересованы в получении процентных доходов либо
курсовой разницы на рынке ценных бумаг, не участвуют в управлении деятельностью
компании;
инвесторы, которые получают доход от повышения курса акций, роста
стоимости бизнеса, как правило, непосредственно участвуют в развитии
предприятия.
Инвестиционная привлекательность предприятия инвесторами рассматривается
с точки зрения дохода, который они могут получить при вложении капитала в
краткосрочной или долгосрочной перспективе. Стоимость таких вложений
определяется инвестиционным риском в каждом конкретном случае.
Основным критерием при принятии решения инвестором выступает либо
способность предприятия исполнять договорные обязательства по займу, либо
эффективно вкладывать привлеченные средства с целью увеличения стоимости акций
и бизнеса в целом.
Диагностика предприятия проводится по следующим направлениям:
производственная, финансовая, инвестиционная, коммерческая,
организационно-управленческая деятельность промышленного предприятия.
По каждому направлению определяются участки, которые требуют
дополнительного вмешательства, выявляются слабые стороны и риски,
разрабатывается комплекс мероприятий по каждому направлению, которые позволят
повысить эффективность деятельности и инвестиционную привлекательность
промышленного предприятия.
Особое внимание стоит обратить на юридический аудит деятельности
предприятия, т. к. одним из критериев инвестиционной привлекательности
предприятия является юридическая чистота сделки и сохранность вложений
инвестора. В частности, необходимо провести анализ существующих прав
собственности на имущество предприятия, полномочий собственников и органов
управления, соответствия документации предприятия всем законодательным
требованиям, наличие необходимых лицензий и т. д. Финансового инвестора
интересуют правильно оформленные права собственности на имущество предприятия.
Стратегическим инвесторам важно определить права собственников, правомочность
деятельности организации для минимизации рисков, связанных с инвестированием
своих средств.
Как для стратегических, так и для финансовых инвесторов большое значение
имеет платежная дисциплина и кредитная история предприятия, которые показывают,
как предприятие выполняло ранее свои обязательства перед поставщиками,
сотрудниками, кредиторами и т. д. Для создания положительной истории возможно
привлечение дополнительного заимствования ресурсов и погашения за короткий
срок. Наличие положительной кредитной истории дает дополнительные преимущества
при выборе инвестором предприятия в качестве объекта инвестирования, а также
позволяет привлекать инвестиции на более выгодных условиях (низкая процентная
ставка, лояльное отношение при оценке деятельности и обеспечения, отсутствие
дополнительных комиссий и условий, сокращающих риск инвестора).
По итогам проведенной диагностики текущей деятельности ОАО «Гириконд»
определена дальнейшая стратегия развития и составляется комплекс мероприятий,
которые направлены на повышение инвестиционной привлекательности предприятия.
Эти мероприятия должны затрагивать все направления деятельности -
финансирование, производство, реализацию и др.
Стратегия представляет собой концепцию развития предприятия с описанием
основных целей, приоритетных качественных и количественных показателей.
Отдельные проекты и направления деятельности предприятия должны соответствовать
единой концепции развития предприятия. Определение долгосрочных прогнозов
развития предприятия более интересно стратегическим инвесторам, но не менее
важно и для кредиторов, которые должны понимать источники возврата
предоставленных средств в будущем. Стратегия развития и диагностика дают
возможность оценить не только текущую ситуацию на предприятии, но и показать
его инвестиционную привлекательность в перспективе.
Инвестирование инновационной деятельности ОАО «НИИ Гириконд» является
важным фактором успешного развития организации, так как позволяет
материализовать передовые идеи и замыслы ученых, менеджеров и потребителей по
созданию продуктовых инноваций.
Инвестиционная деятельность - это главный аспект функционирования любой
коммерческой организации, так как развитие фирмы связано с вложением ресурсов в
различные виды активов, приобретение которых необходимо для осуществления
производства продукции и услуг этой фирмой.
В качестве инструмента повышения инвестиционной привлекательности ОАО
«НИИ Гириконд» должен выступать инвестиционный проект, который представляет
собой процесс осуществления комплекса взаимосвязанных действий по освоению
продуктовых инноваций,
направленных на достижение определенных финансово-экономических,
научно-технических, социальных и других результатов.
Экономический механизм управления инвестиционной привлекательностью ОАО
«НИИ Гириконд» представляет собой совокупность мер и действий, направленных на
реализацию организационной, производственно-хозяйственной и
финансово-экономической деятельности в области привлечения и использования
инвестиционных ресурсов.
Рис. 3.1. Механизм управления инвестиционной привлекательностью ОАО «НИИ
Гириконд»
Перманентность процесса управления инвестиционной привлекательностью
наукоемких предприятий заключается в том, что производство новой продукции
происходит на фоне осуществления оперативной и стратегической деятельности
предприятия. Поэтому перед тем, как основные направления развития внешней
позиции ОАО «НИИ Гириконд» и его внутренних возможностей превратятся в
реальность, выраженную в терминах прибыли и роста, должны быть разработаны,
спланированы и выполнены определенные проекты. Более того, стратегические
действия необходимо скоординировать с оперативной деятельностью. Таким образом,
стратегический план - исходная точка для трех связанных с ним планов, которые
переводят стратегические замыслы менеджмента ОАО «НИИ Гириконд» в конкретные
планы их внедрения.
Семейство этих планов изображено на рис. 2.
Рис.3.2. Семейство планов ОАО «НИИ Гириконд»
Планы развития возможностей и бизнеса включают в себя проекты (и
вспомогательные бюджеты), реализация которых может изменить внутреннюю
конфигурацию предприятия, его позиции во внешней среде, повысить инвестиционную
привлекательность.
Разработка, отбор и оценка проектов - главные этапы процесса управления
инвестиционной привлекательностью наукоемких предприятий. На основе всесторонней
проработки каждого из рассматриваемых инвестиционных проектов осуществляется их
окончательный отбор в формируемую инвестиционную программу инновационной
продукции. Процесс формирования инвестиционной программы ОАО «НИИ Гириконд» на
рис. 3.3
Рис. 3.3 Процесс формирования инвестиционной программы ОАО «НИИ Гириконд»
Анализ наиболее существенных факторов, оказывающих влияние на принятие
решений по финансированию инновационной деятельности, позволяет сформулировать
основное требование к отбору проектов - это обеспечение требуемого уровня
ликвидности на всех временных интервалах реализации инвестиционной программы
ОАО «НИИ Гириконд». В предлагаемой постановке задачи разработка инвестиционной
программы производится путем формирования инвестиционных программ в каждом из
временных интервалов, на которые разделена временная структура баланса
предприятия.
Очевидно, что менеджменту наукоемких предприятий, прежде чем начать
распределение инвестиционных средств по критериям доходности и риска,
необходимо распределить неразмещенные свободные ресурсы с целью формирования
инвестиционной программы исходя из ликвидности уже существующей временной
структуры активов-пассивов. Поэтому предложенный формальный аппарат поддержки
принятия решений по финансированию инновационной деятельности наукоемких
предприятий позволяет учесть критерий ликвидности и тем самым повысить качество
и эффективность принимаемых управленческих решений.
Поскольку инвестиционная привлекательность предприятия - это интегральная
характеристика отдельных предприятий как объектов предстоящего инвестирования с
позиций перспективности развития, то для ее оценки могут быть использованы
различные финансовые коэффициенты. Обычно их состав определяется исходя из
целей и глубины анализа. Главное назначение процедуры оценки инвестиционной
привлекательности состоит в создании информационной базы данных с целью
обеспечения разработки инвестиционной политики наукоемкого производства. Данная
процедура также выступает инструментом для выработки управленческих решений,
направленных на улучшение работы предприятия, и используется для оценки
профессионального мастерства и деловых качеств менеджмента компании.
Таблица 3.1.
Расчёт комплексного показателя оценки инвестиционной привлекательности
проектов ОАО «НИИ Гириконд»
|
Фактор инвестиционной
привлекательности
|
Относительная значимость
параметра
|
Проект
|
|
|
1
|
2
|
3
|
|
Узнаваемость бренда
|
0,03
|
1,00
|
1,00
|
1,00
|
|
Показатель финансовой
устойчивости предприятия
|
0,22
|
0,72
|
1,27
|
1,00
|
|
Показатель ресурсного
обеспечения
|
0,06
|
0,75
|
0,08
|
0,07
|
|
Степень диверсификации
продукции
|
0,02
|
0,20
|
0,10
|
0,40
|
|
Показатель освоения
продуктовых инноваций
|
0,04
|
0,15
|
0,10
|
0,20
|
|
Доля собственных средств в
общей стоимости проекта
|
0,10
|
0
|
0,38
|
0,07
|
|
Приведенная экономическая
эффективность проекта
|
0,33
|
0,60
|
0,90
|
0,80
|
|
Патенты, лицензии, ноу-хау
|
0,03
|
0,85
|
0
|
2,14
|
|
Коэффициент прироста
рабочих мест
|
0,07
|
0,14
|
0,14
|
2,70
|
|
Конкурентоспособность
продукции
|
0,10
|
0,75
|
1,20
|
1,20
|
|
Значение показателя
|
1,00
|
0,55
|
0,79
|
0,91
|
Анализ данных табл. 3.1 позволяет сделать вывод о том, что из трех
исследуемых проектов последний обладает большей инвестиционной
привлекательностью по отношению к конкурентам.
Ключевым моментом практической реализации инновационных проектов для их
инициаторов является определение источников финансирования. Наукоемкие
предприятия, которые создают продукцию оборонного характера, имеют достаточный
опыт работы в рамках федеральных и региональных целевых инвестиционных
программ, которые финансируются из бюджетов разного уровня. Поэтому имеет смысл
остановиться на исследовании альтернативных источников привлечения денежных
ресурсов.
Для реализации инвестиционного проекта требуется определенная сумма
средств. В рамках планируемого объема финансовых средств, выделяемых на эти
цели, определяются конкретные схемы финансирования. Схем финансирования
проектов, предлагаемых на сегодняшний день рынком, всего две: долговое и
акционерное финансирование, представленное современными финансовыми институтами
в одной из следующих форм:
инвестиционного кредитования;
проектного финансирования;
венчурного финансирования.
Возможность и целесообразность применения той или иной формы
финансирования определяется прежде всего параметрами самого инвестиционного
проекта и потенциала компании (возможность принятия регресса финансовых
обязательств на результаты текущей финансово-хозяйственной деятельности или
проектной деятельности предприятия). Матрица для определения схем
финансирования проектов (табл. 3.2), позволяет инициаторам инвестиционных
проектов определить оптимальные пути их реализации.
Таблица 3.2.
Матрица для определения схем финансирования проектов
|
Параметры сопоставления
|
Инвестиционное кредитование
|
Проектное финансирование
|
Венчурное финансирование
|
|
Вид финансирования
|
Долговое финансирование
|
Долговое финансирование
|
Акционерное финансирование
|
|
Форма финансирования
|
Предоставление стандартного
кредита без отсрочки по платежам
|
Предоставление кредита с
отсрочкой по выплатам, участие в лизинговых сделках, долевое участие в
акционерном капитале
|
Долевое участие в
акционерном капитале предприятия
|
|
Область инновационного
проекта
|
Модернизация, расширение
производства на базе существующего предприятия
|
Инновационные проекты,
реализуемые на базе новых предприятий, но при этом с распространенной
технологией
|
Инновационные проекты,
отличающиеся технологической пилотностью (проекты класса «hi-tech»)
|
|
Объект финансирования
|
Закупка нового
оборудования, расширение производства, оборотный капитал
|
Вложение во все
составляющие проекта за исключением НИОКР
|
Все стадии проекта, в том
числе и НИОКР
|
|
Форма оценки проекта
|
Стандартные схемы оценки
|
Индивидуальный подход при
выборе условий финансирования; оценка проекта по стандартной методике, но с
индивидуальными выводами
|
Индивидуальная оценка
компании инициатора проекта, его перспектив и условий участия
|
|
Вид вознаграждения за
финансовое участие
|
% по кредиту
|
Более высокий % по кредиту,
оплата услуг по экспертизе проекта
|
Часть добавленной стоимости
компании, сформированной в результате инновационной деятельности
|
|
Основной источник покрытия финансовой
задолженности
|
Результаты текущей
финансово-экономической деятельности инициатора проекта
|
Результаты реализации
инновационного проекта
|
Результаты текущей
деятельности и добавленная стоимость компании
|
|
Критические факторы оценки,
обеспечивающие возврат вложенных средств
|
Параметры
финансово-хозяйственной деятельности компании, наличие положительной
кредитной истории
|
Параметры и финансовые
результаты инновационного проекта
|
Совокупность параметров
текущей и проектной деятельности
|
|
Требования к контролю
результатов реализации проекта
|
Анализ текущей
финансово-хозяйственной деятельности компании
|
Жесткий внешний контроль,
связанный с предоставлением регулярной отчетности в рамках утвержденных
показателей
|
Контроль посредством
участия в деятельности компании, наложение вето на принятие определенных
решений
|
|
Срок пользования
инвестиционным капиталом
|
2-3 года
|
5-6 лет
|
Длительный
|
|
Доля собственных средств
инициатора инвестиционного проекта
|
15%
|
30%
|
Степень участия
предопределяет доля в акционерном капитале
|
|
Размер предоставляемого
объема финансирования
|
Ограничен размером риска на
одного клиента (суммарный объем кредитов не превышает 25% от годового
валового дохода предприятия)
|
Определяется индивидуально,
а также лимитом риска банка на одного клиента
|
Не ограничен
|
|
Вид регресса
|
Полный регресс на текущую
деятельность
|
Частичный регресс на
текущую деятельность и проект
|
Отсутствует
|
|
Распределение рисков среди
участников инвестиционного проекта
|
Весь риск на заемщике
|
Кредитор, заемщик и
совокупность третьих лиц
|
Венчурная компания и
инициатор проекта
|
|
Степень риска финансового
участника
|
Стандартная
|
Достаточно высокая
|
Высокая, иногда выше, чем у
инициатора проекта
|
|
Роль финансового партнера в
минимизации рисков
|
Пассивная, на уровне оценки
|
Активная на стадии
проработки проекта и выработки схем финансового участия в проекте
|
Активная как на стадии
проработки проекта, так и на стадии его реализации
|
Очевидно, что каждая из используемых схем финансирования обладает
определенными достоинствами и недостатками. Поэтому в любом инвестиционном
проекте должна быть проведена тщательная оценка последствий инвестирования
различных альтернативных схем финансирования.
Сегодня одной из очевидных причин, сдерживающих применение прямого
инвестирования в рамках инновационных проектов, является отсутствие
проработанной методологии по оценке рисков. Решению этой сложной задачи могло
бы помочь применение скоринговых моделей, которые позволяют существенно снизить
риски проекта без потери его доходности.
Рис. 4. Схема взаимосвязи между исходной и конечной информацией при
оценке инвестиционного проекта с использованием скоринговой модели
Данные схемы давно и успешно применяются кредитными институтами для
оценки кредитоспособности физических и юридических лиц.
Наиболее рационально использовать скоринговую модель, включающую в себя
два метода: нейронные сети и классификационные деревья решений.
С помощью нейронных сетей проводится анализ инвестиционной
привлекательности наукоемких предприятий и на основании полученных результатов
выдаются рекомендации и предпочтения при отборе наиболее востребованных
проектов.
С помощью классификационного метода деревьев решений (рис. 3.4) на
основании входящих параметров системы, а именно аналитических данных,
представляемых инициатором проекта, строится классификационная модель, которая
на выходе относит проект к определенному классу, а затем в соответствии с
формируемыми критериями принимается решение о целесообразности его реализации.
В рамках стратегии развития разрабатывается комплекс мероприятий по
повышению инвестиционной привлекательности ОАО «Гириконд». Комплекс мероприятий
должен быть направлен на повышение эффективности деятельности предприятия,
учитывая изменения во внешней и внутренней среде, и должен соответствовать
определенным ранее требованиям. Мероприятия будут проводиться по следующим
направлениям:
. Реорганизация структуры управления. В рамках стратегии развития
необходимо разработать мероприятия по изменению организационной структуры и
методов управления, соответствующих новым условиям развития. В комплекс
мероприятий могут входить следующие действия: определение центров получения
прибыли; разделение бизнес- процессов; нахождение дублирующих функциональных
зон; внедрение дополнительных организационных образований, соответствующих
новым задачам; выделение отдельных бизнес-единиц в самостоятельные организации,
а также обратные процессы слияния; выстраивание коммуникаций внутри и между
бизнес-единицами и их закрепление в регламентирующей документации и др.
Результатом внедряемых мероприятий должно быть внедрение организационной
структуры удовлетворяющей стратегическим целям предприятия и способной
выполнять поставленные задачи.
Организационная структура ОАО «НИИ Гириконд» отвечает потребностям
предприятия, ориентированного на нововведения, и представляет собой синтез
программно-целевой и дивизионально-продуктовой структур. Особенностью является
выделение на уровне руководства научно-технического совета, обеспечивающего
независимую экспертизу проводимых разработок. На первом этапе группа
инновационного развития планирует и проектирует реализацию нового направления,
учитывая его коммерческую эффективность при возможном выходе на рынок. На
втором этапе группа текущего бизнеса занимается непосредственным освоением
новой разработки и осуществлением серийного производства. Основной задачей при
этом является избежание дублирования ресурсов и функций в двух группах, в связи
с чем особое внимание уделяется развитию информационного пространства,
позволяющего обеспечить высокий уровень коммуникации между различными группами
персонала с использованием современных информационных технологий.
Анализируя результаты исследования системы управления ОАО «НИИ Гириконд»,
выявлены следующие системообразующие элементы и факторы внутренней и внешней
среды предприятия, которые необходимо учесть при определении организационной
структуры. В контексте системообразующих элементов ключевыми являются:
•организация труда обслуживающего персонала, которая характеризуется
неравномерной занятостью;
•децентрализация управления обеспечивающими производственными службами;
•невысокий квалификационный уровень обслуживающего персонала и низкий
уровень самоконтроля персонала;
•отсутствие современных систем автоматизации и контроля за
производственным и управленческим процессами;
•уровень организационной культуры предприятия характеризуется отсутствием
традиций, убеждений и ценностей, которые разделяют большинство сотрудников
предприятия.
В данной ситуации необходимо совершенствовать систему управления
организационными отношениями. Управленческие решения позволят минимальными
финансовыми и трудовыми ресурсами обеспечить четкое разделение труда,
закрепление трудовых функций, степень подчинения, иерархию взаимодействия служб
и подразделений предприятия.
Вышеперечисленные особенности и потребности ОАО «НИИ Гириконд» включает в
себя бюрократическая организационная структура. Она позволит обеспечить
наиболее четкую систему взаимных функциональных связей между подразделениями,
четкую систему единоначалия и обеспечит ясно выраженную ответственность
персонала на всех уровнях взаимодействия.
Для оптимизации управленческой функции ОАО «НИИ Гириконд» возможно при
формировании типа организационной структуры включить элементы проектной и
матричной структур управления, что для средних предприятий России является
новаторством.
Например, на предприятии создана проектная группа для внедрения
автоматизированной системы управления промышленным предприятием, включающей на
первом этапе автоматизацию учета, планирования, казначейских операций, сбыта готовой
продукции. Под данный проект выделены финансовые ресурсы. Учитывая низкий
квалификационный уровень персонала, трудовые ресурсы на проект привлечены со
стороны. Проектная группа имеет свою структуру, определены ее цели, утверждены
планы и сроки проведения работ. Руководитель проекта координирует совместные
действия, как проектной группы, так и подразделений предприятия. После
выполнения проекта структура проектной группы распадается, ее сотрудники,
переходят в структурные подразделения предприятия.
Основными факторами, которые необходимо учитывать при определении
организационной структуры ОАО «НИИ Гириконд», являются:
• квалификационный уровень персонала (в том числе высшего
менеджмента);
• уровень организационной культуры предприятия;
• уровень развития предприятия и жизненный цикл, в котором
находится предприятие;
• готовность персонала к инновациям.
В настоящее время формируются новые связи с ведущими вузами страны «наука
- подготовка специалистов - производство» через вовлечение ведущих ученых и
студентов в опытно-конструкторские работы завода. Это позволяет одновременно
применять последние достижения науки и получать молодых специалистов,
подготовленных для конкретных видов работ. Если задуманная стратегия развития
предприятия будет реализована в ближайшие два-три года, то в решении задачи
ускорения темпов экономического роста, поставленной правительством, ОАО «НИИ
Гириконд» примет активное участие.
. Реструктуризация активов.
Для повышения инвестиционной привлекательности ОАО «Гириконд» необходимо
провести комплекс мероприятий по реструктуризации активов предприятия.
Мероприятия проводятся по всем составляющим структуры имущества: внеоборотные
активы, оборотные активы, денежные средства и финансовые вложения. При
изменении имущественных активов могут проводиться следующие мероприятия:
приобретение и обновление оборудования, покупка / продажа зданий и земельных
участков, списание / реализация невостребованных, устаревших и непрофильных
активов, сокращение / увеличение запасов материалов и готовой продукции,
оптимизация дебиторской задолженности и т. д. Для оптимизации финансовых
вложений могут изменяться их срочность, размер, доходность в рамках одной
группы, а также сами направления финансовых вложений. Цели проводимых
мероприятий - обновление активов, оптимизация издержек, повышение доходности от
вложенных средств.
. Оптимизация структуры капитала. При этом анализируются источники
формирования пассивов, их стоимость и влияние на инвестиционную
привлекательность предприятия, определяется оптимальное соотношение собственных
и заемных средств, а также формы привлечения этих ресурсов. Возможные
мероприятия - изменение объема заемных средств, замещение краткосрочных
ресурсов долгосрочными и наоборот, увеличение / уменьшение уставного капитала,
сокращение / увеличение количества акций, замещение заемных средств
собственными ресурсами и т. д. Основной целью данных мероприятий является
выполнение необходимых финансовых показателей (например, ликвидности),
сокращение затрат на привлеченные средства, а также повышение управляемости со
стороны собственников предприятия.
. Модернизация производства и обновление выпускаемой продукции ОАО
«Гириконд». Стратегия развития должна включать в себя повышение
конкурентоспособности продукции ОАО «Гириконд». Для этого необходимо
совершенствование применяемых технологий, удовлетворение постоянно
изменяющегося спроса на продукцию реального сектора экономики, что
обусловливает необходимость осуществления следующих мероприятий: применение
инновационных разработок, модернизация технологических цепочек, расширение
ассортимента выпускаемой продукции, замещение устаревшей продукции, разработка
новых перспективных видов изделий, применение современных технологий,
отвечающих экологическим требованиям и др. Данные мероприятия нацелены на
сокращение себестоимости продукции, повышение конкурентоспособности и
расширение ассортимента продукции, а в конечном итоге - на повышение
инвестиционной привлекательности ОАО «Гириконд».
Постоянный мониторинг и корректировка инвестиционной привлекательности
предприятия позволяют привлечь инвестиционные вложения в необходимом объеме,
повысить эффективность системы управления, рентабельность деятельности, а также
внедрить процессы бизнес-планирования и бюджетирования, контроля достижения
запланированного результата. Разработка и реализация данных мероприятий дает
возможность инвесторам рассматривать предприятие как привлекательный объект
инвестирования, способный эффективно осваивать инвестиционные средства,
приносить необходимый уровень дохода. Реализация стратегии и комплекса
мероприятий по повышению инвестиционной привлекательности ОАО «Гириконд»
позволяет ускорить процесс привлечения дополнительных ресурсов, увеличить их
объем, а также снизить их стоимость.
.2 Оценка
перспектив внедрения мероприятий по повышению инвестиционной привлекательности
ОАО «НИИ Гириконд»
Основной проблемой инвестиционного процесса на предприятии является
обеспечение его инвестиционной безопасности.
Под экономической безопасностью предприятия как правило понимается
состояние наиболее эффективного использования корпоративных ресурсов для
предотвращения угроз и обеспечения стабильного функционирования предприятия в
настоящее время и в будущем. Оценка уровня экономической безопасности
производится с помощью обобщающего критерия, определяемого с помощью системы
частных функциональных критериев, рассчитываемых по наиболее важным
функциональным направлениям (составляющим): финансовой,
интеллектуально-кадровой, технико-технологической, политико-правовой,
экономической, информационной, силовой.
Частные критерии сформированы по принципу оценки предотвращенного ущерба,
модель которого имеет вид:
(1)
где
ЧФКi
- частный функциональный критерий уровня обеспечения i-ой функциональной
составляющей экономической безопасности (ЭБ) предприятия;
Упрi
- предотвращенный ущерб по i-тому функциональному направлению;
Зi
- суммарные затраты на реализацию мер по обеспечению ЭБ по i-му направлению;
Упоi
- нанесенный ущерб по i-му функциональному направлению.
Свертка
частных критериев в обобщающий осуществляется методом приоритетов (удельных
весов ai) с соблюдением правила
(2)
Обобщающий
критерий экономической безопасности определяется по формуле:
(3)
Использование
критериальных расчетов в управлении предприятием осуществляется методом,
аналогичным методу для регионов: оценка узких мест, разработка и реализация
сценариев, выбор сценария, разработка плана мероприятий по обеспечению
экономической безопасности.
Использование
критериальных расчетов в управлении предприятием осуществляется методом,
аналогичным методу для регионов: оценка узких мест, разработка и реализация
сценариев, выбор сценария, разработка плана мероприятий по обеспечению
экономической безопасности.
Используя
приведенные подходы к определению понятия экономической безопасности,
попытаемся сформулировать таковое для инвестиционно-заемной системы (ИЗС).
Под
экономической безопасностью инвестиционно-заемной системы понимается экономическая
защищенность системы и интересов ее участников от внешних и внутренних угроз,
позволяющая надежно сохранить и эффективно использовать для исполнения своей
миссии ее экономический потенциал.
При
этом под миссией ИЗС будем понимать задачу привлечения заемных средств в целях
удовлетворения инвестиционных потребностей региона, определяемых в рамках ИЗС
по совокупной цене, удовлетворяющей требованию безубыточности функционирования
инвестиционно-заемной системы.
Заметим,
кстати, что потребность в постановке проблемы экономической безопасности
определяется наличием внешних (экзогенных) и внутренних (эндогенных)
деструктивных факторов (угроз) по отношению к ИЗС. К внешним деструктивным
факторам, например, можно отнести экономическую и политическую нестабильность,
несовершенство законодательства, известную неготовность потенциальных
инвесторов к взаимодействию с ИЗС, диверсионная деятельность непорядочных фирм,
динамическая подвижность рынка ценных бумаг, отсутствие достоверной информации
для инвесторов о состоянии рынка и эмитентов ценных бумаг и др.
Следует
сказать, что с понятием «экономическая безопасность» тесно связаны такие
понятия как:
• мониторинг
в ИЗС, как средство, позволяющее предвидеть и диагностировать возможные риски,
связанные с появлением сбойных ситуаций;
• рациональные
мотивационные схемы экономических стимулов участников ИЗС, позволяющие учесть и
удовлетворить их экономические интересы;
• законодательная
защищенность ИЗС, которая дает ей возможность существовать и развиваться в
относительно стабильных условиях на обозримых временных горизонтах.
Наиболее
существенной проблемой ОАО «НИИ Гириконд» в отношении управления
инвестиционными процессами является управление рисками при инвестировании.
Рассмотрим
основные виды риском. Они подразделены на три группы - проектные, финансовые и
маркетинговые риски.
ПРОЕКТНЫЕ
РИСКИ
.Риск
незавершенного строительства исключен, ибо ОАО «НИИ Гириконд» располагает
готовым, освободившемся в результате конверсии, производственным корпусом, со
всеми действующими инженерными сетями.
.
Риск несвоевременной поставки и монтажа оборудования, и следовательно - риск
несвоевременного начала производства исключен, ибо условия «поставки
оборудования и сдачи в эксплуатацию под «ключ» оговорены контрактом между
покупателем и поставщиком.
.
Риск неполного использования проектной мощности оборудования. Снижение данного
риска возможно только при организации четкого руководства производственным
процессом предприятия, обеспечении производства бесперебойной поставкой сырья,
качественной работы оборудования.
Обеспечение
производства сырьем гарантируются фирмами поставщиками сырья, с которыми
заключены предварительные договора.
Для
гарантии качества работы оборудования необходимо, чтобы при его покупке
поставщики оборудования предоставили гарантийные обязательства сроком на 12
месяцев. Кроме того, необходимо обязательное страхование оборудования от
возможного повреждения (затраты несут поставщики оборудования).
ФИНАНСОВЫЕ
РИСКИ
.Финансирование
данного проекта предполагается осуществить за счет собственных средств, средств
государственного инвестиционного кредита и заемных средств, возврат которых
предполагается за счет поступлений от продажи готовой продукции.
.
Риск возникновения непредвиденных расходов возможно уменьшить установлением
четкого контроля за качеством выпускаемой продукции (непредвиденные расходы
включены в текущие издержки производства).
.
Вероятность риска задержки платежей по процентам низкая. Критическое значение
«коэффициента покрытия долга» на всем интервале выплат не превышает допустимого
- 1.25.
МАРКЕТИНГОВЫЕ
РИСКИ
.Риск
роста цен на сырье весьма существенен, но вероятность появления этого фактора
невелика, так как цены на сырье довольно стабильны и имеют тенденцию к
снижению.
.
Риск несвоевременной реализации продукции отсутствует, так как аналоги
предлагаемой продукции в РФ и странах СНГ не имеются. Кроме того, инициатором
проекта достаточно хорошо проработана схема реализации проекта.
Для
ОАО «НИИ Гириконд» главными критериями необходимости инвестирования выступают
рост эффективности производства и максимизация прибыли. При этом предприятия
сами принимают решения об осуществлении инвестиций. Основанием этого служит
складывающаяся рыночная ситуация, а финансирование капиталовложений
осуществляется либо самостоятельно, либо заимствованием средств на финансовых
рынках.
В
таких условиях основными источниками инвестирования остаются собственные
средства предприятия, что предполагает ясное представление об их состоянии,
использовании и имеющихся резервах.
В
этой связи становится практически важным участие региональных органов
управления в создании условий для усиления инвестиционной активности
предприятий и инвесторов. Выполнению такой задачи отвечает формирование особого
мотивационного механизма, способного реализовать интересы обеих сторон. Он
должен исходить из программно-целевого подхода к управлению и включать
следующие элементы:
выявление
перспективных направлений развития инвестиционных отраслей региона и каждого
предприятия;
доведение
прогрессивных разработок до уровня бизнес-плана;
активный
поиск партнёров;
Оценим
эффективность стратегии ЗАО «НИИ Гириконд» и использования имеющихся денежных
средств.
Оценка
финансовой состоятельности основывается на различных финансовых формах.
Для
предприятия как целостного механизма целесообразно результаты финансовой
деятельности представить в виде определенной системы планово-отчетных
документов.
.
План финансовых результатов. Показывает, получит ли фирма прибыль от реализации
стратегии (таблица 3.1).
Из
таблицы видно, что чистая прибыль предприятия за весь плановый период составит
5952 тыс. руб.
.
План движения денежных средств. Показывает процесс поступления и расходования
денег в процессе деятельности фирмы (таблица).
Для
оценки эффективности проекта необходимо проанализировать значения следующих
показателей:
чистый
дисконтированный доход (ЧДД);
коэффициент
эффективности проекта (Е).
Таблица
3.3 - Финансовые показатели, тыс. руб.
|
Наименование показателя
|
1 кв. 2014 г.
|
2 кв. 2014 г.
|
3 кв. 2014 г.
|
4 кв. 2014 г.
|
1 кв. 2015 г.
|
2 кв. 2015 г.
|
3 кв. 2015 г.
|
4 кв. 2015 г.
|
|
Выручка от реализации
продукции
|
323364
|
323364
|
323364
|
323564
|
350561
|
350561
|
350561
|
350561
|
|
Себестоимость реализованной
продукции
|
209300
|
209300
|
209300
|
209300
|
224490
|
224490
|
224490
|
224490
|
|
Коммерческие расходы
|
2592
|
2592
|
2592
|
2592
|
600
|
600
|
600
|
600
|
|
Прибыль от реализации
|
88071
|
88071
|
88071
|
88071
|
119171
|
119171
|
119171
|
119171
|
Таблица 3.4 - Движение денежных средств, тыс. руб.
|
Наименование показателя
|
1 кв. 2014 г.
|
2 кв. 2014 г.
|
3 кв. 2014 г.
|
4 кв. 2014 г.
|
1 кв. 2015 г.
|
2 кв. 2015 г.
|
3 кв. 2015 г.
|
4 кв. 2015 г.
|
|
1. Поступило денежных
средств, всего
|
323364
|
323364
|
323364
|
323564
|
350561
|
350561
|
350561
|
350561
|
|
- выручка от реализации
продукции
|
323364
|
323364
|
323364
|
323564
|
350561
|
350561
|
350561
|
350561
|
|
2. Направлено денежных
средств, всего
|
209300
|
209300
|
209300
|
224490
|
224490
|
224490
|
224490
|
|
3.Сальдо денежных средств
|
114063
|
67009
|
114063
|
114063
|
125171
|
68161
|
125171
|
68161
|
|
4. Сальдо нарастающим
итогом
|
114063
|
181072
|
295135
|
409198
|
534369
|
602530
|
727701
|
795862
|
Для определения ЧДД вычислим коэффициент дисконтирования по годам по
формуле:
где
r - реальная ставка процента, применяемая для пересчета будущих периодов
(20%);- порядковый номер интервала планирования (года) реализации проекта.
ЧДС
определяется по формуле:
,
где
Кдi - коэффициенты дисконтирования;
ЧДПi
- чистые денежные потоки;
К
- капитальные вложения;- количество лет (3).
Таким
образом, ЧДС будет равна:
Таким
образом, чистый дисконтированный доход равен 444551,7 тыс. руб.
Коэффициент
эффективности проекта определяется следующим образом:
где
Пчср - среднегодовая чистая прибыль;
Кср
- среднегодовые капитальные вложения.
Среднегодовая
чистая прибыль - это среднегодовая прибыль за вычетом необходимых налоговых
отчислений (20%) и равна:
Тогда
коэффициент эффективности проекта равен:
Это
говорит о том, что приведенные поступления за срок реализации проекта больше
вложений в инвестиционный проект, и эта величина довольно значительна.
По
всем показателям предлагаемый проект можно считать эффективным, и его можно
рекомендовать к внедрению.
Для
финансирования проекта в течение 1 года предприятие израсходует 20180 тыс. руб.
Финансирование проекта будет осуществляться за счет собственных средств,
которые будут направлены на прямые издержки проекта. Для осуществления данного
проекта дополнительные капитальные вложения не требуются, так как по итогам
2013 года предприятие имеет нераспределенную прибыль, которой хватит на
покрытие издержек.
Активизация инвестиционного процесса позволяет расширить рамки развития
предприятий за счет осуществления всего комплекса мероприятий, охватывающих
организационную, управленческую и техническую сторону их функционирования. В
результате организации становятся способными увеличивать объемы выпуска продукции,
переходить на производство изделий, отвечающих мировым стандартам, менять
номенклатуру изготовляемой продукции и многое др. Тем самым структурные
преобразования целенаправленно способствуют увеличению спроса на продукцию
конкретных предприятий. При этом увеличение прибыли возникает не только за счет
объемов выпускаемой продукции, но и ее реализации по рыночным ценам, что должно
учитываться при определении инвестиционной привлекательности ОАО «НИИ
Гириконд».
Однако в условиях современного рынка ее верное обоснование должно
осуществляться с отражением риска, связанного с фактором спроса на выпускаемую
или предполагаемую к выпуску продукцию. Отсутствие требуемых объемов спроса
может привести к большим финансовым потерям от реструктуризации. Следовательно,
выбор структурных преобразований должен выполняться, исходя из ограничений не
только на используемые ресурсы, но и объемы выпускаемой продукции, определяемые
на основе прогнозирования рыночного спроса на различные ее виды. Поэтому важно
учитывать распределение денежных средств между направлениями реструктуризации в
зависимости производственного процесса после его завершения.
Заключение
Обобщим основные итоги исследования
В рамках инвестиционной стратегии функционирования предприятия,
осуществляется управление портфелем в соответствии с портфельными стратегиями.
Управление портфелем инвестиционных проектов включает в себя, как и
управление любым сложным объектом с переменным составом, планирование, анализ и
регулирование состава портфеля. Кроме того, управление любым портфелем включает
в себя осуществление деятельности по его формированию и поддержанию с целью
достижения поставленных инвестором перед портфелем целей при сохранении
необходимого уровня его ликвидности и минимизации расходов, связанных с ним.
Суть методов прямого воздействия заключается в таком управлении
инвестиционным процессом, при котором органы местной власти, используя
принадлежащие им объекты и ресурсы, напрямую стимулируют или ограничивают
инвестиционную деятельность. К прямым методам управления инвестиционной
деятельностью относят: формирование структуры доходов и расходов местного
бюджета; определение состава, ставок, порядка и сроков уплаты налогов,
зачисляемых в местный бюджет; выпуск ценных бумаг; регулирование цен и тарифов
и т. д.
Методы косвенного воздействия предполагают опосредованное управление
инвестиционным процессом путем создания условий и мотиваций хозяйствующих
субъектов системы инвестиционной деятельности для привлечения их ресурсов к
решению задач территориального развития.
К косвенным методам управления инвестиционной деятельностью относят:
предоставление бюджетных субсидий на развитие социально значимых объектов;
бюджетные гарантии частным инвесторам; страхование кредитов; развитие
конкурентной среды; предоставление льгот в области внешних экономических связей
и др.
В управлении инвестиционным процессом возможны три формы проявления
административных методов: обязательное предписание (закон, положение, приказ,
запрет и т. п.); согласительные (договор о сотрудничестве, консультация,
компромисс); рекомендации, пожелания (совет, разъяснение, предложение).
Методы и формы управления инвестициями образуют инвестиционную политику.
В своей инвестиционной политике предприятие может выбирать различные ее виды:
консервативная инвестиционная политика - приоритетной целью, которой
является минимизация уровня инвестиционного риска. При осуществлении такой
политики инвестор не стремится ни к максимизации уровня текущей прибыльности
инвестиций, ни к максимизации темпов роста капитала.
компромиссная (умеренная) инвестиционная политика, направлена на выбор
таких объектов инвестирования, по которым уровни прибыльности и риска в
наибольшей степени приближены к среднерыночным.
агрессивная инвестиционная политика, направлена на выбор таких объектов
инвестирования, по которым уровни прибыльности и риска значительно выше
среднерыночных.
Цели ОАО «НИИ Гириконд» при формировании стратегии можно разделить на три
блока:
· действия, связанные с оптимизацией структуры работ,
маркетингом и ценообразованием должен управляться службой маркетинга с
информационной поддержкой экономической службы и службы сбыта.
· действия, связанные с управлением издержками должен
управляться производственными службами с информационной поддержкой службы
снабжения и экономической службы.
· действия, связанные управлением денежными и прочими
оборотными средствами должен управляться службой снабжения в тесном
взаимодействии с отделом сбыта, финансовым отделом с информационной поддержкой
экономических служб предприятия.
Финансовое положение и результаты деятельности ОАО характеризуют такие
показатели: чистые активы превышают уставный капитал, при этом за весь
рассматриваемый период наблюдалось увеличение чистых активов; полностью
соответствует нормальному значению коэффициент абсолютной ликвидности; отличная
рентабельность активов (14,03% за последний год); положительная динамика
рентабельности продаж (+16,7 процентных пункта от рентабельности 9% за период
01.01-31.12.2012); за 2013 год получена прибыль от продаж (65 654 тыс. руб.),
более того наблюдалась положительная динамика по сравнению с предшествующим
годом (+18 190 тыс. руб.); чистая прибыль за 2013 год составила 53 750 тыс.
руб. (+20 591 тыс. руб. по сравнению с предшествующим годом); рост прибыли до
процентов к уплате и налогообложения (EBIT) на рубль выручки организации (+3,2
коп.к7,8 коп. с рубля выручки за 2012 год).
Финансовое положение ОАО НИИ Гириконд оценено по балльной системе в
+0,188, что соответствует рейтингу BB (нормальное положение). Финансовые
результаты деятельности организации в течение анализируемого периода оценены в
+1,7, что соответствует рейтингу AAA (отличные результаты). Итоговый балл
финансового состояния, сочетающий в себе анализ финансового положения и
результаты деятельности организации, равняется +0,79 - по шкале рейтинга это
положительное состояние (BBB).
Интегральный показатель инвестиционной привлекательности возрос с 214,08
в 2011 г. до 262,1423 в 2012 г. и до 298,2675 в 2013 г. Анализ свидетельствует
о достаточно высоком уровне инвестиционной привлекательности ОАО «НИИ Гириконд»
по сравнению с его одним из основных конкурентов - ОАО «Реконд». Но в то же
время полученное значение уровня инвестиционной привлекательности исследуемого
предприятия на 17,9 меньше лидирующего предприятия - ОАО «Электрон».
Список
литературы
1. Федеральный
закон от 25 февраля 1999 г. № 39-ФЗ «Об инвестиционной деятельности в
Российской Федерации, осуществляемой в форме капитальных вложений» (ред. от
28.12.2013)
. Федеральный
закон от 9 июля 1999 г. № 160-ФЗ «Об иностранных инвестициях в Российской
Федерации» (ред. от 03.02.2014)
. Федеральный
закон от 29 октября 1998 г. № 164-ФЗ «О финансовой аренде (лизинге)» (ред. от
28.06.2013)
. Федеральный
закон от 22 апреля 1996 г. № 39-ФЗ «О рынке ценных бумаг» (ред. от 01.01.2014)
. Федеральный
закон от 22 июля 2005 г. № 116-ФЗ «Об особых экономических зонах в Российской
Федерации» (ред. от 06.12.2011);
. Федеральный
закон от 21 июля 2005 г. № 115-ФЗ «О концессионных соглашениях» (ред. от
28.12.2013)
. Закон
Санкт-Петербурга от 30.07.1998 № 185-36 «О государственной поддержке
инвестиционной деятельности на территории Санкт-Петербурга» (с изменениями от
08.05.2001).
8. Андрианов
В.Д. Россия: экономический и инвестиционный потенциал. М.: Экономика 2009 - 661
с.
9. Бард B.C. Инвестиционные проблемы российской экономики. М.:
Экзамен, 2010 - 487 с.
10. Беляевский
И.К. Маркетинговое исследование: информация, анализ, прогноз: Учеб. пособие. -
М.: Финансы и статистика, 2006. - 320с.
. Бланк
И. А. Инвестиционный менеджмент. - СПб. : Питер, 2007. - 447 с.
. Богданов
Ю.В. Инвестиционный анализ. - М. : ЮНИТИ, 2007. - 567 с.
. Бочаров
В.В. Инвестиции. - СПб.: Питер, 2007. - 176 с.
14. Бочаров В.В. Инвестиционный менеджмент. СПб.: Питер, 2010 - 400 с.
15. Бригхем
Ю., Гапенски Л, Финансовый менеджмент. Полный курс.Учебное пособие в 2-х тт./
Пер. с англ. - СПб.: Экономическая школа, 2005. - 1166 с.
. Вахрин
П.И. Инвестиции М.: ИТК Дашков и К, 2005. - 380 с.
. Виленский
П. Л., Лившиц В. Н., Смоляк С. А. Оценка эффективности инвестиционных проектов:
Теория и практика. Учеб. пособие. 4-е изд., перераб. и доп. М.: Издательство
АНХ «Дело», 2008.
. Волков
И.М., Грачева М.В., Алексанов Д.С. Критерии оценки проектов.
http://manage.ru/finanalysis/cf_criteria.shtml
. Воронина
Л. А. Инновационный путь развития экономики России //Финансы и кредит. 2006. №
12 (216). - С. 40-46.
. Воронина
Л. А., Горецкая Е.О. Иностранные инвестиции как современный источник
финансирования российской экономики // Финансы и кредит. 2007. № 9 (234). - С.
2-11.
. Воронина
Н. В. Особенности инвестиционного климата России на современном этапе //
Финансы и кредит. - 2006. - № 4.
. Зиядуллаев
Н.С. Экономическая стратегия России в условиях глобализации // Проблемы теории
и практики управления. - 2008. № 6. - С. 40-50.
. Ивантер
В.В. Актуальные проблемы развития России // Проблемы прогнозирования. - 2006. №
3. - С. 3-10.
. Ивасенко
А. Г., Никонова Я. И. Иностранные инвестиции - М.: КноРус, 2010. - 272 с.
. Ивасенко
А.Г., Никонова Я.И. Инвестиции: источники и методы финансирования. - М. : Омега-Л,
2007. - 253 с.
. Казаков
И. Зарубежный рынок: силы и стратегии // Маркетинг, 2008. № 6, С. 6 - 14.
. Клейнер
Г.Б. Стратегии бизнеса: аналитический справочник, Под общей редакцией академика
РАЕН, д.э.н. Г.Б. Клейнера: - М.: Москва, «КОНСЭКО»,2004. - 408с.
28. Кныш
М.И, Перекатов Б.А., Тютиков Ю.П. Стратегическое планирование инвестиционной
деятельности. СПб.: Издательский дом, Бизнес- пресса 2010 - 315 с.
29. Ковалев В.В. Введение в финансовый менеджмент. М.: Финансы и
статистика, 2009 - 336 с.
30. Ковалев
В.В. Методы оценки инвестиционных проектов. Москва, Финансы и статистика, 2009
- 454 с.
31. Колмыкова
Т.С. Инвестиционный анализ: учебное пособие. -М.: Инфра-М, 2009
. Кузнецов
Б.Т. Инвестиции: учебное пособие. -М.: Юнити-Дана, 2012;
. Кузнецов
Б.Т. Финансовый менеджмент: учебное пособие. -М.: Юнити-Дана, 2012;
. Нешитой
А.С. Инвестиции: учебник. -М.: Дашков и К, 2012.
. Николаева
И.П. Инвестиции: учебник. -М.: Дашков и К, 2013;
. Орлова
Е.Р. Инвестиции: учебное пособие. -М.: Омега-Л, 2012;
. Самсонов
В.С. Экономическая оценка инвестиций: учебное пособие. М.: Издательство МГОУ,
2009;
. Сироткин
С.А., Кельчевская Н.Р. Экономическая оценка инвестиционных проектов: учебник.
М.: Юнити-Дана, 2011;
39. Официальный сайт ОАО
«НИИ Гириконд» <http://www.giricond.ru>
. Официальный сайт ОАО
«Реконд» www.rekond.spb.ru <http://www.rekond.spb.ru>
. Официальный сайт ОАО
«Электрон» www.electron.spb.ru <http://www.electron.spb.ru>