Проектирование системы электроснабжения населенного пункта
Содержание
Введение
. Краткая характеристика потребителей
. Определение расчетных электрических нагрузок населенного пункта
. Проектирование наружного освещения
.1 Выбор нормы освещенности
.2 Выбор системы освещения
.3 Характеристика схемы подстанции и спецификация
электрооборудования
.4 Расчет освещения территории детского сада
.5 Освещение территории автостоянки
.6 Освещение территории стадиона
.7 Расчет освещения территории АЗС
.8 Выбор сечения проводников осветительной сети
. Выбор места, типа, числа и мощности трансформаторов и трансформаторной
подстанции
.1 Определение типа, числа и мощности трансформаторов
трансформаторной подстанции
.2 Технико-экономическое сравнение вариантов
.3 Выбор места расположения ТП
. Расчеты и проектирование
питающих сетей 10 КВ
.1 Схема распределительной сети 10 кВ
.2 Выбор сечения проводов сети 10 кВ
.3 Расчет потокораспределения в сети 10 кВ
. Расчет питающих сетей 0,4 КВ
.1 Проектирование системы электроснабжения 0,4 кВ
.2 Выбор сечения проводов на напряжение 0,4 кВ
. Расчеты токов короткого замыкания
.1 Расчет токов короткого замыкания в сети напряжением 10 кВ
.2 Расчет токов короткого замыкания в сети напряжением 0,4 кВ
. Выбор и проверка коммутационной и защитной аппаратуры
.1 Выбор коммутационной и защитной аппаратуры в сети 10 кВ
.2 Выбор коммутационной и защитной аппаратуры в сети 0,4 кВ
. Расчёт релейной защиты
.1 Защита силовых трансформаторов
.2 Защита линий 10 кВ
.2.1 Селективная токовая отсечка без выдержки времени
.2.2 МТЗ с выдержкой времени
.3 Расчет устройства автоматического включения резерва
. Проектирование системы учета и контроля электрической энергии
. Разработка мероприятий по энергосбережению
. Организационно-экономическая часть
.1 Технико-экономическое обоснование выбора схемы
электроснабжения
.2 Сметно-финансовый расчет затрат на монтаж и
пусконаладочные работы схемы электроснабжения
.3 Организация работ по вводу объекта в эксплуатацию
Заключение
Список использованных источников
Приложения
Введение
В данной выпускной квалификационной работе разработана система
электроснабжения населенного пункта. Необходимость в создании такой системы
диктуется новыми требованиями к ней по надёжности с учетом электробезопасности
и способности обеспечивать потребителей необходимым количеством электроэнергии.
Надежность питания в основном зависит от принятой схемы электроснабжения,
степени резервирования отдельных групп электроприемников, а также от надежной
работы элементов системы электроснабжения.
В настоящее время в результате развития инфраструктуры села увеличивается
плотность строительства одноквартирных жилых домов, общественных зданий,
государственных учреждений, растут удельные мощности электроприемников. Все эти
изменения приводят к необходимости использования нового оборудования на
подстанциях и в распределительных сетях, в результате чего будут достигнуты
значительная экономия потребления электроэнергии и снижения эксплуатационных
затрат на техническое обслуживание электросетей, улучшатся условия работы
эксплуатационного персонала.
При проектировании электроснабжения данного микрорайона выделяются
основные задачи, для решения которых требуется комплексный подход к выбору
схемы электроснабжения, технико-экономическое обоснование решений, определение
элементов системы электроснабжения микрорайона.
Требуемый уровень надежности и безопасности схемы электроснабжения
обеспечивается строгим соблюдением при выборе оборудования и элементов защиты
норм и правил, изложенных в правилах устройства электроустановок (ПУЭ), СНиПах
и ГОСТах.
1. Краткая характеристика потребителей
В данной выпускной квалификационной работе рассматривается вопрос
электроснабжения. Основными потребителями электроэнергии являются
коммунально-бытовые потребители:
жилые одноэтажные одноквартирные дома, оборудованные электрическими
плитами мощностью до 8,5 кВт;
жилые одноэтажные одноквартирные дома, оборудованные плитами на сжиженном
газе;
коттеджи, оборудованные электрическими плитами мощностью до 10,5 кВт;
магазины продовольственные с кондиционированием воздуха площадью
торгового зала 240 м2 и 180 м2;
магазин бытовой техники с кондиционированием воздуха площадью торгового
зала 200 м2;
аптека с кондиционированием воздуха площадью торгового зала 100 м2;
парикмахерская, имеющая 6 рабочих мест;
детский сад на 120 мест;
котельная для отопления детского сада;
автозаправочная станция;
магазин автозапчастей с кондиционированием воздуха площадью торгового
зала 100 м2;
шиномонтаж;
автомойка площадью 150 м2.
Также в проекте рассматривается вопрос наружного освещения микрорайона
села.
Перечень электропотребителей рассматриваемого микрорайона приведен в
приложении 1.
2. Определение расчетных электрических нагрузок населенного пункта
.1 Определение расчетных электрических нагрузок жилых зданий
Расчетную нагрузку определяем методом удельных нагрузок [2].
Поскольку жилые дома являются одноквартирными, то его расчетная активная
мощность равна удельной мощности Pр.ж.д
= Pкв.уд.
Расчетная реактивная мощность жилого дома
определяется по формуле:
, квар, (2.1)
где
- расчетная нагрузка квартир, кВт;
- расчетные коэффициенты реактивной мощности [2, п. 6.12];
Полная электрическая нагрузка жилого дома (квартир и силовых
электроприемников)
, кВ·А, определяется по формуле:
, кВ·А, (2.2)
где
- расчетная электрическая нагрузка жилого дома, кВт;
- расчетная реактивная мощность жилого дома, квар.
Расчетный ток жилого дома
, А, определяется по формуле:
, А, (2.3)
где
- полная электрическая нагрузка жилого дома, кВ·А;
- номинальное напряжение, кВ.
Приведем пример расчета жилого дома с плитой на сжиженном газе.
Активная нагрузка жилого дома Pр.ж.д = 6 кВт. По формуле (2.1) определим реактивную мощность жилого
дома:
квар.
По формуле (2.2) определим полную электрическую нагрузку жилого дома:
кВ·А.
По формуле (2.3) определим расчетный ток:
А.
Расчет нагрузок остальных жилых зданий аналогичен. Результаты расчетов
приведены в Приложении 1.
.2 Определение расчетных электрических нагрузок общественных зданий
электрический
трансформатор энергосбережение
Расчетные электрические нагрузки общественных зданий и учреждений
определяются по укрупненным удельным нагрузкам в зависимости их от
количественного показателя
Расчетная нагрузка общественных зданий
, кВт, определяется по формуле:
кВт, (2.4)
где
- удельная нагрузка общественных зданий [2, табл. 6.14],
кВт/ед. изм.;
n -
количественный показатель общественного здания, приведен в Приложении 2.
Расчетная реактивная мощность
, квар, полная электрическая нагрузка
общественного здания
, кВ·А, и расчетный ток
определяются по формулам (2.1),
(2.2) и (2.3) соответственно.
Приведем пример расчета детского сада на 100 мест.
По формуле (2.4) определим расчетную нагрузку детского сада:
кВт.
По формуле (2.1) определим реактивную мощность детского сада:
квар.
По формуле (2.2) определим полную электрическую нагрузку детского сада:
кВ·А.
По формуле (2.3) определим расчетный ток:
А.
Расчет нагрузок остальных общественных зданий аналогичен. Результаты
расчетов приведены в Приложении 2.
3. Проектирование наружного освещения
.1 Выбор нормы освещенности.
Согласно [4, таблица 13,14,15] определяем нормы освещаемых объектов.
Выбранные нормы представлены в таблице 3.1.
Таблица 3.1 - Нормы освещаемых объектов
|
Наименование объекта
|
Средняя горизонтальная
освещенность, Еср, лк
|
|
Основные улицы в жилой
застройке сельских поселений
|
4
|
|
Площадки для подвижных игр
детского сада
|
10
|
|
Проезды и подходы к
корпусам и площадкам детского сада
|
4
|
|
Футбольное поле стадиона
|
20
|
|
Беговые дорожки стадиона
|
10
|
|
Открытые стоянки в
микрорайонах
|
2
|
|
Места заправки и слива
нефтепродуктов
|
20
|
|
Подъездные пути к АЗС с
улиц и дорог категории А и Б
|
10
|
|
Остальная территория АЗС,
имеющая проезжую часть
|
10
|
.2 Выбор системы освещения
Сети наружного освещения рекомендуется выполнять кабельными или
воздушными с использованием самонесущих изолированных проводов.
В обоснованных случаях для воздушных распределительных сетей освещения
улиц, дорог, площадей, территории микрорайонов допускается использование
неизолированных проводов согласно [1].
Распределительные сети освещения территории детских яслей - садов,
общеобразовательных школ выполняются кабельными линиями проложенными в земле.
Осветительные приборы наружного освещения могут устанавливаться на
специально предназначенных для такого освещения опорах, а также на опорах
воздушных линий до 1кВ, опорах контактной сети электрифицированного транспорта,
стенах зданий и сооружений, а также могут быть подвешены на тросах, укрепленных
на стенах зданий и опорах.
Опоры установок уличного освещения площадей, улиц, дорог должны
располагаться на расстоянии не менее 1м от лицевой грани бордюра до внешней
поверхности цоколя опоры на магистральных улицах и дорогах с интенсивным
движением транспорта и не менее 0,6 м на других улицах и площадях.
.3 Расчет освещения улиц
Расчет производится точечным методом [3].
Для освещения улиц используются светильники ДКУ-01 со светодиодными
лампами Street. При ширине проезжей части улиц 6
метров принимаем однородное одностороннее расположение светильников: на опорах
с одной стороны проезжей части. Количество светильников на опоре предполагается
изначально равным 1. Светильники равномерно располагаются по периметру дороги с
шагом равным 35 метрам.
Рисунок 3.1 - Расположение светильников
Пользуясь точечным методом и кривыми силы света для светильника типа
ДКУ-001 [3] (тип кривой силы света “Ш”), находится суммарная условная
освещенность (∑е), создаваемая ближайшими источниками света. Выбираем
контрольные точки и определяем расстояние до них от светильников как показано
на рисунке 3.1.
Находим значение условной освещенности е по пространственным изолюксам
[3, рисунок 7.8]. Расчет условной освещенности сводится в таблицу 3.
Таблица 3.3 - Освещенность в контрольных точках
|
Контрольная точка
|
№ источника света
|
d, м
|
Условная освещенность
|
|
|
|
Одного светильника
|
Суммарная от всех
светильников
|
|
А
|
1,2
|
17,5
|
0,22
|
0,44
|
|
Б
|
1,2
|
18,5
|
0,19
|
0,38
|
Так как условная суммарная освещенность получилась меньше в точке А, то и
расчет светового потока источника света будет выполняться для точки А.
Световой поток источника света в каждом светильнике, обеспечивающий
получение в выбранной контрольной точке освещенности Е будет определяться по
формуле:
, лм, (3.1)
где К- коэффициент запаса для светильников с разрядными лампами, равный
1,5 [3];
Е - освещенность в контрольной точке;
- коэффициент дополнительной освещенности, равный 1,1-1,2;
- суммарная условная освещенность, создаваемая ближайшими
источниками света.
Для точки А световой поток равен:
По [3, таблица 16] выбирается тип лампы Stret-130 и, соответственно, светильник
типа ДКУ 01-130-001.
Установка светильников наружного освещения выполняется на кронштейнах
серии «Стандарт» 0,4 кВ выше проводов ВЛ. Над проезжей частью улиц, дорог и
площадей светильники данного типа должны устанавливаться на высоте не менее 9,3
м. Питание установок наружного освещения выполняется непосредственно от ТП.
Количество светильников n шт.,
необходимых для освещения определим по формуле:
, шт., (3.2)
где
- длина освещаемой поверхности согласно генплану, м;
- шаг светильников, м.
Расчет количества светильников сводится в таблицу 3.4.
Таблица 3.4 - Расчет количества светильников.
|
Название улицы
|
Длина улицы L,
м
|
Шаг светильников D,
м
|
Количество светильников n
|
|
ул. Сиреневая
|
690
|
35
|
20
|
|
ул. Лазурная
|
570
|
|
16
|
|
ул. Цветочная
|
570
|
|
16
|
|
пер. Полевой
|
415
|
|
12
|
|
пер. Соловьиный
|
480
|
|
14
|
Суммарное количество светильников 78.
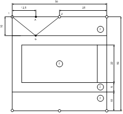
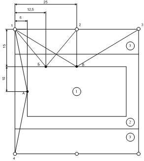
3.4 Расчет освещения территории детского сада
Для освещения игровой площадки на территории детского сада используются
светильники ДКУ-01 со светодиодными лампами Street. Расположение светильников и выбор контрольных точек
приведены в приложении 3 на рисунке 3.1.
Определяем расстояние и находим значение условной освещенности е по
пространственным изолюксам [3, рисунок 7.8]. Расчет условной освещенности
сводится в таблицу 3.5.
Таблица 3.5 - Освещенность в контрольных точках
|
Контрольная точка
|
№ источника света
|
d, м
|
Условная освещенность
|
|
|
|
Одного светильника
|
Суммарная от всех
светильников
|
|
А
|
1,2
|
12,5
|
0,34
|
0,68
|
|
Б
|
1,2
|
16,01
|
0,28
|
0,56
|
Так как условная суммарная освещенность получилась меньше в точке Б, то и
расчет светового потока источника света будет выполняться для точки Б.
Определяем световой поток в точке Б по формуле (3.1)
По [3, таблица 16] выбирается тип лампы Stret-130 и, соответственно, светильник типа ДКУ
01-130-001.
Проверим освещенность на подходах к корпусам и площадкам детского сада.
Выбираем контрольные точки и определяем расстояние до них от светильников, как
показано в приложении 3 на рисунке 3.2.
Определяем расстояние и находим значение условной освещенности е по
пространственным изолюксам [3, рисунок 7.8]. Расчет условной освещенности
сводится в таблицу 3.6.
Таблица 3.6 - Освещенность в контрольных точках
|
Контрольная точка
|
№ источника света
|
d, м
|
Условная освещенность
|
|
|
|
Одного светильника
|
Суммарная от всех
светильников
|
|
А
|
1,4
|
25
|
0,12
|
0,24
|
|
Б
|
1,2
|
19,53
|
0,16
|
0,56
|
|
В
|
1,3
|
29,15
|
0,08
|
0,16
|
|
2
|
15
|
0,3
|
0,3
|
|
|
|
Σne = 0,46
лк
|
Суммарная освещенность получилась меньше в точке А.
Для точки с наименьшей условной освещенностью определяем фактическую
освещенность:
, лк. (3.3)
Определяем фактическую освещенность для точки Б:
лк.
Освещенность для точки Б удовлетворяет условиям.
.5 Освещение территории автостоянки
Расчет освещения автостоянки производим в программе DIALux.
Для освещения используются светильники ДКУ 01-130-001 с лампами Street-130 с высотой установки - 9,3 м.
План расположения светильников и объектов на территории автостоянки показан в
приложении 3 на рисунках 3.3 - 3.4.
Результаты расчетов представим в приложении 3 на рисунках 3.5 - 3.7, в
виде изолиний освещенности, градаций освещенности и графика значений
освещенности.
.6 Освещение территории стадиона
Расчет освещения стадиона производим в программе DIALux.
Для освещения стадиона используются прожекторы со светильниками
BLD-HPFL300H-W-90D мощностью 300 Вт. В каждом прожекторе используется по 7
светильников. Прожекторы установлены на мачтах высотой 20 м. План расположения
светильников и спортивных объектов на территории стадиона представлен в
приложении 3 на рисунках 3.8 - 3.9.
Результаты расчетов освещенности футбольного поля и беговых дорожек
представим в приложении 3 на рисунках 3.10 - 3.13, в виде изолиний
освещенности, градаций освещенности и графика значений освещенности.
.7 Расчет освещения территории АЗС
Расчет освещения территории АЗС производим в программе DIALux.
План территории АЗС представлен в приложении 3 на рисунке 3.14. План
расположения светильников и объектов на территории АЗС представлен в приложении
3 на рисунках 3.15 - 3.16.
Результаты расчетов освещенности территории АЗС представим в приложении 3
на рисунках 3.17 - 3.25, в виде изолиний освещенности, градаций освещенности и
графика значений освещенности.
Из рисунков видно, что результаты расчетов удовлетворяют заданным
значениям.
3.8 Выбор сечения проводников осветительной сети
Для электроснабжения микрорайона используется провод СИП-2 с жилой
освещения, для соединения в сеть светильников в переулках применяем провод
марки СИП - 2 без жилы освещения. Кабельными линиями должны выполняться
распределительные сети освещения территорий детского сада, стадиона, парковки,
территории АЗС, также кабелем будет проложена линия от ТП до первой опоры.
Расчетная активная мощность осветительных приборов
, кВт определяется по формуле:
, кВт, (3.4)
где
- коэффициент спроса, который равен 1 в соответствии с [3];
- количество светильников, шт.;
- мощность светильника, кВт.
Расчетная реактивная мощность осветительных приборов
, квар находится по формуле:
, квар, (3.5)
где Pр.осв - расчетная активная мощность
осветительных приборов, кВт;
tgφ - коэффициент мощности осветительных
приборов.
Полная электрическая мощность
, кВ·А, определяется по формуле:
, кВ·А, (3.6)
где
- расчетная активная мощность осветительных приборов, кВт;
- расчетная реактивная мощность осветительных приборов, квар.
Расчетный ток IР , А
определяется по формуле:
, А, (3.7)
где
- полная электрическая мощность светильников, кВ·А;
- номинальное напряжение, кВ.
Провода и кабели выбирают по следующим условиям:
) по нагреву расчетным током
, А, (3.8)
где
- коэффициент среды, учитывает отличие температуры среды от
заданной в [1];
- коэффициент прокладки, учитывающий снижение допустимой
токовой нагрузки при параллельной прокладке;
- допустимый ток кабеля, А по [1].
) по потере напряжения
, %, (3.9)
где
- допустимая потеря напряжения (
≤ 5 % для жилых и общественных
зданий из [2]);
- расчетный ток линии, А;
L -
длина кабеля, км;
r0, x0 - удельное сопротивление кабеля,
Ом/км из [4];
cosφн - косинус нагрузки (примем 0,96 по
[3]);
sinφн - синус нагрузки (примем 0,28 по
[3]);
Uном -
номинальное напряжение кабеля, В.
Выбираем марку кабеля:
АВБбШв - алюминиевая жила, изоляция из ПВХ пластиката, броня из 2-х
стальных лент, наружная оболочка из ПВХ пластиката.
Пример расчета для жилы освещения улицы Сиреневой, питающейся от ТП 1,
приведен в приложении 4.
4. Выбор места, типа, числа и мощности трансформаторов и трансформаторной
подстанции
.1 Определение типа, числа и мощности трансформаторов трансформаторной
подстанции
От правильного размещения трансформаторной подстанций (ТП) на территории
массовой жилой застройки города, а также числа подстанций и мощности
трансформаторов, установленных в каждой подстанции, зависят экономические
показатели и надежность системы электроснабжения потребителей. Трансформаторные
подстанции следует приблизить к центру питаемых ими групп потребителей, так как
при этом сокращается протяженность низковольтных сетей, снижаются сечения
проводов и жил кабелей, а это приводит к значительной экономии цветных металлов
и снижению потерь энергии. Снижаются также капитальные затраты на сооружение
сетей. Основой для выбора числа трансформаторов ТП является схема
электроснабжения и категории по надежности электроснабжения электроприемников.
Выбор числа трансформаторов зависит от категории надежности и выбранной схемы
электроснабжения подключенных потребителей. В частности, для питания
потребителей I категории и ответственных потребителей II категории применяются
двухтрансформаторные подстанции в сочетании с двухлучевыми схемами питания.
Каждый трансформатор при этом питается от отдельной линии, подключенной к
независимому источнику питания. В случае выхода из строя одного из
трансформаторов другой, в соответствии с допустимой по ПУЭ аварийной
перегрузкой, обеспечивает питание почти всех потребителей, подключенных к ТП.
Перевод нагрузки с отказавшего трансформатора на оставшийся в работе должен
осуществляться автоматически. Для питания потребителей II и III категорий в
зависимости от суммарной нагрузки потребителей могут применяться как двух-, так
и однотрансформаторные подстанции в сочетании с петлевыми схемами питания.
Причем, при применении однотрансформаторных подстанций питание потребителей II
категории в аварийном режиме осуществляется от ближайшей ТП посредством
перемычки.
Hасчетный
максимум активной нагрузки на шинах 0,4 кВ ТП при смешанном питании
потребителей жилых домов и общественных зданий (помещений)
, кВт, определяется по формуле:
, кВт, (4.1)
где Pзд.max - наибольшая из нагрузок зданий, питаемых линией
(ТП), кВт;
kyi -
коэффициент участия в максимуме электрических нагрузок общественных зданий
(помещений) или жилых домов (квартир и силовых электроприемников) [2,
табл.6.13];
Pздi - расчетные нагрузки всех зданий,
кроме здания, имеющего наибольшую нагрузку Pзд.max,
питаемых линией (ТП), кВт;
Pр.осв
- расчетная активная мощность осветительных приборов, кВт.
Расчетный максимум реактивной нагрузки на шинах 0,4 кВ ТП при смешанном
питании потребителей жилых домов и общественных зданий (помещений).
, квар, определяется по формуле:
, квар, (4.2)
где Qзд.max - наибольшая реактивная нагрузка здания из числа,
питаемых от ТП, кВт;
Qздi - расчетные реактивные нагрузки
других зданий, питаемых от ТП, кВт;
kyi -
коэффициент участия в максимуме электрических нагрузок общественных зданий
(помещений) или жилых домов (квартир и силовых электроприемников) [2,
табл.6.13];
Qр.осв
- расчетная реактивная мощность осветительных приборов, квар.
Полная расчетная нагрузка
, кВ·А:
, кВ·А. (4.3)
Далее определим число силовых трансформаторов
, шт., устанавливаемых в ТП:
, шт, (4.4)
где
- расчетная нагрузка потребителей, питаемых от ТП, кВт;
- номинальная мощность силового трансформатора, кВ.А;
- коэффициент загрузки трансформатора, принимаемый в
зависимости от категории надежности потребителей электроэнергии.
Полученное
округляется до ближайшего целого числа.
Определяем загрузку трансформаторов в нормальном режиме работы:
, (4.5)
где
- расчетная активная нагрузка потребителей, питаемых от ТП,
кВ.A;
- число силовых трансформаторов, устанавливаемых в ТП, шт;
- номинальная мощность силового трансформатора, кВ.А.
Согласно [2] для жилых и общественных зданий компенсация реактивной
нагрузки не предусматривается, поэтому вопрос о компенсации реактивной мощности
не рассматривается.
Длительная работа трансформаторов гарантируется при соблюдении
нормированных условий их эксплуатации. Перегрузки по напряжению должны
исключаться схемой и режимом работы электрической сети, а также защитными
устройствами. Поэтому обычно рассматривается только допустимость перегрузок по
мощности.
Перегрузка силовых трансформаторов в послеаварийном режиме
характеризуется коэффициентом
, который определяется по формуле:
. (4.6)
Причем согласно методике, приведенной в [9], допускается перегрузка
трансформаторов:
для масляных трансформаторов - не более 1,4;
для сухих трансформаторов - не более 1,2.
Приведем пример расчета для ТП 2, от которой питаются детский сад,
котельная, магазин продовольственный, парикмахерская, стадион, жилые дома № 10
- 15, 27 - 32, 44 - 49, 60 - 65.
По формуле (4.1) определим расчетный максимум активной нагрузки:
,
кВт.
По формуле (4.2) определим расчетный максимум реактивной нагрузки:
, квар.
По формуле (4.3) определим расчетную полную нагрузку:
По формуле (4.4) определим минимальное число силовых трансформаторов,
устанавливаемых на ТП:
шт.;
шт.;
шт.;
где согласно [6]
= 0,7 - 0,8 , т.к. преобладают потребители II категории.
По формуле (4.5) определим загрузку трансформаторов в нормальном режиме
работы:
По формуле (4.6) определим перегрузку силовых трансформаторов в
послеаварийном режиме:
;
;
Расчеты для остальных ТП проводятся аналогичным образом и пояснений не
требуют. Результаты расчетов нагрузки ТП приведены в приложении 5 таблицах 5.1
и 5.2.
Окончательное решение по выбору трансформаторов необходимо принимать на
основании технико-экономического сравнения вариантов из таблицы. Это сравнение
представлено в следующем подразделе.
Выбираем марку трансформаторов ТМГ. Преимущества трансформаторов ТМГ: не
нуждаются в обслуживании при эксплуатации; отсутствует контакт масла с
воздухом, что обеспечивает сохранность изоляционных свойств масла в течение не
менее 25 лет; более компактны, занимают мало места по сравнению с
трансформаторами с расширителем и воздушной подушкой; малошумящие - уровень
шума не превышает 55 дБ (А); сниженные на 15-20% потери холостого хода по
сравнению с аналогичными трансформаторами других фирм. Характеристики
трансформаторов представлены в таблице 4.3.
Таблица 4.3 - Характеристики и стоимость трансформаторов
|
Тип трансформатора
|
Номинальная мощность
|
Номинальное напряжение
обмоток
|
Потери
|
Uкз
|
Стоимость
|
|
|
ВН
|
НН
|
Рхх
|
Ркз
|
|
|
|
кВ×А
|
кВ
|
кВ
|
кВт
|
кВт
|
%
|
руб.
|
|
ТМГ-160/10/0,4
|
160
|
10
|
0,4
|
0,41
|
2,6
|
4,5
|
108000
|
|
ТМГ-250/10/0,4
|
250
|
10
|
0,4
|
0,55
|
3,1
|
4,5
|
147000
|
|
ТМГ-400/10/0,4
|
400
|
10
|
0,4
|
0,8
|
5,5
|
4,5
|
187000
|
4.2 Технико-экономическое сравнение вариантов
Проведем технико-экономическое сравнение вариантов выбора трансформаторов
на основании методики из [7]. Расчет представлен в приложении 6.
.3 Выбор места расположения ТП
Оптимальное расположение ТП на генеральном плане микрорайона определяется
по методике из [10]. Условный центр активной нагрузки (УЦН) определяется по
выражениям:
,
. (4.7)
Условный центр реактивной нагрузки (УЦН) определяется по выражениям:
,
, (4.8)
где
- активная мощность i-го потребителя, кВт;
- реактивная мощность i-го потребителя, квар;
- координата по оси ОХ i-го потребителя;
- координата по оси ОY i-го потребителя.
В данной методике доказано, что областью размещения координат условного
центра нагрузок являются эллипсы. Если источник питания (в нашем случае ТП)
расположить в зоне эллипса рассеяния, то затраты на систему электроснабжения
будут минимальными.
Найдем условные центры нагрузок (УЦН) для всех частей микрорайона. Данные
расчетов приведены в приложении 5 в таблице 5.3 и пояснения не требуют.
Координаты по чертежу (Лист 1).
Рассчитанные условные центры активной и реактивной нагрузок для ТП
представлены в таблице 4.5.
Таблица 4.5 - Условный центр активной и реактивной нагрузки
|
Номер ТП
|
Sн.т, кВ·А
|
NТ, шт.
|
xа, см
|
уа, мм
|
xр, мм
|
ур, мм
|
|
1
|
160
|
2
|
619,24
|
486,88
|
619,42
|
496,1
|
|
2
|
250
|
1
|
595,9
|
196,02
|
617,36
|
167,01
|
|
3
|
160
|
2
|
228,54
|
224,88
|
199,72
|
192,6
|
|
4
|
160
|
1
|
278,97
|
465,41
|
276,52
|
463,77
|
Располагаем ТП в соответствии с полученными результатами, учитывая
реальное расположение объектов, проездов, а также архитектурные особенности.
5. Расчеты и проеКтирование питающих сетей 10 КВ
.1 Схема распределительной сети 10 кВ
Согласно п. 4.3.2 [1] построение городской электрической сети по условиям
обеспечения необходимой надёжности электроснабжения потребителей выполняется
применительно к основной массе электроприёмников рассматриваемого микрорайона.
Большинство потребителей относится ко 2 категории по обеспечению
надёжности электроснабжения и некоторые - к 3 категории. Исходя из этого,
согласно п. 4.3.9 [1] основными принципами построения распределительной сети
примем сочетание петлевых схем 10 кВ.
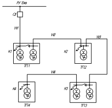
Схема распределительной сети 10 кВ представлена на рис.5.1.
Рисунок 5.1 - Схема распределительной сети 10кВ
.2 Выбор сечения проводов сети 10 кВ
Сеть 10 кВ выполняется самонесущим изолированным проводом СИП-3.
Надежность и эксплуатационная преимущества СИП-3 складываются из следующих
условий:
· провода защищены от схлестывания;
· на таких проводах практически не образуется гололед;
· исключено воровство проводов, так как они не подлежат
вторичной переработки;
· существенно уменьшены габариты линии и соответственно
требования к просеке для прокладки и в процессе эксплуатации;
· простота монтажных работ и соответственно уменьшения их
сроков;
· высокая механическая прочность проводов и соответственно
невозможность их обрыва;
· пожаробезопасность таких линий, основанная на исключении КЗ
при схлестывании;
· сравнительно небольшая стоимость линии (примерно на 35 %
дороже "голых"). При этом происходит значительное сокращение
эксплуатационных расходов (реальное сокращение доходит до 80 %)
Электрические нагрузки сетей 10кВ в соответствии с [5] определяются
умножением суммы расчетных нагрузок трансформаторов отдельных ТП,
присоединенных к данному элементу сети (ЦП, РП, линии и др.), на коэффициент
одновременности, учитывающий совмещение максимумов их нагрузок, принимаемый по
[5, таблица 4.2].
Расчетная нагрузка линии
, кВт, определяется по формуле:
, кВт, (5.1)
где kо - коэффициент одновременности [5,
таблица 4.2];
- полная нагрузка i-ой ТП, получающей питание по данной линии в послеаварийном режиме, кВт.
Расчетный ток линии в послеаварийном режиме Iр, кА, определяется по формуле:
, А, (5.2)
где Sр - полная электрическая нагрузка линии, кВ.А;
Uн -
номинальное напряжение, кВ.
Cечение
жил проводов выбирается по экономической плотности тока в нормальном режиме и
проверяется по допустимому длительному току в аварийном и послеаварийном
режимах, а также по допустимому отклонению напряжения. ( п. 5.1.1 [1]).
Сечение
, согласно п. 1.3.25 [1] определяется как отношение
расчетного тока к экономической плотности тока:
мм2, (5.3)
где
- экономическая плотность тока, принимаемая по табл. 1.3.36
[1] равной 1,4;
- расчётный ток, А.
Проверку выбранного провода на напряжение 10 кВ осуществляют по следующим
условиям [6]:
) По нагреву током послеаварийного режима:
, А, (5.4)
где Iпа - ток послеаварийного режима, А;
kср -
коэффициент среды, учитывает отличие температуры среды от заданной [1, табл.
1.3.3];
kпр -
коэффициент прокладки, учитывающий снижение допустимой токовой нагрузки при
параллельной прокладке [1, табл.1.3.26];
kпер -
коэффициент перегрузки в послеаварийном режиме, kпер =1,25;
kгр -
коэффициент, учитывающий удельное сопротивление грунта [1, табл.1.3.23];
Iдоп -
допустимый ток кабеля, А, [1].
2)
По допустимому отклонению напряжения:
,%, (5.5)
где ΔUдоп - допустимая потеря напряжения: должна быть
5 % [1];
ΔUр - расчетные потери напряжения, %;
Iр -
расчетный ток линии, А;
L -
длина кабеля, км;
r0 -
удельное активное сопротивления кабеля, мОм/м , [1];
x0 -
удельные реактивное сопротивления кабеля, мОм/м; [1];
cosφН, sinφН - косинус и синус нагрузки;
Uном -
номинальное напряжение кабеля, В.
3) По термической стойкости:
, мм2, (5.6)
где Fp - выбранное сечение кабеля, мм2;
Fт.с.
- термически стойкое сечение кабеля, мм2;
IK(3)
- ток трехфазного КЗ, А;
tп -
приведенное время КЗ, с;
С - температурный коэффициент, учитывающий ограничение допустимой
температуры нагрева кабеля, А·с1/2/мм2 .
Для примера, проведем расчет для линии W3.
Определяем мощность по формуле (5.1)
Расчетный ток линии определим по формуле (5.2):
А.
Находим расчетное сечение провода по формуле (5.3):
Предварительно выбираем СИП 3-70. Проверим провод по вышеперечисленным
условиям.
) По нагреву током послеаварийного режима:
,57 < 1.0,9.1,25.1.240 А;
,57 < 270 А.
) Отклонение напряжения составит:
%,
) Термически стойкое сечение определим по условию (5.5):
мм2.
Принимаем для этой линии окончательно сечение F = 70 мм2.
Результаты расчетов других линий представлены в приложении 7.
.3 Расчет потокораспределения в сети 10 кВ
Расчет проводим при условии, что сеть 10 кВ работает в режиме кольца. В
результате расчета необходимо получить точку потокораздела, в которой
подтекающая со всех сторон мощность полностью потребляется.
Схема замещения с параметрами линий и мощностями нагрузок представлена на
рисунке 5.2.
Рисунок 5.2 - Схема
замещения для расчета рабочего режима сети 10 кВ
Произведем расчет потоков согласно схеме на рисунке 5.2:
, кВ
А
, кВ
А.
, кВ
А;
, кВ
А;
, кВ
А;
, кВ
А.
ТП 4 потребляет мощность 750,63, кВ
А, причем по линии W2 получает 685,37, кВ
А, а оставшуюся мощность - 65,26, кВ
А получает по линии W3.
Таким образом точка потокораздела находится на ТП 4. В нормальном режиме
секционный выключатель на ТП 4 разомкнут.
6. Расчет питающих сетей 0,4 КВ
.1 Проектирование системы электроснабжения 0,4 кВ
Рассмотрим потребителей электроэнергии микрорайона по обеспечению
надежности электроснабжения.
Жилые дома относятся к III
категории, могут быть подключены по наиболее простой магистральной схеме, т.к.
они не имеют силовых электроприемников и нет необходимости отделения
осветительной нагрузки от силовой.
Для электроснабжения детских садов и школ, а также других потребителей I и II категории принимаем радиальную схему электроснабжения.
Прокладываем по 2 кабеля к каждому зданию.
.2 Выбор сечения проводов на напряжение 0,4 кВ
Расчетная электрическая нагрузка линии до 1 кВ, Sр.л , кВт, определяется с учетом коэффициента одновременности
по формуле из [5]:
, кВт, (6.1)
где
- расчетные нагрузки других зданий, питаемых по линии, кВт;
- коэффициент одновременности [5, таблица 4.1].
Расчетный ток линии Iрл ,
А, определяется по формуле
, А, (6.2)
где Sр. - полная электрическая нагрузка линии , кВА;
Uн -
номинальное напряжение, кВ.
Проверку выбранного провода на напряжение 0,4 кВ осуществляют по
следующим условиям [6]:
) По нагреву расчетным током
, А, (6.3)
где Iр - расчетный ток кабеля, А ;
kср -
коэффициент среды, учитывает отличие температуры среды от заданной [1];
kпр -
коэффициент прокладки, учитывающий снижение допустимой
токовой нагрузки при параллельной прокладке [1];
Iдоп -
допустимый ток кабеля, А , [1].
) По допустимому отклонению напряжения
, %, (6.4)
где ΔUдоп - допустимая потеря напряжения: должна быть
7 % [1];
ΔUр - расчетная потеря напряжения, %;
Iр -
расчетный ток линии, А;
L -
длина кабеля, км;
r0 -
удельное активное сопротивления кабеля, мОм/м , [1];
x0 -
удельные реактивное сопротивления кабеля, мОм/м; [1];
cosφН, sinφН - косинус и синус нагрузки;
Uном -
номинальное напряжение кабеля, В.
) По термической стойкости
, мм2, (6.5)
где Fp - выбранное сечение кабеля, мм2;
FТ.С.
- термически стойкое сечение кабеля, мм2;
IK(3)
- ток трехфазного КЗ, А;
tП -
приведенное время КЗ, с;
С - температурный коэффициент, учитывающий ограничение допустимой
температуры нагрева кабеля, А·с1/2/мм2.
На основании проведенных исследований установлено, что кабели на
напряжение до 1 кВ можно не проверять на термическую стойкость при КЗ, если
алюминиевые жилы имеют сечение 25 мм2 и более.
Рассмотрим на примере выбор провода для линии W1 (см. лист 1).
Определим по формуле (5.1) расчетную нагрузку линии:
Sр.л .
= 0,5·6,25·4 + 0,32·10,19·14 = 58,15 кВ·А.
Расчетный ток линий определим по формуле (5.2):
А.
Предварительно выбираем провод СИП-2 3х16+1х54,6+1х16.
Проверим провод по вышеперечисленным условиям.
2по нагреву расчетным током:
,
где kср - коэффициент среды, в данном
случае для всех кабелей равен 1 [7];
kпр -
коэффициент прокладки, равен 1 [7];
Iдоп -
допустимый ток кабеля, А (Iдоп =
100 А);
2по допустимому отклонению напряжения:
.
Потери напряжения получились значительно больше допустимого значения,
поэтому необходимо увеличить сечение провода.
Выбираем провод СИП-2 3х95+1х95+1х16 и проверяем допустимое отклонение
напряжения:
Таким образом, выбранный провод удовлетворяет необходимым условиям.
Результаты расчетов воздушных и кабельных линий представлены в приложении
8.
7. Расчеты токов короткого замыкания
.1 Расчет токов короткого замыкания в сети напряжением 10 кВ
Расчеты токов короткого замыкания выполняются для выбора коммутационной
аппаратуры, кабелей и другого электрооборудования с целью проверки их по
условиям термической и динамической стойкости, а также для выбора уставок
устройств релейной защиты и автоматики и проверки их чувствительности.
Расчетная схема и схема замещения представлены на рисунках 7.1 и 7.2
соответственно.
Рисунок 7.1 - Расчетная схема сети 10 кВ
Рисунок 7.2 - Схема замещения
Определим параметры схемы замещения.
Реактивное сопротивление системы определяется по формуле:
, Ом, (7.1)
где Uср - среднее напряжение, кВ;
Iк.с(3)
- ток трехфазного КЗ на стороне 10 кВ, кА.
Активное сопротивление для кабельных линий определим по выражению:
, Ом, (7.2)
где ro.w - удельное активное сопротивление, Ом/км;
l -
длина линии, км.
Индуктивное сопротивление для кабельных линий определим по выражению:
, Ом, (7.3)
где xo.w - удельное активное сопротивление, Ом/км;
l -
длина линии, км.
Полное сопротивление линии определяется по формуле:
(7.4)
Результаты расчетов приведены в приложении 9 таблице 9.1.
Рассчитаем токи трехфазного КЗ в точках, обозначенных на рисунке 7.2.
Ток трехфазного КЗ рассчитывается по формуле:
, (7.5)
где ZΣ - суммарное сопротивление до точки КЗ, Ом.
Ударный ток рассчитывается по формуле:
, (7.6)
где Ку - ударный коэффициент, который определяется по [9] в зависимости
от места КЗ.
Ток двухфазного КЗ рассчитывается по формуле:
, (7.7)
Пример расчета для точки К1
, кА;
, кА;
, кА.
Для других точек КЗ расчет аналогичен. Результаты расчетов представлены в
приложении 9 таблице 9.2.
.2 Расчет токов короткого замыкания в сети напряжением 0,4 кВ
При расчетах токов КЗ для проверки оборудования на термическую и
динамическую стойкость и выбора аппаратуры по отключающей способности выполняются
расчеты металлических КЗ, т.к. в этом случае значения токов КЗ являются
максимальными. При проверке чувствительности устройств релейной защиты и
защитных аппаратов выполняются расчеты дуговых КЗ, т.к. при этом значении токов
КЗ являются минимальными. При расчете токов КЗ необходимо учитывать индуктивные
и активные сопротивления короткозамкнутой цепи. В таких сетях активные
сопротивления значительно превышают индуктивные.
Расчет будем проводить в именованных единицах на основании методики и
соотношений изложенных в [4].
Определим параметры трансформатора:
· Активное сопротивление:
, мОм, (7.8)
где ΔPк - потери КЗ, кВт;
Uном -
низшее номинальное напряжение трансформатора, кВ;
Sном.т.
- номинальная мощность трансформатора, кВ·А.
· Реактивное сопротивление:
, мОм, (7.9)
где Uк - напряжение КЗ, %.
Активное сопротивление линии определим по выражению:
, мОм, (7.10)
где ro.w - удельное активное сопротивление, Ом/км;
l -
длина линии, м.
Реактивное сопротивление линии определим по выражению:
, мОм, (7.11)
где xo.w - удельное реактивное сопротивление, Ом/км;
l -
длина линии, м.
Ток трехфазного КЗ находим по формуле:
, кА, (7.12)
где xΣ
- суммарное реактивное
сопротивление от шин ТП до точки КЗ, мОм;
rΣ - суммарное активное сопротивление
от шин ТП до точки КЗ, мОм.
Ток трехфазного КЗ с учетом дуги находим по формуле:
, кА, (7.13)
где rД - сопротивление дуги, мОм.
Сопротивление дуги находим по формуле:
,мОм, (7.14)
где ЕД - напряженность в стволе дуги, В/мм (ЕД=1,6 В/мм из [4]);
LД -
длина дуги, мм из [4].
Ток однофазного КЗ с учетом дуги находим по формуле:
, кА. (7.15)
где I(1)к.min - ток однофазного КЗ, кА;
Uф -
фазное напряжение, В;
zТ -
сопротивление трансформатора в случае однофазного КЗ, мОм;
zП -
полное сопротивление петли фаза-нуль от трансформатора до точки КЗ, мОм.
, мОм, (7.16)
где xТ1, xТ2, xТ0 -
индуктивные сопротивления трансформатора прямой, обратной и нулевой
последовательности, мОм;
rT1, rT2, rT0 - активные сопротивления трансформатора прямой, обратной и
нулевой последовательности, мОм;
rД -
сопротивление дуги, мОм.
При соединении обмоток трансформатора по схеме Y /Y0 сопротивления
всех последовательностей равны. Следовательно, в нашем случае zТ найдем по формуле:
, мОм, (7.17)
где xТ, rТ - сопротивления трансформатора, мОм;
rД -
сопротивление дуги, мОм.
Ударный ток находится по формуле:
, кА, (7.18)
где kу - ударный коэффициент;
; (7.19)
. (7.20)
Рисунок 7.3 - Расчетная схема и схема замещения
Проведем расчет для линии, питающей жилой дом (№ 60 на генплане).
Расчетная схема и схема замещения представлены на рисунке 7.3.
Произведем расчет параметров схемы замещения.
Сопротивления трансформатора определим по формулам (7.8) и (7.9).
мОм;
мОм.
Сопротивление кабеля и СИП определим по формулам (7.9) и (7.10):
мОм;
мОм;
мОм.
Сопротивления остальных линий рассчитываются аналогично. Результаты
расчета представлены в таблице 7.1.
Таблица 7.1 - Результаты расчета параметров схемы замещения
|
Линия
|
l, м
|
x0, мОм/м
|
r0, мОм/м
|
zП.Ф-0.уд, мОм/м
|
xW, мОм
|
rW, мОм
|
zП.Ф-0, мОм
|
|
W1
|
15
|
0,091
|
1,25
|
2,01
|
1,365
|
18,75
|
30,15
|
|
W2
|
320
|
0,0758
|
0,411
|
0,78
|
24,256
|
131,52
|
249,6
|
|
W3
|
16
|
0,0865
|
2,448
|
3,7
|
1,384
|
39,168
|
59,2
|
Сопротивлений коммутационных аппаратов, трансформаторов тока и контактных
соединений шин и кабелей из [4] представлены в таблице 7.2.
Таблица 7.2 - Сопротивления коммутационных аппаратов, трансформаторов
тока и контактных соединений
|
|
QF1
|
TA1
|
QF2
|
QF3
|
Конт. соед. в т. К1
|
Конт. соед. в т. К2
|
|
линии в месте установки, A
|
389,26
|
389,26
|
73,686
|
14,708
|
389,26
|
73,686
|
|
аппарата, А
|
400
|
400
|
100
|
25
|
400
|
300
|
|
R, мОм
|
0,65
|
0,11
|
2,15
|
15
|
0,006
|
0,027
|
|
X, мОм
|
0,17
|
0,17
|
1,2
|
10,2
|
-
|
-
|
Рассчитаем токи КЗ для точки К1.
xΣ.К1 = 41,964 + 0,17 + 0,17 = 42,304
мОм;
rΣ.К1 = 16,25 + 0,65 + 0,11 + 0,006 =
17,016 мОм;
мОм;
;
;
кА;
мОм;
кА.
Расчет для остальных точек аналогичен. Результаты расчетов представлены в
таблице 7.3.
Таблица 7.3 - Результаты расчетов токов КЗ в сети 0,4 кВ
|
Точка
|
I(3)к.max, кА
|
I(3)к.min, кА
|
iy, кА
|
I(1)к.min, кА
|
|
К1
|
5,065
|
4,159
|
9,188
|
1,357
|
|
К2
|
1,262
|
1,177
|
1,785
|
0,503
|
|
К3
|
-
|
-
|
-
|
0,453
|
Результаты расчетов токов КЗ для остальных ЭП приведены в приложении 9.
8. Выбор и проверка коммутационной и защитной аппаратуры
.1 Выбор коммутационной и защитной аппаратуры в сети 10 кВ
На стороне 10 кВ КТП укомплектована ячейками КСО - 203 со встроенной
аппаратурой, расчет параметров которой приведен ниже. Ячейки КСО-203
комплектуются выключателями нагрузки ВНР, предохранителями ПКТ.
Выключатели нагрузки предназначены для отключения и включения цепей под
нагрузкой, не предназначены для отключения токов КЗ. Используется комбинация
«выключатель нагрузки - предохранитель», что расширяет область применения
выключателей нагрузки, обеспечивается защита цепей от токов КЗ
предохранителями.
Условия выбора и проверки выключателей нагрузки в сети 10 кВ [4]:
1. Соответствие номинального напряжения выключателя
номинальному напряжении сети
:
(8.1)
где
- номинальное напряжение сети, кВ;
- номинальное напряжение выключателя нагрузки, кВ.
2. Соответствие номинального тока выключателя расчетному току защищаемой
цепи:
(8.2)
где
- расчетный максимальный ток, А;
. - номинальный ток выключателя (разъединителя), А.
3. Проверка на электродинамическую стойкость:
(8.3)
где
- ударный ток трехфазного КЗ, кА;
- ток электродинамической стойкости, кА.
4. Проверка на термическую стойкость:
(8.4)
где
- тепловой импульс, кА2·с;
- ток термической стойкости, кА;
- время протекания тока термической стойкости, с.
- время затухания апериодической составляющей тока короткого
замыкания, среднее расчетное значение принимается 0,01 с [3].
Приведем пример выбора выключателя нагрузки для ТП 3. Выбор выключателя
представлен в таблице 8.1.
Таблица 8.1 - Выбор выключателей нагрузки
|
Расчетные данные
|
Тип оборудования
|
|
ВНР-10/400-10зп
|
|
Uном.сети = 10 кВ
|
Uном. = 10 кВ
|
|
Iр.мах = 7,42А
|
Iном. = 400 А
|
|
iy = 4,153 кА
|
iдин = 25 кА
|
|
Вк = 2,0982·(0,1+0,01) =
0,48 кА2·с
|
Iв2 ·t = 10·1 = 10 кА2·с
|
Условия выбора и проверки предохранителей в сети 10 кВ [8]:
1. Соответствие номинального напряжения предохранителя
номинальному напряжении сети
:
(8.5)
где
- номинальное напряжение сети, кВ;
- номинальное напряжение предохранителя, кВ.
2. Номинальный ток плавкой вставки для предохранителей, защищающих
трансформаторы 6 и 10 кВ со стороны высшего напряжения, выбирается равным
примерно двукратному номинальному току трансформатора:
(8.6)
где
- номинальный ток плавкой вставки, А;
- номинальный ток трансформатора, А.
3. Выбранный предохранитель проверяется на чувствительность токам
КЗ:
(8.7)
где
- ток двухфазного короткого замыкания.
4. Выбранный предохранитель проверяется на отключающую способность:
(8.8)
Выбор предохранителя представлен в таблице 8.2.
Таблица 8.2 - Выбор предохранителей
|
Расчетные данные
|
Тип оборудования
|
|
ПКТ103-10-20-12,5У3
|
|
кВ
|
кВ
|
|
А
|
А
|
|
кА
|
кА
|
|
|
|
.2 Выбор коммутационной и защитной аппаратуры в сети 0,4 кВ
Выбор аппаратуры производится для схемы, представленной на рисунке 7.3.
Для защиты сети 0,4 кВ используются автоматические выключатели. Условия выбора
и проверка выключателей в сети 0,4 кВ [6]:
. Соответствие номинального напряжения АВ
номинальному напряжению сети
:
, В, (8.9)
где
- номинальное напряжение сети, В;
- номинальное напряжение выключателя, В.
2. Соответствие номинального тока выключателя расчетному току защищаемой
цепи:
, А, (8.10)
где
- расчетный максимальный ток, А;
- номинальный ток выключателя, А.
3. По току срабатывания при перегрузке:
, А, (8.11)
где
- ток срабатывания при перегрузке, А.
-длительно допустимый ток проводки, А;
4. Токовая отсечка АВ отстраивается от пиковых токов электроприемника:
, А, (8.12)
где
- коэффициент надежности отстройки;
- пиковый ток, А;
- ток срабатывания отсечки, А.
. Выбор времени срабатывания токовой отсечки:
(8.13)
где tсоп - наибольшее время срабатывания
отсечки предыдущей защиты, с;
Δt - ступень селективности, с (Δt = 0,1-0,15 для выключателей серии
ВА)
6. Проверка по условии стойкости при КЗ:
, кА, (8.14)
где
- ток трехфазного КЗ для вводных и секционных выключателей,
кА;
- ток предельной коммутационной способности, кА;
7. Проверка на требуемую чувствительность защиты:
, (8.15)
где
- коэффициент чувствительности отсечки;
- минимальный ток КЗ в конце защищаемой линии, А;
- ток срабатывания отсечки, А;
-коэффициент, учитывающий возможный разброс тока срабатывания
отсечки относительно уставки,
.
Выбираем выключатель QF3,
установленный в ВРУ жилого дома. Выбор автоматического выключателя представлен
в таблице 8.3.
Таблица 8.3 - Выбор
автоматических выключателей
|
Расчетные данные
|
Тип оборудования
|
|
ВА-51-25
|
|
Uном.сети = 380 В
|
Uном = 660
В
|
|
Iр.мах = 14,708 А
|
Iном = 25 А
|
|
Iдоп =
100·1.25 = 125 А
|
Iсп = 21,6 А
|
|
kн·Iпик = 1,5·15,27 = 22,9 А
|
Iсо = 112 А
|
|
Iкз(3) = 1,1 кА
|
Iпкс = 3,8 кА
|
|
|
1,5
|
Распределительное устройство НН 0,38 кВ комплектуется из типовых панелей
ЩО-70, установленных над кабельным каналом и соединенных с трансформаторами
шинами. Панели ЩО-70 предназначены для комплектования устройств напряжением
380/220 В трехфазного переменного тока частотой 50 Гц с глухозаземленной
нейтралью, служащих для приема, распределения электрической энергии защиты
отходящих линий от перегрузок и токов короткого замыкания. Панели
изготавливаются с ошиновками, имеющими электродинамическую стойкость 20 кА.
По назначению панели ЩО-70 делят на: линейные, вводные, секционные,
вводно-линейные, вводно-секционные, панели с аппаратурой АВР, панели
диспетчерского управления уличным освещением.
Панели ввода низкого напряжения комплектуются автоматическим
выключателями Masterpact NW, трансформаторами тока и приборами учета и контроля
электроэнергии.
Линейные панели комплектуются автоматическим выключателями Compact NS(X).
Выбираем выключатель QF2,
установленный в линейном шкафу КТП. Выбор автоматического выключателя
представлен в таблице 8.4.
Таблица 8.4 - Выбор автоматических выключателей
|
Расчетные данные
|
Тип оборудования
|
|
Compact NSX100F
|
|
Uном.сети = 380 В
|
Uном = 660
В
|
|
Iр.мах = 77,78 А
|
Iном = 100 А
|
|
Iдоп = 100·1,25 = 125 А
|
Iсп = 96 А
|
|
kн·Iпик = 1,5·93,34= 140,01 А
|
Iсо = 240 А
|
|
Iкз(3) = 6,06 кА
|
Iпкс = 25 кА
|
|
|
1,5
|
Выбираем выключатель QF1,
установленный во вводном шкафу низкого напряжения КТП. Выбор автоматического
выключателя представлен в таблице 8.5.
Таблица 8.5 - Выбор
автоматических выключателей
|
Расчетные данные
|
Тип оборудования
|
|
Compact NSX400F
|
|
Uном.сети = 380 В
|
Uном = 660
В
|
|
Iр.мах = 392,2 А
|
Iном = 400 А
|
|
Iдоп = 400·1,25 = 500 А
|
Iсп = 400 А
|
|
kн·Iпик = 1,5·470,4= 705,6А
|
Iсо = 800 А
|
|
Iкз(3) = 6,06 кА
|
Iпкс = 36 кА
|
|
|
1,5
|
Выбор трансформаторов тока представлен в таблице 8.6.
Таблица 8.6 - Выбор измерительных трансформаторов тока
|
Расчетные данные
|
Тип оборудования
|
|
ТШЛ-0,66С 400/5 У2
|
|
Uном.сети = 380 В
|
Uном = 660
В
|
|
Iр.мах = 392,2 А
|
Iном = 400 А
|
Выбор остального оборудования приведен в приложении 10.
В результате расчетов выбираются панели ЩО, представленные в таблице 8.7.
Таблица 8.7 - Панели ЩО
|
Тип панели ЩО
|
Марка панели ЩО
|
|
Вводная панель ЩО
|
ЩО-70-1А-45УЗ
|
|
Линейная панель ЩО
|
ЩО-70-1А-15УЗ
|
|
Секционная панель ЩО
|
ЩО-70-1А-74УЗ
|
|
ЩО управления уличным
освещением
|
ЩО-70-1А-94УЗ
|
9. Расчёт релейной защиты
.1 Защита силовых трансформаторов
Согласно п. 3.2.58 [1] в случаях присоединения трансформаторов к линии
без выключателя одним из мероприятий для отключения повреждений в
трансформаторе является установка предохранителей на стороне высшего напряжения
понижающего трансформатора.
Выбираем предохранители ПКТ, получившие наибольшее распространение.
Для предотвращения срабатывания предохранителей в нормальном режиме и при
бросках тока намагничивания трансформатора плавкую вставку предохранителя
выбирают с номинальным током [10].
А, (9.1)
где
- номинальный ток трансформатора, А.
(9.2)
В формуле (9.2) подставляем известные данные и получаем:
По формуле (9.1) получаем:
Выбираем предохранители ПКТ-103-10-20 с
По времятоковой характеристике, приведённой на рисунке 5.2 [10], находим,
что при токе
время плавления вставки предохранителя составляет
.2 Защита линий 10 кВ
Для защиты линий 10 кВ предусматриваем токовую отсечку и МТЗ
(максимальная токовая защита) согласно пункту 3.2.94 [1]. Также предусматриваем
защиту от замыкания на землю по пункту 3.2.96 [1].
Релейная защита на цифровой базе будет выполнена с использованием
микропроцессорных устройств фирмы «Радиус-Автоматика».
Защиту линии выполним микропроцессорным устройством релейной защиты сетей
напряжением 6-35 кВ - «Сириус - Л».
АВР будет выполнена с помощью «Сириус - С».
Расчёты ведутся аналогичным образом как для электромеханической части
РЗА, но с учётом своих коэффициентов и времятоковых характеристик.
Основные технические данные устройств Сириус.
Питание устройства осуществляется от источника переменного (от 45 до 55
Гц), постоянного или выпрямленного тока напряжением от 178 до 242В или от
источника постоянного тока напряжением от 88 до 132В, в зависимости от
исполнения.
Мощность, потребляемая устройством от источника оперативного постоянного
тока в дежурном режиме - не более 15 Вт, в режиме срабатывания защит - не более
30 Вт.
Дополнительная погрешность измерения токов, а также дополнительная
погрешность срабатывания блока при изменении температуры окружающей среды в
рабочем диапазоне не превышает 1% на каждые 10°С относительно 20 °С.
Дополнительная погрешность измерения токов и срабатывания блока при
изменении частоты входных сигналов в диапазоне от 45 до 55 Гц не превышает 2%
на каждый 1 Гц относительно 50 Гц.
Устройство не срабатывает ложно и не повреждается:
при снятии и подаче оперативного тока, а также при перерывах питания
любой длительности с последующим восстановлением;
при подаче напряжения оперативного постоянного тока обратной полярности;
при замыкании на землю цепей оперативного тока.
.2.1 Селективная токовая отсечка без выдержки времени
Ток срабатывания токовой отсечки мгновенного действия Icо, кА, определим по формуле:
, А, (9.3)
где
- коэффициент надёжности (
=1,1; [10], таблица 3.2).
Ток
определяется при максимальном режиме питающей системы (
А).
Ток срабатывания реле определим по формуле:
, А, (9.4)
где kсх - коэффициент схемы;
kТ -
коэффициент трансформации трансформатора тока.
Оценку коэффициента чувствительности отсечки производят при наиболее
благоприятных условиях: при трёхфазном КЗ в месте установки защиты:
, (9.5)
где Ik(3) - ток трехфазного КЗ, кА.
Защиту будем выполнять по однорелейной схеме. Схема соединений ТТ -
неполная звезда (kсх=1).
Трансформатор тока выберем марки ТПЛМ-10 класса Р с kТ =500/5.
Рассчитаем параметры токовой отсечки.
А;
А.
Чувствительность определяем по формуле (9.5):
> 1,2.
.2.2 МТЗ с выдержкой времени
Ток срабатывания МТЗ определим по формуле:
, А, (9.6)
где kн - коэффициент надежности;
kсзп -
коэффициент самозапуска;
kв -
коэффициент возврата;
Iраб.МАХ,W - максимальный рабочий ток, А.
Ток срабатывания реле и коэффициент чувствительности МТЗ определяется
аналогично, как и для токовой отсечки по (9.4) и (9.5).
При выборе тока срабатывания МТЗ используется ток послеаварийного режима,
например, обрыв на линии между КТП(м)-250 КБО №4 и ТП(к)-400 РДК №31. В этом
случае ток
А.
А;
А.
> 1,5 .
Защита от замыкания на землю подключается через трансформаторы тока
нулевой последовательности. Это защита с действием на сигнал, поэтому
устанавливается на главной понизительной подстанции, где есть обслуживающий
персонал.
Селективность действия МТЗ осуществляется путём выбора соответствующей
выдержки времени, которая должна согласовываться с временем сгорания
предохранителя при токах равным токам перегрузки.
с, (9.7)
.
где
- время срабатывания предохранителя при I = 202 А;
- ступень селективности.
Проверка на 10% погрешность осуществляется при двухфазном КЗ для схемы соединения
ТТ в неполную звезду. Кратность
определяется по расчётному току отсечки:
, (9.8)
.
По кривой предельной кратности для трансформатора типа ТПЛМ-10
Ом ([10] , рисунок 7.6).
Фактическое расчетное сопротивление нагрузки:
, Ом, (9.9)
где
- сопротивления прямого и обратного проводов (
Ом);
- переходное сопротивление в контактных соединениях (
Ом);
- сопротивление приборов (устройства “Сириус 2Л”).
Ом (9.10)
где SПРИБ - мощность, потребляемая “Сириус
2Л”;
I2 -
вторичный номинальный ток устройства.
Сопротивление “Сириус 2Л”:
Коэффициент 0,8 в учитывает снижение сопротивления реле при больших
токах.
Ом.
Из результатов расчетов видно, что
меньше, чем
Ом и, следовательно, полная
погрешность ТТ
<10%.
9.3 Расчет устройства автоматического включения резерва
Функция автоматического включения резерва (АВР) выполняется совместными
действиями «Сириус-С» (секционный выключатель) и двух «Сириус-В» (вводные
выключатели).
«Сириус-В» выполняет следующие функции:
1 контролирует напряжения UAB, UBC на
секции, напряжение до выключателя UВНР (схема нормального режима) и формирует
команды управления выключателем ввода и секционным выключателем;
2 выполняет АВР без выдержки времени
при срабатывании защит трансформатора;
3 контролирует параметры напряжения на
секции и формирует сигнал “Разрешение АВР” для «Сириус-С» соседней секции.
«Сириус-С» выполняет команды “Включение”, поступающие от «Сириус-В», без
выдержки времени. Исходной информацией для пуска и срабатывания АВР является
уровень напряжений UАВ, UВС и UВНР, контролируемых «Сириус-В», положение
силового выключателя ввода (“Вкл.”/”Откл”), а также наличие сигнала
"Разрешение АВР" от «Сириус-В» соседней секции.
1. Напряжение срабатывания защиты минимального действия:
; (9.11)
В.
. Уставка на резервном источнике определяется из условия отстройки
от минимального рабочего напряжения :
; (9.12)
В.
Время срабатывания АВР:
tАВР =
tмтз.В.В + Δt ; (9.13)
tАВР.ВН
= 0,9 + 0,4 = 1,3 с;
tАВР.НН
= 1,1 + 0,4 = 1,5 с.
10. Проектирование системы учета и контроля электрической энергии
.1 Краткая характеристика автоматизированных систем контроля и учета
электроэнергии (АСКУЭ).
Автоматизированные системы контроля и учета электроэнергии - АСКУЭ
обеспечивают коммерческий и технический учет потребления или отпуска
электроэнергии, оперативный контроль текущей нагрузки.
При внедрении системы АСКУЭ повышается качество учета энергоресурсов,
оперативность и достоверность информации. Эта система позволяет точнее
соблюдать заданный режим производства и потребления электроэнергии (контроль
перегрузки, соблюдение заданного графика нагрузки и пр.) и дает возможность
снизить потери электроэнергии.
Функции АСКУЭ
измерение объемов и параметров качества поставки/потребления
энергоресурсов;
контроль поставки/потребления энергоресурсов по всем точкам и объектам
учета в заданных временных интервалах;
сбор, обработка, хранение и отображение информации о поставке/потреблении
электроэнергии;
одновременное предоставление данных по всем точкам измерения;
оперативный мониторинг и контроль нагрузок в реальном времени;
расчет баланса объекта и системы в целом;
учет потерь энергии в схемах соединений;
контроль работоспособности приборов учета и вычислительного оборудования.
Таблица 10.1 Приборы учета электрической энергии
|
Место установки
|
Счетчик
|
Uном, В
|
Iном, А
|
Примечание
|
|
Квартира
|
Меркурий 230
|
230
|
5-60
|
Однофазный,
жидкокристаллический индикатор, 2 тарифные зоны
|
|
Жилищно-коммунальные
предприятия и организации, бюджетные потребители
|
Меркурий 230
|
230
|
10-100
|
Трехфазный,
жидкокристаллический индикатор, 2 тарифные зоны
|
|
ВРУ
|
Меркурий 230
|
230
|
10-100
|
Трехфазный,
жидкокристаллический индикатор, 2 тарифные зоны
|
|
Ввод НН ТП
|
Меркурий 230
|
400/ 230
|
5-50
|
Трехфазный
жидкокристаллический индикатор
|
Счетчики электрической энергии следует устанавливать в точках балансового
разграничения с энергоснабжающей организацией: на ВРУ, на вводах низшего
напряжения силовых трансформаторов ТП, в которых щит низшего напряжения
обслуживается эксплуатационным персоналом абонента, на вводах в квартиры жилых
домов [7].
В общественных зданиях, в которых размещено несколько потребителей
электроэнергии, учёт должен предусматриваться для каждого потребителя,
обособленного в административно-хозяйственном отношении (ателье, магазины,
мастерские, склады, жилищно-эксплуатационные конторы и т.п.).
В жилых зданиях квартирного типа следует устанавливать один однофазный
расчетный счетчик на каждую квартиру. Их рекомендуется размещать совместно с
аппаратами защиты (предохранителями, автоматическими выключателями) и
выключателями (для счетчиков) на общих квартирных щитках.
11. Разработка
мероприятий по энергосбережению
Под понятием энергосбережение понимают реализацию научных, правовых,
производственных, организационных, экономических и технических мер,
направленных на эффективное и экономное использование топливно-энергетических ресурсов
для привлечения в хозяйственный оборот источников возобновляемой энергии.
Частое увеличение спроса на энергетические ресурсы, повышение тарифов на них,
сокращение запасов природных ископаемых - все это делает энергосбережение
важным и придает ему особое значение. Также энергосбережение является важной
задачей по сохранению разнообразных природных ресурсов.
В данной выпускной квалификационной работе в качестве мероприятия по
энергосбережению была принята модернизация наружной осветительной системы, основанная
на замене светильников ЖКУ с лампами ДНаТ современными энергосберегающими
светодиодными светильниками.
Основные преимущества светодиодных светильников:
) срок службы светодиодных светильников значительно превышает
существующие аналоги (срок непрерывной работы светильника не менее 100 000
реальных часов, что эквивалентно 25 годам эксплуатации, при 10 часовой работе в
день). С течением времени такие его основные характеристики как световой поток
и сила света практически не претерпевают изменений;
) экономичность энергопотребления. На 70% снижается энергопотребление по
сравнению со светильниками, где применяются традиционные газоразрядные лампы
ДРЛ и ДНаТ;
) полная экологическая безопасность позволяет сохранять окружающую среду,
не требуя специальных условий по утилизации (не содержит ртути, ее производных
и других ядовитых, вредных или опасных составляющих материалов и веществ).
Отслужившую ртутную лампу необходимо отправить на утилизацию, что требует
дополнительных денежных затрат. Утечка ртути или других газов из лампы при ее
повреждении приведет к возникновению экологических проблем (негативное влияние
на здоровье людей, загрязнение окружающей среды и т.п.). Так, любая ртутная
лампа содержит до 100 мг сильнодействующего вещества - паров ртути. Предельно
допустимая концентрация этих паров в населенном пункте равняется 0,0003 мг/ м².
можно отметить, что эта
опасная проблема остается, если возникает бой ламп при транспортировке и
эксплуатации;
) высокая надежность, механическая прочность, виброустойчивость
светодиодных светильников. Это достигается тем, что конструкция светильника
состоит из прочного корпуса, выполненного из алюминиевого профиля позволяет
добиться защиты светильника от пыли, насекомых, брызг. Отсутствие нити
накаливания, стеклянных трубок и колб дает высокую ударо- и виброустойчивость.
Поликарбонатное стекло выдерживает значительные ударные нагрузки и выстрелы
пневматического оружия;
) отсутствие необходимости замены светодиодов и обслуживания светильников
в течение всего срока эксплуатации позволяет значительно экономить на
обслуживающих мероприятиях и персонале.
Проведем технико-экономическое сравнение светодиодных светильников ДКУ
01-130-001и светильников с натриевыми лампами ЖКУ-21-100.
Расчёт годовых затрат при 10 часовой работе в день произведём по
формулам:
, руб., (11.1)
где
- годовые затраты, руб.;
- нормативный коэффициент экономической эффективности
(принимаем равным 0,25);
- стоимость оборудования, руб.;
- потери электроэнергии, руб.
Потери электроэнергии определяются по выражению:
, руб., (11.2)
где
- стоимость потерь электроэнергии (в нашем случае
, руб./кВт·ч);
- потери электроэнергии в системе уличного освещения
микрорайона (принимаем равным 3% и 11% от суммарной осветительной нагрузки
микрорайона для светодиодных светильников и светильников с натриевыми лампами
соответственно), кВт·ч.
После подстановки числовых значений получаем годовые затраты, указанные в
таблице 11.1.
Таблица 11.1 - Годовые затраты
|
Наименование светильника
|
Кол-во, шт.
|
|
, руб.
|
, руб./кВт·ч
|
, кВт·ч
|
, руб.
|
руб.
|
|
ЖКУ-21-100
|
130
|
0,25
|
4335
|
2,68
|
4858,15
|
12825,52
|
143959,27
|
|
ДКУ 01-130-001
|
130
|
0,25
|
7400
|
2,68
|
596,23
|
1574,05
|
225424,05
|
Посчитаем суммарные затраты на светодиодные светильники и светильники с
натриевыми лампами:
, руб.;
, руб.
Посчитаем суммарные потери для светодиодных светильников и светильников с
натриевыми лампами:
, руб.;
, руб.
Прибыль (экономия) от установки светодиодных светильников равняется:
, руб.
Таким образом, при увеличении затрат на 170207,48 руб. мы добились
прибыли в 19264,77, руб. в год.
Срок окупаемости (Ток) определяется:
, год, (11.3)
где
- затраты, руб.;
- прибыль i
года, руб.;
- амортизационные отчисления, руб.;
- дисконт i
года.
Дисконт (текущая стоимость единицы) определяется как:
, (11.4)
где Е - нормативный коэффициент эффективности инвестиций, определяемый
процентной ставкой Центробанка и процентом конкретного инвестора, 25%;
i -
порядковый номер года.
Амортизационные отчисления составляют 6% от стоимости оборудования:
А=0,06∙401154,36=24069,26, руб.
Коэффициент дисконтирования первого года:
, руб.
Коэффициент дисконтирования второго года:
, руб.
Коэффициент дисконтирования третьего года:
, руб.
Коэффициент дисконтирования четвертого года:
, руб.
Коэффициент дисконтирования пятого года:
, руб.
Коэффициент дисконтирования шестого года:
, руб.
Коэффициент дисконтирования седьмого года:
, руб.
Коэффициент дисконтирования восьмого года:
, руб.
Коэффициент дисконтирования девятого года:
, руб.
Коэффициент дисконтирования десятого года:
, руб.
Сложив все коэффициенты дисконтирования, получим:
Т. к.
, то срок окупаемости составит 10 лет, при сроке службы
светильника 25 лет.
12. Организационно-экономическая часть
.1 Технико-экономическое обоснование выбора схемы электроснабжения
Для технико-экономического сравнения схем электроснабжения рассмотрим схемы
с 2, 3 и 4 ТП. Согласно пункту 4, определим мощность ТП и ЦЭН. Результаты
расчетов представлены в приложении 11 таблице 11.1.
Расположение ТП представлено на листе 3.
Проведем технико-экономическое сравнение вариантов выбора трансформаторов
согласно пункту 4.2. Результаты представлены в приложении 10.
Определим суммарные приведенные затраты для кабельных линий и СИП:
, руб, (12.1)
где Кн.кл - капитальные вложения в кабельные линии, руб.;
Е - норма дисконта, приемлемая для инвестора норма дохода на капитал,
;
Ипкл - стоимость потерь в кабельных линих, руб.;
Иобсл.рем.ам.кл - затраты на обслуживание, ремонт и амортизацию, руб.
Потери в кабельных линиях определяются:
, руб, (12.2)
где С0 - стоимость 1кВт×ч, руб, С0=2,68 руб/кВт·ч (для частных лиц, проживающих в
сельской местности);
DWкл - годовые потери в кабельной линии, кВт×ч.
кВт×ч, (12.3)
где Iр - расчетный ток в кабельных линиях, А;- удельное активное
сопротивление кабельной линии, Ом/км;- длина линии, м;
t - время максимальных потерь.
(12.4)
где
- время использования максимума нагрузок, (
) [7].
ч.
Капитальные вложения в кабельные линии определяются по формуле:
, тыс.руб., (12.5)
где Ц - цена на оборудование (2014 года), тыс. руб.
- индекс цен оборудования (I=1);
σт - коэффициент, учитывающий
транспортно-заготовительные работы, связанные с приобретением оборудования (σт=0,1);
σс - коэффициент, учитывающий затраты
на строительные работы (σт=0,02 - 0,15 в зависимости от массы и сложности
оборудования);
σм - коэффициент, учитывающий затраты
на монтаж и отладку оборудования (σм=0,1 - 0,15 от оптовой цены на
оборудование).
Затраты на обслуживание, ремонт и амортизацию определяются по формуле:
, руб., (12.6)
где На=5% - норма амортизационных отчислений;
Нобсл=2% - норма обслуживания оборудования;
Нрем.=0,3% - норма ремонта оборудования.
Приведем пример расчета для 1 варианта для линии W1, выполненной проводом СИП-2 3х150+1х95+1х16. Определим
годовые потери по формуле (11.3):
Определим стоимость потерь в линии по формуле (12.2):
Найдем затраты на капитальные вложения по формуле (12.5):
Определим затраты на обслуживание, ремонт и амортизацию по формуле
(11.6):
Суммарные затраты найдем по формуле (12.1):
Далее производятся аналогичные расчеты суммарных приведенных затрат
кабельных линий для остальных вариантов схем электроснабжения, результаты
которых сводятся в таблицы приложения 11. Из расчетов видно, что вариант 3
получился наиболее экономически выгодным.
.2 Сметно-финансовый расчет затрат на монтаж и пусконаладочные работы
схемы электроснабжения
На основании схемы электроснабжения (Лист 2) разрабатывается
смета-спецификация оборудования, содержащая список монтируемого оборудования и
расходных материалов, которые включаются в смету.
Смета-спецификация является упрощенной формой «Ведомости необходимого для
выполнения всего объема работ электротехнического оборудования и
вспомогательных материалов».
Смета-спецификация представлена в Приложении 12.
Полная сметная стоимость строительно-монтажных работ является
обоснованием необходимого объема инвестиций (капитальных вложений).
Утвержденная смета является предельно-допустимой величиной инвестиций на весь
период строительства.
Для расчетов используется сборник № 8 ТЕРм-2001, прейскуранты оптовых
цен, ТЕРп-2001-01 предназначен для определения прямых затрат в сметной
стоимости пусконаладочных работ по электротехническим устройствам на вводимые в
эксплуатацию здания и сооружения.
Определение сметной стоимости на приобретение электрооборудования и его
монтаж составляется в виде таблицы (приложение 13).
Смета затрат на пусконаладочные работы представлена в приложении 14.
Пересчет сметы в цены текущего года проводится с помощью корректирующих
коэффициентов, характеризующих цепные темпы инфляции по отдельным видам товаров
и услуг.
Для того чтобы определить сметную стоимость строящегося объекта в ценах
текущего периода, необходимо исчислить полную сметную стоимость строящегося
объекта, т.е. учесть накладные расходы, которые определились на период, когда
действовали прейскурантные цены.
На основании сметно-финансового расчета по проектируемому объекту
определяются общие суммы затрат на приобретение оборудования, стоимость
строительно-монтажных работ, стоимость затрат на заработную плату основных
производственных рабочих и вспомогательных рабочих, работающих и эксплуатирующих
машины и механизмы. Затем определяется сумма накладных расходов: затрат на тару
и упаковку; транспортные расходы; заготовительно-складские расходы; накладные
расходы на заработную плату; затраты снабжающей организации и плановые
накопления.
Пересчет сметы в цены текущего года проведен в приложении 15.
.3 Организация работ по вводу объекта в эксплуатацию
Срок выполнения монтажных работ для проектируемой схемы 3 месяца. Исходя
из заданного срока выполнения строительно-монтажных работ, рассчитываем явочную
численность бригад электромонтажников по формуле:
(12.7)
где Чя - явочная численность электромонтажников;
Т - общие трудозатраты выполнения монтажных и пусконаладочных работ;
Тпл - плановый срок выполнения строительно-монтажных и пусконаладочных
работ;
Кв - коэффициент выполнения норм труда;
Ки - коэффициент использования рабочего времени.
(12.8)
где Чспис - списочное число электромонтажников;
Кнв - плановый коэффициент невыходов на работу, учитывает плановые
невыходы работающих в связи с предоставление работникам очередного отпуска,
учебного отпуска, потери рабочего времени по болезни, потери трудоспособности
выполнения государственных обязанностей и другие плановые потери. Для
большинства предприятий Кнв=1,1…1,15.
Принимаем число электромонтажников равное 9 человек.
Заключение
В данной выпускной квалификационной работе было рассмотрено
электроснабжение населенного пункта.
В ходе проектирования было выяснено, что большую часть составляют
потребители II категории надежности.
Проектирование начиналось с определения расчетной электрической нагрузки
зданий, как жилых, так и общественных, а также нагрузки наружного освещения.
Далее определялось место расположения трансформаторных подстанций, выбиралось
число и мощность трансформаторов ТП. Затем была разработана схема
электроснабжения, выбраны марки и сечения кабелей на напряжение 10 и 0,4 кВ.
Далее были рассчитаны токи коротких замыканий в разработанной схеме. Был
выполнен расчет контура заземления проектируемой подстанции.
Была разработана релейная защита сети 10 кВ. В
организационно-экономической части решены следующие вопросы: выполнено
технико-экономическое обоснование выбора схемы электроснабжения, произведён
расчет сметной стоимости в ценах 2016 года, расчет численности электромонтажной
бригады, построение ленточного графика.
Список использованных источников
1. Правила устройства электроустановок 7-е изд. - М.:
Издательство ЭНОС, 2014.
. Свод правил по проектированию и строительству.
Проектирование и монтаж электроустановок жилых и общественных зданий: СП
31-110-2004: введ. 07.06.04. - М.: Госстрой России, 2004. - 51 с.
. Кнорринг Г. М. Справочная книга для проектирования
электрического освещения/ Г. М. Кнорринг, И. М. Фадин, В. Н. Сидоров - 2-е изд.
- СПб.: Энергоатомиздат. Санкт-Петербургское отд-ние, 2006. - 448 с.: ил.
4. СНиП 23-05-95 Естественное и искусственное освещение.
. Методические указания по дипломному проектированию: «Расчет
нагрузок сельских электрических сетей»/ Е. Я. Абрамова, С. К. Алешина -
Оренбург.: ОГУ, 2002. - 26 с.
. Старкова, Л.Е. Проектирование цехового электроснабжения:
учеб. пособие / Л. Е. Старкова, В. В. Орлов - Вологда.: ВоГТУ, 2006. - 175 с.
. Федоров А.А., Старкова Л.Е. Учебное пособие для курсового и
дипломного проектирования. - М.: Энергоатомиздат, 2006. - 368 с.: ил.
8. ГОСТ 13109-97 Нормы качества электрической энергии в
системах электроснабжения общего значения. / Межгосударственный совет по
стандартизации, метрологии и сертификации. - введ. 01.01.97. - М.: Изд-во
стандартов, 1998. - 26 с.: ил.
9.
ГОСТ 27514-87 Короткие замыкания в электроустановках. Методы расчета в
электроустановках переменного тока напряжением свыше 1 кВ. / Министерство
энергетики и электрификации СССР. - введ. 01. 01. 89. - М: Изд-во стандартов,
1989. - 40 с.: ил.
10. М.А. Шабад Релейная защита трансформаторов. - М.:
Энергоатомиздат, 2004. - 144 с.: ил.
Приложение 1
Список электроприемников микрорайона
Таблица 1.1 - Список электроприемников микрорайона
|
Номер по плану
|
Потребитель
|
Удельная мощность, кВт
|
Количество
|
Категория надежности
|
|
1-3, 8-11, 18-26, 40-45,
51-53, 57-63, 66-75, 81-83, 88-91
|
Жилые дома с электрическими
плитами мощностью до 8,5 кВт;
|
10
|
49
|
III
|
|
4-7, 27-29, 35-39, 46-47,
54-56, 84-87
|
Жилые дома с плитами на
сжиженном газе
|
6
|
21
|
III
|
|
12-15, 30-32, 48-49, 64-65,
76-80, 92-95
|
Коттеджи с электрическими
плитами мощностью до 10,5 кВт
|
14
|
20
|
III
|
|
33, 96
|
Магазины продовольственные
|
0,25
|
2
|
II
|
|
16
|
Детский сад
|
0,46
|
1
|
II
|
|
17
|
Котельная
|
20
|
1
|
I
|
|
34
|
Парикмахерская
|
1,5
|
1
|
III
|
|
50
|
Стадион
|
18
|
1
|
III
|
|
97
|
Аптека
|
0,16
|
1
|
III
|
|
98
|
Магазин бытовой техники
|
0,16
|
1
|
III
|
|
99
|
Автомойка
|
0,06
|
1
|
III
|
|
100
|
Магазин автозапчастей
|
0,16
|
1
|
III
|
|
101
|
Шиномонтаж
|
5
|
1
|
III
|
|
102
|
Автозаправочная станция
|
25
|
1
|
I
|
Приложение 2
Расчетные нагрузки общественных зданий
Таблица 2.1 - Расчетные нагрузки жилых домов
|
№ на ген. плане
|
Наименование
электроприемника
|
Рр.ж.д, кВт
|
tgφ,
о.е.
|
Qр.ж.д, квар
|
Sр.ж.д, кВ·А
|
Iр.ж.д, А
|
|
1-3, 8-11, 18-26, 40-45,
51-53, 57-63, 66-75, 81-83, 88-91
|
Жилой дом с электрической
плитой мощностью до 8,5 кВт
|
10
|
0,2
|
2
|
14,7
|
|
4-7, 27-29, 35-39, 46-47,
54-56, 84-87
|
Жилой дом с плитой на
сжиженном газе
|
6
|
0,29
|
1,75
|
6,25
|
9,02
|
|
12-15, 30-32, 48-49, 64-65,
76-80, 92-95
|
Коттедж с электрической
плитой мощностью до 10,5 кВт
|
14
|
0,2
|
2,8
|
14,27
|
20,6
|
Таблица 2.2 - Расчетные нагрузки общественных зданий
|
№ на ген. плане
|
Наименование
электроприемника
|
n, мест
|
Руд.о.з, кВт/чел
|
Рр.о.з., кВт
|
tgφ,
о.е.
|
Qр.о.з, квар
|
Sр.о.з, кВ·А
|
Iр.о.з, А
|
|
Учреждения образования
|
|
16
|
Детские ясли - сад
|
120
|
0,46
|
55,2
|
0,2
|
11,04
|
56,29
|
81,25
|
|
Предприятия в сфере услуг
|
|
34
|
Парикмахерская
|
6
|
1,5
|
9
|
0,25
|
2,25
|
9,28
|
13,4
|
Таблица 2.3 - Расчетные нагрузки общественных зданий
|
№ на ген. плане
|
Наименование
электроприемника
|
S, м2
|
Руд.о.з, кВт/ м2
|
Рр.о.з., кВт
|
tgφ,
о.е.
|
Qр.о.з, квар
|
Sр.о.з, кВ·А
|
Iр.о.з, А
|
|
Предприятия торговли
|
|
33
|
Магазин продовольственный
№1
|
240
|
0,25
|
60
|
0,62
|
37,2
|
70,6
|
101,9
|
|
96
|
Магазин продовольственный
№2
|
180
|
0,25
|
45
|
0,62
|
27,9
|
52,95
|
76,43
|
|
97
|
Аптека
|
100
|
0,16
|
16
|
0,62
|
9,92
|
18,83
|
27,18
|
|
98
|
Магазин бытовой техники
|
200
|
0,16
|
32
|
0,62
|
19,84
|
37,65
|
54,34
|
|
100
|
Магазин автозапчастей
|
100
|
0,16
|
16
|
0,62
|
9,92
|
18,83
|
27,18
|
|
Предприятия в сфере услуг
|
|
99
|
Автомойка
|
150
|
0,06
|
9
|
0,25
|
2,25
|
9,28
|
13,4
|
|
|
|
|
|
|
|
|
|
|
Таблица 2.4 - Расчетные нагрузки общественных зданий
|
№ на ген. плане
|
Наименование
электроприемника
|
Рр.о.з., кВт
|
tgφ,
о.е.
|
Qр.о.з, квар
|
Sр.о.з, кВ·А
|
Iр.о.з, А
|
|
101
|
Шиномонтаж
|
5
|
0,43
|
2,15
|
5,44
|
7,85
|
|
102
|
Автозаправочная станция
|
25
|
0,43
|
10,75
|
27,2
|
39,26
|
|
Предприятие коммунального
обслуживания
|
|
17
|
Котельная
|
20
|
0,43
|
8,6
|
21,77
|
31,42
|
|
Спортивные сооружения
|
|
50
|
Стадион
|
18
|
0,31
|
5,58
|
18,9
|
27,28
|
Приложение 3
Расположение светильников
Рисунок 3.1 - Расположение светильников на игровой площадке детского
сада:
- здание детского сада; 2 - подходы к корпусам и площадкам детского сада;
3 - игровые площадки детского сада.
Рисунок 3.2 - Расположение светильников на игровой площадке детского сада
Рисунок 3.3 - Расположение светильников на территории автостоянки
Рисунок 3.4 - План расположения объектов на территории автостоянки:
- здание аптеки; 2 - здание магазина бытовой техники 3 - здание
продуктового магазина.
Рисунок 3.5 - Изолинии освещенности территории автостоянки
Рисунок 3.6 - Градации освещенности территории автостоянки
Рисунок 3.7 - График значений освещенности территории автостоянки
Рисунок 3.8 - План расположения светильников на территории стадиона
Рисунок 3.9 - План расположения спортивных объектов на территории
стадиона:
- футбольное поле; 2 - беговые дорожки.
Рисунок 3.10 - Изолинии освещенности футбольного поля
Рисунок 3.11 - Градации освещенности футбольного поля
Рисунок 3.12 - График значений освещенности футбольного поля
Рисунок 3.13 - График значений освещенности беговых дорожек
Рисунок 3.14 - План территории АЗС:
- территория АЗС имеющая проезжую часть; 2 - место слива нефтепродуктов;
3 - подъездные пути к АЗС.
Рисунок 3.15 - План расположения светильников
Рисунок 3.16 - План расположения объектов на территории АЗС:
обозначено здание АЗС; 2 - места заправки.
Рисунок 3.17 - Изолинии освещенности проезжей части территории АЗС
Рисунок 3.18 - Градации освещенности проезжей части территории АЗС
Рисунок 3.19 - График значений освещенности проезжей части территории АЗС
Рисунок 3.20 - Изолинии освещенности места слива нефтепродуктов
Рисунок 3.21 - Градация освещенности места слива нефтепродуктов
Рисунок 3.22 - График значений освещенности места слива нефтепродуктов
Рисунок 3.23 - Изолинии освещенности подъездных путей к АЗС
Рисунок 3.24 - Градации освещенности подъездных путей к АЗС
Рисунок 3.25 - График значений освещенности подъездных путей к АЗС
Приложение 4
Освещение улицы Сиреневой
Активную мощность находим по формуле (3.4):
кВт.
Реактивную мощность определяем по формуле (3.5):
квар.
Полную мощность определяем по формуле (3.6):
кВ·А.
Расчетный ток находим по формуле (3.7):
Выбираем сечение жилы освещения 16 мм2. Проверяем выбранное сечение по
условиям (3.8) и (3.9):
) по нагреву расчетным током
А,
) по потере напряжения
%.
Таким образом видно, что выбранное сечение удовлетворяет необходимым
условиям.
Результаты расчетов кабельных линий и проводов представлены в таблице
4.1.
Таблица 4.1 - Выбор сечения кабелей и проводов
|
Освещаемая территория
|
Iр, А
|
L, км
|
Iд, А
|
Iд·Кср·Кпр
|
ΔU,
%
|
Марка кабеля и провода
|
|
ТП 1
|
|
Ул. Сиреневая
|
7,22
|
0,34
|
100
|
100
|
3,21
|
СИП-2 3х95+1х95+1х16
|
|
Ул. Сиреневая (до ЭП № 34)
|
1,6
|
0,07
|
100
|
100
|
1,15
|
СИП-2 3х95+1х95+1х16
|
|
Ул. Лазурная
|
5,62
|
0,245
|
100
|
100
|
2,33
|
СИП-2 3х95+1х95+1х16
|
|
Детский сад
|
4,01
|
0,08
|
44
|
40,48
|
2,17
|
АВБбШв 3х6
|
|
Стадион
|
6,41
|
0,15
|
44
|
40,48
|
3,58
|
АВБбШв 3х6
|
|
ТП 2
|
|
Пер. Соловьиный
|
9,64
|
0,42
|
100
|
100
|
4,28
|
СИП-2: 3х16+1х25
|
|
Пер. Соловьиный (до 1
опоры)
|
|
0,015
|
44
|
40,48
|
0,15
|
АВБбШв 4х6
|
|
Ул. Цветочная
|
5,62
|
0,31
|
100
|
100
|
2,89
|
СИП-2 3х95+1х95+1х16
|
|
Подъездные пути к АЗС
|
2,4
|
0,13
|
44
|
40,48
|
1,17
|
АВБбШв 3х6
|
|
Территория АЗС
|
5,62
|
0,2
|
44
|
40,48
|
3,46
|
АВБбШв 3х6
|
|
ТП 3
|
|
Ул. Цветочная
|
7,22
|
0,37
|
100
|
100
|
3,35
|
СИП-2 3х95+1х95+1х16
|
|
Парковка
|
3,21
|
0,15
|
44
|
40,48
|
1,79
|
АВБбШв 3х6
|
|
Пер. Полевой
|
8,02
|
0,315
|
100
|
100
|
3,24
|
СИП-2: 3х16+1х25
|
|
Пер. Полевой (до 1 опоры)
|
|
0,015
|
44
|
40,48
|
0,11
|
АВБбШв 4х6
|
|
ТП 4
|
|
Ул. Сиреневая
|
9,64
|
0,38
|
100
|
100
|
3,953
|
СИП-2 3х95+1х95+1х16
|
|
Ул. Лазурная
|
7,22
|
0,37
|
100
|
100
|
3,41
|
СИП-2 3х95+1х95+1х16
|
Приложение 5
Расчет нагрузки ТП
Таблица 5.1 - Результаты расчетов нагрузки ТП
|
Номер ТП
|
, кВт
|
, кВ·А
|
|
ТП 1
|
260,05
|
78,76
|
271,72
|
|
ТП 2
|
127
|
100,206
|
161,77
|
|
ТП 3
|
181,9
|
80,23
|
198,81
|
|
ТП 4
|
121,92
|
20,73
|
123,67
|
Таблица 5.2 - Результаты выбора трансформаторов
|
ТП
|
Sн.т, кВ·А
|
NТ, шт.
|
|
|
|
1
|
160
|
2
|
0,85
|
1,7
|
|
250
|
2
|
0,54
|
1,1
|
|
400
|
2
|
0,34
|
0,7
|
|
2
|
160
|
2
|
0,51
|
1,01
|
|
250
|
1
|
0,65
|
-
|
|
400
|
1
|
0,4
|
-
|
|
3
|
160
|
2
|
0,68
|
1,24
|
|
250
|
2
|
0,65
|
0,8
|
|
400
|
2
|
0,4
|
0,58
|
|
4
|
160
|
1
|
0,8
|
-
|
|
250
|
1
|
0,51
|
-
|
|
400
|
1
|
0,32
|
-
|
Таблица 5.3 - Результаты расчета УЦН
|
Номер по генплану
|
Электропотребитель
|
хi, см
|
уi, см
|
Рi, кВт
|
Qi, квар
|
|
ТП 1
|
|
1
|
Жилой дом
|
120
|
556
|
10
|
2
|
|
2
|
Жилой дом
|
155
|
556
|
10
|
2
|
|
3
|
Жилой дом
|
210
|
556
|
10
|
2
|
|
4
|
Жилой дом
|
245
|
556
|
6
|
1,75
|
|
5
|
Жилой дом
|
280
|
556
|
6
|
1,75
|
|
6
|
Жилой дом
|
315
|
556
|
6
|
1,75
|
|
7
|
Жилой дом
|
350
|
556
|
6
|
1,75
|
|
8
|
Жилой дом
|
385
|
556
|
10
|
2
|
|
9
|
Жилой дом
|
420
|
556
|
10
|
2
|
|
Продолжение таблицы 5.3
|
|
Номер по генплану
|
Электропотребитель
|
хi, см
|
уi, см
|
Рi, кВт
|
Qi, квар
|
|
18
|
Жилой дом
|
120
|
517,5
|
10
|
2
|
|
19
|
Жилой дом
|
155
|
517,5
|
10
|
2
|
|
20
|
Жилой дом
|
210
|
517,5
|
10
|
2
|
|
21
|
Жилой дом
|
245
|
517,5
|
10
|
2
|
|
22
|
Жилой дом
|
280
|
517,5
|
10
|
2
|
|
23
|
Жилой дом
|
315
|
517,5
|
10
|
2
|
|
24
|
Жилой дом
|
350
|
517,5
|
10
|
2
|
|
25
|
Жилой дом
|
385
|
517,5
|
10
|
2
|
|
26
|
Жилой дом
|
420
|
517,5
|
10
|
2
|
|
35
|
Жилой дом
|
120
|
409
|
6
|
1,75
|
|
36
|
Жилой дом
|
155
|
409
|
6
|
1,75
|
|
37
|
Жилой дом
|
210
|
409
|
6
|
1,75
|
|
38
|
Жилой дом
|
245
|
409
|
6
|
1,75
|
|
39
|
Жилой дом
|
280
|
409
|
6
|
1,75
|
|
40
|
Жилой дом
|
315
|
409
|
10
|
2
|
|
41
|
Жилой дом
|
350
|
409
|
10
|
2
|
|
42
|
Жилой дом
|
385
|
409
|
10
|
2
|
|
43
|
Жилой дом
|
420
|
409
|
10
|
2
|
|
51
|
Жилой дом
|
120
|
370
|
10
|
2
|
|
52
|
Жилой дом
|
155
|
370
|
10
|
2
|
|
53
|
Жилой дом
|
210
|
370
|
10
|
2
|
|
54
|
Жилой дом
|
245
|
370
|
6
|
1,75
|
|
55
|
Жилой дом
|
280
|
370
|
6
|
1,75
|
|
56
|
Жилой дом
|
315
|
370
|
6
|
1,75
|
|
57
|
Жилой дом
|
350
|
370
|
10
|
2
|
|
58
|
Жилой дом
|
385
|
370
|
10
|
2
|
|
59
|
Жилой дом
|
420
|
370
|
10
|
2
|
|
ТП 2
|
|
10
|
Жилой дом
|
455
|
556
|
10
|
2
|
|
11
|
Жилой дом
|
490
|
556
|
10
|
2
|
|
12
|
Коттедж
|
535
|
556
|
14
|
2,8
|
|
13
|
Коттедж
|
580
|
556
|
14
|
2,8
|
|
14
|
Коттедж
|
625
|
556
|
14
|
2,8
|
|
15
|
Коттедж
|
670
|
556
|
14
|
2,8
|
|
16
|
Детский сад
|
722
|
565
|
55,2
|
11,04
|
|
17
|
767
|
555
|
20
|
8,6
|
|
27
|
Жилой дом
|
445
|
517,5
|
6
|
1,75
|
|
28
|
Жилой дом
|
480
|
517,5
|
6
|
14,88
|
|
29
|
Жилой дом
|
515
|
517,5
|
6
|
8,6
|
|
30
|
Коттедж
|
560
|
517,5
|
14
|
2,8
|
|
31
|
Коттедж
|
605
|
517,5
|
14
|
2,8
|
|
32
|
Коттедж
|
650
|
517,5
|
14
|
2,8
|
|
33
|
Магазин
|
715
|
510
|
45
|
27,9
|
|
34
|
Парикмахерская
|
750
|
512,5
|
6
|
2,25
|
|
44
|
Жилой дом
|
445
|
409
|
10
|
2
|
|
45
|
Жилой дом
|
480
|
409
|
10
|
2
|
|
46
|
Жилой дом
|
515
|
409
|
6
|
1,75
|
|
47
|
Жилой дом
|
550
|
409
|
6
|
1,75
|
|
48
|
Коттедж
|
595
|
409
|
14
|
2,8
|
|
49
|
Коттедж
|
640
|
409
|
14
|
2,8
|
|
50
|
Стадион
|
752,5
|
412,5
|
18
|
5,58
|
|
60
|
Жилой дом
|
445
|
370
|
10
|
2
|
|
61
|
Жилой дом
|
480
|
370
|
10
|
2
|
|
62
|
Жилой дом
|
515
|
370
|
10
|
2
|
|
63
|
Жилой дом
|
550
|
370
|
10
|
2
|
|
64
|
Коттедж
|
595
|
370
|
14
|
2,8
|
|
65
|
Коттедж
|
640
|
370
|
14
|
2,8
|
|
ТП 3
|
|
66
|
Жилой дом
|
120
|
256,5
|
10
|
2
|
|
67
|
Жилой дом
|
155
|
256,5
|
10
|
2
|
|
68
|
Жилой дом
|
210
|
256,5
|
10
|
2
|
|
69
|
Жилой дом
|
245
|
256,5
|
10
|
2
|
|
70
|
Жилой дом
|
280
|
256,5
|
10
|
2
|
|
71
|
Жилой дом
|
315
|
256,5
|
10
|
2
|
|
72
|
Жилой дом
|
350
|
256,5
|
10
|
2
|
|
73
|
Жилой дом
|
385
|
256,5
|
10
|
2
|
|
74
|
Жилой дом
|
420
|
256,5
|
10
|
2
|
|
75
|
Жилой дом
|
445
|
256,5
|
10
|
2
|
|
76
|
Коттедж
|
490
|
256,5
|
14
|
2,8
|
|
77
|
Коттедж
|
535
|
256,5
|
14
|
2,8
|
|
78
|
Коттедж
|
580
|
256,5
|
14
|
2,8
|
|
79
|
Коттедж
|
625
|
256,5
|
14
|
2,8
|
|
80
|
Коттедж
|
670
|
256,5
|
14
|
2,8
|
|
81
|
Жилой дом
|
120
|
216
|
10
|
2
|
|
82
|
Жилой дом
|
155
|
216
|
10
|
2
|
|
83
|
Жилой дом
|
210
|
216
|
10
|
2
|
|
84
|
Жилой дом
|
245
|
216
|
6
|
1,75
|
|
85
|
Жилой дом
|
280
|
216
|
6
|
1,75
|
|
86
|
Жилой дом
|
315
|
216
|
6
|
1,75
|
|
87
|
Жилой дом
|
350
|
216
|
6
|
1,75
|
|
88
|
Жилой дом
|
385
|
216
|
10
|
2
|
|
89
|
Жилой дом
|
420
|
216
|
10
|
2
|
|
90
|
Жилой дом
|
445
|
216
|
10
|
2
|
|
91
|
Жилой дом
|
490
|
216
|
10
|
2
|
|
92
|
Коттедж
|
535
|
216
|
14
|
2,8
|
|
93
|
Коттедж
|
580
|
216
|
14
|
2,8
|
|
94
|
Коттедж
|
625
|
216
|
14
|
2,8
|
|
95
|
Коттедж
|
670
|
216
|
14
|
2,8
|
|
96
|
Магазин
|
135
|
155
|
60
|
37,2
|
|
97
|
Аптека
|
171,5
|
150
|
16
|
9,92
|
|
98
|
Магазин
|
202,5
|
155
|
32
|
19,84
|
|
99
|
Автомойка
|
633,5
|
73
|
9
|
2,25
|
|
100
|
Магазин
|
648,5
|
74,5
|
16
|
9,92
|
|
101
|
Шиномонтаж
|
661
|
70
|
5
|
2,15
|
|
102
|
АЗС
|
728,5
|
25
|
10,75
|
|
|
|
|
|
|
|
Приложение 6
Технико-экономическое сравнение вариантов
Основные соотношения:
1. Суммарные затраты:
, руб, (6.1)
где ККТП - капитальные вложения на городскую трансформаторную подстанцию,
руб.;
Е - норма дисконта, приемлемая для инвестора норма дохода на капитал,
;
ИП.ТР - стоимость потерь в трансформаторе, руб.;
ИОБСЛ.РЕМ.АМ - затраты на обслуживание, ремонт и амортизацию, руб.
2. Капитальные вложения определяются по формуле:
, руб./год (6.2)
где NT - число трансформаторов;
Ц- цена (тыс.руб.) (определяется по прайс-листам);
- коэффициент, учитывающий транспортно-заготовительные
расходы, связанные с приобретением оборудования (
=0,05 - для оборудования массой выше
1 т);
- коэффициент, учитывающий затраты на строительные работы (
=0,02
0,15 - в зависимости от массы и
сложности оборудования);
- коэффициент, учитывающий затраты на монтаж и отладку
оборудования (
=0,1
0,15 - в зависимости от оптовой цены оборудования).
3. Стоимость потерь энергии в трансформаторах:
, руб, (6.3)
где С0 - стоимость 1 кВт·ч (С0 = 2,95 руб./ кВт·ч)
NT -
количество трансформаторов;
ΔРхх- потери холостого хода в
трансформаторах, кВт;
Тгод - число часов в году (8760 ч.);
кз - коэффициент загрузки;
ΔРк - потери короткого замыкания в
трансформаторе, кВт;
τ - время максимальных потерь для
коммунально-бытовых потребителей.
. Время максимальных потерь электроэнергии определяется по
формуле:
ч, (6.4)
где
- время использования максимума нагрузок, (
) [7].
ч.
5. Затраты на обслуживание, ремонт и амортизацию:
, руб, (6.5)
где На - норма амортизационных отчислений (На = 0,035),
Нобсл - норма обслуживания оборудования (Нобсл = 0,029),
Нрем - норма ремонта оборудования (Нрем = 0,01).
Приведем пример расчета для 1 варианта для ТП 3 (2х160 кВ·А):
По формуле (6.2) определим капитальные вложения:
руб.
По формуле (6.3) определим стоимость потерь энергии в трансформаторах:
руб.
По формуле (6.5) определим затраты на обслуживание, ремонт и амортизацию:
руб.
По формуле (6.1) определим приведенные затраты:
руб.
Расчет для других вариантов трансформаторов проводим аналогично.
Результаты расчета приведены в в таблице 6.1.
Таблица 6.1 - Технико-экономическое сравнение выбора трансформаторов
|
ТП
|
Sн.т, кВ·А
|
ККТП, руб.
|
ККТП·Е, руб.
|
ИП.ТР, руб.
|
ИОБСЛ.РЕМ.АМ, руб.
|
З, руб.
|
|
1
|
160
|
129600
|
32400
|
39844,11
|
9590,4
|
81834,51
|
|
250
|
176400
|
44100
|
28497,36
|
13053,6
|
85650,96
|
|
400
|
224400
|
56100
|
30573,22
|
16605,6
|
103278,82
|
|
2
|
160
|
259200
|
64800
|
44336,57
|
19180,8
|
128317,37
|
|
250
|
176400
|
44100
|
36820,82
|
13053,6
|
93974,42
|
|
400
|
224400
|
56100
|
36341,75
|
16605,6
|
109047,35
|
|
3
|
160
|
259200
|
64800
|
56147,16
|
19180,8
|
140127,96
|
|
250
|
352800
|
88200
|
45497,99
|
26107,2
|
159805,19
|
|
400
|
448800
|
112200
|
53178,7
|
33211,2
|
198589,9
|
|
4
|
160
|
129600
|
32400
|
39844,11
|
9590,4
|
81834,51
|
|
250
|
176400
|
44100
|
28497,36
|
13053,6
|
85650,96
|
|
400
|
224400
|
56100
|
305773,22
|
16605,6
|
103278,82
|
Для ТП 1 вариант 2хТМГ-160 экономически более выгоден, однако kз.ав больше допустимого значения.
Поэтому в случае аварии отключаем потребители III категории надежности.
Таким образом для ТП 1 выбираем для установки 2хТМГ-160, для ТП 2 -
1хТМГ-250, для ТП 3 - 2хТМГ-160, для ТП 4 - 1хТМГ-160.
Приложение 7
Расчетные нагрузки общественных зданий
Таблица 7.1 - Выбор сечения СИП и кабелей на напряжение 10 кВ
|
Номер линии
|
Sр
|
Iр
|
L
|
Iдоп
|
kср∙kпр∙kпер∙Iдоп
|
r0
|
x0
|
ΔU
|
Fтс
|
F
|
|
кВ∙А
|
А
|
км
|
А
|
А
|
Ом/км
|
Ом/км
|
℅
|
мм2
|
мм2
|
|
W1
|
4035,8
|
232,98
|
0,015
|
233
|
251,6
|
0,34
|
0,083
|
0,522
|
10,52
|
АПвБПг 3х95
|
|
|
|
0,5
|
240
|
270
|
0,493
|
0,291
|
1,144
|
|
СИП 3 - 1х70
|
|
W2
|
3823,7
|
220,77
|
0,015
|
233
|
251,6
|
0,34
|
0,083
|
0,495
|
8,45
|
АПвБПг 3х95
|
|
|
|
0,8
|
240
|
270
|
0,493
|
0,291
|
1,735
|
|
СИП 3 - 1х70
|
|
|
|
0,015
|
233
|
251,6
|
0,34
|
0,083
|
0,495
|
|
АПвБПг 3х95
|
|
W3
|
3647,1
|
210,57
|
0,015
|
233
|
251,6
|
0,34
|
0,083
|
0,472
|
6,98
|
АПвБПг 3х95
|
|
|
|
0,45
|
240
|
270
|
0,493
|
0,291
|
1,14
|
|
СИП 3 - 1х70
|
|
|
|
0,015
|
233
|
251,6
|
0,34
|
0,083
|
0,472
|
|
АПвБПг 3х95
|
|
W4
|
128,59
|
7,42
|
0,015
|
156
|
175,5
|
0,64
|
0,09
|
0,03
|
6,54
|
АПвБПг 3х50
|
|
|
|
0,33
|
100
|
112,5
|
0,923
|
0,299
|
0,041
|
|
СИП 3 - 1х50
|
|
|
|
0,015
|
156
|
175,5
|
0,64
|
0,09
|
0,03
|
|
АПвБПг 3х50
|
|
W5
|
3318,6
|
210,57
|
0,015
|
233
|
251,6
|
0,34
|
0,083
|
0,472
|
5,23
|
АПвБПг 3х95
|
|
|
|
0,5
|
240
|
270
|
0,493
|
0,291
|
1,14
|
|
СИП 3 - 1х70
|
ПРИЛОЖЕНИЕ 8
Расчет ВЛ и КЛ
Таблица 8.1 - Выбор сечения СИП и кабелей на напряжение 0,4 кВ
|
Электро-приемники
|
Sр
|
Iр
|
L
|
Iд
|
Iд·Кср·Кпр
|
r0
|
x0
|
ΔU
|
F
|
|
кВ·А
|
А
|
км
|
А
|
А
|
мОм/м
|
мОм/м
|
℅
|
мм2
|
|
ТП 1
|
|
10, 11
|
10,19
|
14,708
|
0,009
|
100
|
100
|
2,448
|
0,0865
|
0,131
|
СИП-2 3х16+1х25
|
|
12, 14
|
14,27
|
20,6
|
0,012
|
100
|
100
|
2,448
|
0,0865
|
0,252
|
СИП-2 3х16+1х25
|
|
13
|
14,27
|
20,6
|
0,015
|
100
|
100
|
2,448
|
0,0865
|
0,315
|
СИП-2 3х16+1х25
|
|
15
|
14,27
|
20,6
|
0,01
|
100
|
100
|
2,448
|
0,0865
|
0,178
|
СИП-2 3х16+1х25
|
|
27-29
|
6,25
|
9,021
|
0,018
|
100
|
100
|
2,448
|
0,0865
|
0,161
|
СИП-2 3х16+1х25
|
|
30
|
14,27
|
20,6
|
0,022
|
100
|
100
|
2,448
|
0,0865
|
0,462
|
СИП-2 3х16+1х25
|
14,27
|
20,6
|
0,019
|
100
|
100
|
2,448
|
0,0865
|
0,399
|
СИП-2 3х16+1х25
|
|
32
|
14,27
|
20,6
|
0,016
|
100
|
100
|
2,448
|
0,0865
|
0,354
|
СИП-2 3х16+1х25
|
|
34
|
9,28
|
13,4
|
0,09
|
100
|
100
|
2,448
|
0,0865
|
1,19
|
СИП-2 3х16+1х54,6+1х16
|
|
до 1-й опоры W10
|
57,7
|
83,29
|
0,015
|
100
|
92
|
1,25
|
0,091
|
0,197
|
АВБбШв 5х25
|
|
W10
|
57,7
|
83,29
|
0,31
|
300
|
300
|
0,411
|
0,0758
|
4,56
|
СИП-2 3х95+1х95+1х16
|
|
W13
|
52,95
|
76,43
|
0,02
|
100
|
92
|
1,25
|
0,091
|
0,785
|
АВБбШв 5х25
|
|
W14
|
56,29
|
81,25
|
0,1
|
100
|
92
|
1,25
|
0,091
|
4,171
|
АВБбШв 5х25
|
|
W15
|
21,77
|
31,42
|
0,3
|
77
|
70,84
|
1,95
|
0,095
|
3,24
|
АВБбШв 5х16
|
|
44, 45
|
10,19
|
14,708
|
0,009
|
100
|
100
|
2,448
|
0,0865
|
0,131
|
СИП-2 3х16+1х25
|
|
46, 47
|
6,25
|
9,021
|
0,009
|
100
|
100
|
2,448
|
0,0865
|
0,08
|
СИП-2 3х16+1х25
|
|
48,49
|
14,27
|
20,6
|
0,012
|
100
|
100
|
2,448
|
0,0865
|
0,252
|
СИП-2 3х16+1х25
|
|
60-63
|
10,19
|
14,708
|
0,016
|
100
|
100
|
2,448
|
0,0865
|
0,233
|
СИП-2 3х16+1х25
|
|
64, 65
|
14,27
|
20,6
|
0,022
|
100
|
100
|
2,448
|
0,0865
|
0,462
|
СИП-2 3х16+1х25
|
|
до 1-й опоры W11
|
53,89
|
77,78
|
0,015
|
100
|
92
|
1,25
|
0,091
|
0,6
|
АВБбШв 5х25
|
|
W11
|
53,89
|
77,78
|
0,33
|
300
|
300
|
0,411
|
0,0758
|
4,43
|
СИП-2 3х95+1х95+1х16
|
|
W16
|
18,9
|
27,28
|
0,1
|
60
|
55,2
|
3,12
|
0,099
|
3,43
|
АВБбШв 5х10
|
|
от ТП 2
|
|
75
|
10,19
|
14,708
|
0,009
|
100
|
100
|
2,448
|
0,0865
|
0,131
|
СИП-2 3х16+1х25
|
|
76
|
14,27
|
20,6
|
0,01
|
100
|
100
|
2,448
|
0,0865
|
0,178
|
СИП-2 3х16+1х25
|
|
77
|
14,27
|
20,6
|
0,014
|
100
|
100
|
2,448
|
0,0865
|
0,294
|
СИП-2 3х16+1х25
|
|
78
|
14,27
|
20,6
|
0,019
|
100
|
100
|
2,448
|
0,0865
|
0,399
|
СИП-2 3х16+1х25
|
|
79, 80
|
14,27
|
20,6
|
0,011
|
100
|
100
|
2,448
|
0,0865
|
0,231
|
СИП-2 3х16+1х25
|
|
90, 91
|
10,19
|
14,708
|
0,016
|
100
|
100
|
2,448
|
0,0865
|
0,233
|
СИП-2 3х16+1х25
|
|
92
|
14,27
|
20,6
|
0,019
|
100
|
100
|
2,448
|
0,0865
|
0,399
|
СИП-2 3х16+1х25
|
|
93
|
14,27
|
20,6
|
0,022
|
100
|
100
|
2,448
|
0,0865
|
0,462
|
СИП-2 3х16+1х25
|
|
94, 95
|
14,27
|
20,6
|
0,016
|
100
|
100
|
2,448
|
0,0865
|
0,354
|
СИП-2 3х16+1х25
|
|
до 1-й опоры W12
|
50,88
|
73,44
|
0,015
|
100
|
92
|
1,25
|
0,091
|
0,51
|
АВБбШв 5х25
|
|
W12
|
50,88
|
73,44
|
0,31
|
300
|
300
|
0,411
|
0,0758
|
4,02
|
СИП-2 3х95+1х95+1х16
|
|
W17
|
27,2
|
39,26
|
0,33
|
120
|
110,4
|
0,894
|
0,088
|
4,81
|
АВБбШв 5х35
|
|
W18
|
26,84
|
38,74
|
0,26
|
120
|
110,4
|
0,894
|
0,088
|
3,74
|
АВБбШв 5х35
|
|
от ТП 3
|
|
W9
|
101,26
|
146,16
|
0,27
|
240
|
220,8
|
0,261
|
0,08
|
4,636
|
АВБбШв 5х120
|
|
97
|
18,33
|
26,46
|
0,012
|
44
|
40,48
|
5,26
|
0,371
|
0,685
|
АВБбШв 5х6
|
|
98
|
37,65
|
54,34
|
0,007
|
60
|
55,2
|
3,12
|
0,099
|
0,821
|
АВБбШв 5х10
|
|
66-74
|
10,19
|
14,708
|
0,009
|
100
|
100
|
2,448
|
0,0865
|
0,131
|
СИП-2 3х16+1х25
|
|
81-83, 88, 89
|
10,19
|
14,708
|
0,016
|
100
|
100
|
2,448
|
0,0865
|
0,233
|
СИП-2 3х16+1х25
|
|
84-87
|
6,25
|
9,021
|
0,016
|
100
|
100
|
2,448
|
0,0865
|
0,143
|
|
до 1-й опоры W8
|
48,86
|
66,19
|
0,015
|
100
|
92
|
1,25
|
0,091
|
0,51
|
АВБбШв 5х25
|
|
W8
|
48,86
|
66,19
|
0,37
|
300
|
300
|
0,411
|
0,0758
|
4,32
|
СИП-2 3х95+1х95+1х16
|
|
ТП 4
|
|
1-3,8,9
|
10,19
|
14,708
|
0,009
|
100
|
100
|
2,448
|
0,0865
|
0,131
|
СИП-2 3х16+1х25
|
|
4-7
|
6,25
|
9,021
|
0,009
|
100
|
100
|
2,448
|
0,0865
|
0,08
|
СИП-2 3х16+1х25
|
|
18-26
|
10,19
|
14,708
|
0,016
|
100
|
100
|
2,448
|
0,0865
|
0,233
|
СИП-2 3х16+1х25
|
|
до 1-й опоры W6
|
58,15
|
83,93
|
0,015
|
100
|
92
|
1,25
|
0,091
|
0,209
|
АВБбШв 5х25
|
|
W6
|
58,15
|
83,93
|
0,37
|
300
|
300
|
0,411
|
0,0758
|
4,713
|
СИП-2 3х95+1х95+1х16
|
|
35-39
|
6,25
|
9,021
|
0,009
|
100
|
100
|
2,448
|
0,0865
|
0,08
|
СИП-2 3х16+1х25
|
|
40-43
|
10,19
|
14,708
|
0,009
|
100
|
100
|
2,448
|
0,0865
|
0,131
|
СИП-2 3х16+1х25
|
|
51-53, 57-59
|
10,19
|
14,708
|
0,016
|
100
|
100
|
2,448
|
0,0865
|
0,233
|
СИП-2 3х16+1х25
|
|
54-56
|
6,25
|
9,021
|
0,016
|
100
|
100
|
2,448
|
0,0865
|
0,143
|
СИП-3 3х16+1х25
|
|
до 1-й опоры W7
|
61,22
|
88,37
|
0,015
|
100
|
92
|
1,25
|
0,091
|
0,31
|
АВБбШв 5х25
|
|
W7
|
61,22
|
88,37
|
0,37
|
300
|
300
|
0,411
|
0,0758
|
4,952
|
СИП-2 3х95+1х95+1х16
|
|
|
|
|
|
|
|
|
|
|
|
|
|
Приложение 9
Расчет сети 10 кВ
Таблица 9.1 - Параметры схемы замещения 10 кВ
|
Линия
|
r0, Ом/км
|
x0, Ом/км
|
L, км
|
R, Ом
|
Х, Ом
|
Z, Ом
|
ΣZ, Ом
|
|
W1
|
0,34
|
0,083
|
0,015
|
0,005
|
0,0012
|
0,0052
|
1,917
|
|
0,493
|
0,291
|
0,714
|
0,352
|
0,208
|
0,409
|
|
|
0,46
|
0,275
|
1,391
|
0,64
|
0,383
|
0,746
|
|
|
0,33
|
0,234
|
1,262
|
0,417
|
0,295
|
0,511
|
|
|
0,413
|
0,283
|
0,03
|
0,012
|
0,009
|
0,015
|
|
|
0,588
|
0,297
|
0,35
|
0,206
|
0,104
|
0,231
|
|
|
W2
|
0,34
|
0,083
|
0,03
|
0,01
|
0,0025
|
0,0105
|
0,469
|
|
0,493
|
0,291
|
0,8
|
0,394
|
0,233
|
0,458
|
|
|
W3
|
0,34
|
0,083
|
0,03
|
0,01
|
0,0025
|
0,0105
|
0,183
|
|
0,493
|
0,291
|
0,3
|
0,148
|
0,087
|
0,172
|
|
|
W4
|
0,923
|
0,299
|
0,33
|
0,305
|
0,099
|
0,32
|
0,321
|
|
0,64
|
0,09
|
0,015
|
0,0096
|
0,0014
|
0,0097
|
|
Таблица 9.2 - Результаты расчета токов КЗ в сети 10 кВ
|
Точка КЗ
|
К1
|
К2
|
К3
|
К4
|
|
Iк(3), кА
|
3,16
|
2,54
|
2,098
|
1,768
|
|
Iк(2), кА
|
2,74
|
2,2
|
1,817
|
1,522
|
|
Ку
|
1,4
|
1,4
|
1,4
|
1,4
|
|
iy, кА
|
6,26
|
5,03
|
4,153
|
3,481
|
Таблица 9.3 - Результаты расчетов токов КЗ в сети 0,4 кВ
|
Место КЗ
|
I(3)к.max, кА
|
RД, мОм
|
I(3)к.min, кА
|
ky
|
iy, кА
|
I(1)к.min, кА
|
|
ТП 1
|
|
ВРУ № 10
|
1,246
|
14,381
|
1,162
|
1,4
|
2,467
|
0,518
|
|
ВРУ № 11
|
1,351
|
13,267
|
1,26
|
1,4
|
2,674
|
0,553
|
|
ВРУ № 12
|
1,432
|
12,512
|
1,336
|
1,4
|
2,835
|
0,58
|
|
ВРУ № 13
|
1,377
|
13,011
|
1,284
|
1,4
|
2,726
|
0,571
|
|
ВРУ № 14
|
1,71
|
10,477
|
1,597
|
1,4
|
3,385
|
0,667
|
|
ВРУ № 15
|
2,022
|
8,864
|
1,891
|
1,4
|
4,003
|
0,752
|
|
ВРУ № 27
|
1,132
|
15,827
|
1,055
|
1,4
|
2,241
|
0,485
|
|
ВРУ № 28
|
1,219
|
14,706
|
1,135
|
1,4
|
2,413
|
0,515
|
|
ВРУ № 29
|
1,229
|
13,587
|
1,229
|
1,4
|
2,433
|
0,549
|
|
ВРУ № 30
|
1,34
|
13,371
|
1,249
|
1,4
|
2,653
|
0,56
|
|
ВРУ № 31
|
1,529
|
11,72
|
1,426
|
1,4
|
3,027
|
0,62
|
|
ВРУ № 32
|
1,778
|
10,079
|
1,66
|
1,4
|
3,520
|
0,693
|
|
ВРУ № 44
|
1,193
|
15,091
|
1,112
|
1,4
|
2,362
|
0,5
|
|
ВРУ № 45
|
1,289
|
1,202
|
1,4
|
2,552
|
0,532
|
|
ВРУ № 46
|
1,401
|
12,791
|
1,307
|
1,4
|
2,773
|
0,568
|
|
ВРУ № 47
|
1,534
|
11,682
|
1,431
|
1,4
|
3,037
|
0,61
|
|
ВРУ № 48
|
1,613
|
11,107
|
1,506
|
1,4
|
3,193
|
0,638
|
|
ВРУ № 49
|
1,823
|
9,832
|
1,703
|
1,4
|
3,609
|
0,699
|
|
ВРУ № 60
|
1,1
|
16,286
|
1,025
|
1,4
|
2,178
|
0,473
|
|
ВРУ № 61
|
1,182
|
15,165
|
1,1
|
1,4
|
2,340
|
0,502
|
|
ВРУ № 62
|
1,276
|
14,046
|
1,189
|
1,4
|
2,526
|
0,534
|
|
ВРУ № 63
|
1,386
|
12,93
|
1,292
|
1,4
|
2,744
|
0,57
|
|
ВРУ № 64
|
1,451
|
12,353
|
1,352
|
1,4
|
2,872
|
0,595
|
|
ВРУ № 65
|
1,594
|
11,241
|
1,487
|
1,4
|
3,155
|
0,640
|
|
ВРУ № 16
|
-
|
18,955
|
-
|
-
|
-
|
0,495
|
|
ВРУ № 17
|
-
|
18,955
|
-
|
-
|
-
|
0,154
|
|
ВРУ № 33
|
-
|
18,955
|
-
|
-
|
-
|
1,007
|
|
ВРУ № 34
|
-
|
18,955
|
-
|
-
|
-
|
0,459
|
|
ВРУ № 50
|
-
|
18,955
|
-
|
-
|
-
|
0,106
|
|
Шины ТП
|
6,06
|
18,972
|
5,078
|
1,85
|
14,51
|
1,704
|
|
ТП 2
|
|
ВРУ № 75
|
1,984
|
9,032
|
1,854
|
1,4
|
3,928
|
0,931
|
|
ВРУ № 76
|
1,769
|
10,128
|
1,652
|
1,4
|
3,502
|
0,837
|
|
ВРУ № 77
|
1,478
|
12,122
|
1,378
|
1,4
|
2,926
|
0,716
|
|
ВРУ № 78
|
1,203
|
14,899
|
1,12
|
1,4
|
2,381
|
0,593
|
|
ВРУ № 79
|
1,215
|
14,752
|
1,132
|
1,4
|
2,405
|
0,59
|
|
ВРУ № 80
|
1,129
|
15,872
|
1,052
|
1,4
|
2,235
|
0,552
|
|
ВРУ № 90
|
1,747
|
1,258
|
1,63
|
1,4
|
3,458
|
0,841
|
|
ВРУ № 91
|
1,577
|
11,367
|
1,47
|
1,4
|
3,122
|
0,764
|
|
ВРУ № 92
|
1,376
|
13,021
|
1,282
|
1,4
|
2,724
|
0,677
|
|
ВРУ № 93
|
1,133
|
15,81
|
1,055
|
1,4
|
2,243
|
0,565
|
|
ВРУ № 94
|
1,118
|
16,022
|
1,042
|
1,4
|
2,213
|
0,553
|
|
ВРУ № 95
|
1,045
|
17,146
|
0,973
|
1,4
|
2,069
|
0,519
|
|
ВРУ № 100
|
-
|
18,972
|
-
|
-
|
-
|
0,551
|
|
ВРУ № 102
|
-
|
18,972
|
-
|
-
|
-
|
0,289
|
|
Шины ТП
|
5,82
|
18,972
|
4,561
|
1,85
|
13,92
|
1,521
|
|
ТП 3
|
|
ВРУ № 66
|
1,027
|
17,454
|
0,956
|
1,4
|
2,033
|
0,503
|
|
ВРУ № 67
|
1,097
|
16,331
|
1,022
|
1,4
|
2,172
|
0,536
|
|
ВРУ № 68
|
1,178
|
15,21
|
1,098
|
1,4
|
2,332
|
0,573
|
|
ВРУ № 69
|
1,272
|
14,092
|
1,185
|
1,4
|
2,518
|
0,616
|
|
ВРУ № 70
|
1,381
|
12,976
|
1,288
|
1,4
|
2,734
|
0,665
|
|
ВРУ № 71
|
1,51
|
11,864
|
1,409
|
1,4
|
2,989
|
0,723
|
|
ВРУ № 72
|
1,666
|
10,757
|
1,555
|
1,4
|
3,298
|
0,792
|
|
ВРУ № 73
|
1,856
|
9,657
|
1,733
|
1,4
|
3,674
|
0,876
|
|
ВРУ № 74
|
2,092
|
8,65
|
1,956
|
1,4
|
4,141
|
0,979
|
|
ВРУ № 81
|
0,957
|
18,733
|
0,89
|
1,4
|
1,894
|
0,476
|
|
ВРУ № 82
|
1,018
|
17,607
|
0,948
|
1,4
|
2,015
|
0,505
|
|
ВРУ № 83
|
1,087
|
16,482
|
1,012
|
1,4
|
2,152
|
0,538
|
|
ВРУ № 84
|
1,167
|
15,359
|
1,087
|
1,4
|
2,310
|
0,575
|
|
ВРУ № 85
|
1,259
|
14,238
|
1,173
|
1,4
|
2,492
|
0,618
|
|
ВРУ № 86
|
1,366
|
13,12
|
1,273
|
1,4
|
2,704
|
0,668
|
|
ВРУ № 87
|
1,493
|
12,003
|
1,392
|
1,4
|
2,956
|
0,726
|
|
ВРУ № 88
|
1,645
|
10,891
|
1,535
|
1,4
|
3,256
|
0,796
|
|
ВРУ № 89
|
1,832
|
9,784
|
1,71
|
1,4
|
3,627
|
0,88
|
|
ВРУ № 96
|
18,972
|
-
|
-
|
-
|
0,829
|
|
Шины ТП
|
5,461
|
18,955
|
4,263
|
1,85
|
13,44
|
1,311
|
|
ТП 4
|
|
ВРУ № 1
|
2,022
|
8,864
|
1,891
|
1,4
|
4,003
|
0,752
|
|
ВРУ № 2
|
1,8
|
9,953
|
1,682
|
1,4
|
3,563
|
0,69
|
|
ВРУ № 3
|
1,662
|
11,051
|
1,514
|
1,4
|
3,290
|
0,637
|
|
ВРУ № 4
|
1,474
|
12,157
|
1,375
|
1,4
|
2,918
|
0,592
|
|
ВРУ № 5
|
1,351
|
13,267
|
1,26
|
1,4
|
2,674
|
0,552
|
|
ВРУ № 6
|
1,246
|
14,381
|
1,162
|
1,4
|
2,467
|
0,518
|
|
ВРУ № 7
|
1,156
|
15,498
|
1,077
|
1,4
|
2,288
|
0,487
|
|
ВРУ № 8
|
1,078
|
16,618
|
1,005
|
1,4
|
2,134
|
0,46
|
|
ВРУ № 9
|
1,029
|
17,419
|
0,958
|
1,4
|
2,037
|
0,442
|
|
ВРУ № 18
|
1,775
|
10,079
|
1,66
|
1,4
|
3,514
|
0,693
|
|
ВРУ № 19
|
1,602
|
11,183
|
1,495
|
1,4
|
3,171
|
0,639
|
|
ВРУ № 20
|
1,458
|
12,293
|
1,359
|
1,4
|
2,886
|
0,593
|
|
ВРУ № 21
|
1,337
|
13,408
|
1,246
|
1,4
|
2,647
|
0,554
|
|
ВРУ № 22
|
1,234
|
14,53
|
1,15
|
1,4
|
2,443
|
0,519
|
|
ВРУ № 23
|
1,145
|
15,645
|
1,067
|
1,4
|
2,267
|
0,489
|
|
ВРУ № 24
|
1,069
|
16,767
|
0,995
|
1,4
|
2,116
|
0,461
|
|
ВРУ № 25
|
1,002
|
17,891
|
0,933
|
1,4
|
1,984
|
0,437
|
|
ВРУ № 26
|
0,959
|
18,694
|
0,892
|
1,4
|
1,898
|
0,421
|
|
ВРУ № 35
|
2,017
|
8,878
|
1,81
|
1,4
|
3,993
|
0,742
|
|
ВРУ № 36
|
1,77
|
9,962
|
1,673
|
1,4
|
3,504
|
0,684
|
|
ВРУ № 37
|
1,658
|
11,054
|
1,493
|
1,4
|
3,282
|
0,631
|
|
ВРУ № 38
|
1,476
|
12,159
|
1,322
|
1,4
|
2,922
|
0,588
|
|
ВРУ № 39
|
1,349
|
13,277
|
1,247
|
1,4
|
2,670
|
0,543
|
|
ВРУ № 40
|
1,243
|
14,42
|
1,155
|
1,4
|
2,461
|
0,506
|
|
ВРУ № 41
|
1,148
|
15,53
|
1,069
|
1,4
|
2,273
|
0,477
|
|
ВРУ № 42
|
1,069
|
16,67
|
1,001
|
1,4
|
2,116
|
0,453
|
|
ВРУ № 43
|
1,02
|
17,51
|
0,944
|
1,4
|
2,019
|
0,437
|
|
ВРУ № 51
|
1,778
|
10,072
|
1,665
|
1,4
|
3,520
|
0,701
|
|
ВРУ № 52
|
1,611
|
11,18
|
1,502
|
1,4
|
3,189
|
0,644
|
|
ВРУ № 53
|
1,463
|
12,284
|
1,368
|
1,4
|
2,896
|
0,608
|
|
ВРУ № 54
|
1,349
|
13,396
|
1,251
|
1,4
|
2,670
|
0,563
|
|
ВРУ № 55
|
1,246
|
14,521
|
1,163
|
1,4
|
2,467
|
0,525
|
|
ВРУ № 56
|
1,153
|
15,633
|
1,075
|
1,4
|
2,282
|
0,498
|
|
ВРУ № 57
|
1,031
|
16,668
|
1,014
|
1,4
|
2,041
|
0,468
|
|
ВРУ № 58
|
0,978
|
17,845
|
0,958
|
1,4
|
1,936
|
0,444
|
|
ВРУ № 59
|
0,942
|
18,672
|
0,897
|
1,4
|
1,865
|
0,427
|
|
Шины ТП
|
5,065
|
18,955
|
4,159
|
1,85
|
13,25
|
1,271
|
|
|
|
|
|
|
|
|
|
|
|
|
|
|
|
|
|
|
|
Приложение 10
Выбор оборудования
Таблица 10.1 - Выбор выключателей нагрузки
|
Место установки аппарата
|
Тип аппарата
|
Параметры выбора аппарата
|
|
|
|
|
|
|
|
ШВВ ТП1
|
ВНР-10/400-10зп
|
10 кВ ≥ 10 кВ
|
400 А ≥ 15,69 А
|
25 кА ≥ 6,26 кА
|
1,098 кА·с ≤ 10 кА·с
|
|
ШВВ ТП2
|
ВНР-10/400-10зп
|
10 кВ ≥ 10 кВ
|
400 А ≥ 9,34 А
|
25 кА ≥ 5,03 кА
|
0,853 кА·с ≤ 10 кА·с
|
|
ШВВ ТП3
|
ВНР-10/400-10зп
|
10 кВ ≥ 10 кВ
|
400 А ≥ 11,48 А
|
25 кА ≥ 4,15 кА
|
0,641 кА·с ≤ 10 кА·с
|
|
ШВВ ТП4
|
ВНР-10/400-10зп
|
10 кВ ≥ 10 кВ
|
400 А ≥ 7,14 А
|
25 кА ≥ 3,48 кА
|
0,48 кА·с ≤ 10 кА·с
|
Таблица 10.2 - Выбор предохранителей
|
Место установки аппарата
|
Тип аппарата
|
Параметры выбора аппарата
|
|
|
|
|
|
|
|
ШВВ ТП1
|
ПКТ103-10-20-12,5У3
|
10 кВ ≥ 10 кВ
|
20 А ≥ 18,5 А
|
12,5 кА ≥ 3,16 кА
|
|
|
ШВВ ТП2
|
ПКТ103-10-40-31,5У3
|
10 кВ ≥ 10 кВ
|
40 А ≥ 28,8 А
|
31,5 кА ≥ 2,098 кА
|
|
|
ШВВ ТП3
|
ПКТ103-10-20-12,5У3
|
10 кВ ≥ 10 кВ
|
20 А ≥ 18,5 А
|
12,5 кА ≥ 2,54 кА
|
|
|
ШВВ ТП3
|
ПКТ103-10-20-12,5У3
|
10 кВ ≥ 10 кВ
|
20 А ≥ 18,5 А
|
12,5 кА ≥ 1,768 кА
|
|
|
|
|
|
|
|
|
Таблица 10.3 - Выбор автоматических выключателей
|
Место установки аппарата
|
Тип аппарата
|
Параметры выбора аппарата
|
|
|
|
|
|
|
|
|
|
|
ШНВ ТП1
|
660 В ≥ 380 В
|
400 А ≥ 392,2 А
|
400 А ≤ 1,25·400 А
|
800 А ≥ 705,96 А
|
0,41 с
|
36 кА ≥ 6,06 кА
|
|
|
ШНВ ТП2
|
Compact NSX250F
|
660 В ≥ 380 В
|
250 А ≥ 233,5А
|
400 А ≤ 1,25·400 А
|
500 А ≥ 334,08 А
|
0,41 с
|
25 кА ≥ 5,82 кА
|
|
|
ШНВ ТП3
|
Compact NSX400F
|
660 В ≥ 380 В
|
400 А ≥ 286,95 А
|
400 А ≤ 1,25·400 А
|
800 А ≥ 705,96 А
|
0,41 с
|
36 кА ≥ 5,461 кА
|
|
|
ШНВ ТП4
|
Compact NSX250F
|
660 В ≥ 380 В
|
250 А ≥ 178,5А
|
400 А ≤ 1,25·400 А
|
500 А ≥ 334,08 А
|
0,41 с
|
25 кА ≥ 5,065 кА
|
|
|
ШНС ТП1
|
Compact NSX400F
|
660 В ≥ 380 В
|
400 А ≥ 392,2 А
|
400 А ≤ 1,25·400 А
|
800 А ≥ 705,96 А
|
0,41 с
|
36 кА ≥ 6,06 кА
|
|
|
ШНС ТП3
|
Compact NSX400F
|
660 В ≥ 380 В
|
400 А ≥ 286,95 А
|
400 А ≤ 1,25·400 А
|
800 А ≥ 705,96 А
|
0,41 с
|
36 кА ≥ 5,461 кА
|
|
|
ШНЛ ТП1
|
Compact NSX100F
|
660 В ≥ 380 В
|
100 А ≥ 83,29 А
|
100 А ≤ 1,25·100 А
|
240 А ≥ 174,9 А
|
0,21 с
|
25 кА ≥ 5,461 кА
|
|
|
ШНЛ ТП1
|
Compact NSX100F
|
660 В ≥ 380 В
|
100 А ≥ 76,43 А
|
100 А ≤ 1,25·100 А
|
240 А ≥ 160,5 А
|
0,21 с
|
25 кА ≥ 5,461 кА
|
|
|
ШНЛ ТП1
|
Compact NSX100F
|
660 В ≥ 380 В
|
100 А ≥ 81,25 А
|
100 А ≤ 1,25·100 А
|
240 А ≥ 170,63 А
|
0,21 с
|
25 кА ≥ 5,461 кА
|
|
|
ШНЛ ТП1
|
Compact NSX40F
|
660 В ≥ 380 В
|
40 А ≥ 31,42 А
|
40 А ≤ 1,25·77 А
|
80 А ≥ 65,98 А
|
0,21 с
|
25 кА ≥ 5,461 кА
|
|
|
ШНЛ ТП1
|
Compact NSX100F
|
660 В ≥ 380 В
|
100 А ≥ 77,78 А
|
100 А ≤ 1,25·100 А
|
240 А ≥ 163,34 А
|
0,21 с
|
25 кА ≥ 5,461 кА
|
|
|
ШНЛ ТП1
|
Compact NSX32F
|
660 В ≥ 380 В
|
32 А ≥ 27,28 А
|
32 А ≤ 1,25·60 А
|
64 А ≥ 57,28 А
|
0,21 с
|
25 кА ≥ 5,461 кА
|
|
|
ШНЛ ТП2
|
Compact NSX100F
|
660 В ≥ 380 В
|
100 А ≥ 73,44 А
|
160 А ≤ 1,25·240 А
|
240 А ≥ 154,22 А
|
0,21 с
|
25 кА ≥ 6,06 кА
|
|
|
ШНЛ ТП2
|
Compact NSX50F
|
660 В ≥ 380 В
|
50 А ≥ 39,26 А
|
50 А ≤ 1,25·120 А
|
100 А ≥ 82,45 А
|
0,21 с
|
25 кА ≥ 6,06 кА
|
|
|
ШНЛ ТП2
|
Compact NSX50F
|
660 В ≥ 380 В
|
50 А ≥ 38,74 А
|
50 А ≤ 1,25·120 А
|
100 А ≥ 81,36 А
|
0,21 с
|
25 кА ≥ 6,06 кА
|
|
|
ШНЛ ТП3
|
Compact NSX160F
|
660 В ≥ 380 В
|
160 А ≥ 146,16 А
|
160 А ≤ 1,25·240 А
|
320 А ≥ 306,94 А
|
0,21 с
|
25 кА ≥ 6,06 кА
|
|
|
ШНЛ ТП3
|
Compact NSX100F
|
660 В ≥ 380 В
|
100 А ≥ 66,19 А
|
160 А ≤ 1,25·240 А
|
240 А ≥ 138,9 А
|
0,21 с
|
25 кА ≥ 6,06 кА
|
|
|
ШНЛ ТП4
|
Compact NSX100F
|
660 В ≥ 380 В
|
100 А ≥ 83,93 А
|
100 А ≤ 1,25·100 А
|
240 А ≥ 161,87 А
|
0,21 с
|
25 кА ≥ 5,065 кА
|
|
|
ШНЛ ТП4
|
Compact NSX100F
|
660 В ≥ 380 В
|
100 А ≥ 88,37 А
|
100 А ≤ 1,25·100 А
|
240 А ≥ 185,58 А
|
0,21 с
|
25 кА ≥ 5,065 кА
|
|
|
ВРУ № 1
|
ВА-51-25
|
660 В ≥ 380 В
|
25 А ≥ 14,708 А
|
25 А ≤ 1,25·100 А
|
112 А ≥ 22,9 А
|
0,01 с
|
3,8 кА ≥ 2,022 кА
|
|
|
ВРУ № 26
|
ВА-51-25
|
660 В ≥ 380 В
|
25 А ≥ 14,708 А
|
25 А ≤ 1,25·100 А
|
112 А ≥ 22,9 А
|
0,01 с
|
3,8 кА ≥ 0,959 кА
|
|
|
ВРУ № 35
|
ВА-51-25
|
660 В ≥ 380 В
|
25 А ≥ 9,021 А
|
25 А ≤ 1,25·100 А
|
112 А ≥ 22,9 А
|
0,01 с
|
3,8 кА ≥ 2,017 кА
|
|
|
ВРУ № 59
|
ВА-51-25
|
660 В ≥ 380 В
|
25 А ≥ 14,708 А
|
25 А ≤ 1,25·100 А
|
112 А ≥ 22,9 А
|
0,01 с
|
3,8 кА ≥ 0,942 кА
|
|
|
ВРУ № 81
|
ВА-51-25
|
660 В ≥ 380 В
|
25 А ≥ 14,708 А
|
25 А ≤ 1,25·100 А
|
112 А ≥ 22,9 А
|
0,01 с
|
3,8 кА ≥ 0,957 кА
|
|
|
ВРУ № 74
|
ВА-51-25
|
660 В ≥ 380 В
|
25 А ≥ 9,021 А
|
25 А ≤ 1,25·100 А
|
112 А ≥ 22,9 А
|
0,01 с
|
3,8 кА ≥ 2,092 кА
|
|
|
ВРУ № 27
|
ВА-51-25
|
660 В ≥ 380 В
|
25 А ≥ 9,021 А
|
25 А ≤ 1,25·100 А
|
112 А ≥ 22,9 А
|
0,01 с
|
3,8 кА ≥ 1,132 кА
|
|
|
ВРУ № 15
|
ВА-51-25
|
660 В ≥ 380 В
|
25 А ≥ 20,6 А
|
25 А ≤ 1,25·100 А
|
112 А ≥ 22,9 А
|
0,01 с
|
3,8 кА ≥ 2,022 кА
|
|
|
ВРУ № 60
|
ВА-51-25
|
660 В ≥ 380 В
|
25 А ≥ 14,708 А
|
25 А ≤ 1,25·100 А
|
112 А ≥ 22,9 А
|
0,01 с
|
3,8 кА ≥ 1,1 кА
|
|
|
ВРУ № 49
|
ВА-51-25
|
660 В ≥ 380 В
|
25 А ≥ 20,6 А
|
25 А ≤ 1,25·100 А
|
112 А ≥ 22,9 А
|
0,01 с
|
3,8 кА ≥ 1,823 кА
|
|
|
ВРУ № 75
|
ВА-51-25
|
660 В ≥ 380 В
|
25 А ≥ 14,708 А
|
25 А ≤ 1,25·100 А
|
112 А ≥ 22,9 А
|
0,01 с
|
3,8 кА ≥ 1,984 кА
|
|
|
ВРУ № 95
|
ВА-51-25
|
660 В ≥ 380 В
|
25 А ≥ 20,6 А
|
25 А ≤ 1,25·100 А
|
112 А ≥ 22,9 А
|
0,01 с
|
3,8 кА ≥ 1,045 кА
|
|
Таблица 10.4 - Выбор трансформаторов тока
|
Место установки аппарата
|
Тип аппарата
|
Параметры выбора аппарата
|
|
|
|
|
|
ШВВ ТП1
|
ТШЛ-0,66С 400/5 У2
|
660 В ≥ 380 В
|
400 А ≥ 392,2 А
|
|
ШВВ ТП2
|
ТШЛ-0,66С 300/5 У2
|
660 В ≥ 380 В
|
300 А ≥ 233,5А
|
|
ШВВ ТП3
|
ТШЛ-0,66С 300/5 У2
|
660 В ≥ 380 В
|
300 А ≥ 286,95 А
|
|
ШВВ ТП4
|
ТШЛ-0,66С 200/5 У2
|
660 В ≥ 380 В
|
200 А ≥ 178,5А
|
Приложение 11
Результаты выбора ТП
Таблица 11.1 - Результаты выбора ТП
|
ТП
|
Sн.т, кВ·А
|
NТ, шт.
|
|
|
xа, см
|
уа, см
|
xр, см
|
ур, см
|
|
Вариант 1
|
|
1
|
250
|
2
|
0,8
|
1,6
|
255,48
|
344,07
|
230,71
|
296,08
|
|
2
|
250
|
2
|
0,7
|
1,39
|
611,29
|
387,77
|
618,8
|
397,16
|
|
Вариант 2
|
|
1
|
160
|
1
|
0,8
|
-
|
278,97
|
465,41
|
276,52
|
463,77
|
|
2
|
160
|
2
|
0,85
|
1,7
|
619,24
|
486,88
|
619,42
|
496,1
|
|
3
|
2
|
0,65
|
1,3
|
389,02
|
201,01
|
388,24
|
207,06
|
|
Вариант 3
|
|
1
|
160
|
1
|
0,8
|
-
|
278,97
|
465,41
|
276,52
|
463,77
|
|
2
|
160
|
2
|
0,85
|
1,7
|
619,24
|
486,88
|
619,42
|
496,1
|
|
3
|
160
|
2
|
0,62
|
1,24
|
228,54
|
204,89
|
199,72
|
182,6
|
|
4
|
250
|
1
|
0,65
|
-
|
595,9
|
196,02
|
617,36
|
167,01
|
Таблица 11.2 - Технико-экономическое сравнение выбора трансформаторов
|
ТП
|
Sн.т, кВ·А
|
NТ, шт.
|
ККТП, руб.
|
ККТП·Е, руб.
|
ИП.ТР, руб.
|
ИОБСЛ.РЕН.АМ, руб.
|
З, руб.
|
|
1 вариант
|
|
1
|
250
|
2
|
352800
|
88200
|
97488,39
|
26107,2
|
211795,59
|
|
2
|
250
|
2
|
352800
|
88200
|
80219,95
|
26107,2
|
194527,15
|
|
Итого
|
705600
|
176400
|
177708,34
|
52214,4
|
406322,74
|
|
2 вариант
|
|
1
|
160
|
1
|
129600
|
32400
|
39844,11
|
9590,4
|
81834,51
|
|
2
|
160
|
2
|
259200
|
64800
|
86488,76
|
19180,8
|
170469,59
|
|
3
|
250
|
2
|
352800
|
88200
|
74118,04
|
26107,2
|
188425,24
|
|
Итого
|
741600
|
185400
|
200450,91
|
54878,4
|
440729,34
|
|
3 вариант
|
|
1
|
160
|
1
|
129600
|
32400
|
39844,11
|
9590,4
|
81834,51
|
|
2
|
160
|
2
|
259200
|
64800
|
86488,76
|
19180,8
|
170469,59
|
|
3
|
160
|
2
|
259200
|
64800
|
56147,16
|
19180,8
|
140127,96
|
|
4
|
250
|
1
|
176400
|
64800
|
36850,82
|
13053,6
|
93974
|
|
Итого
|
824400
|
226800
|
219331
|
61005,6
|
486406,06
|
Таблица 11.3 - Технико-экономическое сравнение выбора схемы
электроснабжения
|
№ ли-нии
|
Марка провода (кабеля)
|
Ip,
A
|
r0, мОм/мм
|
L, км
|
Ц, руб.
|
∆Wкл, кВт·ч
|
Ипкл, руб.
|
Кнкл, руб.
|
Иорам, руб.
|
Зсумм, руб.
|
|
1 Вариант
|
|
W6
|
СИП-2 3х150+1х95+ 1х16
|
87,534
|
0,265
|
0,515
|
351143
|
27481
|
81069
|
456486
|
33323
|
228514
|
|
W7
|
СИП-2 3х120+1х95+ 1х16
|
89,456
|
0,325
|
0,35
|
238949
|
23922
|
70570
|
310634
|
22676
|
170904
|
|
W8
|
СИП-2 3х150+1х95+ 1х16
|
99,176
|
0,265
|
0,38
|
351143
|
26030
|
76787
|
456486
|
33323
|
224232
|
|
W9
|
АВБбШв 5х120
|
167,11
|
0,261
|
0,25
|
348581
|
47886
|
141264
|
453155
|
33080
|
287634
|
|
W10
|
СИП-2 3х120+1х95+ 1х16
|
83,272
|
0,325
|
0,35
|
238949
|
22506
|
66391
|
310634
|
22676
|
166726
|
|
W11
|
АВБбШв 5х35
|
76,423
|
0,894
|
0,085
|
128625
|
11664
|
34407
|
167213
|
12207
|
88417
|
|
W12
|
АВБбШв 5х35
|
81,25
|
0,894
|
0,088
|
128625
|
13649
|
40266
|
167213
|
12207
|
94275
|
|
W13
|
АВБбШв 5х25
|
31,423
|
1,25
|
0,16
|
107603
|
5190
|
15310
|
139884
|
10212
|
60492
|
|
W14
|
АВБбШв 5х25
|
36,972
|
1,25
|
0,19
|
107603
|
8532
|
25168
|
139884
|
10212
|
70351
|
|
W15
|
СИП-2 3х150+1х95+ 1х16
|
87,534
|
0,265
|
0,515
|
351143
|
27481
|
81069
|
456486
|
33323
|
228514
|
|
W16
|
СИП-2 3х70+1х54,6+ 1х16
|
78,74
|
0,568
|
0,26
|
216912
|
23839
|
70326
|
281986
|
20585
|
161407
|
|
W17
|
АВБбШв 5х35
|
81,25
|
0,894
|
0,32
|
128625
|
11599
|
34218
|
167213
|
12207
|
88228
|
|
W18
|
АВБбШв 5х10
|
27,28
|
3,16
|
0,03
|
65162
|
1854
|
5469
|
84711
|
6184
|
32831
|
|
Итого
|
251633
|
742314
|
3591985
|
262215
|
1902525
|
|
2 вариант
|
|
W6
|
СИП-2 3х95+1х70+ 1х16
|
83,934
|
0,411
|
0,37
|
252247
|
28154
|
83055
|
327921
|
23938
|
188974
|
|
W7
|
СИП-2 3х95+1х70+ 1х16
|
83,287
|
0,411
|
0,31
|
252247
|
23226
|
685178
|
327921
|
23938
|
174437
|
|
W8
|
СИП-2 3х95+1х70+ 1х16
|
88,366
|
0,411
|
0,37
|
252247
|
31206
|
92058
|
327921
|
23938
|
197976
|
|
W9
|
АВБбШв 5х25
|
76,427
|
1,25
|
0,02
|
107603
|
3838
|
11321
|
10212
|
56503
|
|
W10
|
АВБбШв 5х25
|
81,248
|
1,25
|
0,1
|
107603
|
21685
|
63971
|
139884
|
10212
|
109153
|
|
W11
|
АВБбШв 5х16
|
31,423
|
1,95
|
0,13
|
81189
|
6758
|
19405
|
105546
|
7705
|
53497
|
|
W12
|
СИП-2 3х95+1х70+ 1х16
|
77,781
|
0,411
|
0,33
|
252247
|
21564
|
63614
|
327921
|
23938
|
169532
|
|
W13
|
АВБбШв 5х10
|
27,28
|
3,16
|
0,1
|
65162
|
6180
|
18232
|
84711
|
6184
|
45593
|
|
W14
|
АВБбШв 5х120
|
146,16
|
0,261
|
0,27
|
348581
|
39476
|
116455
|
453155
|
33080
|
262824
|
|
W15
|
СИП-2 3х95+1х70+ 1х16
|
66,19
|
0,411
|
0,37
|
252247
|
17509
|
51651
|
327921
|
23938
|
157569
|
|
W16
|
СИП-2 3х95+1х70+ 1х16
|
73,439
|
0,411
|
0,31
|
252247
|
18059
|
53273
|
327921
|
23938
|
159191
|
|
W17
|
АВБбШв 5х35
|
39,26
|
0,894
|
0,33
|
128625
|
11950
|
32235
|
167213
|
12207
|
89263
|
|
W18
|
АВБбШв 5х35
|
38,74
|
0,894
|
0,26
|
128625
|
9168
|
27044
|
167213
|
12207
|
81054
|
|
Итого
|
238773
|
1317492
|
3225132
|
235435
|
1745566
|
|
№ ли-нии
|
Марка провода (кабеля)
|
Ip,
A
|
r0, мОм/мм
|
L, км
|
Ц, руб.
|
∆Wкл, кВт·ч
|
Ипкл, руб.
|
Кнкл, руб.
|
Иорам, руб.
|
Зсумм, руб.
|
|
W6
|
СИП-2 3х95+1х70+ 1х16
|
83,934
|
0,411
|
0,37
|
252247
|
28154
|
83055
|
327921
|
23938
|
188974
|
|
W7
|
СИП-2 3х95+1х70+ 1х16
|
83,287
|
0,411
|
0,31
|
252247
|
23226
|
685178
|
327921
|
23938
|
174437
|
|
W8
|
СИП-2 3х95+1х70+ 1х16
|
88,366
|
0,411
|
0,37
|
252247
|
31206
|
92058
|
327921
|
23938
|
197976
|
|
W9
|
АВБбШв 5х25
|
76,427
|
1,25
|
0,02
|
107603
|
3838
|
11321
|
139884
|
10212
|
56503
|
|
W10
|
АВБбШв 5х25
|
81,248
|
1,25
|
0,1
|
107603
|
21685
|
63971
|
139884
|
10212
|
109153
|
|
W11
|
АВБбШв 5х16
|
31,423
|
1,95
|
0,13
|
81189
|
6758
|
19405
|
105546
|
7705
|
53497
|
|
W12
|
СИП-2 3х95+1х70+ 1х16
|
77,781
|
0,411
|
0,33
|
252247
|
21564
|
63614
|
327921
|
23938
|
169532
|
|
W13
|
АВБбШв 5х10
|
27,28
|
3,16
|
0,1
|
65162
|
6180
|
18232
|
84711
|
6184
|
45593
|
|
W14
|
АВБбШв 5х120
|
146,16
|
0,261
|
0,13
|
348581
|
19049
|
56195
|
453155
|
33080
|
202564
|
|
W15
|
СИП-2 3х95+1х70+ 1х16
|
66,19
|
0,411
|
0,34
|
252247
|
16089
|
47463
|
327921
|
23938
|
153381
|
|
W16
|
СИП-2 3х95+1х70+ 1х16
|
73,439
|
0,411
|
0,3
|
252247
|
17476
|
51554
|
327921
|
23938
|
157473
|
|
W17
|
АВБбШв 5х35
|
39,26
|
0,894
|
0,11
|
128625
|
3983
|
11751
|
167213
|
12207
|
65761
|
|
W18
|
АВБбШв 5х35
|
38,74
|
0,894
|
0,17
|
128625
|
5994
|
17683
|
167213
|
12207
|
71693
|
|
Итого
|
205202
|
1221480
|
3225132
|
235435
|
1646537
|
Приложение 12
Смета-спецификация
Таблица 12.1 - Спецификация оборудования и материалов, применяемых при
монтаже схемы электроснабжения
|
№ п/п
|
Наименование оборудования и
материалов
|
Тип, мощность, габариты
|
Ед. измер.
|
Кол-во
|
|
1
|
Трансформатор силовой
|
ТМГ-250 10/0,4
|
шт.
|
1
|
|
2
|
Трансформатор силовой
|
ТМГ-160 10/0,4
|
шт.
|
5
|
|
3
|
Шкаф ввода высоковольтный
|
КСО-203-30-400У3
|
шт.
|
18
|
|
4
|
Шкаф ввода низковольтный
|
ЩО70-1А-45УЗ
|
шт.
|
6
|
|
5
|
Шкаф линейный низковольтный
|
ЩО-70-1А-15УЗ
|
шт.
|
6
|
|
6
|
Шкаф секционный
низковольтный
|
ЩО-70-1А-74УЗ
|
шт.
|
2
|
|
7
|
Щиток управления уличным
освещением
|
ЩО-70-1А-94УЗ
|
шт.
|
4
|
|
8
|
Кабель
|
АПвБПг 3х50
|
100 м
|
0,3
|
|
9
|
Кабель
|
АПвБПг 3х95
|
100 м
|
0,9
|
|
10
|
Кабель
|
АВБбШв 3х6
|
100 м
|
7,1
|
|
11
|
Кабель
|
АВБбШв 4х6
|
100 м
|
0,3
|
|
12
|
Кабель
|
АВБбШв 5х6
|
100 м
|
0,12
|
|
13
|
Кабель
|
АВБбШв 5х10
|
100 м
|
1,07
|
|
14
|
Кабель
|
АВБбШв 5х16
|
100 м
|
3
|
|
15
|
Кабель
|
АВБбШв 5х25
|
100 м
|
2,1
|
Кабель
|
АВБбШв 5х35
|
100 м
|
5,9
|
|
17
|
Кабель
|
АВБбШв 5х120
|
100 м
|
2,9
|
|
18
|
Самонесущий изолированный
провод
|
СИП-2 3х16+1х25
|
100 м
|
14,85
|
|
19
|
Самонесущий изолированный
провод
|
СИП-2 3х16+1х54.6+1х16
|
100 м
|
0,9
|
|
20
|
Самонесущий изолированный
провод
|
СИП-2 3х95+1х95+1х25
|
100 м
|
20,6
|
|
21
|
Самонесущий изолированный
провод
|
СИП-3 1х50
|
100 м
|
3,3
|
|
22
|
Самонесущий изолированный
провод
|
СИП-3 1х70
|
100 м
|
22,5
|
|
23
|
Светильник наружного
освещения со светодиодными лампами Street-130
|
ГКУ 01-130-001
|
шт.
|
102
|
|
24
|
Светильник для прожектора
|
BLD-HPFL300H-W-90D
|
шт.
|
28
|
|
25
|
Щит
учетно-расперделительный
|
ЩУРН-3/9
|
шт.
|
135
|
|
26
|
Автоматический выключатель
|
ВА 51-25
|
шт.
|
90
|
|
27
|
Счетчик активной энергии
|
Меркурий 230
|
шт.
|
90
|
|
28
|
Заземлитель вертикальный из
круглой стали
|
|
шт.
|
10
|
|
29
|
Заземлитель горизонтальный
из круглой стали
|
|
100 м
|
0,438
|
ПРИЛОЖЕНИЕ 13
Сметная стоимость на электрооборудование
Таблица 13.1 - Смета затрат на электромонтажные работы
|
п/п
|
Шифр и номер позиции
норматива
|
Наименование работ и затрат
|
количество
|
стоимость на единицу, руб.
|
общая стоимость, руб.
|
затраты труда рабочих
|
|
|
|
|
единица измерения
|
Всего
|
эксплуатация машин
|
материалы
|
всего
|
основной зарплаты
|
эксплуатация машин
|
материалы
|
на единицу
|
всего
|
|
|
|
|
|
Основной зарплаты
|
в том числе зарплаты
|
|
|
|
в том числе зарплаты
|
|
|
|
|
|
1
|
2
|
3
|
4
|
5
|
6
|
7
|
8
|
9
|
10
|
11
|
12
|
13
|
|
|
1
|
08-01-062-02
|
Трансформатор силовой ТМГ
160/10
|
5
|
1581,04
|
581,15
|
784,06
|
7905,2
|
1079
|
2905,75
|
3920,3
|
22
|
107,5
|
|
|
|
|
шт.
|
215,86
|
47,62
|
|
|
|
238,1
|
|
|
|
|
|
2
|
08-01-062-02
|
Трансформатор силовой ТМГ
250/10
|
1
|
2660,28
|
1220,87
|
1137,21
|
2660,3
|
302,2
|
1220,87
|
1137,21
|
30
|
30,1
|
|
|
|
|
шт.
|
302,2
|
83,69
|
|
|
|
83,69
|
|
|
|
|
|
3
|
08-01-086-01
|
Шкаф ввода высоковольтный
КСО-203-30-400У3
|
18
|
470,2
|
370,57
|
6,96
|
8463,6
|
1668
|
6670,26
|
125,28
|
9,2
|
166,14
|
|
|
|
|
шт.
|
92,67
|
24,02
|
|
|
|
432,36
|
|
|
|
|
|
4
|
08-01-086-02
|
Шкаф ввода низковольтный ЩО70-1-16УЗ
|
18
|
327
|
180,48
|
6,96
|
5886
|
2512
|
3248,64
|
125,28
|
14
|
250,2
|
|
|
|
|
шт.
|
139,56
|
10,95
|
|
|
|
197,1
|
|
|
|
|
|
5
|
08-02-141-04
|
Кабель АПвБПг 3х50
|
0,3
|
1395,16
|
1078,92
|
97,37
|
418,55
|
65,66
|
323,676
|
29,211
|
22
|
6,54
|
|
|
|
|
100 м.
|
218,87
|
85,02
|
|
|
|
25,506
|
|
|
|
|
|
6
|
08-02-141-04
|
Кабель АПвБПг 3х95
|
0,9
|
1395,16
|
1078,92
|
97,37
|
1255,6
|
197
|
971,028
|
87,633
|
22
|
19,62
|
|
|
|
|
100 м.
|
218,87
|
85,02
|
|
|
|
76,518
|
|
|
|
|
|
7
|
08-02-141-01
|
Кабель АВБбШв 3х6
|
7,1
|
765,57
|
530,65
|
97,37
|
5435,5
|
976,6
|
3767,615
|
691,327
|
14
|
97,27
|
|
|
|
|
100 м.
|
137,55
|
45,36
|
|
|
|
322,056
|
|
|
|
|
|
8
|
08-02-141-01
|
Кабель АВБбШв 4х6
|
0,3
|
765,57
|
530,65
|
97,37
|
229,67
|
41,27
|
159,195
|
29,211
|
14
|
4,11
|
|
|
|
|
100 м.
|
137,55
|
45,36
|
|
|
|
13,608
|
|
|
|
|
|
9
|
08-02-141-01
|
Кабель АВБбШв 5х6
|
0,12
|
765,57
|
530,65
|
97,37
|
91,868
|
16,51
|
63,678
|
11,6844
|
14
|
1,644
|
|
|
|
|
100 м.
|
137,55
|
45,36
|
|
|
|
5,4432
|
|
|
|
|
|
10
|
08-02-141-01
|
Кабель АВБбШв 5х10
|
1,07
|
765,57
|
530,65
|
97,37
|
819,16
|
147,2
|
567,7955
|
104,186
|
14
|
14,659
|
|
|
|
100 м.
|
137,55
|
45,36
|
|
|
|
48,5352
|
|
|
|
|
11
|
08-02-141-02
|
Кабель АВБбШв 5х16
|
3
|
807,93
|
57301
|
97,37
|
2423,8
|
412,7
|
171903
|
292,11
|
14
|
41,1
|
|
|
|
100 м.
|
137,55
|
47,81
|
|
|
|
143,43
|
|
|
|
|
12
|
08-02-141-02
|
Кабель АВБбШв 5х25
|
2,1
|
807,93
|
57301
|
97,37
|
1696,7
|
288,9
|
120332,1
|
204,477
|
14
|
28,77
|
|
|
|
100 м.
|
137,55
|
47,81
|
|
|
|
100,401
|
|
|
|
|
13
|
08-02-141-02
|
Кабель АВБбШв 5х35
|
5,9
|
807,93
|
57301
|
97,37
|
4766,8
|
811,5
|
338075,9
|
574,483
|
14
|
80,83
|
|
|
|
100 м.
|
137,55
|
47,81
|
|
|
|
282,079
|
|
|
|
|
14
|
08-02-141-04
|
Кабель АВБбШв 5х120
|
2,9
|
1395,16
|
1078,92
|
97,37
|
4046
|
634,7
|
3128,868
|
282,373
|
22
|
63,22
|
|
|
|
100 м.
|
218,87
|
85,02
|
|
|
|
246,558
|
|
|
|
|
15
|
08-02-142-01
|
Устройство постели при
одном кабеле в траншее
|
23,69
|
1310,28
|
1243,71
|
-
|
31041
|
1577
|
-
|
6,6
|
157,06
|
|
|
|
100 м.
|
66,57
|
72,01
|
|
|
|
1705,9169
|
|
|
|
|
16
|
08-02-143-01
|
Покрытие кабеля кирпичом
|
23,69
|
1122,14
|
1056,78
|
-
|
26583
|
1548
|
25035,1182
|
-
|
6,5
|
154,22
|
|
|
|
100 м.
|
65,36
|
61,18
|
|
|
|
1449,3542
|
|
|
|
|
17
|
08-02-165-01
|
Муфта концевая эпоксидная
|
27
|
629,99
|
575,61
|
3,68
|
17010
|
1369
|
15541,47
|
99,36
|
5,6
|
149,85
|
|
|
|
шт.
|
50,7
|
53,58
|
|
|
|
1446,66
|
|
|
|
|
18
|
08-02-165-02
|
Муфта концевая эпоксидная
|
2
|
725,9
|
665,18
|
3,68
|
1451,8
|
113,5
|
1330,36
|
7,36
|
6,7
|
13,3
|
|
|
|
шт.
|
56,73
|
61,94
|
|
|
|
123,88
|
|
|
|
|
19
|
08-02-167-01
|
Муфта соединительная
эпоксидная
|
17
|
127,35
|
2,49
|
55,48
|
2165
|
1179
|
42,33
|
943,16
|
6,9
|
117,47
|
|
|
|
шт.
|
69,38
|
0,14
|
|
|
|
2,38
|
|
|
|
|
20
|
08-02-172-01
|
Кожухи защитные для
эпоксидных муфт
|
46
|
127,52
|
12,46
|
103,11
|
5865,9
|
549,7
|
573,16
|
4743,06
|
1,2
|
54,74
|
|
|
|
шт.
|
11,95
|
0,72
|
|
|
|
33,12
|
|
|
|
|
21
|
08-02-147-10
|
Самонесущий изолированный
провод СИП-2 3х16+1х25
|
14,85
|
907,65
|
624,98
|
105,97
|
13479
|
2624
|
9280,953
|
1573,65
|
18
|
261,36
|
|
|
|
100 м.
|
176,7
|
55,19
|
|
|
|
819,5715
|
|
|
|
|
22
|
08-02-147-10
|
Самонесущий изолированный
провод СИП-2 3х16+1х54.6+1х16
|
0,9
|
907,65
|
624,98
|
105,97
|
816,89
|
159
|
562,482
|
95,373
|
18
|
15,84
|
|
|
|
100 м.
|
176,7
|
55,19
|
|
|
|
49,671
|
|
|
|
|
23
|
08-02-147-11
|
Самонесущий изолированный
провод СИП-2 3х95+1х95+1x16
|
20,6
|
1112,48
|
789,65
|
105,97
|
22917
|
4467
|
16266,79
|
2182,98
|
22
|
444,96
|
|
|
|
100 м.
|
216,86
|
68,76
|
|
|
|
1416,456
|
|
|
|
|
24
|
08-02-147-10
|
Самонесущий изолированный
провод СИП-3 1х50
|
3,3
|
907,65
|
624,98
|
105,97
|
2995,2
|
583,1
|
2062,434
|
349,701
|
18
|
58,08
|
|
|
|
100 м.
|
176,7
|
55,19
|
|
|
|
182,127
|
|
|
|
|
25
|
08-02-147-10
|
Самонесущий изолированный
провод СИП-3 1х70
|
22,5
|
907,65
|
624,98
|
105,97
|
20422
|
3976
|
14062,05
|
2384,33
|
18
|
396
|
|
|
|
100 м.
|
176,7
|
55,19
|
|
|
|
1241,775
|
|
|
|
|
26
|
08-02-369-02
|
Светильник наружного
освещения ГКУ-01-130-001
|
102
|
199,98
|
135,14
|
39,24
|
20398
|
26112
|
13784,28
|
4002,48
|
2,3
|
238,68
|
|
|
|
шт.
|
256
|
12,41
|
|
|
|
1265,82
|
|
|
|
|
27
|
08-02-363-01
|
Кронштейн
"переход"
|
102
|
23,74
|
7,48
|
5,2
|
2421,5
|
1128
|
762,96
|
530,4
|
1,1
|
109,14
|
|
|
|
шт.
|
11,06
|
0,43
|
|
|
|
43,86
|
|
|
|
|
28
|
08-02-369-02
|
Светильник для прожектора
BLD-HPFL300H-W-90D
|
28
|
199,98
|
135,14
|
39,24
|
5599,4
|
7168
|
3783,92
|
1098,72
|
2,3
|
65,52
|
|
|
|
шт.
|
256
|
12,41
|
|
|
|
347,48
|
|
|
|
|
29
|
08-03-573-04
|
Щит
учетно-расперделительный ЩУРН-3/9
|
145
|
82,4
|
54,2
|
3,69
|
11124
|
3309
|
7317
|
498,15
|
2,4
|
319,95
|
|
|
|
шт.
|
24,51
|
3,37
|
|
|
|
454,95
|
|
|
|
|
30
|
08-03-525-01
|
Автоматический выключатель
ВА 51-25
|
90
|
175,27
|
2,83
|
151,46
|
15774
|
1888
|
254,7
|
13631,4
|
2,1
|
188,1
|
|
|
|
шт.
|
20,98
|
0,06
|
|
|
|
5,4
|
|
|
|
|
31
|
08-03-600-02
|
Счетчик активной и
реактивной энергии "Меркурий 230"
|
90
|
11,84
|
2,49
|
0,35
|
1065,6
|
810
|
224,1
|
31,5
|
0,3
|
30,6
|
|
|
|
шт.
|
9
|
0,14
|
|
|
|
12,6
|
|
|
|
|
32
|
08-02-471-04
|
Заземлитель вертикальный из
круглой стали
|
1
|
604,55
|
55,58
|
467,65
|
604,55
|
81,32
|
55,58
|
467,65
|
8,3
|
8,29
|
|
|
|
10 шт.
|
81,32
|
2,02
|
|
|
|
2,02
|
|
|
|
|
33
|
08-02-472-01
|
Заземлитель горизонтальный
из круглой стали
|
0,438
|
771,74
|
60,38
|
524,97
|
338,022
|
81,64
|
26,44644
|
229,937
|
19
|
8,322
|
|
|
|
100 м.
|
186,39
|
2,02
|
|
|
|
0,88476
|
|
|
|
|
|
Итого
|
|
248170
|
67878
|
169760,109
|
40484
|
|
3703,2
|
|
|
|
|
|
12819,31076
|
|
|
|
|
|
|
|
|
|
|
|
|
|
|
|
|
|
|
|
|
|
|
|
|
|
|
|
|
|
|
|
|
|
|
|
|
|
|
|
|
Оборудование в текущих ценах
|
http://www.vitok-energo.ru
|
Трансформатор силовой ТМГ
160/10
|
5
|
108000
|
0
|
0
|
540000
|
0
|
0
|
0
|
0
|
0
|
|
|
шт.
|
0
|
0
|
|
|
|
0
|
|
|
|
|
http://www.vitok-energo.ru
|
Трансформатор силовой ТМГ
250/10
|
1
|
147000
|
0
|
0
|
147000
|
0
|
0
|
0
|
0
|
|
|
шт.
|
0
|
0
|
|
|
|
0
|
|
|
|
|
http://almaz-nk.ru/price
|
Шкаф ввода высоковольтный
КСО-203-30-400У3
|
18
|
82800
|
0
|
0
|
1490400
|
0
|
0
|
0
|
0
|
0
|
|
|
шт.
|
0
|
0
|
|
|
|
0
|
|
|
|
|
http://energo-2.ru/
|
Шкаф ввода низковольтный
ЩО70-1-16УЗ
|
18
|
25950
|
0
|
0
|
467100
|
0
|
0
|
0
|
0
|
0
|
|
|
шт.
|
0
|
0
|
|
|
|
0
|
|
|
|
|
http://remcable.3dn.ru
|
Кабель АПвБПг 3х50
|
0,03
|
0
|
0
|
71210
|
0
|
0
|
0
|
2136,3
|
0
|
0
|
|
|
1 км.
|
0
|
0
|
|
|
|
0
|
|
|
|
|
http://remcable.3dn.ru
|
Кабель АПвБПг 3х95
|
0,09
|
0
|
0
|
166466
|
0
|
0
|
0
|
14981,9
|
0
|
0
|
|
|
1 км.
|
0
|
0
|
|
|
|
0
|
|
|
|
|
http://remcable.3dn.ru
|
Кабель АВБбШв 3х6
|
0,71
|
0
|
0
|
48281
|
0
|
0
|
0
|
34279,5
|
0
|
0
|
|
|
1 км.
|
0
|
0
|
|
|
|
0
|
|
|
|
|
http://remcable.3dn.ru
|
Кабель АВБбШв 4х6
|
0,03
|
0
|
0
|
53748
|
0
|
0
|
0
|
1612,44
|
0
|
0
|
|
|
1 км.
|
0
|
0
|
|
|
|
0
|
|
|
|
|
http://remcable.3dn.ru
|
Кабель АВБбШв 5х6
|
0,012
|
0
|
0
|
64773
|
0
|
0
|
0
|
777,276
|
0
|
0
|
|
|
1 км.
|
0
|
0
|
|
|
|
0
|
|
|
|
|
http://remcable.3dn.ru
|
Кабель АВБбШв 5х10
|
0,107
|
0
|
0
|
65162,0
|
0
|
0
|
0
|
6972,33
|
0
|
0
|
|
|
1 км.
|
0
|
0
|
|
|
|
0
|
|
|
|
|
http://remcable.3dn.ru
|
Кабель АВБбШв 5х16
|
0,3
|
0
|
0
|
81189
|
0
|
0
|
0
|
24356,7
|
0
|
0
|
|
|
1 км.
|
0
|
0
|
|
|
|
0
|
|
|
|
|
http://remcable.3dn.ru
|
Кабель АВБбШв 5х25
|
0,21
|
0
|
0
|
107603
|
0
|
0
|
0
|
22596,6
|
0
|
0
|
|
|
1 км.
|
0
|
0
|
|
|
|
0
|
|
|
|
|
http://remcable.3dn.ru
|
Кабель АВБбШв 5х35
|
0,59
|
0
|
0
|
128625
|
0
|
0
|
0
|
75888,8
|
0
|
0
|
|
|
1 км.
|
0
|
0
|
|
|
|
0
|
|
|
|
|
http://remcable.3dn.ru
|
Кабель АВБбШв 5х120
|
0,29
|
0
|
0
|
348581
|
0
|
0
|
0
|
101088
|
0
|
0
|
|
|
1 км.
|
0
|
0
|
|
|
|
0
|
|
|
|
|
http://рос-муфта.рф
|
Муфта концевая эпоксидная
|
29
|
659,2
|
0
|
0
|
19116,8
|
0
|
0
|
0
|
0
|
0
|
|
|
шт.
|
0
|
0
|
|
|
|
0
|
|
|
|
|
http://рос-муфта.рф
|
Муфта соединительная
эпоксидная
|
17
|
1351,88
|
0
|
0
|
22982
|
0
|
0
|
0
|
0
|
0
|
|
|
шт.
|
0
|
0
|
|
|
|
0
|
|
|
|
|
http://remcable.3dn.ru
|
Самонесущий изолированный
провод СИП-2 3х16+1х25
|
1,485
|
0
|
0
|
56596
|
0
|
0
|
0
|
84045,1
|
0
|
0
|
|
|
1 км.
|
0
|
0
|
|
|
|
0
|
|
|
|
|
http://remcable.3dn.ru
|
Самонесущий изолированный
провод СИП-2 3х16+1х54.6+1х16
|
0,09
|
0
|
0
|
92480
|
0
|
0
|
0
|
8323,2
|
0
|
0
|
|
|
1 км.
|
0
|
0
|
|
|
|
0
|
|
|
|
|
http://remcable.3dn.ru
|
Самонесущий изолированный
провод СИП-2 3х35+1х54.6+1х16
|
0,02
|
0
|
0
|
133804
|
0
|
0
|
0
|
2676,08
|
0
|
0
|
|
|
1 км.
|
0
|
0
|
|
|
|
0
|
|
|
|
|
http://remcable.3dn.ru
|
Самонесущий изолированный
провод СИП-2 3х95+1х95+1x16
|
2,06
|
0
|
0
|
266763
|
0
|
0
|
0
|
549532
|
0
|
0
|
|
|
1 км.
|
0
|
0
|
|
|
|
0
|
|
|
|
|
http://remcable.3dn.ru
|
Самонесущий изолированный
провод СИП-3 1х70
|
2,25
|
0
|
0
|
57356
|
0
|
0
|
0
|
129051
|
0
|
0
|
|
|
100 м.
|
0
|
0
|
|
|
|
0
|
|
|
|
|
http://remitek.ru/
|
Прокалывающий герметичный
зажим ЗПО 16-95|1,5-10
|
91
|
70
|
0
|
0
|
6370
|
0
|
0
|
0
|
0
|
0
|
|
|
шт.
|
0
|
0
|
|
|
|
0
|
|
|
|
|
http://www.blizko.ru/
|
Светильник наружного
освещения ГКУ 01-130-001
|
102
|
18500
|
0
|
0
|
1887000
|
0
|
0
|
0
|
0
|
0
|
|
|
шт.
|
0
|
0
|
|
|
|
0
|
|
|
|
|
http://www.chelzemi.ru/
|
Кронштейн КН-1
|
102
|
0
|
0
|
210
|
0
|
0
|
0
|
0
|
0
|
|
|
шт.
|
0
|
0
|
|
|
|
0
|
|
|
|
|
http://www.beeled.ru/
|
Светильник для прожектора
BLD-HPFL300H-W-90D
|
28
|
12670
|
0
|
0
|
354760
|
0
|
0
|
0
|
0
|
0
|
|
|
шт.
|
0
|
0
|
|
|
|
0
|
|
|
|
|
http://www.elektro-portal.com
|
Щит
учетно-расперделительный ЩУРН-3/9
|
135
|
1130
|
0
|
0
|
152550
|
0
|
0
|
0
|
0
|
0
|
|
|
шт.
|
0
|
0
|
|
|
|
0
|
|
|
|
|
|
|
|
|
|
|
|
|
|
|
|
|
|
Автоматический выключатель
ВА 51-25
|
90
|
410
|
0
|
0
|
36900
|
0
|
0
|
0
|
0
|
0
|
|
шт.
|
0
|
0
|
|
|
|
0
|
|
|
|
|
Счетчик активной и
реактивной энергии "Меркурий 230"
|
90
|
2350
|
0
|
0
|
211500
|
0
|
0
|
0
|
0
|
0
|
|
шт.
|
0
|
0
|
|
|
|
0
|
|
|
|
|
Заземлитель вертикальный из
круглой стали
|
10
|
0
|
0
|
495
|
0
|
0
|
0
|
4950
|
0
|
0
|
|
шт.
|
0
|
0
|
|
|
|
0
|
|
|
|
|
Итого
|
|
|
|
|
5335679
|
|
|
1106790
|
|
|
Приложение 14
Смета затрат на пуско-наладочные работы
Таблица 14.1 - Смета затрат на пусконаладочные работы
|
п/п
|
Шифр и номер позиции
норматива
|
Наименование работ и затрат
|
количество
|
стоимость на единицу, руб.
|
общая стоимость, руб.
|
затраты труда рабочих
|
|
|
|
единица измерения
|
Всего
|
эксплуатация машин
|
материалы
|
всего
|
основной зарплаты
|
эксплуатация машин
|
материалы
|
на единицу
|
всего
|
|
|
|
|
Основной зарплаты
|
в том числе зарплаты
|
|
|
|
в том числе зарплаты
|
|
|
|
|
1
|
2
|
3
|
4
|
5
|
6
|
7
|
8
|
9
|
10
|
11
|
12
|
13
|
|
1
|
01-02-002-01
|
Трансформатор силовой
двухобмоточный напряжением, кВ, до 11, мощностью, МВА, до 0,32
|
6
|
102,69
|
-
|
-
|
616,14
|
616,14
|
-
|
-
|
7
|
42
|
|
|
|
шт.
|
102,69
|
-
|
|
|
|
-
|
|
|
|
|
2
|
01-12-010-01
|
Испытание повышенным
напряжением обмоток силового трансформатора
|
12
|
43,35
|
-
|
-
|
520,2
|
520,2
|
-
|
-
|
3
|
36
|
|
|
|
исп.
|
43,35
|
-
|
|
|
|
-
|
|
|
|
|
3
|
01-11-029-01
|
Испытание масла на
свободное протекание и измерение коэффициента пропитки кабельной линии
низкого давлени
|
6
|
609,6
|
-
|
-
|
3657,6
|
3657,6
|
-
|
-
|
48
|
288
|
|
|
|
исп.
|
609,6
|
-
|
|
|
|
-
|
|
|
|
|
4
|
01-11-029-02
|
Испытание масла на пробой
|
6
|
12,77
|
-
|
-
|
76,62
|
76,62
|
-
|
-
|
1
|
6
|
|
|
|
исп.
|
12,77
|
-
|
|
|
|
-
|
|
|
|
|
5
|
01-02-017-01
|
Трансформатор тока напряженим
до 1 кВ
|
6
|
20,79
|
-
|
-
|
124,74
|
124,74
|
-
|
-
|
1,5
|
9
|
|
|
|
шт.
|
20,79
|
-
|
|
|
|
-
|
|
|
|
|
6
|
01-12-010-02
|
Испытание первичной обмотки
измерительного трансформатора
|
18
|
43,35
|
-
|
-
|
780,3
|
780,3
|
-
|
-
|
3
|
54
|
|
|
|
исп.
|
43,35
|
-
|
|
|
|
-
|
|
|
|
|
7
|
01-12-010-02
|
Испытание вторичной обмотки
измерительного трансформатора
|
18
|
28,9
|
-
|
-
|
520,2
|
520,2
|
-
|
-
|
2
|
36
|
|
|
|
исп.
|
28,9
|
-
|
|
|
|
-
|
|
|
|
|
8
|
01-03-002-04
|
Выключатель трехполюсный с
электромагнитным, тепловым или комбинированным расцепителем, номинальный ток
до 50 А
|
90
|
20,08
|
-
|
-
|
1807,2
|
1807,2
|
-
|
-
|
2
|
180
|
|
|
|
шт.
|
20,08
|
-
|
|
|
|
-
|
|
|
|
|
9
|
01-03-002-05
|
Выключатель трехполюсный с
электромагнитным, тепловым или комбинированным расцепителем, номинальный ток
до 200 А
|
21
|
30,12
|
-
|
-
|
632,52
|
632,52
|
-
|
-
|
3
|
63
|
|
|
|
шт.
|
30,12
|
-
|
|
|
|
-
|
|
|
|
|
10
|
01-03-002-06
|
Выключатель трехполюсный с
электромагнитным, тепловым или комбинированным расцепителем, номинальный ток
до 600 А
|
4
|
40,16
|
-
|
-
|
160,64
|
160,64
|
-
|
-
|
4
|
16
|
|
|
|
шт.
|
40,16
|
-
|
|
|
|
-
|
|
|
|
|
11
|
01-03-008-01
|
Выключатель нагрузки
напряжением до 11 кВ
|
16
|
124,74
|
-
|
-
|
1995,8
|
1995,8
|
-
|
-
|
9
|
144
|
|
|
|
шт.
|
124,74
|
-
|
|
|
|
-
|
|
|
|
|
12
|
01-12-027-01
|
Испытание силового кабеля
длиной до 500 м.,напряжением до 10кВ
|
21
|
79,38
|
-
|
-
|
1667
|
1667
|
-
|
-
|
6
|
126
|
|
|
|
исп.
|
79,38
|
-
|
|
|
|
-
|
|
|
|
|
13
|
01-12-027-04
|
Испытание силового кабеля
длиной до 1000 м.,напряжением до 35кВ
|
1
|
103,19
|
-
|
-
|
103,19
|
103,19
|
-
|
-
|
7,8
|
7,8
|
|
|
|
исп.
|
103,19
|
-
|
|
|
|
|
14
|
1-05-016-1
|
Устройство АВР
трансформаторов и линий
|
1
|
322,35
|
-
|
-
|
322,35
|
322,35
|
-
|
-
|
21
|
21
|
|
|
|
устр.
|
322,35
|
-
|
|
|
|
-
|
|
|
|
|
|
|
Итого
|
|
12985
|
12985
|
|
|
|
1029
|
|
|
|
|
|
|
|
|
|
|
|
|
|
|
|
|
|
|
|
|
|
|
|
|
|
|
|
|
|
|
|
Приложение 15
Пересчет сметы
Таблица 16.1- Пересчет сметы
|
№ п/п
|
Наименование показателя
|
Коэффициент, отн. ед.
|
Значение, руб.
|
|
1.
|
Монтажные работы в
базисных ценах (01.01.2001 г.)
|
|
|
|
в том числе:
|
|
|
|
основная заработная плата
|
|
37878
|
|
заработная плата машинистов
|
|
12819,31
|
|
затраты по эксплуатации
машин
|
|
169760,11
|
|
строительные материалы
|
|
40484
|
|
2.
|
Пересчет стоимости
монтажных работ в текущие цены
|
|
|
|
Удорожание затрат на
заработную плату
|
13,979
|
1506022,76
|
|
Удорожание затрат по
эксплуатации машин
|
6,408
|
1005676,65
|
|
Удорожание строительных
материалов
|
6,39
|
256628,08
|
|
Всего прямых затрат в
текущих ценах:
|
|
2768327,49
|
|
Накладные расходы
|
0,95
|
1430721,62
|
|
Сметная прибыль
организации
|
0,65
|
978914,79
|
|
Всего затрат на монтажные
работы в текущих ценах по смете:
|
|
5177963,9
|
|
3.
|
Стоимость оборудования по
смете:
|
|
|
|
Стоимость оборудования в
текущих ценах
|
|
5335679
|
|
Расчет дополнительных
расходов на оборудование
|
|
|
|
расходы на запасные части
|
0,02
|
106713,58
|
|
транспортные расходы
|
0,045
|
240105,56
|
|
снабженческо-сбытовая
наценка
|
0,05
|
266783,95
|
|
заготовительно-складские
расходы
|
0,012
|
64028,15
|
|
расходы на комплектацию
|
0,0075
|
40017,59
|
|
Всего дополнительные
расходы на оборудование:
|
|
797684,06
|
|
Всего расходы на
оборудование в текущих ценах
|
|
6133363,02
|
|
4.
|
Стоимость материалов по
смете:
|
|
|
|
Оптовая цена на материалы
в текущих ценах
|
|
1106790
|
|
Расчет дополнительных
расходов на материалы
|
|
|
|
транспортные расходы
|
0,045
|
49805,55
|
|
заготовительно-складские
расходы
|
0,012
|
14078,37
|
|
Всего дополнительные
расходы на материалы:
|
|
80485,77
|
|
Всего расходы на материалы в
текущих ценах
|
|
1187275,77
|
|
5
|
Пуско-наладочные работы в
базисных ценах 2001 г.
|
|
|
|
Всего:
|
|
12985
|
|
Пересчет стоимости
пуско-наладочных работ в текущие цены
|
|
|
|
Всего затрат на
пуско-наладочные работы в текущих ценах по смете:
|
8,58
|
111411
|
|
6.
|
Лимитированные и прочие
затраты в текущих ценах:
|
|
|
|
1. Затраты на временные
здания и сооружения
|
0,039
|
201940,59
|
|
2. Затраты на работу в
зимнее время
|
0,0203
|
144319,23
|
|
3. Затраты на подвижной
характер работы
|
0,18
|
225903,4
|
|
4. Затраты на перевозку
крупногабаритных грузов
|
0,0003
|
1553,39
|
|
7. Затраты на премирование
за ввод в эксплуатацию
|
0,025
|
110290,63
|
|
8. Затраты на охрану
объектов строительства
|
0,013
|
67313,53
|
|
Сумма лимитированных и
прочих затрат
|
|
6632407,25
|
|
9. Авторский надзор
|
0,0002
|
38262,02
|
|
10. Непредвиденные расходы
и затраты
|
0,0300
|
478275,25
|
|
Всего лимитированных и
прочих затрат в текущих ценах:
|
|
|
|
7.
|
Полная стоимость
электромонтажных работ в текущих ценах:
|
|
19242420,94
|