Одноэтажное промышленное здание 'Цех по сборке сэндвич-панелей'

  • Вид работы:
    Курсовая работа (т)
  • Предмет:
    Строительство
  • Язык:
    Русский
    ,
    Формат файла:
    MS Word
    221,19 Кб
  • Опубликовано:
    2016-02-07
Вы можете узнать стоимость помощи в написании студенческой работы.
Помощь в написании работы, которую точно примут!

Одноэтажное промышленное здание 'Цех по сборке сэндвич-панелей'















Одноэтажное промышленное здание «Цех по сборке сэндвич панелей»

Введение

Целью выполнения курсового проекта является систематизация углубления и закрепления теоретических знаний по проектированию промышленных зданий, формирование навыков самостоятельной работы при решении профессиональных задач.

Выполнение курсовых проектов создаёт необходимые предпосылки для глубокого овладения материалом. При его изучении важно уяснить центральное место предмета в приобретении профессиональных знаний и навыков по проектированию промышленных зданий, по их конструированию и объёмно-планировочному решению, а также особенностям работы конструктивных элементов зданий.

Современное индустриальное строительное производство ведётся на базе развитой сети заводов-изготовителей, направляя на строительные площадки, подготовленные к монтажу укрупнённые элементы массой до 50 тонн, в соответствии с грузоподъёмностью монтажных кранов.

Значительная часть промышленных зданий и сооружений возводится по типовым проектам. Типизация заключается в постоянном отборе наиболее универсальных для данного периода объёмно-планировочных и конструктивных решений, дающих наибольший экономический эффект в строительстве и эксплуатации зданий. Современные типовые здания и сооружения отличаются от всех предшественников тем, что они унифицированы и подготовлены для возведения методами строительной индустрии.

Несущий каркас промышленных зданий, как правило, воспринимает значительные усилия, возникающие в связи с перекрытием больших площадей. Поэтому несущие каркасы промышленных зданий выполняют в виде рамных систем из особо прочных материалов: стали и бетона.

Конструкции, изготовляемых отечественными заводами, унифицированных изделий для всех частей здания постоянно усовершенствуются и развиваются.

Темой курсового проекта является - одноэтажное промышленное здание «Цех по сборке сэндвич панелей»

Здание в плане имеет простую форму в виде прямоугольника. Размеры в плане по крайним осям: 49Х84м. Здание одноэтажное - высота этажа в осях А-Б -8,4м; Б-В -8,4м; В`-Г - 9,6м; Г-Д - 9,6м. Здание безподвальное. Состав помещений приведен в таблице 1 Экспликации помещений.

По архитектурно-планировочному решению здание пролетного типа- количество пролетов - 4: в осях А - Б пролёт 12м, в осях Б - В пролет 12м, в осях В` - Г пролет 12м, в осях Г - Д пролёт 12м. Шаг крайних колонн - 6м, шаг средних колонн - 12 м

По конструктивной схеме - здание с полным каркасом, выполненным из сборного железобетона.

Пространственная жесткость и устойчивость здания обеспечивается:

в поперечном направлении: рамами, образованными жестко защемленными в фундамент колоннами и шарнирно опирающимися на них стропильными балками.

в продольном направлении: рамы связаны вертикальными связями, жестким диском покрытия, стеновыми панелями.

В здании запроектирован мостовой кран, в пролетах В`-Г и Г-Д грузоподъемностью 20 тонн и подвесной кран, в пролетах А-Б и Б-В грузоподъемностью 1 тонну.

По долговечности здание относится ко II классу, т.к. его конструктивные элементы рассчитаны на срок службы 50 - 100 лет.

По огнестойкости в соответствии с СНБ 2.02.01 - 98 здание относится ко II степени, т.к. основные конструктивные элементы здания выполнены из негорючих материалов - железобетона. Класс ответственности здания по СНиП 2.01.07 - 85 - второй.

При пожаре эвакуация людей из здания будет осуществляться через ворота. Количество выходов - 8.

Технико-экономические показатели здания

1.      Площадь застройки

А3= (Lзд) х (Взд) = 84,66 х 50,16 = 4246,5 м2.

. Конструктивная площадь

Аконстр = Акол + Астен

Акол = (38 х 0,785) + (8 х 0,628) + (38 х 1,099) = 76,6 м2.

Астен = 2 х (84,66 х 0,3) + 2 х (49,56 х 0,3) + 7,3= 87,8 м2 (7.3 - площадь кирпичных стен и перегородок)

Аконстр = 76,6 + 87,8 = 164,4 м2

3.      Полезная площадь

Апол = Lзд х Взд - Аконстр = 84,66 х 50,16 - 164,4 = 4082,1 м2

.        Рабочую площадь

Араб. = Апол - (Азоны отдыха + Асанузлов) = 4082,1 - (72,47 + 38,9) = 3970 м2

. Строительный объем

ст = Аз1 х Нзд1 = 4246,5 х 14,13 = 60003 м3

Краткое описание разбивочного плана

Здание размещается на участке со спокойным рельефом

Кроме него на участке расположены: магазин "Продукты", здание администрации, общежитие для персонала предприятия, склад готовой продукции.

Разрывы между названными зданиями запроектированы с учетом санитарных и противопожарных норм по СНиП 2.07.01-89 33,26 м

Ширина дорог 6м, тротуаров 2.25 м.

Здание имеет благоприятную ориентацию по сторонам горизонта: окна фасада 1-11 сориентированы на южную сторону горизонта. Это отвечает требованиям к теплозащите, инсоляции и естественному проветриванию проектируемого здания.

Экспликация разбивочного плана

Номер здания

Наименование

Координаты квадрата сетки

1

Цех по сборке сэндвич панелей

0А;0Б ; 1А;1Б

2

Магазин "Продукты"

1А ; 0Б

3

Здание Администрации

1А;0Б ; 1А;1Б

4

Общежитие для персонала предприятия

0А ; 1Б

5

Склад готовой продукции

0А ; 0Б


Краткие сведения о подъемно-транспортном оборудовании

Здание оборудовано 4 кранами. Двумя мостовыми и двумя подвесными кранами - по одному крану в каждом пролете. Грузоподъемность мостовых кранов - 20 т., а подвесных кранов - 1 т. Эти краны относятся к подъемно-транспортному оборудованию периодического действия и служат для перемещения грузов, тем самым облегчают труд работающих.

Мостовой кран состоит из несущего моста, перекрывающего рабочий пролет цеха, механизма передвижения вдоль подкранового пути, передвигающейся вдоль моста тележки с механизмом подъема и кабины управления, подвешенной к мосту, служебной лестницы и посадочной площадки.

Кран передвигается по рельсам, уложенным по подкрановым балкам, которые монтируются на консоли колонн каркаса здания.

Расстояния между осями крановых путей мостового крана принято 10,5 для пролета 12 м. Расстояние между координационной осью колонны и осью кранового рельса принято 750 мм.

Подвесной кран: 1 - грузовая лебедка; 2 - монорельс; 3 - подвеска. 4 - пульт управления.

Конструктивное решение

Фундаменты

В данном здании использованы столбчатые монолитные фундаменты стаканного типа. Фундаменты выполняют по бетонной подготовке из тощего бетона кл В 3,5 толщиной 100мм; размером на 100мм больше подошвы в каждую сторону, предварительно проведено уплотнение грунта основания. Строительство ведётся в городе Минске:

Отметка обреза фундамента - 0.150,

отметка подошвы фундамента - 1.650,

Подбор фундамента под колонну (ø 500):

1.      Определяем минимальный размер подколонника:

Аподк мин = ВПодк мин = ак + 2 х 75 + 2 х 175 = 500 + 150 + 350 = 1000мм

Принимаем по каталогу подколонник типа Б (1200 х 1200мм)

2.      Определяем размеры средней ступени фундамента:

Ас = Вп = Аподк + 2 х 300 = 1600мм

. Определяем размер подошвы фундамента:

Ап = Ас + 600 = 2200мм

Принимаем фундамент с размерами подошвы 2200 х 2200 мм (по индивидуальному расчёту)

Подбор фундамента под колонну (ø 700):

1.      Определяем минимальный размер подколонника:

Аподк мин = ВПодк мин = ак + 2 х 75 + 2 х 175 = 700 + 150 + 350 = 1200мм

Принимаем подколонник размерами (1200 х 1200мм)

2.      Определяем размеры средней ступени фундамента:

Ас = Вп = Аподк + 2 х 300 = 1800мм

. Определяем размер подошвы фундамента:

Ап = Ас + 600 = 2400мм

Подбор фундамента под колонну (ø 400) в связи со спецификой конструкции здания данный тип колонн применён как альтернатива фахверковым колоннам.

1.      Определяем минимальный размер подколонника:

Аподк мин = ВПодк мин = ак + 2 х 75 + 2 х 175 = 400 + 150 + 350 = 900мм

Принимаем подколонник размерами (900 х 900мм)

2.      Определяем размер подошвы фундамента:

Ап = Аподк мин + 600 = 900 + 600 = 1500мм

Принимаем фундамент с размерами подошвы 1500 х 1500 мм (по индивидуальному расчёту)

Подбор фундамента под колонны (ø 700) и (ø500) соответственно, расположенные на деформационном шве осуществляется по индивидуальному расчёту с учётом расстояния между продольными координационными осями в этом месте в 1000мм, а также с учётом особенностей привязки консольных и бесконсольных центрифугированных железобетонных колонн.

1.      Определяем мин. размер подколонника:

Аподк мин = 250 + 350 + 1000 + 500 + 250 = 2350мм

ВПодк мин= 700 + 2 х 75 + 2 х 175 = 1200мм

2.      Определяем размеры средней ступени фундамента:

Ас = Аподк + 2 х 300 = 2950мм

Вс = Вподк + 2 х 300 = 1800мм

. Определяем размер подошвы фундамента:

Ап = Ас + 600 = 3550мм

Вп = Вс + 600 = 1800мм

Принимаем фундамент с размерами подошвы 3550 х 1800 мм (по индивидуальному расчёту)

Фундаментные балки

Фундаментные балки запроектированы сборные железобетонные. Они служат для опирания на них стен и защищают пол от продувания в случае просадки отмостки. Фундаментные балки укладывают между подколонниками соседних колонн на специальные бетонные столбики. Зазоры между торцами балок и подколонниками 25 - 75мм, их заполняют бетоном класса В 7.5. Балки укладывают с внешней стороны колонн так, чтобы ось балок совпадала с осью стены.

В шаге воротного проема фундаментные балки не укладываются.

Отметка верха фундаментные балки - 0, 030. По верху фундаментные балки устраивают горизонтальную гидроизоляцию - слой цементно-песчаного раствора состава 1:2 толщиной 30мм.

Для предотвращения деформации балок вследствие возможного пучения грунтов снизу под балки и со сторон устраивают утепляющую подсыпку из крупнозернистого песка. Вдоль фундаментных балок на поверхности грунта устраивают отмостку с уклоном от стен здания 5% для отвода поверхностных вод.

В здании запроектированы фундаментные балки таврового сечения, т.к. конструкция наружных стен - железобетонная.

Подбор фундаментных балок

1.      Стена самонесущая (колонна ø500 и ø700)

фб= 6000 - (Аподк / 2 + Аподк / 2) - 2 х 75 = 6000 - (1000 / 2 + 1000 / 2) - 150 = 4750мм

Принимаем марку ФБ 6-13 по серии 1.415-1 вып. 1

2.      Для крайней балки и смещенной колонны (колонна ø500):

Lфб = 6000 -500 -500 - 500 - 2 х 25 = 4450мм

Принимаем марку ФБ 6 -14 по серии 1.415-1 вып. 1

3. Для крайней балки и смещенной колонны (колонна ø700):

Lфб = 6000 -500 -600 - 600 = 4300мм

Принимаем марку ФБ 6 -15 по серии 1.415-1 вып. 1

Колонны

Колонны запроектированы сборные железобетонные центрифугированные бесконсольные и консольные. Диаметр перечного сечения бесконсольных колонн 500мм, при этом высота крайних колонн 8.400, а средних - 7.800. Диаметр перечного сечения консольных колонн 700мм, при этом высота крайних колонн 9.600, а средних 9.000.

Привязка бесконсольных колонн относительно крайних продольных осей (А, В) - нулевая. Привязка консольных колонн относительно крайних продольных осей (В`, Д) - центральная. Привязка бесконсольных и консольных колонн относительно средних продольных осей (Б, Г) - центральная. Привязка колонн относительно поперечных осей здания соответствует правилам привязки, в одноэтажных промышленных зданиях оборудованных подвесными и мостовыми кранами.

Эскиз бесконсольных центрифугированных колонн


Несущие конструкции покрытия

В качестве несущих конструкций покрытия запроектированы двускатные сквозные железобетонные балки с пролетом 12 м (в осях А-Б; Б-В; В`-Г; Г-Д). Крепят балки к колоннам болтами и сваркой закладных деталей.

эскиз стропильной балки:


Так как шаг крайних колонн 6м, средних колонн 12м, шаг стропильных балок 6м - в здании запроектированы подстропильные балки.

Эскиз подстропильной балки:


Покрытие

Покрытие здания состоит из несущей и ограждающей частей. Несущие конструкции - железобетонные стропильные балки и железобетонные подстропильные балки.

В качестве несущего настила для вышележащих элементов запроектированы предварительно напряженные сборные ребристые плиты длиной 5970 мм и шириной 2980 мм, т.к. шаг стропильных ферм 6000 мм.

Плиты приняты следующих типов:

Без проемов в полке плиты (ПГ):

здание балка фундамент стена


В плитах на концах профильных ребер имеются закладные детали для крепления к закладным деталям верхнего пояса стропильных конструкций.

В плитах уложенных возле парапета в полках предусмотрены закладные детали для крепления стеновых панелей.

Плиты приваривают к верхнему поясу стропильных конструкций не менее чем в трех точках. Швы между плитами замоноличивают. Таким образом покрытие приобретает свойства жесткого диска.

Водоотвод с покрытия внутренний организованный, воронки располагаются в ендовах. На крыше запроектировано 24 водоприемных воронки с расстоянием 24м.

Привязки указаны на плане крыши.

Стены

Стены запроектированы панельные однослойные железобетонные толщиной 300мм. По характеру работы панели самонесущие.

Запроектировано два типа панелей, которые отличаются габаритными размерами:

цокольные L =5980 мм, Н = 1180 мм, b = 300 мм

рядовые L = 5980 мм, Н = 1180 и Н = 1780 мм, b = 300 мм

Также запроектирован один вид парапетных плит:

парапетные L = 1490 мм, b = 520 мм

эскиз рядовой стеновой панели (ПС):


Крепление стеновых панелей:

по продольному фасаду - к закладным деталям колонн, которые расположены на их боковой грани; к закладным деталям стропильных ферм , которые расположены в их опорной части; парапетные плиты крепят к закладным деталям сборных железобетонных плит покрытия, которые расположены в полках плит;

по торцовому фасаду - к стальным стойкам торцового фахверка; в уровне покрытия стеновые панели крепят к стальным насадкам стоек торцового фахверка; парапетные плиты крепят к закладным деталям сборных железобетонных плит покрытия, которые расположены в полках плит.

Подкрановые балки

На консоли колонн в продольном направлении уложены подкрановые балки, а на них - рельсы, по которым передвигаются мостовые краны.

К колоннам подкрановые балки крепят сваркой закладных деталей и анкерными болтами. После тщательной установки и выверки гайки на анкерных болтах заваривают. Рельсы для движения кранов устанавливают на упругую прокладку из прорезиненной ткани и закрепляют парными лапками на зашплинтованных болтах. Лапки располагают через 750мм. В концах подкрановых путей устанавливают стальные упоры - ограничители, которые снабжают амортизаторами-буферами из деревянного бруса.

В здании запроектированы сборные железобетонные подкрановые балки длиной 6м по осям В` и Д, т.к. шаг колонн 6м и сборные железобетонные подкрановые балки длиной 12м по оси Г, т.к. шаг колонн 12м высотой 1400мм.

Окна, двери, ворота

Остекление проектируемого здания будет выполняться проемное.

Принятые по каталогу окна - металлические, с двойным остеклением, с открывающимися внутрь в вертикальном и горизонтальном положении створками. Оконные блоки устанавливаются на стеновые панели и крепятся к панелям и колоннам по средствам закладных деталей. Зазоры межу окнами и панелью заполняют герметиком.

В здании запроектированы стальные оконные блоки двух типов:

. В продольной стене - с одинарным остеклением одного типа с размерами L = 5960мм,

Н = 1180 мм;

.В светоаэрационном фонаре - с одинарным остеклением одного типа с размерами

L = 5960мм, Н = 1760 мм;

эскиз окна в продольной стене (ОК1):





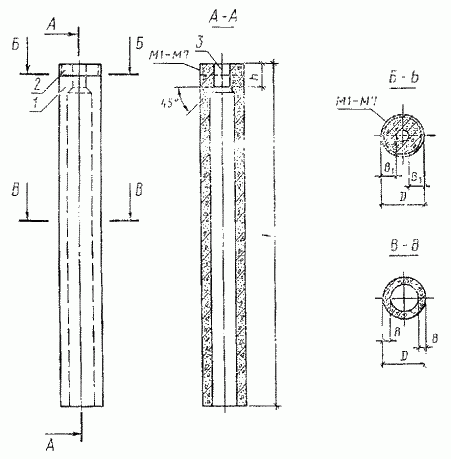
Двери установить в проемы перегородок. Двери, принятые к установке в здании - стальные, с глухими полотнами.

Эскиз дверного блока:


Ворота запроектированы распашные с автоматическим управлением.

Размеры проема L = 3600мм, Н = 4200 мм, марка ворот ВР С К 42-36Р по СТБ 1138 - 98. С наружной стороны здания перед воротами запроектирован пандус с уклоном 1:10.

Эскиз ворот:









Фонари

Для дополнительного естественного освещения в здании запроектированы светоаэрационные фонари (в пролётах В`-Г; Г-Д с высотой 9,6) и зенитные фонари (в пролётах А-Б; Б-В), предназначенные для дополнительного освещения производственных площадей, удаленных от оконных световых поемов.

Конструкция светоаэрационных фонарей:

фонарная ферма

фонарные панели

панели торцов

бортовая панель

карнизная панель

остекленные створки

покрытие

для жесткости в крайних рядах фонаря располагают горизонтальные связи и распорку которая объединяет все фонарные фермы.

Фонари расположены вдоль здания и не доходят до торцовых наружных стен на 6м.

Конструкция зенитных фонарей:

покрытие

опорный стакан

утеплитель

стальной уголок

стальная рама

двухслойный светопрозрачный купол

нащельник

прокладки из пористой резины

фартук из оцинкованной стали

механизм открывания

Наружная и внутреняя отделка

Наружная отделка осуществляется путем покраски железобетонных панелей по периметру здания специальной краской по бетонной поверхности светлорозового цвета.

Внутреняя отделка осуществляется путем покраски железобетонных панелей колонн в том числе, колон и стропильных конструкций. Все эти конструктивные элементы окрашиваются специальной краской по бетонной поверхности синего цвета на высоту 1м от уровня пола а от высоты 1м окрашиваетчя краской светло-серого цвета.

Спецификация сборных конструкций

Таблица 1 Спецификация сборных конструкций

Поз.

Обозначение

Наименование

Количество

Масса ед. кг.

Колонны

КК-1

Серия 1.423-6

1КК84

30

1800


КС-1

Серия 1.423-6

2КС78

8

1650


КК-2

Серия 1.423-6

3КК96

30

2300


КС-2

Серия 1.423-6

5КС90

8

2600


КФ-1

ГОСТ 23444-79

С4.84.5.К1а

4

1200


КФ-2

ГОСТ 23444-79

С96.5.К1а

4

1400


Стропильные балки

СБ-1

Серия 1.462.1-3

2БСД12-8

60

5000


Подстропильные балки

ПСБ-1

Серия 1.462.1-18

БП12-3

14

8500


Обвязочные балки

ОБ-1

ГОСТ 24893.0-81

БОВ38

14

2650


Стеновые панели

ПС-1

ГОСТ 13578-87

ПС600-12-30

212

3210


ПС-2

ГОСТ 13578-87

ПС600-18-30

44

4280


ПЦ-1

Серия 1.030.1-1/88

ПСЦ 60.12.3-1-11

36

2800


ПП-1

ГОСТ 13578-87

ПП 15.5

180

135

ВФ-1

СНиП 2.03.01-84

ВФ-1

23

6600

по индивидуальному расчёту

ВФ-2

СНиП 2.03.01-84

ВФ-2

23

6850


ВФ-3

СНиП 2.03.01-84

ВФ-3

8

10300


ВФ-4

СНиП 2.03.01-84

ВФ-4

8

3900


Фундаментные балки

ФБ-1

1.415.1 в.1

ФБ 6-13

28

1400


ФБ-2

1.415.1 в.1

ФБ 6-14

6

1300


ФБ-3

1.415.1 в.1

ФБ 6-15

2

1300


Плиты покрытия

П-1

ГОСТ 28042-89

3ПГ6

152

2650


П-2

ГОСТ 28042-89

3ПФ6

24

1500


Подкрановые балки

ПБ-1

ГОСТ 20372-74

БК 6-8

28

11600


ПБ-2

ГОСТ 20372-74

БКНБ 12-2

14

3500



Заключение

Целью выполнения курсового проекта является систематизация , углубление и закрепление полученных теоретических знаний и практических умений, формирование навыков самостоятельной работы при решении профессиональных задач.

В проекте на тему цех по сборке сэндвич панелей разработана конструкционная схема здания, подобраны основные ЖБ элементы.

В данном проекте запроектированы панельные стены из Железобетонных панелей. Центрифугированные железобетонные колонны различного диаметра. Для дополнительного освещения и проветривания запроектированы светоаэрационные и зенитные фонари.

Литература

1.       Буга П. Г. Гражданские, промышленные и сельскохозяйственные здания. - М.. Высшая школа, 2012. - 351 с.

2.      Кутухтин В.Л., Коробков В.А. Конструкции промышленных и сельскохозяйственных зданий - М.: Стройяздат, 2007.

.        Шерешевский И. А. Конструирование промышленных зданий. - Л.: Стройиздат. Ленинградское отделение, 2011

4.       Территориальный каталог типовых сборных железобетонных конструкций зданий и сооружений для промышленного строительства. Сборник ТК 40-1.87 (в двух томах). Том 1. Одноэтажные здания. Том 2. Многоэтажные здания. Инженерные сооружения. - Мн.: Центральный институт типового проектирования, Минский филиал, 2009.

Похожие работы на - Одноэтажное промышленное здание 'Цех по сборке сэндвич-панелей'

 

Не нашли материал для своей работы?
Поможем написать уникальную работу
Без плагиата!
Без нейросетей!