Одноэтажное промышленное здание
1. ИСХОДНЫЕ ДАННЫЕ
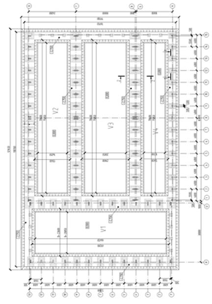
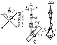
Проект - одноэтажное промышленное здание.
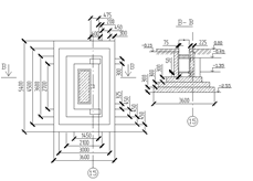
Производственный корпус решен в 4-х пролетах: три пролета в продольном
направлении и один в поперечном направлении, см. рис. 1.
Расположение- площадка свободная от застройки;
Основные размеры здания в плане - 115×72м;
Конструктивные особенности -сборный
железобетонный каркас;
Район строительства- г. Ухта;
Категория грунта- II (суглинок);
Расстояние отвозки грунта-10 км;
Глубина заложения фундамента - 2,55 м.
1.1 Используемые материалы для разработки
ПОС
Основные нормативы и указания, используемые для
разработки проекта организации строительства:
СНиП 12-01-2004 "Организация
строительства";
Постановление от 16 февраля 2008 г. N 87 «О
составе разделов проектной документации и требования к их содержанию;
ПБ 10-382-00 "Правила устройства и
безопасной эксплуатации грузоподъемных машин";
СНиП 1.04.03-85* "Нормы продолжительности
строительства и задела в строительстве предприятий, зданий и сооружений";
Пособие по определению продолжительности
строительства предприятий, зданий и сооружений (к СНиП 1.04.03-85* ч.ч. I; II);
МДС 12-46.2008 «Методические рекомендации по
разработке и оформлению проекта организации строительства, проекта организации
работ по сносу (демонтажу), проекта производства работ;
СНиП 12-03-2001 "Безопасность труда в
строительстве", ч.1;
СНиП 12-04-2002 "Безопасность труда в
строительстве", ч.2;
СНиП 11-01-95 "Инструкция о составе,
порядке разработки, согласования и утверждения проектов и смет на строительство
предприятий, зданий и сооружений".
ВСН-73-72 Указания по организации и технологии
производства земляных работ.
CНиП 5.02.02-86 "Нормы потребности в
строительном инструменте".
СНиП 3.01.03-84 "Геодезические работы в
строительстве".
СНиП 3.02.01-87 "Земляные сооружения,
основания и фундаменты".
СНиП 3.03.01-87 "Несущие и ограждающие
конструкции".
ППБ-01-03 "Правила пожарной безопасности в
Российской Федерации" (ГПС МЧС РФ);
СНиП 22-01-97 "Охрана окружающей
среды".
Проект организации строительства (ПОС)
разрабатывают проектной организацией выполняющей строительное проектирование
для обеспечения своевременного строительства с наименьшими затратами и при
высоком качестве выполнения работ.
При разработке ПОС должны учитываться
особенности объекта, природно-климатические особенности района строительства и
другие особые условия.
Исходными данными для разработки ПОС служат:
задание заказчика на разработку проекта
организации строительства;
разделы проекта строительства объекта
капитального строительства: схема планировочной организации земельного участка;
конструктивные и объемно-планировочные решения; смета на строительство объектов
капитального строительства;
план транспортной инфраструктуры района;
решения генерального плана;
объемы строительно-монтажных работ по отдельным
зданиям и сооружениям;
номенклатура и объемы работ, выполняемых в
подготовительный период;
сведения об условиях производства
строительно-монтажных работ на реконструируемых объектах;
сведения об условиях поставки и
транспортирования с предприятий - поставщиков строительных конструкций, готовых
изделий, материалов и оборудования;
данные об источниках и порядке временного
обеспечения строительства водой, электроэнергией, паром и т.п.;
сведения о возможности обеспечения строительства
рабочими кадрами, жилыми и бытовыми помещениями;
мероприятия по защите территории строительства
от неблагоприятных природных явлений и геологических процессов и этапность их
выполнения.
Снабжение материально-техническими ресурсами
осуществляется предприятиями и организациями, обеспечивающими работу
генподрядной строительной организации, а также подсобно вспомогательными
службами заказчика. Обеспечение строительства электроэнергией, водой и
телефонной связью предусматривается от существующих инженерных коммуникаций
данного района и проектируемых по данному проекту. Все расходы на временные
затраты для строительства возмещаются строительной организацией за счёт средств
заказчика, предусмотренных главой СНиП «Временные здания и сооружения» сводного
сметного расчёта строительства. Точка подключения линий временного
электроснабжения совпадает с точкой подключения проектируемой линии
электроснабжения.
1.2 Объемно-планировочное решение
Производственный корпус решен по пролетной
схеме. Продольные пролёты имеют ширину 24; 30; 18м. и длину 84м. Высота верха колонн
в продольных пролётах: 14,4м, 14,4м, 10,8м. Шаг крайних и средних колонн 6м.
Уровень головки рельса (УГР) в продольных пролетах: 11,4м; 11,4м.
В продольных пролетах три крана:
. Кран-балка в/о А-Б пролетом
18мгрузоподъемностью Q1= 5тс;
. Мостовой кран в/о В-Г пролетом
30мгрузоподъемностью Q2= 30/5тс;
. Мостовой кран в/о Г-Д пролетом
24мгрузоподъемностью Q2= 20/5тс.
Поперечный пролёт имеет ширину 30м, длину 72м.
Высота верха колонн 18,0м, шаг крайних колонн 6м. Уровень головки рельса (УГР)
в поперечном пролете: 12,6м. Грузоподъемность мостового крана в поперечном
пролете в/о А’-Б’ Q2= 30/5тс.
Геометрические оси торцевых колонн основного
каркаса смещены с поперечных разбивочных осей внутрь здания на 1000мм,
внутренние поверхности торцевых стен совпадают с поперечными разбивочными
осями, т.е. имеют нулевую привязку.
Предусмотрены ворота для въезда автотранспорта с
габаритами 3.6х4,0-6шт.
Общее количество эвакуационных выходов равно 8,
что соответствует требованиям безопасной эвакуации, так как максимальное
расстояние от наиболее удаленного места работы до выхода не должно превышать 50
м.
Аэрация производственного корпуса решена по
принципу принудительного воздухообмена, что предполагает наличие
соответствующего инженерного оборудования, а так же осуществляется при помощи
аэрационных фонарей в среднем пролете.
Нормативная величина освещения обеспечивается
естественным и комбинированным освещением крайних и средних пролётов
соответственно. Расположение светопроемов по высоте принято с учетом кранового
оборудования.
В проекте имеются три деформационных шва: два
при перепаде высот между различными цехами (продольная часть одного цеха
соединяется с поперечной частью другого), и один поперечный в цеху, с длинной
84 метра. Деформационные швы по осям Б и В; Б’ и 1. По оси 8 располагается
поперечный температурный шов.
Ось поперечного деформационного шва совпадает с
поперечной разбивочной осью, а геометрические оси колонн смещены от нее на
500мм.
Каркас здания с покрытием из плоских элементов
состоит из поперечных рам, образованных защемленными в фундаментах колоннами и
шарнирно опирающимися на колонны стропильными фермами. В продольном направлении
жёсткость рамы обеспечивается подкрановыми балками, жестким диском покрытия,
фахверками, фундаментными балками, частично стеновыми ограждениями, а также
устройством специальных связей. Жесткий диск образуют плиты покрытия,
приваренные к стропильным фермам или балкам с последующим замоноличиванием
швов. Шаг рам равен шагу стропильных конструкций т.е. 6 м. Конструкция и местоположение
вертикальных и горизонтальных связей в покрытии и между колоннами приняты в
соответствии с шагом колонн и режимом работы кранового оборудования. Здание
станкостроительного завода решено с использованием типовых унифицированных ж/б
сборных элементов. Размеры температурного блока приняты конструктивно.
Фундамент. Фундаменты приняты монолитные под
железобетонные колонны по типовой серии 1.412-1, с габаритами в зависимости от
вида и сечения колонны. Фундаментные балки под наружные стены, ж/б, высотой 300
мм, таврового сечения, рассчитаны на нагрузку от сплошных стен и стен с
оконными и дверными проемами, расположенными над серединой фундаментной балки.
Для опирания фундаментных балок на фундамент имеются приливы (бетонные
столбики) ширина которых составляет 300 мм, а высота на отметке минус 450 мм.
Колонны. В проекте использованы унифицированные
железобетонные колонны, предназначенные для одноэтажных зданий. К крайним
колоннам с наружной стороны примыкают стеновые ограждения. Крайние колонны, в
свою очередь, подразделяются на основные, воспринимающие нагрузки от стен,
кранов и конструкций покрытия, и фахверковые, служащие только для крепления
стен.
Ж/б подкрановые балки. Подкрановые балки приняты
в соответствии с грузоподъемностью кранов, режимом их работы и планировочными
параметрами пролета. Крепление подкрановой балки к колоннам - шарнирное, через
анкерные болты и тормозные фермы в верхнем уровне балок. Крепление подкрановой
балки к консоли колонны производиться на анкерных болтах, пропущенных сквозь опорный
лист, предварительно приваренный к нижней закладной пластине, а к шейке колонны
- путем приварки вертикального листа к закладным пластинам. Они воспринимают
вертикальные и местные воздействия катков кранов. Передача вертикальных реакций
подкрановых балок на колонны осуществляется через строганные поверхности ребер.
По месту в здании балки подразделяются на торцевые - у торцовых стен, рядовые и
температурные у деформационных швов. Они отличаются друг от друга наличием и
расположением закладных элементов. Привязка осей подкрановых балок к
координационным осям здания составляет 750 мм, т.к. здание без проходов вдоль
крановых путей.
Стропильные конструкции. Стропильные конструкции
перекрывают пролет и, подобно стропилам непосредственно поддерживают настил
кровли. По схеме восприятия внешних и распределению внутренних усилий в
промышленном здании используем ж/б безраскосную ферму с круговым очертанием, ее
уклон составляет 5%, он обеспечивается выпущенными из верхнего пояса «рожками».
Плиты покрытия. Покрытие решено по безпрогонной
схеме с применением ж/б ребристых плит длинной 6 м и шириной 3 м, они снабжены
продольными рёбрами высотой 0,3 м расположенными через 1,5 м. Торцевые
поперечные ребра плит снабжены вутами, обеспечивающими жёсткость контура. Толщина
полки 30 мм. Плиты армируются напрягаемой арматурой, расположенной в ребрах и
полке. При установке плит привариваются не менее чем в трёх точках к
стропильным конструкциям. Швы между ними заполняются бетоном марки 200 на
мелком заполнителе. Водосток внутренний, количество воронок принято в
соответствии с рекомендациям.
Кровля здания скатная из четырёх слоев рубероида
по утеплителю из минераловатных плит.
Стеновые панели. По положению в стене
подразделяются на рядовые, угловые удлинённые перемычечные, усиленные для
восприятия ветровой нагрузки от оконных заполнений; подкарнизные и парапетные с
дополнительными закладными элементами для крепления к покрытию и приварки
карнизных плит. По теплоизолирующим свойствам панели легкобетонные для
отапливаемых зданий. В соответствии с шагом крайних колон номинальная длина
всех панелей, за исключением угловых и простеночных, принимается 6 м. Панели
однослойные из автоклавных бетонов марки 35, накрытые с обеих сторон фактурным
слоем цементно - песчаного раствора толщиной 20 мм. Толщина панелей 300 мм.
Нижняя панель первого яруса опирается на фундаментную балку по слою
противокапиллярной гидроизоляции из цементно-песчаного раствора. Опирание
цокольных панелей предусмотрено на фундаментные ж/б балки. В местах устройства
ворот стеновые ограждения, примыкающие к воротной раме, выполняются из кирпича
с опиранием на фундаментную балку.
1.3 Характеристика района и условие
строительства
Строительно-монтажная площадка расположена в
городе Ухта. Рельеф участка спокойный, с незначительным уклоном. Участок
свободен от застройки.
Климат
<#"889337.files/image001.jpg">
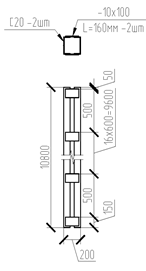
Рис. 1 - План производственного здания
Обеспечение строительства кадрами осуществляется
генподрядной и субподрядными организациями, участвующими в строительстве.
2. ПРОЕКТИРОВАНИЕ ЭЛЕМЕНТОВ ПОС
2.1 Общие положения
Проект организации строительства объекта должен
разрабатываться на полный объем строительства.
При строительстве объекта по очередям проект
организации строительства на первую очередь должен разрабатываться с учетом
осуществления строительства на полное развитие.
В состав проекта организации строительства
включаются:
а) календарный план строительства, в котором
определяются сроки и очередность строительства, пусковых комплексов с
распределением капитальных вложений и объемов строительно-монтажных работ по
зданиям и периодам строительства. Календарный план на подготовительный период
составляется отдельно (с распределением объемов работ по месяцам);
б) строительные генеральные планы для
подготовительного и основного периодов строительства с расположением постоянных
зданий и сооружений, указанием мест временных, в том числе мобильных
(инвентарных) зданий и сооружений, постоянных и временных железных и
автомобильных дорог, мест подключения временных инженерных коммуникаций (сетей)
к действующим сетям с указанием источников обеспечения стройплощадки
электроэнергией, водой, теплом, паром; складских площадок; основных монтажных
кранов и других строительных машин; существующих и подлежащих сносу строений,
мест для знаков закрепления разбивочных осей зданий и сооружений.
в) организационно-технологические схемы,
определяющие оптимальную последовательность возведения зданий и сооружений с
указанием технологической последовательности работ;
г) ведомость объемов основных строительных,
монтажных и специальных строительных работ, определенных проектно-сметной
документацией, с выделением работ по основным зданиям и сооружениям, пусковым
комплексам и периодам строительства ;
д) ведомость потребности в строительных
конструкциях, изделиях, материалах и оборудовании с распределением по
календарным периодам строительства, составляемая на объект строительства в
целом и на основные здания и сооружения исходя из объемов работ и действующих
норм расхода строительных материалов ;
е) график потребности в основных строительных
машинах и транспортных средствах по строительству в целом, составленный на
основе физических объемов работ, объемов грузоперевозок и норм выработки
строительных машин и средств транспорта;
ж) график потребности в кадрах строителей по
основным категориям;
з) пояснительная записка, содержащая
характеристику условий и сложности строительства в том числе:
обоснование методов производства и возможность
совмещения строительно - монтажных работ, с указанием сроков выполнения работ
сезонного характера, а также технические решения по возведению сложных зданий и
сооружений;
при необходимости данные о сроках выполнения,
объемах геодезических работ и потребности в материальных и трудовых ресурсах;
указания о методах осуществления
инструментального контроля за качеством сооружений;
мероприятия по охране труда;
перечень условий сохранения окружающей природной
среды;
обоснование потребности в основных строительных
машинах, механизмах, транспортных средствах, электрической энергии, паре, воде,
кислороде, ацетилене, сжатом воздухе, а также временных зданиях и сооружениях с
решением по набору мобильных (инвентарных) зданий и сооружений и указанием
принятых типовых проектов;
перечень основных строительных организаций с
характеристикой их производственной мощности;
обоснование размеров и оснащения площадок для
складирования материалов, конструкций и оборудования, а также решения по
перемещению тяжеловесного негабаритного оборудования и укрупненных строительных
конструкций;
перечень специальных вспомогательных сооружений,
приспособлений, устройств и установок, а также сложных временных сооружений и
сетей, рабочие чертежи которых должны разрабатываться проектными организациями
в составе рабочих чертежей для строительства объекта;
требования, которые должны быть учтены в рабочих
чертежах в связи с принятыми в проекте организации строительства методами
возведения строительных конструкций оборудования и монтажа;
обоснование потребности в строительных кадрах,
жилье и социально-бытовом обслуживании строителей;
обоснование принятой продолжительности
строительства объекта в соответствии со CНиП 1.04.03-85.
В проекте организации строительства необходимо
приводить следующие технико-экономические показатели:
общую продолжительность строительства, в том
числе подготовительного периода и периода монтажа оборудования, мес.;
максимальную численность работающих, чел.;
затраты труда на выполнение
строительно-монтажных работ, чел./дн.
2.2 Продолжительность строительства
Продолжительность строительства объекта
определяется в соответствии со CНиП 1.04.03-85 «Нормы продолжительности
строительства». Определяемый по нормам срок ввода строительных объектов в
эксплуатацию (директивный срок строительства) является предельным и
обязательным при разработке календарного плана.
Так как строительство осуществляется в районе,
приравненном к районам Крайнего Севера (г.Ухта) в нормах приводим коэффициент
корректировки продолжительности строительства (К=1,2).
Нормы продолжительности строительства для
промышленного здания по прил.1, [13].
Табл. 2
|
Нормы
продолжительности строительства, мес.
|
|
Общая
|
в
том числе
|
|
Подготовительный
период
|
Продолжительность
строительства
|
|
8,4
тыс.м3
|
2
|
14х1,2=16,8
|
2.3 Организационно-технологическая
схема производства работ
Организационно-техническая подготовка должна
включать: обеспечение стройки проектно-сметной документацией, отвод в натуре
площадки (трассы) для строительства, оформление финансирования строительства,
заключение договоров подряда и субподряда на строительство, оформление
разрешений и допусков на производство работ, обеспечение строительства
подъездными путями, электро-, водо- и теплоснабжением, системой связи и
помещениями бытового обслуживания кадров строителей, организацию поставки на
строительство оборудования, конструкций, материалов и готовых изделий.
Подготовка к строительству объекта должна
предусматривать изучение инженерно-техническим персоналом проектно-сметной
документации (включая документацию по результатам технического обследования
конструкций при реконструкции действующего предприятия), детальное ознакомление
с условиями строительства, разработку проектов производства работ на вне- и
внутриплощадочные подготовительные работы, возведение зданий, сооружений и их
частей, а также выполнение самих работ подготовительного периода с учетом
природоохранных требований и требований по безопасности труда.
Организационно-технические мероприятия по
подготовке строительства приведены на схеме в виде календарного графика (см. на
листе календарного графика). Задачей проектирования строительного потока
является определение таких параметров потока, которые с учетом рациональной
технологии и организации работ по всем объектам обеспечивают строительство
объектов в пределах нормативной продолжительности, непрерывную загрузку
ресурсов (бригад, машин, механизмов) и непрерывность ведения
строительно-монтажных работ по каждому объекту. Проектирование строительного
потока осуществляют на основе данных об объемно-планировочных и конструктивных
решениях объекта, подлежащих включению в поток, путем группировки с учетом
специализации и численности бригад, машин и механизмов, которые могут выполнять
данные виды и объемы работ.
Основной задачей расчета потока является
сокращение продолжительности строительства, которое обеспечило бы наиболее
производительное использование рабочих и механизмов за счет насыщения фронта
работ максимальным количеством ресурсов. При этом все расчеты должны
базироваться на реальном количестве ресурсов, которые могут быть выделены
соответствующими строительными организациями для выполнения объема работ по
потоку.
Возведение зданий поточным методом является
наиболее современной и прогрессивной формой организации строительства.
Организация строительного производства поточными
методами имеет ряд отличительных особенностей и характеризуется следующими
основными принципами:
строящиеся здания или сооружения (или группы
зданий и сооружений) разделяют на захватки примерно одинаковой трудоемкости;
весь подлежащий выполнению комплекс
строительно-монтажных работ делят на отдельные циклы работ. В каждый цикл работ
включают все те работы, которые могут выполняться без нарушения требований
технологии и техники безопасности;
работы ведутся комплексными или
специализированными бригадами постоянного состава, последовательно и без
простоев переходящими с захватки на захватку и выполняющими на каждой захватке
один и тот же цикл работ, одними и теми же методами с применением одинаковых
машин, инструментов и приспособлений;
каждый цикл работ на каждой захватке при
ритмичном потоке выполняется в течение одного и того же отрезка времени.
Сущность организации всякого производства
поточным методом заключается в том, что производство в течение длительного
времени осуществляется ритмично, равномерным потоком, при котором постоянное
число рабочих, пользующихся одними и теми же средствами производства и
выполняющих однородную работу систематически, в каждый данный отрезок времени
выпускает постоянное количество продукции.
Основные однородные процессы,
например рытье траншеи под фундаменты и возведение устройство фундаментов и
стен зданий и др., на всех захватках выполняются последовательно. Все
разнородные, а также и некоторые однородные процессы (санитарно-техническое
обустройство, отделка <#"889337.files/image002.gif">
Рис. 3 - Схема поточной организации работ
ПОДГОТОВИТЕЛЬНЫЙ ПЕРИОД
Геодезические работы
До подписания акта готовности строительной
площадки для производства строительно-монтажных работ службы Заказчика должны
создать и сдать Подрядчику геодезическую разбивочную основу для строительства.
Геодезическая разбивочная основа должна быть создана путем передачи отметок
государственной или местной геодезической сети и увязана с пунктами и знаками
ранее проведенных в этом районе геодезических построений. Привязку
геодезической плановой основы к пунктам государственной геодезической сети
следует производить по согласованию с территориальными органами Госгеонадзора
ГУГК. Геодезическая разбивочная основа для определения положения объекта на
стройплощадке должна быть создана в виде строительной сетки с размерами сторон в
соответствии с генеральным планом и выносом в натуре красных линий площадки
(см. раздел "Генплан").
Построение геодезической разбивочной основы
следует выполнять с учетом обеспечения увязки всех пунктов, как в плане, так и
по высоте, и обеспечения сохранности и устойчивости знаков, закрепляющих
пункты. Закрепление пунктов геодезической разбивочной основы следует
осуществлять путем установки постоянных и временных знаков, предусмотренных
инструкцией ГУГК "Центры геодезических пунктов для территорий городов, поселков
и промышленных площадок".
При сдаче Подрядчику геодезической разбивочной
основы Заказчиком должна быть передана техническая документация с указанием:
пунктов строительной сетки, красных линий и
нивелирных ходов;
осей, определяющих положение и габариты
сооружения в плане. Оси должны быть закреплены створными знаками (не менее
четырех на каждую ось);
реперов на границе и внутри застраиваемой
территории (не менее двух у каждого отдельно размещенного здания).
Знаки геодезической разбивочной основы должны
находиться под постоянным наблюдением, и положение их должно проверяться
строительной организацией не реже, чем два раза в год.
Основные оси зданий и сооружений и реперы должны
закрепляться на местности постоянными знаками. Знаки должны устанавливаться на
строительной площадке в таких местах, где обеспечивается неподвижность их как в
плане, так и по высоте. Они должны располагаться вне зоны земляных работ в
местах, свободных от складирования строительных материалов, размещения
временных сооружений и т.п.
Точность геодезических разбивочных работ в
процессе строительства принимается по СНиП 3.01.03-84.
В ходе выполнения отдельных видов
строительно-монтажных работ должен быть обеспечен контроль точности их
выполнения.
При устройстве котлованов под здания и сооружения
должен быть выполнен следующий комплекс геодезических работ:
разбивка и закрепление в натуре контуров
котлованов;
нивелирование дневной поверхности в пределах
контура котлована;
передача разбивочных осей и высотных отметок на
дно котлована;
периодические исполнительные съемки для подсчета
объемов земляных масс;
окончательная плановая и высотная исполнительная
съемка отрытого котлована.
Разбивка контура котлована должна вестись от
основных и промежуточных осей зданий и сооружений. По мере углубления котлована
должна контролироваться его глубина. По окончании работ по устройству
котлованов должна составляться следующая исполнительная геодезическая
документация:
акт готовности по устройству котлована;
схема плановой и высотной исполнительной съемки
котлована;
исполнительная картограмма подсчета объемов
земельных масс.
После обеспечения готовности котлована должна
быть выполнена детальная геодезическая разбивка отметок фундаментов, которая
обязательно должна" сопровождаться контрольными измерениями.
Детальные геодезические построения на
возведенных фундаментах должны заключаться в построении установочных рисок,
фиксирующих плановое или высотное проектное положение колонн.
При производстве детальных геодезических
построений на монтажном горизонте обязательно должны быть выполнены контрольные
измерения, обеспечивающие надежную оценку точности установки конструкций в
проектное положение в соответствие со СНиП 3.01.03-84.
Перенос существующих сетей
Все коммуникации, попадающие в пятно застройки,
перекладываются в соответствии с проектом, согласно ТУ и сводному плану
инженерных сетей.
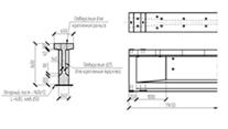
Устройство временного ограждения
строительно-монтажной площадки
Временное ограждение представляет собой бетонное
основание, состоящее из блоков ФБС 24-3-6т (2380х300х580, вес 1000 кг) с
закрепленными между ними стойками из металлических труб. К стойкам крепится
сетка типа рабитца в сварном каркасе из мет. уголка.
Для предотвращения падения мелкого мусора за
пределы стройплощадки - на временное ограждение крепится фасадная сетка. Укладка
блоков осуществляется краном КС-45717 "с колес" г/п 25т.
Монтаж каркаса и крепление к нему сетки рабитца
производится вручную.
Протяженность временного ограждения 932 м.
Табл. 3 - Потребность в материалах при
устройстве ограждения строительной площадки
|
№п/п
|
Материал
|
Ед.
изм.
|
Количество
|
|
1.
|
Блоки
ФБС 24-3-6т
|
шт.
|
156
|
|
2.
|
Профнастил
С21
|
м2
|
32
|
|
3.
|
Трубы
стальные, диаметром 80 мм
|
п.
м
|
471
|
|
4.
|
Сетка
рабитца
|
м2
|
1864
|
Рис. 4 - Конструкция временного забора
Очистка территории строительно-монтажной
площадки
Удаление с территории строительной площадки
крупного технического и бытового мусора производится бульдозером ДЗ-18. Весь
собранный мусор вывозится с территории автосамосвалами КамАЗ-55111.
Устройство временных инженерных коммуникаций
Устройство временных инженерных сетей
осуществляется от точек согласно временным ТУ, предоставленным Заказчиком. Для
сточных вод организуется дренажная система до ближайшего колодца городской сети
(промышленной зоны). Трубы временного водопровода укладываются по земле.
Временные электросети ведутся по столбам.
Устройство временных дорог
При устройстве временных дорог применяются плиты
марки ПАГ - 0,18х3,0х6,0. Перед укладкой плит выполняется вертикальная
планировка бульдозером ДЗ-18, по проектным отметкам с уплотнением грунта. Под
плиты выполняется подстилающий слой из песка толщиной 10 см. Укладка плит
ведется "с колес", автомобильным стреловым краном КС-45717 г/п 25т.
Площадь временных автомобильных дорог составляет
948 м2.
Табл. 4 - Потребность в материалах при
устройстве временных дорог
|
№п/п
|
Материал
|
Ед.
изм.
|
Количество
|
|
1.
|
Плиты
ПАГ - 0,17Х1,75х6,0
|
шт.
|
456
|
|
2.
|
Песок
|
м3
|
578
|
На выездах со стройплощадки предусмотреть
устройство пунктов мойки колес автотранспорта, а в зимнее время пункт очистки
от грязи. В зимнее время при температуре ниже - 5 °С моечные посты оборудуются
компрессорами для сухой очистки колес сжатым воздухом.
После окончания эксплуатации все временные
дороги должны быть рекультивированы путем выравнивания под общий уровень
окружающей местности и засыпки слоем почвенного грунта.
Рис. 5 - Устройство временных дорог из сборных
Ж/Б плит
ОСНОВНОЙ ПЕРИОД
Срезка растительного слоя строительно-монтажной
площадки
Срезка грунта производится бульдозером ДЗ-18 и
ведется за один-два прохода по одному следу на глубину до 15 см.
Уборка грунта с границ участка при необходимости
нормируется отдельно в зависимости от способа уборки.
Планировка территории
Число проходов бульдозера ДЗ-18 по одному следу
определяется производственным заданием. Общая площадь территории под
планировочные работы составляет 8795 м2.
Земляные работы
Выемка грунта из котлована производится в
следующей последовательности:
механизированная разработка одноковшовым
экскаватором ЭО-5111 с ковшом объемом 1,25 м3 до низа фундаментной плиты;
зачистка дна котлована вручную (недобор грунта
после работы экскаватора - 200 мм).
Котлован в грунтах естественной влажности
разрабатывается с откосами, наибольшая допустимая крутизна откосов должна
соответствовать СНиП 3.02.01-87 «Земляные сооружения, основания и фундаменты» -
1:0,5.
После разработки котлована грунт основания
должен быть обследован геологом и представителем авторского надзора.
Выработанный грунт вывозится автосамосвалами
типа КамАЗ. Часть грунта, предназначенного для обратной засыпки котлована,
складируется в специально отведенном месте.
Котлован должен ограждаться инвентарным
ограждением. На щитах ограждений необходимо установить предупредительные
надписи и знаки, а в ночное время - сигнальное освещение.
Перемещение, установка и работа машин вблизи
выемок с неукрепленными откосами разрешается только за пределами призмы
обрушения грунта на расстоянии, установленном в ППР.
В случае обнаружения любых подземных
коммуникаций или сооружений, не указанных в проектной документации, работы
следует приостановить. На место работ следует вызвать автора проекта и
представителей организаций, эксплуатирующих смежные коммуникации.
В связи с тем, что выработанный грунт не
пригоден для обратной засыпки, проектом предусмотрено использование привозного
грунта. Расчетную схему для подсчета земляных работ смотрите на рис.6,7.
Табл. 4 - Объем земляных работ
|
№
п/п
|
Вид
работ
|
Ед.
изм.
|
Количество
|
|
1.
|
Разработка
экскаватором с вывозом
|
м3
|
|
|
2.
|
Добор
невыработанного грунта вручную с вывозом
|
м3
|
|
|
3.
|
Объем
привозного грунта
|
м3
|
|
Определения объемов земляных работ в траншее:
где:
- объемов земляных работ в траншее
под фундамент;
- объемов земляных работ в траншее;
- объем земляных масс;
Определения объемов земляных работ в
котловане:
где: a,b- размеры выемки понизу,
a=118,700м, b=76,950м;, B- размеры выемки поверху, м.
где: hк - глубина котлована, hк
=2,750м;- коэффициент заложения откоса, m=0,5 (для суглинков глубиной котлована
до 3м).
Определения объемов земляных работ
насыпи котлована:
где a, b - размеры выемки понизу,
a=66,450м, b=20,850м;, B - размеры выемки поверху, м.
м
где: hк - глубина котлована, hк
=2,750м;- коэффициент заложения откоса, m=0,5 (для суглинков глубиной котлована
до 3м).
Определения объемов земляных работ
насыпи котлована:
где: a, b - размеры выемки понизу,
a=14,850м, b=75,850м;, B - размеры выемки поверху, м.
м
где hк - глубина котлована, hк
=2,750м;- коэффициент заложения откоса, m=0,5 (для суглинков глубиной котлована
до 3м).
Определения объемов земляных работ
насыпи котлована:
где: a, b - размеры выемки понизу,
a=20,850м, b=75,850м;, B - размеры выемки поверху, м.
м
где: hк - глубина котлована, hк
=2,750м;- коэффициент заложения откоса, m=0,5 (для суглинков глубиной котлована
до 3м).
Определения объемов земляных работ
насыпи котлована:
где a, b - размеры выемки
понизу,a=10,700м, b=75,850м;, B - размеры выемки поверху, м.
м
где: hк - глубина котлована, hк
=2,750м;- коэффициент заложения откоса, m=0,5 (для суглинков глубиной котлована
до 3м).
Определение недобора грунта:
Объем грунта недобора подсчитывают
отдельно, т.к. зачистка его выполняется другими средствами механизации, а
площади, подлежащие зачистке, иногда не совпадают с площадью подошвы выемки.
где:
- площадь подошвы фундаментов,
м2
(см.табл.7);
- толщина слоя недобора,
м.
Возвращаемую часть грунта в плотном
теле составит разница между объемом выемки
и объемом фундаментов
. Но для
обратной засыпки грунта понадобится несколько меньше.
Объем грунта размещенный в пазухах
фундамента после уплотнения Vо.з. можно найти из выражения:
,
где
- объем котлована (выемок),
м3;
-объем фундамента, заглубленного в
грунт,
м3 (см.
табл.7);
-
коэффициент остаточного разрыхления грунта,
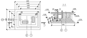
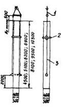
Рис. 6 - Схема плана траншей под
фундамент
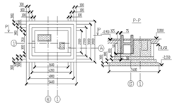
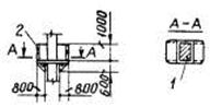
Рис. 7 - Схема фундаментов
Рис. 8 - Расчетная схема траншеи под фундамент
Арматурные работы
Арматуру устанавливать в соответствии с
проектом. Армирование производится отдельными стержнями и сетками с соединением
их между собой при помощи вязальной проволоки.
Арматурные изделия, поступающие на
стройплощадку, должны пройти входной контроль.
Арматурные изделия перед бетонированием должны
быть очищены от пыли и грязи. Все арматурные изделия и арматурные работы перед
бетонированием должны быть предъявлены авторскому надзору и технадзору
заказчика с составлением акта на скрытые работы.
До монтажа арматуры фундамента должны быть
выполнены следующие работы:
разбивка осей и устройство бетонной подготовки;
доставка и складирование в зоне действия
монтажного автомобильного кранаКС-55717 г/п 25тнеобходимого количества
арматурных элементов;
подготовка к работе такелажной оснастки,
инструмента и электросварочной аппаратуры.
Монтаж арматуры начинается с разметки мест,
раскладки сеток фундамента и установки фиксаторов с шагом 1 м для создания
защитного слоя бетона.
Армирование производится унифицированными
сетками изготовленными в заводских условиях на многоточечных контактных
машинах.
Раскладка сеток производится по взаимно
перпендикулярным направлениям.
Подколенник армируется пространственным
каркасом, который устанавливают в проектное положение с помощью крана.
Сборка пространственных каркасов производится на
сборочной площадке. Сначала устанавливают две вертикальные сетки, которые
закрепляют временными растяжками.
Для создания защитного слоя бетона устанавливают
фиксаторы, изготовленные из пластмассы, и оставляют их в бетоне.
Приемка смонтированной арматуры осуществляется
до установки опалубки и оформляется актом освидетельствования скрытых работ. В
акте приемки смонтированных конструкций должны быть указаны номера рабочих
чертежей, отступления от чертежей, оценка качества смонтированной арматуры;
после установки опалубки дают разрешение на бетонирование.
Опалубочные работы
Технологические схемы по применению всех типов
опалубки на данном объекте разрабатываются отдельно.
Последовательность сборки и монтажа опалубки
перекрытия производить в строгом соответствии с "Производственной
инструкцией по технологии монтажа рамных конструкций опалубки".
Подача опалубки на монтажный горизонт
осуществляется автомобильным краномКС-55713-4 г/п 25т.Монтаж и демонтаж
опалубки ведется вручную. Монтаж опалубки краном допускается при разбивке
этапов строительства на захватки. Возможность разбивки и количество захваток
согласовывается с автором проекта.
Монтаж щитовой опалубки следует начинать с
укладки по всему контуру бетонируемой конструкции маячных реек. Внутренняя
грань рейки должна совпадать с наружной гранью бетонируемой стены.
За состоянием установленной опалубки ведется
непрерывное наблюдение в процессе бетонирования. Контроль вертикальности
движения может быть осуществлен различными способами: с помощью отвесов
специальной конструкции, приборами вертикального проектирования и др. В случае
непредвиденных деформаций отдельных элементов опалубки или недопустимого
раскрытия щелей следует устанавливать дополнительные крепления и исправлять деформированные
места.
Отрыв опалубки от бетона производить с помощью
домкратов. Использование кранов для отрыва опалубочных щитов запрещено.
Демонтаж опалубки разрешается производить только
после достижения бетоном требуемой прочности согласно СНиП 3.03.01-87
"Несущие и ограждающие конструкции" и с разрешения производителя
работ.
После снятия опалубки необходимо:
произвести визуальный осмотр элементов опалубки;
очистить все элементы опалубки от налипшего
бетона;
произвести смазку поверхности палуб и винтовых соединений;
произвести сортировку элементов опалубки.
При выполнении опалубочных работ следует иметь в
виду основные источники опасности:
опрокидывание опалубочных щитов,
перегрузка опалубочных конструкций,
наличие отверстий в настилах.
Для предотвращения опрокидывания опалубочных
щитов необходимо обеспечить жесткость и устойчивость. Жесткость придают путем
устройства специальных ребер, а устойчивость подкосами, растяжками и другими
приспособлениями.
Опасность опрокидывания панелей опалубки резко
возрастает при сильном ветре, поэтому при появлении парусного эффекта установку
опалубки прекращают.
Во избежание падений опорные площадки должны
быть ограждены, проходы освобождены от мусора и отходов. Все работающие на
высоте вне ограждений должны быть с предохранительными поясами и знать места
надежного прикрепления.
Бетонные работы
Возведения монолитных железобетонных конструкций
осуществляются с применением автобетононасоса СБ-207 и автобетоносмесителя
58147Z.
Бетонирование конструкций ведется с соблюдением
схем операционного контроля качества, соблюдая регламент контроля прочности.
Для сокращения сроков набора прочности монолитными железобетонными
конструкциями производится круглогодичный прогрев бетона.
Высота свободного сбрасывания бетона не должна
превышать значений, указанных в СНиП 3.03.01-87 "Несущие и ограждающие
конструкции". Запрещается выгрузка всей массы бетона в одном месте.
Уплотнение бетонной смеси производится
погружением вибратора в слой бетона вертикально и слегка наклонно, при этом
конец рабочей части вибратора должен погружаться в ранее уложенный слой на 5-10
см. Соприкосновение вибраторов с арматурой во время работы не допускается.
При ведении работ в зимний период предусмотреть
мероприятия по предотвращению замерзания бетонной смеси.
После достижения бетоном проектной прочности, на
фундаменты выкладывают фундаментные балки массой до 1,5т под стеновое
ограждение здания автомобильным краном КС-55713-4 г/п 25т.
Обратная засыпка и уплотнение грунта
Обратная засыпка грунта за стенки фундаментов и
траншей производится бульдозером ДЗ-18 с уплотнением грунта механическими
трамбовками, а в местах, где применение техники невозможно, - засыпку
производить вручную.
Монтаж сборных конструкций. Работа крана
Для производства монтажных работ предусмотрено
использование гусеничного крана СКГ-100 г/п 100т и автовышки
"MANITOU" MRT 2540.
Работы по возведению здания производятся со
стоянок, указанных на стройгенплане.
В ППР разработать мероприятия по безопасному
методу ведения работ и уменьшению размера опасной зоны от работы крана
(ограничение высоты подъема грузов на разгрузочной площадке; организация
7-метровой зоны работ на монтажном горизонте с сопровождением грузов при помощи
оттяжек).
Для повышения безопасности работы крана
рекомендуется применять компьютерную систему ограничения зоны работ (СОЗР,
ОНК-160).
Подъем сборных элементов должен быть плавным без
рывков и толчков. При подъеме не допускается раскачивание элементов,
запрещается перенос конструкций краном над рабочим местом монтажников и над
соседней захваткой.
Запрещается пребывание людей на этажах ниже
того, на котором производятся строительно-монтажные работы (в одной захватке),
а также в зоне перемещения элементов и конструкций краном.
Монтаж сборных конструкций производить с
соблюдением требований:
последовательности монтажа, обеспечивающей
устойчивость и геометрическую неизменяемость.
комплектности установки конструкций каждого
участка здания, позволяющей производить на смонтированном участке последующие
работы.
Монтаж сборных элементов ведется следующим
образом:
устанавливаются железобетонные колонны каркаса,
горизонтальные и вертикальные связи;
монтируются подкрановые балки;
монтируются фермы;
монтируются плиты покрытия;
монтируется стеновое ограждение здания.
Выбор монтажных механизмов произведен исходя из
веса сборных элементов, высоты подъема и ширины здания.
Сборные железобетонные конструкции, прибывающие
на стройплощадку монтажными комплектами, частично подаются непосредственно к
месту монтажа, частично складируются на специально отведенных для этих целей
площадках.
Отделочные работы
Отделочные работы, за исключением отделки
фасадов, должны выполняться при положительной температуре окружающей среды и
отделываемых поверхностей не ниже 10 °С и влажности воздуха не более 60%.
Температуру в помещении необходимо поддерживать круглосуточно, не менее чем за
2 сут до начала и 12 сут после окончания работ, а для обойных работ - до сдачи
объекта в эксплуатацию.
Изоляционные, отделочные, защитные покрытия и
конструкции полов должны выполняться в соответствии с проектом (отделочные
покрытия при отсутствии требований проекта - согласно эталону). Замена
предусмотренных проектом материалов, изделий и составов допускается только по
согласованию с проектной организацией и заказчиком.
Штукатурные работы
Оштукатуривание и облицовку поверхностей в
местах установки закладных изделий санитарно-технических систем необходимо
выполнить до начала их монтажа.
При оштукатуривании стен из кирпича при
температуре окружающей среды 23 °С и выше поверхность перед нанесением раствора
необходимо увлажнять.
При устройстве однослойных покрытий их
поверхность следует разравнивать сразу же после нанесения раствора, в случае
применения затирочных машин - после его схватывания.
При устройстве многослойного штукатурного
покрытия каждый слой необходимо наносить после схватывания предыдущего
(накрывочный слой - после схватывания раствора). Разравнивание грунта следует
выполнять до начала схватывания раствора.
Малярные работы
Грунтовку необходимо выполнять сплошным
равномерным слоем, без пропусков и разрывов. Высохшая грунтовка должна иметь
прочное сцепление с основанием, не отслаиваться при растяжении, на приложенном
к ней тампоне не должно оставаться следов. Окраску следует производить после
высыхания грунтовки.
Нанесение каждого окрасочного состава должно
начинаться после полного высыхания предыдущего. Флейцевание или торцевание
красочного состава следует производить по свеженанесенному окрасочному составу.
Облицовочные работы
Облицовку поверхностей необходимо выполнять
согласно ППР (технологической картой) в соответствии с проектом. Облицовку
стен, колонн, пилястр интерьеров помещений следует выполнять перед устройством покрытия
пола.
Элементы облицовки по клеящейся прослойке из
раствора и мастики необходимо устанавливать горизонтальными рядами снизу вверх
от угла поля облицовки.
Мастику и раствор клеящейся прослойки следует
наносить равномерным, без потеков, слоем до начала установки плиток.
Заливку пазух раствором необходимо производить
после установки постоянного или временного крепления поля облицовки. Раствор
следует заливать горизонтальными слоями, оставляя после заливки последнего слоя
раствора пространство до верха облицовки в 5 см.
Раствор, залитый в пазухи, при технологических
перерывах, превышающих 18 ч, следует защищать от потери влаги. Перед
продолжением работ незаполненную часть пазухи необходимо очистить от пыли
сжатым воздухом.
Устройство полов
Подстилающие слои, стяжки, соединительные
прослойки (для керамических, бетонных, мозаичных и др. плиток) и монолитные
покрытия на цементном вяжущем растворе должны в течение 7-10 дней после укладки
находиться под слоем постоянно влажного водоудерживающего материала.
Устройство покрытий из плит
Плиты следует укладывать сразу после устройства
соединительной прослойки из раствора, бетона и горячих мастик. Втапливание плит
в прослойку следует осуществлять с применением вибрации; в местах, недоступных
для вибровтапливания, - вручную. Закончить укладку и втапливание плит следует
до начала схватывания раствора или затвердевания мастики.
Монтаж подвесных потолков
Устройство подвесных потолков необходимо
производить после монтажа и крепления всех элементов каркаса (в соответствии с
проектом), проверки горизонтальности его плоскости и соответствия отметкам.
Монтаж элементов подвесного потолка следует
производить после разметки поверхности и начинать от угла облицовываемой
плоскости. Горизонтальные стыки листов (панелей), не предусмотренные проектом,
не допускаются.
Плоскость поверхности должна быть ровной, без
провесов в стыках, жесткой, без вибрации панелей.
Работы по монтажу подвесных ведутся с
инвентарных подмостей звеном из двух человек.
Отделка фасадов
Работы по отделке фасадов ведутся со
строительных лесов согласно технологическим картам и проекту на установку
лесов.
Табл. 5 - Объемов работ
|
№
п/п
|
Виды
работ
|
Формулы
и правила подсчета
|
Единица
измерения по СНиП, ГЭСН, ЕНиР
|
Количество
|
|
1
|
2
|
3
|
4
|
5
|
|
А
- Подготовительный период
|
|
1
|
Выполнение
геодезических работ
|
-
|
-
|
-
|
|
2
|
Перенос
существующих сетей
|
-
|
м
|
-
|
|
3
|
Устройство
временного ограждения строительно-монтажной площадки
|
-
|
м
|
932
|
|
4
|
Очистка
территории строительно-монтажной площадки
|
Деревья
и кустарники на 1га
|
шт.
|
50
|
|
5
|
Устройство
временных инженерных коммуникаций
|
-
|
м
|
1505,6
|
|
6
|
Устройство
временных дорог
|
-
|
м
|
744,2
|
|
Б
- Нулевой цикл
|
|
I
- Земляные работы
|
|
7
|
Срезка
растительного слоя бульдозером
|
К
габаритам здания с обеих сторон добавляем по 10м
|
1000м2
|
8,795
|
|
8
|
Планировка
территории бульдозером
|
К
габаритам здания с обеих сторон добавляем по 10м
|
1000м2
|
8,795
|
|
9
|
Разработка
грунта при устройстве траншейэкскаватором (с обратной лопатой емкостью ковша
V=1,25 куб.м) без крепления,с погрузкой в автотранспорт
|
См.
формулу выше (*)
|
100м3
|
135,49
|
|
10
|
Обратная
засыпка грунта бульдозером
|
См.
формулу выше (*)
|
100
м3
|
119,065
|
|
11
|
Уплотнение
грунта электротрамбовками
|
Fупл=
(Vобр/tслоя)10слоев
|
100
м2
|
5953,25
|
|
12
|
Устройство
щебеночно - песчаного основания
|
Vосн
= 0,20Fосн
|
100
м2
|
2,39
|
|
II
- Основания и фундаменты
|
|
13
|
Устройство
арматурных сеток и каркасов массой до 100кг
|
Расчет
|
шт
|
100
|
|
14
|
Устройство
деревянной опалубки площадью щитов до 2м2
|
Расчет
|
м2
|
3310
|
|
15
|
Укладка
бетонной смеси при помощи автобетононасоса в конструкцию объемом до 30м3
|
м31047,134
|
|
|
|
16
|
Устройство
деревянной опалубки площадью щитов до 2м2
|
Расчет
|
м2
|
3310
|
|
17
|
Устройство
фундаментных балок под наружные стены
|
По
спецификации
|
шт.
|
62
|
|
Б
- Надземная часть
|
|
III
- монтаж основных конструкций
|
|
18
|
Монтаж
колонн массой до 6 т. при помощи кондукторов
|
По
спецификации
|
1
эл.
|
32
|
|
19
|
Монтаж
колонн массой до 10 т. при помощи кондукторов
|
По
спецификации
|
1
эл.
|
32
|
|
20
|
Монтаж
колонн массой до 15 т. при помощи кондукторов
|
По
спецификации
|
1
эл.
|
26
|
|
21
|
Монтаж
колонн массой до 20 т. при помощи кондукторов
|
По
спецификации
|
1
эл.
|
16
|
|
22
|
Заделка
стыков колонн с фундаментом с объемом бетонной смеси в стыке свыше 0,1 м3
|
По
спецификации
|
1
стык
|
106
|
|
23
|
Монтаж
подкрановых балок длиной 6 м и массой до 5 т.
|
По
спецификации
|
1
эл.
|
52
|
|
24
|
Монтаж
подкрановых балок длиной 12 м и массой до 11т
|
По
спецификации
|
1
эл.
|
9
|
|
25
|
Монтаж
ферм длиной 18м
|
По
спецификации
|
1
эл.
|
16
|
|
26
|
Монтаж
ферм длиной 24м
|
По
спецификации
|
1
эл.
|
16
|
|
27
|
Монтаж
ферм длиной 30м
|
По
спецификации
|
1
эл.
|
29
|
|
28
|
Монтаж
доборных плит покрытия площадью до 3 м2
|
По
спецификации
|
1
эл.
|
26
|
|
29
|
Монтаж
плит покрытия площадью до 20 м2
|
По
спецификации
|
1
эл.
|
456
|
|
30
|
Монтаж
угловых стоек фахверка
|
По
спецификации
|
1
эл.
|
12
|
|
31
|
Монтаж
торцевых фахверковых колонн
|
По
спецификации
|
1
эл.
|
20,5
|
|
32
|
Заделка
стыков плит покрытия механизированным способом
|
По
спецификации
|
100м
|
38,14
|
|
33
|
Сварка
стыков
|
По
спецификации
|
10м
|
71,56
|
|
34
|
Заделка
стыков фахверковых колонн с фундаментом с объемом бетонной смеси в стыке
свыше 0,1 м3
|
По
спецификации
|
1
стык
|
106
|
|
35
|
Монтаж
стеновых панелей площадью до 5 м2
|
По
спецификации
|
1
эл.
|
116
|
|
36
|
Монтаж
стеновых панелей площадью до 10 м2
|
По
спецификации
|
1
эл.
|
791
|
|
37
|
Монтаж
стеновых панелей площадью до 15 м2
|
По
спецификации
|
1
эл.
|
36
|
|
38
|
Изоляция
и герметизация вертикальных стыков и деформационных швов
|
По
спецификации
|
10м
|
142,075
|
|
39
|
Изоляция
и герметизация горизонтальных стыков
|
По
спецификации
|
10м
|
609,57
|
|
40
|
Изоляция
и герметизация стыков стеновой панели с плитой покрытия
|
По
спецификации
|
10м
|
82,6
|
|
41
|
Сварной
стык стеновых панелей с колоннами
|
По
спецификации
|
10м
|
37,72
|
|
IV
- Покрытие и кровля
|
|
42
|
Устройство
пароизоляции
|
По
проекту
|
100м2
|
87,95
|
|
43
|
Устройство
теплоизоляции из пенополистирола
|
По
проекту
|
100м2
|
87,95
|
|
44
|
Устройство
стяжки на поверхности утеплителя. b = 0,02 см.
|
По
проекту
|
100м2
|
87,95
|
|
45
|
Устройство
наплавляемой рулонной кровли. 2 слоя.
|
По
проекту
|
100м2
|
167,9
|
|
46
|
Устройство
защитного слоя (гравий)
|
По
проекту
|
100м2
|
87,95
|
|
V
- Устройство окон и дверей
|
|
47
|
Заполнение
оконных проемов составных до 2,5м2
|
По
проекту
|
100м2
|
16,56
|
|
48
|
Заполнение
воротных проемов составных свыше 4м2
|
По
проекту
|
100м2
|
0,64
|
|
VI
- Устройство полов
|
|
49
|
Устройство
бетонного основания В15 b = 15 см.
|
По
проекту
|
м3
|
1319,25
|
|
50
|
Устройство
гидроизоляции
|
По
проекту
|
100м2
|
87,95
|
|
51
|
Устройство
цементной стяжки В 7,5 при площади пола свыше 20м2(20мм)
|
По
проекту
|
100м2
|
87,95
|
|
VII
- Внутренняя отделка
|
|
52
|
Шпатлевка
потолка
|
По
проекту
|
100м2
|
87,95
|
|
53
|
Шпатлевка
стен
|
По
проекту
|
100м2
|
75,20
|
|
54
|
Покраска
стен
|
По
проекту
|
100м2
|
75,20
|
|
55
|
Покраска
потолков
|
По
проекту
|
100м2
|
87,95
|
|
VIII
- Разные работы
|
|
56
|
Благоустройство
территории
|
В
% от общей трудоёмкости
|
%
|
7
|
|
57
|
Прочие
неучтённые работы
|
В
% от общей трудоёмкости
|
%
|
6
|
|
58
|
Внутриплощадочные
работы
|
В
% от общей трудоемкости
|
%
|
5
|
|
XI
- Специальные работы
|
|
59
|
Водопровод
и канализация
|
В
% от общей трудоемкости
|
%
|
10
|
|
60
|
Отопление
и вентиляция
|
В
% от общей трудоемкости
|
%
|
12
|
Энергоснабжение
|
В
% от общей трудоемкости
|
%
|
8
|
|
|
|
|
|
|
Табл. 6 - Спецификация элементов сборных
конструкций
|
№
п/п
|
Серия,
Марка (обозначения на плане)
|
Наименование,
Эскиз
|
Габаритные
размеры, мм
|
Объем
бетона, Vбет
|
Кол-во,
шт.
|
Примечание
|
|
|
|
Длина,
L, мм
|
Ширина,
В, мм
|
Высота,
Н, мм
|
|
|
|
|
|
|
|
|
|
Масса
одного элемента m, т
|
Масса
всех элементов m’, т
|
|
|
1
|
КЭ-01-52
КД II-15 КД II-17 (К1, К2)
|
Сборная
железобетонная двухветвевая колонна крайнего ряда
|
1000
|
500
|
15750
|
3,86
|
32
|
По
разбивочным осям Д, В
|
|
|
|
|
|
|
9,7
|
310,4
|
|
|
2
|
КЭ-01-52
КД II-20 (К3)
|
Сборная
железобетонная двухветвевая колонна крайнего ряда
|
1300
|
500
|
17550
|
5,92
|
26
|
По
разбивочным осям А’ и Б’
|
|
|
|
|
|
|
14,8
|
384,8
|
|
|
3
|
КЭ-01-52
КД II-22 (К4)
|
Сборная
железобетонная двухветвевая колонна среднего ряда
|
1400
|
500
|
15050
|
7,15
|
16
|
По
разбивочной оси Г
|
|
|
|
|
|
|
17,9
|
286,4
|
|
|
4
|
Серия
1.423-5 К108-14 К(5)
|
Сборная
железобетонная колонна прямоугольного сечения крайнего ряда
|
500
|
400
|
11700
|
2,34
|
32
|
По
разбивочным осям А и Б
|
|
|
|
|
|
|
5,9
|
188,8
|
|
|
5
|
Серия
1.463.1-3/87 ФБМ 24 (ФС1)
|
Ферма
стропильная железобетонная безраскосная - 24м
|
23940
|
240
|
3300
|
4,9
|
16
|
В
разбивочных осях Г, Д
|
|
|
|
|
|
|
12,2
|
195,2
|
|
|
6
|
Серия
1.463.1-3/87 ФБМ 18 (ФС2)
|
Ферма
стропильная железобетонная безраскосная - 18м
|
17940
|
240
|
3000
|
3,35
|
16
|
В
разбивочных осях А, Б
|
|
|
|
|
|
|
8,3
|
132,8
|
|
|
7
|
(ФС3)
|
Ферма
стропильная железобетонная безраскосная -30м (две полуфермы 15м)
|
29940/2=14970
|
240
|
3300
|
6,7/2=3,35
|
29х2
=58
|
В
разбивочных осях А’, Б’
|
|
|
|
|
|
|
16,75/2=8,375
|
485,75
|
|
|
8
|
КЭ-01-50
(БК1, (БК1а))
|
Железобетонная
подкрановая балка -6м (Примечание: []
- Температурные подкрановые балки включительно)
|
5950
[5900]
|
600
|
1000
|
1,74
|
44
|
В
разбивочных осях 2’-12’ по рядам А’ и Б’; В разбивочных осях 2-14 по рядам В
и Д
|
|
|
|
|
|
|
4,18
|
183,92
|
|
|
9
|
КЭ-01-50
(БК2)
|
Железобетонная
подкрановаяторцевая балка - 5,5м
|
5450
|
600
|
1000
|
1,595
|
8
|
В
разбивочных осях 1’-2’, 12’-13’ по рядам А’ и Б’; В разбивочных осях 1-2,
14-15 по рядам В и Д
|
|
|
|
|
|
|
3,83
|
30,64
|
|
|
10
|
КЭ-01-50
(БК3, (БК3а))
|
Железобетонная
подкрановая балка- 12м (Примечание: []
- Температурные подкрановые балки включительно)
|
11950
[11400]
|
650
|
1400
|
4,4
|
5
|
В
разбивочных осях 3-13 по ряду Г
|
|
|
|
|
|
|
10,57
|
52,85
|
|
|
11
|
КЭ-01-50
(БК4)
|
Железобетонная
подкрановая торцевая балка - 11,5м
|
11450
|
650
|
1400
|
4,22
|
4
|
В
разбивочных осях 1-3 и 13-15 по ряду Г
|
|
|
|
|
|
|
10,13
|
40,52
|
|
|
12
|
Серия
1.465-7 ПАIIIВ/3х6 (ПП3х6)
|
Плита
ребристая, предварительно напряженная с шагом ферм 6м
|
5970
|
2980
|
300
|
1,07
|
456
|
Площадь
кровли
|
|
|
|
|
|
|
2,65
|
1208,4
|
|
|
13
|
Серия
1.432-5 ПСЯ20/1,2х6 (СП 6,0-1,2)
|
Панель
стеновая ячеистобетонная с шагом колонн 6м
|
5980
|
200
|
1185
|
1,42
|
791
|
По
периметру здания
|
|
|
|
|
|
|
1,2
|
949,2
|
|
|
14
|
Серия
1.432-5 ПСЯ20/1,8х6 (СП 6,0-1,8)
|
Панель
стеновая ячеистобетонная с шагом колонн 6м
|
5980
|
200
|
1785
|
2,13
|
36
|
По
фасаду в разбивочных осях А-Д; 1-15; 15-1
|
|
|
|
|
|
|
1,7
|
61,2
|
|
|
15
|
(ДСП1,0-1,2)
|
Панель
стеновая доборная ячеистобетонная
|
980
|
200
|
1185
|
0,233
|
25
|
По
фасаду в разбивочных осях Б’-1; 1-Б’
|
|
|
|
|
|
|
0,163
|
4,075
|
|
|
16
|
(ДСП1,0-1,8)
|
Панель
стеновая доборная ячеистобетонная
|
980
|
200
|
1785
|
0,35
|
2
|
По
фасаду в разбивочных осях Б’-1; 1-Б’
|
|
|
|
|
|
|
0,25
|
0,5
|
|
|
17
|
Серия
1.432-5 БЯ-42 (ДСП0,2-1,8)
|
Панель
стеновая доборная ячеистобетонная
|
190
|
200
|
1785
|
0,07
|
2
|
В
углах здания
|
|
|
|
|
|
|
0,06
|
0,12
|
|
|
18
|
Серия
1.432-5 БЯ-24 (ДСП0,2-1,2)
|
Панель
стеновая доборная ячеистобетонная
|
190
|
200
|
1185
|
0,05
|
64
|
В
углах здания
|
|
|
|
|
|
|
0,04
|
2,56
|
|
|
19
|
(ДСП0,8-1,2)
|
Панель
стеновая доборная ячеистобетонная
|
780
|
200
|
1185
|
0,185
|
4
|
По
фасаду в разбивочных осях Б-1
|
|
|
|
|
|
|
0,13
|
0,52
|
|
|
20
|
(ДСП0,2-0,6)
|
Панель
стеновая доборная ячеистобетонная
|
190
|
200
|
585
|
0,023
|
2
|
По
фасаду в разбивочных осях 1-Б’; Б’-1
|
|
|
|
|
|
|
0,016
|
0,032
|
|
|
21
|
(ДСП0,3-1,8)
|
Панель
стеновая доборная ячеистобетонная
|
280
|
200
|
1785
|
0,1
|
1
|
По
фасаду в разбивочных осях 13’
|
|
|
|
|
|
|
0,07
|
0,07
|
|
|
22
|
(ДСП0,3-1,2)
|
Панель
стеновая доборная ячеистобетонная
|
280
|
200
|
1185
|
0,066
|
1
|
По
фасаду в разбивочных осях 13’
|
|
|
|
|
|
|
0,046
|
0,046
|
|
|
23
|
(ДСП0,5-1,8)
|
Панель
стеновая доборная ячеистобетонная
|
480
|
200
|
1785
|
0,171
|
1
|
По
фасаду в разбивочных осях Б-В
|
|
|
|
|
|
|
0,12
|
0,12
|
|
|
24
|
(ДСП0,5-1,2)
|
Панель
стеновая доборная ячеистобетонная
|
480
|
200
|
1185
|
0,114
|
14
|
По
фасаду в разбивочных осях Б-В
|
|
|
|
|
|
|
0,08
|
1,12
|
|
|
25
|
(КФ1)
|
Фахверковые
колонны
|
500
|
500
|
16200
|
-
|
8
|
В
торцах здания в осях А’-Б’
|
|
|
|
|
|
|
3,145
|
25,16
|
|
|
26
|
(КФ2)
|
Фахверковые
колонны
|
500
|
450
|
14400
|
-
|
7
|
В
торце здания в осях В-А
|
|
|
|
|
|
|
2,066
|
14,462
|
|
|
27
|
(КФ3)
|
Фахверковые
колонны
|
500
|
450
|
10800
|
-
|
2
|
В
торце здания в осях Д-Г
|
|
|
|
|
|
|
1,549
|
3,098
|
|
|
28
|
(ТФ1)
|
Стойка
торцового фахверка
|
200
|
200
|
16200
|
-
|
4
|
В
углах торцов здания в осях А’-Б’
|
|
|
|
|
|
|
0,667
|
2,668
|
|
|
29
|
(ТФ2)
|
Стойка
торцового фахверка
|
200
|
200
|
14400
|
-
|
5
|
В
углах торцов здания в осях В-А
|
|
|
|
|
|
|
0,593
|
2,965
|
|
|
30
|
(ТФ3)
|
Стойка
торцового фахверка
|
200
|
200
|
10800
|
-
|
3
|
В
углах торцов здания в осях Д-А
|
|
|
|
|
|
|
0,446
|
1,338
|
|
|
31
|
(ДПП1)
|
Доборная
плита покрытия 
|
800
|
100
|
0,24
|
12
|
В
разбивочных осях Б’-1”
|
|
|
|
|
|
|
0,576
|
6,912
|
|
|
32
|
(ДПП2)
|
Доборная
плита покрытия
|
3000
|
350
|
100
|
0,105
|
14
|
В
разбивочных осях Г-В
|
|
|
|
|
|
|
0,252
|
3,528
|
|
|
33
|
(ФБ)
|
Фундаментная
балка
|
4780
|
300
|
300
|
0,43
|
62
|
По
периметру здания
|
|
|
|
|
|
|
1,032
|
63,984
|
|
Табл. 6 - Расчет объемов стыков
|
№
|
Наименование
элемента
|
Эскиз
|
Объём
(площадь, длина) одного стыка м3, м2 ,м
|
Кол-во
стыков, шт.
|
Полный
объём Материала (полная длинна), м3,м
|
Вид
заполнителя
|
Примечание
|
1 Колонна крайнего
ряда с фундаментом (К2)
0,5793218,528Бетон марки М100
В15По разбивочным осям
2 Колонна крайнего
ряда с фундаментом (К1) 
0,7342619,084Бетон марки М100
|
В15По
разбивочным осям А’ и Б’
|
|
|
|
|
|
3 Колонна среднего
ряда с фундаментом (К3) 
0,7521612,032Бетон марки М100
В15По разбивочной оси
4 Колонна крайнего
ряда с фундаментом (К4) 
0,113323,616Бетон марки М100
|
В15По
разбивочным осям А и Б
|
|
|
|
|
|
5 Продольный стык
плит покрытия
0,009186616,794Цементный раствор
|
М25.
Сварка закладных деталейПо общей площади кровли
|
|
|
|
|
|
6 Поперечный стык
плит покрытия
0,007811228,752Цементный раствор
|
М25.
Сварка закладных деталейПо общей площади кровли
|
|
|
|
|
|
|
|
7
|
Поперечный
и продольный стык между плитой покрытия и стеновой панели
|
0,021382617,594Изоляция
и герметизация стыкаПо периметру здания и фонарей
|
|
|
|
|
|
|
8
|
Стык
подкрановой балки 12м с колонной
|
|
2,6
|
28
|
72,8
|
Сварка
закладных деталей
|
-
|
|
9
|
Стык
подкрановой балки 6м с колонной
|
|
2,2
|
104
|
228,8
|
Сварка
закладных деталей
|
-
|
|
10
|
Крепление
стеновых панелей к железобетонным колоннам и к торцевому фахверку [
|
|
-
|
-
|
377,2
|
Сварка
закладных деталей
|
-
|
|
11
|
Крепление
доборной плиты покрытия в деформационных швах с перепадом высоты с привязкой
1000; 500
|
|
-
|
-
|
155,8
|
Сварка
закладных деталей
|
-
|
|
12
|
Колонна
фахверка с фундаментом
|
|
3,4
|
17
|
57,8
|
Сварка
закладных деталей
|
-
|
|
13
|
Стык
колонны с фермой
|
|
1,2
|
122
|
146,4
|
Сварка
закладных деталей
|
-
|
|
14
|
Стойка
торцевого фахверка с Фундаментом и железобетонной колонной
|
|
4,5
|
12
|
54
|
Сварка
закладных деталей
|
-
|
|
16
|
Горизонтальный
стык между стеновыми панелями
|
|
-
|
6095,75
|
-
|
Изоляция
стыка
|
-
|
|
17
|
Вертикальный
стык между стеновыми панелями
|
|
-
|
1420,75
|
-
|
Изоляция
стыка
|
-
|
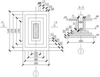
Табл. 7 - Расчет объема бетона фундаментов (см.
совместно с табл. 6, № п/.1-4 и рис.7)
|
№
п/п
|
Наименование
конструкции
|
Эскиз
|
Кол-во,
шт.
|
Объем
бетона одного фундамента, м3
|
Объем
бетона всего, м3
|
Площадь
подошвы фундамента, одного, м2
|
Площадь
подошвы фундамента, всего, м2
|
Марка
бетона
|
Примечание
|
1 ФБ1 Серия 1.412-1
1215,818189,81619,44252,72Бетон
марки М100
2 ФБ2 Серия 1.412-1 
122,40222,40225,9225,92Бетон марки
М100
3 ФБ3 Серия 1.412-1
117,26317,26319,4419,44Бетон
марки М100
|
В15По
оси Г/15
|
|
|
|
|
|
|
|
|
|
4
|
ФБ4
Серия 1.412-1
|
 912,467112,20315,84142,56Бетон
марки М100 В15
|
По
оси Б’/2’-3’, 5’-8’, 10’-12’
|
|
|
|
|
|
|
|
5
|
ФБ5
Серия 1.412-1
|
 1112,899141,88915,84174,24Бетон
марки М100 В15
|
По
оси А’/2’-12’
|
|
|
|
|
|
|
6 ФБ6 Серия 1.412-1 
128,0896,969,72116,64Бетон марки
М100
7 ФБ7 Серия 1.412-1 
110,44510,44512,9612,96Бетон марки
М100
8 ФБ8 Серия 1.412-1 
119,12819,12812,9612,96Бетон марки
М100
9 ФБ9 Серия 1.412-1 
122,35822,35822,6822,68Бетон марки
М100
10 ФБ10 Серия 1.412-1 
1215,643187,71617,82213,84Бетон
марки М100
11 ФБ11 Серия 1.412-1
18,088,089,729,72Бетон
марки М100
12 ФБ12 Серия 1.412-1 
113,52913,52915,8415,84Бетон марки
М100
13 ФБ13 Серия 1.412-1 
116,7516,7517,8217,82Бетон марки
М100
14 ФБ14 Серия 1.412-1 
134,6334,6334,0234,02Бетон марки
М100
15 ФБ15 Серия 1.412-1 
137,70837,70835,9135,91Бетон марки
М100
16 ФБ16 Серия 1.412-1 
124,86724,86721,0621,06Бетон марки
М100
17 ФБ17 Серия 1.412-1 
130,63230,63228,828,8Бетон марки
М100
18 ФБ18 Серия 1.412-1 
173,57460,7582,2538,25Бетон марки
М100
|
В15По
периметру здания
|
|
|
|
|
|
|
|
|
|
|
|
Всего,м3
|
1047,134
|
Всего,м2
|
1195,38
|
|
|
|
|
|
|
|
|
|
|
|
|
|
|
|
Табл. 8 - Грузозахватные устройства и монтажные
приспособления
|
№
п/п
|
Наименование
оснастки; назначение; разработчик и шифр чертежей
|
Эскиз
оснастки и схема строповки
|
Грузоподъемность,
т
|
Масса
приспособлений, кг
|
Высота
над конструкцией, м
|
Количество
на единицу изделия, шт
|
Количество
на захватку, шт
|
Примечание
|
|
1
|
2
|
3
|
4
|
5
|
6
|
7
|
8
|
9
|
|
1
|
Строп
четырехветвевой 4СК-5,0/4000 (5000; 6300) в комплекте: 1 - строп ВК-2,0/4000
(5000; 6300); 2 - крюк К1-2. ВНИПИ Промстальконструкция. Шифр 29700-101; 109
|
|
5
|
37,1
|
4
|
1
|
1
|
Разгрузка
конструкций; монтаж плит покрытий, панелей стен и перегородок.
|
|
2
|
Строп
двухветвевой 2СК-5,0/2200 (-2,5/2000) в комплекте: 1 - звено Рт1-5(2,5); 2 -
строп ВК-4,0/3000 (-2,0/3000); 3 - крюк К1-4 (-2); 4 - подкладки под канат.
ЦНИИОМТП проект 3484.00.000
|
|
5
|
13,5
|
2,2
|
1
|
1
|
Разгрузка
конструкций; монтаж панелей стен и перегородок.
|
|
3
|
Траверса
Тр-8-0,4 (-0,5) в комплекте: 1 - строп 2СТ-10/4000 (5000; 6300); 2 -
траверса; 3 - строп СКК1-4,0/2000-8000; ВНИПИ Промстальконструкция. Шифр
29700-49; -103; -109; -116
|
|
8
|
181,4
- 195,4
|
1,25
|
1
|
1
|
Монтаж
бесконсольных колонн сечением 400´500 серий
КЭ-01-49 и 1.424, массой до 8 т с диаметром отверстий в колонне 50 мм.
|
|
4
|
Траверса
Тр-16-1,0 (0,6) в комплекте: 1 - строп 2СТ-16,0/5000 (6300; 8000; 10000;
12500); 2 - траверса; 3 - подстропок ПП-8/2000 (3200). ВНИПИ
Промстальконструкция. Шифр 29700-32; -34; -104; -112; -113
|
|
16
|
286
- 320
|
1,7
|
1
|
1
|
Монтаж
двухветвевых колонн крайних и средних рядов серий КЭ-01-52 и 1.424 массой до
16 т из положения «плашмя».
|
|
5
|
Траверса
Тр-25-0,7 в комплекте: 1 - строп 2CT-25/6300/1000; 2 - траверса; 3 -
подстропок ПП-8/3400; 4 - подкладка под канат; 5 - канат для расстроповки.
ВНИПИ Промстальконструкция. Шифр 29700-33; -105; -112
|
|
25
|
413,6
|
1,75
|
1
|
1
|
Монтаж
двухветвевых колонн среднего ряда серий КЭ-01-52 и 1.424 массой до 25 т из
положения «плашмя».
|
|
6
|
Траверса
универсальная в комплекте с автоматическими захватами: 1 - траверса; 2 -
лебедка; 3 - захваты; 4 - стропы. ЦЭКБстроймехавтоматика ЦНИИОМТП. Проект
траверсы 105-3.00.000. Проект захватов 1854.00.000
|
|
12
|
426;
880
|
3,1
|
1
|
1
|
Монтаж
железобетонных подкрановых балок серии КЭ-01-50 длиной 6 и 12 м, массой до 12
т.
|
|
7
|
Строп
двухветвевой 2СТ-16/5000 в комплекте: 1 - строп 2СТ-16/5000; 2 - строп
СКК1-12,5/5000; 3 - пружинный замок Пр2,5; 4 - канат для расстроповки. ВНИПИ
Промстальконструкция. Шифр 29700-43; -100; -104; -109
|
|
12
|
265,2
|
4,1
|
1
|
1
|
Монтаж
железобетонных подкрановых балок серии КЭ-01-50 длиной 12 и (6) м, массой до
12 т.
|
|
8
|
Траверса
Тр-20-5 в комплекте: 1 - траверса; 2 - канат для расстроповки. ВНИПИ
Промстальконструкция. Шифр 29700-38и; -39; -40и; -41и
|
|
20
|
513
|
1,2
|
1
|
1
|
Монтаж
стропильных ферм серий ПК-01-129/68 и 1.462-5, длиной 18, 24 и 30 м, массой
до 20 т.
|
|
9
|
Стропы
четырехветвевые в комплекте: 1 - строп 4СК-10/4000 (для плит с петлями
снаружи); 2 - строп 4СК-10/5000 (для плит с утопленными петлями). ВНИПИ
Промстальконструкция. Шифр 29700-44; -102; -109
|
|
5
|
89,9
96,7
|
3,6
4,0
|
1
|
1
|
Монтаж
плит покрытий серий ПК-01-106 и 1.465-7 длиной 6 м и массой до 5 т.
|
|
10
|
Траверса
в комплекте со стропами. ВНИПИ Промстальконструкция (Новосибирский филиал).
Шифр 2006-78
|
|
4
|
396
|
1,6
|
1
|
1
|
Монтаж
плит покрытий серий ПК-01-106 и 1.465-7 длиной 6 м и массой до 5 т.
|
|
11
|
Строп
двухветвевой 2СТ-10/4000 в комплекте: 1 - строп СКК1-8/4000; 2 - пружинный
замок Пр8; 3 - канат для расстроповки. ВНИПИ Промстальконструкция. Шифр
2970-25; -103
|
|
6
|
94,8
|
3,8
|
1
|
1
|
Монтаж
стеновых панелей серии 1.432-5 длиной 6 м и массой до 6 т.
|
12 Траверса Тр-20-5 в
комплекте: 1 - траверса; 2 - стропы 1СК-6,3/2000. ВНИПИ Промстальконструкция.
Шифр 29700-110, ГОСТ 25573-82
<#"889337.files/image147.gif">85332,111Монтаж
панелей стен и перегородок серий 1.432-11 и 1.431 длиной 6 м, массой до 8 т.
|
|
|
|
|
|
|
|
|
|
13
|
Строп
двухветвевой 2СТ-10/4000 в комплекте: 1 - строп 2СТ-10/4000; 2 - строп
ВК-2/1600; 3 - пружинный замок Пр3,2; 4 - подкладка под канат; 5 - канат для
расстроповки. ВНИПИ Промстальконструкция. Шифр 29700-20; -103; -109
|
|
10
|
112,2
|
4,6
- 5,1
|
1
|
1
|
Монтаж
и укрупнительная сборка ферм и панелей фонарей серии 1.464-11; -13 массой до
2 т, длиной 6 и 12 м.
|
|
14
|
Строп
двухветвевой 2СТ-10/4000 в комплекте: 1 - строп 4СК-10/4000; 2 - пружинный
замок Пр3,2; 3 - строп ВК-2/1600; 4 - канат для расстроповки; 5 - проектный
сухарь. ВНИПИ Промстальконструкция. Шифр 29700-13; -103; -109
|
|
2
|
115,2
|
4
|
1
|
1
|
Монтаж
вертикальных связей серии 1.424-4 массой до 2 т по колоннам.
|
|
15
|
Траверса
Тр-2-1 в комплекте: 1 - траверса; 2 - строп 2СТ-10/4000. ВНИПИ
Промстальконструкция. Шифр 29700-24; -103; -119
|
|
2
|
128,8
|
4,5
|
1
|
1
|
Монтаж
крановых рельсов КР50-КР100 длиной до 6 м и массой до 2 т.
|
|
16
|
Опорное
приспособление. ПКК треста Сибстальконструкция. Шифр 2008-01; -02; -04
|
|
-
|
77
|
-
|
1
|
1
|
Перевод
колонны в вертикальное положение: а) из положения «плашмя», б) из положения
«на ребро».
|
|
17
|
Кондуктор.
ПК треста Уралстальконструкция. Шифр 2801 М-5; -6; -7
|
|
-
|
446
|
1,4
|
1
|
1
|
Временное
крепление и выверка двухветвевых колонн массой до 35 т.
|
|
16
|
Комплект
приспособлений и инструмента в составе: 1 - вкладыш клиновой инвентарный; 2 -
ограждение. пч цнииоМТп 323-2.00.000
|
-
|
725
|
-
|
1
|
1
|
Выверка
и временное закрепление железобетонных колонн массой до 24 т в стаканах
фундаментов.
|
|
19
|
Инвентарная
распорка. ПКК треста Сибстальконструкция. Шифр 2008-27
|
|
-
|
140
|
-
|
1
|
1
|
Выверка
и временное крепление железобетонных колонн в плоскости ряда при шаге 6 м.
|
|
20
|
Расчалка
с карабином и винтовой стяжкой. 1 - струбцина; 2 - расчалка; 3 - якорь..
ВНИПИ Промстальконструкция. Шифр 1798М-10
|
|
-
|
13
|
-
|
4
|
4
|
Временное
крепление стропильных ферм и колонн.
|
|
21
|
Инвентарная
распорка. 1 - струбцина; 2 - распорка; 3 - плита. ВНИПИ Промстальконструкция.
Шифр 4234Р-44
|
|
-
|
63
|
-
|
4
|
4
|
Временное
крепление стропильных ферм при шаге 6 м.
|
|
22
|
Крышевой
кондуктор-распорка. 1 - рама; 2 - стрела; 3 - лебедка. ЦЭКБстроймехавтоматика
ЦНИИОМТП. Проект 1524.00.000
|
|
1
|
2900
|
-
|
4
|
4
|
Временное
крепление и выверка монтируемых стропильных ферм с шагом 6 м.
|
|
23
|
Лестница
секционная приставная с площадкой; монтажная. ВНИПИ Промстальконструкция,
Саратовская группа. Шифр 17203Р
|
|
-
|
853
|
6
- 18
|
2
|
2
|
Обеспечение
рабочего места на высоте от 6 до 18 м.
|
|
24
|
Лестница
секционная приставная с площадкой; монтажная. ВНИПИ Промстальконструкция,
Ленинградский отдел. Шифр 16368Р
|
|
-
|
1289
|
5
- 20
|
2
|
2
|
Обеспечение
рабочего места на высоте от 5 до 20 м.
|
|
25
|
Мостик
переходный монтажный. ЦЭКБстроймехавтоматика ЦНИИОМТП. Проект 4444.00.700
|
|
-
|
490
|
-
|
2
|
2
|
Обеспечение
безопасности при монтаже связей светоаэрационных фонарей.
|
|
26
|
Люлька
подвесная. ВНИПИ Промстальконструкция. Шифр 29800-15; -07
|
|
0,5
|
-
|
-
|
2
|
2
|
Подъем
рабочих, инструмента и материалов при установке панелей стен длиной 6 м.
Подвешивается внутри здания.
|
|
27
|
Подмости
монтажные. 1 - колонна; 2 - подмости. ВНИПИ Промстальконструкция. Шифр
29800-19; -20
|
|
-
|
39
|
-
|
1
|
1
|
Обеспечение
рабочего места на высоте.
|
|
28
|
Площадка
с лестницей. 1 - колонна; 2 - площадка с лестницей. ПК Главстальконструкция.
Шифр 229
|
|
-
|
118
|
-
|
1
|
1
|
Обеспечение
рабочего места на высоте.
|
|
29
|
Маршевая
лестница. ВНИПИ Промстальконструкция. Шифр 29800-01
|
|
0,2
|
-
|
До
18
|
2
|
2
|
Подъем
рабочих к месту проведения работ на высоте до 18 м.
|
|
30
|
Будка
изолировщика с комплектом оборудования и инструмента. ЦНИИОМТП. Проект
3295.14.000
|
|
-
|
3000
|
-
|
1
|
1
|
Герметизация
стыков панелей наружных стен.
|
|
31
|
Временное
ограждение. ВНИПИ Промстальконструкция. Шифр 29800-20; -3
|
|
-
|
-
|
-
|
1
|
1
|
Обеспечение
безопасности работ на покрытиях.
|
|
32
|
Стойка
для крепления предохранительного каната. ВНИПИ Промстальконструкция,
Ленинградский отдел. Шифр 29800-13; -3
|
|
30
|
-
|
-
|
1
|
1
|
Обеспечение
безопасности при работе монтажников на высоте.
|
2.4 Обеспечение контроля качества
строительных и монтажных работ
конструкция кран захватка монтаж
Методы контроля качества строительной продукции
Различают внутренний и внешний контроль
качества.
Внутренний контроль. Качество строительной
продукции определяется по результатам производственного контроля и оценивается
в соответствии со специальной инструкцией по оценке качества
строительно-монтажных работ.
Данные результатов контроля должны фиксироваться
в журналах работ приведены виды внутреннего контроля.
Виды внутреннего контроля
|
Вид
контроля
|
Содержание
|
|
По
времени проведения
|
|
Входной
|
Проверка
поступающих материалов и изделий
|
|
Операционный
|
Осмотр
и замеры в процессе работ
|
|
Приемочный
|
Приемка
завершенных работ с составлением акта на скрытые работы
|
|
По
объему проверок
|
|
Сплошной
|
Проверка
всех изделий
|
|
Выборочный
|
Проверка
части изделий
|
|
По
периодичности
|
|
Непрерывный
|
Проверка
в течение всего времени выполнения работ
|
|
Периодический
|
То
же, через определенные промежутки времени
|
|
Летучий
|
Эпизодические
проверки
|
|
По
средствам проведения (методу)
|
|
Визуальный
|
Осмотр
без измерительных инструментов
|
|
Измерительный
|
Осмотр
с применением измерительных инструментов, в том числе лабораторных
|
|
Регистрационный
|
Осмотр
методом анализа документации (проектов, паспортов, сертификатов)
|
При входном контроле проектной документации
следует проанализировать всю представленную документацию, включая проект
организации строительства и рабочую документацию, проверив при этом: ее
комплектность; соответствие проектных осевых размеров и геодезической основы;
наличие согласований и утверждений; наличие ссылок на материалы и изделия;
наличие перечня работ и конструкций, показатели качества которых влияют на
безопасность объекта и подлежат оценке соответствия в процессе строительства;
наличие предельных значений контролируемых по указанному перечню параметров,
допускаемых уровней несоответствия по каждому из них; наличие указаний о
методах контроля и измерений, в том числе в виде ссылок на соответствующие
нормативные документы. При обнаружении недостатков соответствующая документация
возвращается на доработку.
Входным контролем в соответствии с действующим
законодательством проверяют соответствие показателей качества покупаемых
(получаемых) материалов, изделий и оборудования требованиям стандартов,
технических условий или технических свидетельств на них, указанных в проектной
документации и (или) договоре подряда. При этом проверяется наличие и содержание
сопроводительных документов поставщика (производителя), подтверждающих качество
указанных материалов, изделий и оборудования. При необходимости могут
выполняться контрольные измерения и испытания указанных выше показателей.
Методы и средства этих измерений и испытаний должны соответствовать требованиям
стандартов, технических условий и (или) технических свидетельств на материалы,
изделия и оборудование. Материалы, изделия, оборудование, несоответствие
которых установленным требованиям выявлено входным контролем, следует отделить
от пригодных и промаркировать. Работы с применением этих материалов, изделий и
оборудования следует приостановить. Застройщик (заказчик) должен быть извещен о
приостановке работ и ее причинах.
Входной контроль должен возлагаться на службу
производственно-технологической комплектации предприятия-изготовителя,
инженерно-технический персонал стройки и строительные лаборатории.
Операционный контроль должен осуществляться при
выполнении производственных операций или строительных процессов и обеспечивать
своевременное выявление дефектов и причин их возникновения, а также
своевременное принятие мер по их устранению и предупреждению.
Операционным контролем исполнитель работ
проверяет: соответствие последовательности и состава выполняемых
технологических операций технологической и нормативной документации,
распространяющейся на данные технологические операции; соблюдение
технологических режимов, установленных технологическими картами и регламентами;
соответствие показателей качества выполнения операций и их результатов
требованиям проектной и технологической документации, а также
распространяющейся на данные технологические операции нормативной документации.
Места выполнения контрольных операций, их частота, исполнители, методы и средства
измерений, формы записи результатов, порядок принятия решений при выявлении
несоответствий установленным требованиям должны соответствовать требованиям
проектной, технологической и нормативной документации.
Основные рабочие документы при операционном контроле
качества - схемы операционного контроля, разрабатываемые в составе проектов
производства работ.
Приемочный контроль производится для проверки и
оценки качества законченных строительством объектов или их частей, а также
скрытых работ и отдельных ответственных конструкций.
Все скрытые работы подлежат приемке с
составлением актов их освидетельствования, которые должны составляться на
завершенные процессы, выполненные самостоятельными подразделениями
исполнителей.
Отдельные ответственные конструкции по мере их
готовности подлежат приемке в процессе строительства с составлением акта
промежуточной приемки этих конструкций. В обязательном порядке производится, в
частности, приемка фундаментов под оборудование.
Готовность фундаментов под монтаж должна быть оформлена
актом, подписанным представителями заказчика, строительной и монтажной
организаций. К приемо-сдаточному акту о готовности фундаментов под оборудование
должен быть приложен формуляр на фундамент с указанием: проектных и фактических
отметок поверхностей фундаментов; проектных и фактических основных размеров
фундаментов; расположения и отметок металлических деталей и реперов, заложенных
в тело фундамента, или скоб, закрепленных на конструкциях зданий, фиксирующих
главные оси фундаментов; акта на освидетельствование основания под фундаменты;
документации, характеризующей качество применяемых материалов и выполненных
работ (журналы испытания бетона, бетонирования, акты скрытых работ на укладку
арматуры и т.п.); акта на скрытые работы по виброизоляции фундаментов.
Внешний контроль. Кроме производственного
контроля за качеством строительства осуществляется внешний контроль со стороны
государственных и ведомственных органов контроля и надзора. Проектная
организация осуществляет авторский контроль, застройщик - технадзор заказчика.
Авторский надзор проектных организаций за
качеством строительства осуществляется совместно с технадзором заказчика и
другими органами контроля качества строительства.
Авторский надзор осуществляется на основании
договора (распорядительного документа) и проводится, как правило, в течение
всего периода строительства и ввода в эксплуатацию объекта, а в случае
необходимости - и начального периода его эксплуатации. При осуществлении
авторского надзора за строительством объекта регулярно ведется журнал
авторского надзора за строительством, который составляется проектировщиком и
передается заказчику. Основные обязанности лица, осуществляющего авторский
надзор, заключаются в проведении выборочной проверки соответствия производимых
строительных и монтажных работ рабочей документации и требованиям строительных
норм и правил, выборочного контроля за качеством и соблюдением технологии
производства работ, связанных с обеспечением надежности, прочности,
устойчивости и долговечности конструкций и монтажа технологического и
инженерного оборудования, своевременном решении вопросов, связанных с
необходимостью внесения изменений в рабочую документацию в соответствии с
требованиями ГОСТ Р 21.101-97 "Основные требования к проектной и рабочей
документации" и контроля за исполнением, информировании застройщика
(заказчика) о несвоевременном и некачественном выполнении указаний
специалистов, осуществляющих авторский надзор, для принятия оперативных мер по
устранению выявленных отступлений от рабочей документации и нарушений
требований нормативных документов. Лица, осуществляющие авторский надзор,
вправе, а в случаях, предусмотренных федеральными законами или договором с
застройщиком (заказчиком), обязаны участвовать в освидетельствовании скрываемых
возведением последующих конструкций работ, от качества которых зависят
прочность, устойчивость, надежность и долговечность возводимых зданий и
сооружений, и в приемке в процессе строительства отдельных ответственных
конструкций.
Технический надзор заказчика контролирует
качество строительных материалов, оборудования и выполненных
строительно-монтажных работ, их соответствие проектам, сметам, СНиПу и
государственным стандартам. Работники технического надзора заказчика несут
ответственность за плохое качество работ, принятых от строителей,
несвоевременное оформление актов на скрытые работы и систематически фиксируют в
журналах работ свои замечания по качеству выполненных работ. Без подписи
заказчика "К производству работ" рабочие чертежи считаются
недействительными.
В целях осуществления технического надзора
застройщик (заказчик) может выполнять: проверку наличия у исполнителя работ
документов о качестве (сертификатов в установленных случаях) на применяемые им
материалы, изделия и оборудование, документированных результатов входного
контроля и лабораторных испытаний; контроль соблюдения исполнителем работ
правил складирования и хранения применяемых материалов, изделий и оборудования;
при выявлении нарушений этих правил представитель технадзора может запретить
применение неправильно складированных и хранящихся материалов; контроль
соответствия выполняемого исполнителем работ операционного контроля указанным
требованиям; контроль наличия и правильности ведения исполнителем работ
исполнительной документации, в том числе оценку достоверности геодезических
исполнительных схем выполненных конструкций с выборочным контролем точности
положения элементов; контроль за устранением дефектов в проектной документации,
выявленных в процессе строительства, документированный возврат дефектной документации
проектировщику, контроль и документированная приемка исправленной документации,
передача ее исполнителю работ; контроль исполнения исполнителем работ
предписаний органов государственного надзора и местного самоуправления;
контроль соответствия объемов и сроков выполнения работ условиям договора и
календарному плану строительства; оценку (совместно с исполнителем работ)
соответствия выполненных работ, конструкций, участков инженерных сетей,
подписание двухсторонних актов, подтверждающих соответствие; контроль за
выполнением исполнителем работ требования о недопустимости выполнения
последующих работ до подписания указанных актов; заключительную оценку
(совместно с исполнителем работ) соответствия законченного строительством
объекта требованиям законодательства, проектной и нормативной документации. Для
осуществления технического надзора застройщик (заказчик), при необходимости,
может сформировать службу технического надзора, обеспечив ее проектной и
необходимой нормативной документацией, а также контрольно-измерительными
приборами и инструментами.
2.5 Календарное планирование
ОБЩИЕ ПОЛОЖЕНИЯ
В составе проекта производства работ календарные
планы являются одним из основных документов, которые на основе подсчитанных
объемов строительно-монтажных работ и принятых методов производства определяют
сроки строительства и очередность возведения зданий и сооружений.
Календарные планы служат основой для разработки
графиков потребности в рабочих кадрах, расхода и завоза строительных
материалов, изделий и конструкций.
Календарный план производства работ по объекту в
виде линейного графика обычно разрабатывают в следующем порядке:
Определяют номенклатуру работ, включаемую в
календарный план.
Рассчитывают объемы работ.
Способы и методы производства работ и средства
механизации принимают в соответствии с технико-экономическим обоснованием.
Определяют трудоемкость работ (чел./дн.) и
потребное количество маш./смен.
работ основных строительных работ.
Устанавливают последовательность выполнения
работ.
Устанавливают состав бригад и звеньев.
Устанавливают сменность работ.
Устанавливают продолжительность отдельных видов
работ, возможность их совмещения, уточняют сроки начала и окончания работ.
Составляют графики движения рабочих, графики
расхода материалов и деталей, работы основных машин.
Сравнивают расчетные сроки строительства с
директивными и при необходимости производят коррекцию календарного плана.
ОПРЕДЕЛЕНИЕ СОСТАВА И ОБЪЕМА РАБОТ НА ОБЪЕКТЕ
После анализа рабочих чертежей
(архитектурно-конструктивной части) устанавливается номенклатура работ по
объекту, степень укрупнительной сборки конструкций на площадке и др. В
соответствии с принятым вариантами методов производства работ производится
разбивка объекта на захватки, ярусы и др.
Состав и объем работ по объекту приводится в
таблице ”Календарный план ”.
ВЕДОМОСТЬ ОПРЕДЕЛЕНИЯ ПОТРЕБНОСТЕЙ В ОСНОВНЫХ
РЕСУРСАХ
Определение потребностей в строительных
материалах, изделиях и конструкциях.
Табл. 9 - Ведомость потребности в строительных
конструкциях, изделиях, материалах и оборудовании
|
№
п/п
|
Наименование
|
Единица
измерения
|
Всего
по строительству
|
Примечание
|
|
А
|
Б
|
В
|
Г
|
Д
|
|
1.
|
Арматурные
каркасы и сетки массой до 100кг
|
шт.
|
100
|
для
устройства фундаментов
|
|
2.
|
Деревянная
опалубка щиты до 2м2
|
м2
|
3310
|
|
|
3.
|
Бетон
В15
|
м3
|
1047,134
1319,25
|
для
устройства фундаментов для устройства полов
|
|
4.
|
Фундаментные
балки ж/б
|
шт.
|
62
|
для
монтажа основного каркаса пром. здания
|
|
5.
|
Колонны
основного каркаса ж/б
|
шт.
|
106
|
|
|
6.
|
Подкрановые
балки ж/б
|
шт.
|
61
|
|
|
7.
|
Стропильные
фермы ж/б
|
шт.
|
61
|
|
|
8.
|
Плиты
покрытия ж/б
|
шт.
|
482
|
|
|
9.
|
Колоны
фахверка
|
шт.
|
29
|
|
|
10.
|
Стеновые
панели керамзитобетонные
|
шт.
|
943
|
|
|
11.
|
Пенополистирол
|
м2
|
8795
|
для
устройства кровли
|
|
12.
|
Цементно-песчаный
раствор В7,5
|
м3
|
175,9
175,9
|
для
стяжки кровли для стяжки пола
|
|
13.
|
Наплавляемый
рулонный кровельный материал
|
м2
|
16790
|
для
устройства кровли
|
|
14.
|
Оконный
блок
|
шт.
|
1245
|
для
монтажа основного каркаса пром. здания
|
|
15.
|
Ворота
со встроенными дверными блоками
|
шт.
|
8
|
|
|
16.
|
Известковый
раствор
|
л
|
3760
|
для
отделочных работ
|
|
17.
|
Масляная
краска
|
л
|
3760
|
|
|
18.
|
Гравий
|
м3
|
175,9
|
для
устройства кровли
|
|
19.
|
Песок
среднезернистый (Fоснх0,2)
|
м3
|
239,076
|
для
устройства фундаментов (подсыпка)
|
|
20.
|
Материалы
для водопровода и канализации
|
-
|
-
|
-
|
|
21.
|
Материалы
для электроснабжения
|
-
|
-
|
-
|
|
22.
|
Материалы
для отопления и вентиляции
|
-
|
-
|
-
|
|
23.
|
Привозной
грунт
|
м3
|
11906,521
|
Для
обратной засыпки
|
Определение потребности основных строительных
машинах и механизмах.
Табл. 10 - Ведомость потребности в основных
строительных машинах и механизмах
|
№
п/п
|
Наименование
строительной машины или механизма
|
Марка
|
Ед.изм.
|
Кол-во
|
|
А
|
Б
|
Г
|
В
|
Д
|
|
1.
|
Бульдозер
|
ДЗ
- 18
|
шт.
|
1
|
|
2.
|
Экскаватор
|
ЭО-5111
|
шт.
|
1
|
|
3.
|
Автомобильный
кран г/п 25т
|
КС-45717
|
шт.
|
1
|
|
4.
|
Кран
гусеничный г/п 100т
|
СКГ-100
|
1
|
|
5.
|
Кран
гусеничный г/п 25т
|
ДЭК-25Г
|
шт.
|
1
|
|
6.
|
Самосвал
|
ЗИЛ
- ММЗ - 555
|
шт.
|
5
|
|
7.
|
Грузовой
автотранспорт
|
КамАЗ-55111
|
шт.
|
2
|
|
8.
|
Автобетононасос
|
СБ-207
|
шт.
|
1
|
|
9.
|
Автобетоносмеситель
|
58147Z
|
шт.
|
3
|
|
10.
|
Ручная
электрическая трамбовка
|
ИЭ-4504
|
шт.
|
1
|
|
11.
|
Растворонасосы
|
СО
48
|
шт.
|
1
|
|
12.
|
Сварочный
аппарат
|
ВД-43
|
шт.
|
2
|
|
13.
|
Автовышки
|
"MANITOU"
MRT 2540
|
шт.
|
2
|
|
14.
|
Краскораспылитель
|
СО
- 71Б
|
шт.
|
2
|
|
15.
|
Красконагнетательный
бак
|
СО
- 12Б
|
шт.
|
1
|
|
16.
|
Поверхностный
виброуплотнитель
|
ВУ
- 155
|
шт.
|
2
|
|
17.
|
Насос
|
ХМс
6,3/25К - 3/2
|
шт.
|
3
|
Табл. 11 - Транспортные средства для перевозки
сборных железобетонных конструкций
|
№п/п
|
Наименование
элемента
|
Вес
элемента, т
|
Наименование
транспортного средства
|
Грузоподъемность,
т
|
Габаритные
размеры, мм
|
Кол-во
перевозимых элементов за 1 раз
|
Потребное
кол-во машин
|
|
А
|
Б
|
В
|
Г
|
Д
|
Е
|
Ж
|
З
|
|
1.
|
Колонна
крайнего ряда 2-ветвевая,
|
14,8
|
Полуприцеп-платформа
Б-18
|
24
|
18000
1650 1610
|
1
|
24/1=24
|
|
2.
|
|
9,7
|
Полуприцеп-платформа
Б-18
|
24
|
18000
1650 1610
|
2
|
36/2=18
|
|
3.
|
Колонна
среднего ряда 2-ветвевая,
|
17,9
|
Полуприцеп-платформа
Б-18
|
24
|
18000
1650 1610
|
1
|
12/1=12
|
|
4.
|
Колонны
фахверка
|
3,145
|
Полуприцеп-платформа
ББ-20
|
20
|
17000
2640 2830
|
3
|
16/3=6
|
|
5.
|
Подкрановая
балка L=6м и
|
4,18
|
Полуприцеп
- платформа ПП20-П0
|
20
|
12000
2600 1600
|
4
|
64/4=16
|
|
6.
|
Стеновые
панели L=6м Н=1,8м и 1,2м
|
1,2
|
Полуприцеп
- панелевоз НАМИ-790
|
16
|
9900
2650 3750
|
5
|
313/5=63
|
|
7.
|
|
1,7
|
Полуприцеп
- панелевоз НАМИ-790
|
16
|
9900
2650 3750
|
8
|
29/8=4
|
|
8.
|
Стеновые
панели доборные
|
0,25
|
Полуприцеп
- панелевоз НАМИ-790
|
16
|
9900
2650 3750
|
37
|
86/37=2
|
|
9.
|
Плиты
покрытия 6х3м
|
2,65
|
Полуприцеп
- панелевоз УПЛ-0906
|
9
|
9900
2650 3725
|
3
|
128/3=43
|
|
10.
|
Ферма
L=24м L=18м L=15м (полуферма)
|
12,2
8,3 8,375
|
Полуприцеп
- фермовоз 65:ПФН2424 (УПФ18 (24) 20)
|
90
|
27045
2500 3400
|
1
|
90/1=90
|
Составление графика, изменение численности
работающих.
На основе календарного плана составляют график
потребности в рабочих кадрах по объекту по форме, предусмотренной СНиП
3.01.01-85. Однако этот график, содержащий лишь среднесуточное количество
рабочих по месяцам строительства, не даёт представления об изменении числа
рабочих на каждый день месяца, что является важным для оценки равномерности
использования рабочих бригад. Поэтому необходимо также строить график изменения
числа рабочих на каждый день.
Ежедневное общее число рабочих получают путём
суммирования количества всех рабочих, работающих в этот день на всех
строительных процессах, а для рабочих одной профессии - суммированием числа
рабочих данной профессии.
Следует стремиться к тому, чтобы число рабочих
данной профессии на объекте по возможности сохранялось постоянным. При
неравномерном графике движения рабочих по профессиям необходимо исправить
календарный план, изменив сроки начала или окончания выполнения отдельных
строительных процессов. При этом не должна нарушаться технологическая
последовательность строительства объекта.
Составление графика поступления строительных материалов,
изделий и конструкций.
График потребности в материалах, полуфабрикатах,
конструкциях и изделиях составляют на основе календарного плана (см.
календарный план).
Составление графика работы машин и механизмов.
Сроки начала и окончания работы основных
строительных машин устанавливают по календарному плану (см. календарный план).
Показатели календарного планирования (ТЭП).
Об оптимальности принятых решений в календарном
плане, судят, главным образом, по двум показателям:
.Коэффициент установившегося потока:
Где:
- число дней по СНиП ;
- всего рабочих дней по календарному
плану;
.Коэффициент неравномерного движения
рабочих:
В календарных планах приводится так
же основные технико-экономические показатели: (приведено в графической части.)
2.6 Проектирование строительного
генерального плана
ОБЩИЕ ПОЛОЖЕНИЯ (исходные данные и
порядок проектирования)
Исходными материалами для разработки
строительного генерального плана должны служить:
задание на разработку, выдаваемое
строительной организацией как заказчиком проекта производства работ, с
обоснованием необходимости разработки его на здание (сооружение) в целом, его
часть или вид работ и с указанием сроков разработки;
проект организации строительства;
необходимая рабочая документация;
условия поставки конструкций,
готовых изделий, материалов и оборудования, использования строительных машин и
транспортных средств, обеспечения рабочими кадрами строителей по основным
профессиям, производственно-технологической комплектации и перевозки
строительных грузов, а в необходимых случаях также условия организации
строительства и выполнения работ вахтовым методом;
материалы и результаты технического
обследования действующих предприятий, зданий и сооружений при их реконструкции,
а также требования к выполнению строительных, монтажных и специальных
строительных работ в условиях действующего производства.
Строительный генеральный план
включает в себя:
границы строительной площадки и виды
ее ограждений;
действующие и временные подземные,
наземные и воздушные сети и коммуникации;
постоянные и временные дороги;
схемы движения средств транспорта и
механизмов;
места установки строительных и
грузоподъемных машин;
пути их перемещения и зоны действия,
размещения постоянных, строящихся и временных зданий и сооружений;
места расположения знаков
геодезической разбивочной основы;
опасных зон, путей и средств подъема
работающих на рабочие ярусы (этажи);
проходы в здания и сооружения;
размещение источников и средств
энергообеспечения и освещения строительной площадки;
расположение заземляющих контуров;
мест расположения устройств для
удаления строительного мусора;
площадок и помещений складирования
материалов и конструкций;
площадок укрупнительной сборки
конструкций;
расположение помещений для
санитарно-бытового обслуживания строителей, питьевые установки и места отдыха;
зоны выполнения работ повышенной
опасности.
Общие принципы проектирования
стройгенплана:
Стройгенплан является частью
комплексной документации на строительство, и его решения должны быть увязаны с
остальными разделами проекта.
Решения стройгенплана должны
отвечать требованиям строительных нормативов.
Стройгенплан должен обеспечивать
наиболее полное удовлетворение бытовых нужд работающих на строительстве; это
требование реализуется путём продуманного подбора и размещения бытовых
помещений, устройств и пешеходных пут.
Временные здания, сооружения и
установки (кроме мобильных) располагают на территориях, не предназначенных под
застройку до конца строительства.
Решения стройгенплана должны
обеспечивать рациональное прохождение грузопотоков на площадке путём сокращения
числа перегрузок и уменьшения расстояний перевозок. Это требование прежде всего
относится к массовым, а также особо тяжёлым грузам.
Правильное размещение монтажных
механизмов, установок для производства бетонов и растворов, складов, площадок
укрупнительной сборки - основное условие решения этой задачи
Принятые в стройгенплане решения
должны отвечать требованиям техники безопасности и условиям охраны окружающей
среды.
Затраты на временное строительство
должны быть минимальными. Сокращение затрат достигается: использованием
постоянных объектов, уменьшением объёма временных зданий, сооружений и
устройств с использованием инвентарных решений.
РАЗМЕЩЕНИЕ МАШИН И МЕХАНИЗМОВ НА
ПЛОЩАДКЕ СТРОИТЕЛЬСТВА