Преобразование неэлектрических величин в электрические

  • Вид работы:
    Реферат
  • Предмет:
    Информатика, ВТ, телекоммуникации
  • Язык:
    Русский
    ,
    Формат файла:
    MS Word
    374,03 Кб
  • Опубликовано:
    2016-01-11
Вы можете узнать стоимость помощи в написании студенческой работы.
Помощь в написании работы, которую точно примут!

Преобразование неэлектрических величин в электрические














Преобразование неэлектрических величин в электрические

Введение

преобразователь неэлектрический параметрический генераторный

Цель: Рассмотреть методы измерения различных неэлектрических величин, связанные с их преобразованием в электрические величины.

Задачи:

) Ввести понятия преобразователя, основной характеристики преобразования, чувствительности, пределов и погрешности преобразования и некоторые другие;

) Рассмотреть методы преобразования неэлектрических величин;

) Рассмотреть принцип действия некоторых преобразователей неэлектрических величин;

1.Основные понятия

Любая система контроля и управления нуждается в сборе информации о состоянии управляемого объекта. Нередко параметры, которые нужно контролировать, представляют собой не электрические величины, а давление, температуру, освещенность, скорость потока или движения детали и так далее. Такие же задачи возникают и при научных исследованиях.

Наиболее важные причины широкого применения электрических приборов для измерения неэлектрических величин заключаются в следующем.

Электроизмерительные приборы лучше неэлектрических приборов позволяют осуществлять дистанционные измерения в одном месте различных по своей природе параметров, контролируемых нередко в территориально удаленных и недоступных для наблюдения точках.

Электроизмерительные приборы лучше поддаются автоматизации, что значительно улучшает их качество. Автоматизация исключает субъективные свойства оператора. В электроизмерительных приборах имеются широкие возможности для автоматического и непрерывного проведения автоматических операций над результатами измерений, что позволяет автоматически вводить поправки, интегрировать, дифференцировать результат и т. д.

Электроизмерительные приборы более удобны, чем неэлектрические, для решения задач автоматического управления.

Электроизмерительные приборы дают возможность регистрировать как очень медленно меняющиеся величины, так и быстро меняющиеся, имеют широкий диапазон пределов измерения.

Таким образом, возникает необходимость преобразования неэлектрической величины в электрическую, при измерении которой определяется и исходная неэлектрическая величина.

Физической величиной называют свойство, общее в качественном отношении для многих объектов, но в количественном отношении индивидуальное для каждого объекта.

Размер физической величины - количественное содержание в данном объекте свойства, соответствующего понятию «физическая величина».

Единица физической величины - это физическая величина, которой по определению приписано числовое значение, равное единице.

Преобразователь (датчик) - устройство, предназначенное для выражения сигнала измерительной информации в форме, удобной для ее передачи, дальнейшего преобразования, обработки и хранения. В контексте темы реферата преобразователь в определенных пределах сопоставляет каждому значению неэлектрической величины электрическую величину.

Предел преобразования - это максимальное значение входной величины, которое может быть воспринято преобразователем без его повреждения.

. Методы преобразования неэлектрических величин

В зависимости от явления, используемого для преобразования неэлектрической величины в электрическую, преобразователи можно разделить на три группы.

·        Электромеханические (контактные, реостатные, электростатические, тензометрические, электромагнитные);

·        Тепловые и электрохимические (термоэлектрические, термосопротивления, электрохимические);

·        Электронные и ионизационные (электронные, ионные, ионизационные);

По виду получаемой на выходе преобразователя величины их можно разделить на параметрические, генераторные, фазовые и частотные.

Параметрические преобразователи преобразуют входную величину в параметры электрических цепей: сопротивление (R), ёмкость (C), индуктивность (L), взаимная индуктивность (M). Для измерения полученной величины необходим источник питания. Такими преобразователями являются резистивные, индуктивные и взаимноиндуктивные, магнитоупругие, емкостные, электролитические, фоторезистивные, терморезистивные.

Если неэлектрическая величина преобразуется в электродвижущую силу (ЭДС), то преобразователь называется генераторным. Он не требует дополнительных источников питания. Это индукционные, термоэлектрические, фотоэлектрические и пьезоэлектрические преобразователи.

Фазовые и частотные преобразователи могут быть как параметрическими, так и генераторными.

 

3. Параметрические преобразователи

Реостатные преобразователи. Реостатные преобразователи основаны на измерении электрического сопротивления проводника под влиянием входной величины - перемещения. В простейшем случае такой преобразователь представляет из себя реостат, щетка которого перемещается под действием некой преобразуемой неэлектрической величины. На рис. 1 схематически показаны некоторые варианты конструкции реостатных преобразователей для углового (рис. 1, а) и линейного (рис. 1, б и в) перемещений. Форма каркаса зависит от характеристики измеряемого перемещения, вида функции преобразования (линейная, нелинейная) и других факторов.

Для получения нелинейной функции преобразования применяются функциональные реостатные преобразователи. Нужный характер функции преобразования очень часто достигается путем профилирования каркаса преобразователя (Рис. 1, в).

В подобных преобразователях сопротивление изменяется скачками, так как щетка скользит поперек витков, что вызывает погрешность измерения. Чтобы избавиться от этого недостатка применяют реохордовые преобразователи, в которых щетка скользит вдоль оси проволоки.

Рис. 1. Реостатные преобразователи для угловых (а), линейных (b) перемещений и для функционального преобразования линейных перемещений (в).

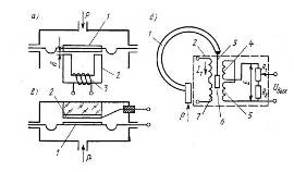
Индуктивные преобразователи. Работу индуктивного преобразователя можно рассмотреть на примере индуктивных измерительнфых преобразователей давления.

Рис. 2. Схемы измерительных преобразователей давления.

Схема дифференциально-трансформаторного измерительного преобразователя давления показана на рис. 2 б. Преобразователь содержит деформационный элемент p и ДТ-преобразовательный элемент 2. Преобразовательный элемент представляет собой каркас из диэлектрика, на котором размещены катушка с первичной обмоткой 7, состоящей из двух секций, намотанных согласно, и двух секций 4 и 5 вторичной обмотки, включенных встречно. Внутри канала катушки расположен подвижный сердечник 6 из магнитомягкого материала, связанный с пружиной 1 тягой 3.

Емкостные преобразователи. Схема на рис. 2 в показывает устройство емкостного измерительного преобразователя давления. Измеряемое давление воспринимается металлической мембраной 1, являющейся подвижным электродом емкостного преобразовательного элемента. Неподвижный электрод 2 изолируется от корпуса с помощью кварцевых изоляторов. Емкость элемента зависит от перемещения мембраны 1.

Тензочувствительные преобразователи (тензорезисторы). В основу работы преобразователей положен тензоэффект, заключающийся в изменении активного сопротивления проводника (полупроводника) под действием вызываемого в нем механического напряжения и деформации.

Если проволоку подвергнуть механическому воздействию, то сопротивление ее изменится. Изменение сопротивления проволоки объясняется изменением геометрических размеров (длины, диаметра) и удельного сопротивления материала.

Рис. 3. Тензочувствительный проволочный преобразователь.

На рис. 3 изображена схема тензочувствительного преобразователя, представляющего собой тонкую зигзагообразно уложенную и приклеенную к полоске бумаги (подложке 1) проволоку 2 (проволочную решетку). Преобразователь включается в схему с помощью выводов 3. Преобразователь наклеивается на поверхности контролируемой детали так, чтобы направление ожидаемой деформации совпадало с продольной осью проволочной решетки В качестве подложки используется тонкая бумага, а также пленка, слой лака или клея, а при высоких температурах - цемента.

Применяются также фольговые преобразователи, где вместо проволоки используется фольга. Чувствительный элемент преобразователя создается при помощи травления фольги. При травлении выбирается часть металла так, чтобы оставшийся металл образовал чувствительный элемент необходимой формы. Также используются пленочные тензорезисторы, для изготовления которых тензочувствительный материал возгоняется с последующим осаждением на подложку.

Электролитические преобразователи. Принцип действия преобразоваталей основан на зависимости электрического сопротивления раствора электролита от его концентрации.

Рис. 4. Зависимости удельной электрической проводимости растворов электролитов от концентрации растворенного вещества.

На рис. 4 для примера показаны графики зависимостей удельной электрической проводимости некоторых растворов электролитов от концентрации растворенного вещества. Из этой диаграммы следует, что в определённом диапазоне изменения концентрации зависимость электрической проводимости (сопротивления) от концентрации однозначна и может быть использована для определения последней.


Преобразователь, применяемый в лабораторных условиях, представляет из себя сосуд с двумя электродами - электролитическую ячейку (рис. 5). Размеры и форма сосуда и электродов выбираются исходя из желаемого диапазона измерения сопротивления ячейки при изменении концентрации раствора и с учётом расхода раствора. Выбор материала сосуда и электродов зависит от природы электролита.

Задача устранения влияния температуры на результат преобразования решается путем введения в схему холодильника (нагревателя) или применения схем температурной компенсации.

Ионизационный преобразователь. Преобразователи такого рода основаны на явлении ионизации газа или люминесценции некоторых веществ под действием ионизирующего излучения.

Если камеру, содержащую газ, подвергнуть действию ионизирующего излучения, то между электродами, включенными в электрическую цепь, потечет ток. Этот ток зависит от приложенного к электродам напряжения, плотности и состава газовой среды, размера камеры и электродов, свойств и интенсивности ионизирующего излучения и т. д. Эти свойства используются для преобразования и измерения различных неэлектрических величин (плотности и состава газовой среды, геометрических размеров деталей и т. д.)

Для измерения степени ионизации используются преобразователи - ионизационные камеры и ионизационные счетчики, работающие на различных участках вольт-амперной характеристики газового промежутка между двумя электродами. На рис. 6 показана зависимость тока I в камере с постоянным составом газа от приложенного напряжения U и интенсивности излучения J.


На участке I характеристики ток увеличивается прямо пропорционально напряжению, затем рост его замедляется и на участке II ток достигает насыщения. Это указывает на то, что все ионы, образующиеся в камере, достигают электродов. На участке III ионизационный ток снова начинает расти, что вызывается вторичной ионизацией при соударениях первичных электронов и ионов и нейтральных молекул. При дальнейшем увеличении напряжения (участок IV) ионизационный ток перестает зависеть от первоначальной ионизации и наступает непрерывный разряд (участок V), который уже не зависит от воздействия ионизирующего излучения.


. Генераторные преобразователи

Термоэлектрические преобразователи. Термоэлектрические преобразователи основаны на термоэлектрическом эффекте, возникающем в цепи термопары.

Рис. 7. Термопара (а) и способ включения прибора в цепь термопары (б).

При разности температур точек 1 и 2 соединения двух разнородных проводников А и B (рис. 7, а), образующих термопару, в цепи термопары возникает термо-ЭДС. Для измерения термно-ЭДС электроизмерительный прибор (милливольтметр, потенциометр) должен быть включен в цепь термопары (рис. 7, б). Точка соединения проводников (электродов) 1 называется рабочим концом термопары. Точки 2 и 2' - свободные концы.

Чтобы термо-ЭДС цепи термопары однозначно определялась температурой рабочего конца, необходимо температуру свободных концов термопары поддерживать одинаковой и неизменной.

Пьезоэлектричские преобразователи. Пьезоэлектрические преобразователи основаны на использовании прямого пьезоэлектрического эффекта, заключающегося в появлении электрических зарядов на поверхности некоторых кристаллов (кварца, сегнетовой соли и др.) под влиянием механических напряжений.

Из кристалла кварца вырезается пластинка, грани которой должны быть перпендикулярны оптической оси Oz, механической оси Oy и электрической оси Ox кристалла (рис. 8, а и б).

Рис. 8. Кристалл кварца (а) и пластинка (б) вырезанная из него.

При воздействии на пластинку усилия вдоль электрической или механической оси на гранях x появляются заряды. Механическое воздействие вдоль оптической оси появления зарядов не вызывает.

Рис. 9. Пьезоэлектрический преобразователь для измерения давления.

Устройство и принцип действия пьезоэлектрического преобразователя для измерения давления газа показаны на рис. 9. Давление p через металлическую мембрану 1 передается на зажатые между металлическими прокладками 2 кварцевые пластинки 3. Шари4 служит для равномерного распределения давления по поверхности кварцевых пластинок. Средняя прокладка соединена с проводом 5, проходящим через втулку из хорошего изоляционного материала.

Гальванические преобразователи (преобразователи pH-метров). Реакция растворов (кислая, щелочная или нейтральная) зависит от концентрации катионов водорода. Концентрацию ионов водорода можно определить по разности потенциалов, которая возникает на электродах, опущенных в исследуемый раствор. Обычно применяется метод, основанный на измерении электродного (пограничного) потенциала.

Если какой-либо металл погрузить в раствор, содержащий его одноименные ионы, то металл приобретет потенциал, зависящий от концентрации ионов в растворе. Аналогично ведет себя и водород.

Для получения электродного потенциала между водородом и раствором, содержащим его ионы, необходимо иметь водородный электрод. Водородный электрод можно получить, воспользовавшись свойством водорода абсорбироваться на поверхности платины, иридия и палладия. Обычно водородным электродом служит покрытый платиновой чернью платиновый электрод, к которому непрерывно подводится газообразный водород. Потенциал такого электрода зависит от концентрации водородных ионов в растворе.

Практически измерить абсолютное значение пограничного потенциала нельзя: его можно измерить только относительно другого потенциала. Поэтому гальванический преобразователь всегда состоит из двух полуэлементов, электрически соединенных друг с другом: рабочего (измерительного) полуэлемента, представляющего собой исследуемый раствор с электродом, и сравнительного (вспомогательного, образцового) полуэлемента с неизменным пограничным потенциалом, состоящего из электрода и раствора с постоянной концентрацией.

Рис. 10. Гальванический преобразователь.

Потенциал каломельного электрода зависит от концентрации ртути в каломели, а концентрация ионов ртути, в свою очередь, зависит от концентрации ионов хлора в растворе хлористого калия. В исследуемый раствор погружен водородный электрод 1.Оба полуэлемента соединены электролитическим ключом, представляющим собой трубку 2, обычно заполненную насыщенным раствором KСl и закрытую полупроницаемыми пробками 3. ЭДС такого преобразователя является функцией pH.

Выводы

1)   Мы рассмотрели вопрос необходимости преобразования неэлектрических величин в электрические.

2)   Ввели некоторые основные понятия, применяемые при преобразовании неэлектрических величин в элекрические и их измерения.

3)   Рассмотрели принцип действия и устройства некоторых типов преобразователей.

Используемая литература

1.  Жарковский Б.И. Приборы автоматического контроля и регулирования. - М.: Высшая школа, 1989.

2.      Сошинов А.Г. Преобразователи неэлектрических величин. - Волгоград: РПК «Политехник», 2002.

.        Фарзане Н.Г. и др. Технологические измерения и приборы. - М.: Высшая школа, 1989.

.        Фремке А.В., Душин Е.М. Электрические измерения. - Л.: Энергия, 1980.

Похожие работы на - Преобразование неэлектрических величин в электрические

 

Не нашли материал для своей работы?
Поможем написать уникальную работу
Без плагиата!
Без нейросетей!