Измерения неэлектрических величин. Типы электроприводов. Электрические изгороди
Кафедра
тракторов и автомобилей
КОНТРОЛЬНАЯ
РАБОТА
по дисциплине
«Электрификация и автоматизация сельскохозяйственного производства»
Содержание
1.
Электрические измерения неэлектрических величин. Датчики температуры, уровня,
гласности, давления, скорости и др
2. Понятие об
электрическом приводе. Типы электроприводов и области их применения
3. Применение
ультрафиолетовых излучений в с.х. Устройство и схемы включения ультрафиолетовых
облучателей
4. Применение
магнитного поля. Электрические изгороди. Электрическая ионизация воздуха в
производственных помещениях. Использование электрогидравлического эффекта
5. Понятие о
грозозащите
1. Электрические измерения неэлектрических величин. Датчики
температуры, уровня, гласности, давления, скорости и др.
Чтобы измерить ту или иную неэлектрическую величину,
ее нужно предварительно преобразовать в электрический сигнал. Такое
преобразование осуществляется с помощью первичных преобразователей. Упрощенная
структурная схема измерительного устройства включает первичный преобразователь,
электрическую измерительную цепь, выходное устройство. Измеряемая
неэлектрическая величина х поступает на вход первичного преобразователя, в
котором преобразуется в электрический сигнал у(х). Этот сигнал преобразуется в
измерительной цепи в другой электрический сигнал у и воспринимается выходным
устройством. Шкала выходного устройства α(х) градуируется непосредственно в
значениях неэлектрической величины х.
По принципу действия первичные преобразователи делятся
на резистивные, электромагнитные, электростатические, тепловые.
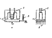
Резистивные преобразователи подразделяют на реостатные
(рис. 1) и тензочувствительные. Их работа основана на изменении электрического
сопротивления в зависимости от перемещения движка 3 по электрическому проводнику
2 (реостатные), намотанному на кольцо 1, или от механической деформации
проводника или полупроводника (тензочувствительные).
Резистивные преобразователи применяют для измерения
перемещений, а также других величин, которые могут быть преобразованы в
линейное или угловое перемещения: давление, усилие, вращающие моменты, уровень
жидкостей, ускорения и др.
На рис. 1 и 2 через х обозначена входная
неэлектрическая величина (угловое перемещение), у - выходная электрическая
величина (сопротивление).
Электромагнитные преобразователи подразделяются на
индуктивные, магнитоупругие и индукционные.
Индуктивные преобразователи представляют собой катушку
индуктивности 2 с магнитопроводом 1 (рис. 2), параметры которой изменяются под
воздействием измеряемой величины х при перемещении якоря 3 (зазор δ)
в соответствии с
формулой
где
s - сечение магнитопровода; w1 - число
витков катушки; µЭ - эквивалентная магнитная проницаемость.
Магнитоупругие
преобразователи представляют собой разновидность индуктивных преобразователей с
замкнутым магнитопроводом, а индукционные - катушку, в которой наводится эдс
при ее перемещении в постоянном магнитном поле.
Электромагнитные
преобразователи применяют для измерения скорости, линейного и углового
перемещения и других величин, предварительно преобразованных в перемещение.
Электростатические
преобразователи подразделяются на емкостные и пьезоэлектрические. У емкостных
преобразователей изменяется емкость под действием измеряемой величины. Работа
пьезоэлектрических преобразователей основана на возникновении эдс в некоторых
кристаллах под действием механических сил. Конструктивное исполнение емкостных
преобразователей показано на рис. 3, а. Как известно, емкость С между двумя
параллельными проводящими пластинами (подвижной 1 и неподвижной 2) площадью s
определяется формулой
С
= ε0 εr
S/ δ,
где δ - расстояние между пластинами; ε0 - диэлектрическая постоянная (8,85 *10-12
Ф/м); εr - относительная диэлектрическая
проницаемость среды между пластинами.
Электростатические преобразователи используются при
измерении силы, давления, влажности сыпучих веществ, перемещения и количества
вещества.
Действие тепловых преобразователей основано на
тепловых процессах: нагрев, охлаждение, теплообмен и др. Они подразделяются на
терморезйстивные и термоэлектрические. В терморезисторах используются
зависимость сопротивления проводника или полупроводника от температуры. Для
измерения их сопротивления применяют обычно мостовые схемы.
Действие термоэлектрических преобразователей основано
на возникновении эдс при нагреве или охлаждении спая двух разнородных
проводников (термопары). Для измерения термо-эдс Е применяют
электроизмерительный прибор (милливольтметр). На рис. 3, б показана простейшая
схема включения прибора в цепь термопары t. Точка соединения концов термоэлектродов 1 называется
рабочим, концом термопары, точки 2 и 2- свободными концами. При измерениях
необходимо температуру свободных концов поддерживать одинаковой и неизменной.
Тепловые первичные преобразователи применяют в
основном для измерения температуры.
Существуют электрохимические, ионизационные,
фотоэлектрические преобразователи и др. Они служат для измерения состава и
концентрации растворов и газов, прозрачности жидкостных и газовых смесей,
количества электричества, температуры и геометрических параметров.
Рассмотрим некоторые способы преобразования
неэлектрических величин в электрические, чтобы понять общий принцип измерения
неэлектрических величин электрическими методами. Часто такими методами измеряют
температуру, давление, частоту вращения, расход жидкостей и газов и др.
Приборы, предназначенные для измерения этих величин, имеют преобразователь -
датчик, а их шкала отградуирована непосредственно в единицах измеряемых
величин.
Датчик представляет собой элемент, преобразующий какую-либо
физическую величину в сигнал, удобный для измерения, передачи, регистрации, а
также для воздействия им на управляемые процессы.
Наиболее широко применяют датчики, действие которых
основано на изменении электрического сопротивления, емкости, индуктивности
(параметрические датчики) или на возникновении ЭДС вследствие механического,
акустического, теплового, магнитного или оптического воздействия (генераторные
датчики).
Параметрические датчики включают в цепь, содержащую
источник тока и чувствительный измерительный прибор, который регистрирует
изменение силы тока, вызванное изменением сопротивления датчика.
Реостатные датчики представляют собой специальные
резисторы, изменяющие под влиянием механических воздействий на них
сопротивление цепи, в которую они включены. При механическом воздействии,
например, на подвижный контакт реостата сопротивление цепи и сила тока в ней
изменяются, и прибор сигнализирует в итоге о степени неэлектрического
воздействия.
Тензометры (проволочные датчики) изменяют электрическое
сопротивление в результате деформации. Тензометры изготавливают из константана,
нихрома или железохромалюминиевого сплава. Проволоку из этих материалов
диаметром 0,02-0,04 мм закрепляют при помощи специального клея между двумя
листами тонкой бумаги. Концы проволоки тензометра прочно соединяют с медными
проводниками, с помощью которых тензометр включают в электрическую цепь.
Тензометр, воспринимая механическую нагрузку, деформируется, и электрическое
сопротивление проволочки изменяется.
Рис. 4. Схемы устройства индуктивных датчиков:
а- микрометрического; б - термометрического; 1 -
магнитопровод; 2 - обмотка, 3-пружина.
Индуктивные датчики (рис. 4) при сжатии, растяжении,
нагревании или охлаждении их сердечника изменяют свое индуктивное
сопротивление. Индуктивные датчики включают в цепь переменного тока. При
изменении индуктивного сопротивления датчика соответственно меняется и сила
тока в цепи. Например, при действии силы F на подвижную часть сердечника (рис. 4, а) уменьшается зазор
между ней и неподвижной частью сердечника, вследствие этого меняется его
индуктивность, а стало быть, и значение его индуктивного сопротивления, В итоге
в зависимости от силы F
изменяется, сила тока в обмотке индуктивного датчика. Таким образом, с помощью
индуктивного датчика по изменению силы тока можно судить о значении силы F.
Емкостный датчик (рис. 5) при механическом воздействии
на него изменяет значение емкостного сопротивления, в результате чего
соответственно изменяется сила тока в цепи, в которую он включен. Например, при
действии силы F на обкладку конденсатора (рис. 5, а)
изменяется расстояние между его обкладками, а значит, и емкость конденсатора.
Изменение емкости конденсатора вызывает соответствующее изменение ого
емкостного сопротивления, а в итоге - изменение силы тока в цепи емкостного
датчика. Таким образом, по изменению силы тока в цепи, в которую включен
емкостный датчик, можно судить о значении силы F.
К генераторным датчикам относятся термопара,
микромашина постоянного тока (при изменении скорости вращения вала якоря машины
постоянного тока изменяется значение ЭДС индукции), фотоэлектрический датчик
(под действием падающего на фотоэлемент света возникает электрический ток,
регистрируемый чувствительным прибором). Широко применяют также
пьезоэлектрические и другие генераторные датчики. Генераторные датчики включают
в цепь без самостоятельного источника питания, так как они сами вырабатывают
электрическую энергию.
Рис. 5. Схемы устройства емкостных датчиков:
а - при механическом воздействии на обкладку
конденсатора; б - при механическом воздействии на электрод, расположенный между
обкладками конденсатора
электрический
магнитный облучатель ионизация
Рабочим электротехнических профессий нередко
приходится пользоваться тахометром - прибором, предназначенным для измерения
частоты вращения. Рассмотрим устройство и действие магнитоиндукционного
тахометра (рис. 6).
Ось тахометра 5 соединена с постоянным магнитом 7.
Если присоединить ось тахометра к валу машины, например электродвигателя, то
при вращении вала магнитное поле постоянного магнита будет пересекать
алюминиевый колпачок 8. Вследствие этого в колпачке возникнут вихревые токи;
значение силы этих токов зависит от частоты вращения оси тахометра, а значит, и
от частоты вращения вала машины. Благодаря взаимодействию магнитных полей,
создаваемых постоянным магнитом и вихревыми токами, индуцируемыми в алюминиевом
колпачке, последний поворачивается и приводит в движение указательную стрелку
10, соединенную с осью колпачка. Таким образом, угол отклонения стрелки
пропорционален частоте вращения вала машины. Магнитоиндукционные тахометры
просто устроены и надежны в эксплуатации. Есть также тахометры, внутри которых
вмонтирована микромашина постоянного или переменного тока и чувствительный
электроизмерительный прибор, отградуированный непосредственно в единицах
частоты вращения. Применяют и более сложные по устройству, но зато и более
точные тахометры.
Измерение неэлектрических величин электрическими методами
получило широкое распространение в промышленности, на транспорте и во многих
других случаях. С применением этих методов связано также осуществление
автоматического контроля и управления.
2. Понятие об электрическом приводе. Типы электроприводов и
области их применения
Электроприводом называется электромеханическая
система, преобразующая электрическую энергию в механическую одного или
нескольких рабочих механизмов.
Электропривод включает в себя системы преобразования,
Передачи распределения энергии и управление этими процессами и бывает
групповой, индивидуальный и взаимосвязанный.
В групповом приводе один электродвигатель приводит в
движение с помощью разветвленной передачи группу механизмов или группу рабочих
органов одного механизма, например несколько станков или различные рабочие
органы одного станка.
В таком приводе кинематическая схема оказывается
сложной и громоздкой, а сам привод неэкономичным, поэтому в настоящее время он
находит лишь ограниченное применение.
Привод, в котором электродвигатель приводит в движение
только один рабочий орган, получил название индивидуального.
Индивидуальный электропривод существенно упрощает
кинематическую схему механизма, повышает экономичность и позволяет в ряде
случаев встраивать электродвигатель непосредственно в механизм, что уменьшает
его металлоемкость. Примером такого сочетания электродвигателя с рабочим
органом может служить различный электроинструмент: электродрель, электроточило,
электрошпиндель и др.
Взаимосвязанным называют привод, в котором рабочие органы
одного механизма приводятся в движение несколькими электродвигателями.
Взаимосвязанный электропривод может состоять из
нескольких индивидуальных электроприводов, участвующих в общем технологическом
процессе и установленных на одном производственном комплекте. Например, в
металлорежущих станках устанавливают отдельные приводы главного движения
заготовки режущего инструмента и приводы подач. Промышленные роботы снабжаются
несколькими отдельными приводами. Во взаимосвязанном приводе возможна работа
нескольких электродвигателей на один рабочий орган, что позволяет снизить
усилия в рабочем органе и передаче, распределить их в механизме более
равномерно, избежать перекосов и т. д.
Основная функция электропривода - приводить в движение
рабочий механизм и изменять его режим работы в соответствии с требованиями
технологического процесса.
Для выполнения этой функции электропривода должно быть
выдержано определенное соответствие между механическими свойствами
электродвигателя и рабочего механизма. Рабочий орган механизма реализует
подведенную к нему механическую энергию в полезную работу. Передача
механической энергии от вала двигателя к рабочему органу сопровождается
потерями, причиной возникновения которых является трение в подшипниках,
направляющих, зацеплениях и т. д.
Для удобства выбора электродвигателя момент или
усилие, создаваемые рабочим органом, и потери в передачах приводят к моменту на
валу двигателя. Мощность на валу электродвигателя равна сумме мощности рабочего
органа РР.О и мощности потерь в передаче
ΔР:Р = Р’Р.О.
+ ΔР,
где Р’Р.О. = Р’Р.О./i - мощность, приведенная к валу
двигателя, i - передаточное число редуктора.
С учетом кпд передачи ηПЕР мощность на валу двигателя и момент
определяются по выражениям
Р = РР.О./ ηПЕР; М = МР.О/
ηПЕР
От свойств электропривода зависят механические
характеристики рабочего механизма и электродвигателя. При этом различают два
режима работы электропривода: установившийся (статический) и переходный
(динамический). В первом режиме момент или усилие нагрузки не изменяется. Во
втором режиме момент или усилие нагрузки и двигателя изменяются во времени. В
переходных режимах двигатель работает с ускорением или замедлением: разгоняется
при пуске, замедляется при торможении.
Несмотря на большое разнообразие рабочих механизмов их
механические характеристики практически могут быть объединены в три группы.
Первая группа характеризуется тем, что момент на валу электродвигателя остается
постоянным при любой частоте вращения. К этой группе относятся
подъемно-транспортные механизмы. Действительно, если кабина лифта заполнена
пассажирами, то независимо от частоты вращения момент сопротивления остается
постоянным. Такая же картина наблюдается при подъеме груза краном.
Вторая большая группа характеризуется степенной
зависимостью момента от частоты вращения. Примером могут служить вентиляторы,
насосы, компрессоры центробежного типа и другие механизмы. Так, момент на валу
вентилятора может характеризоваться квадратичной и большей степенью в
зависимости от его конструктивных особенностей.
Третья группа характеризуется постоянством мощности на
валу: Р = const. Примером может служить токарный станок, где обработка детали
ведется от периферийной окружности к центру. По мере продвижения резца момент
сопротивления падает, а частота вращения обычно увеличивается.
Выбор электродвигателя определяется условиями работы и
требованиями производственного механизма. При этом наиболее целесообразно
выбирать электродвигатель более простой, надежный в эксплуатации и имеющий
наименьшую массу, размеры и стоимость. Если требуется выбрать регулируемый по
скорости привод, то необходимо одновременно выбирать электродвигатель и
преобразователь.
В последнее время регулируемый привод выпускается
комплектно, т. е. электродвигатель поставляется совместно с преобразователем.
В любом случае выбирают следующие параметры
электродвигателя: род тока, номинальное напряжение, мощность и частоту
вращения, способ регулирования, режим работы и конструктивное исполнение.
Наиболее простыми по конструкции, надежными в
эксплуатации, имеющими наименьшую массу, размеры и стоимость, являются
асинхронные двигатели с короткозамкнутым ротором. Управление ими обычно
осуществляется непосредственно от трехфазной сети переменного тока без
каких-либо сложных преобразователей. Эти двигатели получили наиболее широкое
применение во всех отраслях производства для механизмов, не требующих
регулирования скорости, при небольшой частоте включений.
Асинхронные двигатели с фазным ротором по конструкции
сложнее двигателей с короткозамкнутым ротором, имеют большую массу, размеры и
стоимость, а также более сложное управление. Однако они позволяют простыми
средствами - резисторами в цепи ротора - регулировать частоту вращения,
пусковой ток и момент. Такие двигатели используются в режимах работы с частыми
пусками и остановками, например в подъемно-транспортных механизмах.
Номинальную угловую скорость ΩH электродвигателя выбирают в зависимости от известного
передаточного числа редуктора iP и заданной угловой скорости ΩРО рабочего механизма, т. е. ΩH = ΩРО iP.
Наивыгоднейшее значение номинальной угловой скорости
двигателя и передаточного числа редуктора для данного механизма определяется
путем сравнения нескольких технико-экономических показателей. Правильное
определение этих параметров особенно важно для приводов, работающих в режимах
частых пусков и торможений, поскольку это влияет на производительность
механизма и потери энергии.
Важное значение для надежной работы электропривода
имеет выбор конструкции двигателя. Для большинства производственных механизмов
используются двигатели с горизонтальным расположением вала и лапами для его
крепления к несущим конструкциям, а также с фланцевым креплением. Более
совершенными являются встраиваемые двигатели, которые не имеют станины,
подшипниковых щитов, а иногда и вала. Их монтируют в корпусах самих рабочих
механизмов. Линейные двигатели применяются в механизмах с поступательным
движением рабочего органа.
По способу защиты от действия окружающей среды
электродвигатели делятся на открытые, защищенные, в том числе каплезащищенные и
герметичные.
При выборе мощности двигателя исходят из того, что
нагрузка на его валу изменяется во времени.
Для определения нагрузки в этих случаях строятся так
называемые нагрузочные диаграммы - зависимости развиваемых двигателем момента и
мощности от времени, т. е. M(t) и P(t).
В случае завышения номинальной мощности двигателя
снижаются кпд и коэффициент мощности, что приводит к росту тока в обмотках, а
значит, и к перегреву двигателя и снижению срока его службы.
Продолжительный режим работы двигателя характеризуется
такой длительностью, при которой его температура достигает своего
установившегося значения τУСТ. В таком режиме работают, например,
приводы вентиляторов, насосов, преобразовательных установок.
В повторно-кратковременном режиме двигатель за время
работы не успевает нагреться до установившейся температуры, а за время паузы
между включениями не успевает остыть до температуры окружающей среды. Такой
режим работы характерен, например, для электроприводов подъемных кранов,
лебедок, лифтов, циклических конвейеров и т. п. Графики нагрузки, мощности
потерь в двигателе и его температуры τ при повторно-кратковременном режиме
работы приведены на рис. 2. На графиках tР1, tР2, tP3 - время работы двигателя при первом, втором и третьем
включениях; t01 t02, t03 - время пауз между включениями
двигателя; TЦ - время цикла, после которого график нагрузки
повторяется. Время цикла при повторно-кратковременном режиме не должно
превышать 10 мин. На это время рассчитывается тепловой режим двигателя при его
конструировании.
При кратковременном режиме работы двигатель не
успевает в рабочий период нагреться до установившейся температуры, а пауза
столь длительна, что температура снижается до температуры окружающей среды.
Такой режим работы характерен, например, для приводов шлюзов, вспомогательных
механизмов электротермических установок, зажимов колонн металлорежущих станков
и др.
В продолжительном режиме двигатель работает либо с
неизменной нагрузкой, либо с изменяющейся во времени нагрузкой.
При постоянной нагрузке на валу номинальная мощность РH двигателя должна быть выбрана равной
мощности Рс нагрузки. В этом случае по каталогу выбирается
двигатель, удовлетворяющий условию РH≥РС.
Если при продолжительном режиме работы нагрузка на
валу двигателя изменяется, то для выбора мощности по нагреву используют методы
средних потерь за цикл или эквивалентных величин: тока, момента и мощности.
На практике для определения мощности двигателя
пользуются нагрузочными диаграммами, представляющими собой зависимости момента
или мощности от времени. Значение эквивалентной (среднеквадратичной) мощности
двигателя определяют по формуле
,
где
п - число участков с различными значениями мощности Рi
за цикл TЦ работы
двигателя.
Условием
правильного выбора мощности двигателя в этом случае будет РЭ≤РН.
Для
работы в повторно-кратковременном режиме выпускают специальные двигатели,
рассчитанные на стандартные значения продолжительности включения: 15, 25, 40,
60%, на которые и следует ориентироваться при выборе двигателя по мощности для
такого режима.
Если
нагрузка за цикл не меняется, но ПВ≠ПВСТ, это означает, что
двигатель выбран по мощности правильно: средняя мощность потерь за цикл при ПВ
не превышает среднюю мощность потерь за тот же цикл при РН и ПВСТ,
т. е. ΔР1ПВ≤ΔРНПВСТ.
Условие
выбора двигателя при этом принимает вид
ΔРН≤ΔР1(ПВ/ПВСТ)
Проверка
предварительно выбранного двигателя по мощности проводится по формуле-
.
Если
при работе электропривода наблюдаются резкие колебания нагрузки, то следует
проверить перегрузочную способность электродвигателя. Для асинхронного
двигателя она определяется отношением критического МК к номинальному
МН моменту МК/МН.
3. Применение ультрафиолетовых излучений в с.х. Устройство и
схемы включения ультрафиолетовых облучателей
Источниками ультрафиолетового излучения являются дуговые, ртутные,
трубчатые лампы. Они применяются в медицине, сельском хозяйстве, измерительной
технике (для люминесцентного анализа). Специальные типы ламп применяются в
технологических процессах в промышленности.
Работают в электрических сетях переменного тока напряжением 127 - 220 В и
частотой 50 Гц и включаются в сеть вместе с пускорегулирующей аппаратурой,
обеспечивающей зажигание ламп, нормальный режим работы и устранение радиопомех.
Для оптимальной работы ламп температура окружающей среды должна быть от
15°С до 30°С.









|
тип
|
напряж, в
|
мощн., вт
|
световой поток, лм
|
цветовая темпер. к
|
средняя продолж. гор., ч
|
габариты мм
|
тип цоколя
|
рис.
|
|
|
|
|
|
|
L
|
D
|
H
|
|
|
|
ДРТ 125-1
|
95
|
125
|
1850
|
-
|
1000
|
135
|
13
|
-
|
без цоколя
|
230
|
|
ДРТ 240
|
70
|
240
|
24,6 24
|
-
|
2200
|
180
|
19
|
-
|
спец.
|
232
|
|
ДРТ 240-1
|
70
|
240
|
24,6 24
|
-
|
2200
|
180
|
19
|
-
|
без цоколя
|
232
|
|
ДРТ 400
|
135
|
400
|
39 24
|
-
|
2700
|
250
|
22
|
-
|
спец.
|
235
|
|
ДРТ 400-1
|
135
|
400
|
39 24
|
-
|
2700
|
250
|
22
|
-
|
без цоколя
|
235
|
|
ДРТ 1000
|
145
|
1000
|
128 24
|
-
|
2200
|
330
|
32
|
-
|
спец.
|
236
|
|
ДРТ 1000-1
|
145
|
1000
|
128 24
|
-
|
2200
|
330
|
32
|
-
|
без цоколя
|
236
|
|
ДРТ 2500
|
850
|
2500
|
95000
|
-
|
5000
|
1200
|
25
|
-
|
спец.
|
240
|
|
ДРТ 6000-1
|
890
|
6000
|
360 23
|
-
|
1200
|
1550
|
25
|
-
|
спец.
|
241
|
|
ДРТ 12000-1
|
1800
|
12000
|
720 23
|
-
|
1200
|
2010
|
25
|
-
|
спец.
|
241
|
|
ДРТБ 2000
|
230
|
2000
|
90 7
|
-
|
3000
|
550
|
25
|
-
|
S15/21
|
237
|
|
ДРТБ 2000-1
|
230
|
2000
|
120 7
|
-
|
3000
|
400
|
23
|
-
|
S15/21
|
237
|
|
ДРТБ 2000-2
|
230
|
2000
|
120 7
|
-
|
3000
|
350
|
23
|
-
|
S15/21
|
237
|
|
ДРТU 2500
|
450
|
2500
|
120 7
|
-
|
1500
|
150
|
90
|
-
|
спец.
|
239
|
|
ДРТСф 125-1
|
110
|
125
|
3500
|
300 25
|
-
|
140
|
15
|
-
|
спец.
|
231
|
|
ДРТИ 2000
|
230
|
2000
|
320 56
|
-
|
700
|
231
|
85
|
110 27
|
спец.
|
238
|
|
ДРТИ 2000 М
|
230
|
2000
|
340 56
|
-
|
750
|
231
|
33
|
110 27
|
спец.
|
238
|
|
ДРТИ 3000-2
|
235
|
3000 6
|
400 56
|
-
|
700
|
231
|
33
|
110 27
|
спец.
|
238
|
|
ДРТИ 3000-3
|
235
|
3000 6
|
710 55
|
-
|
700
|
231
|
33
|
110 27
|
спец.
|
238
|
Лучистый поток в спектральной линии 365/6 нм, Вт
24 Лучистый поток в спектральном интервале 240-320 нм, Вт
25 Лучистый поток, Вт
27 Межэлектpодное pасстояние, мм
55 Поток излучения в спектральном диапазоне 350-450 нм, Вт
56 Поток излучения в спектральном диапазоне 340-400 нм, Вт
6
Ряд переключения мощностей дежурного и рабочего режимов 1500/3000, Вт
7
Бактерицидный поток, бакт
Экологическое состояние окружающей воздушной среды имеет существенное
значение для нормальной жизнедеятельности человека, особенно в условиях
закрытых помещений.
В последнее время в нашей стране в связи с неблагоприятной социальной,
экономической и экологической обстановкой наблюдается ухудшение эпидемической
ситуации и, как следствие, заметное увеличение частоты инфекционных
заболеваний. Это приводит к весьма заметному экономическому ущербу из-за потери
трудоспособности части населения. Поэтому поиск эффективных способов решения
этой проблемы является весьма актуальным.
Одним из путей распространения инфекционных заболеваний, таких как грипп,
туберкулез, дифтерия и др., является аэрогенный или воздушно-капельный,
относящийся к основному способу передачи респираторных заболеваний. Это связано
с тем, что воздушно-капельная бактериальная аэрозоль находится во взвешенном
состоянии в воздушной среде бытовых и производственных помещений и постоянно
перемещается из-за хождения людей, что увеличивает вероятность их заражения, а
также открытых продуктов питания.
Для профилактики заболеваний и оздоровления среды обитания используются
различные способы и средства, например проведение общесанитарных мероприятий,
профилактической и очаговой дезинфекции и т.п. К перечисленным способам
относится также и применение ультрафиолетового излучения (УФИ), обладающего,
как известно, бактерицидным действием.
Результат воздействия УФИ на микроорганизмы в окружающей среде может
оцениваться как стерилизация, дезинфекция или деконтаминация.
Стерилизация - это полное уничтожение всех видов патогенных и сапрофитных
микроорганизмов, включая их споры.
Дезинфекция - полное уничтожение только патогенных микроорганизмов.
Деконтаминация, или обеззараживание,- это снижение общего числа
патогенных микроорганизмов до определенного уровня.
Следует подчеркнуть, что использование УФИ как физического фактора
воздействия на микроорганизмы может обеспечить обеззараживание среды обитания в
очень высокой степени, например до 99,9%.
Применение ультрафиолетового излучения для профилактического
обеззараживания воздушной среды в помещениях в нашей стране регламентируется
следующими нормативно-методическими документами:
· Руководство Р 3.1. 683-98 Минздрава РФ, 1998 г.
"Использование ультрафиолетового бактерицидного излучения для
обеззараживания воздуха и поверхностей в помещениях".
· Методические указания МУ 2.3.975 - 00 Минздрава РФ, 2000 г.
"Применение ультрафиолетового бактерицидного излучения для обеззараживания
воздушной среды помещений организаций пищевой промышленности, общественного
питания и торговли продовольственными товарами".
Эти документы, с одной стороны, регламентируют требования, обеспечивающие
эффективность использования ультрафиолетового излучения в профилактических
целях, а с другой - гарантируют безопасность от облучения человека,
находящегося в помещении.
|
Категория
|
Типы помещений*
|
Бактерицидная эффективность
J5it, %
|
Доза облучения, Hv6K,
Дж/м'
|
Продолжительность
пребывания людей
|
Категория помещения
согласно нормам противопожарной безопасности 105-95
|
1. Производство мясных
продуктов: выработка полуфабрикатов;
|
99
|
256
|
Не ограничена при
применении закрытых облучателей
|
В4
|
|
нарезка и упаковка
колбасных изделий.
|
|
|
|
ВЗ
|
|
2. Производство продуктов
детского питания: отделения по производству
|
|
|
|
В4
|
|
заквасок; лабораторные
боксы
|
|
|
|
ВЗ
|
|
|
|
|
|
В4
|
|
II
|
Цехи по расфасовке
продуктов детского питания
|
95
|
167
|
То же
|
В4
|
|
|
|
|
|
ВЗ
|
|
III
|
Отделения хранения
упаковочных материалов
|
85
|
106
|
// //
|
В1
|
|
IV
|
Гардеробные для рабочей
одежды
|
80
|
90
|
-
|
Не нормируется
|
Реализация указанных документов на практике осуществляется за счет
оборудования бытовых и производственных помещений ультрафиолетовыми
бактерицидными установками согласно разработанному проекту.
Облегчение задачи проектирования бактерицидных установок может быть
обеспечено созданием ряда отраслевых руководств с учетом специфики предприятий.
В ЗАО "Институт Гипромясомолпром" в 2002 г. разработано
"Руководство по проектированию и эксплуатации ультрафиолетовых
бактерицидных установок для обеззараживания воздушной среды помещений
предприятий мясной и молочной промышленности".
В Руководстве рассмотрены некоторые понятия и определения, относящиеся к
ультрафиолетовому излучению, бактерицидные величины и единицы измерения, а
также относительная спектральная кривая бактерицидной эффективности.
Приведена таблица экспериментальных значений доз облучения для воздушной
среды с разным уровнем бактерицидной эффективности (90 %, 95 %, 99,9 %) для
некоторых видов наиболее распространенных микроорганизмов.
Описаны современные ультрафиолетовые бактерицидные облучатели, которые
разделены на две группы -открытые и закрытые. Первые предназначены для
обеззараживания воздуха в отсутствии людей, вторые - в их присутствие.
В открытых облучателях бактерицидный поток от ламп направляется на весь
воздушный объем помещения. В закрытых облучателях (рециркуляторах)
бактерицидный поток от ламп распределяется в ограниченном небольшом замкнутом
пространстве камеры, в которой расположены бактерицидные лампы, при этом
обеззараживание воздуха осуществляется в процессе его прокачки с помощью
вентилятора через вентиляционные отверстия рециркулятора. Рециркуляторы
устанавливают на стенах помещений на высоте 1,5-2 м от пола. К закрытому типу
облучателя относят также блоки бактерицидных ламп, устанавливаемые после
пылеуловительных фильтров в воздуховодах приточно-вытяжной вентиляции.
Совокупность облучателей в помещении называют ультрафиолетовой
бактерицидной установкой. Если в составе бактерицидной установки имеются
открытые облучатели, то предельное время tnp (с) пребывания людей в
помещении определяется по формуле:
np = 3,6/E6K
где E6K - бактерицидная облученность в рабочей зоне на
горизонтальной поверхности на высоте.,5 м от пола, Вт/м2; 3.6 -
предельная допустимая поверхностная доза облучения человека, согласно
санитарным нормам, Дж/м2.
В помещениях с объемом воздушной среды менее 100 м3, в которых
необходимо проводить обеззараживание воздуха в присутствии людей,
устанавливаются рециркуляторы. В помещениях с объемом воздушной среды более 100
м3 должна быть установлена приточно-вытяжная вентиляция, в
воздуховоде которой располагается блок бактерицидных ламп. Число облучателей
или ламп, входящих в бактерицидную установку для помещения, определяется
расчетом на основании медико-технических требований.
Медико-технические требования составляются на первом этапе рабочего проекта
и являются его составной частью.
Типы некоторых производственных помещений предприятий мясной
промышленности, в которых необходимо оборудовать бактерицидные установки для
обеспечения заданного уровня бактерицидной эффективности J6K и
объемной экспозиции HV 6K в воздушной среде (для золотистого
стафилококка).
В заключение следует добавить, что рассмотренное Руководство может быть
взято за основу при создании подобных документов и для других отраслей
перерабатывающей промышленности.
4. Применение магнитного поля. Электрические изгороди.
Электрическая ионизация воздуха в производственных помещениях. Использование
электрогидравлического эффекта
Магнитное поле окружает движущиеся элементарные
частицы, обладающие электрическим зарядом, и связано с ними. В проводнике с
током и пространстве вокруг него магнитное поле создается этим током, а внутри
и вне намагниченного тела (постоянного магнита) - внутриатомным и
внутримолекулярным движением элементарных заряженных частиц (например,
вращением электронов вокруг собственной оси и ядра атома).
Магнитное поле характеризуется воздействием на
движущуюся электрически заряженную частицу с силой, пропорциональной заряду
частицы и ее скорости.
Магнитное поле обнаруживается благодаря магнитным
явлениям: притяжению и отталкиванию проводов с токами или намагниченных тел,
действию проводника с током на магнитную стрелку, электромагнитной индукции.
В основе этих явлений лежит характерное свойство
магнитного поля - силовое действие на движущиеся заряженные частицы. Силы
взаимодействия магнитного поля с движущимися заряженными частицами (токами)
называются электромагнитными.
Изучение магнитных явлений и расчеты, связанные с их
использованием, невозможны без количественной оценки магнитного поля.
Выбирая необходимую для этого величину, можно исходить
из силового взаимодействия двух проводов с токами.
Опыт показывает, что на каждый из двух проводов
действуют силы, притягивающие друг к другу провода с одинаковым направлением
токов и отталкивающие провода с противоположными направлениями токов.
Магнитные поля, обусловленные каждым из токов,
распределены в одной и той же области пространства. Поэтому в соответствии с
принципом наложения можно полагать, что оба провода окружены общим магнитным
полем, которое получается в результате наложения двух полей. Каждое поле
связано со своим током, когда соответствующий провод уединен.
В таком случае притяжение или отталкивание проводов
нужно рассматривать как результат силового действия общего магнитного поля на
заряженные частицы, образующие ток в каждом из проводов. Количественные
соотношения для этого случая определены законом Ампера, согласно которому
силовое действие магнитного поля на движущиеся заряженные частицы
рассматривается как взаимодействие двух элементов тока.
Величина силы взаимодействия между двумя элементами
тока в вакууме пропорциональна произведению элементов тока и обратно
пропорциональна квадрату расстояния между ними.
Элементом тока называется произведение Idl, где dl- длина участка провода с током I, весьма малая (так же как и диаметр провода) по сравнению с
расстоянием от него до точек, в которых рассматривается магнитное поле тока I.
Если элементы тока расположены параллельно, то сила
взаимодействия между ними
1
где
I1dl1, I2dl2-элементы токов; r-расстояние
между элементами; а-угол между направлением одного из элементов тока и отрезком
прямой г, проведенным от этого элемента к другому; µ0/4π-коэффициент пропорциональности, величина которого
определяется в зависимости от системы единиц. Числитель этого коэффициента ц0
называется магнитной постоянной.
В
Международной системе единиц (СИ) магнитная постоянная
генри=
-единица индуктивности.
Заметим,
что формула (1) и последующие формулы, относящиеся к магнитному полю в вакууме,
справедливы и для магнитного поля в воздухе.
Для ограждения мест выпаса крупного рогатого скота временно можно
применить электроизгородь, состоящую из однопроводной линии и устройства
преобразования напряжения.
Однопроводная линия выполнена на металлических стойках. У стоек один
конец заострен, а на втором нарезана резьба для навинчивания фарфоровых
изоляторов. На, изоляторах закрепляют провод, натянутый между стойками. Длина
линии может достигать 2000 м и более.
Рис. 9
Устройство преобразования напряжения собрано по схеме, изображенной на
рисунке. Нагрузкой широко распространенного преобразователя напряжения,
основными деталями которого являются транзисторы Т1 и Т2, трансформатор Тр1,
аккумулятор Б1, служит катушка зажигания КЗ1. Один конец вторичной обмотки
катушки заземляют, а второй, высоковольтный - подключают к однопроводной линии.
Металлические стойки изготавливают длиной 120 см. К стойке на расстоянии
20 см от заостренного конца приваривают скобу, которая служит для вдавливания
стойки ногой в землю. При изготовлении однопроводной линии можно применить
стальной провод, используемый для вязания тюков соломы или сена.
Все детали преобразователя напряжения размещают на пластине, имеющей
размеры 130х130 мм, из изоляционного материала (гетинакс, фанера и т. д.).
Пластину помещают в ящик, где находятся аккумулятор и катушка зажигания.
В преобразователе напряжения можно применить транзисторы П201 и П217. Для
лучшего охлаждения их размещают на алюминиевых радиаторах, имеющих размеры
100х50х5 мм.
Трансформатор Тр1 преобразователя собирают, используя сердечник Ш12х12
или Ш16х16. Обмотка 1 содержит 14 витков с отводом от середины провода ПЭЛ 0,7.
Ее первой наматывают на каркас сразу в два провода. Обмотка II имеет 60 витков
с отводом от середины. Она выполнена проводом ПЭЛ 1,0. Последней наматывают
обмотку III, содержащую 120 -130 витков провода ПЭЛ 1,0. Между обмотками должно
быть два-три слоя изоляционной бумаги.
Катушка зажигания может быть от автомобиля или мотоцикла на 12 или 6 В.
Электроизгородь имеет свои достоинства и недостатки. К достоинствам ее
относится применение фарфоровых изоляторов, которые имеют высокие изоляционные
свойства даже при дождливой погоде (у изоляторов есть так называемая
"сухая зона"). Аккумулятор, служащий источником питания устройства,
безопасен и удобен в обращении. Так как выходное сопротивление преобразователя,
определяемое сопротивлением вторичной обмотки катушки зажигания, велико, то при
прикосновении животного выходное напряжение уменьшится с нескольких тысяч до
10-30 В.
К недостаткам изгороди следует отнести применение стального провода без
покрытия, что увеличивает его коррозию. Лучше использовать стальной
оцинкованный провод. Аккумулятор, питающий изгородь, требует частого заряда,
что удорожает стоимость устройства. Преобразователь электроизгороди
малоэффективен и имеет низкий коэффициент полезного действия. Если увеличить
мощность, отдаваемую преобразователем, и уменьшить его выходное сопротивление,
то эффективность электроизгороди повысится, но такая изгородь может стать
опасной для животных и человека. В этом случае необходимо использовать вместо
преобразователя генератор, работающий в импульсном режиме.
Следовательно, описанная электроизгородь безопасна в обращении и может
применяться для ограждения небольших площадей или для пастьбы лошадей, которые
в 10 раз чувствительнее к электрическому току, нежели крупный рогатый скот.
Электроизгородь может быть временно использована, если нет возможности
приобрести серийно выпускаемую электроизгородь ИЭ-200 через местные объединения
"Сельхозтехники".
Ионизаторы водуха
|
БЫТОВЫЕ
|
ПРОМЫШЛЕННЫЕ
|
|
Refresh - до 3 кв.м
<#"519273.files/image024.gif">
Волновой
ионизатор - озонатор - воздухоочиститель - Salon Air 1000
Функции: волновой ионизатор воздуха (аэроионизатор) озонатор воздуха воздухоочиститель
устранение табачного дыма устранение запахов устранение пыли
Очищаемая территория - до 150 кв.м
Модели
Living Air Salon Air предназначены для применения в косметических и других
салонах, парикмахерских и ресторанах, барах и клубах, больницах и поликлиниках,
рыбных рынках.
Волновой
ионизатор - озонатор - воздухоочиститель - Salon Air 2000
Функции:
волновой ионизатор воздуха (аэроионизатор) озонатор воздуха воздухоочиститель
устранение табачного дыма устранение запахов устранение пыли
Очищаемая
территория - до 225 кв.м
Модели
Living Air Salon Air предназначены для применения в косметических и других
салонах, парикмахерских и ресторанах, барах и клубах, больницах и поликлиниках,
рыбных рынках.
Ионизатор
- воздухоочиститель - MI 1500
Функции: ионизатор воздуха воздухоочиститель устранение табачного дыма
устранение пыли аэроионизатор
Очищаемая территория - до 1000 кв.м
Модель
Living Air MI 1500 обеспечит Вам очистку воздуха помещений от дыма, бактерий,
древесной и хозяйственной пыли, пуха, животной перхоти и будет поддерживать
оптимальный баланс положительных и отрицательных ионов. MI 1500 применяется в помещениях
по переработке пластмасс и древесины, в типографиях и бумажных фабриках,
накуренных помещениях и казино, фабриках и химических заводах, конференц-залах
и дискотеках, цехах и птицефермах, компьютерных залах.
Очиститель
воздуха ионизатор "ОВИОН-С" состоит из 2 частей: - основания; -
кассеты.
В
основании расположен электронный блок питания. Внутри легкосъемной кассеты
размещены ионизирующий узел и осадительные электроды, образующие очистную
камеру.
Работа прибора основана на принципе направленного коронного разряда, в
результате которого возникает так называемый "ионный ветер" -
эффлювий, обеспечивающий протяжку воздуха через очистную камеру прибора.
Каждую секунду через прибор проходит около 1,5 литров воздуха.
Вместе с воздухом в очистную камеру всасываются частицы, загрязняющие
воздух, ионизируются там и, приобретая электрический заряд, под действием
электростатических сил "прилипают" к осадительным электродам.
Одновременно воздух, проходящий через очистную камеру, дезинфицируется озоном,
который вырабатывается в зоне коронного разряда и обладает бактерицидными
свойствами.
Очищенный таким образом воздух, содержащий небольшое количество озона (в
4-5 раз меньше предельно допустимой концентрации, безопасной для здоровья) и
обогащенный "витаминами воздуха" - отрицательными аэроионами, выходит
из очистной и оздоравливает внутренний климат вашего дома или офиса.
Технические характеристики очистителя воздуха-ионизатора
"ОВИОН-С":
|
Производительность
|
не менее 5 м3/час
|
|
Плотность потока
отрицательных аэроионов на расстоянии 0.3 м
|
не менее 500 млн.
ед.зар./с/см2
|
|
Концентрация озона в
непроветриваемом помещении объёмом 30 м3 на расстоянии 0.5м
|
не более 25 мкг/м3 (0.25
ПДК)
|
|
Количество режимов работы
|
2
|
|
Потребляемая мощность от
сети переменного тока 220 В
|
не более 5 Вт
|
|
Габариты прибора
|
150х120х195 мм
|
|
Вес
|
700 г
|
Краткая характеристика электрогидравлического эффекта. Технологические
процессы на основе электрогидроимпульсных технологий являются
безинструментальными технологиями. Такие технологии позволяют выполнять чистку
изделий от различных загрязнителей, выполнять раздачу и осадку деталей машин, а
также делать поверхностное упрочнение деталей. Для этих технологий определены режимы
и параметры установки. Кроме указанных технологий можно делать обработку
различных материалов, в том числе жидкостей, т. е. делать суспензии, разделять,
например, воду и масла различных происхождений и т. д.
Разработана новая технология изготовления свай в грунте, основанная на
электрогидравлическом эффекте (ЭГЭ-свай). Разработана методика расчета
параметров ЭГЭ-свай, что позволило оптимизировать технологический процесс
применительно к различным грунтам. Разработаны и созданы компактные мощные
импульсные установки для изготовления свай заданных параметров. Экологически
чистая технология внедрена в практику строительных работ при создании новых и
реконструкции старых промышленных объектов и жилых зданий. Определены параметры
процесса, позволяющего контролировать качество свай
Электрогидравлическая установка найдет широкое применение в промышленном
и сельскохозяйственном производстве.
Основные области применения установки:
обработка воды для полива сельскохозяйственных культур и поения животных;
обработка сточных вод;
дробление валунов различных размеров и железобетонных конструкций;
обработка семян и растворов микроэлементов;
обработка воды перед подачей ее в теплообменное оборудование;
смешивание несмешивающихся жидкостей (типа вода-мазут).
5. Понятие о грозозащите
Прямой удар молнии в здание или разряды от
электростатической и электромагнитной индукции внутри здания могут не только
поражать людей, но и вызывать пожары и взрывы, разрушения каменных и бетонных
сооружений, расщеплять деревянные опоры воздушных линий и повреждать изоляцию.
Защита от атмосферного электричества открытых распределительных устройств
электростанций, подстанций и электрических линий осуществляется по особым
правилам и изучается электриками в курсе «Электроснабжение сельского
хозяйства». Все прочие сооружения и здания защищаются в соответствии с
«Инструкцией по проектированию и устройству молниезащиты зданий и сооружений».
Молниезащита категории I применяется для зданий со взрывоопасными зонами классов B-I и В-П. Все это не сельские объекты. Молниезащита категории II используется для производственных
зданий с зонами классов B-Ia, B-I6 и В-Па (при
условии, что они занимают не менее 30% объема верхнего этажа; а если менее, то
либо все здание защищают по категории III, либо часть - по категории II, а часть - по категории III),
а также открытых установок с зонами класса В-1г. Молниезащита этих открытых
установок обязательна на всей территории СССР, в то время как молниезащита
категории II для зданий требуется только в
местностях, где бывает не менее десяти грозовых часов в год.
Молниезащиту категории II на селе устраивают, например, для аммиачных холодильников,
мельниц, заводов или цехов по производству сенной муки, складов некоторых видов
удобрений, химикатов, ТСМ с бензином или тракторным керосином.
Для остальных производственных, жилых и общественных
зданий нужно сооружать молниезащиту категории III или не сооружать вовсе в зависимости от назначения и
характера здания, степени его огнестойкости, числа грозовых часов в год в
данной местности (как правило, если оно не менее 20), а иногда также и от
ожидаемого числа прямых ударов молнии в это здание за год. Это число определяют
по формуле
= (В + 6hM) (L + 6hM) п • 10-6,
где В - ширина защищаемого здания, м; L- его длина, м; йм - наибольшая
высота здания, м; п - среднее число поражений молнией 1 км2 земной
поверхности в год, зависящее от числа гроз в данной местности:
|
Число грозовых часов в год
|
10-20
|
20-40
|
40-60
|
60-80
|
Более 80
|
|
Среднее число поражений 1
км2 n
|
1
|
3
|
6
|
9
|
12
|
Производственные здания и сооружения степеней
огнестойкости III, IV и V без
пожароопасных зон требуют молниезащиту категории III при N > 0,1. При этом здание должно помещаться
хотя бы в пределах зоны молниезащиты Б (рис. 1). Это зона, где защита
обеспечивается с вероятностью 95 %. А при N > 2 здание должно входить в зону
А, где вероятность защиты 99,5%. Если имеются пожароопасные зоны, то и здания
со степенями огнестойкости I и II требуют молниезащиты при тех же
значениях и с теми же зонами молниезащиты, а без пожароопасных зон такие здания
от прямого удара молнии не защищают. Если же пожароопасные зоны есть в зданиях
со степенью огнестойкости III, IV или V, то молниезащита категории III с зоной Б требуется при N > 0,02, а с зоной А
опять при N > 2.
Независимо от числа ожидаемых прямых ударов молнии при
20 и более грозовых часах в год молниезащиту категории III (зона Б) сооружают в следующих случаях: для наружных
установок класса П-III; для зданий
степеней огнестойкости III...V -детских садов, яслей, школ и
интернатов, спальных корпусов и столовых пионерских лагерей и домов отдыха,
больниц, клубов, кинотеатров; для вертикальных вытяжных труб котельных или
промышленных предприятий, водонапорных и силосных башен при высоте более 15 м
от земли. В местностях с числом грозовых часов не менее 40 в год молниезащита
категории III требуется для крупных
животноводческих и птицеводческих зданий степеней огнестойкости III, IV и V:
коровников, телятников и свинарников не менее чем на 100 голов всех возрастов и
групп животных, конюшен на 40, овчарен на 500 и птичников на 1000 голов (всех
возрастов), а также для жилых домов - только при высоте более 30 м, если они
расположены дальше 400 м от общего массива.
Согласно ПУЭ-76, здания закрытых подстанций и
распределительных устройств напряжением 20 кВ и выше следует защищать от прямых
ударов молнии в районах с числом грозовых часов в год более 20. Если на
территории подстанции имеются вспомогательные здания, например трансформаторная
башня, маслохозяйство или резервуары с маслом, их следует защищать при
соответствующих N, как указано в
п. 21.2.
Руководящими указаниями по грозозащите все здания и
сооружения разбиваются на четыре категории:
I категория - производственные здания и сооружения опасные в
отношении взрыва.
II категория - производственные здания и сооружения с легко
воспламеняющимися веществами, могущими дать местный взрыв, не ведущий к полному
уничтожению здания и человеческим жертвам.
III категория - все прочие здания и сооружения, не
входящие в I и II категории, а также жилые и коммунальные помещения. Для
зданий III категории удар в линию опасен в
отношении пожара и несчастных случаев с людьми.
IV категория - помещения и сооружения, в которых содержится в
большом количестве скот (коровники, конюшни).
Меры защиты
|
Категория сооружений
|
Рекомендуемые мероприятия
|
|
II
|
Не допускается применять
воздушные линии
|
|
II
|
Ввод в здание выполняется
кабелем длиной не менее 50м с заземлением брони и свинцовой оболочки кабеля
на обоих концах и крюков изоляторов в месте перехода ее в кабель.
Сопротивление заземления должно быть не более 10 ом.
|
|
Участок линии длиной 100 -
150 м защищается от прямых ударов молнии отдельно стоящими молниеотводами; на
участках 400 - 500 м на всех опорах штыри изоляторов заземляются.
Сопротивление заземления на первой опоре должно быть не более 10 ом, на
каждой из последующих не более 20 ом.
|
|
III и IV
|
Штыри изоляторов на первых
двух-трех опорах, считая от здания, заземляются. Сопротивление заземления
каждой опоры должно быть не более 20 ом.
|
Если линия проходит по застроенной или лесистой
местности и строения или лес надежно экранируют линию от прямых ударов молнии,
защита зданий II, III и IV
категории может не выполняться.
Контуры заземления выполняются в виде самостоятельных
очагов у каждой опоры.
Список литературы
1. Соколова Е.М. Электрическое и электромеханическое оборудование:
Общепромышленные механизмы и бытовая техника: Учеб. пособие для студ.
учреждений сред. проф. образования. - М.: Мастерство, 2001. - 224 с.
2. Конюхова Е.А. Электроснабжение объектов: Учеб. пособие для студ.
учреждений сред. проф. образования. - М.: Издательство «Мастерство», 2001.-320
с.: ил.
. Жеребцов И.П. Электрические и магнитные цепи. Основы
электротехники.- 2-е изд., перераб. и доп. - Л.: Энергоатомиздат. Ленингр.
отделение, 1987. - 256 с.: ил.
. Поляков В.А. Электротехника: Учеб. пособие для учащихся 9 / 10
кл. - М.: Просвещение, 1982. -239 с. ил.
. Котельников С.К. Справочник сельского электромонтера. Челябинск,
Кн. изд., 1963 г. 228 стр. (Челяб. обл. управление «Челябсельэнерго»).
. А.П. Семаков, Н.А. Зубрилова, ЗАО "Институт
Гипромясомолпром";Канд. техн. наук А.Л. Вассерман, 000 НПФ
"АГАМА" Оригинал: "Мясная Индустрия" №8, 2002 г.
7. Луковников А.В. Охрана труда. - 5. изд., перераб. и доп. - М,: Колос,
1984.-288 с., ил. - (Учебники и учеб, пособия для высш. с.-х. учеб, заведений).
Похожие работы на - Измерения неэлектрических величин. Типы электроприводов. Электрические изгороди
|