Электроснабжение станкостроительного завода
ЗАДАНИЕ № 25
Тема. Электроснабжение
станкостроительного завода
Исходные данные на проектирование:
. Генеральный план завода - рис. 25.
. Сведения об электрических нагрузках
завода-табл.25.
. Мощность системы 1700 Мва; реактивное
сопротивление системы на стороне 110 кв, отнесенное к мощности системы 0,15.
. Расстояние от подстанции энергосистемы до
завода 12,3 км.
Таблица 25
Ведомость электрических нагрузок завода
|
№ по плану
|
Наименование цеха
|
Кс
|
cosj
|
s Вт/м2
|
Установленная мощность, квт
|
|
1.
|
Инструментальный цех
|
0.5
|
0.65
|
4,5
|
3700
|
|
2.
|
Термический цех
|
0.85
|
0.95
|
3,5
|
3900
|
|
3.
|
Литейный цех
|
0.65
|
0.65
|
3,5
|
8800
|
|
4.
|
Насосная Насосная (6 кв 6х1000)
|
0.8 0.85
|
0.85 1
|
3,18
|
400 6000
|
|
5.
|
Компрессорная Компрессорная (6 кв
6х1000)
|
0.8 0.85
|
0.85 -0.9
|
3,18
|
450 6000
|
|
6.
|
Электроцех
|
0.5
|
0.7
|
4
|
500
|
|
7.
|
Сборочный цех
|
0.5
|
0.65
|
4,5
|
3350
|
|
8.
|
Токарно-механический цех
|
0.35
|
0.6
|
4,5
|
8700
|
|
9.
|
Кузнечный цех
|
0.4
|
0.65
|
3,5
|
3150
|
|
10.
|
Ремонтно-механический цех
|
|
|
4
|
------
|
|
11.
|
Заводоуправление
|
0.5
|
0.9
|
5,17
|
190
|
|
12.
|
Центральная заводская лаборатория
|
0.55
|
0.75
|
5,17
|
300
|
|
Освещение цехов и территории
завода
|
|
|
|
Определить по площади.
|
Генеральный план
станкостроительного завода
Рис. 25
1.
определение расчетных электрических
нагрузок
Цеховые сети промышленных предприятий выполняют
на напряжение до 1 кВ (наиболее распространенным является напряжение 380 В). На
выбор схемы и конструктивное исполнение цехов сетей оказывают влияние такие
факторы, как степень ответственности приемников электроэнергии, режимы их
работы и размещении по территории цеха, номинальные токи и напряжения.
Потребители электроэнергии относятся к 2 и 3
категории надежности электроснабжения.
) Приемники 2 категории - перерыв
электроснабжения, которых приводит к массовому не допуску продукции, массовому
простою рабочих, механизмов. Приемники второй категории рекомендуется
обеспечивать электроснабжением от двух независимых источников питания;
) Приемники 3 категории - остальные
приемники, неподходящие под определение 1 и 2 категории. Перерыв
электроснабжения этих приемников не приводит к существенным последствиям,
простоям и другим неблагоприятным последствиям. Для таких электроприемников
достаточного источника питания при условии, что перерыв электроснабжения,
необходимый для замены поврежденного элемента СЭС, не превышает 1 суток.
1.1 Определение
расчётных электрических нагрузок цехов
Создание любого промышленного объекта начинается
с его проектирования. Не простое суммирование установленных (номинальных)
мощностей ЭП предприятия, а определение ожидаемых (расчетных) значений
электрических нагрузок является первым и основополагающим этапам
проектированием СЭС. Расчетная максимальная мощность, потребляемая
электрприемниками предприятия, всегда меньше суммы номинальных мощностей этих
ЭП.
Завышение ожидаемых нагрузок приводит к
удорожанию строительства, перерасходу проводникового материала и неоправданному
увеличению мощности трансформаторов и прочего оборудования. Занижение может
привести к уменьшению пропускной способности электросети, к лишним потерям
мощности, перегреву проводов, кабелей и трансформаторов, а следовательно, к
сокращению срока их службы.
Существующие методы определения расчетных
нагрузок основаны на обработке экспериментальных и практических данных об
электрических нагрузках действующих промышленных предприятий.
Нагрузка потребителей задана суммарным значением
без указания числа и мощности отдельных приемников, максимальная расчетная
нагрузка определяется по формуле
, (2.1)
Qмс = Рмс∙tgj (2.2)
где Кс - коэффициент спроса, принимается по
справочным данным;
Рн - установленная мощность цехов.
Все расчеты сводятся в таблицу 1.1.
Таблица 1.1 Расчетные силовые нагрузки 0,4 кВ
|
№
|
Наименование цехов ( 0,4 кВ )
|
РН, кВт
|
Кс
|
Cosφ
|
Pмс, кВт
|
Qмс, квар
|
|
1
|
Инструментальный цех
|
4000
|
0,40
|
0,70
|
1600
|
1632,33
|
|
2
|
Термический цех
|
3000
|
0,35
|
0,65
|
1050
|
1227,59
|
|
3
|
Литейный цех
|
1200
|
0,40
|
0,60
|
480
|
640,00
|
|
4
|
Насосная
|
900
|
0,45
|
0,70
|
405
|
413,18
|
|
5
|
Компрессорная
|
1020
|
0,40
|
0,70
|
408
|
416,24
|
|
6
|
Электроцех
|
350
|
0,32
|
0,55
|
112
|
170,07
|
|
7
|
Сборочный цех
|
70
|
0,40
|
0,60
|
28
|
37,33
|
|
8
|
Токарно-механический цех
|
180
|
0,75
|
0,80
|
135
|
101,25
|
|
9
|
Кузнечный цех
|
100
|
0,25
|
0,50
|
25
|
43,30
|
|
10
|
Ремонтно-механический цех
|
50
|
0,40
|
0,60
|
20
|
26,67
|
|
11
|
Заводоуправление
|
140
|
0,75
|
0,85
|
105
|
65,07
|
|
12
|
Центральная заводская лаборатория
|
300
|
0,53
|
0,60
|
159
|
212,00
|
1.2 Определение
расчётной нагрузки завода
Мощность по заводу определяется как
,
где
и
активная и реактивная мощности с
учетом потерь в трансформаторе на пункте приема электроэнергии (ППЭ)
кВт
кВар
кВт
кВар
кВА.
. выбор
компенсирующих устройств и мест их установки
Суммарную расчетную мощность компенсаторных
батарей низкого напряжения (НБК), устанавливаемых в цеховой сети, определяют по
формуле
, (1.1)
где Qнк1 -
суммарная мощность НБК, которую находим по формуле
, (1.2)
где Qmax m -
наибольшая реактивная мощность, которую целесообразно передавать через
трансформаторы данной номинальной мощности, в сеть напряжением 0,38 кВ,
определяемая по формуле
, (1.3)
где Nопт, Кз, Sн.тр -
соответственно оптимальное число, коэффициент загрузки трансформаторов единой
мощности Sн тр;
Pp, Qp -
соответственно расчетные максимальные активная и реактивная мощности нагрузок
трансформаторов единой мощности;
Qнк2 -
дополнительная мощность, которую рассчитывают по формуле
, (1.4)
где g - коэффициент, который для двухступенчатой
схемы питания трансформаторов от распределительных пунктов определяется по /17/
по формуле
(1.5)
где Кр1 = 9 - коэффициент, который
определяется по /17/ в зависимости от числа смен работы предприятия и района
его размещения;
коэффициент g для магистрали с числом
трансформаторов более трех находим по формуле
(1.6)
Для ТП, питающихся от РП с
синхронными высоковольтными двигателями, Qнк2 не
рассчитывается. Кроме того, в случае, если Qнк2 < 0 , то принимается Qнк2 = 0 .
По табл. 4 - 34 /8/ подбираются
комплектные конденсаторные установки напряжением Uн = 0,38 кВ
с таким расчетом, чтобы их стандартная мощность Qнк ст была
максимально приближена к расчетному значению Qнк.
Определяем число и мощность НБК ТП1.
Коэффициент g определяется по формуле
(1.7)
Находится наибольшая реактивная
мощность, которую целесообразно передавать через трансформатор мощностью Sн тр = 400
кВА по (3.6)
квар
Определяется суммарная мощность НБК Qнк1S для данного цеха по формуле
(3.5)
квар.
Дополнительная мощность НБК Qнк2 для ТП1
по формуле (3.7)
квар
Суммарную расчетную мощность
конденсаторных батарей низкого напряжения, устанавливаемых в цеховой сети,
определяем по формуле (3.4)
квар.
Выбираются конденсаторная установка
типа 4хУКМ 58-04-300-33,3 УЗ суммарной мощностью 1200 квар. Тогда
недокомпенсированная мощность: Qн=1190,79-1200=-9,21 квар.
Таблица 2.1 Выбор компенсирующих
устройств на напряжении 0,4 кВ
|
№
|
Qmax m, квар
|
Qнк1, квар
|
Схема питания ТП
|
|
Qнк2, квар
|
Qнк, квар
|
Кол-во и тип КУ
|
Qуст,
квар
|
Qн,
квар
|
|
1
|
513,62
|
917,17
|
Двухстпупенчатая
|
0,15
|
273,62
|
1190,79
|
4хУКМ 58-04-300-33,3 УЗ
|
1200
|
-9,21
|
|
2
|
93,63
|
170,93
|
Двухстпупенчатая
|
0,15
|
33,63
|
204,56
|
1хУКМ 58-04-200-33,3 УЗ
|
200
|
4,56
|
|
3
|
771,47
|
1730,98
|
Двухстпупенчатая
|
0,15
|
351,47
|
2082,45
|
7хУКМ 58-04-300-33,3 УЗ
|
2100
|
-17,55
|
|
4
|
110,79
|
227,75
|
Двухстпупенчатая
|
0,15
|
50,79
|
278,54
|
1хУКМ 58-04-268-67 УЗ
|
268
|
10,54
|
|
5
|
235,84
|
603,04
|
Двухстпупенчатая
|
0,15
|
115,84
|
718,88
|
2хУКМ 58-04-337,5 УЗ
|
675
|
43,88
|
|
6
|
94,98
|
363,07
|
Двухстпупенчатая
|
0,15
|
19,98
|
383,05
|
2хУКМ 58-04-180-30 УЗ
|
360
|
23,05
|
|
7
|
342,34
|
422,42
|
Двухстпупенчатая
|
0,15
|
192,34
|
614,76
|
4хУКМ 58-04-150-37,5 УЗ
|
600
|
14,76
|
|
8
|
447,64
|
273,44
|
Двухстпупенчатая
|
0,15
|
297,64
|
571,08
|
4хУКМ 58-04-133-33,3 УЗ
|
532
|
39,08
|
. определение
центра электрических нагрузок
Для нахождения места размещения ГПП и ТП на
генеральном плане предприятия наносится картограмма нагрузок Рi,
представляющих собой окружности, площади которых равны pR2
и в выбранном масштабе М равны расчетной нагрузке Рi
данных цехов.
, (3.1)
Круг делится на сектора, каждый из которых равен
нагрузке осветительной, силовой на низкой и высокой стороне.
Площадь круга равна расчетной мощности цеха
, (3.22)
, (3.23)
где R
- радиус круга данного цеха, мм;
m - масштаб,
принимаем к расчету 1 кВт = 0,1 мм2.
, (3.24)
Находятся углы секторов, соответствующие силовой
нагрузке на низкой и высокой сторонам, осветительной нагрузкам
, (3.25)
, (3.26)
. (3.27)
Все результаты расчетов приведены в таблицу 2.1.
Центром электрических нагрузок является точка с
координатами Хо, Уо, где сосредоточенна основная нагрузка
Координаты ЦЭН находятся по:
;
;
Таблицу 3.1.
|
№
|
Наименование цеха
|
Рсил, кВт
|
Рв/в, кВт
|
Рр, кВт
|
Ri, мм
|
qосв, град
|
qсил, град
|
qв/в, град
|
|
1
|
Инструментальный цех
|
502,96
|
1600
|
-
|
2102,96
|
81,8
|
86,1
|
273,9
|
-
|
|
2
|
Термический цех
|
114,96
|
1050
|
-
|
1164,96
|
60,9
|
35,5
|
324,5
|
-
|
|
3
|
Литейный цех
|
114,96
|
480
|
-
|
594,96
|
43,5
|
69,6
|
290,4
|
-
|
|
4
|
Насосная
|
123,04
|
405
|
4000
|
4528,04
|
120,1
|
9,8
|
32,2
|
318,0
|
|
5
|
Компрессорная
|
103,76
|
408
|
-
|
511,76
|
40,4
|
73,0
|
287,0
|
-
|
|
6
|
Электроцех
|
30,59
|
112
|
-
|
142,59
|
21,3
|
77,2
|
282,8
|
-
|
|
7
|
Сборочный цех
|
7,32
|
28
|
-
|
35,32
|
10,6
|
74,6
|
285,4
|
-
|
|
8
|
Токарно-механический цех
|
20,12
|
135
|
1890
|
2045,12
|
80,7
|
3,5
|
23,8
|
332,7
|
|
9
|
Кузнечный цех
|
17,16
|
25
|
-
|
42,16
|
11,6
|
146,5
|
213,5
|
-
|
|
10
|
Ремонтно-механический цех
|
2,03
|
20
|
-
|
22,03
|
8,4
|
33,2
|
326,8
|
-
|
|
11
|
Заводоуправление
|
7,97
|
105
|
2240
|
2352,97
|
86,5
|
1,2
|
16,1
|
342,7
|
|
12
|
Центральная заводская лаборатория
|
12,2
|
159
|
-
|
171,2
|
23,3
|
25,7
|
334,3
|
-
|
Таблица 3.2 Определение центра электрических
нагрузок предприятия
|
№
|
Наименование цеха
|
Рр, кВт
|
Х, м
|
У, м
|
ХiРр
|
УiРр
|
|
1
|
Инструментальный цех
|
2102,96
|
246
|
279
|
517328,16
|
586725,84
|
|
2
|
Термический цех
|
1164,96
|
75
|
279
|
87372
|
325023,84
|
|
3
|
Литейный цех
|
594,96
|
450
|
279
|
267732
|
165993,84
|
|
4
|
Насосная
|
4528,04
|
204
|
105
|
923720,16
|
475444,2
|
|
5
|
Компрессорная
|
511,76
|
492
|
120
|
251785,92
|
61411,2
|
|
6
|
Электроцех
|
142,59
|
558
|
321
|
79565,22
|
45771,39
|
|
7
|
Сборочный цех
|
35,32
|
558
|
231
|
19708,56
|
8158,92
|
|
8
|
Токарно-механический цех
|
2045,12
|
351
|
126
|
717837,12
|
257685,12
|
|
9
|
Кузнечный цех
|
42,16
|
630
|
279
|
26560,8
|
11762,64
|
|
10
|
Ремонтно-механический цех
|
22,03
|
99
|
99
|
2180,97
|
2180,97
|
|
11
|
Заводоуправление
|
2352,97
|
96
|
144
|
225885,12
|
338827,68
|
|
12
|
Центральная заводская лаборатория
|
171,2
|
690
|
321
|
118128
|
54955,2
|
|
Сумма
|
|
|
Х0, м
|
253,85
|
|
|
Y0,
м
|
173,97
|
|
|
|
|
|
|
|
|
|
|
. ВЫБОР СИСТЕМЫ ПИТАНИЯ
4.1 Выбор
трансформаторов на ГПП
В качестве ТП используем комплектные
трансформаторные подстанции, которые располагаем в помещениях цехов. Крупные
цеха имеют свои ТП, а мелкие получают питание от ТП ближайших крупных цехов
через низковольтные РП.
Распределение нагрузок по цехам показано в
таблице
Таблица 4.1 Определение расчетной нагрузки на
напряжении 0,4 кВ
|
№
|
Наименование цеха
|
Силовая нагрузка
|
Осветительная нагрузка
|
Суммарная расчетная нагрузка
|
|
|
Рм, кВт
|
Qм, квар
|
Рp.o., кВт
|
Qp.o., квар
|
PмS, кВт
|
QмS, квар
|
|
1
|
Инструментальный цех
|
1600
|
1632,33
|
502,96
|
870,12
|
2102,96
|
2502,45
|
|
2
|
Термический цех
|
1050
|
1227,59
|
114,96
|
198,88
|
1164,96
|
1426,47
|
|
3
|
Литейный цех
|
480
|
640
|
114,96
|
198,88
|
594,96
|
838,88
|
|
4
|
Насосная
|
405
|
413,18
|
123,04
|
212,86
|
528,04
|
626,04
|
|
5
|
Компрессорная
|
408
|
416,24
|
103,76
|
179,51
|
511,76
|
595,75
|
|
6
|
Электроцех
|
112
|
170,07
|
30,59
|
10,09
|
142,59
|
180,16
|
|
7
|
Сборочный цех
|
28
|
37,33
|
7,32
|
2,42
|
35,32
|
39,75
|
|
8
|
Токарно-механический цех
|
135
|
101,25
|
20,12
|
6,64
|
155,12
|
107,89
|
|
9
|
Кузнечный цех
|
25
|
43,3
|
17,16
|
5,66
|
42,16
|
48,96
|
|
10
|
Ремонтно-механический цех
|
20
|
26,67
|
2,03
|
0,67
|
22,03
|
27,34
|
|
11
|
Заводоуправление
|
105
|
65,07
|
7,97
|
2,63
|
112,97
|
67,7
|
|
12
|
Центральная заводская лаборатория
|
159
|
212
|
12,2
|
4,03
|
171,2
|
216,03
|
Число трансформаторов на
цеховых подстанциях определяется в зависимости от категории надежности
электроснабжения, удельной плотности нагрузки, числа рабочих смен, размеров
цеха и др. Двухтрансформаторные подстанции рекомендуется выбирать:
при преобладании нагрузки 1-й
категории;
при наличии электроприемников
особой группы;
для сосредоточенной цеховой
нагрузки и отдельно стоящих объектов общезаводского назначения (насосные и
компрессорные станции, газовое хозяйство и т.п.).
При системе
двухтрансформаторных подстанций также необходим складской резерв для быстрого
восстановления нормального питания потребителей в случае выхода из работы
одного из трансформаторов на длительный срок.
Цеховые подстанции с числом
трансформаторов более двух, как правило, экономически нецелесообразны и на
новых предприятиях применяются в виде исключения только при надлежащем
обосновании, например:
если имеются мощные электроприемники,
сосредоточенные в одном месте;
если нельзя рассредоточить
подстанции по условиям технологии или окружающей среды, например на текстильных
фабриках, на некоторых предприятиях химии и в других аналогичных случаях;
при питании совмещенных территориально
цеховых нагрузок различного характера: силовые, электросварочные и другие,
которые нельзя питать от общих трансформаторов.
Работа трансформаторов как на
цеховых подстанциях, так и на ГПП почти всегда бывает раздельная. Это упрощает
релейную защиту и уменьшает токи КЗ в сети вторичного напряжения. Последнее
особенно важно для выбора коммутационных аппаратов на напряжении до 1000 В,
которые имеют недостаточную коммутационную способность и электродинамическую
стойкость при трансформаторах мощностью 1000 кВА и более.
При выборе трансформаторов
следует иметь в виду, что в связи с ростом удельных плотностей электрических
нагрузок во всех отраслях промышленности повысились наивыгоднейшие мощности
цеховых подстанций по сравнению с теми, которые были рекомендованы в начале
внедрения принципа разукрупнения цеховых подстанций.
• при плотности нагрузки
до 0,2 кВА/м2 целесообразно применять трансформаторы мощностью до 1000 кВА
включительно;
• при плотности 0,2-0,3
кВА/м2 и мощности цеха более 3000 Вт - мощностью 1600
кВА;
• при плотности более
0,3 кВА/м2 целесообразность применения трансформаторов мощностью 1600 или 2500
кВА следует определять технико-экономическими расчетами.
По условиям надежности действия
защиты от однофазных коротких замыканий в сетях напряжением до 1000 В с
глухозаземленной нейтралью следует применять на цеховых ТП трансформаторы со
схемой соединения обмоток треугольник-звезда.
Плотность нагрузки по цехам представлена в
таблице 3.3.
Таблица 4.2 Плотность нагрузки по цехам
|
№
|
Наименование цеха
|
Силовая нагрузка
|
Площадь цеха
|
Плотность нагрузки
|
|
|
PмS, кВт
|
QмS, квар
|
SмS, кВА
|
S,
м2
|
r, кВА/м2
|
|
1
|
2
|
3
|
4
|
5
|
6
|
7
|
|
1
|
Инструментальный цех
|
2102,96
|
2502,45
|
3268,75
|
31500
|
0,1
|
|
2
|
Термический цех
|
1164,96
|
1426,47
|
1841,72
|
7200
|
0,26
|
|
3
|
Литейный цех
|
594,96
|
838,88
|
1028,44
|
7200
|
0,14
|
|
4
|
Насосная
|
528,04
|
626,04
|
818,99
|
10800
|
0,08
|
|
5
|
Компрессорная
|
511,76
|
595,75
|
785,38
|
9108
|
0,09
|
|
6
|
Электроцех
|
142,59
|
180,16
|
229,76
|
1728
|
0,13
|
|
7
|
Сборочный цех
|
35,32
|
39,75
|
53,17
|
1296
|
0,04
|
|
8
|
Токарно-механический цех
|
155,12
|
107,89
|
188,95
|
1944
|
0,1
|
|
9
|
Кузнечный цех
|
42,16
|
48,96
|
64,61
|
2700
|
0,02
|
|
10
|
Ремонтно-механический цех
|
22,03
|
27,34
|
35,11
|
432
|
0,08
|
|
11
|
Заводоуправление
|
112,97
|
67,7
|
131,7
|
540
|
0,24
|
|
12
|
Центральная заводская лаборатория
|
171,2
|
216,03
|
275,64
|
540
|
0,51
|
В результате анализа мощности, площади и
месторасположения цехов предполагается установка трансформаторов мощностью 250
кВ·А и 400 кВ·А.
.2 Выбор
сечения воздушной линии
Выбор питающих ЛЭП производится по экономической
плотности тока.
Определение экономического сечения производится
по формуле
, (6.1)
где Iм
- допустимый ток, А;
Jэ -
экономическая плотность тока, принимаемая по таблице 1.3.36 /6/
, (6.2)
где Sм
- суммарная полная мощность с учетом потерь.
, (6.3)
Производится расчет на наряжение110 кВ
кВА
А,
мм2
Принимается провод АС-70/11 с
допустимым током Iдоп=265 А, Ro = 0,43
Ом/км
Проверка по допустимому току
, (6.3)
А
Данный провод удовлетворяет условиям
короны - сечение провода должно быть не меньше 70 мм2
При строительстве ЛЭП принимается
железобетонные опоры с двусторонним питанием.
4.3 Выбор
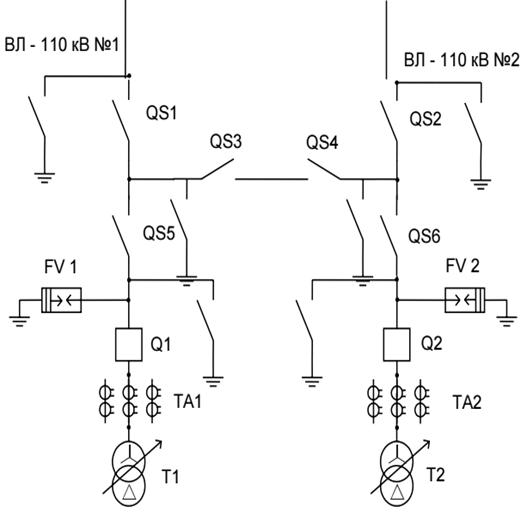
схемы РУ ВН завода
Выбор варианта схемы производится с
учётом местных условий сети и категории электроснабжения потребителей ГПП. Т.
к. на авиационном заводе много потребителей I и II-ой категории
электроснабжения, значит принимаем схему с перемычкой (мостиком). Для
удешевления схемы в перемычке не будем ставить выключатель, а при выходе из
строя ВЛ 110- кВ или трансформатора автоматическое резервирование будем
выполнять по стороне НН.
. ВЫБОР НАПРЯЖЕНИЯ РАСПРЕДЕЛЕНИЯ
ЗАВОДА
Выбор напряжения производится исходя
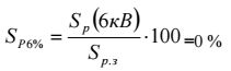
из условия процентного соотношения нагрузки 6 кВ к мощности всего завода. Если
мощность электроприёмников на 6 кВ будет составлять менее 10 - 15 %, значит за
рациональное напряжение распределения принимается 10 кВ. Если мощность
электроприёмников на 6 кВ будет составлять более 40 - 50%, значит за
рациональное напряжение распределения без технико - экономического расчёта
принимается 6 кВ:
Произведем выбор напряжения
распределения. Доля нагрузки на 6 кВ в общем по заводу составляет
Исходя из полученного процентного
соотношения, принимаем напряжение распределения равным 10 кВ.
. ВЫБОР СХЕМЫ РУ НН ЗАВОДА
Применяем одну секционированную систему сборных
шин, поскольку применять усложнение схемы нецелесообразно, ввиду малой мощности
трансформатора.
Выбор вида масляных выключателей (КСО или КРУ)
на стороне низкого напряжения трансформатора произведём по току в
послеаварийном режиме:
Для полученного значения тока выбираем ячейки
серии КРУ.
. ВЫБОР ЧИСЛА И МОЩНОСТИ ЦЕХОВЫХ
ТРАНСФОРМАТОРНЫХ ПОДСТАНЦИЙ И РАСПРЕДЕЛИТЕЛЬНЫХ ПУНКТОВ
Потребители первой категории должны иметь
двухтрансформаторные подстанции и запитываться по радиальным линиям от разных
секций ГПП или РП. Потребители второй и третьей категории могут запитываться по
магистральным линиям. Все цеховые РП, КТП и РЩ запитываются по кабельным линиям
с прокладкой кабеля на эстакадах, причём кабели разных вводов потребителей
первой категории прокладываются на разных эстакадах.
Предварительный выбор числа и мощности
трансформаторов на КТП производится на основании требуемой степени надёжности
электроснабжения. Для потребителей второй категории на КТП устанавливаются два
трансформатора, работающих раздельно в нормальном режиме - в целях уменьшения
токов короткого замыкания. Номинальная мощность цеховых трансформаторов
выбирается по средней мощности за наиболее загруженную смену, исходя из условий
экономичной работы трансформаторов в нормальном режиме - загрузка на 60 - 80 %
и допустимая перегрузка в послеаварийном режиме - 40 %.
Если нагрузка в цехе потребителей второй и
третьей категории не превышает 200 кВА, то в данном цехе КТП не
устанавливается, а электроприёмники цеха запитываются от ближайшей КТП
кабельными линиями 0,4 кВ.
Минимальное число трансформаторов одной мощности
, (3.2)
где РМS - суммарная мощность цехов, где установлены
трансформаторы одной мощности, кВт;
Кз - коэффициент загрузки
трансформаторов;
Sн.т. -
номинальная мощность трансформатора, кВА.
DN - добавка до ближайшего целого
числа.
Оптимальное число трансформаторов
, (3.3)
где m -
дополнительное число трансформаторов, определяется по рисунку 9.2 /17/.
Число трансформаторов мощностью 400
кВ·А
,
Число трансформаторов мощностью
250 кВ·А
,
. расчёт
токов короткого замыкания
электрический нагрузка замыкание
трансформаторный
Согласно [3] проверка правильности выбора
аппаратов и проводников напряжением 6 - 35 кВ производится по току трехфазного
к.з., а напряжением 110 кВ и выше - по току трехфазного или однофазного к.з.
Расчет токов к.з. производят в основных коммутационных узлах подстанции. Для
определения наибольшего возможного тока к.з. в каждом узле следует считать включенными
все генераторы в системе, все трансформаторы и линии электропередачи (ЛЭП)
подстанции.
Расчет сопротивлений
элементов схемы замещения подстанции в относительных единицах:
сопротивление системы
Х*с = Хс×(Sб/Sс)
= 1,1×(3000/3000)
= 1,1,
где Хс - заданное эквивалентное
сопротивление системы, отнесенное к мощности системы Sc;
Sб- принятое
значение базисной мощности, МВ×А;
Sб
= Sс = 3000 МВ×А.
сопротивление воздушной линии
Х*Л = Х0×l×(Sб/U2)
= 0.4×75×(3000/1102)
= 7,43,
где Х0 - сопротивление 1км
линии, Ом/км;
- длина линии, км;
U
- напряжение ступени, где находится воздушная линия, кВ. сопротивления
трехобмоточного трансформатора
Х*В = 0,005×(uкВН-СН+
uк ВН-НН -uк
СН-НН )×(Sб/SНТ);
Х*С = 0,005×(uк
ВН-СН + uк СН-НН -uк
ВН-НН)×(Sб/SНТ);
(12.5)
Х*Н = 0,005×(uк
ВН-НН +uк СН-НН - uк
ВН-СН)×(Sб/SНТ),
где uкВН-СН,,
uк ВН-НН ,-uк
СН-НН - соответственно напряжения к.з, между обмотками высшего и среднего,
высшего и низшего, среднего и низшего напряжений для выбранного трансформатора,
%;
Х*В = 0,005×(16,2+ 28,8 - 12,6)×(3000/63)
= 7,71;
Х*С = 0,005×(16,2
+ 12,6 - 28,8)×(3000/63) = 0;
Х*Н = 0,005×(28,8
+ 12,6 - 16,2)×(3000/63) = 6.
На схеме замещения все
сопротивления обозначены порядковыми номерами, под чертой указана величина
сопротивления.
Определение периодической составляющей тока к.з.
В общем случае значение периодической
составляющей равно, кА:
IП =
, (12.6)
где Е*э - эквивалентная ЭДС источников питания,
о.е.; Х*э - эквивалентное сопротивление схемы до точки к.з., о.е.;
базисное значение тока, кА
(12.7)
Рисунок 3. Схема замещения для расчета токов
к.з.
В дипломном проекте можно принять Е*э = 1, тогда
IП =
(12.8)
1) для точки К-1
Х*Э1 = Х*с + Х*Л /2 = 1,1+7,43/2 =
4,82
По формуле (12.8) определим ток к.з.
IП1 =
.
2) для точки К-2
Х*Э2 = Х*Э1 + Х*В/2 = 4,82+7,71/2 =
8,68
По формуле (3.4) определим ток к.з.
IП2 =
.
3) для точки К-3
а) выключатель разомкнут
Х*Э3 = Х*Э2 + Х*Н = 8,68+6 = 14,68
I’П3 =
.
б) выключатель замкнут
Х*Э3 = Х*Э2 + Х*Н /2 = 8,68+6/2 =
11,68
I’’П3 =
.
Для дальнейшего расчета будем
использовать I’П3 = 11,24
кА.
. ВЫБОР И ПРОВЕРКА АППАРАТУРЫ
В РУ 110 кВ и 35кВ установим маломасляные
выключатели.
Условия выбора выключателей:
Uуст £
Uном, Iр.ф.
£
Iном
In £
Iн.д.,
iу
£
iскв
In £
Iн.откл,
iat £
iaн
Вк £
I2н.т.
·tн.т.
Условия выбора разъединителей:
Uуст
£
Uном, Iфорс
£
Iном, iу
£
iскв, Вк £
I2н.т. ·tн.т.
Выбор выключателей и разъединителей на ВН
Выберем тип выключателя:
ВМТ - 110Б - 20/1000 УХЛ1
Номинальные параметры:
Uном =110 кВ; Iном
= 1000 А; Iн.д. = 20 кА; iскв
= 52 кА;
Iн.откл=20 кА; βн
=25%; Iн.т./tн.т=20кА/3с;
tпо = 0,08с; tс.в
= 0,05с;
;
I2н.т. ·tн.т = 202×3=1200 кА2×с
Расчетные параметры:

где t - время от момента возникновения к.з. до начала
размыкания контактов выключателя, с
t
= tрзmin + tс.в= 0,01 +
0,05 = 0,06 с;
Та = 0,03 с - постоянная времени для
ВЛ 110 кВ.
Тепловой импульс, кА2×с:
кА2×с,
где tотк - время
отключения к.з.
tотк = tрзmax + tпо= 0,2 +
0,08 = 0,28 с.
Таблица 4.1 Условия выбора и
проверки выключателей
|
Расчетные параметры
|
Условия выбора и проверки
|
Номинальные параметры
|
|
Uуст
|
110 = 110, кВ
|
Uном
|
|
Iр.ф.
|
378,44 < 1000, А
|
Iном
|
|
In
|
3,12 < 20, кА
|
Iн.д
|
|
iу
|
7,94 < 52, кА
|
iскв
|
|
In
|
3,12
< 20, кА
|
Iн.откл
|
|
iat
|
0,6
< 7,07, кА
|
iaн
|
|
Вк
|
4,02 < 1200, кА2×с
|
I2н.т.
·tн.т
|
Выберем тип разъединителей:
РНДЗ - 1 - 110/630 Т1, РНДЗ - 2 - 110/630 Т1,
тип привода ПР - Т1
Номинальные параметры:
Uном = 110 кВ; Iном
= 630 А; iскв = 100кА; Iн.т./tн.т=40кА/3с;
I2н.т. ·tн.т
= 402×3=4800
кА2×с.
Расчетные данные такие же, как для выключателей.
Таблица 4.2 Условия выбора и проверки
разъединителей
|
Расчетные параметры
|
Условия выбора и проверки
|
Номинальные параметры
|
|
Uуст
|
110 = 0, кВ
|
Uном
|
|
Iр.ф.
|
378,44 < 630, А
|
Iном
|
|
iу
|
7,94 < 100, кА
|
iскв
|
|
Вк
|
3,02 < 4800, кА2×с
|
I2н.т.
·tн.т
|
Выбор выключателей и разъединителей на СН
Выберем тип выключателя:
ВМКЭ - 35А - 16/1000 У1
Номинальные параметры:
Uном =35 кВ; Iном
= 1000 А; Iн.д. = 26 кА; iскв
= 45 кА;
Iн.откл=16 кА; βн
=21%; Iн.т./tн.т=16,5кА/4с;
tпо = 0,11с; tс.в
= 0,08с;
;
I2н.т. ·tн.т = 16,52×4=1089 кА2*с
Расчетные параметры:

где t - время от момента возникновения к.з. до начала
размыкания контактов выключателя, с
t
= tрзmin + tс.в= 0,01 +
0,05 = 0,06 с;
Та = 0,02с - постоянная времени для
ВЛ 35 кВ.
Тепловой импульс, кА2×с:
,
где tотк - время
отключения к.з.
tотк = tрзmax + tпо= 0,2 +
0,08 = 0,28 с.
Таблица 4.3 Условия выбора и
проверки выключателей
|
Расчетные параметры
|
Условия выбора и проверки
|
Номинальные параметры
|
|
Uуст
|
35 = 35, кВ
|
Uном
|
|
Iр.ф.
|
366,58 < 1000, А
|
Iном
|
|
In
|
5,70 < 26, кА
|
Iн.д
|
|
iу
|
14,51 < 45, кА
|
iскв
|
|
In
|
5,70
< 16, кА
|
Iн.откл
|
|
iat
|
0,09
< 4,75,
кА
|
iaн
|
|
Вк
|
9,75 < 1089, кА2×с
|
I2н.т.
·tн.т
|
Выберем тип разъединителей:
РНДЗ -1-35/1000 ХЛ1, РНДЗ-2- 35/1000 ХЛ1, тип
привода ПВ - 20 У2
Номинальные параметры:
Uном =35 кВ; Iном
= 1000 А; iскв = 63кА; Iн.т./tн.т=25кА/4с;
I2н.т. ·tн.т
= 252*4=2500 кА2×с.
Расчетные данные такие же, как для выключателей.
Таблица 4.4 Условия выбора и проверки
разъединителей
|
Расчетные параметры
|
Условия выбора и проверки
|
Номинальные параметры
|
|
Uуст
|
35 = 35, кВ
|
Uном
|
|
Iр.ф.
|
366,58 < 1000, А
|
Iном
|
|
iу
|
14,51 < 63, кА
|
iскв
|
|
Вк
|
9,75 < 2500, кА2×с
|
I2н.т.
·tн.т
|
ПКТ 101-10
Предохранители проверяются по
следующим параметрам:
. номинальное напряжение сети
ном ≤ Uном
ном = 10 кВ
Uном = 10 кВ
(10.2)
где Кн - коэффициент надежности для
отстройки от броска тока намагничивания при включении трансформатора, Кн = 1,5
- 2 при Sн.тр. ³ 160 кВА.
= 27,48 А £ 300 А
3. начальное значение периодической
составляющей тока к.з. за предохранителем.
Iкп ≤ Iоткл (10.3)
где Iоткл -
предельный симметричный ток отключения патрона предохранителя.
4,66 ≤ 20 кА.
. ОПРЕДЕЛЕНИЕ РАСЧЕТНЫХ НАГРУЗОК КАБЕЛЬНЫХ ЛИНИЙ
Питание завода осуществляется по двухцепной
воздушной линии так как завод состоит из потребителей электроэнергии 2 и 3
категории. При этом выбирается марка проводов и площадь их сечения. При выборе
необходимо учесть потери в трансформаторах.
Для трансформатора ТРДН-40000/110
DРР = 170 кВт; DРХХ
= 34 кВт; IХХ%
= 0,55%; UКЗ%
= 10,5%
Потери в трансформаторе:
;
кВт;
кВар.
Расчетная полная мощность с учетом
потерь в трансформаторах
кВА.
Принимаются к установке провода
марки АС.
Расчетный ток в ПАР
А
Расчетный ток в нормальном режиме.
А
Предварительно принимаем провод
сечением FР = 120 мм2
с Iдоп = 390 А
табл.1.3.29 [5].
Проверяется выбранное сечение
провода по экономической плотности тока:
где IР -
расчетный ток в нормальном режиме.
jЭК -
экономическая плотность тока. jЭК = 1 А/мм2 по табл. 1.3.36 [5] для
Тmax > 5000
ч.
мм2
Выбираем FР = 120 мм2
с Iдоп = 390 А
по табл. 1.3.29 [5].
По условиям короны минимальное
сечение провода на напряжение 110 кВ составляет 120 мм2, данное условие
выполняется.
Проверка по потерям напряжения:
Потери напряжения в линии.
,
где
,
кВт
,
кВар
Сопротивление линии:
Ом
Ом
. СПИСОК ЛИТЕРАТУРЫ
1. Федоров
А.А., Старкова Л.Е. Учебное пособие для курсового и дипломного проектирования.
М.: Энергоатомиздат 1987 -363 с.
2. Справочник
по электроснабжению промышленных предприятий. Промышленные электрические сети.
/Под общей ред. Федорова А.А. и Сербиновского Г.В. - 2-е изд, перераб. и доп.
М.: "Энергия",1980 -576 с.
. Справочник
по проектированию электроснабжения / Под ред. Барыбина Ю.Г., Федорова Л.Е.,
Зименкова М.Г., Смирнова А.Г. - М.: 1990
. Методические
указания по выбору силовых трансформаторов для сквозного курсового и дипломного
проектирования по специальности 0303.
. Правила
устройства электроустановок, Минэнерго, Москва, Энергоатомиздат, 1986 - 527 с.
. Диев
С.Г., Сюсюкин А.Н. Методическое указание для выполнения курсового проекта по
электроснабжению промышленных предприятий, Омск, 1984.
. Неклипаев
Б.Н., Крючков И.П. Электрическая часть электростанций и подстанций. Справочные
материала для курсового и дипломного проектирования. М.:, Энергоатомиздат,
1985.
. Руководящие
указания по релейной защите. Релейная защита понижающих трансформаторов и
автотрансформаторов 110-500 кВ. Выпуск 13Б. Расчеты М.: Энергоатомиздат, 1985
. Руководящие
указания по релейной защите. Релейная защита понижающих трансформаторов и
автотрансформаторов 110-500 кВ. Выпуск 13А Схемы. М.: Энергоатомиздат, 1985
. Шкаруба
М.В. Изоляция и перенапряжения в электрических системах. Методическое указание.
Омск, 1995.