Системы коммутации
СОДЕРЖАНИЕ
ВВЕДЕНИЕ
. IP-СЕТИ. АРХИТЕКТУРА И УСЛУГИ
.1
Принципы построения IP-сетей
1.2
Особенности технологий VoIP и
IPTV
.3
Требования различных типов приложений к качеству обслуживания
.4
Технология абонентского доступа хPON
.
РАСЧЕТ СЕТЕВЫХ ПАРАМЕТРОВ ПРОЕКТИРУЕМОЙ СЕТИ
.1
Математическая модель расчета сетевых параметров
.2
Расчет матрицы информационного тяготения
.
ВЫБОР СТРУКТУРЫ СЕТИ И ЕЕ ЭЛЕМЕНТОВ
.1
Расчет структурных параметров сети
.2
Требования к программному обеспечению
.3
Протокол маршрутизации
.4
Сетевое оборудование
ЗАКЛЮЧЕНИЕ
ЛИТЕРАТУРА
ПРИЛОЖЕНИЕ
ВВЕДЕНИЕ
Интернет уже давно используется не только для поиска и
размещения информации либо переписки по электронной почте, но и для общения в
режиме реального времени. Сегодняшние скорости интернет-доступа позволяют людям
общаться через сеть голосом - аналогично обычному телефону. Но и это уже не
самая современная технология. Сегодня уже более актуально общение по видео -
интернет-видеотелефония.
Голосовое и видеообщение через Интернет именуется
IP-телефонией. Колоссальное преимущество IP-телефонии перед обычным телефонным
разговором - ее практически полная бесплатность. Абонент платит только за
доступ в Интернет. В структуре VoIP существуют два вида звонков: с компьютера
на компьютер и с компьютера на стационарный (либо мобильный) телефон. В первом
случае связь действительно абсолютно бесплатна вне зависимости от длительности
беседы - лишь бы оба абонента располагали высокоскоростным интернет- доступом,
а также микрофонами и наушниками (либо компьютерными колонками). Для
видеотелефонии также понадобится web-камера. А вот во втором случае стоимость
звонков уже тарифицируется (то есть они становятся платными), так как
задействуются обычные линии связи. Но даже в этом случае стоимость звонка в сравнении
с обычной телефонной линией оказывается в десятки раз ниже.
Обычные пользователи могут пользоваться услугами IP-телефонии с помощью
специальных программ, которые можно найти в Интернете и установить на свой ПК,
планшет и даже мобильный телефон (Android, IPhone).
Наиболее популярной программой в наше время является Skype:
бесплатное проприетарное ПО с закрытым кодом, обеспечивающее шифрованную
голосовую связь через Интернет между компьютерами (VoIP), а также платные
услуги для связи с абонентами обычной телефонной сети. Возможна организация
конференцсвязи (до 25 абонентов, включая инициатора), передача текстовых
сообщений и файлов, а также видеосвязь.
В Беларуси в последнее время получила большую популярность
новая программа Viber. Она дает возможность всегда оставаться на связи.
Бесплатно. Пользователи Viber могут обмениваться бесплатными текстовыми
сообщениями, фото и видео, а также сообщать о своем местонахождении. Кроме
того, они могут бесплатно звонить в HD-качестве пользователям Viber на устройствах
iPhone®, Android™, Windows Phone, Blackberry®, Windows®, Mac, Symbian, Nokia
S40 и Bada в сети 3G/4G или WiFi. Услугами Viber пользуются более 200 миллионов
человек в 193 странах мира. Тем временем Viber не прекращает внедрять
инновации, добавлять поддержку новых платформ и забавные возможности, такие как
смайлики и стикеры. Приложение Viber разработано частной компанией Viber Media,
основанной в феврале 2010 года (компанию основали израильтянин Тальмон Марко и
белорус Игорь Магазинник).
В Беларуси до недавнего времени услуги на платной основе
посредством технологий IP-телефонии имеет право оказывать исключительно
национальный оператор электросвязи РУП "Белтелеком" (звонки по
средствам IP-телефонии можно совешать в 80 стран мира и это число растет). Частным
(домашним) пользователям использовать IP-телефонию не запрещено - вот только
далеко не у всех хватает знаний, чтобы грамотно установить и настроить тот же
Skype.
Использование IP-телефонии для собственных
нужд коммерческими фирмами никак не регламентировано (т.е. фактически
разрешено).
В марте 2014 года Провайдер Атлант
Телеком получил обновленную лицензию
Министерства связи и информатизации. Новый документ от 3 марта 2011 года
позволяет оператору развернуть сеть вещания IPTV
на территории всей республики, равно как и оказывать
услуги по организации IP-телефонии в технических пределах собственной сети передачи данных.
Компания имеет право на предоставление
местного телефонного соединения на территории Минска, Гомеля, Гродно, Могилева,
Бреста и Витебска.
На сегодняшний день перед открытием новых офисов или во время
строительства новых бизнес-центров, 75% компаний хотят пользоваться услугами
IP-телефонии, и требуют, чтобы в зданиях были установлены локальные сети
IP-АТС, с офисными телефонными IP-аппаратами.телевидение - это цифровая
технология многопрограммного интерактивного телевизионного вещания в IP-сети с
помощью пакетной передачи видеоданных по IP-протоколу. Абонентам РУП
"Белтелеком" доступна услуга "Интерактивное телевидение".
Оборудование IPTV-платформы передает по телефонной линии, а абонентское
оборудование декодирует видеоданные и выводит расшифрованное видео на экран
телевизора. При этом видео пересылается непрерывным потоком в виде
последовательности IP-пакетов и проигрывается по мере того, как передается на
абонентское устройство.
Базовой услугой является многопрограммная ретрансляция
телевизионных каналов. Благодаря интерактивности IP-телевидения абоненту также
доступен ряд дополнительных услуг.
Проектирование и внедрение IP-сетей
является актуальной задачей, так как сегодня сети на базе IP позволяют предоставить пользователю
широкий спектр наиболее популярных услуг, объединить существующие сети,
увеличить прибыль оператора, позволить внедрить новые услуги.
1. IP-СЕТИ.
АРХИТЕКТУРА И УСЛУГИ
1.1 Принципы
построения IP-сетей
сеть - это цифровая телекоммуникационная сеть, построенная на
основе протокола IP, в которой все данные - голос, текст, видео, компьютерные
программы или информация в любой другой форме передаются в виде пакетов в
едином тракте одновременно между многими пользователями. При этом протокол IP
не требует выделенного канала для сигнализации.
Трафик IP-сети включает в себя потоки информации от разных
приложений, осуществляющих передачу голоса и других видов изохронного трафика,
мультимедиа, документов (в том числе больших по размеру), файлов, данных с
компьютерных носителей, данных между локальными сетями, факсимиле, изображений
с размером транзакции 106 байт, высококачественного аудио, многочисленных видов
видео. Основными критериями классификации трафика являются относительная
предсказуемость скорости передачи данных, чувствительность трафика к задержкам
пакетов, чувствительность трафика к потерям и искажениям пакетов.
Сеть IP-телефонии представляет собой совокупность оконечного
оборудования, каналов связи и узлов коммутации. Сети IP-телефонии строятся по
тому же принципу, что и сети Интернет. Однако в отличие от сетей Интернет, к
сетям IP-телефонии предъявляются особые требования по обеспечению качества
передачи речи. Одним из способов уменьшения времени задержки речевых пакетов в
узлах коммутации является сокращение количества узлов коммутации, участвующих в
соединении. Поэтому при построении крупных транспортных сетей в первую очередь
организуется магистраль, которая обеспечивает транзит трафика между отдельными
участками сети, а оконечное оборудование (шлюзы) включается в ближайший узел
коммутации (рис.1). Оптимизация маршрута позволяет улучшить качество
предоставляемых услуг. При подключении к сети других операторов их оборудование
также подключается к ближайшему узлу коммутации.
Рисунок 1 - Пример построения сети IP-телефонии с
использованием магистрали
Для связи между устройствами внутри сети и с устройствами
других сетей IP-телефонии используются выделенные каналы или сеть Интернет. По
способу связи оконечных устройств между собой сети IP-телефонии можно разделить
навыделенные, интегрированные и смешанные.
В выделенных сетях (рис.2) связь между оконечными
устройствами осуществляется по выделенным каналам и пропускная способность этих
каналов используются только для передачи речевых пакетов. Чаще всего провайдеры
IP-телефонии не строят собственную сетевую инфраструктуру, а арендуют каналы у
провайдеров первичной сети. Это позволяет уменьшить затраты на эксплуатацию
сети и увеличить окупаемость вложений.
Главное преимущество выделенной сети - это высокое качество
передачи речи, так как такие сети предназначены только для передачи речевого
трафика. Кроме того, для обеспечения гарантированного качество предоставляемых
услуг в этих сетях, кроме протокола IP, применяются и другие транспортные
протоколы: ATM и Frame Relay.
Рисунок 2 - Пример построения выделенной сети IP-телефонии
В интегрированных сетях IP-телефонии для связи между
устройствами используется глобальная сеть Интернет (рис. 3). Это может быть уже
существующая собственная сеть или доступ к сети Интернет через провайдеров.
Если оператор имеет собственную сеть Интернет, то для предоставления услуг IP-телефонии
он лишь устанавливает дополнительное оборудование, которое обеспечивает
преобразование речи в данные и наоборот, и модернизирует уже имеющееся
оборудование, чтобы обеспечить качество предоставляемых услуг. Если оператор
IP-телефонии пользуется услугами провайдеров Интернет, то качество услуг такой
сети может быть низким, так как обычные сети Интернет не рассчитаны на передачу
информации в реальном масштабе времени.
По разным причинам операторы сетей IP-телефонии для
объединения своих устройств в сети могут использовать выделенные каналы и сеть
Интернет. Такие сети можно назвать сетями смешанного типа (рис. 4). Вопрос о
том, какие каналы использовать для связи устройств между собой, решается
оператором индивидуально в зависимости от возможностей.
Если оператор, обычно использующий выделенные каналы, по
каким-либо причинам не может арендовать канал до оконечного устройства, он
прибегает к услугам провайдеров Интернет. Если оператор IP-телефонии,
использующий сеть Интернет, не имеет возможности получить доступ в Интернет в
конкретной точке, или качество услуг через сеть Интернет очень низкое, то для
подключения оконечного устройства к сети используется выделенный канал. К
построению сети по смешанному типу прибегают редко, только когда нет другого варианта.
Чаще всего, таким способом более крупные операторы подключают к себе более
мелких операторов.
Рисунок 3 - Пример построения интегрированной сети
IP-телефонии
Рисунок 4 - Пример построения смешанной сети IP-телефонии
Услуги сетей IP-телефонии:
) Речевые соединения
Сети IP-телефонии любого уровня могут предоставлять конечным
пользователям следующие виды речевых соединений:
– телефон-телефон;
– телефон-компьютер;
– компьютер-телефон;
– компьютер-компьютер.
Кроме того, часть сетей IP-телефонии предоставляет услуги по
передачи факсов.
Практически все крупные выделенные сети предоставляют полный
набор услуг своим клиентам. Набор приложений остальных компаний зависит от
оборудования, которое используется на их сети, однако большинство провайдеров
заявляют о поддержке в будущем всех соединений IP-телефонии.
) Связь с любой точкой мира
В настоящее время большинство международных операторов
IP-телефонии декларируют предоставление связи с любой точкой мира. Эта
возможность является основным требованием к провайдерам IP-телефонии. Однако,
чтобы реализовать это требование в одиночку, только с использованием
собственной сети, операторам IP-телефонии пришлось бы вкладывать огромные
средства в развертывание сети по всему миру. Чтобы избежать этого, провайдеры
заключают соглашения с другими сетями IP-телефонии.
) Подвижность (роуминг) пользователя
Одной из перспективных услуг IP-телефонии является роуминг
абонента. При этом абонент одной сети может воспользоваться услугами
IP-телефонии, находясь в другой сети. Для этого необходимо, чтобы при
перемещении пользователя в другую сеть, визитная сеть могла получить данные
этого абонента из его домашней сети. Функционирование такой услуги возможно при
использовании соответствующей системы биллинга и менеджмента абонентов.
1.2
Особенности технологий VoIP и
IPTV
Основной принцип IP-телефонии заключается в оцифровке и
компрессии голоса (обычно по алгоритмам G729, G729a или G723.1) с последующей
пакетизацией и передачей по IP-сетям.
Сети IP-телефонии предоставляют возможности
для вызовов четырех основных типов:
1."От
телефона к телефону". Вызов идет с обычного телефонного аппарата к АТС, на
один из выходов которой подключен шлюз IP-телефонии, и через IP-сеть доходит до другого шлюза, который осуществляет обратные
преобразования.
Рисунок 5 - Схема связи "телефон-телефон"
2."От
компьютера к телефону". Мультимедийный компьютер, имеющий программное
обеспечение IP-телефонии, звуковую плату (адаптер),
микрофон и акустические системы, подключается к IP-сети или к сети Интернет, и с другой стороны шлюз IP-телефонии имеет соединение через АТС
с обычным телефонным аппаратом.
Рисунок 6 - Схема связи "компьютер-телефон"
3."От
компьютера к компьютеру". В этом случае соединение устанавливается через IP-сеть между двумя мультимедийными
компьютерами, оборудованными аппаратными и программными средствами для работы с
IР-телефонией.
Рисунок 7 - Схема связи "компьютер-компьютер"
4."От WEB браузера к телефону". С
развитием сети Интернет стал возможен доступ и к речевым услугам. Например, на WEB-странице некоторой компании в
разделе "Контакты" размещается кнопка "Вызов", нажав на
которую можно осуществить речевое соединение с представителем данной компании
без набора телефонного номера. Стоимость такого звонка для вызывающего
пользователя входит в стоимость работы в сети Интернет.
Рисунок 8 - Схема связи "WEB-браузер - телефон"
Функциональная схема симплексного IP-канала представлена на
рисунке 9. Аналоговые речевые сигналы от микрофона абонента А с помощью
аналого-цифрового преобразователя (АЦП) преобразуются в цифровой поток, обычно
64 кбит/с. Затем данные в цифровой форме сжимаются кодирующим устройством до
скоростей 16, 8 или 6,3 кбит/с, формируются в пакеты, к которым добавляются
заголовки протоколов, и передаются через IP-сеть в систему IP-телефонии
абонента Б. Когда пакеты принимаются системой абонента Б, сначала происходит их
накопление для устранения негативных эффектов, возникающих при прохождении
через IP-сеть. Удаляются заголовки и, если часть пакетов была потеряна, то
происходит интерполяция. Сжатые речевые данные поступают в устройство,
преобразующее их в первоначальную форму, после чего речевые сигналы снова
преобразуются в аналоговую форму с помощью цифроаналогового преобразователя
(ЦАП) и попадают в телефон абонента Б.
Рисунок 9- Функциональная схема симплексного IP-канала.
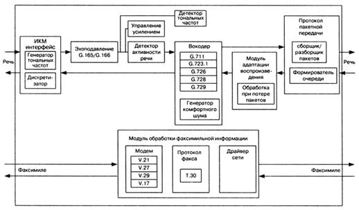
Модуль пакетирования речи выполняет функции подготовки
речевого сигнала, поступающего из ТфОП с постоянной скоростью, для дальнейшей
его передачи по сети с маршрутизацией пакетов IP. Основными функциями модуля
являются: преобразование речевого сигнала методом импульсно-кодовой модуляции,
эхокомпенсация, кодирование речевого сигнала, обнаружение активных периодов и
пауз в речи и адаптация воспроизведения. Кроме того, модуль отвечает за
детектирование и генерацию сигналов DTMF и за обработку факсимильных и модемных
сигналов. Структура модуля пакетирования речи представлена на рисунке 10.
Рисунок 10 - Модуль пакетирования речи шлюза IP-телефонии Протей-ITG
Эффективность использования пропускной способности IP-сети
существенным образом зависит от выбора оптимального алгоритма кодирования/
декодирования речевой информации - кодека.
Механизм обнаружения активных периодов речи проверяет
получаемый из ТфОП сигнал на наличие в нем речевой информации. Если в течение
определенного времени речевая информация не обнаружена, передача речевых
пакетов в IP-сеть прекращается. Использование этого механизма существенно
повышает эффективность использования полосы пропускания. Экономия полосы может
доходить до 60%.
Суть механизма адаптации воспроизведения заключается в
буферизации речевых пакетов для сглаживания вариации их задержки. Механизм
использует буфер FIFO, хранящий речевые элементы перед их воспроизведением.
Далее измеряется джиттер и производится адаптивное управление задержкой пакетов
в буфере.
Было разработано большое количество кодеков, используемых для передачи
аудио- и видео-информации в структурах IP-телефонии. Самыми популярными (по
количеству пользователей и поддержки в конечных устройствах) в настоящий момент
являются:.711 - стандартизованный ITU-T кодек, используемый в устройствах ISDN.
Необходимая пропускная способность - 64 кбит/сек. Существуют два типа кодеков:
a-law и u-law, отличающиеся алгоритмами кодирования. Кодек поддерживается
практически всеми устройствами IP-телефонии..729 - стандартизованный ITU-T
кодек, служит для передачи речи с "хорошим качеством" при
использовании малой пропускной способности (8 кбит/сек). Существуют две
популярные (и несовместимые между собой) версии данного стандарта: Annex А
("простая" схема кодирования) и Annex B (с использованием алгоритмов
сжатия пауз). По субъективным оценкам, данный кодек обладает качеством лучшим,
чем у G.723, но худшим, чем G.711. Поддерживается практически всеми
производителями оборудования. При коммерческом использовании требуется
лицензия..723.1 - кодек, стандартизованный ITU-T. Отличительной особенностью
является возможность работы при очень низком потоке (5.3, 6.3 кбит/сек). По
субъективным оценкам, обладает самым плохим качеством (среди рассматриваемых
кодеков) речи. Поддерживается значительной частью устройств IP-телефонии. При
коммерческом использовании требуется лицензия.(RPE-LTP) - голосовой кодек,
разработанный для использования в системах сотовой связи стандарта GSM. При
кодировании кадра используется информация предыдущего кадра, кодирование
осуществляется блоками по 20 мс со скоростью 13 кбит/с. Поддерживается
производителями оборудования, в основном в шлюзах между сотовыми и VoIP-сетями.(Internet
low bitrate codec) - открытый (не требуются лицензионные отчисления) голосовой
кодек. Предназначен для кодирования с потоком 13.33 кбит/сек (при размере кадра
30 мс) и 15.20 кбит/сек (при размере кадра 20 мс). По субъективным оценкам экспертов,
качество речи данного кодека превышает G.729A. Кроме того, кодек более устойчив
(по сравнению с G.729) к потере
кадров, что позволяет эффективно использовать его при организации сеансов связи
через сеть Интернет. Примером этому является популярная сеть IP-телефонии -
Skype. Поддерживается ограниченным числом производителей оборудования.
Таблица 1 - Основные параметры кодеков IP-телефонии
|
Кодек
|
Поток
|
Размер пакета (мс)
|
Алгоритмическая задержка (мс)
|
Оценка MOS*
|
Суммарный поток
|
|
G.711
|
64 кбит/с
|
20
|
0
|
4.4
|
81.2
|
|
G.729
|
8 кбит/с
|
20
|
15
|
4.07
|
31.2
|
|
G.723.1
|
6.3 кбит/с
|
30
|
37.5
|
3.87
|
21.9
|
|
G.723.1
|
5.3 кбит/с
|
30
|
37.5
|
3.69
|
20.8
|
|
GSM
|
13 кбит/с
|
20
|
20
|
3.5
|
35.4
|
|
iLBC
|
13.33 кбит/с
|
30
|
30
|
4
|
28
|
|
iLBC
|
15.2 кбит/с
|
20
|
30
|
4
|
2
|
* MOS (Mean Opinion Score или "усредненная субъективная оценка
экспертов")
IP-телевидением принято называть цифровую технологию многопрограммного
интерактивного телевизионного вещания в IP-сети с помощью пакетной передачи
видео-данных по IP-протоколу. Несмотря на то, что и IPTV, и
интернет-телевидение обеспечивают доставку видео на основе IP, между ними
существует ряд отличий. Так, интернет-телевидение распространяется по сети
интернет, вследствие чего обеспечивается свободный доступ к контенту, тогда как
услуга IPTV доставляется по закрытым сетям, в которых доступ к контенту
разрешен только подписчикам услуги.
Ключевым отличием является то, что интернет-ТВ предоставляет доступ к
контенту из любой точки, где есть подключение к интернету, а IPTV
распространяется в рамках ограниченной оператором среды и содержит в себе набор
уникальных функций и высококачественный контент.
Оборудование IPTV-платформы передает по телефонной линии, а абонентское
оборудование (приставка - Set Top Box) декодирует видео-данные и выводит
расшифрованное видео на экран телевизора. При этом передача видео
осуществляется таким образом, что пользователю не приходится ждать полной
загрузки файла для того, чтобы его просмотреть. Видео пересылается непрерывным
потоком в виде последовательности IP-пакетов и проигрывается по мере того, как
передается на абонентское устройство.
Абонент IPTV получает от оператора пакет услуг, важнейшим отличием
которых от услуг, предоставляемых кабельным телевидением, является
интерактивность. Технология дает возможность смотреть программы и телепередачи
в удобное для зрителя время и не быть привязанным к расписанию эфира. При этом
сохраняется возможность "жизни по расписанию".
Базовой услугой, прежде всего, является многопрограммная ретрансляция
телевизионных каналов, или собственно IP-телевидение. Абоненту предоставляется
определенный набор каналов, за который он ежемесячно платит абонентскую плату.
Благодаря интерактивности IP-телевидения абоненту также доступен ряд
дополнительных услуг.
Услуга IPTV является достаточно специфичной по сравнению с другими услугами
в NGN. NGN должна быть готова к внедрению услуги IPTV
В настоящее время архитектура и протоколы для сетей IPTV практически
стандартизованы в МСЭ-Т, хотя готовые рекомендации еще не опубликованы.
В настоящее время уже сложилась общая архитектура сети, предоставляющей
услугу IPTV, она представлена на рис. 11. Тем не менее, вполне достаточно
проектов рекомендаций, чтобы уже сегодня определить не только требования к сети
IPTV, но и к необходимому для такой сети мониторингу.
Рисунок 11 - Общая архитектура системы IPTV
Рассмотрим основные компоненты общей архитектуры IPTV:
Источники контента (Content sources) представляют собой функциональные
блоки ответственные за сбор и получение видео контента от его производителей и
других источников контента, а также его кодирование. Кроме того, для некоторых
услуг, например, видео по запросу VoD, источники контента могут хранить контент
в базах данных, откуда непосредственно производится выбор данных;
Узлы услуги IPTV (IPTV Service Nodes) представляют собой функциональные
блоки, осуществляющие сбор и получение контента закодированного в различных
форматах, далее осуществляют модификацию контента в соответствии с
предоставляемыми уровнями качества обслуживания (QoS) с целью последующего
информирования сети о требуемом уровне QoS для определенных видеоданных. Кроме
того, узлы услуги IPTV предоставляют оконечному оборудованию пользователя CPE
(Customer Premises Equipment) лицензии и права на просмотр контента, а также
цифровые права управления им; сеть NGN осуществляет доставку контента от узлов
услуг по направлению к пользователю в соответствии с заданным качеством
обслуживания от источников контента по направлению к оконечному оборудованию
пользователя. NGN состоит из ядра сети и сетей доступа, последние включают в
себя различные мультиплексоры DSLAM (Digital Subscriber Line Access
Multiplexer), а также оптические сети распределения информации.
На сети доступа используются такие технологии как ADSL, ADSL2+, VDSL,
Ethernet. Операторы также могут использовать комбинации технологий для
реализации сетей доступа, например, FTTC (Fiber To The Curb) и DSL, или
реализовывать прямой оптический доступ при помощи технологии FTTH (Fiber To The
Home).
Оборудование пользователя (Customer Premises Equipment, CPE) включает в
себя домашний маршрутизатор или модем, домашний сетевой центр и т.п.
Осуществляет доставку потока данных услуги IPTV к клиенту. Часть сети, в
которую входит CPE и домашний маршрутизатор/модем, называется "домашняя
сеть";
Клиент IPTV (IPTV Client) осуществляет сбор и обработку потока данных
услуги IPTV и декодирует сигнал. Клиент, как правило, реализован в виде
отдельного аппаратно-программного комлекса, часто называемого "сет-топ
бокс", который непосредственно подключен к сети передачи данных и
осуществляет по запросу пользователя установление соединения с узлами услуги
IPTV с заданным уровнем качества обслуживания, принимает контент в виде
видеопотоков, декодирует их и передает для вывода изображения на экран таким
устройствам как телевизор или монитор.
В настоящее время наибольшее распространение получили три
стан¬дарта передачи цифрового видеосигнала (MPEG, MPEG2 и MPEG4):
•MPEG-1. Скорость передачи 1,856 Мбит/с. Разрешение по
парамет¬рам видео 352 х 240/288.
•MPEG-2. Скорость передачи 9 Мбит/с, либо 4 Мбит/с для сетей
ADSL2+, либо 19,2 Мбит/с в сетях HDTV. Разрешение по параметрам видео 720х480,
720х 576, 544х576, 1280x720 (HDTV).
•MPEG-4. Переменная скорость - от 5 кбит/с до 10 Мбит/с.видео
был исходно разработан с целью достичь приемлемого качества для видео на
потоках 1.5 Мегабита/c и разрешении 352x240. Несмотря на то, что MPEG-1
применяется для кодирования с низким разрешением и низким bitrate’ом, стандарт
позволяет использовать любое разрешение до 4095x4095. Большинство реализаций разработаны
с учетом спецификации Constrained Parameter Bitstream.
В настоящее время MPEG-1 - наиболее совместимый формат в
семействе MPEG - он проигрывается практически на всех компьютерах с VCD/DVD
проигрывателями.
Самым крупным недостатком MPEG-1 видео является поддержка
только прогрессивной развертки. Этот недостаток в свое время помог более
быстрому признанию более универсального стандарта MPEG-2.- название группы
стандартов цифрового кодирования видео и аудио сигналов, одобренных ISO -
Международной Организацией по стандартизации/IEC Moving Picture Experts Group
(MPEG). Стандарт MPEG-2 в основном используется для кодирования видео и аудио
при вещании, включая спутниковое вещание и кабельное телевидение. MPEG-2 с
некоторыми модификациями также активно используется как стандарт для сжатия
DVD. Использование MPEG-2 требует уплаты лицензионных отчислений держателям
патентов через MPEG Licensing Association.
Сжатие видео. MPEG-2 используется для общего сжатия
движущихся изображений и звука и определяет формат видео-потока, который может
быть представлен как три типа кадра - независимо сжатые кадры (I-кадры), кадры,
сжатые с использованием предсказания движения в одном направлении (P-кадры) и
кадры, сжатые с использованием предсказания движения в двух направлениях
(B-кадры). Соответствующие группы кадров от одного I-кадра до другого образуют
GOP - Group Of Pictures - группу кадров.
Обычно используются потоки в 25 или 29,97 кадров в
секунду.поддерживает видео и в прогрессивной, и в чересстрочной развёртке.
Сжатие звука. MPEG-2 также определяет новые методы сжатия
звука:
сжатие на низких битрейтах с половинным сэмплированием
(MPEG-1 Layer 1/2/3 LSF)
многоканальное сжатие до 5.1 каналов
новый стандарт MPEG-2 AACразрабатывался группой MPEG как
стандарт кодирования аудио и видео для Телевидения высокой четкости
(High-definition television), имеющего скорость передачи данных в диапазоне от
20 до 40 Mбит/с. MPEG-3 начал разрабатываться приблизительно в то же время, что
и MPEG-2. Однако вскоре выяснилось, что те же задачи может выполнять немного
модифицированная версия стандарта MPEG-2. Вскоре после этого работа по
стандарту MPEG-3 была прекращена.- это международный стандарт, используемый
преимущественно для сжатия цифрового аудио и видео. Он появился в 1998 году, и
включает в себя группу стандартов сжатия аудио и видео и смежные технологии,
одобренные ISO - Международной организацией по стандартизации/IEC Moving
Picture Experts Group (MPEG). Стандарт MPEG-4 в основном используется для
вещания (потоковое видео), записи фильмов на компакт-диски, видеотелефонии
(видеотелефон) и широковещания, в которых активно используется сжатие цифровых
видео и звука.включает в себя многие функции MPEG-1, MPEG-2 и других подобных
стандартов, добавляя такие функции как поддержка языка виртуальной разметки
VRML для показа 3D объектов, объектно-ориентированные файлы, поддержка
управления правами и разные типы интерактивного медиа. AAC (Advanced Audio
Codec - или Улучшенный Аудио Кодек) был стандартизован как дополнение к MPEG-2
(часть 7), был также расширен и включен в MPEG-4.всё ещё находится на стадии
разработки и делится на несколько частей. Ключевыми частями стандарта MPEG-4
являются часть 2 (MPEG-4 part 2, включая Advanced Simple Profile, используемый
такими кодеками как DivX, Xvid, Nero Digital и 3ivx, а также Quicktime 6) и
часть 10 (MPEG-4 part 10/MPEG-4 AVC/H.264 или Advanced Video Coding,
используемый такими кодеками как x264, Nero Digital AVC, Quicktime 7, а также
используемый в форматах DVD следующего поколения, таких как HD DVD и Blu-ray
Disc).предоставляет комплект технологий для разработчиков, для различных
поставщиков услуг и для конечных пользователей.позволяет различным
разработчикам создавать объекты услуг и технологий, например цифровое
телевидение и мультипликация, WWW и их расширения, обладающих лучшей
адаптивностью и гибкостью при улучшении качества. Этот стандарт позволяет
разработчикам более эффективно управлять контентом и более эффективно бороться
против пиратства.
Различные сетевые провайдеры могут использовать MPEG-4 для
обеспечения прозрачности данных. С помощью стандартных процедур любые данные
могут быть интерпретированы и преобразованы в различные сигналы, которые можно
передать по любой существующей сети.
Формат MPEG-4 предоставляет конечным пользователям широкий спектр
возможностей, позволяющих взаимодействовать с различными анимированными
объектами.
Формат MPEG-4 может позволить выполнять различные функции,
среди которых следующие:
Аудио потоки, видео и аудиовизуальные данные могут быть как
естественными, так и искусственно созданными. Это означает, что они могут быть
как записаны на видеокамеру или микрофон, так и созданы с помощью компьютера и
специального программного обеспечения.
Мультиплексирование и синхронизация данных, связанных с
медийным объектом, в том смысле, что они могут быть переданы через сетевые
каналы.
Взаимодействие с аудио-визуальной сценой, которая формируется
на стороне приемника.
1.3
Требования различных типов приложений к качеству обслуживания
Для того, чтобы обеспечить гарантированное качество речевой связи, сеть
должна быть конфигурируема и управляема таким образом, чтобы обеспечивать
минимальную задержку и джиттер.
При передачи сообщений по сетям передачи данных с пакетной коммутацией
нередко случаются потери отдельных пакетов. Это явление возникает вследствие
искажения пакетов в канале связи, а также при применении схем удаления джиттера
приемного буфера. При передаче данных эта проблема легко решается
соответствующими протоколами, но в случае передачи речи эти протоколы могут
быть неприменимы из-за вносимых ими задержек.
Для того чтобы привести все нежелательные факторы, возникающие при
передачи речи по сетям с пакетной коммутацией, в соответствие с допустимыми
нормами необходимо придерживаться ряда мер по обеспечению гарантированного качества
услуг (Quality of Service, QoS).[4]
Обеспечить гарантированное качество услуг - значит распределить
внутренние сетевые ресурсы коммутаторов и маршрутизаторов таким образом, чтобы
данные могли передаваться точно по назначению, быстро, стабильно и надежно.
Существует не слишком много способов обеспечения QoS. Самый простой из них -
увеличение полосы пропускания сети. Можно использовать и такие приемы, как
задание приоритетов данных, организация очередей, предотвращение перегрузок и
формирование трафика. Управление сетью по заданным правилам в перспективе
должно объединить все эти способы в единую автоматизированную систему, которая
будет гарантировать качество услуг абсолютно на всех участках сети.
Для обеспечения качественной передачи речевых сигналов в IP-телефонии
необходима их следующая обработка:
. Устранение всех нежелательных компонентов из входного аудиосигнала.
После оцифровки речи необходимо удалить эхо из динамика в микрофон, комнатное
эхо и непрерывный фоновый шум (например, от работающего вентилятора), а также
отфильтровать шумы переменного тока на низких частотах звукового спектра.
Эффективное эхоподавление и уменьшение шумов абсолютно необходимо в любой
конфигурации с "открытым микрофоном" и с громкоговорителем на базе
персонального компьютера (ПК) для традиционной и IP-телефонии. Эти функции всё
в большей мере реализуются аудиокомпонентами ПК, так что сама система
IP-телефонии может их и не иметь. Шлюзам IP-телефонии требуется выполнять
меньший объём предварительной обработки, нежели конечным решениям, потому что
УАТС и телефонная сеть обеспечивают фильтрацию и уменьшение шумов.
. Подавление пауз в речи; распознавание остаточного фонового шума
(внешних шумов) и кодирование для восстановления на дальнем конце; то же самое
для опознаваемых сигналов. Паузы лучше всего подавлять на ближнем конце. Для
сохранения окружающих звуков необходимо смоделировать фоновые шумы, чтобы
система на дальнем конце могла восстановить их для слушателя. Сигналы
многочастотного набора номера DTMF и другие сигналы можно заменить на короткие
коды для восстановления на дальнем конце (или для непосредственной обработки).
Возможные проблемы: из-за того, что функция подавления пауз активизируется,
когда громкость речи становится ниже определённого порога, некоторые системы обрезают
начало и конец слов, то есть в периоды нарастания и снижения энергии речи.
. Сжатие голосовых данных. Сжать оцифрованный голос можно разными
способами. В идеале решения, используемые для IP-телефонии, должны быть
достаточно быстрыми для выполнения на недорогих цифровых сигнальных процессорах
DSP, сохранять качество речи и давать на выходе небольшие массивы данных.
. "Нарезание" сжатых голосовых данных на короткие сегменты
равной длины, их нумерация по порядку, добавление заголовков пакетов и передача.
Хотя стек протоколов TCP/IP поддерживает пакеты переменной длины, их
использование затрудняет достижение устойчивой и предсказуемой межсетевой
маршрутизации в голосовых приложениях. Маршрутизаторы быстро обрабатывают
небольшие пакеты и рассматривают обычно все передаваемые по одному и тому же
IP-адресу пакеты одного размера одинаковым образом. В результате пакеты
проходят по одному маршруту, поэтому их не надо переупорядочивать.
. Приём и переупорядочивание пакетов в адаптивном "буфере
ресинхронизации" для обеспечения интеллектуальной обработки потерь или
задержек пакетов. Главной целью на данном этапе является преодоление влияния
переменной задержки между пакетами. Решение этой проблемы состоит в буферизации
достаточного числа поступающих пакетов (при отложенном их воспроизведении) с
тем, чтобы воспроизведение было непрерывным, даже если время между поступлением
пакетов сильно разнится. Лучшие продукты для IP-телефонии моделируют
производительность сети и регулируют размер буфера ресинхронизации соответствующим
образом - уменьшая его (сокращая задержку перед воспроизведением), когда сеть
ведёт себя предсказуемым образом, и увеличивая в противоположной ситуации.
Таблица 2 - Классы качества услуг IP-телефонии
|
Класс качеств услуги передачи речи
|
Отличная
|
Хорошая
|
Норма
|
Низкая
|
|
Качество голоса в одном направлении
|
Не хуже, чем по G.711
|
Не хуже, чем по G.726 для V=32 Кбит/с
|
Не хуже, чем по GSM-FR
|
-
|
|
Сквозная задержка
|
<150 мс
|
<250 мс
|
<450 мс
|
>450 мс
|
|
Время установ-ления соединения
|
Прямая IP-адресация
|
<1,5 сек
|
<4 сек
|
<7 сек
|
|
|
Перевод E.164
в IP-адрес
|
<2 сек
|
<5 сек
|
<10 сек
|
|
|
Перевод E.164
в IP-адрес через расчётную организацию
|
<3 сек
|
<6 сек
|
<15 сек
|
|
|
Перевод e-mail в IP-адрес
|
<4 сек
|
<13 сек
|
<25 сек
|
|
|
Коэффициент потерь пакетов IP
|
0%
|
3%
|
15%
|
25%
|
|
Пиковое дрожание фазы (джиттер)
|
0 мс
|
75 мс
|
125 мс
|
225 мс
|
Количественными характеристиками ухудшения качества речи являются единицы
QDU (Quantization Distortion Units): 1 QDU соответствует ухудшению качества при
оцифровке с использованием стандартной процедуры ИКМ; значения QDU для основных
методов компрессии приведены в таблице 3.
Таблица 3 - Единицы ухудшения качества речи QDU для различных методов
компрессии
|
Метод компрессии
|
QDU
|
|
ADPCM 32 кбит/с
|
3,5
|
|
ADPCM 24 кбит/с
|
7
|
|
LD-CELP 16 кбит/с
|
3,5
|
|
CS-CELP 8 кбит/с
|
3,5
|
Факторы, влияющие на качество речи, передаваемой по сетям передачи данных
с пакетной коммутацией
Передача телефонного трафика по сетям с пакетной коммутацией сопряжена с
определенными трудностями, которые вытекают из естественных особенностей
телефонного разговора.
Основное нежелательное явление - задержка передачи речевого сигнала от
одного абонента другому. Задержка вызывает два нежелательных явления - эхо и
наложение речи.
Под эхом понимается физический процесс отражения звуковых сигналов,
поступающих на дифсистему, осуществляющую согласование 4-проводного и
2-проводного каналов. Отраженные таким образом сигналы поступают обратно к
говорящему абоненту и ухудшают разборчивость принимаемой речи.
Эхо становится существенной проблемой, если задержка распространения звукового
сигнала от источника к приемнику и обратно становится большей 50 мс. В сетях с
пакетной коммутацией такая задержка почти всегда выше 50 мс, и в связи с этим
должен быть предусмотрен механизм устранения эха.
Наложение речи - процесс, при котором речь одного говорящего
прослушивается в телефоне другого в тот момент, когда он ведет активный
разговор, в отличие от эха, когда абонент прослушивает собственный голос.
Согласно рекомендации ITU-T G.114 данная проблема становится существенной, если
односторонняя задержка становится большей 150 миллисекунд.
Общая задержка в сети является величиной, состоящей из следующих
компонентов:
а) Задержка накопления. Эта задержка вызвана необходимостью подготовки
кадра из последовательности речевых отсчетов, который будет обрабатываться
вокодером. Величина данной задержки будет равна размеру (длительности) кадра
выбранного типа вокодера. Время подготовки одного речевого отсчета равно 125
мкс.
В таблице 4. приведены параметры задержки некоторых наиболее часто
встречающихся типов вокодеров.
Таблица 4- Задержка некоторых вокодеров
б) Задержка кодирования. Для того, чтобы не вносить дополнительную
задержку в результате собственно процесса кодирования, необходимо подобрать
ЦПОС такой производительности, чтобы задержка кодирования была меньше или по
крайней мере равна задержки накопления. Выбор ЦПОС можно сделать на основании
данных о сложности применяемого алгоритма кодирования. Эти данные приведены в
Табл.5. Производительность ЦПОС должна быть выше или равна указанных величин.
Таблица 5 - Показатели сложности
в) Задержка формирования пакетов. Эта задержка вызвана процессом
подготовки речевых пакетов (как информационных единиц протоколов). Например, в
одном пакете могут быть собраны три речевых кадра полученных в результате
преобразования G.729 (30 мс речи). Это приводит к тому, что задержка пакета
составит 30 мс, а не 10 мс, как если бы в нем передавался 1 кадр.
г) Сетевая задержка. Эта задержка возникает при передаче пакетов по сети
и зависит от используемых в сети каналов и протоколов передачи, а также
приемных буферов для удаления джиттера. Данная задержка может занимать
существенную часть общей задержки, и в некоторых сетях IP и Frame Relay составляет
70 - 100 мс и больше.
Классы QoS и соответствующие им приложения (рекомендация Y.1541):
Класс 0: Приложения реального времени, чувствительные к джиттеру,
характеризуемые высоким уровнем интерактивности (VoIP, видеоконференции)
Класс 1: Приложения реального времени, чувствительные к джиттеру,
интерактивные (VoIP, видеоконференции)
Класс 2: Транзакции данных, характеризуемые высоким уровнем
интерактивности (например, сигнализация)
Класс 3: Транзакции данных, интерактивные приложения
Класс 4: Приложения, допускающие низкий уровень потерь (короткие
транзакции, массивы данных, потоковое видео)
Класс 5: Традиционные применения сетей IP
Таблица 6 - Классы QoS
|
Сетевые характеристики
|
Классы QoS
|
|
0
|
1
|
2
|
3
|
4
|
5
|
|
Задержка доставки пакета IP, IPTD
|
100 мс
|
400 мс
|
100 мс
|
400 мс
|
1 с
|
Н
|
|
Вариация задержки пакета IP,IPDV
|
50 мс
|
50 мс
|
Н
|
Н
|
Н
|
Н
|
|
Коэффициент потери пакетов IP, IPLR
|
1х10-3
|
1х10-3
|
1х10-3
|
1х10-3
|
1х10-3
|
Н
|
|
Коэффициент ошибок пакетов IP, IPER
|
1х10-4
|
1х10-4
|
1х10-4
|
1х10-4
|
1х10-4
|
Н
|
Вопрос обеспечения качества услуг в IPTV на данный момент очень актуален.
Для нормальной работы услуг IPTV критично важно, чтобы в сетях доступа не
случалось обрывов связи и снижений скорости. В таких случаях важную роль играют
наличие в оборудовании инструментов, повышающих качество связи в медных линиях
низкого качества.
Таблица.7 - Показатели качества услуг
|
Класс QoS
|
Типы передаваемого трафика
|
Наименование показателя и норма
|
|
|
Средняя задержка передачи пакетов информации
|
Отклонение от среднего значения задержки передачи пакетов информации
|
Коэффициент потери пакетов информации
|
Коэффициент потери пакетов информации
|
|
1
|
Интерактивный
|
не более 100 мс
|
не более 50 мс
|
не более %
|
не более %
|
|
2
|
Интерактивный при использовании спутниковой линии связи
|
не более 400 мс
|
не более 50 мс
|
не более %
|
не более %
|
|
3
|
Сигнальный
|
не более 100 мс
|
-
|
не более %
|
не более %
|
|
4
|
Потоковый
|
не более 400 мс
|
не более 50 мс
|
не более %
|
не более %
|
|
5
|
Трафик передачи данных, за исключением интерактивного,
сигнального и потокового типа трафика
|
не более 1000 мс
|
-
|
не более %
|
не более %
|
|
6
|
Любой тип трафика с неопределенными требованиями к
показателям качества
|
-
|
-
|
-
|
-
|
- это новый показатель степени удовлетворения пользователя
предоставляемыми услугами. Для IPTV QoE определяется в проекте рекомендации
G.IPTV - QoE. Метрика QoE используется не только для IPTV, но и для, например,
аудиоинформации. Метрика QoE регламентируется в рекомендации P10/G100,
приложение 1 и в соответствии с этой рекомендацией определяется как глобальная
приемлемость приложений или услуг, субъективно воспринимаемая оконечным
пользователем.
Объективно для оценки качества IPTV так же, как и аудио, речи и т.д.,
недостаточно только метрики QoS. Метрику QoE необходимо вводить при внедрении
IPTV, стандартизовать и научиться оценивать. Метрика QoE достаточно нова,
поэтому проблемы ее стандартизации и применения на сетях связи проанализируем
далее на основе проекта рекомендации G.IPTV - QoE МСЭ-Т.
Особенности QoE при предоставлении услуги IPTV
При предоставлении услуги IPTV из объективно определяемых показателей
наибольшее влияние на качество телевизионного изображения оказывает джиттер.
Принципиально важными характеристиками для оценки QoE при предоставлении услуг
IPTV являются также потери пакетов. Но потери пакетов не в классическом
понимании как для передачи речи, а коэффициент потери пакетов и частота этих
случаев. Кроме того, при предоставлении услуг IPTV для определения QoE
необходимо учитывать множественность стандартов по представлению видеоуслуг и,
соответственно, адекватность типа терминала предоставляемым услугам. Помимо
собственно восприятия телевизионных изображений при предоставлении услуг IPTV
достаточно важную роль играют и такие характеристики как качество услуги по
перемотке в условиях видео по запросу (VoD - Video on Demand), возможности по
переключению телевизионных каналов и т.д.
Поскольку услуга IPTV требует, как правило, больших скоростей для
передачи телевизионного изображения достаточно много внимания уделяется методам
компрессии изображения, что также может оказывать существенное влияние на QoE.
С точки зрения передачи информации для видеоуслуг основными проблемами
является задержка из конца в конец и джиттер. Обе они, однако, достаточно
хорошо решаются техническими средствами IPTV (с помощью деджиттеризации в
буфере STB). Заметим, что при этом джиттер в сети должен быть меньше, чем
размер буфера деджиттеризации. Размер буфера деджиттеризации, как правило,
относительно мал и, вследствие этого, пакеты с превышающим размер буфера
джиттером будут относиться к потерянным.
Основными факторами, влияющими на QoE при компрессии, являются:
1) качество видео от источника информации, провайдера видеоконтента (по
принципу "входящий мусор = исходящему мусору");
) качество разрешающий способности, например, в стандартном телевидении
(SDTV - Standart Definition TV) разрешающая способность может быть понижена до
половины или трехчетвертей от полной при обеспечении менее четкого кадра на
экране;
) скорость передачи в битах;
) структура группы кадров (GOP - Group of Pictures), которая может
ухудшать QoE вследствие того, что короткие кадры требуют максимального
коэффициента компрессии, а длинные кадры увеличивают занятия канала и
вероятность потери пакетов.
Таблица 8 - Минимально рекомендуемые скорости для видеопотоков на уровне
приложений (SDTV)
|
Стандарт
|
Минимально рекомендуемая скорость
|
|
MPEG-2
|
2.5 Mб/c, CBR
|
|
MPEG-4 AVC
|
1.75 Mб/c CBR
|
|
SMPTE VC-1
|
1.75 Mб/c
|
|
AVS
|
1.75 Mб/c CBR
|
Таблица 9 - Минимально рекомендуемые скорости для аудио сопровождения на
уровне приложений (SDTV)
|
Стандарт
|
Минимально рекомендуемая скорость
|
|
MPEG
|
128 кб/c (для стерео)
|
|
Dolby Digital AC-3 AAC
|
128 кб/c
(для стерео), 384 кб/c
при передаче в полосе до 5-1 Кгц 96 кб/c
(для стерео)
|
128 кб/c (для стерео)
|
При использовании формата стандартно определенного телевидения при
предоставлении услуги видео по запросу (VoD) требования пользователей несколько
выше, чем при широковещательных услугах SDTV, что объясняется в первую очередь
дополнительной платой за контент и, как следствие, более высокими ожиданиями по
уровню качества (QoE) со стороны пользователей.
Далее перейдем к рассмотрению требований по задержкам, джиттеру и потерям
для удовлетворения требований по QoE при различных скоростях передачи
видеопотоков на транспортном уровне (там, где и происходят задержки и потери
пакетов) отдельно для MPEG-2, MPEG-4 AVC в совокупности с VC-1 и AVS, HDTV.
Очевиден тот факт, что MPEG-4 AVC объединены с VC-1 и AVS вследствие одинаковых
параметров для минимально рекомендуемых скоростей передачи видеопотоков.[5]
Таблица 10 - Рекомендуемые минимальные значения параметров для
транспортного уровня для обеспечения удовлетворительного QoE для MPEG-2 при
предоставлении услуг SDTV
|
Скорость видеопотока на транспортном уровне
|
Задержка
|
Джиттер
|
Минимальная длительность простой ошибки
|
Число пакетов подряд, для которых существуют потери
|
Число периодов потерь в течение времени
|
Коэффициент потерь для средней скорости передачи
видеопотока
|
|
3.0
|
<200мс
|
<50мс
|
≤16мс
|
6
|
1 в течение часа
|
5.85*10-6
|
|
3.75
|
<200мс
|
<50мс
|
≤16мс
|
7
|
1 в течение часа
|
5.46*10-6
|
|
5.0
|
<200мс
|
<50мс
|
≤16мс
|
9
|
1 в течение часа
|
5.26*10-6
|
Для тех же условий в таблице 11 приведены минимальные значения параметров
для MPEG-4 AVC, VC-1 и AVS для услуг SDTV.
Таблица 11 - Рекомендуемые минимальные значения параметров для
транспортного уровня для обеспечения удовлетворительного QoE для MPEG-4 AVC,
VC-1 и AVS при предоставлении услуг SDTV
|
Скорость видеопотока на транспортном уровне
|
Задержка
|
Джиттер
|
Минимальная длительность простой ошибки
|
Число пакетов подряд, для которых существуют потери
|
Число периодов потерь в течение времени
|
Коэффициент потерь для средней скорости передачи
видеопотока
|
|
1.75
|
<200мс
|
<50мс
|
≤16мс
|
4
|
1 в течение часа
|
6.86*10-6
|
|
2.0
|
<200мс
|
<50мс
|
≤16мс
|
5
|
1 в течение часа
|
7.31*10-6
|
|
2.5
|
<200мс
|
<50мс
|
≤16мс
|
5
|
1 в течение часа
|
5.85*10-6
|
|
3.0
|
<200мс
|
<50мс
|
≤16мс
|
6
|
1 в течение часа
|
5.85*10-6
|
1.4
Технология абонентского доступа хPON
PON (пассивные оптические сети) - это семейство быстро
развивающихся, перспективных технологий широкополосного мультисервисного
доступа по оптическому волокну. Суть технологии PON вытекает из ее названия и
состоит в том, что ее распределительная сеть строится без использования
активных компонентов: разветвление оптического сигнала в одноволоконной
оптической линии связи осуществляется с помощью пассивных разветвителей
оптической мощности - сплиттеров.
Индекс "х" подразумевает под собой технологии GPON,
GePON и так далее.
Основные отличия GPON от GEPON заключаются в большей полосе
нисходящего потока (DownStream, DS) у GPON: 2.5G против 1.25G у GEPON. А также,
отличающейся структурой кадров: в GEPON она максимально похожа на Ethernet, а у
GPON более сложная, и больше напоминает SDH. Есть еще одна разновидность PON:
TurboGEPON. Это нестандартизованная технология (в её основе лежит IEEE
802.3ah). Основное отличие от GEPON - увеличенная полоса DS до 2.5G. В GEPON
пакеты Ethernet передаются в своем исходном формате по сети PON. В сети GPON
для передачи данных требуется два уровня инкапсуляции. Во-первых,
информационные потоки телефонных сетей (TDM, E1/T1) и Ethernet-кадры
"упаковываются" в кадры GEM (GTC Encapsulation Method) с переменной
длиной полезной нагрузки, которые имеют GFP-подобный формат (Generic Frame
Procedure, ITU-T G.7401). Во-вторых, ячейки ATM и кадры GEM совместно инкапсулируются
в кадры GTC, которые в итоге передаются по сети PON. В технологии GEM
осуществляется фрагментация кадров, которая отсутствует в технологии GEPON, что
уменьшает эффективность использования полосы пропускания.
Особенности построения оптической сети абонентского доступа
Принципы проектирования и строительства оптической сети
абонентского доступа имеют схожие черты с построением абонентской сети на
кабеле с медными жилами.
Учитывая недостаточный уровень проработанности нормативной
базы, регламентирующей вопросы построения абонентской сети на базе новой
технологии с применением оптического кабеля, следует максимально использовать
существующие наработки построения аналогичной сети на кабеле с медными жилами.
Основными особенностями построения абонентского доступа на
оптическом кабеле и при использовании технологии PON являются:
1. необходимость аккуратного обращения с
волокном при работе с ним;
2. наличие требований к специальной
профессиональной подготовке специалистов службы эксплуатации, касающейся вопросов
прокладки, укладки, ремонта оптических кабелей как непосредственно на линии
связи (в кабельных колодцах, на опорах ВЛС), так и на различных
распределительных устройствах;
3. необходимость разработки особого
механизма проведения аварийно-восстановительных и профилактических работ,
методики измерений, ведения паспортизации и технического учета;
4. использование специального подхода к
применению и размещению распределительных устройств в жилых домах;
5. требования к наличию особых навыков
расчетов емкостей кабелей и параметров затуханий, оптимального распределения
оптических разветвителей и их размещения в распределительных устройствах.
Вместе с тем, принципы системного подхода при построении
магистральных и распределительных участков оптической сети должны оставаться
неизменными и включать учет концентрации и перспективы развития жилых
кварталов, оптимальной привязки к АТС, особенностей существующих трасс
кабельной канализации (или ВЛС), применения различных методов резервирования
сети.
2. РАСЧЕТ СЕТЕВЫХ
ПАРАМЕТРОВ ПРОЕКТИРУЕМОЙ СЕТИ
2.1
Математическая модель расчета сетевых параметров
Проектирование IP-сети
подразумевает расчет основных характеристик элементов сети. К этим
характеристикам относятся:
1. Загрузка i-го канала
характеризует степень загруженности канала связи:
, (1)
где ρi - загрузка i-го канала;
li - интенсивность входящего потока в i-й канал, пакет/с;
μi - интенсивность обслуживания i-м каналом, пакет/с.
Интенсивность входящего потока в i-й канал находится из матрицы информационного тяготения (g jk ) и равна:
(2)
где g jk - интенсивность потока, подлежащего передаче между j-м и k-м коммутаторами (элемент матрицы информационного тяготения).
Интенсивность обслуживания i-м
каналом находится по формуле:
(3)
где Сi -
пропускная способность канала, бит/с;
V -
размер пакета, бит.
2. Задержка пакета в канале связи (канальная задержка):
(4)
где Ti - задержка в i-м канале связи, c.
. Среднесетевая задержка пакета:
(5)
,
где L -
суммарный внешний трафик (или сумма всех элементов матрицы тяготения), пакет/с;
αi - вспомогательный весовой
коэффициент для i-го канала,
показывающий "вклад" i-го
канала в среднесетевую задержку.
. Сквозная задержка (задержка "из конца в конец" или end-to-end). Сквозная
задержка Тend-to-end на отдельном маршруте представляет
собой сумму канальных задержек Ti всех каналов, входящих в рассматриваемый маршрут, а также среднего
времени обработки пакета в оконечных TSP и транзитных TSTP коммутаторах:
(6)
где π - число транзитных коммутаторов, входящих в рассматриваемое
соединение.
Для обеспечения заданного качества обслуживания сквозная задержка
речевого пакета для любого маршрута не должна превышать 0,15 сек.
5. Вероятность своевременной доставки пакета. Это вероятность
того, что речевой пакет будет доставлен до получателя за время, не превышающее
заданное (допустимое) время, для данного типа трафика:
(7)
где tз - заданное время доставки пакета через всю сеть;
- либо канальная задержка, либо задержка на маршруте, либо
среднесетевая задержка.
2.2 Расчет матрицы информационного тяготения
Используем следующий алгоритм расчета матрицы информационного тяготения:
1) задается прогнозируемое число коммутаторов n;
) задается число IP абонентов для зоны обслуживания
каждого коммутатора (таблица 7);
) задается удельная абонентская нагрузка, равная
0,0556 Эрл;
) умножением числа IP абонентов (по всем зонам) на
удельную абонентскую нагрузку находится суммарный внешний трафик;
) суммарный внешний трафик пересчитывается в
пакетизированный трафик путем умножения трафика в Эрл на скорость работы кодека
речепреобразующего устройства РПУ (паузы не учитываются, т. к. они не
кодируются). Далее полученный результат делится на объем пакета и находится
интенсивность суммарного входящего потока.
6) далее алгоритм расщепляет суммарный входящий поток
"пакет/с" по направлениям связи с учетом неравномерности распределения
абонентов по зонам обслуживания коммутаторов. Итогом работы является матрица
тяготения - квадратная таблица размерности 12 x 12, где 12 - исходное число
коммутаторов. Сумма элементов матрицы должна быть равна суммарному входящему
потоку.
Выполняем расчеты для сети емкостью абонентов, в которой:
- число маршрутизаторов n=12;
- заданная скорость кодека VoIP -32 кбит/с;
- скорость кодека IPTV MPEG-4 - 10
Мбит/с.
Исходные и промежуточные данные сведем в таблицу 12.
Таблица 12 - Исходные и промежуточные данные
|
Наименование показателя
|
Единица измерения
|
Значение показателя
|
|
Число коммутаторов
|
|
8
|
|
Средняя длительность разговора
|
секунд
|
100
|
|
Интенсивность вызовов (в час от абонента)
|
|
2
|
|
Удельная исходящая абонентская нагрузка
|
Эрл.
|
0,055
|
|
Суммарная входящая абонентская нагрузка
|
Эрл.
|
1760
|
|
Объем пакета (кадра)
|
байт
|
592
|
|
Скорость работы РПУ
|
бит/с
|
32000
|
|
Средняя длительность фонемы
|
секунд
|
1,34
|
|
Средняя длительность паузы
|
секунд
|
1,67
|
|
Среднее число активных периодов в разговоре
|
|
16
|
|
Суммарный внешний трафик
|
пакетов/с
|
14400,6
|
.
В нашем курсовом проекте количество маршрутизаторов равно 8.
Таблица
13 - Распределение
абонентов
|
Номер коммутатора
|
Число абонентов
|
Всего абонентов
|
|
1
|
1900
|
32 000
|
|
2
|
1900
|
|
|
3
|
3900
|
|
|
4
|
4900
|
|
|
5
|
4200
|
|
|
6
|
5900
|
|
|
7
|
4900
|
|
|
8
|
4400
|
|
Итогом работы является МИТ размером 8*8 (n - исходное заданное число коммутаторов), которая
представлена в листинге для большей точности в трех разных форматах (получаем
три таблицы указанного вида). Сумма элементов матрицы должна быть равна
суммарному входящему потоку.
Суммируя элементы матрицы, получим суммарный внешний трафик равный
14400,6 пакет/с, значение которого соответствует исходному.
Таблица 14 - Матрица информационного тяготения для IP-телефонии
|
Номер маршрутизатора
|
М1
|
М2
|
М3
|
М4
|
М5
|
М6
|
М7
|
М8
|
|
М1
|
50,8
|
50,8
|
104,2
|
130,9
|
112,2
|
157,6
|
130,9
|
117,6
|
|
М2
|
50,8
|
50,8
|
104,2
|
130,9
|
112,2
|
157,6
|
130,9
|
117,6
|
|
М3
|
104,2
|
104,2
|
213,9
|
268,7
|
230,4
|
323,6
|
268,7
|
241,3
|
|
М4
|
130,9
|
130,9
|
268,7
|
337,7
|
289,4
|
406,6
|
337,7
|
303,2
|
|
М5
|
112,2
|
112,2
|
230,4
|
289,4
|
248,1
|
348,5
|
289,4
|
259,9
|
|
М6
|
157,6
|
157,6
|
323,6
|
406,6
|
348,5
|
489,5
|
406,6
|
365,1
|
|
М7
|
130,9
|
130,9
|
268,7
|
337,7
|
289,4
|
406,6
|
337,7
|
303,2
|
|
М8
|
117,6
|
117,6
|
0241,3
|
303,2
|
259,9
|
365,1
|
303,2
|
272,3
|
2.3 Расчет канального ресурса проектируемой сети
Для расчета пропускной способности каналов связи проектируемой сети
используется программа DimKP,
в основе которой лежит следующий алгоритм:
- задается число абонентов и скорость работы кодека. Другие
параметры задаются аналогично программе расчета МИТ и вычисляются данной
программой автоматически.
- производится умножение числа абонентов на удельную
абонентскую нагрузку и скорость работы кодека (РПУ), а затем делением на объем
пакета находится интенсивность входящего потока в измерении
"пакет/с".
- далее алгоритм выводит результаты расчета для нескольких
вариантов загрузки.
Для хорошего качества доставки во внимание принимаются следующие нормы:
- задержка пакета не должна превышать 10мс (VoIP), 150мс (IPTV)
- вероятность потери пакета не должна превышать 3% (VoIP), 1% (IPTV)
Значения сетевых параметров получаем, вводя в программу значение
интенсивности входящей нагрузки (из МИТ) для каждого маршрутизатора в
направлении других маршрутизаторов. Полученные результаты оформим в виде
таблиц, приведенных ниже, где:
С - скорость (пропускная способность), бит/с;
ρ - загрузка;
tзад - задержка;
Рсд - вероятность своевременной доставки;
Рп - вероятность потерь.
Рассчитаем сетевые параметры для пользователей VoIP. При этом во внимание принимаются заданные нормы для
хорошего качества доставки:
а) задержка пакета не должна превышать 0.01 с (или 10 мс);
б) вероятность потери пакета не должна превышать 3 %.
Таблица 15 - Cетевые параметры
для маршрутизатора М1 по всем направлениям связи
|
Направление связи
|
С, бит/с
|
ρ
|
tзад
|
Рсд
|
Рп
|
|
М1-М2
|
1202944
|
0,2
|
0,004921
|
0,989359
|
0,031985
|
|
601472
|
0,4
|
0,013123
|
0,957438
|
0,127939
|
|
400981
|
0,6
|
0,029528
|
0,904235
|
0,287862
|
|
300736
|
0,8
|
0,078740
|
0,829751
|
0,511754
|
|
М1-М3
|
2467456
|
0,2
|
0,002399
|
0,994812
|
0,005188
|
|
1233728
|
0,4
|
0,006398
|
0,979250
|
0,020750
|
|
822485
|
0,6
|
0,014395
|
0,953312
|
0,046688
|
|
616864
|
0,8
|
0,038388
|
0,917000
|
0,083000
|
|
М1-М4
|
3099712
|
0,2
|
0,001910
|
0,995871
|
0,004129
|
|
1549856
|
0,4
|
0,005093
|
0,983482
|
0,016518
|
|
1033237
|
0,6
|
0,011459
|
0,962835
|
0,037165
|
|
774928
|
0,8
|
0,030558
|
0,066071
|
|
М1-М5
|
2656896
|
0,2
|
0,002228
|
0,995182
|
0,004818
|
|
1328448
|
0,4
|
0,005942
|
0,980729
|
0,019271
|
|
885632
|
0,6
|
0,013369
|
0,956641
|
0,043359
|
|
664224
|
0,8
|
0,035651
|
0,922918
|
0,077082
|
|
М1-М6
|
3731968
|
0,2
|
0,001586
|
0,996570
|
0,003430
|
|
1865984
|
0,4
|
0,004230
|
0,986281
|
0,013719
|
|
1243989
|
0,6
|
0,009518
|
0,969132
|
0,030868
|
|
932992
|
0,8
|
0,025381
|
0,945123
|
0,054877
|
|
М1-М7
|
3099712
|
0,2
|
0,001910
|
0,995871
|
0,004129
|
|
1549856
|
0,4
|
0,005093
|
0,983482
|
0,016518
|
|
1033237
|
0,6
|
0,011459
|
0,962835
|
0,037165
|
|
774928
|
0,8
|
0,030558
|
0,933929
|
0,066071
|
|
М1-М8
|
2784768
|
0,2
|
0,002126
|
0,995404
|
0,004596
|
|
1392384
|
0,4
|
0,005669
|
0,981614
|
0,018386
|
|
928256
|
0,6
|
0,012755
|
0,958632
|
0,041368
|
|
696192
|
0,8
|
0,034014
|
0,926457
|
0,073543
|
Таблица 16 - Cетевые параметры
для маршрутизатора М2 по всем направлениям связи
|
Направление связи
|
С, бит/с
|
ρ
|
tзад
|
Рсд
|
Рп
|
|
M2-M1
|
1202944
|
0,2
|
0,004921
|
0,989359
|
0,031985
|
|
601472
|
0,4
|
0,013123
|
0,957438
|
0,127939
|
|
400981
|
0,6
|
0,029528
|
0,904235
|
0,287862
|
|
300736
|
0,8
|
0,078740
|
0,829751
|
0,511754
|
|
М2-М3
|
2467456
|
0,2
|
0,002399
|
0,994812
|
0,005188
|
|
1233728
|
0,4
|
0,006398
|
0,979250
|
0,020750
|
|
822485
|
0,6
|
0,014395
|
0,953312
|
0,046688
|
|
616864
|
0,8
|
0,038388
|
0,917000
|
0,083000
|
|
М2-М4
|
3099712
|
0,2
|
0,001910
|
0,995871
|
0,004129
|
|
1549856
|
0,4
|
0,005093
|
0,983482
|
0,016518
|
|
1033237
|
0,6
|
0,011459
|
0,962835
|
0,037165
|
|
774928
|
0,8
|
0,030558
|
0,933929
|
0,066071
|
|
М2-М5
|
2656896
|
0,2
|
0,002228
|
0,995182
|
0,004818
|
|
1328448
|
0,4
|
0,005942
|
0,980729
|
0,019271
|
|
885632
|
0,6
|
0,013369
|
0,956641
|
0,043359
|
|
664224
|
0,8
|
0,035651
|
0,922918
|
0,077082
|
|
М2-М6
|
3731968
|
0,2
|
0,001586
|
0,996570
|
0,003430
|
|
1865984
|
0,4
|
0,004230
|
0,986281
|
0,013719
|
|
1243989
|
0,6
|
0,009518
|
0,969132
|
0,030868
|
|
932992
|
0,8
|
0,025381
|
0,945123
|
0,054877
|
|
М2-М7
|
3099712
|
0,2
|
0,001910
|
0,995871
|
0,004129
|
|
1549856
|
0,4
|
0,005093
|
0,983482
|
0,016518
|
|
1033237
|
0,6
|
0,011459
|
0,962835
|
0,037165
|
|
774928
|
0,8
|
0,030558
|
0,933929
|
0,066071
|
|
М2-М8
|
2784768
|
0,2
|
0,002126
|
0,995404
|
0,004596
|
|
1392384
|
0,4
|
0,005669
|
0,981614
|
0,018386
|
|
928256
|
0,6
|
0,012755
|
0,958632
|
0,041368
|
|
696192
|
0,8
|
0,034014
|
0,926457
|
0,073543
|
Таблица 17 - Cетевые параметры
для маршрутизатора М3 по всем направлениям связи
|
Направление связи
|
С, бит/с
|
ρ
|
tзад
|
Рсд
|
Рп
|
|
М3-М1
|
2467456,00
|
0,2
|
0,002399
|
0,994812
|
0,005188
|
|
1233728,00
|
0,4
|
0,006398
|
0,979250
|
0,020750
|
|
822485,33
|
0,6
|
0,014395
|
0,953312
|
0,046688
|
|
616864,00
|
0,8
|
0,038388
|
0,917000
|
0,083000
|
|
М3-М2
|
2467456,00
|
0,2
|
0,002399
|
0,994812
|
0,005188
|
|
1233728,00
|
0,4
|
0,006398
|
0,979250
|
0,020750
|
|
822485,33
|
0,6
|
0,014395
|
0,953312
|
0,046688
|
|
616864,00
|
0,8
|
0,038388
|
0,917000
|
0,083000
|
|
М3-М4
|
6362816,00
|
0,2
|
0,000930
|
0,997988
|
0,002012
|
|
3181408,00
|
0,4
|
0,002481
|
0,991953
|
0,008047
|
|
2120938,67
|
0,6
|
0,005582
|
0,981895
|
0,018105
|
|
1590704,00
|
0,8
|
0,014886
|
0,967813
|
0,032187
|
|
М3-М5
|
5455872,00
|
0,2
|
0,001085
|
0,997654
|
0,002346
|
|
2727936,00
|
0,4
|
0,002894
|
0,990616
|
0,009384
|
|
1818624,00
|
0,6
|
0,006510
|
0,978885
|
0,021115
|
|
1363968,00
|
0,8
|
0,017361
|
0,962462
|
0,037538
|
|
М3-М6
|
7662848,00
|
0,2
|
0,000773
|
0,998330
|
0,001670
|
|
3831424,00
|
0,4
|
0,002060
|
0,993318
|
0,006682
|
|
2554282,67
|
0,6
|
0,004635
|
0,984966
|
0,015034
|
|
1915712,00
|
0,8
|
0,012361
|
0,973274
|
|
М3-М7
|
6362816,00
|
0,2
|
0,000930
|
0,997988
|
0,002012
|
|
3181408,00
|
0,4
|
0,002481
|
0,991953
|
0,008047
|
|
2120938,67
|
0,6
|
0,005582
|
0,981895
|
0,018105
|
|
1590704,00
|
0,8
|
0,014886
|
0,967813
|
0,032187
|
|
М3-М8
|
5713984,00
|
0,2
|
0,001036
|
0,997760
|
0,002240
|
|
2856992,00
|
0,4
|
0,002763
|
0,991040
|
0,008960
|
|
1904661,33
|
0,6
|
0,006216
|
0,979839
|
0,020161
|
|
1428496,00
|
0,8
|
0,016577
|
0,964158
|
0,035842
|
Таблица 18 - Cетевые параметры
для маршрутизатора М4 по всем направлениям связи
|
Направление связи
|
С, бит/с
|
ρ
|
tзад
|
Рсд
|
Рп
|
|
М4-М1
|
3099712,00
|
0,2
|
0,001910
|
0,995871
|
0,004129
|
|
1549856,00
|
0,4
|
0,005093
|
0,983482
|
0,016518
|
|
1033237,33
|
0,6
|
0,011459
|
0,962835
|
0,037165
|
|
774928,00
|
0,8
|
0,030558
|
0,933929
|
0,066071
|
|
М4-М2
|
3099712,00
|
0,2
|
0,001910
|
0,995871
|
0,004129
|
|
1549856,00
|
0,4
|
0,005093
|
0,983482
|
0,016518
|
|
1033237,33
|
0,6
|
0,011459
|
0,962835
|
0,037165
|
|
774928,00
|
0,8
|
0,030558
|
0,933929
|
0,066071
|
|
М4-М3
|
6362816,00
|
0,2
|
0,000930
|
0,997988
|
0,002012
|
|
3181408,00
|
0,4
|
0,002481
|
0,991953
|
0,008047
|
|
2120938,67
|
0,6
|
0,005582
|
0,981895
|
0,018105
|
|
1590704,00
|
0,8
|
0,014886
|
0,967813
|
0,032187
|
|
М4-М5
|
6852992,00
|
0,2
|
0,000864
|
0,998132
|
0,001868
|
|
3426496,00
|
0,4
|
0,002304
|
0,992529
|
0,007471
|
|
2284330,67
|
0,6
|
0,005183
|
0,983190
|
0,016810
|
|
1713248,00
|
0,8
|
0,013822
|
0,970115
|
0,029885
|
|
М4-М6
|
9628288,00
|
0,2
|
0,000615
|
0,998671
|
0,001329
|
|
4814144,00
|
0,4
|
0,001640
|
0,994682
|
0,005318
|
|
3209429,33
|
0,6
|
0,003689
|
0,988035
|
0,011965
|
|
2407072,00
|
0,8
|
0,009838
|
0,978729
|
0,021271
|
|
М4-М7
|
7996736,00
|
0,2
|
0,000740
|
0,998399
|
0,001601
|
|
3998368,00
|
0,4
|
0,001974
|
0,993597
|
0,006403
|
|
2665578,67
|
0,6
|
0,004442
|
0,985594
|
0,014406
|
|
1999184,00
|
0,8
|
0,011845
|
0,974390
|
0,025610
|
|
М4-М8
|
7179776,00
|
0,2
|
0,000825
|
0,998217
|
0,001783
|
|
3589888,00
|
0,4
|
0,002199
|
0,992869
|
0,007131
|
|
2393258,67
|
0,6
|
0,004947
|
0,983955
|
0,016045
|
|
1794944,00
|
0,8
|
0,013193
|
0,971475
|
0,028525
|
Таблица 19 - Cетевые параметры для маршрутизатора М5 по всем направлениям
связи
|
Направление связи
|
С, бит/с
|
ρ
|
tзад
|
Рсд
|
Рп
|
|
М5-М1
|
2656896,00
|
0,2
|
0,002228
|
0,995182
|
0,004818
|
|
1328448,00
|
0,4
|
0,005942
|
0,980729
|
0,019271
|
|
885632,00
|
0,6
|
0,013369
|
0,956641
|
0,043359
|
|
664224,00
|
0,8
|
0,035651
|
0,922918
|
0,077082
|
|
М5-М2
|
2656896,00
|
0,2
|
0,002228
|
0,995182
|
0,004818
|
|
1328448,00
|
0,4
|
0,005942
|
0,980729
|
0,019271
|
|
885632,00
|
0,6
|
0,013369
|
0,956641
|
0,043359
|
|
664224,00
|
0,8
|
0,035651
|
0,922918
|
0,077082
|
|
М5-М3
|
5455872,00
|
0,2
|
0,001085
|
0,997654
|
0,002346
|
|
2727936,00
|
0,4
|
0,002894
|
0,990616
|
0,009384
|
|
1818624,00
|
0,6
|
0,006510
|
0,978885
|
0,021115
|
|
1363968,00
|
0,8
|
0,017361
|
0,962462
|
0,037538
|
|
М5-М4
|
6852992,00
|
0,2
|
0,000864
|
0,998132
|
0,001868
|
|
3426496,00
|
0,4
|
0,002304
|
0,992529
|
0,007471
|
|
2284330,67
|
0,6
|
0,005183
|
0,983190
|
0,016810
|
|
1713248,00
|
0,8
|
0,013822
|
0,970115
|
0,029885
|
|
М5-М6
|
8252480,00
|
0,2
|
0,000717
|
0,998449
|
0,001551
|
|
4126240,00
|
0,4
|
0,001913
|
0,993796
|
0,006204
|
|
2750826,67
|
0,6
|
0,004304
|
0,986041
|
0,013959
|
|
2063120,00
|
0,8
|
0,011478
|
0,975183
|
0,024817
|
|
M5-M7
|
6852992,00
|
0,2
|
0,000864
|
0,998132
|
0,001868
|
|
3426496,00
|
0,4
|
0,002304
|
0,992529
|
0,007471
|
|
2284330,67
|
0,6
|
0,005183
|
0,983190
|
0,016810
|
|
1713248,00
|
0,8
|
0,013822
|
0,970115
|
0,029885
|
|
М5-М8
|
6154432,00
|
0,2
|
0,000962
|
0,997920
|
0,002080
|
|
3077216,00
|
0,4
|
0,002565
|
0,991681
|
0,008319
|
|
2051477,33
|
0,6
|
0,005771
|
0,981282
|
0,018718
|
|
1538608,00
|
0,8
|
0,015391
|
0,966723
|
0,033277
|
Направление связи
|
С, бит/с
|
ρ
|
tзад
|
Рсд
|
Рп
|
|
М6-М1
|
3731968
|
0,2
|
0,001586
|
0,996570
|
0,003430
|
|
1865984
|
0,4
|
0,004230
|
0,986281
|
0,013719
|
|
1243989
|
0,6
|
0,009518
|
0,969132
|
0,030868
|
|
932992
|
0,8
|
0,025381
|
0,945123
|
0,054877
|
|
М6-М2
|
3731968
|
0,2
|
0,001586
|
0,996570
|
0,003430
|
|
1865984
|
0,4
|
0,004230
|
0,986281
|
0,013719
|
|
1243989
|
0,6
|
0,009518
|
0,969132
|
0,030868
|
|
932992
|
0,8
|
0,025381
|
0,945123
|
0,054877
|
|
М6-М3
|
7662848,00
|
0,2
|
0,000773
|
0,998330
|
0,001670
|
|
3831424,00
|
0,4
|
0,002060
|
0,993318
|
0,006682
|
|
2554282,67
|
0,6
|
0,004635
|
0,984966
|
0,015034
|
|
1915712,00
|
0,8
|
0,012361
|
0,973274
|
0,026726
|
|
М6-М4
|
9628288,00
|
0,2
|
0,000615
|
0,998671
|
0,001329
|
|
4814144,00
|
0,4
|
0,001640
|
0,994682
|
0,005318
|
|
3209429,33
|
0,6
|
0,003689
|
0,988035
|
0,011965
|
|
2407072,00
|
0,8
|
0,009838
|
0,978729
|
0,021271
|
|
М6-М5
|
8252480,00
|
0,2
|
0,000717
|
0,998449
|
0,001551
|
|
4126240,00
|
0,4
|
0,001913
|
0,993796
|
0,006204
|
|
2750826,67
|
0,6
|
0,004304
|
0,986041
|
0,013959
|
|
2063120,00
|
0,8
|
0,011478
|
0,975183
|
0,024817
|
|
М6-М7
|
9628288,00
|
0,2
|
0,000615
|
0,998671
|
0,001329
|
|
4814144,00
|
0,4
|
0,001640
|
0,994682
|
0,005318
|
|
3209429,33
|
0,6
|
0,003689
|
0,988035
|
0,011965
|
|
2407072,00
|
0,8
|
0,009838
|
0,978729
|
0,021271
|
|
М6-М8
|
8645568,00
|
0,2
|
0,000685
|
0,998519
|
0,001481
|
|
4322784,00
|
0,4
|
0,001826
|
0,994078
|
0,005922
|
|
2881856,00
|
0,6
|
0,004108
|
0,986675
|
0,013325
|
|
2161392,00
|
0,8
|
0,010956
|
0,976312
|
0,023688
|
Таблица 21 - Cетевые параметры для маршрутизатора М7 по всем направлениям
связи
|
Направление связи
|
С, бит/с
|
ρ
|
tзад
|
Рсд
|
Рп
|
|
М7-М1
|
3099712
|
0,2
|
0,001910
|
0,995871
|
0,004129
|
|
1549856
|
0,4
|
0,005093
|
0,983482
|
0,016518
|
|
1033237
|
0,6
|
0,011459
|
0,962835
|
0,037165
|
|
774928
|
0,8
|
0,030558
|
0,933929
|
0,066071
|
|
М7-М2
|
3099712
|
0,2
|
0,001910
|
0,995871
|
0,004129
|
|
1549856
|
0,4
|
0,005093
|
0,983482
|
0,016518
|
|
1033237
|
0,6
|
0,011459
|
0,962835
|
0,037165
|
|
774928
|
0,8
|
0,030558
|
0,933929
|
0,066071
|
|
М7-М3
|
6362816,00
|
0,2
|
0,000930
|
0,997988
|
0,002012
|
|
3181408,00
|
0,4
|
0,002481
|
0,991953
|
0,008047
|
|
2120938,67
|
0,6
|
0,005582
|
0,981895
|
0,018105
|
|
1590704,00
|
0,8
|
0,014886
|
0,967813
|
0,032187
|
|
М7-М4
|
7996736,00
|
0,2
|
0,000740
|
0,998399
|
0,001601
|
|
3998368,00
|
0,4
|
0,001974
|
0,993597
|
0,006403
|
|
2665578,67
|
0,6
|
0,004442
|
0,985594
|
0,014406
|
|
1999184,00
|
0,8
|
0,011845
|
0,974390
|
0,025610
|
|
М7-М5
|
6852992,00
|
0,2
|
0,000864
|
0,998132
|
0,001868
|
|
3426496,00
|
0,4
|
0,002304
|
0,992529
|
0,007471
|
|
2284330,67
|
0,6
|
0,005183
|
0,983190
|
0,016810
|
|
1713248,00
|
0,8
|
0,013822
|
0,970115
|
0,029885
|
|
М7-М6
|
7996736,00
|
0,2
|
0,000740
|
0,998399
|
0,001601
|
|
3998368,00
|
0,4
|
0,001974
|
0,993597
|
0,006403
|
|
2665578,67
|
0,6
|
0,004442
|
0,985594
|
0,014406
|
|
1999184,00
|
0,8
|
0,011845
|
0,974390
|
0,025610
|
|
М7-М8
|
7179776,00
|
0,2
|
0,000825
|
0,998217
|
0,001783
|
|
3589888,00
|
0,4
|
0,002199
|
0,992869
|
0,007131
|
|
2393258,67
|
0,6
|
0,004947
|
0,983955
|
0,016045
|
|
1794944,00
|
0,8
|
0,013193
|
0,971475
|
0,028525
|
Таблица 22 - Cетевые параметры для маршрутизатора М8 по всем направлениям
связи
|
Направление связи
|
С, бит/с
|
ρ
|
tзад
|
Рсд
|
Рп
|
|
М8-М1
|
2784768
|
0,2
|
0,002126
|
0,995404
|
0,004596
|
|
1392384
|
0,4
|
0,005669
|
0,981614
|
0,018386
|
|
928256
|
0,6
|
0,012755
|
0,958632
|
0,041368
|
|
696192
|
0,8
|
0,034014
|
0,926457
|
0,073543
|
|
M8-M2
|
2784768
|
0,2
|
0,002126
|
0,995404
|
0,004596
|
|
1392384
|
0,4
|
0,005669
|
0,981614
|
0,018386
|
|
928256
|
0,6
|
0,012755
|
0,958632
|
|
696192
|
0,8
|
0,034014
|
0,926457
|
0,073543
|
|
М8-М3
|
5713984,00
|
0,2
|
0,001036
|
0,997760
|
0,002240
|
|
2856992,00
|
0,4
|
0,002763
|
0,991040
|
0,008960
|
|
1904661,33
|
0,6
|
0,006216
|
0,979839
|
0,020161
|
|
1428496,00
|
0,8
|
0,016577
|
0,964158
|
0,035842
|
|
М8-М4
|
7179776,00
|
0,2
|
0,000825
|
0,998217
|
0,001783
|
|
3589888,00
|
0,4
|
0,002199
|
0,992869
|
0,007131
|
|
2393258,67
|
0,6
|
0,004947
|
0,983955
|
0,016045
|
|
1794944,00
|
0,8
|
0,013193
|
0,971475
|
0,028525
|
|
М8-М5
|
6154432,00
|
0,2
|
0,000962
|
0,997920
|
0,002080
|
|
3077216,00
|
0,4
|
0,002565
|
0,991681
|
0,008319
|
|
2051477,33
|
0,6
|
0,005771
|
0,981282
|
0,018718
|
|
1538608,00
|
0,8
|
0,015391
|
0,966723
|
0,033277
|
|
М8-М6
|
7179776,00
|
0,2
|
0,000825
|
0,998217
|
0,001783
|
|
3589888,00
|
0,4
|
0,002199
|
0,992869
|
0,007131
|
|
2393258,67
|
0,6
|
0,004947
|
0,983955
|
0,016045
|
|
1794944,00
|
0,8
|
0,013193
|
0,971475
|
0,028525
|
|
М8-М7
|
6448064,00
|
0,2
|
0,000918
|
0,998015
|
0,001985
|
|
3224032,00
|
0,4
|
0,002448
|
0,992060
|
0,007940
|
|
2149354,67
|
0,6
|
0,005509
|
0,982134
|
0,017866
|
|
1612016,00
|
0,8
|
0,014690
|
0,968239
|
0,031761
|
Рассчитаем сетевые параметры для суммарного внешнего трафика VoIP с
помощью программы DimKP (вносим его
значение и по результатам расчета построим график зависимости пропускной
способности от вероятности потерь при разных значениях загрузки ρ
=0,2; 0,4; 0,6; 0,8).
Таблица 23 - Cетевые параметры
для суммарного внешнего трафика VoIP
|
Скорость, бит/c
|
Загрузка
|
Задержка, с
|
Вероятность своевременной доставки
|
Вероятность потерь
|
|
341006208,00
|
0,2
|
0,000017
|
0,999962
|
0,000038
|
|
170503104,00
|
0,4
|
0,000046
|
0,999850
|
0,000150
|
|
113668736,00
|
0,6
|
0,000104
|
0,999662
|
0,000338
|
|
85251552,00
|
0,8
|
0,000278
|
0,999399
|
0,000601
|
По результатам расчета построим график зависимости пропускной способности
от вероятности потерь при разных значениях загрузки ρ
=0,2; 0,4; 0,6; 0,8.
Рисунок 12 - График зависимости пропускной способности от вероятности
потерь для суммарного внешнего трафика VoIP
Анализируя график зависимости пропускной способности от вероятности
потерь для суммарного внешнего трафика VoIP, представленный на рисунке , можно сделать вывод, что
при увеличении загрузки каналов вероятность потерь увеличивается.
Таблица 24 - Сводная таблица сетевых параметров для VoIP при ρ
= 0,8
|
Маршрутизатор
|
Суммарная интенсивность нагрузки, пакет/с
|
Суммарная пропускная способность, бит/с
|
Время задержки, с
|
Вероятность потерь
|
|
М1
|
855
|
4760864
|
0,07874
|
0,511754
|
|
М2
|
855
|
4760864
|
0,07874
|
0,511754
|
|
М3
|
1755
|
9123312
|
0,038388
|
0,083
|
|
М4
|
2205,1
|
11055008
|
0,030558
|
0,066071
|
|
М5
|
1890,1
|
9720640
|
0,035651
|
0,077082
|
|
М6
|
2655,1
|
12820352
|
0,025381
|
0,054877
|
|
М7
|
2205,1
|
10647120
|
0,030558
|
0,066071
|
|
М8
|
1980,2
|
9561392
|
0,034014
|
0,073543
|
Рассчитаем сетевые параметры для пользователей IPTV.
В сети используется режим многоадресной рассылки. Так как используем MPEG-4 со скоростью 10 Мбит/с, то
пропускная способность канала связи от севера до маршрутизатора при трансляции
одного IPTV-канала составляет 10 Мбит/с. Рассчитаем интенсивность обслуживания пакетов:
с-1
Рассчитываем интенсивность поступающей нагрузки для различных значений
загрузки ρ:
пак/с;
пак/с;
пак/с;
пак/с.
Рассчитаем сетевые параметры при передаче IPTV трафика. Вводим значения интенсивности нагрузки в
программу DimKP.
Таблица 25 - Сетевые параметры для IPTV для всех направлений связи
|
, пак/с
|
Скорость, бит/с
|
Загрузка
|
Время задержки,с
|
Вероятность СД
|
Вероятность потерь
|
|
29560,81
|
699999980,80
|
0,2
|
0,000008
|
0,999982
|
0,000018
|
|
349999990,40
|
0,4
|
0,000023
|
0,999927
|
0,000073
|
|
233333326,93
|
0,6
|
0,000051
|
0,999835
|
0,000165
|
|
174999995,20
|
0,8
|
0,000135
|
0,999707
|
0,000293
|
|
59121,62
|
1399999961,60
|
0,2
|
0,000004
|
0,999991
|
0,000009
|
|
699999980,80
|
0,4
|
0,000011
|
0,999963
|
0,000037
|
|
466666653,87
|
0,6
|
0,000025
|
0,999918
|
0,000082
|
|
349999990,40
|
0,8
|
0,000068
|
0,999854
|
0,000146
|
|
88682,43
|
2099999942,40
|
0,2
|
0,000003
|
0,999994
|
0,000006
|
|
1049999971,20
|
0,4
|
0,000008
|
0,999976
|
0,000024
|
|
699999980,80
|
0,6
|
0,000017
|
0,999945
|
0,000055
|
|
524999985,60
|
0,8
|
0,000045
|
0,999902
|
0,000098
|
|
118243,24
|
2799999923,20
|
0,2
|
0,000002
|
0,999995
|
0,000005
|
|
1399999961,60
|
0,4
|
0,000006
|
0,999982
|
0,000018
|
|
933333307,73
|
0,6
|
0,000013
|
0,999959
|
0,000041
|
|
699999980,80
|
0,8
|
0,000034
|
0,999927
|
0,000073
|
Таким образом, суммарное значение интенсивности поступающей нагрузки
будет равно: λ=14000,6+118243,24=132243,84 пак/с. Далее сведем результаты
расчета сетевых параметров для суммарного внешнего трафика VoIP и IPTV в таблицу и построим график зависимости пропускной
способности от вероятности потерь при ρ=0,8.
Таблица 26 - Расчет сетевых параметров для суммарного внешнего трафика VoIP и IPTV
|
Скорость, бит/с
|
Загрузка
|
Время задержки,с
|
Вероятность СД
|
Вероятность потерь
|
|
3131534131,20
|
0,2
|
0,000002
|
0,999996
|
0,000004
|
|
1565767065,60
|
0,4
|
0,000005
|
0,999984
|
0,000016
|
|
1043844710,40
|
0,6
|
0,000011
|
0,999963
|
0,000037
|
|
782883532,80
|
0,8
|
0,000030
|
0,999935
|
0,000065
|
Рисунок 13 - График зависимости пропускной способности от вероятности
потерь для суммарного внешнего трафика VoIP и IPTV.
Для выбора производительности маршрутизаторов и канала связи между
маршрутизаторами вычислим суммарную интенсивность входящей нагрузки VoIP и IPTV на каждый маршрутизатор и суммарную пропускную
способность, результаты сведем в таблицу 27. Данные для выбора канала связи в
зависимости от пропускной способности сведены в таблицу (приложение В)
курсового проекта:
Таблица 27 - Сводная таблица сетевых параметров для VoIP и IP-TV при ρ
= 0,8
|
Маршрутизатор
|
Суммарная интенсивность нагрузки, пакет/с
|
Суммарная пропускная способность, Мбит/с
|
Время задержки, с
|
Вероятность потерь
|
|
М1
|
119098,24
|
705,06
|
0,07874
|
0,511754
|
|
М2
|
119098,24
|
705,06
|
0,07874
|
0,511754
|
|
М3
|
119998,24
|
710,39
|
0,038388
|
0,083
|
|
М4
|
120448,34
|
713,05
|
0,030558
|
0,066071
|
|
М5
|
120133,34
|
711,12
|
0,035651
|
0,077082
|
|
М6
|
120898,34
|
0,025381
|
0,054877
|
|
М7
|
120448,34
|
713,05
|
0,030558
|
0,066071
|
|
М8
|
120223,44
|
711,72
|
0,034014
|
0,073543
|
Сводная таблица для выбора канала связи в каждом направлении представлена
в Приложении В.
3. ВЫБОР
СТРУКТУРЫ СЕТИ И ЕЕ ЭЛЕМЕНТОВ
.1 Расчет
структурных параметров сети
Под топологией сети принято понимать конфигурацию
связей графа, интерпретирующего структуру сети. В практике топологического
проектирования принято разделять древовидные, распределенные и иерархические
топологии сетей.
Древовидные сети интерпретируются графами без петель и
циклов. Для n-вершинного дерева имеется (n-1) ребро. Данное обстоятельство
упрощает проектирование древовидных сетей, поскольку в них между каждой
вершиной имеется единственный путь. Различают корневые (радиальная связь) и
бескорневые (кратчайшая связывающая сеть - КСС) деревья.
Сети с распределенной структурой представляются
произвольными связными графами, описывающими спектр структур, начиная с
петлевой (ПСт) и кончая полносвязной сетью (ПСС). К этому классу могут быть
отнесены и решетчатые структуры (РШ).
Топология иерархической сети связи описывается
контурно R-разделимым графом с простым подчинением, позволяющим представить
иерархическую структуру композицией подграфом межступенчатых подсетей Wr,r+1, r
= и подсетей отдельных ступеней
иерархии Wr, r = (рисунок 8), которые в свою очередь, могут распадаться на
зоновые подсети (рисунок 9).
Рисунок 14 - Контурно-разделимый граф
Рисунок 15 - "География" сети
Для принятой модели предполагается, что к каждому узлу коммутации (УК)
подключено одинаковое для данной ступени число УК предыдущей ступени. Спектр
возможных топологий дискретизируется некоторым набором базовых, включающих
кратчайшую связывающую сеть (КСС), радиальную сеть (РС), первичную сеть (ПС),
полносвязную сеть (ПСС), решетчатую структуру (РС) и равномерно k-связную сеть
(РКС), (2 ≤ k≤ n-1).
Под степенью вершины понимается число ребер, инцидентных вершине. Для РКС
степень вершины совпадает со связностью. В последней графе таблицы 14 приведены
значения n , при которых структурные параметры
имеют отображение в граф. Индексы i и j могут принимать значение 1, 2, 3,
... Вывод формул расчета средней (географической) длины l КС выполнен при условии равномерного
размещения оконечных пунктов в прямоугольнике со сторонами z1×z2(км). Переменной ng обозначено число оконечных пунктов в
одном горизонтальном ряду, а nv в вертикальном. Формулы для PC и ПСС предполагают выполнение
условия   .
Согласно определению контурно R-разделимого графа, считается, что для
зоновых подсетей отдельных ступеней иерархии возможен любой из ниже перечисленных
принципов организации, а для межуровневых подсетей - только радиальный.
Таблица 28 - Аналитические соотношения, связывающие основные структурные
параметры
|
Тип структуры
|
Диаметр графа, d
|
Степень вершины, k
|
Средняя длина маршрута,
|
Допустимые значения, n
|
|
РС
|
1
|
n
|
1
|
i+1
|
|
КСС
|
n-1
|
2(1-1/n)
|
(n+1)/3
|
|
|
ПСТ
|
(n-1)/2
|
2
|
(n+1)/4
|
2i+1
|
|
n/2
|
|
|
(i+1)
|
|
РШ
|
nv+ng-2
|
4(1-1/
|
|
(i+1)(j+1)
|
|
РКС
|
(n-1)/k, k=2,n-1
|
(n/(k-1))+1, k=3,n-2
|
2≤k≤n-2
|
|
(2i+1)(k-1)
|
|
ПСС
|
n/2(k-1) k=2,3,n-1
|
n/2(k-1)+1 k=4,n-2
|
3≤k≤n-1
|
|
2i(k-1)
|
Таблица 29 - Основные структурные параметры
|
Тип структуры
|
Число ребер,m
|
Средняя длина КС, l
|
|
РС
|
n-1
|
|
|
КСС
|
n-1
|
|
|
ПСТ
|
n
|
|
|
РШ
|
(ng-1)* *nv+(nv-1)ng
|
|
|
РКС
|
nk/2
|
|
|
ПСС
|
n(n-1)/2
|
[(0,32 +0,13 )n-(0,32 +0,13 )]/(n-1)
|
Таблица 30 - Коэффициенты компактности территории для аппроксимации
территории сети
|
Форма территории
|
Значение коэффициента kf
|
|
Круг
|
0,985
|
|
Правильный шестиугольник
|
0,99
|
|
Квадрат, прямоугольник
|
1
|
|
Эллипс с соотношением осей 2:1
|
1,07
|
|
Правильный треугольник
|
1,17
|
Для построения сети могут использоваться такие топологии как звезда,
решетчатая топология, полносвязная топология и др.
Решетчатая топология - это топология, в которой узлы образуют регулярную
многомерную решетку. При этом каждое ребро решетки параллельно ее оси и
соединяет два смежных узла вдоль этой оси. Достоинством решетчатой топологии
может служить высокая надежность, а недостатком - сложность реализации.
Радиальная структура ("звезда") - это вариант топологии, когда
каждый узел подключается отдельным кабелем к общему устройству, которое
находится в центре воображаемой звезды. Достоинства данной топологии
заключаются в том, что выход из строя одного узла не отражается на работе всей
сети в целом, а также в том, что при условии правильного проектирования
обеспечивается высокая производительность сети. К недостаткам можно отнести то
обстоятельство, что выход из строя центрального узла обернѐтся
неработоспособностью сети (или сегмента сети) в целом и конечное число узлов в
сети ограничено число портов центрального устройства.
Полносвязная топология соответствует сети, в которой каждый узел сети
связан со всеми остальными. Каждый узел в сети должен иметь большое количество
коммуникационных портов, достаточное для связи с каждым из остальных узлов
сети. Для каждой пары узлов должна быть выделена отдельная электрическая линия
связи. Основным недостатком полносвязной является то, что требуется большое
количество кабеля для соединения всех узлов между собой.
Преимуществами ПСС является то, что в случае отказа одного из
узлов в сети ПСС, все остальные узлы не остаются без соединения и продолжают
дальше нормально взаимодействовать, а скорость обмена информацией в такой сети
достаточно высокая по сравнению с РШ структурой сети. ПСС является структурой,
обеспечивающей высокую надежность за счет того, что каждый узел физически
соединен со всеми остальными, что обеспечивает высокую степень избыточности.
Полносвязная топология обычно используется в соединениях между собой
маршрутизаторов распределенных сетей WAN.
Рассчитаем количество ребер полносвязной топологии по формуле
10 и построим граф сети для заданного количества маршрутизаторов (рисунок 7):
m = n(n-1)/2, (10)
где m - число ребер
n -
число вершин (маршрутизаторов)
m =
8(8-1)/2=28
Следовательно, граф проектируемой сети имеет следующий вид:
Рисунок 16 - Граф проектируемой сети.
.2 Требования
к программному обеспечению
ПО расчёта структуры ИКС является программной реализацией модели и
алгоритмов. Пакет программ характеризуется иерархичностью и модульностью
структуры, гибкостью к перестройке и позволяет путем замены соответствующих
карт-признаков производить переориентацию программ.
Пакет включает в свой состав монитор, функциональную подсистему FS и оптимизационную подсистему OS.
Монитор выполняет ввод и печать выходных данных, выбор и запуск модулей
пакета в соответствии с заданным режимом работы, запуск OS и печать выходных результатов.
FS
состоит из двенадцати программных модулей, предназначенных для расчёта
экономических, структурных и вероятностно-временных характеристик процессов
доставки пакетов и технического обслуживания. FS работает под управлением OS.
Рисунок 17 - Состав ППП расчета ИКС
- FS состоит из двенадцати/программных модулей предназначенных для расчёта
экономических, структурных и вероятностно-временных характеристик процессов
доставки пакетов и технического обслуживания. FS работает под управлением OS.
Подсистема OS представляется тремя модулями, реализующими методы штрафных
функций, комбинацию шагового алгоритма парных проб (ШАП) и метода случайного
поиска с уменьшением интервала поиска (СПУИП), набор методов одновременного
поиска для решения задач анализа ИКС .
Этапу настройки пакета на конкретную задачу должна предшествовать
формализация задачи в терминахи обозначениях, присущих этому ПО. Перечень
возможных постановочных альтернатив определяется критерием оптимальности,
классом оптимизируемых структур, составом системы ограничений, дисциплинами
обслуживания очередей и т. п.
Каждому показателю в пакете программ соответствует многопозиционный
программный ключ.
Установкой ключа в то или иное положение задается соответствующий режим.
Физическая реализация ключа - это перфокарта со значением 1 или 0.
Дальнейшие действия проектировщика сводятся к подготовке исходных данных,
заданию начальных значений параметров оптимизационных алгоритмов и стартовой
точки, запуску программного обеспечения и анализу полученного решения.
Пакет программ расчёта иерархических ИКС является развитием аналогичного
пакета, предназначенного для расчета раздельных неприоритетных сетей связи.
Характеристики ПО:
- Объем занимаемой памяти;
- Продолжительность оптимизации одного проекта ИКС;
- Тип управляющей системы.
Малый объем занимаемой памяти объясняется отсутствием матричных форм
представления информации, а высокое быстродействие программ - аналитическим
(формульным) видом модели ИКС и эффективными алгоритмами, использующими идеи
как покоординатного, так и группового спуска.
ПО используется в задачах топологического проектирования сетей связи,
определение оптимального типажа технических средств связи, выделения
эффективных областей использования различных методов коммутации, расчета числа
центров технического обслуживания (ЦТО), оценки предельно достижимых
надёжностных, стоимостных и вероятностно-временных характеристик сети, оценки
устойчивости решения к выходным условиям задачи, выявления "узких" по
пропускной способности мест.
Практика оптимизации ряда общегосударственных и ведомственных сетей связи
показала, что в отличие от традиционных переборных процедур топологического
проектирования ПО позволяет проводить детализацию общественных требований по
задержке, стоимости, вероятности доставки (потерь) и надёжности до частных
требований, предъявляемых к отдельным подсетям, что повышает эффективность
последующего применения традиционных переборных алгоритмов проектирования. ПО
исключает необходимость применения вспомогательных алгоритмов генерации
допустимых стартовых структур и поиска начального реализуемого плана
распределения потоков; а также обеспечивает оптимизацию и анализ ИКС
практически неограниченного масштаба.
3.3 Протокол
маршрутизации
В качестве протокола маршрутизации удобнее всего выбрать EIGRP.
EIGRP - это улучшенная версия IGRP. В этом протоколе так же,
как и в IGRP, используется технология дистанционных векторов, и основная
дистанционная информация остается прежней. Но свойства конвергенции и
эффективность работы этого протокола значительно улучшены. Протокол EIGRP
предусматривает модернизацию архитектуры сети с сохранением средств, вложенных
в разработку сети на базе протокола IGRP.
Протокол EIGRP состоит из четырех основных компонентов:
· Обнаружение/Восстановление
соседа (Neighbor Discovery/Recovery)
· Надежный транспортный
протокол (Reliable Transport Protocol)
· Блок конечных состояний
алгоритма DUAL (DUAL Finite State Machine)
· Модули, зависимые от
протоколов (Protocol Dependent Modules)
Обнаружение/Восстановление соседа - это процесс, используемый
маршрутизатором для динамического распознавания других маршрутизаторов в сетях,
к которым они непосредственно подключены.
Надежный транспортный протокол отвечает за гарантированную,
упорядоченную доставку пакетов EIGRP всем соседям.
Блок конечных состояний алгоритма DUAL реализует процесс
принятия решений для расчетов всех маршрутов.
Модули, зависимые от протоколов, - отвечают за сетевой
уровень и обрабатывают требования специфических протоколов.
Достоинство этого протокола в том, что он может работать не
только поверх ip но и ipx и aple talk. Главное отличие EIGRP от RIPv2 то, что он использует композитную
метрику, т.е в состав метрики включены полоса пропускания, время задержки,
коэффициент загрузки, надежность связи.
Учитывая то что наша сеть предназначена для передачи потоков IPTV,
которые чувствительны к задержкам, все-таки предпочтительнее выбрать протокол EIGRP.
3.4 Сетевое
оборудование
В проектируемой сети будут использованы следующие виды оборудования:
– маршрутизатор;
– шлюз;
– IPTV-сервер.
Для выбора оборудования необходимо учитывать следующие требования:
– основанием для выбора производительности является суммарное
значение интенсивности поступающей нагрузки;
– выбираемое оборудование должно поддерживать требуемую пропускную
способность.
Т.о. необходимо определить каналы связи для каждого маршрутизатора. При
этом воспользуемся расчетами сетевых параметров для VoIP и IP-TV, которые
представлены в таблицами 27 и 29. Таблица выбранных каналов связи для каждого
маршрутизатора приведена в таблице В.1.
С учетом всех требований для проектируемой сети мною было выбрано
оборудование фирмы Сisco и использованы следующие их модели:
– Маршрутизатор Cisco 7505;
– Шлюз Cisco MGX 8880;
– Сервер Cisco IP/TV 3427.
Маршрутизатор Cisco 7505.
Vаршрутизаторы
Cisco серии 7500 имеют несколько шасси. Данный маршрутизатор представляет собой
наиболее современное устройство верхнего уровня для локальных сетей с
вырожденными магистралями и для промышленных приложений распределенных сетей.
Модель 7500 является наиболее современной платформой Cisco в семействе
многопротокольных маршрутизаторов. Рассматриваемое семейство маршрутизаторов
обладает большой гибкостью и предлагает целый ряд интерфейсов и служб, в том
числе и поддержку голосовых данных.
Многофункциональные возможности маршрутизатора Cisco 7500 ARS перечислены
ниже.
Интеграция данных на основе технологий VoIP.
Использование многофункциональных процессоров интерфейсов (Versatile Interace
Processor - VIP), обеспечивающих поддержку гигабитовых сетей и широкое
применение служб распределенных сетей.
Подключение соединений Gigabit Erhernet и каналов ОС-12 (с пропускной
способностью 622 Мбит/с) для высокоскоростных соединений между локальными и
распределенными сетями.
Использование многоканальных интерфейсов распределенных сетей и
повышенной плотности данных на портах распределенных сетей Отдельный порт ТЗ/ЕЗ
(или Tl/El) Cisco 7500 может быть разделен на подканалы DSO, nxDSO, PRI и DS1.
Канал Т1 может быть подключен через многоканальное соединение протокола РРР.
Как, например, можно сконфигурировать многоканальный интерфейс ТЗ для
обеспечения десяти полноканальных линий Т1, сорока каналов DS0, пяти каналов
nxDSO и двух каналов PRI через одно соединение.
Использование распределенных служб для работы в intranet, таких как
качество обслуживания (QoS) или служба безопасности на скоростях до 155 Мбит/с.
Цифровой интерфейс голосового порта высокой мощности является
высокопроизводительным оконечным устройством высокой мощности для мини-АТС или
канала отрытой коммутируемой телефонной сети. Технические характеристики
маршрутизатора Cisco 7505 приведены в таблице Г.1.
Шлюз Cisco MGX 8880.
VoIP шлюзы серии Cisco MGX 8000 отвечают стандартам устройства операторского
класса большой емкости, обеспечивают поддержку услуг Voice over IP (VoIP) и
Voice over ATM (VoATM).
Голосовые шлюзы серии Cisco MGX 8000 сочетают в себе лучшие в индустрии
показатели с точки зрения качества голосовой связи, а также масштабируемость и
проверенную надежность модельного ряда мультисервисных ATM-коммутаторов Cisco
MGX 8000 (AAMP).
Технические характеристики шлюза Cisco MGX 8880 приведены в таблице Г.2.
Сервер Cisco IP/TV 3427.
Cisco IP/TV представляет собой комбинацию уникального программного
обеспечения, предназначенного для организации передачи и приема
высококачественного видео на неограниченное количество компьютеров по сети IP.
Линейка продуктов Cisco IP/TV - это полнофункциональное решение для
передачи видеоинформации по сетям IP. В нее входят как специализированный
аппаратно-программный комплекс Cisco IP/TV 3400, снабженный специальным ПО
IP/TV, так и программное обеспечение Cisco IP/TV для компьютеров пользователей.
Cisco IP/TV - идеальное средство для организации дистанционного обучения,
трансляций в Интернет, корпоративного телевидения и передачи любых других
телепрограмм из различных источников всем пользователям в сети. Это три решения
в одном продукте - поддержка прямой трансляции видеоинформации, трансляции по
расписанию и видеоинформации по запросу (video on demand).
Серия видеосерверов Cisco IP/TV 3400.
Серверы Cisco IP/TV существуют как в виде программного обеспечения, так и
в виде специализированного аппаратно-программного комплекса продуктов серии
Cisco IP/TV 3400, в состав которого входят следующие устройства:
– управляющий
сервер Cisco IP/TV 3412 Control
Server;
– широковещательный сервер Cisco IP/TV 3425 Broadcast Server;
– архивный сервер Cisco IP/TV 3432 Archive Server;
– стартовая видеосистема Cisco IP/TV 3417 Video Starter
System;
– клиентское ПО Cisco IP/TV Viewer.
Основные возможности:
– для удобства пользователей система Cisco IP/TV поддерживает три
режима передачи видео: прямую, запланированную трансляцию и трансляцию по
требованию;
– система Cisco IP/TV поддерживает интерактивный доступ в Интернет
через Web-интерфейс, а также позволяет организовать обратную связь с
пользователями;
– благодаря применению технологии IP Multicast система Cisco IP/TV
обладает превосходной масштабируемостью и позволяет организовывать трансляцию
как для нескольких, так и для нескольких тысяч пользователей, используя
минимальную полосу пропускания;
– система Cisco IP/TV использует стандарты RTP/RTCP для передачи
видео в режиме реального времени, видеокодеки Vxtreme, H. 261, MPEG-1, MPEG-2,
MPEG-4, Indeo 4.1, Apple QuickTime;
– поддержка файловых форматов ASF, AVI, MP3 и MPEG;
– поддерживаются клиенты Apple QuickTime, UNIX VIC и VAT Multicast
Backbone (MBONE), Microsoft Netshow, а также встраиваемые клиенты (plug-in) для
Netscape;
– серверы Cisco IP/TV 3400 работают на операционной системе Windows
NT и Windows 2000, а клиентские ПО поддерживаются на распространенных
платформах Microsoft Windows 95/98, Windows NT и MacOS [10];
– передача высококачественного видеоизображения: полноэкранное
изображение телевизионного качества с высокой степенью синхронизации
изображения и звука;
– масштабируемость: серверы серии IP/TV 3400 используют
распределенную серверную архитектуру, которая позволяет минимизировать
используемую полосу пропускания путем репликации содержимого на локальные
серверы;
– мощные средства управления: централизованное управление как
запланированными программами, так и программами по требованию, включая
управление содержанием, полосой пропускания, расписанием и контролем содержания;
– использование технологии многоадресной передачи (multicasts) для
экономии полосы пропускания "живой" и заданной видеоинформации,
передачи заданного видео потока по сети, вне зависимости от числа сетевых
"слушателей".
Технические характеристики сервера Cisco IP/TV 3427 приведены в таблице
Г.3.
ЗАКЛЮЧЕНИЕ
Задачей данного курсового проекта было построение сети провайдера IP-услуг. Спроектированная сеть состоит
из 8 маршрутизаторов, соединенных между собой по принципу "каждый с
каждым".
В ходе разработки данного курсового проекта были рассмотрены такие
услуги, как VoIP и IP-TV.
В разделе 1 приведено описание архитектуры сети IP-телефонии и сети
IP-TV, рассмотрели различные виды соединений в сети IP-телефонии, процедуры
обработки речи и видео, кодеки, используемые в IP-телефонии и IP-TV.
В разделе 2 произведены расчеты основных параметров таких, как пропускная
способность, загрузка, задержка, вероятность своевременной доставки и
вероятность потерь для каждого маршрутизатора, а также интенсивность поступающей
нагрузки.
Вероятность потерь (PП) не должна превышать 3% для VoIP и 1% для IPTV. Задержка пакета не должна превышать 10 мс для VoIP и 150мс для IPTV. Оценив данные таблицы 25 видим, что сеть IP-TV соответствует
заданному качеству. Однако, для VoIP
контролируемые параметры выходят за пределы нормы. Поэтому, можно сказать о
том, что спроектированная сеть не обладает высоким качеством обслуживания. Для
того, чтобы вероятность потерь и время задержки были в допустимых пределах
необходимо использовать маршрутизаторы с большей производительностью, увеличить
пропускную способность каналов, на маршрутизаторах прописать статические
маршруты и назначить метрики.
После этого посчитали суммарную пропускную способность (VoIP+IPTV) и осуществили выбор канала связи для каждого
маршрутизатора (получили для всех - Е16).
Для обеспечения надежности и реализации всех возможностей было подобрано
следующее сетевое оборудование, параметры которого удовлетворяют
спроектированной сети провайдера IP-услуг:
– Маршрутизатор Cisco 7505;
– Шлюз Cisco MGX 8880;
– Сервер Cisco IP/TV 3427.
В результате проделанной работы была спроектирована сеть провайдера IP-услуг.
ЛИТЕРАТУРА
. #"870768.files/image054.gif">
|
Направление от коммутатора
|
Канал связи
|
|
М1
|
STM-16
|
|
М2
|
STM-16
|
|
М3
|
STM-16
|
|
М4
|
STM-16
|
|
М5
|
STM-16
|
|
М6
|
STM-16
|
|
М7
|
STM-16
|
|
М8
|
STM-16
|
ПРИЛОЖЕНИЕ В
Выбор канала связи в зависимости от пропускной способности
Таблица В.1 - Выбор канала связи в зависимости от пропускной способности.
|
Маршрутизатор
|
Суммарная пропускная способность, Мбит/с
|
Канал связи
|
|
М1
|
705,06
|
STM-16
|
|
М2
|
705,06
|
STM-16
|
|
М3
|
710,39
|
STM-16
|
|
М4
|
713,05
|
STM-16
|
|
М5
|
711,12
|
STM-16
|
|
М6
|
715,71
|
STM-16
|
|
М7
|
713,05
|
STM-16
|
|
М8
|
711,72
|
STM-16
|
|
М9
|
705,06
|
STM-16
|
|
М10
|
705,06
|
STM-16
|
ПРИЛОЖЕНИЕ Г
Технические характеристики сетевого оборудования
Таблица Г.1 - Технические характеристики маршрутизатора Cisco 7505
|
Физические характеристики:
|
|
Размеры (ширина x глубина x высота), см:
|
42.67 x 43.18 x 13.34
|
|
Вес, кг:
|
22.7
|
|
Параметры питания:
|
– Максимальная мощность: 370 Вт – AC: 100 - 240 В, 50 / 60
Гц, 5 - 2.5 А – DC: -24 и -60 В, 13 - 18 А
|
|
Аппаратные характеристики:
|
|
Процессор:
|
MIPS RISC
|
|
Пропускная способность
|
1 Gbps
|
|
Память процессора:
|
– По умолчанию: 256 МБ – Максимум: 512 МБ
|
|
Флеш-память PCMCIA (опционально, доступно 2 слота):
|
– 16MB (расширяется до128MB)
|
|
Системная память DRAM
|
32MB (расширяется до 1GB)
|
|
Процессорные модули RSP
|
RSP-4+ 345 000 пакетов/с, 200 МГц MIPS RISC процессор RSP-8
470 000 пакетов/с, 250 МГц MIPS RISC процессор RSP-16 530 000 пакетов/с, 400
МГц MIPS RISC процессор
|
|
Интерфейсные порты:
|
|
Интерфейсные порты:
|
2 x RJ-45 FE/E
|
|
Слоты карт расширения:
|
1
|
|
Слоты PA (Порт-адаптер):
|
4
|
|
Поддерживаемые сетевые интерфейсы
|
– ATM (T1, E1, T3, E3, OC3, OC12) –
Multichannel T3, E3, T1, E1 и
STM-1 – Digital Voice – Dynamic Packet
Transport (OC12/STM4) –
Packet Over SONET (OC-3) – Gigabit Ethernet – Fast Ethernet (100BaseT и MII) – Ethernet 10BaseT, AUI – IBM
channel – Token Ring – FDDI (half and full duplex) – HSSI – ISDN PRI – Синхронные
последовательные
|
|
Сетевые особенности:
|
|
Поддерживаемые протоколы:
|
– ARP, IPCP, IP forwarding, IP
host, IP Multicast, PPP-over-ATM, TCP, Telnet, TFTP, UDP, transparent
bridging, VLAN, MPLS, IPv6 – GRE, L2TP, UTI, L2TPv3, 6to4, ACLs, NAT,
NetFlow, Firewall, Flexible Packet Matching, IPSec VPN, Secure Multicast –
AAA, CHAP, FTP, RADIUS, SNMP, PAP, TACACS – RARP – SLIP – SNMP – DHCP – •
HSRP
|
|
Протоколы маршрутизации:
|
EIGRP, IGRP, IS-IS, OSPF, BGP, PIM,
RIP
|
|
QOS:
|
– Low-Latency Queuing (LLQ) –
Class-Based Weighted Fair Queuing (CBWFQ) – Class-Based Weighted Random Early
Detection (CBWRED) – Policing – Marking – Shaping – Committed Access Rate
(CAR) – Generic Traffic Shaping (GTS) – Frame Relay Traffic Shaping (FRTS) –
Modular QoS command-line interface (MQC) support – • Network-Based
Application Recognition
|
|
Управление:
|
– Element Manager Software (EMS)
for the Cisco 7200 VXR Series – Cisco Secure Policy Manager – Cisco VPN
Device Manager (VDM) – Cisco QoS Device Manager (QDM) – Cisco Info Center –
CiscoWorks – Security Device Manager – MPLS Diagnostics Expert – Безопасный интерфейс коммандной
строки с использованием протокола Secure Shell
(SSH) Protocol – Веб-интерфейс
|
|
Минимальная версия Cisco IOS
|
11.3
|
Таблица Г.2 - Технические характеристики шлюза Cisco MGX 8880
|
Features
|
Description
|
|
Features
|
|
System
|
• 45-Gbps nonblocking switching
capacity • 12 double-height (24 single-height) slots for service modules and
2 processor switch module slots
|
|
Node Synchronization
|
• Internal Stratum Level 3 clock
source • Building Integrated Timing Supply (BITS) source • External source
received in band over the network • Synchronization to software-programmable
primary and secondary sources, with automatic switchover
|
|
Network Interfaces
|
• VoIP-Ethernet, Fast Ethernet,
Gigabit Ethernet, POS OC-12/STM-4, T1/E1, T3/E3, OC-3c/STM-1, OC-12c/STM-4,
OC-48c/STM-16 • VoATM-T1/E1, T3/E3, OC-3c/STM-1, OC-12c/STM-4, OC-48c/STM-16
|
|
TDM Interfaces
|
• T1/E1, T3, OC-3/STM-1
|
|
Network Protocols
|
• IPv4, MPLS, Border Gateway
Protocol Version 4 (BGPv4), Intermediate System-to-Intermediate System
(IS-IS), Open Shortest Path First Version 2 (OSPFv2), Enhanced Interior
Gateway Routing Protocol (EIGRP), Routing Information Protocol Version 2
(RIPv2), and Internet Group Management Protocol (IGMP) • ATM User-Network
Interface Version 3 (UNIv3), UNIv3.1, and UNIv4; ITU-T I.361; ITU-T I.432;
Integrated Local Management Interface Version 4 (ILMIv4); Private
Network-Network Interface Version 1 (PNNIv1); permanent virtual circuit
(PVC); switched virtual circuit (SVC); and soft permanent virtual connection
(SPVC)
|
|
Signaling and Call Control
|
• MGCP, TGCP, H.248, H.323, and SIP
• ISDN Primary Rate Interface (PRI) • Channel associated signaling (CAS) •
Feature group D multi frequency support for E911 and operator services
|
|
QoS
|
• Connection Admission Control • IP
Differentiated Services (DiffServ) using IP type of service (ToS) and
DiffServ code point (DSCP) • MPLS DiffServ • DiffServ-aware traffic
engineering • Low-latency queuing (LLQ), Weighted Random Early Detection
(WRED), Class-Based Weighted Fair Queuing (CB-WFQ) • Constant bit rate (CBR),
real-time variable bit rate (VBR-rt), and non-real-time variable bit rate
(VBR-nrt) classes of service for ATM
|
|
Bearer Services
|
• VoIP and VoATM (ATM Adaption
Layer 1 [AAL1], AAL2) • G.168 programmable echo cancellation up to 128 ms on
all channels • G.711, G.723.1, G.726, G.729a/b, and Clear Channel codecs •
Silence suppression and Comfort Noise Generation • T.38 Fax Relay • Standards-based
AAL2 subcell multiplexing • Standards-based AAL2 type 3 cells for Dual Tone
Multi Frequency (DTMF) relay • DTMF detection and generation • Onboard
announcements and tones • Lawful intercept (Communications Assistance for Law
Enforcement ACT [CALEA]) support for call content • Onboard conferencing •
RFC 2833 DTMF relay • Fax and modem tone detection • DTMF relay to softswitch
for application control
|
|
Management Interfaces
|
Simple Network Management Protocol
(SNMP), command-line interface (CLI), Telnet, Secure Shell (SSH) Protocol
|
|
Physical Specifications
|
|
Dimensions
|
Height: 24.5 in. (62.2 cm) Width:
17.7 in. (45 cm)
Depth: 21.5 in. (54.6 cm)
|
|
Mounting Options
|
Rack-mountable in 19- and 23-in.
(48.2 x 58.4 cm) EIA/RETMA and ETSI racks
|
|
Electrical Specifications
|
|
Power
|
Input power required: -42 to -56
VDC Optional 110/220 AC power Typical power consumption: 1000W
|
|
Electrical and Safety Compliance
|
|
EMI/ESD Compliance
|
FCC Part 15 Bellcore GR1089-CORE
IEC 801-2 EN55022 (CISPR22) CFR 47 Part 15 (FCC) AS/NZS 3548 (Australia/New
Zealand) ETS 300 386-2 (EN300 386-2) EN 61000-4-2 (IEC-61000-4-2) EN
61000-4-3 (IEC-61000-4-3) EN 61000-4-4 (IEC-61000-4-4) EN 61000-4-5 (IEC-61000-4-5)
|
|
Safety Compliance
|
UL 1950, CSA C22.2 No. 950,
EN60950, AS/NZS 3260, IEC 60950 IEC 60825-1, EN60825-1 Bellcore NEBS: Level 3
Optical safety: IEC
825-1 (Class 1)
|
|
Other Standards
|
|
Compliance
|
FCC 47 CFR Part 68 Industry Canada
CS-03 ITU-T G.703 ANSI T1.102 ANSI T1.107 ANSI T1.105 ITU-T G.957, G.958
Bellcore GR-253-CORE ITU-T G.707, G.708, G.709
|
Таблица Г.3 - Технические характеристики сервера Cisco IP/TV 3427
|
Cisco IP/TV 3427-C1 Broadcast Server
|
Cisco IP/TV 3427-C2 Broadcast
Server
|
Cisco IP/TV 3427-C3 Broadcast
Server
|
|
Форматы видео
|
MPEG-4
|
MPEG-1, MPEG-2, MPEG-4
|
MPEG-1, MPEG-2, MPEG-4
|
|
Накопитель
|
144 Гб SCSI
|
144 Гб SCSI
|
144 Гб SCSI
|
10/100-Mbps Ethernet
|
10/100-Mbps Ethernet
|
10/100-Mbps Ethernet
|
|
Периферийные порты
|
VGA graphics, клавиатура, мышь
|
VGA graphics, клавиатура, мышь
|
VGA graphics, клавиатура, мышь
|
|
Высота
|
85.4 мм
|
85.4 мм
|
85.4 мм
|
|
Ширина
|
443.5 мм
|
443.5 мм
|
443.5 мм
|
|
Длина
|
698.0 мм
|
698.0 мм
|
698.0 мм
|
|
Вес
|
28.1 кг
|
28.1 кг
|
28.1 кг
|
|
Питание
|
350Вт max резервирование, "горячая" замена
|
350Вт max резервирование, "горячая" замена
|
350Вт max резервирование, "горячая" замена
|
|
Частота
|
50/60 Гц
|
50/60 Гц
|
50/60 Гц
|
|
Температура эксплуатации
|
10-35°C
|
10-35°C
|
10-35°C
|
|
Температура хранения
|
-40-60°C
|
-40-60°C
|
-40-60°C
|
Похожие работы на - Системы коммутации
|