Проектирование цифровых систем коммутации типа С-12
Федеральное
агентство по образованию Российской Федерации
Государственное
образовательное учреждение
высшего
профессионального образования
«Тихоокеанский
Государственный университет»
Институт
информационных технологий
Кафедра:
«Вычислительная техника»
Курсовой
проект
по
дисциплине: «Сети связи и системы коммутации»
Тема
«Проектирование цифровых систем коммутации типа С-12»
Выполнил:
студент
гр. МТС-81
Крымов
А.С.
Проверил:
Писаренко
В. П.
Хабаровск
2012
ЗАДАНИЕ
по
курсовой работе
по
дисциплине «Сети связи и системы коммутации»
Студенту 4 курса группы МТС-81 института ИТ
Крымову Алексей Сергеевичу
Дата выдачи задания
Срок выполнения проекта и сдачи зачета
. Тема проекта: Проектирование цифровых систем
коммутации типа С-12.
. Исходные данные к работе:
|
Вариант
|
N6,7
|
N5
|
N4
|
N3
|
P
|
Kнхд
|
Kнхч
|
Kквд
|
|
10
|
20000
|
8000
|
7800
|
4800
|
0,55
|
39,%
|
2,%
|
36,%
|
|
Kквч
|
Kтд
|
Kтч
|
Снх
|
Скв
|
Ст
|
Тнх
|
Ткв
|
Тт
|
|
1,%
|
21,%
|
1,%
|
2,9
|
1,3
|
10
|
118
|
138
|
94
|
РЕФЕРАТ
Курсовой проект содержит пояснительную записку
на 23 листах формата А4, включающую 9 таблиц, 4 рисунка, 3 литературных
источника.
Цифровые системы коммутации, сигналы, АТС,
аналоговые сообщения, абоненты, нагрузка, частотный набор, многочастотные
приемопередатчики, междугородная сеть.
Основной задачей данного курсового проекта является
закрепление и контроль знаний пройденного курса Сетей связи и коммутации, а так
же овладение навыками в расчете цифровых систем коммутации с заданными
параметрами.
СОДЕРЖАНИЕ
1. Введение
. Расчёт интенсивности нагрузки
2.1 Структурная схема сети
.2 Расчет поступающей от абонентов
нагрузки
.3 Распределение интенсивности
нагрузки по направлениям
.4 Расчет интенсивности нагрузки на
многочастотные приемопередатчики
3. Расчёт объёма оборудования
3.1 Расчёт числа каналов
.2 Расчет числа терминальных модулей
.3 Определение числа плоскостей
главной ступени
.4 Расчет элементов коммутационного
поля
4. Функциональная схема АТС
Заключение
Список использованных источников
ВВЕДЕНИЕ
Система С-12 разработана фирмой Alcatel
при участии фирм Бельгии. Германии. Италии. США в 1982 году и получила массовое
внедрение на телефонных сетях России в середине 90-х годов.
Система коммутации является универсальной и
может использоваться в качестве городских АТС емкостью от 512 до более чем 100
тыс. абонентских линий; в качестве междугородной и международной станции
емкостью до 10 тыс. соединительных линий и каналов, а также в качестве сельских
АТС. Система в состоянии обработать 750 тыс. вызовов в час при объеме нагрузки
до 25 тыс. эрланг. в последней модификации - до 2 млн вызовов в час.
Основными особенностями системы являются
глубокая децентрализация управления и использование унифицированного
двухстороннего коммутационного элемента.
Децентрализованное управление системой
осуществляется из модулей оконечных устройств. При таком способе управления
адресная информация от абонентского аппарата принимается и анализируется в
абонентском модуле или в многочастотном приемопередатчике. На основе этой
информации вырабатываются сигналы управления цифровым коммутационным полем
(ЦКП). элементы которого производят установление соединения. Такая система
управления, при которой каждый элемент ЦКП устанавливает соединение независимо
один от другого, обладает высокой надежностью, так как выход из строя любого из
элементов ни приводит к аварии всей системы.
Цифровое коммутационное поле строится на основе
единого двухстороннего коммутационного элемента (КЭ), в каждый из которых
включается 32 тракта передачи и 32 тракта приема одной линии ИКМ. Наличие
двухстороннего элемента позволяет устанавливать соединение через различное
число ступеней искания, что способствует увеличению пропускной способности ЦКП.
Кроме того. наличие единою К') для построения ЦКП позволяет легко наращивать
емкость и пропускную способность ЦКП без существенною изменения программы
pa6оты системы.
2. РАСЧЁТ ИНТЕНСИВНОСТИ НАГРУЗКИ
2.1 Структурная схема сети
Рис. 1 Структурная схема гороской телефонной
сети
Таблица 1
Нумерация абонентских линий на АТС сети
|
№
п/п
|
Коды
АТС
|
Номерная
емкость
|
|
1
|
АТС
ДШ-3
|
4800
|
|
2
|
АТСКУ-4
|
7800
|
|
3
|
АТСЭ-5
|
8000
|
|
4
|
АТСЭ-6,7
|
20000
|
|
Итого:
|
Nсети
=
|
40600
|
2.2 Расчет поступающей от абонентов
нагрузки
Таблица 2
Параметры нагрузки проектируемой АТС
|
№
п/п
|
Категории
источников нагрузки, типы ТА
|
К
%
|
С
|
Т,
с
|
Р
|
|
1
|
НХД
|
39
|
2,9
|
118
|
0,55
|
|
НХЧ
|
2
|
|
|
|
|
2
|
КВД
|
36
|
1,3
|
138
|
0,55
|
|
КВЧ
|
1
|
|
|
|
|
3
|
ТД
|
21
|
10
|
94
|
0,55
|
|
ТЧ
|
1
|
|
|
|
К - процентный состав абонентов различных
категорий;
С - среднее число вызовов;
Т - средняя продолжительность разговора, в
секундах;
Р - доля занятий закончившихся разговором;
НХ - народно хозяйственный сектор;
КВ - квартирный сектор;
Т - таксофоны;
Д - декадный набор;
Ч - частотный набор.
Определим среднюю продолжительность одного
занятия для каждой из категорий источников нагрузки т типа телефонных аппаратов.
, (1)
где aк -
коэффициент, учитывающий несостоявшиеся разговоры, который определяется по
зависимости aк = f(Тк,Рр)
( Рис.2)со = 3 с. - средняя продолжительность слушания сигнала ответ
станции;- число набираемых знаков номера.
tпд = 1.5с -
среднее время набора одной цифры номера при декадном способе передачи номера с
дискового или кнопочного номеронабирателя;
tпч =
0,8 с - то же при частотном способе передачи номера,
tс и t0 -
соответственно среднее время установления соединения и время отбоя, которые для
цифровых АТС составляют величину порядка десятков миллисекунд, поэтому будем
принимать равным нулю;
tпв = 7 с -
среднее время посылки вызова при состоявшемся разговоре.
Численность ТА каждой категории: 
(2)
Нагрузка от абонентов каждой
категории: 
(3)
Поступающая нагрузка от абонентов ’Z6, 7 на
проектируемую АТС равна сумме нагрузок от источников различных категорий.
Таблица 3
|
№
п/п
|
Категории
источников нагрузки и типы ТА
|
Р
|
a
|
Тк,
с
|
tк,
с
|
Nк
|
Zк, Эрл
|
|
1
|
НХД
|
0,55
|
1,14
|
118
|
84,958
|
7800
|
533,8226
|
|
НХЧ
|
|
|
|
82,764
|
400
|
26,6684
|
|
2
|
КВД
|
|
1,13
|
138
|
96,643
|
7200
|
251,2725
|
|
КВЧ
|
|
|
|
94,468
|
200
|
6,822689
|
|
3
|
ТД
|
|
1,11
|
94
|
68,070
|
4200
|
794,158
|
|
ТЧ
|
|
|
|
65,934
|
200
|
36,63
|
|
Итого:
|
|
|
|
|
|
20000
|
1649,37
|
Продолжительность занятия ЦКП меньше времени
занятия абонентского комплекта на время слушания сигнала ответа станции и
набора номера
(4)
Следовательно, нагрузка на ЦКП будет
меньше нагрузки на АК на величину отношения
(5)
Для инженерных расчетов коэффициент j для электронных и
координатных АТС можно принять равным 0.9. Поэтому значения нагрузки на ЦКП на
10% меньше, чем на АК. Для АТСДШ соединение устанавливается после набора одной
цифры и коэффициент j принимается
равным 0,95. Следовательно, нагрузка на ЦКП будет равна
(6)
Суммарная интенсивность поступающей нагрузки
распределяется по следующим направлениям
. К спецслужбам нагрузка составляет величину
порядка 0,03 от Zп
(7)
2. Внутристанционная нагрузка к
абонентам своей стации
(8)
где h - коэффициент внутристанционного
сообщения, который определяется по коэффициенту веса станции hс - отношению
интенсивности поступающей нагрузки на проектируемую АТС к интенсивности
поступающей нагрузки от всех абонентов сети. Если принять, что структурный
состав источников нагрузки всех станций одинаков, то коэффициент веса станции
будет равен отношению емкости проектируемой станции Nn к емкости
сети
(9)
Зависимость коэффициента внутристанционного
сообщения в процентах от коэффициента веса станции в процентах приведена в ВНТП
112-98 (таблица 4)
Таблица 4
Зависимость коэффициента
внутристанционного сообщения hh,% от коэффициента веса станции hhс,%
|
hhсhhhhсhhhhсhh
|
|
|
|
|
|
|
0,5
|
16,0
|
8,0
|
24,2
|
35,0
|
50,4
|
|
1,0
|
18,0
|
8,5
|
25,1
|
40,0
|
54,5
|
|
1,5
|
18,7
|
9,0
|
25,8
|
45,0
|
58,2
|
|
2,0
|
19,0
|
9,5
|
26,4
|
50,0
|
61,8
|
|
2,5
|
19,2
|
10,0
|
27,4
|
55,0
|
66,6
|
|
3,0
|
19,4
|
10,5
|
27,6
|
60,0
|
69,4
|
|
3,5
|
19,7
|
11,0
|
28,6
|
65,0
|
72,8
|
|
4,0
|
20,0
|
12,0
|
30,0
|
70,0
|
76,4
|
|
4,5
|
20,2
|
13,0
|
31,5
|
75,0
|
80,4
|
|
5,0
|
20,4
|
14,0
|
32,9
|
80,0
|
84,3
|
|
5,5
|
20,7
|
15,0
|
33,3
|
85,0
|
88,1
|
|
6,0
|
21,0
|
20,0
|
38,5
|
90,0
|
92,2
|
|
6,5
|
21,7
|
25,0
|
42,4
|
95,0
|
95,1
|
|
7,0
|
22,6
|
30,0
|
46,0
|
100
|
100
|
|
7,5
|
23,5
|
|
|
|
|
Междугородная и международная исходящая нагрузка
по заказно-соединительным линиям (ЗСЛ) от одного абонента в ЧНН принимается
равной Zm
=
0.003...0.005 Эрл. Тогда интенсивность поступающей нагрузки на АМТС
(10)
Суммарная исходящая нагрузка от
проектируемой АТС к другим АТС сети будет равна(11)
Таблица 5
Результаты расчетов внутристанционной нагрузки,
нагрузки к УСС и АМТС
|
№
|
Тип
АТС
|
Емкость, тыс
|
Zj
|
hhсhhZjjZспjZзслjZj,и,
|
|
|
|
|
|
|
п/п
|
|
|
|
|
|
|
|
|
|
|
1
|
АТСДШ-3
|
4800
|
376,0575
|
11,82266
|
30
|
112,8172
|
11,28172
|
14,4
|
237,5585
|
|
2
|
АТСКУ-4
|
7800
|
578,9306
|
19,2118
|
38,5
|
222,8883
|
17,36792
|
23,4
|
315,2744
|
|
3
|
АТСЭ-5
|
8000
|
593,775
|
19,70443
|
38,5
|
228,6034
|
24
|
323,3583
|
|
4
|
АТСЭ-6,7
|
20000
|
1484,437
|
49,26108
|
61,8
|
917,3823
|
44,53312
|
60
|
462,522
|
|
Итог:
|
|
40600
|
|
|
|
|
|
|
|
2.3 Распределение интенсивности
нагрузки по направлениям
Распределение нагрузки к встречным АТС, если не
известны значения коэффициентов тяготения, производится пропорционально
нагрузкам данных станций:
(12)
Таблица 6
|
Куда
|
АТС
|
АТС КУ-4
|
АТС Э-5
|
АТС Э-6,7
|
УСС
|
АМТС
|
∑Zij
|
|
Откуда
|
ДШ-3
|
|
|
|
|
|
|
|
АТС ДШ-3
|
112,817241
|
68,0159777
|
69,7599644
|
99,7825511
|
9,23394777
|
10,6471722
|
370,256854
|
|
АТС КУ-4
|
73,1808424
|
222,888272
|
99,6118127
|
142,481725
|
13,1465564
|
14,1303335
|
565,439542
|
|
АТС Э-5
|
75,6548402
|
100,404887
|
228,603356
|
147,298588
|
13,5864866
|
14,4926471
|
935,696396
|
|
АТС
Э-6,7
|
125,401875
|
166,426369
|
170,693712
|
917,382299
|
44,5331213
|
60
|
1484,43738
|
|
АМТС
|
10,6471722
|
14,1303335
|
14,4926471
|
60
|
-
|
-
|
99,2701529
|
|
∑Zij
|
397,701971
|
571,86584
|
583,161493
|
1366,94516
|
80,5001121
|
99,2701529
|
3099,44473
|
По данным матрицы составляется схема
распределения нагрузки (Рис. 3). Если распределение нагрузки сделано правильно,
то
Рис. 3 Схема распределения нагрузки на
проектируемой АТСЭ
Из схемы распределения нагрузки следует что, по
входящим на АТСЭ-6,7 ЦСЛ поступает интенсивность нагрузки Zвх
6,7 = 389,56 Эрл. На исходящие от АТСЭ-6,7 ЦСЛ
поступает интенсивность нагрузки Zисх
6,7 = 462,52 Эрл.
2.4 Расчет интенсивности нагрузки на
многочастотные приемопередатчики
Для расчета нагрузки, поступающей на МЧПП,
обслуживающие телефонные аппараты с частотным способом передачи номера,
необходимо определить среднее время занятия МЧПП.
При связи с абонентами ГТС МЧПП
занимается на время tс0, и время набора абонентского номера.
(13)
При вызове спецслужб МЧПП занимается
на время tco и время набора двух цифр
(14)
При автоматической внутризоновой и
междугородной связи МЧПП занимается на время слушания ответа АТС, набора индекса
выхода на АМТС (цифры 8) слушания ответа АМТС, набора индекса внутризоновой
связи (цифра 2) и семизначного зонового номера при внутризоновой связи или
набора десятизначного междугородного номера при междугородной связи. Нагрузка
поступающая на АМТС, делится примерно поровну между внутризоновой и
междугородной сетями. Без большой погрешности можно считать, что в
интенсивности нагрузки, поступающей на автоматически коммутируемую
междугородную сеть учтена и нагрузка, посыпающая на международную телефонную
сеть. С учетом сказанного(15)
Интенсивность нагрузки, поступающей
на МЧПП, обслуживающие телефонные аппараты с частотным способом передачи
номера, определится из выражения
(16)
где tаб- среднее
время занятия модуля абонентских линий МАЛ,
(17)
Кч - доля интенсивности
нагрузки, поступающей от абонентов, имеющие. телефонные аппараты с частотным
способом передачи номера
(18)
МЧПП, обслуживающие входящие и
исходящие соединительные линии, занимаются после набора кода АТС n1,
определяющего направление к выбранной АТС, на время передачи остальных цифр
номера, n1 = 1: (19)
Нагрузка на МЧПП пропорциональна
входящей и исходящей нагрузке с учётом пересчета времени занятия:
(20)
где Zисх 6,7 Zвх 6,7 - исходящая
и входящая нагрузка на проектируемую ATС по ЦСЛ.
Таблица 6
|
tгтс=
|
7
|
|
tсп=
|
4,6
|
|
tзсл=
|
14
|
|
tаб=
|
76,715
|
|
Кч=
|
0,043
|
|
Zал=
|
5,932
|
|
tцсл=
|
3,2
|
|
Zцсл=
|
35,542
|
3. РАСЧЁТ ОБЪЁМА ОБОРУДОВАНИЯ
3.1 Расчёт числа каналов
Расчет числа исходящих каналов от АТСЭ
производится по первой формуле Эрланга (приложение 3) при потерях, приведенных
в приложении 4 для сети с пятизначной нумерацией: р=0,01 для каналов между АТС,
р=0,005 для ЗСЛ. p=0.002 для
СЛМ и 0.001 для каналов к УСС
Таблица 7
|
Число
каналов
|
|
V6,7->3=
|
164
|
|
V6,7->4=
|
211
|
|
Vзсл=
|
78
|
|
Vслм=
|
80
|
|
Vсп=
|
25
|
|
Vатсэ
|
374
|
|
V6,7<-3=
|
161
|
|
V6,7<-4=
|
182
|
|
Vисх+Vвх=
|
1275
|
Каждая линия ИКМ содержит 30 информационных
каналов, поэтому число линий ИКМ для каждого направления будет равно:
(21)
где знак ] [указывает на ближайшее целое число.
Таблица 8
|
АТС
Э-6,7
|
АТСДШ-2
|
АТСКУ-3
|
АТСЭ-4,5
|
АМТС
|
УСС
|
Всего
|
|
Каналы
|
325
|
393
|
374
|
158
|
25
|
1275
|
|
Линии
|
11
|
13
|
12
|
5
|
1
|
42
|
3.2 Расчет числа терминальных
модулей
Модули цифровых линий
Каждая цифровая соединительная линия включается
в модуль цифровых линий МЦЛ, поэтому их число будет равно суммарному числу
линий ИКМ мцл = 42
Модули абонентских линий
В каждый модуль абонентских линий (МАЛ) может
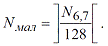
быть включено до 128 абонентских линий, поэтому число МАЛ определяется как
частное от деления ёмкости АТС на ёмкость одного МАЛ.мал = 156
Модули многочастотных приёмопередатчиков
Число МЧПП определяется по интенсивности
нагрузки при Р=0,001 и полнодоступном включении.
Каждый терминальный модуль МЧПП содержит 30
многочастотных приёмопередатчиков
Vал =
17Vцсл
= 59
Nал
= 2Nцсл
= 3
3.3 Определение числа плоскостей
главной ступени
Спаренный коммутатор ступени доступа (СД) через
порты 8…11 подключается к плоскостям главной ступени (ГС). При двух плоскостях
главной ступени СД может обслуживать до 69 Эрл, при трех плоскостях - до 110
Эрл и при четырёх - до 159 Эрл. В СД может быть включено до восьми МАЛ или до
четырёх МЦЛ.
Для определения чила плоскостей находится
интенсивность нагрузки Zсд,
поступающей на СД, в которую включено четыре МЦЛ.
(22)
где
средняя интенсивность нагрузки,
поступающей на один канал цифровой соединительной линии:
(23)
Тогда Zсд =
80,196218 Эрл.
С учетом допустимой 20% перегрузки: Zсд=
96,235462 Эрл. (24)
Следовательно, в главной ступени
необходимо иметь три плоскости.
После определения числа плоскостей
проверяется загрузка СД абонентскими модулями (МАЛ). Для этой цели
рассчитывается модульный коэффициент М, определяющий максимальное число МАЛ,
которое может быть включено в СД с учетом 20% перегрузки.
(25)
Где
(26)
интенсивность исходящей и входящей
нагрузки, поступающей по одной абонентской линии на СД.
Результаты расчета М показали, что
при трех плоскостях и заданной удельной нагрузки в СД можно включить до 5 МАЛ,
а, следовательно, при максимальной возможности включения восьми МАЛ ступень
будет догружена.
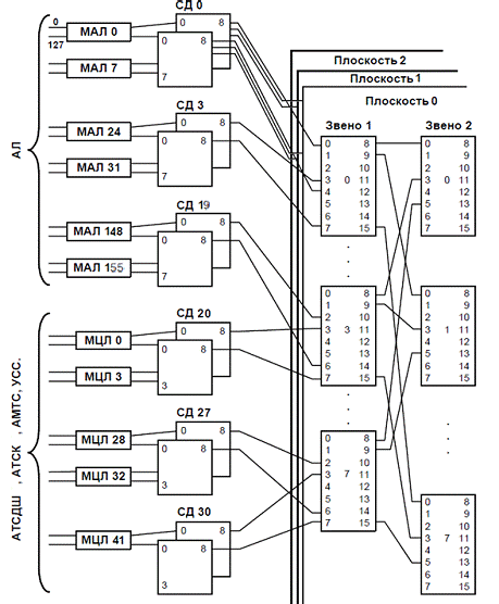
3.4 Расчет элементов коммутационного
поля
В каждый спаренный цифровой коммутатор (ЦК)
ступени доступа в порты 0…7 может быть включено до 8 терминальных модулей.
Восьмые выходы включаются к цифровым коммутаторам первого звена нулевой
плоскости главной ступени, девятые - к первой, десятые - ко второй и
одиннадцатые - к третьей плоскости. При этом если один из выходов ЦК СД
включаются в i-й вход главной
ступени, где i-0,1,2,3, то
аналогичный выход с другого ЦК СД включается во вход i+4
ЦК первого звена, как это показано на рис. 4.
Выходы 12…15 СД используются для подключения
дополнительных элементов управления и МЧПП.
В рассматриваемом примере, как показали расчеты
коэффициента М, в СД может быть включено до восьми МАЛ. Поэтому число СД для
включения МАЛ будет равно:
(27)
каждая цифровая соединительная линия
ИКМ на АТС включается в модуль цифровых линий (МЦЛ). В мультипорт может быть
включено до четырёх МЦЛ. Поэтому число мультипортов будет равно:
(28)
Всего во входы одного ЦК первого
звена главной ступени может быть включено до четырёх СД. Поэтому число ЦК
первого звена одной плоскости:
(29)
Таблица 9
|
Nмалсд=
|
20
|
|
Nмцлсд=
|
11
|
|
Nцк=
|
8
|
Nцк2=6,
Nцк2=8,
Nцк3=0
4. ФУНКЦИОНАЛЬНАЯ СХЕМА АТС
На рис. 4 приведена функциональная схема АТС-6.7
на 20000 номеров, содержащая 156 МАЛ. включенных в 20 СД,и 42 МЦЛ, которые
включены в 11 СД. Главная ступень имеет одну секцию, содержащую 8 ЦК на первом
звене и 8 коммутаторов на втором звене в одной плоскости.
Рис. 4 Функциональная схема АТСЭ - 6, 7
ЗАКЛЮЧЕНИЕ
При выполнении данного курсового проекта была
составлена структурная схема телефонной сети, произведён расчёт нагрузки и
распределение её интенсивности по направлениям, составлена схема распределения
нагрузки, спроектирована функциональная схема АТСЭ С - 12.
СПИСОК ИСПОЛЬЗОВАННЫХ ИСТОЧНИКОВ
коммутационный телефонный сеть
терминальный
1. Маркин Н. П. Методические
указания по проектированию цифровых систем коммутации типа С-12/ Н. П. Маркин,
А. П. Пшеничников.
2. Росляков А. В.
Проектирование цифровой ГТС: Учебное пособие/А. В. Росляков, Н. Д. Черная, Ю.
Ю. Харченко и др. - Самара.: ПГАТИ, 1998.А.В. Цыкина. Электронные усилители.
3. <http://ru.wikipedia.org/>