|
Iя
|
Mн
|
Cм
|
Ce
|
Tm
|
Tя
|
Kд
|
|
1,9592
|
2,1702
|
1,1076
|
1,6513
|
0,0332
|
0,0271
|
0,6055
|
2. Дифференциальные уравнения электромеханической
системы
.1 Классическая форма записи дифференциальных
уравнений
ПУ:
ДПТ:
Редуктор:
ТГ:
ДОС:
УМ:
Передаточные функции элементов
определяются:
ПУ:
ДПТ:
,
Двигатель сводится к передаточной
функции колебательного звена
,
,
Редуктор:
ТГ:
ДОС:
УМ:
Описание сигналов:
напряжение, поступающее от внешнего
задающего устройства.
выходной сигнал предварительного
усилителя.
напряжение с выхода датчика угла.
угловая скорость входного вала
редуктора.
угол поворота выходного вала
редуктора.
номинальное напряжение двигателя.
напряжение с выхода датчика скорости
.2 Уравнения состояний системы
управления и двигателя
а)
б)
Рис. 2 а - структурная схема системы управления,
б - структурная схема двигателя
По полученной структурной схеме запишем
уравнения состояния системы управления:
Воспользуемся теми же
преобразованиями для составления уравнений состояния двигателя, представленного
типовым динамическим звеном второго порядка.
По полученной структурной схеме
запишем уравнения состояния двигателя:
где
3. Структурная схема электромеханической
следящей системы
.1 Блок-схема двухконтурной электромеханической
следящей системы
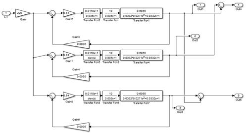
Блок-схема электромеханической следящей системы
- двухконтурная автоматическая система представлена на рис.3
Электромеханическая следящая система состоит из
двух автоматических систем:
системы автоматического регулирования скорости
(внутренний контур);
следящей системы (внешний контур).
Двигатель постоянного тока заменяется
структурной схемой.
В структурную схему на входе РС дополнительно
введен элемент, определяющий номинальное напряжение U=220.
Изображаем структурную схему и записываем
передаточные функции разомкнутой и замкнутой системы
Рис.3. Блок-схема двухконтурной
электромеханической следящей системы
Датчик обратной связи принимается Кдос=1
ПУ1 и ПУ2 - имеют одинаковые коэффициенты ( не
настроены)
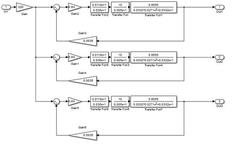
3.2 Структурная схема с САР скорости
Рис.4. Блок-схема одноконтурной САР
.3 Передаточные функции САР скорости по
управлению в tf- форме,
разомкнутой и замкнутой электромеханической следящей системы


Уравнение следящей системы:
4. Анализ электромеханической следящей системы
.1 Анализ устойчивости по критерию Гурвица
.1.1 Анализ устойчивости САР скорости

=0.0332*0.0271*0.005=0.0000044986

=0.0332*0.0271+0.0332*0.005=0.00106572

=0.0332+0.005=0.0382

=1+2.2*0.005*10*0.0035=1.000385

= 

=0.0382*0.00106572*0.0000044986-1.000385*0.00000449862=1.0467-2.8227=-1.776

0.0382*0.00106572=0.000040710504

=1.000385*0.0000044986=0,000004500331961

+
*

+
)
(
+0.0332)(0.0332*0.0271+0.0332*0.005)=0.00166*0.00106572=0.000007690952

*
=1.000132*0.000168=0.0000002097404771

-

Устойчивость следящей системы
Система 4-го порядка

=

*
*
*
+
*
.1.3 Устойчивость по расположению
корней характеристического уровня
Так как исходная система неустойчива
при заданных параметрах КПУ1 и КПУ2, то мы изменяем
коэффициент КПУ1 =0.84. Вид переходной характеристики -
колебательный, а сама система устойчива.
Корни системы следующие
S1= -7.7+26,7i
S2= -7.7-26,7i
S3= -200
S4= -22.i
Так как действительная часть корней
отрицательная и расположена в 2 и 3 четвертях, то система устойчива.
4.1.4 На рисунке 5 СС представлено
расположение корней устойчивой системы при комплексных уравнениях
Рис.5 Корни СС
Действительная часть отрицательна,
значит система устойчива. Корни расположены во второй и третьей четверти. Во
второй четверти положительные корни, а в третьей отрицательные.
Рис 6.
На рисунке 4 представлена ЛАЧХ запас
по фазе.
Так как запас по фазе 
L.
Так как запас по фазе отрицательный,
то система устойчива.
.1.6 Устойчивость по АФЧХ
разомкнутой системы
Рис 5.
На рисунке 7 представлен
расположение АФЧХ разомкнутой системы.
Запас по фазе = -7.09.
Запас по амплитуде -55.5
4.1.7 Устойчивость по переходной
характеристике
Рис 8.
На рисунке 6 представлена
колебательная переходная характеристика следящей системы, где время
регулирования = 1,19, а перерегулирование = 18,6%
.2 Анализ показателя качества по
переходной характеристике
.2.1 Показатели качества САР
скорости
Рис 9.
На рисунке 7 представлена переходная
характеристика САР скорости. По условию работы h(уст.)=n(об/мин)=1100.
Коэффициент САР скорости КПУ2=0.84.
Время регулирования 0.163.
.2.2 Регулировка САР скорости
Переходная характеристика должна
быть апериодической, где
Коэффициент = 0.84
Время регулирования 0.182
Рис 10.
На рисунке 8 представлена
апериодическая характеристика.
4.3 Анализ точности САР и следящей
системы
.3.1 Анализ точности САР
Рис 11
На рис 11представлен график
позиционной ошибки 1, где 
.3.2 Точность следящей системы
На рисунке график скоростной ошибки
равна 
Рис 12
На рисунке 10 представлен график
скоростной ошибки
Рис. 13
5. Коррекция электромеханической САР скорости
.1 Переходная характеристика уравнения двигателя
На рисунке представлена схема моделирования для
однополярного и двуполярного сигнала уравнения.
Рис. 14 Схема моделирования для однополярного и
двух полярного сигнала управления.
Рис. 15 Переходная
характеристика двигателя
На рисунке представлена характеристика времени.
Где время регулирования t=0,1599с
время перерегулирования 
.2 По результатам настройки САР
скорости при hуст=n и КПу2=0,84
При заданном времени регулирования tp, tн, 
, используется корректирующие
условие КУ=5
На рисунке предоставлена модель для
получения корректирующего устройства.
Рис.16. Аппаратная реализация
корректирующего устройства
данные С=1, F=220, H=0.0010, G=W1*W2*W3
Вводим в рабочей области Matlab команды
>>H=tf
(Ктг)
>>C=tf(1)
>>F=tf(220)
>>W1=tf(Кпу2)
>>W2=tf(Ку,[Tуs+1])
>>W3=tf(Кд/
Ку>>G=W1*W2*W3
На рисунке 12 представлена схема, в
которую мы вставляем корректирующее устройство
Рис. 17 Схема с
корректирующим устройством
Подобранное корректирующее
устройство

Корректирующие устройство LT1
На рисунке 19 представлена
импульсная переходная характеристика
Рис. 19 Импульсная переходная
характеристика
5.3 Коррекция следящей системы с П
регулятором и с корректированной САР скорости
На рисунке 15 представлена схема
следящей системы с подобранным Кпу1.
Рис. 20
Setting
time (sec)=
0.296
Вывод: в результате увеличения Кпу1, время
регулирования уменьшилось по сравнению с пунктом 4.2.2 почти в 2 раза.
6. Анализ чувствительности и точности САР
скорости
.1 Исследование чувствительности с помощью
структурной схемы
Для скорректированной структурной
схемы САР скорости оценивается влияние отклонения выбранных параметров
корректирующего устройства постоянных времени Т1 или Т2на переходную
характеристику. При аппаратной реализации корректирующее устройство в виде RC-цепи
необходимо учитывать допустимые отклонения параметров
.В этом
случае, обычно, используется - отклонение по переходной характеристике. Затем
выделяется приращение переходной характеристики от положительного и
отрицательного значения. Структурная схема приведена на рисунке 21.
Рис. 21
На рисунке 22 представлены
переходные характеристики.
Рис. 22
.2 Коррекция электромеханической
системы поворота руки робота в пространстве состояний с использованием
модального регулятора
Выводим переходную характеристику
электромеханической системы с доступом к переменным постоянным состояний и
определяются корни характеристического уравнения при задании следующих команд.
>>step(h)
>>pole(h)
>>p= [
-a1 -a2 -a3-jB -a3+jB]
>>step(ht)
На рисунке представлена переходная
характеристика. Структурная схема предназначенная для сравнения выходных
характеристик по отклонению приведена на рисунке 23
Рис. 23
Рис. 24
Если выход 1 подать на положительный вход
сумматора, меняется только форма характеристики, т.е. становится вогнутой. На
рисунке 25 представлена данная переходная характеристика.
Рис 25
Полученные данные приведены в таблице ниже
Таблица 1.
|
Т1
|

|
|
|
0,1090,120,17
|
|
|
|
|
52,547,56
|
|
|
|
Построим график по таблице
Рис. 26
Рис. 27
Вывод: в случае если мы увеличиваем
отклонение на 20%, то время регулирования уменьшается tp=0,12
, перерегулирование увеличивается
=2,54
; если же мы уменьшаем отклонение,
то и время регулирования и перерегулирование увеличивается: tp=0,17 и
=7,56%.
.2 Метод дифференцирования
передаточной функции
Существует еще второй путь дифференцирования
передаточной функции по приращению заданного значения.
Все операции проводятся в рабочей
области MATLAB.
>>
syms s g
>>
w1=0.84=8.4000e-001
>>
w2=(0.0118*s+1)/(0.035*s+1)=((59*s)/5000 + 1)/((7*s)/200 + 1)
>>
w3=10/(0.005*s+1)=10/(s/200 + 1)
>>
w4=0.6055/(0.0332*0.0271*s^2+0.0332*s+1)=1211/(2000*((8298452288998979*s^2)/9223372036854775808
+ (83*s)/2500 + 1))
>>
w5=0.0035=3.5000e-003
>>
w=w1*w2*w3*w4=
(25431*((59*s)/5000
+ 1))/(5000*(s/200 + 1)*((7*s)/200 + 1)*((8298452288998979*s^2)/9223372036854775808
+ (83*s)/2500 + 1))
>>
wd=w/(1+w5*w)=
(25431*((59*s)/5000
+ 1))/(5000*(s/200 + 1)*((7*s)/200 + 1)*((178017*((59*s)/5000 +
1))/(10000000*(s/200 + 1)*((7*s)/200 +
1)*((8298452288998979*s^2)/9223372036854775808 + (83*s)/2500 + 1)) +
1)*((8298452288998979*s^2)/9223372036854775808 + (83*s)/2500 + 1))
Особенностью исследования при
задании структурных схем в области Simulink является
то, что при исследовании системы в рабочей области Matlab матрицы А,
В, С, D не
соответствуют матрицам исходной системы.
В этом случае исследование системы
проводится в рабочей области, а структурная схема системы с доступом к
переменным состояний используется для определения уравнения системы в
матрично-векторной форме.
7. Коррекция электромеханической
системы с модальным регулятором
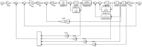
.1 Структурная схема и
векторно-матричная описание с доступом к переменным состоянием
Рис 28
В рабочей области вводим последовательность
команд задаются матрицы исходной системы:
>> A=[0 1 0 0; 0 0 1 0; 0
-1/(0.0332*0.0271) -1/0.0271 0.6055/(0.0332*0.0271);
-0.01*0.84*220*0.835*10/0.005 -0.0035*0.84*0.6055/0.005 0 -1/0.005]=
1.0000e+000 0 0
-1.1115e+003 -3.6900e+001
6.7299e+002
.0862e+003 -3.5603e-001 0
-2.0000e+002
>>
B=[0;0;0;0.84*220*0.835*10/0.005]=
>> C=[0.01 0 0 0]=
.0000e-002 0 0 0
>> D=0=
>> h=ss(A,B,C,D)= x2 x3 x40 1
0 00 0 1 00 -1111 -36.9 673-3086 -0.356 0 -200= 0003.086e+005= x2 x3 x40.01 0 0
0= 0time model.
>>
step(h)
Представлена
переходная характеристика
Рис.
29
Вывод:
переходная характеристика схемы с доступом к переменным состояниям в матричном
виде одна и та же. Затем мы просматриваем значения переходных составляющих
остальных переменных с помощью команды
>>h1=augstate(h)
На
рисунке 26 представлены переходные характеристики остальных переменных
Рис.
30
7.2
Структурная схема и векторно-матричное описание системы с модальным регулятором
Корни
получаем с помощью команды набранной в рабочей области pole(h)
ans =
.9981e+002
.3676e+001
.1708e+001 +2.4960e+001i
.1708e+001 -2.4960e+001i
Увеличиваем
все корни в 3 раза.
>> p=[(-1.9981e+002)*3
(-1.3676e+001)*3 (-1.1708e+001 +2.4960e+001i)*3 (-1.1708e+001
-2.4960e+001i)*3]=
.9943e+002 -4.1028e+001 -3.5124e+001
+7.4880e+001i -3.5124e+001 -7.4880e+001i
>> K=acker(A,B,p)
Формируем
матрицы корней модального регулятора
K =8.0002e-001 2.5788e-002 2.4290e-004 1.5353e-003
Проверка
>>
dA=[0 0 0 0; 0
0 0 0; 0 0 0 0; -220*K*0.84*0.835*10/0.005]
dA =
0 0 0
0 0 0
0 0 0
.4690e+005 -7.9585e+003 -7.4964e+001
-4.7381e+002
>> A1=A+dA=
1.0000e+000 0 0
0 1.0000e+000 0
-1.1115e+003 -3.6900e+001
6.7299e+002
.4998e+005 -7.9644e+003 -7.4964e+001
-6.7381e+002
>> B1=B=
>> C=[1 0 0 0]=
0 0 0>> D1=[0]= 0
>> h2=ss(A1,B1,C1,D1) = x2 x3
x40 1 0 00 0 1 00 -1111 -36.9 673-2.5e+005 -7964 -74.96 -673.8= 0003.086e+005=
x2 x3 x41 0 0 0= 0 time model.
>>
step(h2)
Строится
переходная характеристика по выходу СС, на ней отмечается время регулирования tp, которое
должно быть в (1,5-2) раза меньше регулирования tp в скорректированной системе
с П-регулятором
Рис.
31
Рис.
32
Вывод:
время переходной характеристики уменьшилось.
Схема
с модальным регулятором.
Рис.
33
Рис
34
8.
Реализация цифрового модального регулятора
.1
Параметры блоков в цифровой форме
Цифровой
модальный регулятор в составе сумматора и четырех блоков Gain переводится в
цифровую форму с помощью Int. С выхода X1, X2, X3, X4 снимаются аналоговые
сигналы, которые преобразуются с помощью АЦП (элемент Data Type). Вход -
аналоговый. На выходе сумматора ставится ЦАП. Выход аналоговый.
.2
Переходная характеристика схемы с ЦМР
Рис.
35.
На
рис. 35 представлена схема с ЦМР.
При
разрядности не ниже 32 представлена переходная характеристика.
Если
изменять разрядность изменяется не значительно только сигма для периодического
переходного процесса.
При
задании команды выводятся переходные процессы. Переменные X2 (скорость) X3
(ток) X4 (напряжение). Амплитудные значения аналогичные.
Рис
36
робот автоматический цифровой регулятор
При
использовании одного датчика для главной обратной связи, (датчик положения)
структурную схему с модальным регулятором можно использовать при реализации
наблюдателя. Наблюдатель по входу и выходу системы восстанавливает все
составляющие вектора управления Х 1, Х 2, Х3, Х 4. Реализация наблюдателя может
осуществляться программно при использовании среды Матлаб. Корни наблюдателя
должны быть в 8-10 раз по модулю больше корней исходной системы. Для
формирования наблюдателя используются следующие команды, для исходной системы:
[A1,B1,C1,D1]=
linmod('untitled1_1')
h1=ss(A1,B1,C1,D1)=tf(h1)
Для
реализации наблюдателя используются след команды:
r2=8*roots(h.den{1})=acker(A1',C1',r2)'%
est=estim(h1,f,[1],[1])
На
рисунке 36 представлена структурная схема с наблюдателем, где исходная система
трансфер-форма.
Рис.
36
На
рисунке 37 представлена переходная характеристика с наблюдателем (указывается
время и сигма), переход характеристика совпадает с переходной характеристикой
системы с модальным регулятором.
Рис.
37

=0.0461%
tp=0.326
Заключение
Для СС заданы параметры сигма =
0.05, время регулирования должно быть уменьшено в 2-3 раза по сравнению с
исходной системой.
Для САР скорости задается сигма =
5%, и hуст = 1100 (обороты).
Исследования проводились в рабочей
области Матлаб и Симулинк с помощью визуальных блоков.
Для САР скорости использовался П -
пропорциональный регулятор, и последовательное корректирующее устройство.
Решение дифференциального уравнения ДПТ осуществлялось с помощью оператора Dee.
Для повышения быстродействия СС использовался модальный регулятор в аналоговой
и цифровой форме.
Исследование системы с наблюдателем
показало, что в системе можно использовать один датчик обратной связи, а
переходная характеристика аналогична системе с двумя датчиками.
Библиографический список
1. Методические указания к
выполнению лабораторных работ 1-4 по дисциплине “Теория автоматического
управления” для студентов направление 221000.62. Мехатроника и робототехника
(промышленная и специальная робототехника ) очной формы обучения / Сост. А.П.
Харченко, Ю.С. Слепокуров. Воронеж.: ВГТУ, 2004. 28 с.
. Методические указания к выполнению
лабораторных работ 5-8 по дисциплине “Теория автоматического управления” для
студентов специальности 221000.62 “Роботы и робототехнические системы” очной
формы обучения / Сост. А.П. Харченко, Ю.С. Слепокуров. Воронеж.: ВГТУ, 2004. 47
с.
. Методические указания к выполнению
лабораторных работ 9-13 по дисциплине “Теория автоматического управления” для
студентов очной формы обучения 221000.62 / Сост. А.П. Харченко, Ю.С.
Слепокуров. Воронеж.: ВГТУ, 2006. 19 с.
. Методические указания к выполнению
курсовой работы по дисциплине “Теория автоматического управления” для студентов
специальности 220402 “Роботы и робототехнические системы” очной и очно-заочной
форм обучения / Сост. А.П. Харченко, Ю.С. Слепокуров, А.К. Муконин Воронеж.:
ВГТУ, 2008. 29 с.