Механизация и автоматизация штамповочного производства

  • Вид работы:
    Контрольная работа
  • Предмет:
    Другое
  • Язык:
    Русский
    ,
    Формат файла:
    MS Word
    690,93 Кб
  • Опубликовано:
    2015-01-14
Вы можете узнать стоимость помощи в написании студенческой работы.
Помощь в написании работы, которую точно примут!

Механизация и автоматизация штамповочного производства

Содержание

1. Приведите классификацию устройств для автоматической подачи непрерывного материала. Поясните условия совместной работы подающего устройства с прессом

. Перечислите функциональные механизмы автоматических бункерных захватно-ориентирующих устройств и поясните их назначение

. Приведите схемы и принципы работы отсекателей (механизмов поштучной выдачи заготовок из накопителей)

. Охарактеризуйте структуру ГПС и поясните функциональное назначение ее структурных элементов. В чем заключаются особенности гибкого автоматизированного производства?

Список использованных источников

1. Приведите классификацию устройств для автоматической подачи непрерывного материала. Поясните условия совместной работы подающего устройства с прессом


В условиях автоматизации кузнечно-штамповочного производства в качестве непрерывного материала (помимо ленты, проволоки, широкорулонной стали) в зависимости от характера и особенностей технологической операции может быть использован любой исходный материал. Например, при автоматизации процесса вырубки кружков (шайб) из полосы последняя от момента заправки ее в пресс до полного расходования может рассматриваться как непрерывный материал; при автоматизации процесса резки листа на карточки (полосы) в качестве непрерывного материала (заготовки) используется лист; при автоматизации резки сортового проката (круглого, прямоугольного и др.) исходный материал может быть также условно отнесен к непрерывному и т. д.

Это объясняется тем, что во всех перечисленных случаях исходный материал (заготовка) отвечает следующим требованиям:

1.  Непрерывность подачи одной и той же заготовки к технологическому оборудованию в течение некоторого времени.

2.  Постоянство ориентации заготовки относительно инструмента машины.

3.  Возможность получения нескольких (группы) деталей в результате последовательно совершаемых ходов технологического оборудования.

Наибольшие преимущества дает автоматизация штамповки из ленты, проволоки и широкорулонной стали. Однако применить указанные материалы не всегда возможно, так как при этом необходимо, чтобы ширина ленты (она нормализована) соответствовала требованиям технологии, чтобы был необходимый сортамент проволоки и т. д. Тогда-то и приходится применять полосовой материал, нарезанный предварительно из листа, сортовой прокат соответствующего профиля и т. д.

На рис. 1.1 показан участок штамповки листов железа ротора на двухстоечном кривошипном прессе 4 усилием 2500 кн (250 тс), оснащенном тянущей валковой подачей 11, лотковым удаляющим устройством 5, приводимым Ъ движение от пневматического цилиндра 9 стапелирующим устройством 8\ разматывающим устройством 7 и устройством (ножами) 1 с приводом от пневматического цилиндра для удаления отработанного материала 13, который попадает на подпольный ленточный транспортер 12, направляющий его на участок пакетирования.

Рис. 1.1. Автоматический участок штамповки железа ротора

В рассматриваемой установке используется лента, полученная на специальной установке сваркой из полос. Рулон 6 устанавливается на разматывающее устройство 7 с периодически включающимся приводом.

Привод валковой подачи 11 (скорость подачи 0,5 м/сек, шаг регулируемый от 140 до 300 мм) обеспечивается от главного вала через специальный кулачок 3. В валковой подаче предусмотрен дополнительный механизм, обеспечивающий перемещение ленты на дополнительный ход для переноса сварного шва через рабочую позицию. Включение привода дополнительного хода происходит через определенное число ходов пресса от специального контрольного устройства. В результате обеспечивается дополнительное вращение валков, протягивающих ленту до специального упора 2, установленного в штампе 10. При ходе ползуна вниз (валки подачи неподвижны) упор опускается, и лента освобождается. Затем при ходе ползуна вверх лента подается на установленный шаг и работа подачи происходит без дополнительного вращения валков.

Блокировка предотвращает возможность получения бракованных деталей и повреждения рабочих частей штампа.

Отштампованные листы ротора удаляются из рабочей зоны лотковым устройством 5, управление работой которого осуществляется от коленчатого вала пресса с помощью кулачка 14 и воздухораспределительного клапана 15.

Рис. 1.2. Автоматический участок штамповки из полосы

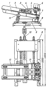
На рис. 1.2 показана кинематическая схема участка автоматической штамповки из полосы. Стопка полос 1 устанавливается на стол полосоукладчика; рычаг 9 замыкает контакт конечного выключателя, который указывает на правильность установки (ориентации) исходного материала относительно пресса. Захват заготовки (полосы) осуществляется пневматическими присосами 4, смонтированными на траверсе 3. Захваченная полоса перемещается с помощью пневматического цилиндра 2, управляемого от электропневматического клапана 11, вверх на уровень работы валковой подачи 6, а с помощью пневматического цилиндра 5, управляемого клапаном 12, влево - в зону действия захватного органа валковой подачи. В конце хода шток пневматического цилиндра 5 воздействует на конечный выключатель, который обеспечивает включение пневматического привода 7, перемещающего передний конец полосы в рабочую зону штампа. В это время пневматический цилиндр 5 возвращает траверсу 3 в исходное положение. Шток пневматического привода 7 подачи в конце хода воздействует на конечный выключатель, который включает пресс на автоматическую работу. Привод валковой подачи при работе пресса осуществляется от главного вала. Пресс автоматически работает до тех пор, пока не отштампована вся полоса. Удаление готовых изделий осуществляется пневматическим удаляющим устройством S, срабатывающим от специального пневматического переключателя 13. Отштампованная полоса попадает в специальное стапелирующее устройство (на рис. 1.3 не показано), после чего пневматический цилиндр 10 отключает пресс. Одновременно подается импульс на включение в работу полосоукладчика, затем цикл повторяется.

Рис. 1.3. Схема автоматической штамповки на многопозиционном прессе

На рис. 1.4 показан многопозиционный пресс-автомат, в котором лента используется для получения штучной заготовки, передаваемой затем в виде полуфабрикатов с позиции на позицию специальным грейферным механизмом 12, работающим в период холостого хода пресса.

Лента 1 перемещается с помощью валковой додачи 10. Подача вырубленной заготовки в зону действия грейферной подачи осуществляется шиберным устройством 11. Формоизменение заготовки происходит на рабочих позициях 2-S, после чего деталь переносится на удаляющее устройство 9 типа транспортера.

На основании изложенного структурная схема автоматизации и комплесной механизации штамповки из непрерывного материала < может быть представлена схемами на рис. 1.5. На схеме рис. 89, а направление подачи заготовки (непрерывного материала) совпадает с направлением перемещения полуфабриката на штампе (штамповка из ленты на многопозиционном или последовательном штампе). На схеме, показанной на рис. 1.5, б, направление подачи заготовки и направление перемещения полуфабриката по штампу не совпадает. В последнем случае на первой позиции из непрерывного мате-раила получают штучную заготовку, которая затем специальным устройством перемещается с позиции на позицию.

Из структурных схем, приведенных на рис. 1.5, а и б, видно, что для автоматизации технологических процессов при использовании непрерывного материала необходимы следующие средства автоматизации: ориентирующе-питающее и подающее устройства, устройство для удаления отработанного материала и средства контроля. Устройства для удаления готовых изделий по своему назначению относятся к средствам автоматизации, применяемым для штучных заготовок, и будут рассмотрены в гл. IV.

Рисунок 1.5 - структурная схема компоновки средств автоматизации для штамповки из непрерывного материала

Ориентирующе-питающие устройства для непрерывного материала обеспечивают установку и подготовку исходного материала (заготовки). Установка материала предусматривает необходимую его ориентацию относительно захватных органов ориентирующе-питающего и подающего устройств. Подготовка материала к штамповке заключается в переводе исходного материала из состояния поставки (рулон, бухта, стопа) в состояние, пригодное для совершения технологической операции (т.е. разматывание, правка и др.), и в обеспечении постоянства питания материалом подающих устройств.

Различают следующие разновидности ориентирующе-питающих устройств: разматывающе-правильные (для собственно непрерывного материала), полосо- и листоукладчики (для листов и полос), автоматизированные стеллажи (для сортового проката).

Назначение подающих устройств (подач) определяется их названием, они обеспечивают подачу исходного материала непосредственно в рабочую зону технологического агрегата (пресса, различного типа ножниц, профилировочных вальцев и т.д.).

Устройства для удаления использованного материала применяются в основном при штамповке из ленты и полосы и представляют собой или специальные наматывающие барабаны и стапели-рующие устройства для полос, или приспособления для рубки отхода с последующим удалением его от пресса.

Средства контроля, применяемые при автоматизации штамповки из непрерывного материала, используются для различных блокировок: для остановки технологического оборудования в случае отсутствия материала, подачи "сдвоенных" заготовок (листов, полос) или при поломке инструмента; для поддержания постоянства скорости подачи материала и т. д. Они могут выполнять и самостоятельные функции, такие как управление устройствами для дозированной резки заготовок, программирование работы сортовых ножниц и др. В последнем случае средства контроля относятся к средствам автоматики.

Структурная схема комплексной механизации процессов штамповки из непрерывного материала показана на рис. 1.5, в. Она обычно используется при применении полосового материала или сортового проката.

 

. Перечислите функциональные механизмы автоматических бункерных захватно-ориентирующих устройств и поясните их назначение


Автоматические бункерные захватно-ориентирующие устройства для штучных заготовок (АБЗОУ), несмотря на большое разнообразие их конструкций, зависящих от формы и размеров подаваемых заготовок, работают по одному и тому же принципу и имеют аналогичную структуру конструктивных элементов (или узлов), которую можно продемонстрировать на одном из частных примеров карманно-дискового АБЗОУ с захватными органами, имеющими в плане форму прямоугольников (рис. 2.1).

Такое автоматическое захватно-ориентирующее устройство карманно-дискового типа предназначено для захвата и ориентации заготовок, имеющих форму удлиненного стакана. Рассмотрим основные конструктивные элементы, обеспечивающие его нормальную работу этого АБЗОУ.

В бункер 1 заготовки засыпаются навалом, в произвольном положении, в количестве, необходимом для непрерывной работы пресса или другой технологической машины в течение заданного отрезка времени. Для высокопроизводительных прессов (производительностью 100-150 шт/мин) число заготовок в бункере может доходить до 5000 шт.

Дно и стенки бункера наклонены к горизонту, благодаря чему отдельные заготовки под действием собственного веса движутся в направлении к захватным органам 2. В процессе этого движения заготовки, увлекаемые силами трения вращающегося диска 5, пересыпаются и одновременно перемешиваются выступами 4, занимая в пространстве положение, благоприятное для захвата их захватными органами.

Захватные органы 2 осуществляют поштучный захват и начальное ориентирование заготовок, поступающих к ним из бункера. В данном случае захватными органами являются прямоугольные карманы, вырезанные по периметру на наклонном вращающемся диске 3.

Число захватных органов в зависимости от формы и размеров заготовок, способа захвата и заданной производительности колеблется от одного до нескольких сотен. В данном примере заготовки после захвата могут оказаться в двух возможных положениях: или дном или открытой частью в направлении вращения.

Подготовке заготовок к захвату движущимися захватными органами в данном случае способствует форма бункера, наклонное расположение диска с захватными органами и стенок бункера к горизонту и выступы 4, расположенные на вращающемся диске и производящие ворошение, разбрасывание и пересыпание заготовок.

Плоские пружины 5, прикрепленные к стенкам бункера, подготовляют заготовки к выпаду из захватных органов в приемник.

Первая пружина укладывает в карман "стоячие" заготовки, а вторая сбрасывает с поверхности диска заготовки, не захваченные захватными органами или захваченные ими неполностью.

В приемник 7 заготовки поступают из захватных органов в первично-ориентированном положении. Попадая на призму 8, выполняющую функцию ориентатора, заготовки приобретают заданное положение и продолжают движение из приемника в лоток-магазин.

Рисунок 2.1 Структурная схема основных конструктивных элементов АБЗОУ

Блокирующее устройство 9 устраняет или предохраняет магазин от переполнения заготовками.

Амортизатор-вибратор 6 предохраняет АБЗОУ от поломок при случайных перегрузках или застреваниях заготовок, а также устраняет случайные застревания путем вибрирующего движения захватных органов.

Привод 10 обеспечивает приведение в движение захватных органов, переориентаторов, блокирующих механизмов и др.

На стойке 11 крепится вся конструкция АБЗОУ.

Таким образом, основным рабочим элементом рассмотренного АБЗОУ является захватный орган, производящий поштучный захват заготовок из общей их массы, находящейся в бункере.

Захваченные заготовки переносятся в приемник и в лоток, будучи уже предварительно ориентированы в одном, двух или нескольких положениях. В захватных органах, в приемнике или в отдельном специальном устройстве может быть произведено доориентирование, или удаление неправильно ориентированных заготовок, чтобы на рабочую позицию попала заготовка, ориентированная только в одном заданном положении.

Из сказанного ясно, что в основе работы АБЗОУ лежит принцип вероятности захвата заготовок из общей массы, находящейся в бункере. Так как заготовки лежат в бункере в произвольном положении, то, очевидно, только некоторые из них окажутся в благоприятном положении, соответствующем положению захватного органа, и будут им захвачены. Таким образом, производительность АБЗОУ (число заготовок, выдаваемых в единицу времени) зависит прежде всего от способа и степени захвата заготовок захватными органами.

По теории вероятности захват заготовок, как бы ни была мала его вероятность, обязательно будет. Принимая некоторые конструктивные меры и используя действующие на заготовку силы, а также ее свойства (силы тяжести и инерции, смещение центра тяжести, форму заготовки и др.), можно создать доминирующие факторы, повышающие степень подготовленности заготовок к захвату и тем самым повысить степень вероятности их захвата органами. Комплекс таких конструктивных мер будем называть подготовкой к захвату. Успех и качество конструкции АБЗОУ в значительной мере зависит от того, насколько успешно для каждого конкретного случая, формы, типа и размеров заготовок будет разрешен вопрос подготовки к захвату.

 

. Приведите схемы и принципы работы отсекателей (механизмов поштучной выдачи заготовок из накопителей)


Отсекатели, питатели, захватные механизмы являются необходимыми элементами автоматических линий. Для четкой работы автомата число подаваемых заготовок регулируется отсекателем, который отделяет от общего потока необходимое число заготовок и передает их в питатель.

Классификация отсекателей производится по характеру движения. При поступательном движении отсекатель своей поверхностью перекрывает доступ заготовки из магазина к рабочим органам автомата. Наличие обратного хода у таких отсекателей снижает их производительность до 80-100 шт/мин. При колебательном движении отсекателя его производительность несколько повышается. При качательном движении отсекатель выполняется в виде скобы, ось которой шарнирно закреплена по линии потока заготовок.

На концах скобы поперечно движению заготовок установлены разделители (планки и штифты), причем разделитель одного плеча скобы отодвинут от второго разделителя, закрепленного на другом плече, на размер заготовки. При качании скобы вначале весь поток перегораживается дальним отделителем, а затем при переброске скобы в другое положение от потока вторым штифтом отделяется одна заготовка, а остальные перекрываются, после чего цикл повторяется. При вращательном движении отсекателя достигается наибольшая производительность автомата из-за отсутствия при подаче заготовок холостых ходов. Как правило, отсекатель блокируется с питателем, который служит для непосредственной подачи заготовок из лотка к рабочим позициям автомата.

Лоток состоит из направляющих уголков 2 и 12, смонтированных на раме 1 и ограничивающих заготовки 4 по длине. Ширина лотка может регулироваться в зависимости от длины заготовки в результате перемещения уголка 12 по пазам рамы 1.

Заготовки 4 находящиеся на лотке, за счет силы тяжести перемещаются вниз. Нижняя заготовка упирается в угольник 5.

В этом положении ось заготовки совмещена с осью толкателя, выдающего заготовки в направлении ее оси. Наличие поворачивающего отсекателя 3, удерживающего оставшиеся заготовки на лотке, позволяет обеспечить надежную работу толкателя без излишней дополнительной его нагрузки.

После выдачи очередной заготовки толкатель возвращается в исходное положение. При этом включается воздухораспределитель, который выпускает сжатый воздух из верхней части цилиндра 5. Пружины поднимают отсекатель 3 вверх и очередная заготовка скатывается вниз до упора в угольник 5. После этого подается команда на подачу воздуха в пневматический цилиндр 6, который перемещает вниз отсекатель 3.

Рама 1 с помощью шарниров 7 закреплена на подставке 9. Положение нижней заготовки по высоте, упирающейся в угольник 5, можно регулировать болтами 13. Настройка отсекателя 3 производится перемещением планок 11. Механизм в направлении подачи регулируется винтом 10 за счет перемещения рамы 1 по направляющим 5.

Рисунок 3.1 - Конструкция лоткового магазина для круглых объемных заготовок

4. Охарактеризуйте структуру ГПС и поясните функциональное назначение ее структурных элементов. В чем заключаются особенности гибкого автоматизированного производства?


Для нормального функционирования ГПС в ее состав должен входить ряд подсистем. В основе ГПС лежит блочно-модульный принцип (рис. 4.1.) и гибкость системы складывается из гибкости составляющих ее целевых модулей.

Складской модуль - это автоматический склад. Он не является в обычном понимании складом-накопителем. Это скорее распределитель с автоматической системой поиска и перегрузки в склад и со склада на транспортные средства паллет, поддонов, магазинов и ящиков с заготовками, а в отдельных случаях- с оснасткой и инструментом.

Транспортный модуль- это комплекс автоматических транспортных средств (индивидуальные тележки - робокары, различные транспортеры, конвейеры, рольганги, трансроботы и пр.) вместе с системой автоматического управления движением этих средств по маршруту.

Установочный модуль включает комплекс оборудования участка установки заготовок в приспособления и на паллеты или набора их в магазины и другую тару, включая сборку и хранение технологической оснастки.

Инструментальный модуль- это все инструментальное хозяйство, объединенное в подсистему управления инструментом, включая участок подготовки и настройки инструмента вне станка.

Производственный модуль- это технологическое оборудование, которое образует станочную систему ГПС. Отдельные единицы этого оборудования (чаще всего- гибкий производственный модуль ГПМ) могут функционировать как самостоятельно, так и в составе ГПС. При этом все функции, связанные с изготовлением изделия, осуществляются автоматически.

Контрольно-испытательный модуль состоит из участка контроля качества, включающего контрольно-измерительные машины с ЧПУ, испытательные стенды и т. п.

Модуль АСУ- это комплекс центральной ЭВМ, промежуточных мини-компьютеров и микропроцессоров в совокупности со всем программным и математическим обеспечением.

Рис. 4.1. Структурное построение ГПС

Основными характеристиками гибкого производства являются - степень автоматизации, степень гибкости и уровень интеграции.

Степень автоматизации - это показатель, равный отношению объёмов работ, выполняемых без участия и с участием человека, или соотношение времени "безлюдной" работы и времени работы системы, когда требуется какое-либо участие человека. Этот показатель включает и степень надёжности работы системы, которая определяется соотношением времени работы и простоев системы, вызванных отказом оборудования, систем управления, ЭВМ и других компонентов системы.

Степень гибкости - это фактически мобильность, определяемая объёмом затрат, с которыми можно перейти на выпуск новой продукции, а также разнообразием номенклатуры изделий, обрабатываемых одновременно или поочерёдно.

Уровень интеграции - это показатель количества различных производственных задач, функций, которые увязываются в единую систему и управляются центральной ЭВМ. Это - конструирование, технологическая подготовка производства, обработка, сборка, контроль, испытания, делопроизводство, ремонт и содержание оборудования и др.

Основные понятия и определения, относящиеся к ГПС, содержаться в ГОСТ 26228-85 "Системы производственные гибкие. Термины и определения".

ГПС - это несколько единиц технологического оборудования, снабжённого средствами и системами, обеспечивающими функционирование оборудования в автоматическом режиме, при чём ГПС обладает свойством автоматизированной переналадки при переходе на производство новых изделий в пределах заданной номенклатуры. По организационным признакам ГПС подразделяются на следующие виды: гибкая автоматизированная линия (ГАЛ); гибких автоматизированный участок (ГАУ); гибкий автоматизированный цех (ГАЦ) и гибкий автоматизированный завод (ГАЗ). ГАЛ и ГАУ состоят из гибких производственных модулей (ГПМ), роботизированных технологических комплексов (РТК) или (и) отдельных единиц технологического оборудования.

ГПМ - это единица технологического оборудования, оснащенная автоматизированным устройством программного управления и вспомогательными устройствами, способная функционировать автономно а также имеющая возможность встраивания в систему более высокого уровня. Разновидностью ГПМ является роботизированный технологический комплекс (РТК). Это совокупность единицы технологического оборудования, промышленного робота (ПР) и другиих средств оснащения, которая способна автоматически осуществлять многократные циклы обработки по программе. В общем случае в ГПМ входят накопители, приспособления-спутники (паллеты), устройства загрузки и разгрузки, в том числе промышленные роботы и манипуляторы, устройства замены технологической оснастки, автоматизированного контроля, дииагностики и переналадки, удаления стружки и другие устройства.

Таким образом, организационную структуру ГПС укрупненно можно представить следующим образом (рис. 4.2).

Рис.4.1. Организационная структура ГПС

Структурной особенностью ГАЛ является расположение технологического оборудования в соответствии с принятой последовательностью выполнения технологических операций (рис. 2.2).

Рис. 4.2. Структура ГАЛ

В ГАУ предусмотрена возможность изменения последовательности использования технологического оборудования (рис. 2.3).

Рис. 4.3. Структура ГАУ

ГАУ подразделяются по функциональному назначению на передельно-технологические, реализующие определённые технологические переделы - заготовительные, пластической деформации, мехобработки, сварочные, сборочные и т.д. и предметно-замкнутые - для обработки корпусных деталей, тел вращения, зубчатых колёс и т.д.

Простейший ГАУ (рис. 4.4) состоит из несколько станков типа ОЦ, общего перегружателя заготовок, закреплённых на паллетах. Каждый станок имеет свой комплект паллет.

Рис. 4.4. Компоновка простейшего ГАУ

Опыт создания различных ГПС показывает что варианты компоновок ГАУ сводится к следующим 4 видам (рис. 4.5):

а) с продольным расположением ГПМ относительно транспортной магистрали;

б) с поперечным расположением ГПМ, примыкающих к центральному складу;

в) с диагональным расположением ГПМ относительно транспортной магистрали;

г) с кольцеобразным расположением ГПМ относительно терминального узла транспортной системы.

На первых этапах освоения эффективной оказалась кольцеобразная компоновка, как наиболее удобная для наблюдения и переналадки. Схема с жёстким примыканием ГПМ к автоматическому складу является наиболее простой по набору технических средств, но недостаточно гибка. Наибольшей гибкостью обладают структуры с робокарами.

Рис. 4.5. Разновидности компоновок ГАУ

Список использованных источников

автоматический бункерный отсекатель производственный

1.       Шишмарев В.Ю. Автоматизация технологических процессов: Учеб. пособие для студ. сред. проф. образования. - М.: Издательский центр "Академия", 2005. - 352 с.

.         Промышленная робототехника. Ямпольский Л.С., Яхимович В.А., Вайсман Е.Г., и др.; Под ред. Л.С. Ямпольского. - К.: техника, 1984. - 264 с., ил. - Библиогр.: с. 258-261

3.     Барановский М.А. Механизация и автоматизация штамповочного производства. - Мн.: Государственное издательство БССР, 1960.

Похожие работы на - Механизация и автоматизация штамповочного производства

 

Не нашли материал для своей работы?
Поможем написать уникальную работу
Без плагиата!
Без нейросетей!