Механизация кузнечно-штамповочного производства

  • Вид работы:
    Контрольная работа
  • Предмет:
    Другое
  • Язык:
    Русский
    ,
    Формат файла:
    MS Word
    2,94 Мб
  • Опубликовано:
    2015-07-16
Вы можете узнать стоимость помощи в написании студенческой работы.
Помощь в написании работы, которую точно примут!

Механизация кузнечно-штамповочного производства

Контрольная работа

Механизация кузнечно-штамповочного производства

План

1. МЕХАНИЗАЦИЯ ПРОЦЕССОВ ШТАМПОВКИ ИЗ ШТУЧНЫХ ЗАГОТОВОК

.1 Загрузочные устройства для мелких заготовок

.2 Подающие и передающие устройства

.3 Устройства для удаления штампованных изделий и отходов

2. ТЕХНИКО-ЭКОНОМИЧЕСКИЕ ОСНОВЫ МЕХАНИЗАЦИИ КУЗНЕЧНО-ШТАМПОВОЧНОГО ПРОИЗВОДСТВА

2.1 Технологические предпосылки механизации КШП

.2 Показатели для расчетов эффективности механизации процессов КШП

.3 Производительность труда в условиях механизации процессов КШП

Литература

механизация штамповочный загрузочный

1. МЕХАНИЗАЦИЯ ПРОЦЕССОВ ШТАМПОВКИ ИЗ ШТУЧНЫХ ЗАГОТОВОК

1.1 Загрузочные устройства для мелких заготовок

В состав средств механизации пресса для мелких заготовок входят: автоматическое бункерное захватно-ориентирующее устройство (АБЗОУ), накопитель, механизм поштучной выдачи и питатель.

АБЗОУ состоит из нескольких механизмов и устройств для поштучного захвата заготовок из бункера, ориентирования их в заданное пространственное положение для последующей выдачи их в магазин или лоток. Функции механизмов АБЗОУ могут быть совмещенными или неявновыраженными.

Применяемые накопители условно разделяют на три группы: магазины. лотки, штабельные устройства.

Магазин (кассета) - устройство для накопления заготовок в ориентированном положении для передачи с заданным темпом.

Лоток - механизм для транспортирования (передачи) заготовок к прессу и от него. Лоток может обеспечивать изменение ориентации всего потока заготовок.

Штабельные устройства используют в основном для стержневых изделий с большим отношением длины к диаметру (толщине), т.е. для стержневых деталей и прутков. Штабельные накопители бывают с ворошителем и без него.

Механизм поштучной выдачи заготовок (отсекатель) отделяет от общего потока одну или несколько заготовок для последующей подачи ее в рабочую зону пресса питателем. Отсекатель - цикловой механизм. Его работа должна быть всегда синхронизирована с движением рабочего органа пресса.

Питатель - механизм для поштучной подачи ориентированных заготовок непосредственно в рабочую зону пресса в соответствии с циклограммой его работы. Работа питателя также должна быть всегда синхронизирована с движением рабочего органа пресса.

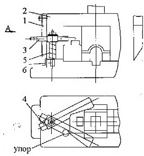
АБЗОУ карманчикового типа представлен на (рис.1.1).

 Рисунок 1.1 - Схема АБЗОУ карманчикового типа: 1 - бункер; 2 - захватный орган; 3 - диск захватного органа; 4, 5 - ориентирующие и направляющие устройства; 6 - амортизатор-предохранитель от перегрузок и заклинивания диска; 7 - приемник; 8 - переориентатор; 9 - блокирующее устройство от переполнения лотка-магазина; 10 - лоток-магазин; 11 - стойка; 12 - привод


Все АБЗОУ делятся на три группы:

- с захватом и ориентацией заготовок поштучно;

с захватом и ориентацией группы заготовок;

с захватом и ориентацией потока заготовок.

В зависимости от формы и размеров подаваемых заготовок АБЗОУ отличаются конструкцией бункера и формой захватных органов.

К первому типу бункеров (рис.1.2) относятся: а - крючковые; б - карманчиковые; в - карманчиковые вертикальные и г - зубчатые.

Рисунок 1.2 - Схемы бункеров с захватом и ориентацией

заготовок поштучно

Ко второму типу бункеров (рис.1.3) относятся: а - щелевые; б - секторные; в - с полувтулками; г - со щетками; д - с лопастями.

Рисунок 1.3 - Бункеры с захватом и ориентацией нескольких заготовок

Для уменьшения давления массы заготовок на диск с захватными органами дополнительно устанавливают предбункер, в котором находится основная масса заготовок.

К третьему типу относятся вибробункера. Их конструкция и работа, а также расчет бункеров проводятся на лабораторным и практических занятиях.

1.2 Подающие и передающие устройства

Подающие устройства предназначены для подачи ориентированной заготовки с позиции загрузки и установки ее на рабочую позицию пресса в ориентированном положении. Для передающих устройств позицией загрузки служит рабочая позиция предыдущей штампованной заготовки. В качестве этих устройств возможно использование одних и тех же средств механизации и автоматизации.

По характеру движения подающие и передающие устройства бывают шиберными, револьверными, грейферными, механическими руками и манипуляторами.

Шиберные подачи используются при однопозиционной штамповке «на провал» или продвижением шибера на другую позицию. Захватный орган подающего устройства совершает возвратно-поступательное прямолинейное или маятниковое движение.

В револьверных подачах захватный орган - револьверный диск периодически поворачивается на заданный угол, а заготовка перемещается в одной плоскости.

В грейферных передающих устройствах движение захватного органа - грейферных линеек - осуществляется по замкнутому контуру в одной (для одно- или двухкоординатных грейферных подач) или в двух взаимно перпендикулярных плоскостях (для трехкоординатных подач). Грейферные устройств применяют для перемещения плоских и объемных заготовок на многопозиционных прессах.

Захватные органы в механических руках и манипуляторах совершают сложной периодическое движение в нескольких плоскостях, а заготовки перемешаются по ломаной или плавной траектории.

Привод подающих и передающих устройств осуществляется от рабочего вала пресса обычно с помощью цепной передачи.

Револьверные подачи

Револьверные подачи применяются для подачи плоских заготовок толщиной свыше 0,5 мм и объемных заготовок диаметром до 60 мм. Револьверная подача состоит из револьверного диска (захватного органа) и привода с преобразующим механизмом.

Загрузка револьверного диска заготовками осуществляется с помощью магазинов или АБЗОУ. Для обеспечения точности подачи скорость перемещения диска по окружности гнезд принимают не более 0,9 м/с

Привод может быть от пресса или индивидуальный. Периодичность движения диска обеспечивается преобразующими механизмами: храповыми, получервячными, фрикционными, мальтийскими.

Пи расчете револьверных подач определяют основные параметры револьверного диска и тяговой усилие, необходимое для перемещения диска на один шаг.

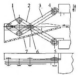
Диаметр окружности центров гнезд (см. рис.1.4):

D0 =(dг + bп) / (sin α/2),

где dг - диаметр гнезда;

bп - ширина перемычки по окружности центров гнезд;

α - угол поворота диска за 1 ход пресса.

Рисунок 1.4 - Расчетная схема револьверного диска

Для круглых заготовок bп = (0,1-0,3) dг, для квадратных -

bп = (0,1-0,3)l, (l - размер стороны квадратной заготовки).

Наружный диаметр диска:

Dп = D0 + dг +2b1,

 

где b1 - наименьший размер перемычки между гнездом и наружным диаметром диска.

Число гнезд в диске зависит от размеров заготовки и требуемой производительности, которые можно определить из условия

Д = (π D0n) / (60m1) ≤ 0,8.

гдеVД - скорость диска, м/с;

n - число оборотов диска;

Толщина револьверного диска зависит от загружаемых деталей и способа загрузки:

при ручной загрузке hД = (3-5) dг;

при загрузке из магазина hД = (0,8-0,9) dг.

Тяговое усилие для поворота диска на шаг подачи рассчитывается по формуле:

F ={M + (/R)}/R,

где R - радиус приложения тягового усилия;

M - момент, развиваемый замкнутым тормозом;

J - момент инерции диска и жестко связанных с ним частей;

α - ускорение, развиваемое при разгоне диска.

Грейферные передающие устройства

Грейферные передающие устройства применятся для механизации работы отдельных прессов (многопозиционных), а также нескольких прессов. связанных в единый технологический комплекс, как при транспортировании полуфабрикатов между позициями штамповки, так и для загрузки исходной заготовки и выгрузки готового изделия.

Рабочий орган грейферной подачи - линейка с захватами. Число захватов определяется числом рабочих и холостых позиций.

Однокоординатные грейферные подачи применяют для перемещения толстолистовых деталей на операциях пробивки, неглубокой вытяжки, гибки. Удерживание деталей осуществляется за счет подвижности захватов.

Двухкоординатные грейферные подачи применяют в многопозиционных листоштамповочных автоматах и КГШП. При этом следует для возврата линеек либо поднимать детали над зеркалом штампа, либо пропускать линейки в прорезах штампа, расположенных ниже возможного расположения детали.

Трехкоординатные грейферные подачи наиболее универсальны и пригодны для транспортирования деталей любой конфигурации. Но из-за их значительной массы снижается точность позиционирования и усложняется конфигурация при вода. Привод грейферов осуществляется от пресса, либо от индивидуального привода.

Линейки грейферов выполняют подпружиненными или самоустанавливающимися по базовой поверхности деталей. Расчет грейферов предусмотрен на практических занятиях.

Механические руки (МР)

МР рекомендуется применять для подачи заготовок сложной конфигурации, когда невозможно перемещать их в одной плоскости, а также для плоских заготовок толщиной 0,2-0,3 мм. МР имеют комбинированный сдвоенный привод, обеспечивающий перемещение захватного органа в двух взаимно перпендикулярных направлениях. Подъем и опускание захватного органа обычно производится в крайних положениях: у позиции загрузки руки и в рабочей зоне штампа.

Некоторые конструкции МР снабжают дополнительными устройствами, обеспечивающими разворот заготовки в плоскости подачи или ее наклон в соответствии с требованиями технологического процесса. В качестве привода используются пневматические и гидравлические цилиндры или привод пресса.

МР изготовляют подвесными, монтируя их на технологическом оборудовании, и напольными, устанавливаемыми рядом с прессом. МР можно использовать для подачи заготовок, удаления отштампованных изделий из штампа, для многооперационного транспортирования заготовок и полуфабрикатов, а также для удаления отходов.

Основными параметрами МР являются: наибольшая масса и размеры подаваемой заготовки, ход перемещения или угол поворота захватного устройства, вертикальный ход захватов, производительность.

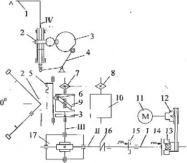
Управление МР осуществляется с помощью упоров, концевых выключателей и релейных схем, обеспечивающих работу по жесткой цикловой программе. В качестве примера рассмотрим схему механической руки модели МР-12, предназначенной для механизации процессов холодной штамповки деталей на открытом кривошипном прессе простого действия силой 1600-2500 кН (рис.1.5). Рука обеспечивает вертикальное и горизонтальное качательное (маятниковое) перемещение захвата.

Рисунок 1.5 - Схема механической руки

Вращение двигателя 11 через клиноременную передачу со шкивами 12 и 13 и муфт сцепления 14 и 15 передается валу І, а от него через упругую муфту 16 на вал ІІ с червячным редуктором 17, выходной вал ІІІ, которого связан с копирным барабаном 9. Преобразование вращательного движения барабана в поступательное движение рейки 5 осуществляется с помощью ролика 6, скользящего по кулачковому пазу барабана 9. Поступательное движение рейки 5 с помощью зубчатого колеса 2 преобразуется в поворот вала ІV, на котором закреплено захватное устройство 1.

Вертикальное перемещение захватного устройства 1 осуществляется от кулачка 3, взаимодействующего с двуплечим рычагом 4 и валом ІV, поднимающимся вместе с захватом. Вал командоаппарата 10 приводится в движение цепной передачей через звездочки 7 и 8.

1.3 Устройства для удаления штампованных изделий и отходов

Сбрасывающие устройства применяются в тех случаях, когда не требуется сохранение ориентированного положения детали. Сбрасывающие устройства бывают пневматическими и механическими: крючковыми, рычажными, клиновыми и шиберными.

Выносящие устройства бывают ковшовые. лотковые и конвейерные; для сложных деталей - МР, манипуляторы и роботы.

Пневматические сбрасывающие устройства удаляют отштампованные детали из рабочей зоны штампа струей сжатого воздуха. Включение подачи сжатого воздуха производится кулачком на ползуне пресса или электромагнитом от выключателя, связанного с кривошипным валом. Сопла устанавливаются на плите штампа или на подштамповой плите пресса.

Пневмосдувом удаляются малые и средние по массе и размерам детали, изготовленные на быстроходных прессах со 120-180 ходами в минуту.

Механические сбрасывающие устройства работают обычно от усилия сжатой пружины, взводимой ползуном при рабочем ходе. Механические сбрасывающие устройства встраиваются в штамп, а конструкция их определяется конфигурацией штампуемой детали. Применяются они для удаления мелких и средних по габаритам и массе деталей и позволяют увеличить производительность труда 1.5-2 раза.

Клиновое сбрасывающее устройство (рис.1.6) работает от клина 1, закрепленного на ползуне пресса 2. Клин через ролик 3 смещает рычаг сбрасывателя 4 против часовой стрелки и закручивает пружину-опускатель вместе с ползуном. При подъеме ползуна рычаг 4 под действием пружины поворачивается вокруг оси 6 по часовой стрелке и удаляет деталь, поднятую съемником штампа. Регулировка сбрасывателя производится изменением положения клина относительно рычага сбрасывателя.

Рисунок 1.6 - Клиновое сбрасывающее устройство

Толкающий сбрасыватель показан на рис.1.7. На верхней плите штампа 1 закреплена державка 2 подпружиненной собачкой 3. На нижней плите штампа закреплена стойка 7, на которой шарнирно закреплен рычаг 4, подпружиненный плоской пружиной 5. В стойке перемещается сбрасыватель 6, поджатый в левую сторону пружиной 8. Взаимодействие рычагов при ходе ползуна обеспечивает сбрасывание (толкание) детали.

Выносящие устройства (рис.1.8) устанавливаются на прессах с число ходов не более 30-40 в минуту и используются для среднегабаритных деталей, выталкиваемых из верхней части штампа. Привод выносящих устройств осуществляется от ползуна пресса или же от пневмоцилиндра, работа которого синхронизирована с работой пресса. Для обеспечения заданного движения ковша используются рычажные, клиновые. шестеренно-реечные преобразующие механизмы, либо их комбинации.

Рисунок 1.7 - Толкающий сбрасыватель

Рисунок 1.8 - Схема выносящего устройства

Система рычагов 1,2,3 и цилиндров 4,5,6 связывает между собой верхнюю и нижнюю плиты штампа. Ковш 7 соединен с рычагами центральным шарниром 6. При ходе ползуна вверх ковш 7 вводится в рабочую зону штампа. Деталь выталкивается из верхней половины штампа и падает в ковш. При опускании ползуна ковш вместе с деталью выносится из рабочей зоны.

Выносящие устройства с захватным органом -механические руки. Применяют для удаления средне- и крупногабаритных деталей из тонкого листа, расположенных на нижней части штампа, установленного на закрытом прессе простого или двойного действия.

Для межоперационного транспортирования заготовок крупногабаритных деталей применяются ленточные конвейеры с индивидуальным приводом, либо приводные рольганги. Высота конвейера может регулироваться по отношению к уровню разъема штампа. Остановка детали на позиции загрузки осуществляется одновременно с ее выравниванием с помощью упоров на кронштейне перед подходом захватного органа подающего устройства последующего пресса.

Стапелирующие устройства служат для укладки в ориентированном положении заготовок после штамповки для последующей обработки. Стапелирование может осуществляться:

устройствами, фиксирующими положение заготовки при скольжении их по лотку либо в свободном падении;

устройствами с принудительным перемещением отштампованных заготовок в кассету.

Фиксация штампованных поковок производится по внутреннему, либо по наружному контуру.

Для удаления мелких отходов используются лотки и контейнеры. Для надежного их перемещения по лотку применяют вибролотки или же лотки с принудительным механическим встряхиванием лотка от гребенки, закрепленной на верхней плите штампа.

2. ТЕХНИКО-ЭКОНОМИЧЕСКИЕ ОСНОВЫ МЕХАНИЗАЦИИ КУЗНЕЧНО-ШТАМПОВОЧНОГО ПРОИЗВОДСТВА

2.1 Технологические предпосылки механизации КШП

Достигнутая быстроходность штамповочного оборудования приводит к тому, что собственно машинное время составляет небольшую часть общего времени, необходимого для изготовления детали. Основная часть времени расходуется на вспомогательные операции: загрузку и выгрузку заготовок и полуфабрикатов, транспортировку, укладку, ориентацию и т.д. Это является мощным стимулом внедрения средств механизации и автоматизации.

Объективными трудностями на пути автоматизации являются большие скорости перемещения рабочего инструмента и значительные усилия деформации.

Под процессом проектирования автоматизированных систем в КШП следует понимать не только создание новых средств автоматизации и механизации, но и комбинирование известных САМ для достижения определённых целей и удовлетворения выявленным потребностям производства. Для выработки новых идей используют различные приёмы: составление морфологической матрицы идей, диаграммы идей, метод мозгового штурма и др.

Для нас сейчас важно выявить основные предпосылки для создания автоматизированных технологических процессов ОМД, Сведения об этих предпосылках представлены на рисунке 2.1.

В приведенной ниже таблице 2.1 дана конкретизация некоторых технологических предпосылок автоматизации кузнечно-штамповочного производства. Таблицу можно мысленно дополнить.

Технологические и другие предпосылки позволяют выработать критериальные показатели «механоспособности» техпроцессов ОМД.

«Механоспособность», т.е. пригодность техпроцесса к механизации, включает следующие показатели:

-        число переходов штамповки;

         требования к точности ориентации заготовки (полуфабрикаты в штампе);

         возможность подачи заготовки (полуфабриката) в штамп в определённые моменты времени;

         неизменность базы ориентации;

         достижимость заданной производительности:

«Механоспособность» может быть повышена путём более глубокого анализа предпосылок по схеме на рисунке 2.1.

Вариантность изготовления однотипных изделий


 


Использование более совершенных и производительных машин



 Банк идей



Повышение технологичности конструкции изделий




Специализация машин по видам техпроцессов




Увязка конструкции машины с требованиями автоматизации






Концентрация операций штамповки




Повышение надёжности и долговечности САМ






Изменение конструкции штампов




Облегчение процесса наладки и обслуживания машин

Рисунок 2.1 - Схема формирования банка идей по повышению уровня механизации технологических процессов ОМД


Таблица 2.1 - Конкретизация предпосылок механизации КШП

Вариантность технологических процессов

А. Перевод деталей с горячей объёмной штамповки на холодную Б. Перевод с молота на КГШП и с КГШП на ГКМ В. Выдавливание вместо вытяжки  • • • • • • • • • • • •

Интенсификация технологических процессов

А. Проектирование техпроцесса холодной штамповки без промежуточных отжигов Б. Однопереходная штамповка на высокоскоростных молотах В. Снижение предельного коэффициента вытяжки • • • • • • • • • • • •

Увязка конструкции машины с требованиями автоматизации

А. ГКМ с горизонтальным разъёмом Б. Электровысадочные машины • • • • • • • • • • • •

Концентрация операций штамповки

А. Включение в ковочный пакет на КГШП обрезного ручья Б. Повышение совмещённости операции

Облегчение процесса наладки и обслуживания машин

А. Выдвижные столы прессов Б. Микроприводы регулировок В. Оснащение прессов приборами контроля и регистрации • • • • • • • • • • • •

2.2 Показатели для расчетов эффективности механизации процессов КШП

Основным критерием целесообразности внедрения САМ является экономическая эффективность, которая оценивается, практически, двумя показателями:

Годовым экономическим эффектом Эг, определяемым как:

Эг=[(С1нК1) - (С2нК2)]N ,

где С1 и С2 - себестоимость единицы продукции до и после внедрения технического мероприятия (например, средств механизации), грн;

К1 и К2 - удельные капитальные затраты на старый и новый техпроцесс;

Ен - нормативный коэффициент эффективности дополнительных капиталовложений, для наших случаев принимаемый равным 0,15;

N - годовой выпуск штампуемых деталей.

Сроком окупаемости дополнительных капитальных затрат по внедрению новой техники Ток, который определяется в годах:

Ток2 - К1 / С1 - С2

где К2 и К1 - капитальные затраты на весь выпуск продукции до и после внедряемого предполагаемого технического мероприятия;

С1 и С2 - себестоимость выбранного объёма N до и после.

Элементарный анализ приведенных формул показывает, что экономический эффект от внедрения средств автоматизации и механизации может быть получен лишь путём снижения себестоимости, поскольку ожидать случая когда К2 < К1 не приходится (машины, САМ, штамп, и др. новое более дороже).

Структура себестоимости деталей получаемых объёмной и листовой штамповкой различна, но в первом приближении примем для крупносерийного и массового типа производств:

материал - 55 - 85 %;

оборудование и САМ - 15 - 5 %;

инструмент - 20 - 5 %;

заработная плата - 10 - 5 %.

Внедрение автоматизации и механизации изменяет структуру себестоимости, уменьшая долю затрат на заработную плату и увеличивая затраты на амортизацию оборудования и САМ. Однако, может сложится мнение, что малая доля заработной платы не позволит получить экономического эффекта (снижения общей себестоимости) при внедрении достаточно дорогих автоматизированных машин и САМ. Отсюда можно сделать вывод о возможности достижения значительной экономии только за счёт экономии металла.

2.3 Производительность труда в условиях механизации процессов КШП

Эволюционное развитие технологии ОМД привело в целом ряде случаев к достижению теоретически возможных коэффициентов использования металла. Достижению экономического эффекта способствует значительное повышение производительности при внедрении новых автоматизированных и механизированных технологических процессов. В качестве примера сравним усреднённую структуру себестоимости поковок типа шестерен массой 0,4-1,0 кг получаемых на горячештамповочном пресс-автомате и универсальном КГШП (см. табл.2.2).

Значительное повышение производительности труда при работе на автоматизированных машинах уменьшает величину удельных капитальных затрат.

Не следует забывать, что одной из основных задач автоматизации производства является высвобождение рабочих, уменьшение занятости в материальном производстве. Эффективность высвобождения рабочих, следовательно, надо считать не по экономии заработной платы, а по тем материальным и духовным ценностям, которые будут произведены на другом рабочем месте. К сожалению, до сих пор нет подобной методики расчётов экономической эффективности автоматизации в машиностроении с учётом вышесказанных положений, однако она необходима, т.к. в противном случае, в перспективе экономические показатели могут стать тормозом на пути внедрения автоматизации. В случае же частичной автоматизации и механизации, когда не наблюдается повышение производительности труда, основным эффектом является улучшение условий труда, повышение престижа профессии и т.д. Если пренебречь этим, то проблема определения экономической эффективности сведётся к более простой задаче - определению ущерба от простоев производительных кузнечных машин в связи с отсутствием рабочих кадров.

Таблица 2.2 - Структура себестоимости поковок шестерен при штамповке на КГШИ и прессе-автомате

Деформирующее оборудование

Произво-дительность, щт./ч

Материал

Оборудование

Инструмент

Зарплата

КГШП

450-500

55-60 %

6-8 %

12-15 %

3-5 %

Автомат

2500-4000

65-76 %

7-10 %

7-8 %

0,6-0,8 %




Литература

1.       Материаловедение и технология металлов: Учебник для ВУЗов по машиностроительным специальностям / Г.П. Фетисов, М.Г. Карпман, В.М. Матюнин и др. - М.: Высшая школа, 2010. - 637с.: ил.

2.      Материаловедение: Учебник для ВУЗов, обучающих по направлению подготовки и специализации в области техники и технологии / Б.Н. Арзамасов, В.И. Макарова, Г.Г. Мухин и др. - 5-е изд., стереотип. - М.: Изд-во МГТУ им. Н.Э. Баумана, 2013. - 646с.: ил.

.        Лахтин Ю.М., Леонтьева В.Н. Материаловедение. Учебник для ВУЗов технич. спец. - 3-е изд. - М. Машиностроение, 2000. - 528с.

.        Технология конструкционных материалов: Учебник для студентов машиностроительных ВУЗов / А.М. Дальский, Т.М. Барсукова, Л.Н. Бухаркин и др.; Под общ. ред. А.М. Дальского. - 5-е изд., испр. - М. Машиностроение, 2013. - 511с.: ил.

.        Технология конструкционных материалов. Учебник для студентов машиностроительных специальностей ВУЗов в 4 ч. Под ред. Д.М. Соколова, С.А. Васина, Г.Г Дубенского. - Тула. Изд-во ТулГУ. - 2007.

.        Материаловедение и технология конструкционных материалов. Учебник для ВУЗов / Ю.П. Солнцев, В.А. Веселов, В.П. Демьянцевич, А.В. Кузин, Д.И. Чашников. - 2-е изд., перер., доп. - М. МИСИС, 2006. - 576с.

.        Богодухов С.И. Курс материаловедения в вопросах и ответах: Учеб. пособие для ВУЗов, обуч. по направлению подгот. бакалавров «Технология, оборуд. и автомат. машиностр. пр-в» и спец. «Технология машиностроения», «Металлорежущие станки и инструменты» и др. / С.И. Богодухов, В.Ф. Гребенюк, А.В. Синюхин. - М.: Машиностроение, 2003. - 255с.: ил.

.        Колесов С.Н. Материаловедение и технология конструкционных материалов: Учебник для студентов электротехнических и электромеханических спец. ВУЗов / С.Н. Колесов, И.С. Колесов. - М. Высшая школа, 2004. - 518с.: ил.

.        Материаловедение. Технология конструкционных материалов: учебное пособие для студентов ВУЗов, обуч. по напр. «Электротехника, электромеханика и электротехнологии» / А.В. Шишкин и др.; под ред. В.С. Чередниченко. - 3-е изд., стер. - М.: ОМЕГА-Л, 2007. - 751с.: ил.(Высшее техническое образование).- (Учебное пособие)

.        Дриц М.Е., Москалев М.А. Технология конструкционных материалов и материаловедение: Учеб. для студентов немашиностроительных спец. ВУЗов. - М.: Высшая школа, 2010. - 446с., ил.

.        Черепахин А.А. Материаловедение: Учебник для сред. проф. образования, обуч. по спец. 3106 «Механизация с.-х.». - М.: Академия, 2004. -252с.; ил.-(Среднее профессиональное образование)

Похожие работы на - Механизация кузнечно-штамповочного производства

 

Не нашли материал для своей работы?
Поможем написать уникальную работу
Без плагиата!
Без нейросетей!