Структурные схемы средств механизации. Захватные органы
Контрольная
работа
Структурные
схемы средств механизации. Захватные органы
План
1. Структурные элементы способов механизации
. Классификация, функция и типы захватных
органов
. Фрикционный захват
. Валковая подача
. Клиновой, шариковый, цанговый захваты.
Клино-роликовая подача
. Ножевой, крючковый, толкающий, карманчиковый
захватные органы
Лотки. Пневматический и электромагнитный захваты
Литература
1. Структурные элементы
способов механизации
Способы автоматизации и механизации (САМ) применяются
на следующих операциях:
- ориентация
заготовок в заданном положении;
- перемещение
заготовок к машине;
- подача
заготовок в рабочую зону машины;
- удержание
заготовки в процессе штамповки;
- перемещение
полуфабриката на машине между позициями;
- удаление
детали и отхода из рабочей зоны штампа и машины;
- счёт и
укладка отштампованных изделий;
- транспортировка
полуфабрикатов между агрегатами;
- сбор
информации о параметрах технологического процесса с целью контроля и принятия
управленческих решений.
Эти операции могут выполняться в период работы
технологического оборудования, т.е. быть цикловыми, а также и при его
остановке, т.е. быть внецикловыми.
Средства автоматизации и механизации процессов
штамповки могут различаться по виду используемого материала: непрерывного или
штучных заготовок.
К непрерывным может быть отнесён любой материал,
если он отвечает следующим требованиям:
непрерывность
подачи одной и той же заготовки к технологическому оборудованию в течение
некоторого времени;
постоянство ориентации
заготовки относительно инструментов;
возможность
получения нескольких деталей в результате последовательно совершаемых ходов
технологического оборудования.
Средства механизации могут быть выделены при
анализе конструкции и работы прессов-автоматов. Следует заметить, что САМ,
применяемые в пресс-автоматах и автоматических линиях, принципиально не
отличаются от универсальных средств автоматизации. Во всех случаях они состоят
из одних и тех же структурных элементов, к которым можно отнести:
. Систему управления (возможно с блокировкой);
Привод;
. Преобразующие механизмы;
. Средства ориентации;
. Захватный орган.
Анализ конструкции известных САМ позволяет
составить для средств автоматизации (рис. 1) и механизации (рис. 2) обобщённые
структурные схемы.
Рисунок 1 - Обобщенная структурная схема средств
автоматизации
|
Захватный
орган
|
|
Преобразующие
механизмы
|
|
Привод
|
|
Система
управления
|
|
Оператор
|
Рисунок 2- Обобщённая
структурная
схема
средств
механизации
Наличие взаимосвязи между работой привода и
исполнительного механизма (захватного органа) является отличительной чертой
средств автоматизации. Обратной связи в структурной схеме средств механизации
нет.
Некоторые САМ могут иметь несколько приводов,
преобразующих механизмов и даже захватных органов.
. Классификация, функция и типы захватных
органов
Захватные органы имеют следующие функции:
захват заготовки (детали);
удерживание;
перемещение;
освобождение.
Классификация захватных органов приведена на
рис.3.
Захватные органы для выполнения работ в
кузнечно-штамповочном производстве могут иметь отдельное силовое устройство для
захвата и удержания детали, но могут использовать привод средств механизации
или силовой машины.
Захватные органы классифицируются по механизму
(способу) взаимодействия с деталью, а иногда учитывается и форма рабочих
элементов и тип привода (фрикционный, клиновой, роликовый, шиберный,
гидравлический и др.).
Типы захватных органов характеризуются
следующими факторами:
силы, удерживающие заготовку (трение, вакуум,
магнитное полу, упругое заклинивание, сила тяжести и др.);
характеристика материала (непрерывность
материала и конечность материала - лента, штучные детали);
возможность освобождения при рабочем ходе (то
есть возможность выскальзывания).
шариковый цанговый захват карманчиковый
Рисунок 3 - Классификация
захватных органов
. Фрикционный захват
Фрикционный захват выполняет
свои функции, используя силу трения между рабочими поверхностями захватного
органа и поверхностью заготовки или детали.
Применяется несколько схем
фрикционного захвата (рис.4).
Материал (лента, проволока)
протягивается фрикционным захватным органом за счет создания тягового усилия (Qз),
которое определяется схемой и особенностями компоновки средств механизации,
типом привода, массой заготовки и т.п. Так, бухта ленты может размещаться на
неприводном или приводном разматывающем устройстве - на валу или на роликах,
иметь различную величину петли и т.д.
Для создания тягового усилия к
осям роликом или валков необходимо приложить нажимное усилие Qрз.
Движение материала в направлении стрелки А обеспечивается вращением валков
(роликов) по стрелкам Б.
Рисунок 4 - Схемы фрикционного
захвата: а) для ленты; б) для проволоки; в) с механическим; г) с пневматическим
силовым устройством
В управляемых фрикционных
подачах один из роликов (на рис.4 - верхний) может выходить из соприкоснования
с материалом. В этом случае материал (лента) может свободно перемещаться
относительно валков. Это используется для заправки ленты.
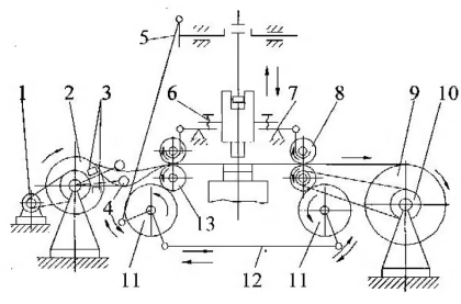
. Валковая подача
Рисунок 5 - Принципиальная
схема валковой подачи: 1 - электродвигатель разматывающего устройства; 2 -
катушка разматывающего устройства; 3 - конечные выключатели; 4 - рычаг
петлеобразователя; 5 - планшайба кривошипного вала; 6 - регулируемые болты; 7 -
рычаг освобождения полосы в момент штамповки; 8 - тянущие валки; 9 - барабан
для намотки отходов; 10 - муфта предельного момента; 11 - фрикционный механизм
(обгонная муфта); 12 - тяга, спарник; 13 - толкающие валки
Рулон ленты устанавливается на
разматывающее устройство, заправляется в пресс между разведенными тянущими и
толкающими роликами и крепится на барабане для намотки отходов.
При ходе ползуна вниз верхние
валки прижимаются к нижним, зажимая ленту. От привода пресса включается
обгонная муфта и приводит во вращение оба нижних ролика. Перед штамповкой
рычаги 7 приподнимают верхние ролики, а обгонная муфта прекращает передачу
вращения на нижние ролики. После штамповки при ходе вверх ползуна верхние валки
вновь прижимаются через ленты к нижним, а обгонная муфта вновь передает
вращение на нижние ролики. В результате деталь падает по склизу в контейнер, а
отход ленты перемещается за пределы рабочего пространства пресса и наматывается
на барабан.
Для безаварийной работы линии
между катушкой разматывающего устройства и толкающими роликами создают петлю,
регулируя ее прогиб конечными выключателями 3, 4.
5. Клиновой. шариковый,
цанговый захваты. Клино-роликовая подача
Клиновой захватный орган. По
конструктивному исполнению клиновые захватные органы бывают: роликовые,
шариковые, эксцентриковые и цанговые. По назначению применяются: роликовые и
эксцентриковые - для ленты, шариковые и цанговые - для проволоки.
Захват заготовки клиновыми
органами осуществляется в результате самозаклинивания.
Клиновые захватные органы
относятся к самым точным подающим устройствам. Они бывают только тянущего или
только толкающего типа.
Привод клиновых подач
осуществляется от коленчатого вала пресса или от ползуна.
Клино-роликовые подачи
применяют для ленты толщиной 0,5-5,0 мм и шириной 60-100 мм, наибольший шаг
подачи 160 мм.
Клино-роликовая подача состоит
из двух захватных органов (кареток): подвижного 4 и неподвижного 8, с роликами
2, 3, 7, находящимися в обоймах 5. Пружинами 9 ролики постоянно поджимаются к
наклонным плоскостям кареток. пружина 6 служит для возврата подвижной каретки в
исходное состояние. Рычаг 10 служит для передачи движения (усилия привода) от
главного вала пресса (рис.6).
При повороте рычага 10 против
часовой стрелки корпус 4 подвижной каретки перемещается влево. ролики 2, 3
заклиниваются в пазах, зажимая ленту 1. Подвижная каретка в место с лентой
перемещается влево. При обратном движении рычага 10 каретка 4 под действием
возвратной пружины 6 перемещается вправо, а ролики 2, 3 выкатываются в
расширенную часть гнезд и освобождают ленту. Для предотвращения обратного
перемещения ленты имеется неподвижная (тормозная) каретка 8, ролики 7 которой
при обратном движении ленты заклиниваются и тормозят ленту.
Рисунок 6 - Схема
клино-роликовой подачи
Угол наклона поверхности
кареток под ролики (12-160) выбирается из условия расклинивания роликов и
недопущения высоких контактных напряжений и смятия на ленте. Для первоначальной
заправки ленты ролики расклинивают специальным рычагом, смонтированном на
каретке. Для предотвращения бокового смещения ленты на входе ленты в
неподвижную каретку монтируют вертикальные холостые ролики. Надежность захвата
и подачи обеспечивается установкой двух-трех пар роликов в подвижной каретке,
это также уменьшает контактные напряжения.
Шариковый и цанговый захват.
Применяется для подачи проволоки, являясь разновидностью клинового захвата, в
частности клино-роликового, но вместо роликов в клинообразных пазах размещаются
шарики и цанги (по три штуки вокруг проволоки) (рис.7).
Конструктивные схемы шариковой
и цанговой подач аналогичны клино-роликовым с неподвижной тормозной и подвижной
тянущей каретками.
Рисунок 7 - Шариковый (а) и
цанговый (б) захваты
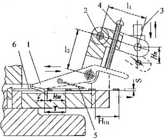
6. Ножевой, крючковый,
толкающий, карманчиковый захватные органы
Конструктивные схемы ножевых
захватных органов подобны крино-роликовым. Отличие заключается в том, что материал
захватывается ножом и группой ножей, а заклинивание происходит с частичным
внедрением ножей в материал заготовки, за счет чего обсепечивается ее надежное
удержание (рис.8). Угол давления γ
определяется из условия заклинивания:
γ
≤ tg ρ = μ
где μ
- коэффициент трения (условный) между ножом захвата и заготовкой, обычно
принимают μ = 0,3-0,4, тогда γ
= 0,28-0,384 рад или 16-220;
ρ
- наименьший угол терния между ножом и сопрягаемыми поверхностям и при
коэффициенте трения μ.
Для исключения дефектов на поверхности
материала от захватов-ножей материал толщиной 2-5 мм и шириной до 125 мм
захватывают по торцовой поверхности. Привод осуществляется от главного вала
пресса, как у крино-роликовой подачи. Для больших подач применяется кулисный
привод от вала пресса (кулиса устанавливается рядом с прессом в столе подачи).
Используется также привод от движения ползуна - специальными клиньями,
закрепленными на верхней плите штампа.
Рисунок 8. - Ножевой захватный
орган: а) - односторонний орган; б) - двухсторонний орган; А - движение
материала; Б - движение подвижной каретки; В - заготовка (лента)
Конструкция ножевого захвата
нормализована, имеет три типоразмера. Наладка на требуемый шаг подачи
осуществляется регулировочными винтами (между каретками) по шкале. Для очистки
ленты смонтировано устройство, состоящее из войлочных прокладок и прижима
(размещается на входе ленты ыв захват).
При подаче ленты ножевым
захватом ловитель положения материала в штампе не применяется.
Крючковый захват. Относится к
самым простым по конструкции. Применяется для штучных заготовок, в основном для
горячей штамповки и для непрерывного материала при наличии в отштампованной
ленте (полосе) прочных перемычек (рис. 9). Крючковый захват осуществляет поступательное
перемещенееи по плоскости.
Подача состоит из захватного
органа - крючка 1 с упорным винтом 4, перемещающего ленту 6 вправо при ходе
ползуна вверх; преобразующего механизма рычажного типа, состоящего из
двуплечего рычага 2 и тяги 3, закрепленной на ползуне. При опускании ползуна
правый конец крючка винтом 4 приподнимается над лентой и возвращается влево (в
исходное положение) над лентой, скользя по ее поверхности до попадания в
следующее отверстие. Пружина 5 удерживает ленту от перемещения в обратном
направлении.
Рисунок 9 - Расчетная схема
крючкового захвата
Крючковые подачи применяются
для материалов (ленты, полосы) шириной до 150 мм. толщиной 0,3-5,0 мм.
Максимальный шаг подачи - до 500 мм. Применяют на прессах с числом ходов
ползуна до 200 мин.-1.
При тонком материале возможен
разрыв перемычки между деталями, при более толстом - возможна поломка крючка.
Токающий захватный орган (рис.
10). При его использовании заготовка перемещается проталкиванием ее по плоскости.
В зависимости отконструкции токателя захватрные органы этого типа бывают
шиберные (с плоским или круглым шибером), планочные и дисковые.
Плоский шиберный захват
применяется при однопозиционной, планочный - при многопозиционной штамповке.
Рисунок 10 - Схемы толкающих
захватных органов: а - шиберного с поштучной подачей; б - шиберного с подачей
«дорожкой»; в - шиберного с подачей «каскадом»; г - планочного; д - дискового;
І - рабочая позиция; ІІ - позиция загрузки; ІІІ - исходной положение шибера; 1
- заготовка; 2 -шибер; 3 - планка
Дисковый захватный орган
применяется при подаче заготовок по радиусу и используется при однопозиционной
и многопозиционной штамповке. Толкающий захватный орган с круглым шибером
используется при автоматизации процессов объемной штамповки.
Когда шибер находится в
исходном положении, заготовка, находящаяся над шибером, опускается на плоскость
подачи и при движении шибера влево передвигается на рабочую позицию. Способ
захвата заготовки выбирается в зависимости от расстояния подачи, толщины
заготовок и др. Поштучная подача (рис. 10а) может быть осуществлена для любых
заготовок толщиной свыше 0,5 мм и при малых расстояниях подачи; подача
«дорожкой» (рис. 10б) возможна для заготовок правильной геометрической формы
(прямоугольника, шестигранника, круга) толщиной свыше 1 мм, имеющих отклонения
по плоскостности не более 10-15 % от толщины; подача «каскадом» или ступенчатым
шибером (рис. 10в) - для любых заготовок вне зависимости от степени их коробления
и расстояния подачи.
Карманчиковый захватный орган
(рис.11). В нем захват изделий осуществляется за счет западания их в
специальные карманы (полости).
Органы используются для
объемных деталей простой конфигурации: цилиндр, трубка и др.
Рисунок 11 - Схемы
карманчикового захватного органа: а - при радиальном; б - при хордальном; в и г
- при аксиальном расположении заготовок; 1 - заготовки; 2 - захватный орган
Расчет карманчиковго захватного
органа сводится к определению оптимальных размеров кармана с учетом скорости
движения захватного органа (направление А), которая обеспечивала бы западание в
них заготовок определенной формы (размеры d
и l) и вместе с тем
исключала бы их заклинивание при неправильном положении в кармане.
. Лотки. Пневматический и
электромагнитный захваты
Пневматический (вакуумный)
захватный орган (рис.12) работает благодаря разрежению в полости
пневматического захвата (присоса). Органы подразделяются на управляемые и
неуправляемые.
Неуправляемые захваты создают в
полости вакуум в результате уменьшения объема внутренней полости присоса при
деформации резинового присоса. Из-за малой продолжительности действия вакуума
неуправляемые пневматические захваты применяются редко, кроме того, для них
необходимо предусматривать специальные устройства для отрывания заготовок от
присосов.


Рисунок 12 - Схемы управляемых
пневмозахватов
Конструктивно управляемый
пневмозахват выполняется подвижным и неподвижным. Подвижный захват имеет
некоторую свободу движения по отношению к раме, на которой закреплена группа
пенвмозахватов, неподвижные - жестко закреплены на раме.
По варианту а (рис 12) после
прижима присоса к поверхности материала вакуум-насос создает разрежение в
полости присоса, для «отключения» присоса его полость соединяется с атмосферой.
По варианту б соединение
полости присоса с атмосферой осуществляется электромагнитным клапаном;
По варианту в вакуум создается
при продувке сжатого воздуха через эжектор, который смонтирован на присосе. При
диаметре 370 мм подъемная сила присоса составляет 580 кГ (при давлении 2 атм).
Расчет пневмозахвата
выполняется в следующем порядке. Величина подъемной силы захвата, создаваемая
за счет атмосферного давления определяется перепадом давления, образующегося во
внутренней полости захвата и площадью соприкосновения захвата с заготовкой.
Кроме того, необходимо учитывать характер приложения нагрузки: сосредоточенно
или рассредоточенно. Электромагнитные захваты применяются ограниченно из-за их
сравнительно больших габаритных размеров, шума при стыковании металла и
захватов, сложности встраивания в механизм. Они широко применяются при уборке
стальных отходов.
Работа гравитационного
захватного органа основана на перемещении заготовки вместе с захватным органом
или движением заготовки относительно рабочей поверхности захвата (скольжение,
качение). Заготовка под действием силы тяжести удерживается на перемещающейся
опорной поверхности захвата или перемещается за счет составляющей силы тяжести,
действующей в направлении движения. Неуправляемые (без силового устройства)
гравитационные захватные органы представляют собой лотки, выполняются открытого
и закрытого типов и применяются для самотечного и принудительного перемещения
деталей по прямолинейной и криволинейной траектории (рис.13).
Управляемые гравитационные
захватные органы осуществляют перемещение заготовок за счет энергии привода. К
ним относятся выносящие (выносные) лотки, транспортеры, вибролотки и т.п.
Требования к лоткам.
Износостойкость, твердость материала лотков должна быть выше твердости
заготовок. Следы от обработки лотков должны располагаться вдоль движения
заготовок. Борта лотков должны выдерживать возможные ударные нагрузки. Высота
бортов лотков должна быть выше высоты центра тяжести заготовок.
Рисунок 13 - схемы
гравитационных захватных органов: а - для цилиндрических деталей,
перемещающихся качением; б - перемещением, скольжением; в - для дисков, колец,
перемещающихся качением; г - для заготовок с головками
Литература
1.
Смирнов А.М. Основы автоматизации кузнечно-прессовых машин / А.М.
Смирнов, К.И.
Васильев.
-
М.: Машиностроение, 2007. - 264 с.
.
Проць
Я.І. Автоматизація і механізація виробничих процесів: навчальний посібник для
вищих навчальних закладів / Я.І. Проць, В.Б. Савків, О.К.Шкодзінський. -
Тернопіль: ТНТУ ім.. І. Пулуя, 2011.- 344с.
.
Козырев Ю.Г. Захватные устройства и инструменты промышленных роботов: учебное
пособие.- М.: КНОРУС, 2010. - 312с.
4.
Артес
А.Э. Радиоизотопная автоматика в кузнечно-штамповочном производстве / А.Э.
Артес.-
М.: Энергоиздат, 1992. - 48 с.
.
Грищенко Н.А. Механизация кузнечно-штамповочного производства : методические
указания к практическим работам / Н.А. Грищенко, А.С. Пещанский.- Красноярск:
СФУ, 2011.- 27с.
.
Федин Е.И. Технологические комплексы автоматизированного и механизированного
производства (машиностроения) / Е.И. Федин.- Тула: ТулГУ, 2009.- 200с.
.
Марченко В.Е. Автоматизация технологических процессов обработки металлов
давлением: Текст лекций / В.Е. Марченко.- Ульяновск: УлГТУ. 2012. - 142 с.