Производство деталей из листовых материалов и профильного проката
Введение
Высокие темпы развития отечественного машиностроения требуют дальнейшего
совершенствования технологических процессов, организации и экономики, а также
полной комплексной механизации и автоматизации производства. Холодная
штамповка, как процесс, по производительности и экономической эффективности
является наиболее прогрессивным способом обработки металлов давлением,
благодаря чему она получила широкое распространение в приборо- и
машиностроении.
По данным приборостроительных и машиностроительных предприятий до 75 %
заготовок и деталей изготавливается методами холодной штамповки.
Использование большого арсенала решений и методических подходов,
разработанных многими специалистами, позволяет в настоящее время рассчитывать с
достаточной для практики точностью параметры технологических процессов холодной
штамповки, моделировать и управлять ими, создавать рациональные конструкции
технологической оснастки и высокопроизводительного оборудования
При разработке технологических процессов холодной штамповки решается ряд
взаимосвязанных технологических, конструкторских и организационных задач, а
именно: производятся расчет размеров заготовок и выбор оптимального варианта
раскроя, уточняется сортамент материала, определяются параметры межоперационных
заготовок, рассматриваются некоторые организационные вопросы (целесообразность
повышения производительности труда на конкретной штамповочной операции,
возможность осуществления групповой штамповки, обеспечение техники
безопасности), определяются тип и модель оборудования, вид технологической
оснастки и т.п.
Процессы холодной штамповки обладают рядом технологических и
организационных особенностей по сравнению с другими видами механической
обработки.
К основным технологическим особенностям холодной штамповки относятся: значительно
более высокая по сравнению с обработкой резанием стабильность во времени формы
и размеров обрабатываемых деталей и полуфабрикатов; возможность повысить
прочность и износостойкость обрабатываемых деталей.
Широкое применение холодной штамповки в различных отраслях промышленности
обусловили следующие достоинства: наличие тесной взаимосвязи между
разрабатываемым технологическим процессом, принятым вариантом раскроя материала
и конструкцией штампа; совпадение рабочего контура технологической оснастки с конфигурацией
обрабатываемой детали или ее части; широкие возможности как по концентрации
операций, так и по их дифференциации.
Перед холодноштамповочным производством стоят важные задачи, связанные с
ускорением темпов развития, повышением производительности труда и улучшением
качества продукции.
Число деталей, изготовляемых методом холодной штамповки, непрерывно
увеличивается как за счет замены отдельных операций резания, так и за счет
использования процессов штамповки не только в серийном и массовом производстве,
но и в мелкосерийном и опытном.
Таким образом, без холодноштамповочного производства невозможно
представить не только такие отрасли транспортного машиностроения, как
автомобильную, авиационную и тракторную, но и многие отрасли точного
приборостроения.
Рост объема мелкосерийного производства деталей из листовых материалов и
профильного проката определяет повышенный интерес специалистов к изысканию
новых путей и наиболее экономичных средств изготовления их методом холодной
штамповки.
1. Общая часть
заготовка
фреза деталь штамповка
1.1 Характеристика процесса штамповки
К организационным особенностям холодной штамповки следует отнести:
высокую производительность процесса; возможность соблюдения технологического
потока в условиях как крупносерийного, так и мелкосерийного производства;
широкие возможности по группированию деталей как по общности оборудования, так
и по ряду параметров технологической оснастки.
Перечисленные раннее особенности позволяют выделить основные преимущества
технологических процессов холодной штамповки по сравнению с другими видами
металлообработки, а именно:
низкую трудоемкость;
возможность получать легкие и прочные детали с высоким коэффициентом
использования материала (до 95%);
высокое качество выпускаемой продукции;
высокую универсальность;
возможность использовать рабочих низкой квалификации и незначительные
сроки подготовки штамповщиков;
сохранение исходного объема металла при выполнении формоизменяющих
операций;
ограниченность номенклатуры оборудования;
простота эксплуатации оборудования;
высокая производительность оборудования;
возможность изготовления изделий из разнообразных материалов:
малая себестоимость изделий;
применение инструмента, автоматически обеспечивающего необходимые
точность детали и шероховатость ее поверхности;
возможность механизации и автоматизации процессов.
Операция вырубки и пробивки.
Применение этих операций позволяет, в ряде случаев, заменить механическую
обработку и этим существенно повысить производительность труда, снизить
удельный расход металла и себестоимость выпускаемой продукции. Наиболее широкое
применение нашла чистовая вырубка и пробивка с предварительным сжатием
заготовки при весьма малом зазоре между пуансоном и матрицей. Особенность этих
процессов заключается в том, что заготовка перед вырубкой-пробивкой сжимается
вблизи очага деформации кольцевым клиновидным ребром, выполненным за одно целое
с прижимным кольцом штампа. При этом касательные напряжения концентрируются в
очаге деформации, увеличивается компонента шарового тензора напряжения (гидростатическое
давление), пластичность металла повышается. Отделение одной части заготовки от
другой происходит только в результате сдвига под действием касательных
напряжений, что позволяет получить высокую точность размеров изделия и чистую
боковую поверхность. Механизм пластической деформации чистовой вырубки-пробивки
исследован недостаточно. Научно обоснованных рекомендаций по ведению этих
операций мало, имеются лишь данные, полученные экспериментально и на основе
использования производственного опыта. Чистовую вырубку-пробивку с
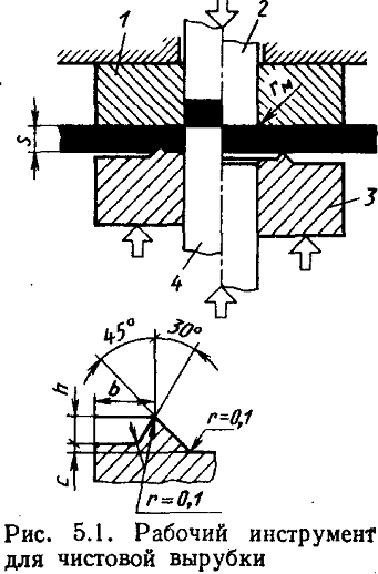
предварительным локальным сжатием заготовки проводят в штампе (рис. 1.1).
Прижимное кольцо 3 прижимает заготовку к матрице 1, при этом происходит
внедрение клиновидного ребра в заготовку. Затем пуансоном 4 вырубают деталь и заталкивают
ее в матрицу 1, преодолевая противодавление контрпуансона 2. При обратном ходе
отход освобождают от прижимного кольца 3, а вырубленную деталь выталкивают из
матрицы 1 контрпуансоном 2 и удаляют из рабочего пространства штампах
Нормальные сжимающие напряжения, создаваемые прижимным кольцом 3, должны быть
не менее предела текучести материала заготовки.
Рисунок 1.1 - Схема вырубки-пробивки
Чистовую вырубку и пробивку выполняют на прессах-автоматах с механическим
приводом при номинальном усилии до 6,3 МН для штамповки деталей толщиной до 16
мм и с гидравлическим приводом, с номинальным усилием до 25 МН для штамповки
деталей толщиной до 40 мм. Особенность прессов-автоматов заключается в том, что
они последовательно развивают: усилие, необходимое для прижима заготовки к
матрице до начала вырубки и внедрения в заготовку клиновидного ребра,
собственно усилие вырубки и усилие, необходимое для противодавления и
выталкивания из матрицы готовых деталей. При отсутствии прессов-автоматов для
чистовой вырубки и пробивки можно использовать модернизированные универсальные
механические прессы, оснащенные гидравлическими устройствами для прижима
заготовки и создания противодавления в процессе штамповки деталей. Полное
(суммарное) усилие пресса Р, необходимое для чистовой вырубки-пробивки с
предварительным сжатием заготовки, в 1,65-2,25 раза больше, чем при
вырубке-пробивке без предварительного сжатия. Чистовую вырубку и пробивку
применяют для получения деталей из конструкционных и низколегированных сталей,
латуни, электролитической меди, алюминия и алюминиевых сплавов. В зависимости
от вида оборудования и его номинального усилия чистовой вырубкой и пробивкой
получают детали определенных размеров. На прессах-автоматах с номинальным усилием
до 4,0 МН штампуют стальные мелкие и средние детали длиной до 250-300 мм при
толщине металла до 10 мм; на прессах-автоматах с номинальным усилием до 25 МН -
средние и крупные детали длиной до 800 мм при толщине металла до 40 мм.
Схемы чистовой вырубки.
Кроме рассмотренного способа чистовой вырубки и пробивки с
предварительным локальным сжатием заготовки существуют и другие способы, а
именно: вырубка пуансоном больше окна матрицы (так называемая вырубка с
«отрицательным зазором»), чистовая вырубка с радиальным обжатием и др.
Рисунок
1.2 - Схемы вырубки: а - пуансоном больше окна матрицы; б с радиальным обжатием
Сущность
этих способов, как и чистовой вырубки и пробивки с локальным сжатием заготовки,
заключается в преднамеренном создании неравномерного сжатия в очаге
пластической деформации, вызывающего повышение пластичности материала
заготовки, в сочетании с использованием контактных сил трения для сглаживания
боковой поверхности штампуемого изделия. При вырубке пуансоном больше окна
матрицы (рис. 1.2, а) пуансон не должен доходить до зеркала матрицы на
0,10-0,15 мм. При этом полуразность соответствующих поперечных размеров
пуансона и матрицы, равная ширине перекрытия, должна составлять: на
прямолинейных участках контура 0,1s и на угловых 0,2s. При вырубке с радиальным
обжатием (рис. 1.2, б) зазор между пуансоном и матрицей весьма мал (г =
0,1-т-0,2 мм), а для создания неравномерного сжатия в очаге деформации и
облегчения заталкивания изделия в матрицу рабочие ее кромки скруглены радиусом
г = г/2. Рассмотренные способы чистовой вырубки применяются для получения
мелких и средних деталей из пластичных металлов толщиной до 4-5 мм (латунь,
медь, алюминий, малоуглеродистая сталь), требуемое усилие штамповки в 2-2,5
раза больше, чем при вырубке с оптимальным зазором.
Операция
зачистки.
Назначение
этой операции - повышение точности размеров обрабатываемой заготовки и
получение повышенного по сравнению с обычной вырубкой и пробивкой, качества
боковой поверхности детали. Размеры деталей, подвергаемых зачистке, не
превышают 150-200 мм при толщине материала 3-4 мм. Зачистка более крупных
деталей связана с трудностями, возникающими при изготовлении штампов. Зачистку
деталей толщиной свыше 3-4 мм (до 8-10 мм) выполняют за несколько операций.
Шероховатость поверхности после зачистки Ra = 1,25…0,32 мкм при толщине
материала до 3 мм и Ra = 2,5ч-1,25 мкм при толщине материала свыше 3 мм. При
этом достигается точность размеров, соответствующая 8-11 -му квалитету.
Зачисткой обрабатывают заготовки из цветных металлов .и их сплавов (медь,
латунь, алюминий и др.), низкоуглеродистой и коррозионно-стойкой сталей и
титановых сплавов.
Рисунок
1.3 - Схема зачистной штамповки наружного (а) и внутреннего (б) контура детали:
1 - пуансон; 2 - деталь, полученная вырубкой (пробивкой); 3 - матрица
Ширина
отделяемого зачисткой слоя материала всегда меньше толщины заготовки, процесс
его отделения принципиально иной, чем при обычной вырубке и пробивке. Отделение
припуска в виде стружки происходит постепенно, по мере опускания пуансона
вплоть до опорной поверхности заготовки, а не путем скалывания, как при обычной
вырубке и пробивке. В зависимости от того, какой контур обрабатывают (внешний
или внутренний), работает только одна режущая кромка инструмента: режущая
кромка матрицы или режущая кромка пуансона (рис. 1.3). Зачистку применяют, в
основном, в приборостроении вместо механической обработки, что существенно
снижает трудоемкость изготовления детали. Например, замена фрезерования зубцов
храповичка диаметром 26 мм и толщиной 2 мм зачисткой, в штампе позволила
снизить трудозатраты с 10,4 до 0,28 мин на штуку при существенном повышении
качества обработанной поверхности. Кроме того, зачистка позволяет механическим
путем удалить наклепанный (упрочненный) слой, расположенный по контуру детали
или отверстия, полученного обычной вырубкой или пробивкой. При выполнении
формоизменяющих операций (например, отбортовки отверстия) отсутствие
наклепанного слоя по контуру заготовки позволяет повысить предельную степень
деформации.
Совмещение
нескольких формоизменяющих операций в одном штампе.
Основная
цель интенсификации формоизменения заготовок заключается в сокращении
длительности технологического цикла и, следовательно, повышении производительности
труда, сокращении числа занятого прессового оборудования и, соответственно,
операторов. Отдельные способы интенсификации формоизменения нами уже
рассматривались. К их числу относятся: удаление зачисткой нагартованного слоя
металла по кромке пробитого отверстия при отбортовке, проталкивание заготовки
при вытяжке деталей с широким фланцем, применение скользящих втулок - подпоров
в штампах для обжима и раздачи трубчатых заготовок и пр. В настоящее время
число способов интенсификации формоизменения возросло настолько, что появилась
необходимость в объединении их в отдельные группы. Совмещение нескольких
формоизменяющих операций в одном штампе позволяет уменьшить напряжения в
опасном сечении заготовки, повысить критическую степень деформации и сократить
число переходов, необходимых для получения детали. Схемы совмещения вытяжки,
обжима и раздачи в одном штампе показаны на рис. 1.4. Анализ этих схем
показывает, что при совмещении вытяжки и обжима (рис. 1.4, а), а также при
совмещении вытяжки, обжима и раздачи (рис. 1.4,6) из-за дополнительного усилия,
заталкивающего заготовку в матрицу, возникают сжимающие, напряжения,
разгружающие опасное сечение заготовки и уравновешивающие в этом сечении
напряжения растяжения, возникающие при втягивании заготовки в матрицу
пуансоном. При этом образуются один общий или два самостоятельных очага
деформации (на рис. 1.4 очаги деформации зачернены). Если обе совмещенные
операции приводят к уменьшению поперечных размеров деформируемой заготовки,
например вытяжка и обжим (см. рис. 1.4, а), то очаг деформации один, он
охватывает участок заготовки, имеющий переменную площадь поперечного сечения.
Если одна из совмещаемых операций приводит к увеличению, а другая к уменьшению
поперечных размеров заготовки, например раздача, обжим, вытяжка (см. рис.
1.4,6), раздача и обжим (см. рис. 1.4, в, г), то образуются два отдельных очага
деформации, разделенные между собой упруго деформированной зоной. В этом случае
общая степень деформации заготовки равна сумме степеней деформаций, получаемых
при выполнении совмещенных операций. Преимущества данного способа штамповки
рассмотрим на примере совмещения вытяжки (последующего перехода) с обжимом в
конической матрице (см. рис. 1.4, а).
Рисунок
1.4 - Схемы совмещения вытяжки, обжима и раздачи в одном штампе: а - вытяжки и
обжима; б - вытяжки, обжима и раздачи; в, г - раздачи и обжима
.2
Штамповка листов ротора и статора
.2.1
Оборудование для штамповки
В
данном дипломном проекте представлен последовательный штамп вырубки и пробивки.
Штампы последовательного действия предназначены для выполнения нескольких
операций за несколько ходов пресса с перемещением детали (заготовки) от одного
рабочего ручья к другому (в направлении противоположном движению ползуна
пресса). При этом возможны любые сочетания элементарных технологических
операций.
При выборе пресса исходят из следующих соображений:
1. Усилие, развиваемое прессом, должно соответствовать усилию,
требуемому для штамповки, или быть несколько больше его;
2. Тип пресса и величина хода ползуна пресса должны соответствовать
технологической операции;
. Закрытая высота пресса должна соответствовать закрытой высоте
штампа или быть больше ее;
. Габаритные размеры стола и ползуна пресса должны обеспечивать
возможность установки и закрепления штампов и подачу заготовок, а отверстие в
столе пресса - свободное проваливание штампуемых деталей (при штамповке
«напровал»). Нижняя плита штампа должна перекрывать отверстие стола на 40-50
мм.
Исходя из этого, основными техническими параметрами для выбора пресса
являются усилие, мощность, величина хода, закрытая высота и размеры стола
пресса.
Усилие вырубки, пробивки в проектном случае составляет 100 т, закрытая
высота штампа 257 мм, диаметр хвостовика Ø50 мм. По каталогу подбираем пресс
АГ6230:
номинальное усилие 66 т;
наибольшее расстояние между столом и ползуном при его нижнем положении
(закрытая высота пресса) 310 мм;
.3 Назначение изделия
Данный штамп предназначен для вырубки пробивки листов ротора и статора.
.3.1 Устройство статора и ротора асинхронных машин
На рис. 1.5 схематически представлен продольный разрез асинхронного
двигателя с короткозамкнутым ротором. Статор (1) представляет собой кольцо,
собранное в виде пакета из листовой электротехнической стали, с пазами по
внутренней поверхности. Отдельные листы статора здесь также изолируются друг от
друга лаком для уменьшения в нем магнитных потерь на вихревые токи.
Рисунок 1.5 - Разрез асинхронного двигателя
В пазах статора укладывается трех- или однофазная обмотка 2. Ротор 3
малого асинхронного двигателя представляет собой цилиндр, собранный в виде
пакета штампованных дисков листовой электротехнической стали, насаженных
непосредственно на вал. На наружной поверхности этого ротора имеются пазы, в
которые вставляются медные или бронзовые стержни без изоляции. Эти стержни с
обоих торцов ротора соединяются накоротко медными кольцами, с которыми они
свариваются или спаиваются. Такая короткозамкнутая обмотка ротора получила
название беличьей клетки. В настоящее время стержни и кольца беличьей клетки
ротора часто делаются в виде единого целого путем заливки алюминием пазов
ротора. Между внутренней поверхностью статора и ротором имеется небольшой
воздушный зазор, который в малых асинхронных двигателях имеет величину порядка
0,05-0,25 мм. Как и в синхронной машине, статор асинхронного двигателя вместе с
поддерживающим его корпусом является неподвижной частью, а ротор- вращающейся
частью этой машины.
.3.2 Двигатели асинхронные
Назначение. Технические условия
Настоящие ТУ 25-1819.021 распространяются на двигатели асинхронные АИМЛ
(в дальнейшем именуемые двигатели) взрывозащищенные, трехфазные с
короткозамкнутым ротором, номинальной мощностью от 1,5 до 7,5 кВт,
изготавливаемые для нужд народного хозяйства и для поставок на экспорт.
Двигатели предназначены для привода стационарных машин и механизмов для
работы во взрывоопасных зонах помещений и наружных установок.
Таблица 1.1 - Технические характеристики двигателя АИМЛ
|
Модификация
|
Nном, кВт
|
Iном, А
|
Синхронная частота вращения
(мин-1)
|
КПД, %
|
|
АИМЛ80
|
7,5
|
15,0
|
3000
|
86,0
|
Двигатели должны изготавливаться на напряжение 380 В и частоту 50 Гц.
Двигатели должны иметь следующие показатели надежности:
1) наработка на отказ- 30 000 часов
2) средний ресурс до I
капитального ремонта- 40 000часов
) срок службы до списания- 15 лет
Показатели надежности обеспечиваются при условии периодической замены
подшипников через 10 000 часов.
Устройство и работа
1. Двигатели состоят из следующих основных деталей и сборочных
единиц: статора с корпусом, ротора с валом, переднего и заднего подшипниковых
узлов, вентилятора кожуха, коробки выводов.
2. Двигатели выполнены с одним выступающим цилиндрическим концом
вала по ГОСТ 12080-66, со шпонкой по ГОСТ 23360-78
3. Двигатели имеют воздушное обдуваемое охлаждение корпуса и
внутреннюю замкнутую систему циркуляции воздуха. Внутренняя аксиальная система
циркуляции воздуха осуществляется внутренним центробежным вентилятором,
насаженным на вал ротора.
4. Статор состоит из пакета статора (сердечника) и обмотки.
Сердечник статора состоит из цельных штампованных лакированных листов
электротехнической стали.
Пазы статора полузакрытые.
Класс нагревательности обмотки статора не ниже В (130 ºС) по ГОСТ 8865-87
5. Ротор двигателей -
короткозамкнутый. Сердечник ротора набран из листов электротехнической стали и
насажен на вал прессовой посадкой. Обмотка ротора отлита из алюминия (A5) в виде короткозамкнутой клетки с
вентиляционными лопатками
Ротор балансируют динамически.
. Двигатели изготавливаются на подшипниках качения класса точности 6 по
ГОСТ 7242-81
Конструкция подшипниковых узлов выполняется без специальных устройств для
пополнения смазки.
.4 Обоснование типа и формы организации производства
В данном проекте представлено проектирование инструментального цеха. В
экономической части производится расчет предметно- замкнутого участка (ПЗУ) по
мелкосерийному производству деталей штампа. Номенклатура деталей,
обрабатываемых на ПЗУ, небольшая. Вся номенклатура деталей, закрепляемая за
цехом, при предметной форме специализации разбивается по нескольким участкам,
на каждом из которых обрабатывается только эта часть (несколько или одна
номенклатурная единица). Программа запуска штампов составляет 18 штук.
Количество матриц соответственно составляет 18 штук. Форму организации
производства выбираем непоточную, исходя из следующих факторов:
· Размеры и масса изделия; чем крупнее изделие и больше его масса, тем
труднее организовать поточное производство;
· Количество изделий, подлежащих выпуску за определенный период
времени (месяц); при выпуске небольшого количества изделий, как правило,
нецелесообразно организовывать поточное производство (слишком большие
капитальные затраты);
· Точность и шероховатость поверхности деталей; при высокой
точности и малой шероховатости следует принимать непоточные методы.
2. Технологическая часть
.1 Анализ
технологичности детали
При конструировании различных машин, приборов, оснастки всегда стремятся
к созданию таких деталей и узлов, которые наиболее полно и целесообразно решают
поставленные перед ними задачи и наиболее удобны в изготовлении. Штампы также
должны состоять из технологичных деталей, не вызывающих особых трудностей при
изготовлении, сборке и эксплуатации.
На начальном этапе анализа на технологичность производим контроль
конструкторской документации по следующим критериям:
· Выявление конструктивных недостатков, затрудняющих изготовление заготовок
и механическую обработку: острых углов или малых закруглений между
пересекающими поверхностями, завышенных требований к шероховатости и точности
обработки;
· Наличие обработки в труднодоступных местах;
· Выявление конструкторских баз, условий перехода от
конструкторских баз к технологическим и подготовка, по мере возможности, более
простых вариантов либо за счет изменения конструкторских баз, либо путем
введения в конструкцию дополнительных и вспомогательных базовых поверхностей;
· Проверка соответствия размерных цепей и допусков на размеры в
требующейся последовательности технологической обработки;
· Проверка допусков на размеры и отклонения от геометрической
формы детали с целью выявления требующихся по условиям обработки и возможным по
конструктивным условиям изменениям в сторону расширения допусков (излишняя
жесткость допусков и повышенные требования к шероховатости поверхности ведут к
увеличению стоимости обработки);
· Проверка возможности применения высокопроизводительных
методов обработки- скоростных и силовых режимов резания, протягивания,
фасонного фрезерования, применения многоинструментальных наладок,
быстродействующих установочных и зажимных приспособлений и другой
высокопроизводительной оснастки;
· Наличие в конструкциях деталей машин пазов и канавок для
выхода инструмента при нарезании резьбы, шлифовании, фрезеровании и строгании;
исключение таких конструктивных элементов как глухие фасочные отверстия, острые
(не закругленные) углы в сопряжении поверхности и т. п.;
· Унификация линейных и диаметральных размеров, резьбовых и шлицевых
соединений с тем, чтобы максимально сократить и свести к минимуму количество
требующихся для производства режущих и мерительных инструментов.
Матрица выполняется сборной для упрощения обработки (из- за больших
габаритов матрицы возникает неудобство ее обработки на станке) и перешлифовки
затупившихся режущих кромок. Способ крепления вставки в матрицу осуществляется
за счет тугой посадки на цилиндрическую поверхность и упором в буртик.
При механической обработке деталей штампа возникнет ряд сложностей:
1. В нашем случае из-за достаточно больших габаритов матрицы появится
необходимость использования специализированных станков с большой рабочей
поверхностью стола.
2. Из-за жестких допусков на размеры окон, их изготовление будет
производиться после термической обработки, так как возможно коробление
ответственных поверхностей. Поэтому целесообразно применение эрозионной
проволочной обработки, из-за сложности обработки другим инструментом материала
такой большой твердости (58-60 HRC).
С другой стороны, при механической обработке матрицы нет необходимости в
использовании специальных крепежных приспособлений (будут использованы
универсальные станочные приспособления- тиски, магнитные плиты), что актуально
в условиях единичного производства.
Габариты детали матрица выполняются по 14 квалитету, поэтому можно
производить обработку на фрезерных станках нормальной точности. Особое внимание
уделяется установочным (нижней и верхней) плоскостям матрицы, поэтому их
механообработка будет производится на плоскошлифовальных станках.
Все отверстия в деталях целесообразно получать сверловкой с последующей
расточкой, а наиболее ответственные (отверстия под втулки направляющих колонок,
для фиксации вставки и шаговые пуансоны) с окончательной шлифовкой. Посадочные
диаметры на матрице также будут шлифоваться, что обеспечит необходимую
шероховатость.
Фасонные поверхности, как уже было сказано выше, будут обрабатываться на
проволочных электроэрозионных станках. Требования к шероховатости будут
выполняться за счет нескольких проходов проволоки.
.2 Выбор и обоснование способа получения заготовки
Для изготовления ответственных деталей штампа в инструментальном
производстве применяют два метода получения заготовки - поковка и прокат.
Для нашего случая, ковка является более рациональным и экономически
выгодным процессом получения качественных заготовок с высокими механическими
свойствами (особенно пластичность и ударная вязкость, а также снижается
карбидная неоднородность - с 6-7 баллов у проката до 4-5 у поковки). Ковкой изготовляют
самые разнообразные поковки, масса которых находится в пределах от нескольких
десятков грамм до нескольких тонн.
Ковка осуществляется при температуре горячей деформации (на 150-200ºС ниже солидуса и на 60-75 ºС выше Ас3), поэтому для нее применяют
все стали и сплавы, используемые при обработке металлов давлением:
углеродистые, легированные и высоколегированные стали, жаропрочные сплавы,
сплавы на основе Al, Cu, Mg, Ti, Ni и других. Шероховатость поверхности
поковок, полученных ковкой не больше Rz≤320÷80 мкм, при использовании подкладных штампов Rz=80÷40 мкм.
Микро- и дислокационная структура металла после ковки не является
окончательной, она определяется последующей термической обработкой. Термическая
обработка крупных поковок является необходимой. Зерна металла увеличиваются при
нагреве до ковочных температур, поэтому все участки нагретой заготовки должны
быть прокованы для измельчения зерен и процесс следует заканчивать при
температурах близких к нижнему пределу ковочных температур, чтобы избежать
роста зерна. Оборудование для ковки- молоты, деформирующие металл ударом, и
прессы, деформирующие металл статической нагрузкой.
Основным недостатком ковки является наличие больших припусков, что
приводит к увеличению объемов механической обработки.
Химический состав стали Х12Ф1 и механические свойства представим в
таблицах 2.1, 2.2, 2.3.
Таблица 2.1 - Массовая доля элементов, % по ГОСТ 5950-73
|
C
|
Si
|
Mn
|
S
|
P
|
Cr
|
Ni
|
Mo
|
V
|
Cu
|
|
1.25-1.45
|
0.15-0.35
|
0.15-0.40
|
≤ 0.030
|
≤ 0.030
|
11.0-12.5
|
≤0.35
|
-
|
0.70-0.90
|
≤0.30
|
Таблица 2.2 - Механические свойства стали Х12Ф1
|
Вид заготовки
|
Температурный интервал
ковки,ºС
|
Твердость по Бриннелю, НВ
|
Предел прочности на
растяжение σв, ГПа
|
Предел прочности на
растяжение σп, ГПа
|
Предел прочности на
растяжение σсж, ГПа
|
|
поковка
|
1160-850
|
220
|
2,0
|
3,00
|
3,8
|
Таблица 2.3 -
Режимы термической обработки стали Х12Ф1
|
Вид термообработки
|
Закалка
|
Отпуск
|
Твердость, HRC
|
|
tнагр, °С
|
Охлаждающая среда
|
tнагр, °С
|
Охлаждающая среда
|
62
|
|
Закалка с последующим
отпуском
|
1060-1080
|
Масло
|
150-170
|
Воздух
|
|
Стоимость заготовки- поковки можно определить по формуле [6, стр.215]:
где
Q=64,044- масса заготовки, кг;
S=42,3- цена 1
кг материала заготовки, руб.;
q=34,272- масса
готовой детали, кг;
Sотх=6250- цена
1 т отходов, руб.
Тогда:
руб
Рассчитаем
коэффициент использования материала:
Ким=
=
Данное
значение приемлемо для производства деталей штампа.
2.3 Разработка проектного техпроцесса механообработки
Наиболее рациональный вариант технологического процесса механообработки
матрицы будет выглядеть следующим образом:
Операция 010. Фрезерная.
Фрезеровать под угольник габариты детали и углы за два установа.
Операция 020. Шлифовальная.
Шлифовать установочные плоскости за два установа.
Операция 030. Сверлильная.
Сверлить отверстия для захода фрезы.
Операция 040. Фрезерная.
Фрезеровать отверстия под запрессовку вставки.
Операция 050. Фрезерная.
Фрезеровать отверстия под вырубку наружного диаметра.
Операция 060. Шлифовальная.
Шлифовать установочные плоскости.
Операция 070. Программная.
Сверлить с припуском, а затем расточить (развернуть) отверстия для
фиксации и запрессовки вставки, под вырубку, под пуансоны и ловители, под
сепараторы, под заправку проволоки, под штифты.
Операция 080. Сверлильная.
Сверлить, цековать отверстия.
Операция 085. Термическая обработка.
Калить. HRC 58-60.
Операция 090. Шлифовальная.
Шлифовать установочные плоскости выдерживая параллельность.
Операция 095. Термическая обработка.
Произвести стабилизирующий отпуск.
Операция 100. Координатно-шлифовальная.
Шлифовать отверстия для фиксации и запрессовки вставки, под вырубку, под
пуансоны.
Операция 110. Электроискровая.
Вырезать 2 окна.
Операция 120. Слесарная.
Довести окна и отверстия после искровой обработки.
Операция 130. Финишное плазменное упрочнение.
Произвести упрочнение поверхности детали.
Операция 140. Контрольная.
.4 Обоснование и описание технологического процесса механической
обработки
Проектирование технологического процесса изготовления деталей имеет цель
установить наиболее рациональный и экономичный способ обработки деталей.
Установление последовательности механической обработки основных
поверхностей детали.
1. При разработке ТП особое внимание необходимо обращать на принцип
построения баз, заключающийся в том, что при обработке необходимо стремится к
использованию одной и той же технологической базы, не допуская без особой нужды
смены технологических баз.
. При установлении последовательности операций механической
обработки следует руководствоваться следующими соображениями:
· в первую очередь необходимо обработать ту поверхность
деталей, которая будет служить установочной базой для последующих операций. Для
установки при первой операции следует выбирать поверхность детали наиболее
ровную и имеющую наибольшие размеры;
· затем следует обработать поверхности, с которых снимается
более толстый слой металла, т. к. при этом легче обнаруживаются внутренние
дефекты заготовки (раковины, включения, трещины, волосовины и т. д.), а также
операции, где существует вероятность брака из-за дефектов в материале и
сложности механической обработки должны выполняться в начале процесса.
· далее последовательность операции устанавливается в
зависимости от требуемой точности поверхностей: чем точнее должна быть
поверхность, тем позднее она должна обрабатываться, т. к. обработка каждой
последующей поверхности может вызвать искажение ранее обработанных
поверхностей.
Поверхности, которые должны быть наиболее точными и с наименьшей
шероховатостью должны обрабатываться последними: этим исключается или
уменьшается возможность изменения размеров и повреждения окончательно
обработанных поверхностей. Если такие поверхности были обработаны ранее и потом
выполнялись еще другие операции, то их обрабатывают повторно для окончательной
отделки.
Совмещение черновой и чистовой обработки на одном и том же станке в одной
операции может привести к снижению точности обрабатываемой поверхности,
вследствие влияния значительных сил резания и сил зажатия при черновой
обработке, а также влияния износа деталей станка. Отверстия нужно сверлить в
конце технологического процесса, за исключением тех случаев, когда они служат
базами для установки.
При составлении технологических процессов на матрицу и вставку учитывались
следующие требования по термической обработке:
1. Для заготовки будет необходимо произвести улучшение с двойной
закалкой (оп. 060), которое, как и ковка снижает балл карбидной неоднородности
и снимает внутренние напряжения, но улучшение вызывает значительное коробление
поверхности заготовки, вследствие чего, необходимо оставлять большое припуск на
обработку габаритов детали.
2. После механической обработки установочных плоскостей производим
стабилизирующий отпуск, что снижает внутренние напряжения и улучшает
поверхностную структуру материала.
3. Для ответственных деталей штампа, как в нашем случае, применяют
закалку до твердости HRC
58-60.
2.5 Выбор баз
При выборе технологических баз руководствуются рядом общих положений. При
обработке заготовок, полученных методом ковки, как в нашем случае,
необрабатываемые поверхности можно использовать в качестве баз только на первой
операции. Желательно совмещать технологические базы с измерительными. При
совмещении технологических и измерительных баз погрешность базирования равна
нулю. Базы, которые используются на операциях окончательной обработки, должны
отличаться наибольшей точностью по линейным и угловым размерам, геометрической
форме и параметру шероховатости. Выбранные технологические базы, совместно с
зажимными устройствами, должны обеспечить правильное базирование и надежное
крепление заготовки, гарантирующее неизменность ее положений во время
обработки, а также простую конструкцию приспособления, удобство установки и
снятия заготовки. Необходимо найти такую схему установки, при которой
погрешность базирования по выдерживаемым размерам бала бы равна нулю. Если по
тем или иным причинам это не удается, то схема установки считается приемлемой
при условии, что погрешность базирования не превышает допуска на размер,
выдерживаемый на выполняемом технологическом переходе [6].
На рисунке 2.1 показаны базы, которые используются в технологическом
процессе механической обработке матрицы.
Рисунок 2.1 - Базы, используемые при обработке матрицы
Операция 070 программная - базы 1, 4 с зажимом прижимами и болтами,
настройка по плоскости 6 и диаметрам 7.
Операция 100 координатно-шлифовальная - базы 1, 8 с зажимом прижимами и
болтами, настройка по плоскости 6 и диаметрам 7.
Операции 010, 040, 050 фрезерные - базы 1, 2, 3, 4 за два установа с
зажимом в станочных тисках.
Операция 110 электроэрозионная - базы 1, 4 с установкой на съемные
зажимные планки болтами, настройка по плоскости 6 и диаметрам 5, 8.
Операции 020, 060, 090 плоскошлифовальные - база 6, установка на
магнитную плиту.
.6 Расчет припусков на поверхности детали
) Получение технологического отверстия Ø8,021+0,01 Ra=0,8мкм
Способ получения заготовки поковка.
Технологический маршрут обработки состоит из следующих операций:
а) Сверление отверстия.
б) Растачивание отверстия.
в) Шлифование отверстия.
) Пользуясь справочниками, запишем значения Rz, Т и ρ в таблицу на каждую операцию, а также впишем все
рассчитанные значения [6].
3) Рассчитаем
припуски на обработку и промежуточные предельные размеры для отверстия
. Для операции сверление расчет припусков не ведется,
так как отверстие в заготовке отсутствует.
Находим суммарное значение пространственных отклонений для сверления по
формуле:
[6, стр.
74]
где
- удельный увод сверла,
= 1,3 мкм
С0-
смещение оси отверстия, С0=20 мкм
l- длина
обрабатываемой поверхности, l =32мм

мкм
Остаточное
пространственное отклонение после сверления
мкм
Таблица 2.4 - Расчет припусков на обработку по технологическим переходам
|
Тех-кий маршрут обработки
|
Элементы припуска, мкм
|
Расч. Припуск 2zmin,
мкм
|
Расч. Min
размер, мм
|
Допуск на изг-е Td,
мкм
|
Принятые размеры по
переходам, мм
|
Полученные предельные
припуски, мкм
|
|
Rz
|
Т
|
ρ
|
|
|
|
dmin
|
dmax
|
2zmin
|
2zmax
|
|
Сверление Растачивание
Шлифование
|
40 20 5
|
60 25 -
|
50 2 -
|
- 300 94
|
7,63 7,93 8,021
|
50 30 10
|
7,63 7,93 8,021
|
7,68 7,96 8,031
|
-300 91
|
-330 101
|
4)
Рассчитаем минимальный припуск на обработку по всем технологическим переходам [
6, стр. 62, табл. 4.2.]:
,
мкм,
мкм.
)
Запишем для конечного перехода наименьший предельный размер детали по чертежу:
мм.
)
Для перехода предшествующего конечному рассчитаем размеры путем вычитания
минимальных припусков:
мм,
мм.
7) Записываем наименьшие предельные размеры по всем технологическим
переходам (округляя их расчетные размеры до знака допуска):
мм,
мм.
)
Определяем по справочнику допуски на изготовление по всем технологическим
переходам:
мкм,
мкм,
мкм.
)
Определяем наибольшие предельные размеры путем прибавления допуска к
округленным наименьшим предельным размерам:
мм,
мм,
мм,
)
Определяем минимальный и максимальный припуск путем вычитания наименьших
размеров предшествующего и рассматриваемого перехода:
мкм,
мкм,
мкм,
мкм.
)
Определяем минимальный и максимальный общий припуск путем сложения
промежуточных:
мкм,
мкм.
)
Проверка расчета:
,
.7 Расчет режимов резания
Произведем расчет режимов резания для обработки диаметра для растачивания
L = 30 мм, dзаг = 20 мм, D = 30
мм
а) Выбираем резец расточной с пластинкой из твердого сплава для обработки
диаметров по ГОСТ18879-73.
Выбираем марку твердого сплава. Для стали Х12Ф1 при черновой обработке по
окалине, неравномерном сечении среза и прерывистом резании с ударами выбираем
марку ВК8.
Материал детали Х12Ф1 его твердость равна 60НВ, sв = 750 МПа.
б) Определяем глубину резания по формуле
где
d - наружный диаметр после обработки, мм;
D - диаметр
перед обработкой, мм:
мм
Обрабатываем
за четыре прохода.
в)
Назначаем подачу So = (0,7 … 1,2) мм/об.
Корректируем
подачу по паспортным данным станка So = 0,96 мм/об.
г)
Назначаем период стойкости резца. При одноинструментной обработке рекомендуется
Т = (30 … 60) мин. Принимаем Т = 60 мин. [7, стр.290, табл.40]
д)
Определяем скорость резания, допускаемую режущими свойствами резца по формуле
где
V - скорость резания, м/мин;
CV - поправочный
коэффициент на скорость резания;
Т
- стойкость режущего инструмента, мин;
m, x, y -
показатели степени;
S - подача,
мм/об;
КV -
поправочный коэффициент, учитывающий ряд факторов:
где
КМV - коэффициент, учитывающий влияние
физико-механических
свойств материала, для Х12Ф1 при sв >550 МПа [7, стр.263, табл.4];
и НВ>60, КМV = 1;
КПV - коэффициент, учитывающий влияние
состояния поверхности заготовки КПV = 0,8; [7, стр.263, табл.5];
КИV - коэффициент, учитывающий влияние
инструментального материала, для твердого сплава КИV = 1,0; [7, стр.263, табл.6];
КjV = 0,9;
- коэффициент,
учитывающий вспомогательный угол в плане
= 0,97.
тогда:
КV = 1×1×0,8×0,9×0,97 = 0,7
по
[7, стр.289, табл.39] CV = 215; x = 0,15; y = 0,45; m =
0,2.
Тогда:
(м/мин)
е)
Частота вращения шпинделя, соответствующая найденной скорости резания, об/мин:
Корректируем
частоту вращения по паспортным данным станка.
Принимаем
nд = 100 об/мин.
ж)
Действительная скорость резания
з)
Мощность, затрачиваемая на резание, кВт
где
РZ - сила резания, Н
где
- коэффициент на силу резания;
;
;
- показатели степени;
-
поправочный коэффициент;
где
- коэффициент, учитывающий материал заготовки
= 1,0;
[7, стр.265, табл.10];
-
коэффициент, учитывающий главный угол в плане
= 0,89;
-
коэффициент, учитывающий передний угол
= 1,0;
-
коэффициент, учитывающий угол наклона режущей кромки
= 1,0;
-
коэффициент, учитывающий радиус при вершине резца
= 0,93.
Тогда:
по
[2, стр.291, табл.41] находим:
= 300;
= 1,0;
= 0,75;
=- 0,15.
Тогда:
(Н)
(кВт)
и)
Проверяем, достаточна ли мощность привода станка, по условию
у
станка
(кВт)
кВт,
т.е. обработка возможна.
к)
Определим основное время
где
L - длина прохода резца, мм;
где,
- длина обработки,
= 30 мм;
y - длина
врезания, y = 0;
∆- перебег, ∆ = 1,5;
i -
число проходов, i = 4.
Тогда:
Расчет режимов резания для сверления 8 отверстий операция 070
Произведем расчет режимов резания для сверления 8 сквозных отверстий
диаметром Æ7,5.
а) Выбираем спиральное сверло с цилиндрическим хвостовиком из
быстрорежущей стали Р6М5 [7, стр.116, табл.3], т. е. сверло 2352-0271 ГОСТ
10902-77, со следующими геометрическими данными j = 67°; v = 27°; a = 9°.
Определяем глубину резания:
=0,5·7,5=3,75
б) Назначаем подачу [2, стр.277. табл.25] So = (0,10 … 0,15) мм/об.
Корректируем подачу по паспортным данным станка: So = 0,10 мм/об.
Проверяем принятую подачу по осевой силе, допускаемой прочностью механизма
подачи станка.
[7, стр.
257]
где
Ро - осевая сила, Н; Ср - поправочный коэффициент на силу;
q, y, -
показатели степени; D - диаметр отверстия, мм;
Кр
- коэффициент, учитывающий условия обработки,
Кр
= Кмр = 1,0
Находим
Ср = 68; q = 1,0; y = 0,7.
Ро
= 10·68· 31.0,10,7 ·1 = 2040 (Н)
Должно
соблюдаться условие: Ро £ Ро max
Механизм
подачи станка допускает осевую силу Ро max =10000 Н,
следовательно,
назначенная подача допустима.
в)
Назначаем период стойкости сверла [7, стр.268]:
То
= 35мин
г)
Определим скорость резания, допускаемую режущими свойствами сверла:
где
Сv - поправочный коэф. на скорость;
qv, m, yv -
показатели степени;
Cv=7; q=0,4; y=0,7; m=0,2;
Кv -
поправочный коэф. учитывающий фактические условия резания
Кv=KMv×KИv×Klv
где
KMv - коэф. на обрабатываемый материал
KMv=1,0
KИv -
коэф. на инструментальный материал
KПv=0,8
Klv - коэф.
учитывающий глубину сверления,
при
l>8D; Klv=0,6 [7, стр.263, табл.4];
тогда:
Kv=1×0,8×0,6=0,48
д)
Частота вращения шпинделя, соответствующая найденной скорости резания
Корректируем
частоту вращения шпинделя по паспортным данным станка nд=1400 об/мин.
е)
Действительная скорость резания
ж)
Крутящий момент от сил сопротивления резанию при сверлении, Нм
где См - поправочный коэф. на крутящий момент;
qм; yм - показатели степени;
Кр - коэф. учитывающий условия обработки;
Кр=Кмр=1 [7, стр.265, табл.10];
по См=0,0345; qм=2,0; yм=0,8
тогда М=10×0,0345×32×0,10,8×1=0,49(Нм)
з) Мощность, затрачиваемая на резание
и)
Проверяем, достаточна ли мощность привода станка:
Необходимо
выполнить условие Nрез≤Nшп.
Мощность
на шпинделе станка Nшп=Nд×h=3,0×0,8=2,4 (кВт), т.е обработка возможна.
к) Определим основное время:
где L - величина перемещения сверла
=l+y+D
=30- глубина отверстия, мм; y = 0,9 - длина врезания, мм
D - перебег, мм, D=3
=
0,285мин.
Но
так как отверстий 8 - основное машинное время на операцию Т0=1,71мин.
2.8 Техническое нормирование
Основой правильной организации труда на промышленном предприятии является
его техническое нормирование. Более высокий уровень автоматизации производства
требует современной организации труда. Нормирование труда на предприятии
базируется на использовании достижений науки и техники и имеет своей целью
способствовать росту производительность труда.
Технически обоснованная норма времени состоит из нормы штучного времени
Тшт и нормы подготовительно-заключительного времени на партию деталей Тп-з [6].
Норму штучного времени определим по формуле:
где Т0 - основное время, Тв - вспомогательное время,
Тобс - время обслуживания рабочего места.
Для операции 010 фрезерная:
основное время Т0 = 43,4 мин;
вспомогательное время на установку и снятие детали ТВ1 = 36 мин (крепление
болтами с выверкой, 3 установа);
вспомогательное время, связанное с обработкой поверхности ТВ2 = 12,6 мин%
время на обслуживание рабочего места Тобс = 12 мин.
.
Для единичного производства определяем норму штучно-калькуляционного
времени Тш-к:
,
где
Тп-з = 32 мин- подготовительно-заключительное время;- количество деталей в
партии.
Норма штучного времени на программных станках определяется по формуле:
где
Т0 - время рабочего хода,
Тзаж - время на зажим детали, Тпод - время на подвод инструмента,
Тотв - время на отвод инструмента, Траз - время на разжим детали.
Результаты определения норм времени сводим в таблицу 2.5.
Таблица 2.5 - Сводная таблица технических норм времени по операциям
|
Операция
|
Оборудование
|
tшт (мин)
|
tп.з. (мин)
|
|
Фрезерная
|
Вертикально-фрезерный 6Р12
|
104
|
30
|
|
Шлифовальная
|
Плоскошлифовальный 3К722
|
56
|
13,5
|
|
Сверлильная
|
Вертикально- сверлильный
2Н135
|
18
|
10
|
|
Фрезерная
|
Вертикально- фрезерный 6Р12
|
35
|
23
|
|
Слесарная.
|
Верстак
|
25
|
-
|
|
Фрезерная
|
Вертикально- фрезерный 6Р12
|
42
|
30
|
|
Шлифовальная
|
Плоскошлифовальный 3К722
|
69
|
22
|
|
Программная
|
OЦ Leadwell 800
|
149
|
35
|
|
Сверлильная
|
Вертикально- сверлильный
2Н135
|
11
|
11
|
|
Слесарная
|
Верстак
|
21
|
-
|
|
Шлифовальная
|
Плоскошлифовальный 3К722
|
52
|
13,5
|
|
Координатно-шлифовальная
|
Координатно- шлифовальный MOOR500CP
|
230
|
22
|
|
Электроискровая
|
Электроискровой Sodick AQ327L
|
726
|
95
|
|
Слесарная
|
Верстак
|
147
|
-
|
|
ФПУ
|
Плазменная установка
|
192
|
19
|
|
Итого
|
1877
|
314
|
3. Конструкторская часть
.1 Проектирование станочного приспособления
Для автоматизации производства должна применяться оснастка,
предусматривающая применение быстродействующих зажимов, устройств для быстрого
базирования деталей, смены направления режущего инструмента. Приспособления
должны создаваться преимущественно из унифицированных, нормализованных и
стандартизованных элементов, деталей и узлов. С целью обеспечения заданной
точности обработки проектируемое приспособление должно обладать достаточной
жесткостью. Для этого желательно применять конструкции с наименьшим числом
стягов, не используя в нецеленаправленное приложение сил. Детали приспособления
должны быть жесткими при работе на изгиб и кручение и прочными при всех видах
погружения в эксплуатационных условиях. Корпусные детали приспособления следует
конструировать так, чтобы не возникала их деформация при зажиме и обработке
заготовок и отсутствовала деформация элементов станка и стола, шпинделя на
которых они размещаются и закрепляются. Проектирование любого приспособления
понимается с определением теоретической схемы базирования. В соответствии с
ГОСТ 21995-76 базирование, т.е. придание объекту требуемого положения
относительно принятой системы координат, осуществляется с помощью выбранных на
объекте баз в виде принадлежащих ему поверхностей, осей, или их сочетании.
Использование комплекта баз необходимо для обеспечения неподвижности объекта в
выбранной системе координат.
Для обработки матрицы на обрабатывающем центре спроектировано станочное
приспособление с пневмоприводом. Приспособление должно обеспечить заданную
точность изготовления детали при значительном повышении производительности
труда.
Пневматические силовые приводы широко применяют в приспособлениях
разнообразных типов. Быстрота, лёгкость, постоянство силы зажима являются
основными преимуществами пневмоприводов для зажима обрабатываемых заготовок.
Для уменьшения штучного времени необходимо сократить время на закрепление
заготовки в приспособлении. В связи с этим выбираем в качестве зажимного
устройства пневмопривод. Выбранное зажимное устройство обеспечит требуемую
производительность станка.
Тиски предназначены для базирования и закрепления заготовок при обработке
их на фрезерных и сверлильных станках с ЧПУ. Тиски состоят из основания и
поворотного корпуса со встроенным пневматическим цилиндром 1. При повороте
рукоятки распределительного крана 9 в положение зажима сжатый воздух поступает
в штоковую полость пневмоцилиндра, в результате чего поршень со штоком
опускается вниз, поворачивая по часовой стрелке кулачек . Кулачек перемещает
подвижную губку. Быстрая переналадка неподвижной губки осуществляется ее
поворотом с помощью рукоятки против часовой стрелки, при этом выступ планки
выходит из паза корпуса тисков. Затем губку перемещают в требуемое положение до
тех пор, пока выступ планки не войдет в соответствующий паз корпуса.
Расчет усилия закрепления
На обрабатываемую деталь действует сила резания Ро, стремящаяся повернуть
деталь по часовой стрелке относительно точки опоры.
Уравнения моментов сил относительно точки опоры.
,
где
Po =1200 Н - окружная сила резания;
Q- сила зажима
-.
,
,
В
качестве привода выбран пневмоцилиндр, площадью сечения:
;
.
D - диаметр
штока, наиболее нагруженного элемента
Усилие
на штоке:
Рш
= 175,4 кг/см2=1754 Н
Система
рычагов увеличивает усилие на штоке:
Рш
= 1,5×1754 = 2638Н.
Кз
Т.о.,
пневмозажим обеспечивает надежный зажим. Коэффициент запаса получим равным 1,6.
Расчет
приспособления на точность
Погрешность
базирования для приспособления
.
Погрешность
закрепления eз=35мкм.
Сумма
погрешности настройки станка
SD=k×w=0,7×0,1мм=70 мкм.
где
k=0,7 - коэффициент характеризующий тип производства (k=0,6…0,8);
w = 0,1 - средняя
экономическая точность обработки.
eдоп =
,
eпр =
.
Погрешность
установления и сборки установочных элементов:
;
eуф - погрешность
установки и фиксации на столе станка, принимаем eуф=0,01мм.
eи - поверхность
износа контактных площадок установочных элементов.
Интенсивность
износа:
,
=0,4мм=40мкм.
eис =
.
Полученные
погрешности изготовления и сборки установочных элементов приспособления
позволяют сделать вывод, что все элементы приспособления могут быть
изготовлены.
3.2 Проектирование специального режущего инструмента
Проектирование торцевой фрезы.
Конструкции инструментов, оснащенных многогранными пластинами, отличаются
большим разнообразием способов крепления, которые можно свести к нескольким
схемам. Крепление прихватом применяют для пластин без отверстий, в том числе
минералокерамических. Пластину устанавливают в закрытый паз и базируют по его
опорной и боковым поверхностям. При этом обеспечивается высокая точность
базирования пластин и надежность крепления. На резцах для обработки стали может
применяться стружколом.
Применение поворотного элемента (рычага, качающегося штифта),
обеспечивающего прижим пластины к боковым базовым поверхностям закрытого паза
державки, и применяется для пластин с отверстием, обеспечивая высокую точность
базирования. Однако при таком способе крепления пластин нет гарантирии точного
прилегания опорной поверхности пластины к опорной поверхности на резцедержавке.
Отсутствие зазора между опорными поверхностями пластины и корпуса
обеспечивается прижимом пластины при затягивании крепления. Такое крепление
применяется также на концевых фрезах и расточном инструменте.
При этом обеспечивается надежное крепление пластин. Конструкция фрез и
расточного инструмента должна обеспечивать минимальное биение режущих кромок
(не более 0,03 ... 0,05 мм), удобство в эксплуатации, бесподналадочную замену и
поворот многогранных пластин, надежное их базирование.
Сложность получения в корпусах фрез пазов, а также необходимость
увеличения долговечности корпуса потребовали применения промежуточного элемента
- подкладок, в которые устанавливают пластины.
Регулируемый осевой упор крепится с помощью клина. Достоинство подобной
конструкции в хорошей технологичности, но детали требуют высокой точности
изготовления. Лучшей технологичностью обладают фрезы со сборным корпусом, предусматривающим
применение кольца под подкладку и крепление пластин. При этом обеспечивается
быстро сменность пластин.
Биение в направлении, перпендикулярном режущим кромкам торцовой фрезы
оказывает воздействие на распределение нагрузки между зубьями фрезы. Для
уменьшения влияния торцового биения режущие пластины обычно имеют зачистные
фаски от 0,7 до 1,2 мм. Фаска, расположенная параллельно обрабатываемой
поверхности, практически выполняет функции небольшой зачистной режущей кромки.
Таким образом, на точность базирования многогранных режущих пластин
суммарное влияние оказывают допуски на их геометрические размеры, посадочные
размеры державки инструмента и вид крепежа.
Фреза предназначена для сверлильно-фрезерных и расточных станков с ЧПУ.
Фреза состоит из корпуса и кассет с режущими пластинами. Кассеты крепятся в
пазах корпуса винтами и состоят из державки, прихвата, крепёжного винта, сухаря
и регулировочного винта с ограничительной шайбой. Конструкция фрезы
предусматривает осевое регулирование кассет. Настройка осуществляется в два
этапа. Предварительно винтами при лёгком поджатии державок, вершины пластин
выравниваются в пределах 0,02 мм. затем винты закрепляются. Окончательно осевое
регулирование осуществляется только в направлении перемещения кассет к рабочему
торцу. В результате достигается осевое биение режущих кромок не более 0,005
мм., что обеспечивает высокопроизводительную работу фрез с большими подачами,
скоростями и
При торцовом фрезеровании присутствует встречное и попутное фрезерование.
Фрезерование, при котором фреза и заготовка движутся навстречу друг другу,
называется встречное. Фрезерование называется попутным, если направление
вращения фрезы и направление перемещения заготовки совпадают.
При
фрезеровании заготовки шириной В, в том случае, когда
одновременно при снятии припуска участвуют две схемы
фрезерования. В той части заготовки, где вектор главного движения (вращения
фрезы) совпадает с направлением движения заготовки (подачи), фрезерование
происходит как попутное, и соответственно, там где векторы направлены
навстречу, как встречное.
Если
фрезерование выполняется не на специальном станке (где функциональный зазор в
передачи винт-гайка δ отсутствует или мал), а на обычных универсальных
фрезерных станках, следует работать так, чтобы избежать подрыва заготовки, то
есть чтобы зона а была больше зоны б. В крайнем случае а=б.
В
процессе обработки может наблюдаться резкое изменение нагрузки на зуб фрезы в
зависимости от входа и выхода его в обрабатываемый материал. Поэтому на
стойкость торцовой фрезы большое влияние оказывает её расположение относительно
заготовки.
Ввиду
прерывистого резания при входе каждого зуба фрезы в обрабатываемый материал
происходит удар в месте встречи зуба фрезы и материала заготовки. При ударе
твёрдый сплав, как хрупкий материал, выкрашивается, что приводит к резкому
снижению стойкости фрезы и ухудшению качества обрабатываемой поверхности.
При
встречном фрезеровании вход зуба происходит с нулевой толщиной среза, что
вызывает интенсивный износ фрезы по задней поверхности. При попутном
фрезеровании можно обеспечить вход зуба при сравнительно большой толщине среза
за счёт смещения обрабатываемой заготовки в сторону выхода зуба фрезы. В случаи
обработки материалов, склонных к значительным пластическим деформациям,
возникает явление адгезии, вследствие чего происходит приваривание стружки к
передней поверхности зуба фрезы. С последующим врезанием зуба вновь
образовавшаяся стружка сдвигает приварившуюся стружку вместе с частицами
твёрдого сплава, что увеличивает износ фрезы. При попутном фрезеровании по мере
выхода зуба из контакта с обрабатываемой заготовкой толщина среза уменьшается,
а значит уменьшается давление стружки на переднюю поверхность. В результате
процесс адгезии происходит менее интенсивно, что способствует повышению
стойкости фрезы.
Кроме
того, методом металлографического анализа установлено, что при образовании
сливной стружки на передней поверхности инструмента образуется слой металла-
нарост, который по строению отличается от обрабатываемого материала и стружки.
Нарост это результат схватывания обрабатываемого и инструментального материалов
при их пластическом деформировании, он образуется вследствие трения стружки на
передней поверхности инструмента. В этом случае из-за большого давления со
стороны стружки на инструмент и высокой температуры пластически
деформированного металла, а так же под влиянием микронеровностей на передней
поверхности, происходит торможение нижнего слоя стружки, вследствие чего
образуется тонкий заторможенный слой и течение металла в стружку происходит по
этому слою, с преодолением внутреннего трения. Заторможенный слой начинает
расти, образуя новое тело, прочно присоединённое к инструменту. Нарост имеет
форму клина, угол резания которого меньше чем у резца. Вследствие деформации
нарост имеет твёрдость в 2,5-3 раза превосходит исходную твёрдость
обрабатываемого материала, а поэтому сам может участвовать в резании.
Нарост
достигнув определённой величины по высоте, через сравнительно короткое время
частично или полностью разрушается. Затем происходит его восстановление, за
счёт новых частиц обрабатываемого материала. Появление и исчезновение нароста
приводит к тому, что угол резания становится величиной переменной.
При
черновой обработке образование нароста можно считать положительным, так как
облегчается процесс стружкообразования за счёт уменьшения угла резания,
защищается лезвие от истирающего действия стружки.
При
чистовой обработке это явление нежелательно, так как оно приводит к ухудшению
качества обработанной поверхности. Срыв нароста, изменяя угол резания и усилие
резания, вызывает вибрации, кроме того, частицы нароста при разрушении
прилипают к обработанной поверхности, увеличивая её шероховатость.
На
высоту нароста и частоту его срывов оказывает влияние скорость резания. С
увеличением скорости резания увеличивается tº резания, что приводит к снижению прочности вершины нароста и снижению
его высоты. С уменьшением угла γ
увеличивается зона деформации материала, и следовательно увеличивается нарост.
Увеличение
скорости резания также позволяет значительно уменьшить время обработки, что
невозможно осуществить, увеличивая подачу и глубину резания из-за недостаточной
жёсткости тонкостенных коробчатых деталей.
В
результате испытаний установлено, что при обработке твёрдым сплавом со
скоростью 2400 м/мин после 60 минут резания износ инструмента по задней
поверхности составил 0,15 мм. В случае обработки резцами из быстрорежущей стали
износ составил 0,8 мм. был достигнут при скорости 900 м/мин через 25 минут
резания, а при 600 м/мин через 10 минут.
Расчёт
диаметра фрезы.
Диаметр фрезы является весьма важным параметром её конструкции. При
увеличении диаметра фрезы несколько уменьшается длина дуги резания и
увеличивается средняя толщина среза. С увеличением диаметра фрезы повышается её
стойкость, снижается окружная сила резания. Одновременно снижается
виброустойчивость и увеличиваются длины врезания и перебега, что приводит к
увеличению основного времени. Из изложенного следует, что при конструировании
фрезы необходимо выбирать наименьший диаметр её, при котором обеспечиваются
заданный режим резания, надёжное закрепление фрезы на оправке.
При выборе диаметра фрезы необходимо учесть, что при заданной ширине
заготовки врезание зуба должно происходить при толщине среза ак≥ρ, где ρ - радиус округления режущей кромки в
мм.
Выбор геометрических параметров режущей части фрезы.
Геометрические параметры режущей части оказывают существенное влияние на
условия процесса резания. Правильное назначение их величин связано с повышением
стойкости фрезы, а также с повышением чистоты обработанной поверхности. По
заданной геометрии режущих лезвий α, α1, φ, φ1 рассчитываются углы установки. При
этом угол наклона главного режущего лезвия получается как функция заданных
геометрических параметров пластинки и её установки.
В связи с этим приобретает большое значение определения углов установки в
каждом конкретном случае, на основании оптимального выбора геометрии режущей
части, в особенности относительно угла λ наклона режущих кромок.
Главный задний угол α - угол между задней поверхностью и
касательной плоскостью к поверхности резания. Поверхность резания -
поверхность, образованная на изделии режущим лезвием. α=10°.
Вспомогательный задний угол α1- угол между вспомогательной задней
поверхностью и касательной плоскостью к корпусу вращения вспомогательной
режущей кромки. α1=8°.
Главный угол в плане φ- угол между проекцией главного
режущего лезвия на осевую плоскость и направлением подачи. φ=75°.
Вспомогательный угол в плане φ1-угол между проекцией вспомогательного
режущего лезвия на осевую плоскость и направлением подачи φ1=15°.
Для обработки поверхности детали используем специально спроектированную
торцевую сборную фрезу. По конструкции фреза относится к торцевым фрезам
сборной конструкции. Для изготовления корпуса фрезы используем сталь 40Х.
Применяемый в ножах (сборная единица фрезы) твердый сплав - Т15К6. Угол = 45º. Диаметр фрезы 92 мм.
Диаметр фрезы зависит от глубины фрезерования и диаметра оправки, его
выбирают по соответствующим стандартам. Число зубьев принимаем z = 6. Фреза является универсальным
инструментом, так как может широко применяться на любых других операциях и
изделиях.
.3 Проектирование контрольного приспособления
Деталь имеет техническое требование - допуск на радиальное биение 0,02 мм
относительно общей оси внутреннего отверстия являющегося базовым в детали.
Проверку детали производят в контрольном приспособлении.
Измерение радиального биения производят при помощи индикатора часового
типа.
Индикатор часового типа представляет собой измерительную головку с двумя
шкалами - большой круговой шкалой, относительно которой перемещается большой
указатель - стрелка и малый круговой шкалой - относительно которой перемещается
малый указатель. Перемещение стрелок взаимосвязаны. - одному полному обороту
указателя по большой шкале соответствует перемещению указателя по малой шкале
на одно деление.
Цена деления индикатора 0,01 мм. 3а один полный оборот большого указателя
измерительный стержень перемещается на 1 мм. У индикатора большая круговая шкала
поворачивается вместе с ободком, относительно корпуса прибора. Этот поворот
шкалы используется при установке прибора в нулевое положение. В требуемом
положении ободок фиксируется стопором.
Индикатор устанавливается на штатив, который установлен на контрольной
плите.
Работа контрольного приспособления заключается в следующем: деталь
устанавливается на поверочную призму, измерительный стержень индикатора
подводят к торцу детали. Измерительный стержень индикатора при соприкосновении
с поверхностью детали и устанавливается на нуль. При полном повороте детали на
контрольной призме индикатор на шкале показывает допуск торцевого биения, если
он в пределе допуска по чертежу, то деталь изготовлена качественно.
Заключение
В данном проекте был разработан наиболее рациональный процесс
механической обработки детали штампа - матрицы. Для создания технологического
процесса обработки деталей была изучена литература по проектированию,
изготовлению и упрочнению штампов, а также маршруты по изготовлению аналогичных
деталей штампа. Наиболее ответственной операцией при обработке является
эрозионная операция по вырезанию окон и пазов в матрице. Были произведены
расчеты припусков и режимов резания. Нормирование операций технологического
процесса производилось с учетом справочных данных, а также данных по обработке
аналогичных по трудоемкости деталей инструментального производства.
Оборудование для обработки подбиралось исходя из целесообразности его
использования и его эффективности.
В конструкторской части был спроектирована торцовая фреза, что
значительно повысило рост производительности труда. Также были спроектированы
станочное приспособление с пневмоприводом и контрольное приспособление.
Список использованных источников
1. Анурьев,
В.И. Справочник конструктора-машиностроителя. В 3 т. Т.1 / В.И.Анурьев. - М.:
Машиностроение, 2001. - 202 с.
2. Анурьев,
В.И. Справочник конструктора-машиностроителя. В 3 т. Т.2 / В.И.Анурьев. - М.:
Машиностроение, 2001. - 160 с.
. Анухин,
В.И. Допуски и посадки / В.И. Анухин. - М.:. Машиностроение, 2004. - 190 с.
. Базров,
Б.М. Основы технологии машиностроения / Б.М. Базров. - М.: Машиностроение,
2007. - 320 с.
. Головин,
В. А. Технология и оборудование холодной штамповки/ В. А. Головин, Г. С.
Ракошиц, А. Г. Навроцкий.-М.: Наука, 2001. -120 с.
. Зуев,
В.М. Материаловедение / В.М. Зуев, Г.М. Волков. - М.: Академия, 2008. - 175 с.
. Колесов,
Н.М. Основы технологии машиностроения: Учебник / Н.М. Колесов. - М.: Высшая
школа, 2001. - 234 с.
. Костромин,
В. Г. Технология производства асинхронных двигателей/ В. Г. Костромин.- М.:
Машиностроение, 2002. - 146 с.
. Лахтин,
Ю.М. Материаловедение / Ю.М. Лахтин, В.П. Леонтьева. - М.: Издательский дом
Альянс, 2009. - 210 с.
10. Марков, Н Н. Нормирование точности в машиностроении: Учебник / Н.
Н. Марков, В. В. Осипов, М. Б. Шабалина М.: Высшая школа, 2001. - 185 с.
11. Никифоров,
А.Д. Взаимозаменяемость и технические измерения / А.Д. Никифоров. - М.: Высшая
школа, 2007. - 168 с.
12. Палей, М. М. Технология производства приспособлений, пресс-форм и
штампов/ М. М. Палей- М.: Машиностроение, 2000. - 270 с.
13. Ракошиц,
Г. С. Изготовление и сборка штампов/ Г. С. Ракошиц.-М.: Машиностроение, 2000. -
120 с.
14. Романовский,
К. А. Технология холодной штамповки/ К. А. Романовский- М.: Машиностроение,
2002. - 195 с.
. Рыжкин,
А.А. Обработка материалов резанием / А.А. Рыжкин. - Р/н.Д.: Феникс, 2009. - 130
с.
. Солоненко,В.Г.
Резание металлов и режущие инструменты / В.Г. Солоненко. - М.: Высшая школа,
2007. - 260 с.
. Справочник
технолога-машиностроителя: В 2 т. Т. 1. / Под ред. Дальского А.М., Косиловой
А.Г., Мещеряковой Р.К. - М.: Машиностроение, 2003. - 200 с.
18. Справочник
технолога-машиностроителя. В 2-х т. Т.2 / Под ред. Дальского А.М., Косиловой
А.Г., Мещеряковой Р.К. - М.: Машиностроение, 2001. - 180 с.
19. Схиртладзе,
А. Г. Станочные приспособления/ А. Г. Схиртладзе В. Ю. Новиков.- М.: Высшая
школа, 2001. - 149 с.
20. Технология
машиностроения.: Учебн. Пособие / Под ред. Мурашкина С.Л. - М.: Машиностроение,
2003. - 320 с.
21. Фельдштейн
Е. Э. Металлорежущие инструменты. Справочник конструктора / Е. Э. Фельдштейн,
М. А. Корниевич. - М.: Новое знание, 2009. - 306 с.
22. Чернов,
Н. Н. Технологическое оборудование (металлорежущие станки) Н.Н.Чернов. - М.:
Феникс, 2009. - 128 с.
23. Ярхов,
Ю.Б. Технология автоматизированного производства дизельного двигателя / Ю.Б.
Ярхов, В.Ю. Кулемин. - Ижевск.: ИжГТУ, 2006. - 230 с.