Заготовительные операции кузовной штамповки
МИНИСТЕРСТВО
ОБРАЗОВАНИЯ И НАУКИ РОССИЙСКОЙ ФЕДЕРАЦИИ
ФЕДЕРАЛЬНОЕ
ГОСУДАРСТВЕННОЕ БЮДЖЕТНОЕ ОБРАЗОВАТЕЛЬНОЕ УЧРЕЖДЕНИЕ
ВЫСШЕГО
ПРОФЕССИОНАЛЬНОГО ОБРАЗОВАНИЯ
«МОСКОВСКИЙ
ГОСУДАРСТВЕННЫЙ МАШИНОСТРОИТЕЛЬНЫЙ УНИВЕРСИТЕТ (МАМИ)»
(УНИВЕРСИТЕТ
МАШИНОСТРОЕНИЯ)
Реферат
«Заготовительные
операции кузовной штамповки»
Студент Говоров Сергей Юрьевич
Группа 4- АДЗ(н)-12
Преподаватель
Шпунькин Николай Фомич
Москва, 2013
г.
Оглавление
Глава 1. Правка
Глава 2. Резка
Глава 3. Вырубка
Список литературы
прокат
сталь штамповка пробивка правка
Глава
1. Правка
Цех штамповки имеет две линии -
заготовки и штамповки. На заготовительной линии стальной лист сначала
раскатывается, выравнивается и очищается, а затем из него вырубаются заготовки
Сортовая, фасонная и листовая
сталь, из которой изготовляют, различные детали или заготовки, иногда бывает
погнута или покороблена. Чтобы устранить эти дефекты, перед обработкой металла
выполняют операцию, которая называется правкой.
Правку металла производят в
холодном или нагретом состоянии.
Но как правило, её производят в
холодном состоянии, ограничивая относительное остаточное удлинение наиболее
деформированных волокон величиной около 1%. Если необходимо создать более
значительные деформации, правку малоуглеродистой стали выполняют при 500-1150°
С и низколегированной - при 800-1150° С. Волнистость листов и полос толщиной
0,5-50 мм успешно устраняется при пропуске их между верхним и нижним рядами
валков листоправильных машин за счет многократного изгиба (рис. 1). Листы
толщиной более 50 мм обычно правят под прессом. Саблевидность (искривление в
плоскости) поддается правке в ограниченной степени. Ее устраняют на
листоправильных вальцах с применением подкладок, либо на кулачковом прессе (для
полос шириной до 200 мм).
При правке или гибке в вальцах
листовых заготовок со стыковыми швами наличие усиления шва может приводить к
появлению трещин. Правку мелко- и среднесортового, а также профильного проката
производят на роликовых машинах, работающих по той же схеме, что и
листоправильные.
Рис 2. Пример правки листового
металла.
Глава
2. Резка
Продольный раскрой рулонов
Листовой и другой материал, полученный прокаткой
или прессованием, разделяют на части в заготовительном отделении штамповочного
цеха. Листовой прокат - рулоны и листы - разрезают на ленты, полосы.
Рулоны используют в крупносерийном и массовом
производстве; стандарт на сортамент ограничивает толщину рулонной
холоднокатаной стали s в пределах 0,4…3,9 мм; ширину B - до 2000
мм. Толщина горячекатаной рулонной стали может достигать 16 мм. Длина
развернутого рулона не регламентируется. Она зависит от толщины и составляет
сотни метров при массе рулона до 40 тонн. Для разрезки рулонов на ленты и
другие виды заготовок используют линии, укомплектованные специальными ножницами
и вспомогательным оборудованием.
Листы из стали, сплавов алюминия и других
цветных металлов потребляют металлообрабатывающие предприятия с различным
уровнем выпуска продукции - от мелкосерийного до массового. Обычно листы
разрезают на полосы. Полоса - так же, как и лента - служит заготовкой для
штамповки некоторого количества одинаковых деталей. Размеры листов не превышают
1…1,5 метров в ширину и 2…3 метров в длину, что позволяет использовать в
качестве оборудования для разрезки гильотинные ножницы.
В результате продольного разделения рулонного
материала на многодисковых ножницах получают так называемые ленты, длина
которых соизмерима с длиной рулона и определяется плановыми показателями
производства. Ширина ленты зависит от габаритов штампуемых из нее деталей, а
также от их расположения (угловой ориентации, количества рядов). При разрезке
рулона на ленты одинаковой ширины длину разрезанной части рулона назначают
исходя из величины очередной партии деталей. Обычно рулон разрезают на ленты
неодинаковой ширины bi, предназначенные для различных
деталей. Подбирая Σ bi
близкой к B, минимизируют отходы материала при разрезке. Длина всех
лент, входящих в комплект, получается одинаковой при различающейся потребной
длине, поэтому их оптимальная комплектация представляет сложную задачу. Линия
разрезки рулона на ленты схематично показана на рис. 4.
Рис. 3. Примерная схема линии продольной
разрезки рулонного материала: 1 - стол для размещения очередного рулона; 2 -
рулонопогрузочная тележка; 3 - рулоноразматыватель; 4 - механизм для заправки
края материала; 5 - моечно-очистная машина; 6 - правильная машина; 7 - ножницы
поперечной резки для отрезки дефектного края рулона; 8 - стол-проводка; 9 -
многодисковые ножницы; 10 - кромкокрошитель; 11 - тележка для сбора отходов от
кромок; 12 и 17 - валковые подачи; 13 - петлевая яма; 14 - опускной стол; 15 -
тормозная клеть; 16 - ножницы, аналогичные поз. 7, для отрезки лент заданной
длины; 18 - наматывающее устройство; 19 - поворотная оправка
Кроме перечисленного оборудования, линия может
включать транспортные и упаковочные устройства, а также средства
автоматического контроля качества и маркировки разрезаемого материала.
Поперечный раскрой рулонов.
Данный вид раскроя применяют для отрезки полос
небольшой длины (равной ширине рулона), которые служат заготовками для штамповки
некоторого количества одинаковых деталей. Поперечный раскрой рулонов
применяется также для получения крупногабаритных штучных заготовок
прямоугольной или трапецеидальной формы. Один из габаритных размеров таких
заготовок равен ширине рулона.
На рис. 5 приведены схемы компоновки линий для
получения прямоугольных и трапецеидальных заготовок.

Наличие двух ножниц (рис. 5, б) позволяет
отрезать трапецеидальные заготовки. Поворот ножниц на требуемый угол (не
превышающий 300) осуществляют при наладке линии с помощью
специального гидравлического устройства. В таблице 2 приведены характеристики
некоторых линий, эксплуатируемых на отечественных предприятиях.
Оборудование линий продольной и поперечной
разрезки рулонов содержит ряд одинаковых позиций, например:
рулоноразматыватели, правильные и моечные машины, гильотинные ножницы.
Система очистки состоит из
усиленного острого ножа для очистки. Приводные верхние и нижние прижимные
ролики толкают полосу с загрузкой разматывателя к тянущим роликам. Нож для
очистки регулируется внутрь/наружу и вверх/вниз для размещения рулона с любым
внешним диаметром. Машина очистки смонтирована на усиленной подвижной раме с
помощью прижимных клиньев.
Прижимные ролики приводятся в
действие от гидравлического двигателя для переднего и реверсивного привода и
используются совместно с приводом разматывателя. Прижимные ролики регулируются
вверх/вниз для размещения рулонов с любым внешним диаметром.
Глава
3. Вырубка
Разрезание листового материала
ножницами. В штамповочных цехах для вырубки различных деталей используют
плоские заготовки в виде полос и лент.
Вырубка листового металла в
штампах. Вырубка и пробивка листового металла в штампах являются самыми
распространенными операциями холодной штамповки. В результате вырубки
(пробивки) происходит отделение одной части металла от другой аналогично
процессу разрезки ножницами, но по замкнутому контуру (рис. 5).
Рис. 5. Схема вырубки на штампе:
1 - ползун, 2 - пуансон, 3 - штампуемый материал, 4 - матрица, 5 - стол.
В начале вдавливания пуансона 2
в заготовку 3 последняя прогибается; вблизи режущих кромок пуансона и матрицы 4
создается концентрация напряжении, что вызывает течение металла заготовки и
образование зоны смятия. Это местное смятие будет развиваться до тех пор, пока
но всей толщине заготовки не возникнут напряжения, достаточные для образования
линии скольжения. В результате этих явлений развивается деформация сдвига,
сопровождаемая изгибом и растяжением, вплоть до начала образования скалывающих
трещин. При дальнейшем вдавливании пуансона около режущих кромок пуансона и
матрицы на металле возникают скалывающие трещины. Эти трещины направлены под
некоторым углом к поверхности листа и для того, чтобы они совпали, необходим
определенный зазор между пуансоном и матрицей.
После совпадения скалывающих
трещин происходит разъединение вырубаемого контура. Для окончательного удаления
вырубленной детали или отхода (при пробивке) необходимо преодолеть
сопротивление трению, возникающему между поверхностями среза взаимно смещенных
частей, а также между боковой поверхностью вырубаемой детали (отхода при
пробивке) и поверхностью проходного отверстия DM матрицы.
Усилие, необходимое для вырубки
или пробивки, зависит от толщины материала, механических свойств материала,
периметра разрезки, формы режущих кромок пуансона и матрицы (которые могут быть
плоскими или скошенными), величины зазора между пуансоном и матрицей, а также
от состояния режущих кромок штампа. Для расчета усилий разрезки Р в кГ в
штампах с параллельными режущими кромками пользуются следующими формулами (см.
схему на рис. 5):
для детали (контура или
отверстия) любой формы:
P=L*
σср*k,
для детали (контура или
отверстия) круглой формы:
P=
πd*S
σср*k,
Где L- длина периметра
разрезки, мм;
S-
толщина материала, мм;
d-
диаметр детали( отверстия или контура, мм);
σср-
предел прочности материала при срезе, кГ/мм^2.
Наименьшее значение усилия
вырубки получается при некоторых оптимальных технологических зазорах z для
каждого штампуемого материала и его толщины, соответствующих таким условиям
разрезки, при которых трещины, идущие от пуансона и матрицы, сходятся. Это
способствует получению наиболее чистой поверхности среза, отсутствию заусенцев
и сохранению стойкости штампа.
Если зазор между пуансоном и
матрицей мал, то скалывающие трещины не совпадут друг с другом и поверхность
среза получится неровной, с двойным пояском.
Чрезмерно большой зазор ведет к
появлению заусенцев по контуру детали. На качество поверхности среза влияет
также и неравномерное распределение зазора по контуру.
При вырубке деталей
технологический зазор обеспечивают за счет уменьшения размеров пуансона, а при
пробивке отверстий-за счет увеличения рабочего отверстия матрицы.
Величину зазора устанавливают в
зависимости от толщины и рода штампуемого материала.
При пробивке отверстий с
гладкими стенками применяют уменьшенную величину зазора. Особенно чистую
поверхность среза дает сильный прижим материала при малой величине зазора.
При вырубке (пробивке) деталей
толщиной менее 0,3 мм применяют беззазорные штампы. В этом случае рабочий
контур незакаленной матрицы получают прошивкой готовым закаленным пуансоном или
же рабочий контур незакаленного пуансона получают протягиванием его сквозь
закаленную и доведенную матрицу. Таким же образом изготовляют штампы и для
пробивки мелких отверстий (когда диаметр отверстия равен толщине материала или
меньше ее).
Дефекты поверхности среза и
заусенцы образуются также при затуплении режущих кромок пуансона и матрицы. При
затуплении режущих кромок пуансона заусенцы образуются по контуру вырубаемой
детали, а при затуплении режущих кромок матрицы заусенцы возникают вокруг
пробитого отверстия. Если затупились и пуансон, и матрица, заусенцы образуются
и на детали, и вокруг отверстия на штампуемом материале.
При вырубке толстого материала
или деталей больших размеров для уменьшения усилия вырубки и пробивки
изготовляют штампы с симметрично скошенными режущими кромками у матриц (при
вырубке) или у пуансонов (при пробивке). Благодаря скосу вырубка происходит не
одновременно по всему контуру, а постепенно, по мере опускания пуансона.
Поэтому усилие вырубки, как и усилие при разрезке ножницами с наклонным верхним
ножом, будет значительно меньше, чем при вырубке штампом с параллельными
режущими кромками. Скос должен быть двусторонним и симметричным относительно
центра давления штампа, так как в противном случае возникают боковые усилия,
которые часто приводят к «зарубанию» режущих кромок.
Рис. 6. Способы уменьшения
усилий при вырубке и пробивке: а, б - скосы на матрице при вырубке, в, г -
скосы на пуансоне при пробивке: 1-полоса, 2 - деталь, 3 - отход
При вырубке деталей пуансон
делают плоским, а на матрице делают скос, как показано на рис. 6, а и б. Деталь
получается плоской, а отход - изогнутым.
При пробивке отверстия матрицу
делают плоской, а скос делают на пуансоне (рис. 6,в и г). В этом случае деталь
остается плоской, а отход, выталкиваемый из матрицы, получается изогнутым.
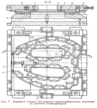
На рис. 7 показан штамп для вырубки заготовки
панели боковины кузова автомобиля, имеющей сложный наружный и внутренний
контуры рубки.
В данной конструкции правильно решено следующее:
. Форма разъема секций матрицы и пуансона
соответствует
форме контура вырубаемого участка с учетом их
стойкости в направлении, перпендикулярном к контуру рубки. При обработке
режущего контура по шаблону разъем секций выполняют по границам резких
переходов К; участки контура, оформленного радиусами, отделены от прямых
участков, как показано точкой М. При обработке режущего контура на
копировально-фрезерных станках разъем Л секций должен быть расположен на
определенном расстоянии от резких переходов К и точек М сопряжения прямых
участков с участками, оформленными радиусами, так как при этом плоскости
разъема К и М могут не совпасть с точками резких переходов контура обрезки.
. Сдвиг секций контролируют штифтами 9 н
накладными шпонками 8.
.Постоянство зазора вырубки обеспечивается
четырьмя колонками большого диаметра и двумя мощными приливами 1 на нижней и
верхних плитах, выложенных стальными закаленными планками 2. По условиям
техники безопасности работы приливы должны быть расположены по торцам штампа
между направляющими колонками. Класс точности обработки колонок и втулок
устанавливают в зависимости от величины зазора рубки. При этом зазор между
колоннами и втулками должен быть меньше зазора рубки. 4. Трудоемкая и опасная
работа оператора, связанная с удалением отходов из штампов несовершенных
конструкций, в описываемом штампе механизирована; отходы, разрубаемые на куски
небольшой длины, скатываются по скосам плиты. Угол скоса должен обеспечивать
свободное скольжение отхода под действием собственной массы. Для выполнения
необходимых углов скоса толщина плиты штампа должна быть не менее 350-400 мм.
Отходы большой массы после вырубки внутреннего контура удаляют из карманов,
выполненных в монтажной плите 5.
5. Штампуемую прямоугольную заготовку
закладывают в штамп с помощью листоукладчика или вручную; ее положение в штампе
контролируется фиксаторами 3. Заготовку удаляют из штампа пневмоудалителем 4.
. Для удобства монтажа верхних секций и пробивки
двух отверстий внутри контура заготовки, секции смонтированы на специальной
монтажной плите 7. Через отверстие в верхней плите слесарь-сборщик может
монтировать штамп.
На рис. 8 показана конструкция штампа для
вырубки заготовки масляного картера. Прямоугольная заготовка, полученная
отрезкой на ножницах, укладывается на подвижный съемник 1 и фиксируется по
упорам 2. При ходе верхней части штампа вниз производится вырубка фигурной
заготовки секциями матрицы 3 и пуансона 4. При обратном ходе выталкиватель 5
под действием пружин 6 извлекает полученную заготовку из матрицы 3, а съемник 1
с помощью пружин 7 снимает отход с пуансона 4. Для удобства удаления
вырубленной заготовки из штампа на нижней плите 8 установлены специальные
подъемники 9, которые под действием пружин 10 поднимают заготовку на 8-10 мм
над пуансоном 4.
Рис. 8 Штамп для вырубки
заготовки масляного фильтра
Рис.8 Штамп для вырубки
заготовки масляного картера
Список литературы
1.
Ю.А. Аверкиев и др. «Технологии холодной штамповки» Москва. «Машиностроение»
1989г.
.
Ф.И. Грингауз «Санитарно-технические работы» Москва. «Высшая школа» 2009г.
3. А.П. Нефёдов
«Конструирование и изготовление штампов» Москва. «Машиностроение» 1973.
4.
<http://svarschik.by/article/zagotovitelnye-operacii-pri-izgotovlenii-svarnyh-konstrukciy.html>
.
В. М. Владимиров «Изготовление штампов, пресс- форм и приспособлений» изд.
«Высшая школа» 1974 г.
.
Шпунькин Н.Ф. Технология кузовостроения. Учебное пособие для вузов с грифом
УМО. М.: МГТУ «МАМИ», 2007.