Расчет трехфазного силового трансформатора с масляным охлаждением
МИНИСТЕРСТВО
ОБРАЗОВАНИЯ И НАУКИ РОССИЙСКОЙ ФЕДЕРАЦИИ
Федеральное
государственное бюджетное образовательное учреждение высшего профессионального
образования
«Забайкальский
государственный университет»
Кафедра
электроэнергетики и электротехники
Курсовая
работа
Расчет
трехфазного силового трансформатора с масляным охлаждением
Чита
2015
Исходные данные
трансформатор охлаждение
обмотка
Номинальные напряжения обмоток ВН и НН: Uвн/Uнн
=6/0,4кВ
Номинальная мощность: S= 160кВА
Потери короткого замыкания: Рк = 2650 Вт
Ток холостого хода: i0 = i0 = 2,4 %
Потери холостого хода: Р0 = 510 Вт
Напряжение короткого замыкания: uк = 4,5 %:
Материал обмоток: алюминий
Схема и группа соединений: Y/Yн-0
Регулирование напряжения: ПБВ ± 2×2,5%
Охлаждение - масляное с естественной циркуляцией
масла
Содержание
Введение
.Расчет
трансформатора
.1
Задание на расчет трансформатора
.2
Определение основных электрических величин
.2.1
Расчет
фазных токов и напряжений
.2.2
Определение испытательных напряжений обмоток
.2.3
Определение активной и реактивной составляющих напряжения короткого замыкания
.3
Расчет основных размеров трансформатора
.3.1
Выбор схемы и конструкции магнитной системы
.3.2
Выбор марки и толщины листов стали и типа изоляции пластин. Выбор индукции в магнитной
системе
.3.3
Предварительный выбор конструкции обмоток
.3.4
Выбор конструкции и определение размеров основных изоляционных промежутков
главной изоляции обмоток
.3.5
Выбор соотношения основных размеров βи
расчет ширины приведенного канала рассеяния
.3.6
Определение диаметра стержня и высоты обмотки. Предварительный расчет магнитной
системы
.4
Расчет обмоток
.4.1
Расчет обмоток низшего напряжения (НН
.4.2
Расчет обмотки высшего напряжения (ВН
.5
Расчет параметров короткого замыкания
.5.1
Расчет потерь короткого замыкания
.5.2
Определение напряжения короткого замыкания
.5.3
Расчет механических сил в обмотках при коротком замыкании
.6
Окончательный
расчет магнитной системы. Определение параметров холостого хода
.6.1
Определение размеров пакетов и активных сечений стержней и ярм
.6.2
Определение массы стали
.6.3
Определение потерь холостого хода
.6.4
Определение тока холостого хода
.7
Тепловой расчет трансформатора
.8
Расчет массы трансформатора
Заключение
Список
использованной литературы
Введение
Производство электрической энергии на крупных
электростанциях с генераторами большой единичной мощности, размещаемых вблизи
расположения топливных и гидравлических энергоресурсов, позволяет получать в
этих районах необходимые количества электрической энергии при относительно
невысокой ее стоимости. Использование дешевой электрической энергии
потребителями, которые находятся на значительном расстоянии, иногда измеряемом
сотнями и тысячами километров, и рассредоточены по обширной территории страны,
требует создания сложных разветвленных электрических сетей.
Силовой трансформатор является одним из
важнейших элементов электрической сети. Передача электрической энергии на
большие расстояния от места ее производства до места потребления требует в
современных сетях не менее чем шестикратной трансформации в повышающих и
понижающих трансформаторах.
Необходимость распределения энергии между
многими мелкими потребителями приводит к значительному увеличению числа
отдельных трансформаторов по сравнению с числом генераторов. При этом суммарная
мощность трансформаторов в сети на каждой последующей ступени с более низким
напряжением в целях более свободного маневрирования энергией выбирается обычно
большей, чем мощность предыдущей ступени более высокого напряжения. Вследствие
этого общая мощность всех трансформаторов, установленных в сети, в настоящее
время превышает общую генераторную мощность в 8-10 раз.
Следует отметить, что по мере удаления от
электростанции единичные мощности трансформаторов уменьшаются, а удельный
расход материалов на изготовление трансформатора и потери, отнесенные к единице
мощности, а также цена 1 кВт потерь возрастают. Поэтому значительная часть
материалов, расходуемых на все силовые трансформаторы, вкладывается в наиболее
отдаленные части сети, т. е. в трансформаторы с высшим напряжением 35 и 10 кВ.
В этих же трансформаторах возникает большая часть потерь энергии, оплачиваемых
по наиболее дорогой цене.
В настоящее время для силовых трансформаторов
установлены две категории качества. К высшей категории относятся
трансформаторы, технико-экономические показатели которых находятся на уровне
лучших мировых достижений или превосходят их; к первой категории -
трансформаторы, технико-экономические показатели которых находятся на уровне
современных требований народного хозяйства и отвечают нормативно-техническим
документам. В качестве основных критериев для отнесения трансформаторов к той
или иной категории служат: значения потерь холостого хода и короткого
замыкания, тока холостого хода, масса трансформатора, отнесенная к единице
мощности, и другие показатели.
1.Расчет трансформатора
Конструкция трехфазного силового трансформатора
Современный трансформатор - сложное устройство,
состоящее из большого числа узлов, деталей и металлоконструкций. На рисунке 1
представлена конструкция трехфазного силового масляного трансформатора.
Основными частями трансформатора являются
магнитная система (магнитопровод) и обмотки. Магнитная система служит для
локализации в ней основного магнитного поля трансформатора.
Обмотка - совокупность витков из проводников, в
которой суммируются наведенные в них ЭДС для получения высшего, среднего или
низшего напряжений (ВН, СН или НН) трансформатора. Электротехническую сталь и
медь (алюминий), из которых изготовлены магнитная система и обмотки с отводами,
называют активными материалами.
Магнитная система в собранном виде с
соединяющими ее деталями и ярмовыми балками образует остов трансформатора.
Остов трансформатора с обмотками, отводами, элементами переключающего
устройства и деталями для их механического крепления называют активной частью
трансформатора.
Отводы служат для соединения обмоток с вводами и
переключающим устройством, а переключающее устройство - для регулирования
напряжения трансформатора. Активную часть воздушного (сухого) трансформатора
иногда закрывают кожухом (защищенное исполнение), который обеспечивает
свободный доступ охлаждающего воздуха, защищая одновременно активную часть от
попадания посторонних предметов.
Активную часть масляного трансформатора помещают
в бак, заполняемый трансформаторным маслом или другим жидким диэлектриком,
являющимся основной изолирующей средой и теплоносителем в системе охлаждения.
Бак состоит из дна, стенки, крышки. Бак со
съемной крышкой называют баком с верхним разъемом (обычно дно бака приварено к
стенке); с разъемом вблизи дна (для отделения и подъема верхней части) -
колокольным (обычно крышка приварена к стенке).
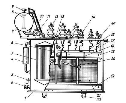
Рис. 1 Устройство силового трансформатора:
- бак; 2 - вентиль; 3 - зажим заземления; 4 -
термосифонный фильтр; 5 - радиатор; 6 - переключатель; 7 - расширитель; 8 -
маслоуказатель; 9 -воздухоосушитель; 10 - выхлопная труба; 11 - газовое реле;
12 - ввод ВН; 13 - привод переключающего устройства; 14 - ввод НН; 15 - серьга
для подъема; 16 -отвод НН; 17 - ответвления обмоток ВН; 21 - обмотка ВН (внутри
НН); 22 - каток тележки
На стенках бака размещают радиаторы, приводной
механизм, иногда контакторы переключающего устройства, а также термосифонный
фильтр, коробки контактных соединений для приборов контроля и сигнализации.
Крышку бака используют для установки вводов, расширителя и предохранительной
трубы.
Вводы служат для присоединения обмоток
трансформатора к сети, расширитель - для компенсации колебаний уровня масла в
баке при изменениях нагрузки и температуры окружающей среды и для уменьшения
поверхности масла, контактирующей с воздухом.
Для защиты масла в расширителе от увлажнения
используют воздухоосушитель, представляющий собой сосуд (заполненный
силикагелем), который сообщается с одной стороны с атмосферным воздухом, а с
другой - с воздухом, заполняющим внутренний объем расширителя над «зеркалом»
масла.
Для наблюдения за уровнем масла в расширителе
применяют маслоуказатели либо со стеклянной трубкой или пластиной, либо
стрелочный. В трубопровод расширителя помещают газовое реле, реагирующее на
выделение газа, возникающее при различных повреждениях в активной части
трансформатора, а также при внезапном коротком замыкании в линии. Газовое реле
также защищает трансформатор от выхода их строя при утечке масла.
Предохранительная труба (иногда называемая
выхлопной) - защитное устройство, предупреждающее повреждение бака из-за
резкого повышения внутреннего давления при внезапном коротком замыкании и
представляющее собой стальной цилиндр, один конец которого сообщается с баком,
а другой закрыт стеклянным диском. При аварии стеклянный диск разрушается, и
излишки масла и газов выбрасываются наружу. Выхлопная труба сообщается через
уравнительную трубку с верхней частью расширителя, что необходимо для выравнивания
давления в трубе при нормальной работе трансформатора.
В крышке устанавливают гильзы для датчиков
термосигнализаторов, измеряющих температуру верхних слоев масла трансформатора.
Термосигнализатор имеет электроконтактное устройство, которое включается при
заранее заданной температуре. Контакты термосигнализатора включают сигнальную
или иную цепь, предупреждая обслуживающий персонал о недопустимом повышении
температуры масла в трансформаторе.
Условные обозначения трансформаторов
Условное обозначение различных типов
трансформаторов включает в себя буквенное обозначение, характеризующее число
фаз, вид охлаждения, число обмоток и вид переключения ответвлений. Кроме
вышеуказанных обозначений стандартами и техническими условиями на отдельные
виды исполнений трансформаторов мо гут предусматриваться дополнительные
буквенные обозначения, характеризующие особенности данного типа трансформатора;
обозначение номинальной мощности и класса напряжения; обозначение
климатического исполнения и категории размещения.
Буквенное обозначение трансформаторов состоит из
следующих по порядку букв. Первая указывает число фаз: О - для однофазных
трансформаторов; Т - для трехфазных. Следующие одна, две или три буквы
указывают условное обозначение вида охлаждения согласно приведенному ниже.
Сухие трансформаторы
Естественное воздушное при открытом исполнении С
Естественное воздушное при защищенном
исполненииСЗ
Естественное воздушное при герметичном
исполненииСГ
Воздушное с дутьем СД
Масляные трансформаторы
Естественная циркуляция воздуха и маслаМ
Естественная циркуляция масла с дутьемД
Естественная циркуляция воздуха и принудительная
циркуляция масла
с ненаправленным потоком масла МЦ
Естественная циркуляция воздуха и принудительная
циркуляция масла
с направленным потоком масла НМЦ
Принудительная циркуляция воздуха и масла с
ненаправленным потоком масла ДЦ
Принудительная циркуляция воздуха и масла с
направленным потоком
масла НДЦ
Принудительная циркуляция воды и естественная
циркуляция
масла MB
Принудительная циркуляция воды и масла с ненаправленным
потоком
масла Ц
Принудительная циркуляция воды и масла с
направленным потоком маслаНЦ
Трансформаторы с негорючим жидким диэлектриком
Естественное охлаждение негорючим жидким
диэлектриком Н
Охлаждение негорючим жидким диэлектриком с
дутьем и с ненаправленным потоком жидкого диэлектрика НД
Охлаждение негорючим жидким диэлектриком с
дутьем и с направленным потоком жидкого диэлектрика ННД
Буква Т - условное обозначение трехобмоточных
трансформаторов; двухобмоточные обозначения не имеют. Буква Н указывает на
наличие устройства РПН. Кроме того, для условного обозначения трансформаторов
применяют следующие буквы: А - перед условным буквенным обозначением числа фаз
для автотрансформаторов; Р - после условного обозначения числа фаз для
трансформаторов с расщепленной обмоткой НН; 3 - после условного обозначения
вида охлаждения для герметичных масляных трансформаторов или с негорючим жидким
диэлектриком с защитой при помощи азотной подушки; С или П в конце условного
обозначения для трансформаторов собственных нужд или для линий передачи
постоянного тока.
Номинальная мощность и класс напряжения
указывают через тире после буквенного обозначения в виде дроби, числитель
которой - номинальная мощность в киловольт-амперах, знаменатель - класс
напряжения трансформатора в киловольтах. Если автотрансформатор имеет обмотку
СН напряжением 110 кВ и выше, то в виде сложной дроби добавляется обозначение
класса напряжения обмотки СН.
Исполнения трансформаторов, предназначенных для
работы в соответствующих климатических районах, обозначают следующими буквами:
У - для районов с умеренным климатом; ХЛ - для районов с холодным климатом; Т -
для районов с тропическим климатом.
В зависимости от места размещения при
эксплуатации различают следующие исполнения трансформаторов (по категориям):
установка на открытом воздухе - категория 1;
установка в помещениях, где колебания
температуры и влажности несущественно отличаются от внешней среды - категория
2;
закрытые помещения с естественной вентиляцией,
где колебания температуры и влажности значительно меньше, чем на открытом
воздухе - категория 3;
закрытые помещения с искусственно регулируемыми
климатическими условиями - категория 4;
помещения с повышенной влажностью- категория 5.
.1 Задание на расчет трансформатора
Рассчитать трехфазный силовой трансформатор со
следующими данными:
Номинальные напряжения обмоток ВН и НН: Uвн/Uнн
= 6/0.4кВ
Номинальная мощность: S= 160кВА
Потери короткого замыкания: Рк =2650 Вт
Ток холостого хода: i0 = 2.4%
Потери холостого хода: Р0 = 510 Вт
Напряжение короткого замыкания: uк =4.5%:
Материал обмоток: алюминий
Схема и группа соединений: Y/Yн-0
Регулирование напряжения: ПБВ ± 2×2,5%
Охлаждение - масляное с естественной циркуляцией
масла
.2 Определение основных электрических величин
.2.1 Расчет фазных токов и напряжений
Мощность на одну фазу и стержень:
кВА,
где c =3 - число активных стержней
трансформатора;- номинальная мощность трансформатора.
A;
A.
Фазный ток обмотки НН (соединение в
звезду):
Ф1 = IНН = 692.820 А.
Фазный ток обмотки ВН (соединение в
звезду):
Ф2= IВН= 46.188 А
Фазные напряжения трансформатора:
для обмотки НН (соединение в
звезду):
кВ;
для обмотки ВН (соединение в
звезду):
кВ;
.2.2 Определение испытательных
напряжений обмоток
Испытательные напряжения
определяется по табл. 3.1 для каждой обмотки трансформатора по её классу
напряжения.
Для обмотки НН (класс напряжения до
1 кВ) испытательное напряжение U1исп= 5 кВ.
Для обмотки ВН (класс напряжения
6кВ) испытательное напряжение U2исп = 7,2кВ.
.2.3 Определение активной и
реактивной составляющих напряжения короткого замыкания
Активная составляющая напряжения
короткого замыкания:
%.
Реактивная составляющая:
% .
.3 Расчет основных размеров
трансформатора
.3.1Выбор схемы и конструкции
магнитной системы
Магнитная система трансформатора
является основой его конструкции. Выбор основных размеров магнитной системы
совместно с основными размерами обмоток определяет главные размеры активной
части и всего трансформатора. В данной курсовой работе рассчитывается
двухобмоточный трехфазный трансформатор с плоской магнитной системой стержневого
типа со стержнями, имеющими сечение в форме симметричной ступенчатой фигуры,
вписанной в окружность, и с концентрическим расположением обмоток. Магнитная
система выполняется со сборкой в переплет, с прямыми стыками в среднем стержне
и косыми стыками в крайних стержнях (рис. 4.2, а). Прессовка стержней -
бандажами из стеклоленты, прессовка ярм - стальными балками, стягиваемыми
шпильками, вынесенными за пределы ярма.
.3.2 Выбор марки и толщины листов
стали и типа изоляции пластин. Выбор индукции в магнитной системе
Выбираем сталь марки 3405
(холоднокатаная текстурованная рулонная сталь) толщиной 0,3 мм. Изоляция
пластин - нагревостойкое покрытие, kз = 0,96 (табл. 4.1). Индукция в стержне Вс
= 1,65 Тл (табл. 4.6).
.3.3 Предварительный выбор конструкции
обмоток
Выбор конструкции обмоток
производится по табл. 5.4.
Выбираем обмотки высокого и низкого
напряжения цилиндрические многослойные из прямоугольного провода.
Её основные недостатки
малая механическая прочность;
Её основные достоинства:
простая технология изготовления,
хорошее охлаждение.
.3.4 Выбор конструкции и определение
размеров основных изоляционных промежутков главной изоляции обмоток
Главная изоляция обмоток (изоляция
от заземленных частей и других обмоток) определяется в основном электрической
прочностью и соответствующими испытательными напряжениями.
Изоляция между обмотками ВН и НН
осуществляется жесткими бумажно-бакелитовыми цилиндрами.
По табл. 4.2 и табл. 4.3 принимаем
минимально допустимые изоляционные расстояния от обмотки до стержня и ярма и
главные размеры изоляционных деталей:
расстояние от обмотки ВН до ярма l02
= 30 мм;
обмотками ВН и НН а12 = 9 мм ( табл.
4.3);
расстояние между фазами обмоток ВН
а22 = 10 мм;
толщина бумажно-бакелитового
цилиндра, расположенного между обмотками ВН и НН δ12 = 3 мм;
выступ указанного цилиндра над
обмоткой ВН lц2 = 15 мм;
расстояние от обмотки НН до ярма l01
= l02 = 30 мм;
расстояние от обмотки НН до стержня
а01 =5 мм;
толщина бумажно-бакелитового
цилиндра, расположенного между обмоткой НН и стержнем δ01 = 2х0,5 мм.
1.3.5 Выбор соотношения основных размеров βи
расчет ширины приведенного канала рассеяния
Диаметр окружности, в которую вписано
ступенчатое сечение стержня, является одним из основных размеров
трансформатора. Вторым основным размером является осевой размер (высота)
обмоток l. Третьим основным размером трансформатора является средний диаметр
витка обмоток ВН и НН, т.е. диаметр осевого канала между обмотками d12 . Два
основных размера l и d12 связаны соотношением основных размеров β.
Выбор
значения β производим по
табл. 4.4:
β = 1.2.
Треть суммы радиальных размеров
обмоток
:
k
м,
где k = 0.567 (табл. 4.5).
Ширина приведенного канала рассеяния
трансформатора:
м.
Коэффициент приведения идеального
поля рассеяния к реальному полю (коэффициент Роговского) при определении
основных размеров можно приближенно принять: kр= 0,95.
Коэффициент заполнения активным
сечением стали площади круга, описанного около сечения стержня, зависит от
выбора числа ступеней в сечении стержня, способа прессовки стержня и размеров
охлаждающих каналов, толщины листов стали, вида междулистовой изоляции:
= kз · kкр= 0,96 × 0,918 =
0.88,
где kкр =0,918 определяется по табл.
4.7.
.3.6 Определение диаметра стержня и
высоты обмотки. Предварительный расчет магнитной системы
Предварительное значение диаметра
стержня:
м.
Полученный диаметр округляем до
ближайшего стандартного диаметра d= 0.210 м = 210 мм в соответствии с
нормализованной шкалой диаметров (примечание 3 к табл. 4.7). В соответствии с
новым значением d определяем уточненное значение β
.
Второй основной размер
трансформатора d12 предварительно приближенно определяем по формуле
=
d + 2a01 + 2a1 + a12 = 0.21 + 2·0,004+2·0.0193+0,009 = 0.26 м,
где
радиальный размер обмотки НН может быть приближенно подсчитан по формуле:
= 1,1×0.175 =
0,0193 м,
где
коэффициент k1 =1,1 для трансформаторов мощностью 160 кВА.
Третий
основной размер трансформатора (высота обмоток):
=
м.
Для
d= 210 мм по табл. 7.2 определяем площади ступенчатых фигур стержня и ярма: Пфс
= 319см2, Пфя = 327 см2.
Активное
сечение стержня, т.е. “чистое” сечение стали:
ПС
= kз·Пфс= 0.96×319=306.2см2.
ЭДС
витка (предварительно), В:
В.
Число
витков обмотки НН (предварительно):
.
Уточняем
э.д.с. витка:
В.
Номинальное
число витков обмотки ВН
Средняя
плотность тока в проводах обмоток:
,
где
для алюминиевых обмоток КJ = 0,463;
КД
=0,92 (табл. 5.5).
Сечение
витка (предварительно):
обмотка
НН:
мм2;
обмотка
ВН:
мм2.
.4
Расчет обмоток
.4.1
Расчет обмоток низшего напряжения (НН)
Выбираем
многослойную цилиндрическую обмотку из прямоугольного провода.
По
табл. 5.2 подбираем возможно больший размер провода b и сечение провода Ппр1
так, чтобы количество параллельных проводников в витке было целым числом с
точностью 1…3 %.
Выбираем
провод АПБ
,
.
Сечение
витка обмотки (окончательно):
= 11×22 = 242мм2.
Плотность
тока в обмотке:
А/мм2.
Находим
число витков в слое обмотки:
,
где
0,5 мм -
двусторонняя толщина изоляции.
Округляем
до целого числаωсл1=4 .
Находим
число слоев:
.
По табл. 5.7 проверяем
условиеа<а10%, (2,5<6,7) при
выбранном выше значении Nсл1 = 6.
Определяем фактический суммарный
радиальный размер проводов с изоляцией:
мм.
Определяем предельно допустимое
расстояние между охлаждающими каналами с'пред.
Допустимый по условию нагрева размер
с'пред для алюминиевых обмоток:
мм,
где kзк = 0,8 - коэффициент,
учитывающий закрытие части поверхности рейками и другими изоляционными
деталями;доп = 1200 Вт/м2 - допустимая плотность теплового потока.
Находим число концентрических
катушек nкат1, на которое следует разделить обмотку в радиальном направлении:
.
Определяем рабочее напряжение двух
слоев:
.
По рабочему напряжению двух слоев по
табл. 5.9 выбирается число листов и общая толщина кабельной бумаги δмсл=
0,12х2=0,4 мм в изоляции между двумя слоями обмотки.
Высота обмотки:
Радиальный размер обмотки НН:
гдеhк1- радиальный размер канала,
который принимаетсяhк1= 0,01l1 = 0,01×853 = 8.53мм. Полученный размер hк1 округляется
в большую сторону с точностью до 0,5мм (толщина полосок электрокартона, из
которых склеиваются рейки).к1 = 8,5 мм.
Внутренний диаметр обмотки:
= 0,21 + 2·0,004 = 0.218 м.
Наружный диаметр обмотки:
м.
Средний диаметр обмотки:
м.
Поверхность охлаждения обмотки:
где kзк = 0,8 - коэффициент,
учитывающий закрытие части поверхности рейками и другими изоляционными
деталями;
Масса металла обмотки:
где Км = 8,47 - для алюминиевых
проводов;
Масса провода обмотки:
,
где
;
Δm=6,6 - увеличение массы
провода за счет изоляции, определяется по табл.5.5.
Коэффициент добавочных потерь:
Квx - коэффициент, зависящий от
материала обмотки и формы провода:
для алюминиевого провода Квx = 0,037
(прямоугольный провод).
Под np понимается число проводов в
катушке, уложенных в радиальном направлении (перпендикулярно линиям магнитного
поля рассеяния): для цилиндрических многослойных обмоток np = Nсл = 6.
Коэффициент заполнения высоты
обмотки алюминием βзп
рассчитывается по формуле
,
р- коэффициент Роговского. При
предварительных расчетах принимают kр = 0,95;- число проводов обмотки в осевом
направлении:
.
Электрические потери в обмотке:
.
КЭ - коэффициент, зависящий от
материала обмотки.
Для алюминиевых обмоток КЭ = 12,75
Тепловая нагрузка:
.4.2 Расчет обмотки высшего
напряжения (ВН)
В трансформаторах с регулированием
напряжения на стороне ВН путем переключения ответвлений без возбуждения (ПБВ)
должно предусматриваться изменение числа витков ОВН на +2·2,5 % = +5 % от
номинального значения. В этом случае на крышке трансформатора имеется
переключатель на 5 положений: номинальное напряжение, две ступени вверх и две
ступени вниз от номинального.
Для уменьшения осевых сил,
возникающих при коротких замыканиях, в случае применения в качестве ОВН
многослойных цилиндрических обмоток регулировочные витки размещают равномерно
по высоте в отдельных слоях. В трансформаторах мощностью до 160кВАс
цилиндрической обмоткой ВН применяется схема рис. 5.4, а.
а)
б) в)
Рис. 2. Схемы выполнения регулировочных
ответвлений
Число витков на одной ступени
регулирования
ωр2 = ω2ном· ΔU*ст = 330×0,025 = 8.25
;
где
- относительное значение напряжения
на одной ступени регулирования, ΔUст%= 2,5 %.
Число витков на ответвлениях:
ступеньU2 max2
ω2max2= ω2 ном+ 2ωр2 =330 + 2×8.25 = 347;
ступень U2max1
ω2 max1= ω2 ном+ 2ωр2 =330 +
8.25 = 338.25;
ступень U2 ном
ω2 ном = 330;
ступень U2min 1
ω2min1= ω2 ном -ωр2 = 330
-8.25 = 321.75;
ступень U2min 2
ω2 min2 = ω2 ном - 2ωр2 = 330 -2×8.25 =
313.5.
Ориентировочная плотность
тока'2=2Jср - J1 = 2×2.84-2.84 =
2.84А/мм2.
Ориентировочное сечение витка
мм2.
По табл. 5.2 подбираем возможно
больший размер провода b и сечение провода Ппр1 так, чтобы количество
параллельных проводников в витке было целым числом с точностью 1…3 %:
.
Сечение витка обмотки
(окончательно):
=16.3мм2 .
Марка провода АПБ
Плотность тока в обмотке:
А/мм2.
Находим число витков в слое обмотки:
,
где
0,5мм - двусторонняя толщина
изоляции.
Находим число слоев:
.
По табл. 5.7 проверяем условие
а<а10%, (2,12<6,7) при
выбранном выше значении Nсл2= 5.
Определяем фактический суммарный
радиальный размер проводов с изоляцией:
мм.
Определяем предельно допустимое
расстояние между охлаждающими каналами с' пред.
Допустимый по условию нагрева размер
с'пред определяется для алюминиевых обмоток:
мм,
где kзк = 0,8 - коэффициент,
учитывающий закрытие части поверхности рейками и другими изоляционными деталями;доп
= 1200 Вт/м2 - допустимая плотность теплового потока.
Находим число концентрических
катушек nкат2, на которое следует разделить обмотку в радиальном направлении:
.
Округляем до ближайшего большего
целого числаnкат2=2.
Определяем рабочее напряжение двух
слоев
В.
По рабочему напряжению двух слоев по табл. 5.9
выбирается число листов и общая толщина кабельной бумаги δмсл=
0,12х5 = 0,6 мм в изоляции между двумя слоями обмотки.
Высота обмотки.
мм.
Радиальный размер обмотки ВН:
гдеhк1 - радиальный размер канала,
который принимается
к2= 0,01l2 =0,01×555 = 5.55
мм.к2 = 5.5мм.
Внутренний диаметр обмотки:
м.
Наружный диаметр обмотки:
м.
Средний диаметр обмотки:
м.
Поверхность охлаждения обмотки:
где kзк = 0,8 - коэффициент,
учитывающий закрытие части поверхности рейками и другими изоляционными
деталями;
Масса металла обмотки:
гдеКм = 8,47 - для алюминиевых
проводов;
Масса провода обмотки:
кг,
где
,
Δm=9,9 - увеличение массы
провода за счет изоляции, определяется по табл.5.5.
Коэффициент добавочных потерь:
где np = Nсл = 5 - для
цилиндрических многослойных обмоток.
Коэффициент заполнения высоты
обмотки алюминием βзп
рассчитывается по формуле
,
где m - число проводов обмотки в
осевом направлении:
.
Электрические потери в обмотке:
Вт.
Тепловая нагрузка:
1.5 Расчет параметров короткого замыкания
.5.1 Расчет потерь короткого замыкания
Электрические потери РЭ1 и РЭ2 обмоток с учетом
добавочных потерь от поля рассеяния определены выше при расчете обмоток.
Потери в отводах обмотки НН:
Вт.
Потери в отводах обмотки ВН:
Вт,
где Gотв1, Gотв2 - масса отводов
обмоток НН и ВН.
При соединении обмотки НН и ВН в
«звезду»:
кг.
кг,
где γ - плотность
металла обмотки, для алюминиевых обмотокγ = 2700 кг/м3.
Потери в стенках бака на этапе
расчета обмоток, когда размеры бака еще не известны, можно определить по
приближенной формуле:
,
где kб =0,01 - коэффициент, определяемый по
табл. 6.1.
Полные потери короткого замыкания:
Сравним полученные потери короткого
замыкания с заданными Ркзад (табл. 10.2):
%
.5.2 Определение напряжения
короткого замыкания
%.
Ширина приведенного канала
рассеяния:
где
м - диаметр осевого канала между
обмотками.
Соотношение основных размеров β:
где
м - средняя высота обмоток НН и ВН.
Коэффициент Роговского:
где
Реактивная составляющая напряжения
короткого замыкания:
Полное напряжение короткого
замыкания:
Сравним полученное напряжение
короткого замыкания с заданным uк зад:
.5.3 Расчет механических сил в
обмотках при коротком замыкании
Действующее значение,
установившегося тока короткого замыкания:
обмотки НН
А,
обмотки ВН
А.
Мгновенное максимальное значение
тока короткого замыкания обмотки ВН:
А.
где
коэффициент, учитывающий
апериодическую составляющую тока короткого замыкания.
Радиальная сила, действующая на
наружную обмотку ВН и стремящаяся растянуть её:
Такая же радиальная сила, но направленная в
противоположенную сторону, действует на внутреннею обмотку, стремясь сжать её.
Напряжение на разрыв, действующее в проводниках
обмотки ВН:
σр =
мПа.
Напряжение на сжатие, действующее в
проводниках обмотки НН:
σсж =
мПа.
Допускается σ ≤
25
мПа (для алюминия).
Осевая сила:
Конечная температура обмотки υк, через 4
секунды после возникновения внезапного короткого замыкания:
где J- средняя плотность тока:
υн =90о - начальная
температура обмотки.
Время достижения температуры 200 °С:
.6 Окончательный расчет магнитной
системы. Определение параметров холостого хода
.6.1 Определение размеров пакетов и
активных сечений стержней и ярм
Принята конструкция трёхфазной
плоской шихтованной магнитной системы, собираемой из пластин холоднокатаной
текстурованной стали марки 3405 толщиной 0,3 мм. Стержни магнитной системы
прессуются путем расклинивания их с обмоткой. Размеры пакетов из табл. 7.1, а
приведены в табл. 11.1 для стержня диаметром 0,24 м без прессующих пластин.
Число ступеней в сечении стержня - 8, в сечении ярма - 6.
По табл. 7.2:
площадь ступенчатой фигуры сечения
стержня: Пф.с = 319 см2 = 0,0319 м2;
площадь ступенчатой фигуры ярма:
Пф.я = 327 см2 = 0,0327 м2;
объём угла магнитной системы: Vу =
5680 см3 = 0,05680 м3.
Активное сечение стержня:
Пс= kз´Пф.с = 0,96´319 = 306
см2.
Активное сечение ярма:
Пя= kз´Пф.я = 0,96´327= 314
см2.
Объём стали угла магнитной системы:
у.ст = kз´Vу = 0,96´5680 = 5453
см3.
Длина стержня:
.
Таблица 11.1. Размеры пакетов в
сечении стержня и ярма
|
№
пакета
|
Размеры
пакетов стержня, мм
|
Размеры
пакетов ярма, мм
|
|
1
|
230´34
|
230´34
|
|
2
|
215´19
|
215´19
|
|
3
|
195´17
|
195´17
|
|
4
|
175´12
|
175´12
|
|
5
|
155´9
|
155´9
|
|
6
|
135´8
|
135´8
|
|
7
|
120´5
|
-
|
|
8
|
95´6
|
-
|
мм - расстояние от нижнего края
обмотки до ярма,
мм - расстояние от верхнего края
обмотки до ярма, определяются по табл. 4.3, прим.2.
Расстояние между осями соседних
стержней:
.
.6.2 Определение массы стали
Масса стали одного угла:

,
где γст=7650
кг/м3 - плотность трансформаторной стали.
Масса стали ярм определяется как
сумма двух составляющих:

Полная масса ярм:
масса стали стержней:
где масса стали стержней в пределах
окна магнитной системы
Масса стали в местах стыка стержня и
ярма:
Полная масса стали плоской магнитной
системы:
.6.3 Определение потерь холостого
хода
Для трехфазных шихтованных плоских
стержневых магнитных систем (рис. 4.2) потери холостого хода рассчитываются по
формуле:
=

Вт,
где коэффициенты:пу = 10,64 (табл.
7.3);пр = 1,05 для отожженной стали марки 3405;пз = 1,02 для отожженной стали марки
3405;пп = 1,03 (табл. 7.5);пш = 1,01 для трансформатора мощностью до 250кВА;
удельные потери в стержне рс=1.150
Вт/кг - определяются по табл. 7.4 для индукции в стержне Вс:
удельные потери в ярме ря=1.074
Вт/кг - определяются по табл. 7.4 для индукции в ярме Вя:
число углов с прямыми стыками nпр =
2; с косыми стыками nк = = 4 (по рис. 4.2а);
площадь прямого стыка Ппр = Пс =
0,306 м2;
площадь косого стыка Пк =
Пс =
·0,306
= 0,782 м2;
удельные потери в зазоре на прямом
стыке рзпр = 645 Вт/м2 определяются по табл. 7.4 для индукции Вс= 1,6Тл;
удельные потери в зазоре на косом
стыке рзк = 320 Вт/м2 определяются по табл. 7.4 для индукции
= 1,13 Тл.
Сравним полученные потери холостого
хода с заданными Р0зад
% < 7%
.6.4 Определение тока холостого хода
Активная составляющая тока холостого
хода i0a:
%.
Для определения реактивной
составляющей тока холостого хода рассчитаем намагничивающую мощность Q0:
=

,
где коэффициенты:ту = 49,0 для
магнитной системы по рис. 4.2а);тр = 1,18 для отожженной стали марки 3405;тз =
1,02 для отожженной стали марки 3405;тп = 1,045 (табл. 7.7);тш = 1,01 для
трансформатора мощностью до 250кВА;
удельная намагничивающая мощность
стержня qс=1,526 ВА/кг определяется по табл. 7.6 для индукции в стержне Вс =
1,6 Тл;
удельная намагничивающая мощность
ярма qя=1,383 ВА/кг - определяется по табл. 7.6 для индукции в ярме Вя = 1.56
Тл;
удельная намагничивающая мощность
зазора на прямом стыке qзпр = 1,920 ВА/см2 = 19200 ВА/м2 определяются по табл.
7.6 для индукции Вс= 1,6 Тл;
удельная намагничивающая мощность
зазора на косом стыке qзк = 0,29 ВА/см2 = 290 ВА/м2 определяются по табл. 7.6
для индукции
1.13 Тл.
Реактивная составляющая тока
холостого хода:
%.
Полный ток холостого хода:
что меньше заданного i0зад = 2,0 %.
КПД трансформатора определяется по
формуле:
.7 Тепловой расчет трансформатора
Определяем размеры бака и
поверхность охлаждения бака и крышки:
ширина бака:
Где аоб = 0,06 м - изоляционное
расстояние от внешней обмотки до стенки бака (табл. 8.1);
длина бака:
глубина бака:
где hяк = 0,16м - расстояние от
верхнего ярма до крышки бака (табл. 8.1);яд =0,05м - высота прокладки между
нижним ярмом и дном бака.
Используем бак овальной формы. В
этом случае площадь боковой поверхности бака:
площадь крышки бака:
Определяем превышение температуры
обмоток над температурой масла:
для цилиндрической обмотки НН:
для цилиндрической обмотки ВН:
Определяем допустимое среднее
превышение температуры масла над воздухом из условия, чтобы температура
наиболее нагретой обмотки превышала температуру воздуха не более, чем допускает
ГОСТ:
где Θом -
наибольшее из значений Θом1 и Θом2.
Определяем превышение температуры
масла в верхних слоях расширителя:
< 65 0С
Выбираем унифицированный прямо
трубный радиатор (рис. 8.1)
Определим тепловой поток поверхности
бака и радиаторов, при котором превышение температуры масла над воздухом будет
ограничено полученной величиной Θмв:
Определим потери, отводимые с
поверхности бака:
Потери, которые должны быть отведены
с поверхности радиаторов:
Необходимая поверхность радиаторов:
По табл. 8.2 выбираем два радиатора
Nр = 2 с характеристиками:
расстояние между осями патрубков Нор
= 900 мм;
высота радиатора Нр= 905 мм;
ширина радиатора Lр= 189 мм;
число рядов труб nряд= 1;
поверхность охлаждения Пр= 4,46 м2;
масса радиатора Gр= 55 кг;
масса масла в радиаторе Gмр= 28кг.
Уточняем тепловой поток поверхности
бака и радиаторов:
Уточняем среднее превышение
температуры масла над воздухом:
Определим превышение температуры наиболее
нагретой обмотки над воздухом:
.8 Расчет массы трансформатора
Определим массу активной части:
,
где
кг - масса провода обмоток НН и ВН;
Масса бака с радиаторами:
где γст = 7850
кг/м3 - плотность стали;
- объем стали бака (δст = 0,003 м
- толщина стали бака);
Общая масса масла:
где γм = 900
кг/м3 - плотность масла;
- объем бака;
- объем активной
части,где(плотность активной части
);
- объем расширителя;
Масса трансформатора:
Заключение
В условиях научно-технической революции темпы
развития машиностроительного комплекса и, в частности, электромашиностроения и
трансформаторостроения во многом определяют технический прогресс в области
энергетики, топливной промышленности, транспорта и связи, металлургии,
станкостроения и приборостроения, строительства, агропромышленного комплекса и
др., комплексной механизации и автоматизации во всех этих отраслях народного
хозяйства.
В настоящем пособии изложены основы теории,
особенности конструкции, рассмотрены вопросы проектирования силовых масляных
трансформаторов общего назначения.
В целом в настоящее время в развитии
отечественного трансформаторостроения наблюдаются следующие тенденции:
улучшение конструкций магнитных систем, обмоток
и систем охлаждения с целью снижения стоимости, габаритных размеров
трансформаторов, потерь энергии в них;
увеличение единичной мощности трансформаторов;
повышение надежности путем улучшения качества
изоляции обмоток, качества трансформаторного масла;
создание линейных электродвигателей и двигателей
возвратно-поступательного движения;
разработка более технологичных конструкций
трансформаторов, приспособленных для массового и серийного производства;
усовершенствование методов расчета
трансформаторов на основе применения ЭВМ, физического и математического
моделирования
Список использованной литературы
1.
Тихомиров, П.М. Расчет трансформаторов - М.: Энергоатомиздат, 1986.
.
Гончарук, А.И. Расчет и конструирование трансформаторов - М.: Энергоатомиздат,
1990.
.
Васютинский, С.Б. Вопросы теории и расчета трансформаторов- Л.: Энергия, 1970.
.
Дымков, А.М. Расчет и конструирование трансформаторов- М.: Высшая школа, 1971.
.
Сапожников, А.В. Конструирование трансформаторов-Л.: Госэнергоиздат, 1959.