Силовой трехфазный двухобмоточный трансформатор с масляным охлаждением
Тема
Силовой
трехфазный двухобмоточный трансформатор
с масляным
охлаждением
ЗАДАНИЕ
трансформатор расчет обмотка изоляция
На курсовой проект по дисциплине «Электрические машины».
Трансформатор - силовой двухобмоточный с масляным охлаждением.
Частота сети - 50 Гц.
Полная мощность - 250 кВ.А.
Схема
и группа соединения обмоток -
.
Материал
обмоток - алюминий.
Напряжение
замыкания - 4.5%.
Напряжение
первичной и вторичной обмоток -
1. Расчет основных электрических величин
трансформатора
Для выполнения электромагнитного расчета трансформатора необходимо
определить основные электрические величины: мощность на одну фазу и стержень,
номинальные токи на стороне ВН и НН, фазные токи и напряжения, составляющие
напряжения короткого замыкания, испытательные напряжения обмоток.
Мощность одного стержня одной фазы трехфазного трансформатора, кВА,:
где
Sн -
номинальная мощность, кВА;
m - число фаз
трансформатора.
Номинальный (линейный) ток, А, обмоток ВН и НН трехфазного
трансформатора:
,
,
где
UH - номинальное линейное напряжение соответствующей
обмотки, кВ.
Фазные
токи, А, напряжения, В, для обмоток ВН и НН трехфазного трансформатора,
учитывая тип соединения обмоток:
Фазные
токи при соединении в «звезду»:
,
,
Фазные
напряжения при соединении в «звезду»:
,
,
Активная
составляющая напряжения короткого замыкания, %,:
где
Рк - потери короткого замыкания, Вт;
Sн - мощность трансформатора, кВА.
Реактивная
составляющая при заданном Uк, %,:
Классом
напряжения трансформатора считают напряжение обмотки ВН. Каждому классу
соответствует испытательное напряжение обмоток. Выберем по таблице 1.1. Uисп = 25 кВ.
2. Расчет основных размеров трансформатора
2.1 Выбор магнитной системы и
материала обмоток
Магнитная система является основой трансформатора. Плоская магнитная
система стержневого типа проектируемого трансформатора показана на рис. 1.
Рис.
1
Основные
размеры трансформатора: диаметр окружности, в которую вписан стержень, имеющий
сечение в форме симметричной ступенчатой фигуры; высота обмоток; средний
диаметр двух обмоток или диаметр осевого канала между обмотками.
Стержни
и ярма магнитной системы выполняют ступенчатыми из листов холоднокатоной
текстурованной электротехнической стали марок 3413, 3414 толщиной 0.35 мм.
Стальные пластины, заготовленные для сборки магнитной системы, необходимо
надежно изолировать одну от другой лаковой пленкой или жаростойким покрытием.
При этом коэффициент заполнения стрежня или ярма сталью:
Кз = 0.93 - 0.94 - для однократной лакировки,
Кз = 0.95 - 0.96 - для жаростойкого покрытия.
Коэффициент заполнения сталью площади круга, в который вписан стержень:
где Ккр = (0.91 - 0.93) - коэффициент заполнения круга
ступенчатой фигурой стержня.
Рекомендованные
значения индукции магнитного поля в стержнях силовых масляных трансформаторов Вс
взяты из таблицы 2.1. Вс = 1.6 Т.
В
качестве материала для обмоток трансформатора будем использовать алюминий.
2.2 Предварительный выбор
конструкции обмоток
Основным элементом всех обмоток трансформатора является виток. В
зависимости от тока нагрузки виток выполняют одним проводом круглого или
прямоугольного сечения. Обмоточный провод круглого или прямоугольного сечения
(алюминиевый марки АПБ) изолируют лентами кабельной бумаги. Тип конструкции
обмотки ВН и НН выбирают по табл. 2.5 в соответствии с поминальной мощностью,
напряжением, током одного стержня и поперечным сечением витка обмотки.
Ориентировочное сечение витка каждой обмотки, мм2,:
где
- средняя плотность тока в обмотках, предварительно
выбираемая по табл.2.6,
= 1.4 -1.8.
Тип обмотки ВН:
Тип обмотки - цилиндрическая многослойная из прямоугольного провода.
Основные достоинства - хорошее заполнение окна магнитной системы, простая
технология изготовления.
Основные недостатки - уменьшение охлаждаемой поверхности по сравнению с
обмотками, имеющими радиальные каналы.
Материал обмотки - алюминий.
Пределы применения - SН
- до 1600 кВ.А;
IФ
- от 10 и до 1200
А;
UН
-
от 10 до 35 кВ;
П - от 7.21 до 500 мм2.
Число параллельных проводов - от 1 до 4 - 8 и более.
Тип обмотки НН:
Тип обмотки - цилиндрическая двухслойная из прямоугольного провода.
Основные достоинства - простая технология изготовления, хорошее охлаждение.
Основные недостатки - малая механическая прочность.
Материал обмотки - алюминий.
Пределы применения - SН - до 630 кВ.А;
IФ - от 15 и до 800А;
UН - до 6 кВ;
П - от 7.21 до 300 мм2 .
Число параллельных проводов - от 1 до 4 - 8 и более.
2.3 Определение размеров
главной изоляции обмоток
Минимально допустимые изоляционные расстояния от обмоток до стержня и
ярма, между обмотками, а также главные размеры изоляционных деталей в
зависимости от мощности трансформатора для испытательных напряжений 5-85 кВ
приведены в табл. 2.7 и 2.8 (рис.2).
Рис.2
Для
обмотки НН:
|
МощностьТр-ра,Sн, кВА
|
Для НН, кВ
|
НН от ярма, см
|
НН от стержня, см
|
|
|
l01
|
lЦ1
|
01
|
ац1
|
а01
|
|
25-250
|
5
|
1.5
|
Картон2 х 0.05
|
--
|
0.4
|
--
|
Для обмотки ВН:
Максимально допустимая толщина изоляции на две стороны (по табл.2.9).
Для проводов АПБ - 0.3(0.40)мм.
2.4 Определение диаметра
стержня и высоты обмотки
На размер диаметра стержня магнитной системы влияют:
1. Ширина приведенного канала рассеяния,
см,:
где а12 - изоляционный промежуток между обмотками ВН и НН,
определяемый по испытательному напряжению обмотки ВН, (табл. 2.8);
второе слагаемое (приведенная ширина двух обмоток):
где
- мощность трансформатора на один стержень, кВА;
К
- коэффициент, по таблице 2.10, в зависимости от мощности
трансформатора,
материала обмоток, и напряжения обмоток ВН, К = 0.7.
.
Величина - отношение средней длины окружности канала между обмотками d12 и
высоте обмоток l,:
Значения
дня масляных трансформаторов приведены в табл. 2.10 ( =
1.2-1.6 ). Рекомендуемые значения предусматривает получение
трансформаторов с заданными потерями, напряжением короткого замыкания.
Диаметр
стержня, см,:
где
f = 50 Гц - частота питающей сети, Гц;
Uр - реактивная составляющая напряжения короткого
замыкания;
Вс
- индукция в стержне, Т;
Кс
- коэффициент заполнения сталью площади круга;
Кр
= 0.95 - коэффициент приведения идеального поля к реальному;
-
мощность трансформатора на один стержень, кВА.
Полученное
значение d сравним с диаметрами нормализованной шкалы.
Примем
ближайший нормализованный диаметр dн = 16 см.
Определим
отношение:
.
Средний
диаметр канала между обмотками, см,:
где
а1 - радиальный размер обмотки НН.
Поэтому:
d12 = 16 + 20.4 + 22.33
+ 0.9 = 22.36см.
Высота обмоток, см,:
Активное сечение стрежня (сечение стали), см2,:
При
окончательном расчете магнитной системы значение Пс может быть
скорректировано на 1.0 - 2.0 %.
3. Расчет обмоток НН и ВН
Основным элементом всех обмоток является виток.
Электродвижущая сила одного витка, В,:
Uв = 4.44fВсПс10-4,
где f = 50 Гц - частота питающей сети, Гц.
Uв = 4.44501.6174.9210-4
= 6.21 В.
При заданном уровне потерь короткого замыкания РК средняя
плотность тока в обмотках, А/мм2,:
где C1 = 0.463 - коэффициент
пропорциональности для алюминиевых обмоток;
Kg - коэффициент, учитывающий добавочные потери( по табл. 3.1) Kg = 0.92;
SH - номинальная мощность трансформатора,
кВ.А;
UB - напряжение одного витка, В, по формуле (8);
d12
- по формуле (5);
PK - потери короткого замыкания, Вт.
Выбираем провод НН и ВН прямоугольного сечения.
3.1 Расчет обмоток НН
Расчет обмоток трансформатора начинают с обмотки низшего напряжения,
располагаемой между стержнем и обмоткой НН
Число витков обмотки НН на одну фазу:
,
где
Вс - из табл. 2.1;
Пс
- рассчитываем по формуле (7);
f - 50 Гц -
частота питающей сети, Гц;
UФ1
-номинальное
фазное напряжение обмотки НН, В.
Полученное значение округлили до ближайшего числа и находим ЭДС одного
витка, В,:
и действительную индукцию в стержне, Т,:
Дальнейший расчет зависит от выбранного по табл. 2.5 типа обмотки НН.
Расчет двухслойной цилиндрической обмотки из прямоугольного провода.
В двухслойной обмотке число витков в одном слое:
Осевой
размер витка, cм,:
Здесь
высота обмотки l1 = (l -
1.0), где l, см по формуле (6).
Сечение
витка, мм2,:
где
- предварительно определенное значение плотности тока;
IФ1- фазный ток обмотки НН, А.
К
полученным значениям П1 и hВ1 по сортаменту обмоточного провода (табл. 2.4)
подбивают провода прямоугольного сечения.
Так
как провода с сечением П1 в таблице нет (оно велико), то выбираем
два параллельных провода:
Провод:
АПБ сечение - 100.5 мм2; а = 6.5 мм; b = 15.6 мм.
Подобранные размеры проводов записывают в виде:
где
а и b - размеры провода без изоляции, мм;
а1
и b1 -
размеры провода в изоляции, определяют по табл. 2.4 и 3.2;
nB1
- число параллельных проводов.
Размеры
провода в изоляции:
где
- расчетная толщина изоляции на две стороны, принимая
по табл.3.2.
Полное сечение витка обмотки, мм2,:
П1 = nB1
ППР =
2.100.5 = 201 мм2,
где ППР - сечение одного провода, принятое по таблице 2.4.
Реальная плотность тока в обмотке, А/мм2,:
.
Осевой размер (высота) витка, см,:
,
где nB1 - число параллельных проводов;
hПР - высота одного провода в изоляции,
см;
hПР = b1 - при намотке плашмя, где b1- размер провода, см.
Осевой размер обмотки НН, см,:
.
Двухслойную
цилиндрическую обмотку выполняют с охлаждающим каналом между слоями.
Радиальный
размер обмотки, см,:
,
где
a11 - размер охлаждающего канала, см, в зависимости от длины обмотки
(а11 = 0.6 см);
l1 - выбирают по табл.3.3.
Внутренний
диаметр обмотки, см,:
,
где
a01 -
ширина канала между обмоткой НН и стержнем по табл.2.7.
Наружный
диаметр обмотки, см,:
.
Полная
охлаждающая поверхность обмотки НН, м2, для всего трансформатора:
Так
как между слоями обмотки есть охлаждающий канал принимаем К = 6.
После
определения потерь короткого замыкания для обмотки НН следует найти плотность
теплового потока q1, Вт/м2,
на поверхности обмотки:
.
Полученное значение q1 не должно превышать 1200 Вт/м2,
для алюминиевых обмоток.
3.2 Расчет обмоток ВН
В обмотке ВН выполняют ответвления для регулирования напряжения путем
переключения без возбуждения (ПБВ) после отключения всех обмоток от сети. В
ГОСТе предусмотрено пять ответвлений на + 5; + 2.5; 0; - 2.5; - 5% от
номинального напряжения.
Выбор той или иной схемы зависит от мощности трансформатора, схемы
соединения фаз, номинального напряжения, типа обмотки ВН и осуществляется по
табл. 2.5. При соединении обмотки ВН в «треугольник» схему регулирования не
применяют. Выбираем следующую схему регулирования (рис.3).
Рис.3
Число
витков обмотки ВН при номинальном напряжении:
,
где
UФ2 и UФ1 - номинальные фазные напряжения обмоток НН и ВН, В.
Число
витков на одной ступени регулирования:
где UВ - напряжение одного витка обмотки, В, вычисляемое по
формуле (8).
Число витков обмотки на ответвлениях + 5; + 2.5; 0; - 2.5; - 5% от
номинального напряжения соответственно равно:
Предварительно плотность тока, А/мм2, в обмотке ВН:
,
где
и
- находят
соответственно по формулам (9) и (17).
Сечение
витка обмотки ВН, мм2,:
,
где
Iф2 -
номинальный фазный ток обмотки ВН, А.
Входные
витки (катушки) обмотки ВН при ее номинальном напряжении 20 кВ и выше выполняют
с усиленной изоляцией, предотвращающей пробой между витками при воздействии на
обмотку импульсных перенапряжений.
Усиленную
изоляцию делают и на входных катушках каждой фазы непрерывной катушечной
обмотки с двух ее концов.
В
многослойных цилиндрических обмотках из прямоугольного провода для повышения
электрической прочности применяют междуслойную изоляцию из кабельной бумаги
толщиной 0.12 мм.
Число
слоев кабельной бумаги между двумя слоями определяют по суммарному рабочему
напряжению двух слоев обмотки (табл. 3.6.).
Высоту
междуслойной изоляции для увеличения пути разряда по поверхности между слоями
делают большей, чем высоту слоя витков.
Расчет многослойной цилиндрической обмотки из прямоугольного провода.
Из таблицы 2.4 выбираем провод:
АПБ П = 13.8 мм2, а = 3.05 мм, b = 4.7 мм2.
Суммарный радиальный размер проводов обмотки, см, необходимый для
получения полного сечения всех витков обмотки ВН:
,
где
Коc - коэффициент, учитывающий изоляцию проводов в осевом
направлении обмотки,
Кос
= 0.93;
П2
- сечение витка, мм2;
W2H
и WP - вычисляют по формулам (45) и (46).
Предельно
допустимый размер обмотки по условиям охлаждения, см,:
,
где
q - предельно допустимая плотность теплового потока не
более 1600 Вт/мм2;
К3
= 0.8 - коэффициент закрытия поверхности;
-
плотность тока в обмотке вычисленная по формуле (47);
К2
= 172 - числовой коэффициент для алюминиевого провода.
Так как a1(60) = 1.61 см < a1 (33) = 1.76 см, то разделять обмотку на концентрические
катушки не надо.
Реальные сечения проводов выбранные из таблицы 2.4 записываем так:
марка провода
,
где
nB2 - число
параллельных проводов витка;
а
и b - размеры провода без изоляции, мм;
а1
и b1 -
размеры провода в изоляции, мм.
Размеры
провода в изоляции:
а1
= а + 2.
= 3.05 + 0.5 = 3.55 мм,
b1 = b + 2.
= 4.7 +
0.5 = 5.2 мм,
где
2.
= 0.5 мм - расчетная толщина изоляции по табл. 3.2.
Полное
сечение витка, мм2,:
Реальная
плотность тока в обмотке, А/мм2,:
где
- номинальный фазный ток а обмотке ВН, А.
Число
витков в слое:
.
Число слоев в обмотке:
.
Рабочее напряжение двух слоев (табл.3.6), В,:
,
где
- напряжение одного витка.
По
рабочему напряжению двух слоев (табл. 3.6) выбирают число слоев и общую толщину
= 0.36 мм кабельной бумаги в изоляции между слоями
обмотки.
Радиальный
размер обмотки без экрана, см,:
где ;
nк - число радиальных каналов.
Внутренний диаметр обмотки, см,:
,
где
a12 -
минимальный радиальный размер осевого канала между обмотками НН и ВН выбираем
по
таблице 2.8;
-
наружный диаметр обмотки НН, см.
Внешний диаметр обмотки без экрана, см,:
.
Поверхность
охлаждения, м2,:
где
n - число концентрических катушек обмотки ВН;
К3
= 0.8 - коэффициент, учитывающий закрытые части поверхности изоляционными
деталями.
После
определения потерь короткого замыкания для обмотки НН следует найти плотность
теплового потока q2, Вт/м2,
на поверхности обмотки:
.
По условиям нагрева обмотки значение теплового потока q2 не должно превышать 1200 Вт/м2 для
алюминиевых обмоток.
4. Расчет параметров короткого замыкания
4.1 Определение потерь
короткого замыкания
Потерями короткого замыкания двухобмоточного трансформатора называют
потери при установлении в одной из обмоток тока, соответствующего номинальной
мощности и замкнутой накоротко другой обмотке .
Потери короткого замыкания Рк в трансформаторе подразделяют на
следующие составляющие:
основные потери в обмотках НН и ВН, вызванные рабочим током, P01 и Р02;
·
добавочные потери
в обмотках НН и ВН, от токов, наведенных полем рассеяния;
- основные потери в отводах между обмотками и вводами, Ротв1 и
Ротв2;
потери
в стенках бака и других металлических элементах конструкции трансформатора,
вызванных полем рассеяния обмоток, Р
.
Средний диаметр, см, обмоток НН и ВН соответственно:
Масса
металла, кг, обмоток НН и ВН соответственно:
G01 = К DCР1
W1 П1 10 - 5 =
35.51 кг,
G02 = К DСР2 W2H П2 10
- 5 = 48.47 кг,
где
К = 25.4 - для алюминиевых обмоток;
П1
и П2 - сечения витков обмоток, мм2.
Основные
потери, Вт, в обмотках НН и ВН, соответственно:
где
К = 12.75 - для алюминиевых обмоток;
1
и 2 - реальная плотность тока в обмотках НН и ВН, А/мм2.
Масса
металла обмотки ВН с учетом витков верхних ступеней регулирования, кг,:
.
Полная
масса металла обмоток трансформатора, кг,:
.
Для
расчета добавочных потерь в обмотках НН и ВН от потока рассеяния ФР (рис.
4) необходимо определить коэффициенты. Для обмоток из прямоугольного провода:
где
m - число проводников в осевом направлении обмотки;
l - высота
обмотки, см;
bПР - размер прямоугольного провода в осевом направлении
обмотки, см;
КР
- коэффициент приведения поля рассеяния (КР = 0.93 - 0.98).
Коэффициенты,
учитывающие добавочные потери в обмотке НН КД1 и в обмотке ВН КД2,
рассчитывают по формулам:
где
n - число проводников в радиальном направлении обмотки;
аПР
- размер прямоугольного провода в радиальном направлении обмотки, см;
К
- числовой коэффициент для алюминиевых обмоток (К = 0.037).
Рис. 4.
Расчет основных потерь в отводах обмоток НН н ВН сводится к определению
длины проводников и массы металла отводов.
Сечение отвода НН н ВН Потв равно соответственно сечению витка
обмотки. Общая длина отводов для соединения обмоток в «звезду»:
Масса
металла отводов, кг, обмотки ВН и НН:
где
- плотность металла отводов ( = 2700 кг/м3 для
алюминия).
Основные
потери в отводах обмотки НН и ВН соответственно, Вт,:
где
К = 12.75 - для алюминиевых обмоток.
Потери
в стенках бака и других стальных деталях трансформатора, Вт,:
,
где
Sн -
номинальная мощность трансформатора, кВА;
К
- коэффициент, выбираемый по таблице 4.1.
Таблица
4.1.
Мощность, кВ.А
|
|
До 1000
|
1000-6300
|
6300-10000
|
|
К
|
0.1-0.15
|
0.2-0.3
|
0.3-0.4
|
Полные потери короткого замыкания, Вт,:
Потери короткого замыкания, полученные по формуле (107) не
должны превышать более чем на 5% значения Рк в задании на
проектирование трансформатора.
.7 кВт > 3.65 кВт.
Условие выполняется.
4.2 Расчет напряжения
короткого замыкания
Напряжением короткого замыкания UК двух обмоточного трансформатора называют напряжение которое
следует подвести к одной из обмоток при замкнутой накоротко другой обмотке,
чтобы в обеих обмотках установились номинальные токи.
Напряжение короткого замыкания определяет падение напряжения
в трансформаторе при нагрузке, его внешнюю характеристику и ток короткого
замыкания. Его рассчитывают в процентах от номинального напряжения первичной
обмотки и учитывают при подборе трансформаторов на параллельную работу.
Активная составляющая напряжения короткого замыкания, %,:
,
где
Рк - полные потери короткого замыкания, Вт;
Sн - номинальная мощность трансформатора, кВА.
.
Для
определения реактивной составляющей напряжения короткого замыкания необходимо
рассчитать ряд коэффициентов.
Числовой
коэффициент:
,
где
l - высота обмотки по формуле (6), см;
d12 - средний диаметр канала между обмотками, см.
Ширина
приведенного канала рассеяния, см,:
,
где
а1 и а2 - радиальные размеры из расчетов обмоток НН и
ВН, см;
а12
- ширина канала между обмотками, принимаемая по таблице 2.8.
.
Коэффициент,
учитывающий отклонение реального поля рассеяния от идеального:
,
где
- числовой коэффициент.
Рис. 5.
Расчетный размер lх, см, определяющий различие по высоте обмоток НН и ВН (рис.5), зависит
от типа обмотки ВН и схемы регулирования напряжения.
При вычислении lх следует считать, что трансформатор работает на средней ступени
регулирования напряжения BH,
когда через 2Wp витков обмотки не проходит ток
нагрузки.
.
Коэффициент,
учитывающий взаимное расположение обмоток НН и ВН:
,
где
m - числовой коэффициент m = 0.75 при
расположении обмоток как на рис. 5;
l1 - высота обмотки НН, см.
.
Реактивная
составляющая напряжения короткого замыкания, %,:
,
где
f = 50 Гц - частота сети, Гц;
S’ - мощность одной фазы трансформатора, кВА;
Uв - напряжение одного витка, В;
,
ар, Кр, Кq - числовые коэффициенты.
Напряжение
короткого замыкания, %,:
Значение Uк не должно отличаться от Uк в задании на проектирование
трансформатора более чем на 5%.
Требование выполняется.
4.3 определение механических сил в обмотках и нагрева обмоток
при коротком замыкании
Процесс короткого замыкания трансформатора, являющийся
аварийным режимом, сопровождается многократным увеличением токов в обмотках по
сравнению с номинальными токами, повышенным нагревом обмоток и ударными
механическими силами, действующими на обмотки.
Проверка обмоток на механическую прочность при коротком
замыкании включает:
-
расчет максимального тока короткого замыкания трансформатора;
определение механических сил между обмотками и их частями ;
определение механических напряжений в изоляционных опорных и
межкатушечных
конструкциях и в проводах обмоток;
определение температуры обмоток при коротком замыкании.
Действующее значение установившегося короткого замыкания в
обмотке НН и ВН, А,:
где
IФН -
номинальный фазный ток, А;
Uк - напряжение короткого замыкания, %.
В начальный момент времени ток короткого замыкания за счет
апериодической составляющей может значительно превысить установившийся.
При этом максимальное мгновенное значение тока короткого
замыкания:
где
Км - коэффициент, учитывающий апериодическую составляющую тока
короткого замыкания
найдем
его по формуле:
.
Радиальная сила действующая на обмотку ВН, Н,:
Радиальная
сила, действующая на обмотку НН, будет равна силе FР(ВН), действующей на обмотку ВН, но с противоположного
направления.
.
Поперечное
поле рассеяния, направление которого в верхних и нижних половинах обмоток
прямо противоположно, вызывает механические силы F1ос,
сжимающие обмотки, в осевом направлении, Н,:
,
где
ар - ширина приведенного канала, см.
Равномерное распределение витков по высоте обеих обмоток
встречается только при использовании на стороне ВН многослойных цилиндрических
обмоток.
Во всех других случаях возможно взаимное расположение
обмоток, при котором возникает второе поперечное поле, вызывающее
дополнительную осевую силу, Н,:
,
где
l11 -
расстояние от сердечника магнитопровода до стенки бака трансформатора:
,
где
, dH - внешний диаметр обмотки ВН и диаметр стержня, см;
S5 - расстояние от обмотки ВН до стенки бака, см, по
таблице 4.2;
m = 1 -
коэффициент при расположении обмотки на рис. 5.
Таблица 4.2
|
Расстояние от обмотки ВН
до стенки бака, см
|
Испытательное напряжение
обмотки ВН, кВ
|
|
До 25
|
35
|
55
|
85
|
|
S5
|
2.5
|
3.3
|
5.0
|
9.0
|
Проделав последние вычисления, находим максимальное значение
сжимающей силы Fсж в обмотке и силы Fя, действующей на ярмо (рис. 6).
Рис.6
Осевые сжимающие воспринимаются обычно межкатушечными и
опорными прокладками из электроизоляционного картона. Ширина таких прокладок b = (40 - 60) мм , длину берут равной
радиальному размеру обмотки.
Для оценки механической прочности обмотки вычисляют
напряжение сжатия в прокладках межкатушечной (межвитковой) и опорной изоляции
и напряжение на разрыв обмотки.
Напряжение сжатия на опорных поверхностях, мПа,:
где
FСЖ -
сжимающая сила, Н;
n - число
прокладок по окружности обмотки, равное числу реек;
а
- радиальный размер обмотки, мм;
b - ширина
опорной прокладки, b = (40 - 60)мм.
.
Сила,
разрывающая обмотку, Н,:
,
где
Fр -
радиальная сила, Н.
.
Напряжение
на разрыв в проводе обмотки, мПа,:
где
W2H - число витков обмотки
ВН;
П2
- сечение одного витка обмотки ВН, мм2.
.
В трансформаторах мощностью до 6300 кВ.А
напряжение на разрыв для алюминиевых обмоток должно удовлетворять неравенству:
.
Температура обмотки через tсек после возникновения короткого замыкания, С,:
где
- плотность тока в рассматриваемой обмотке, А/мм2;
К
= 5.5 - коэффициент для алюминиевых обмоток;
-
начальная температура обмотки,
= 90С;
tк = 5 сек. - длительность короткого
замыкания.
Так
как вычисленное значение удовлетворяет условию
200С,
для
алюминиевых обмоток, следовательно обмотки выбраны верно.
5. Расчет магнитной системы
трансформатора
При расчете магнитной системы определяют размеры пакетов и
активные сечения стержня и ярма, высоту стержня, расстояние между осями
стержней, ярм и всего магнитопровода.
По результатам расчета магнитной системы определяют потери в
стали и ток холостого хода.
5.1 Определение размеров
магнитной системы
Число ступеней в сечении стержня, толщину пакетов, ширину
пластин (пакетов), высоту сегмента принимают по табл. 5.1, в зависимости от
диаметра стержня dH. В
таблицах указана толщина пакетов, мм, в одной половине стержня. Число и
размеры пакетов приведены для двух вариантов вертикальной стяжки магнитопровода
(остова): без прессующей пластины и с прессующей пластиной. Стяжку с
прессующей пластиной производят стальными пластинами, соединяющими ярмовые
балки и расположенными внутри обмотки НН. В этом варианте прессующую пластину
размещают на место наиболее узкого пакета стержня, уменьшая число пакетов на
единицу с каждой половины стержня. Стержни с диаметром большим 220 мм прессуют
только бандажами из стеклоленты.
Форма поперечного сечения ярма в средней части повторяет
сечение стержня. Крайние пакеты в целях уменьшения прессовки ярма ярмовыми
балками делают более широкими, объединяя два-три пакета в один.
Площади поперечного сеченая стержня Пфс и ярма Пя,
приведены в табл. 5.3, в зависимости от диаметра стержня dН. Эти сечения определены по размерам
пакетов указанных в табл. 5.1.
Фрагмент таблицы 5.1.
|
Стержень
|
Ширина крайнего пакета
ярма, мм
|
Толщина пакетов при
ширине пластин, мм
|
|
Диаметр стержня, мм
|
Без прессующей пластины
|
|
|
|
|
|
55
|
85
|
105
|
120
|
135
|
155
|
|
Число ступеней
|
Высота сегмента, мм
|
|
|
|
|
|
|
|
|
160
|
6
|
5
|
85
|
7
|
7
|
7
|
10
|
23
|
20
|
Активное сечение стержня и ярма, см2,:
где
Кз - коэффициент заполнения сталью, зависящий от способа изоляции
пластин Кз = 0.93 - 0.94
при
однократной лакировке;
Пфс
= 174.33 см2; Пфя = 188.3 см2 - из табл.
5.3.
Длина
стержня трансформатора, см,:
,
где
l - высота обмоток, см;
l02 - расстояние от обмотки ВН до ярма (табл. 2.8), см.
Расстояние
между осями соседних стержней, см,:
,
где
- внешний диаметр обмотки ВН, см;
а22
- расстояние между обмотками ВН соседних стержней (табл. 2.8).
Для
расчета общей массы трансформатора необходимо определить массу стали угла
магнитной системы, кг, при n ступенях в сечении стержня:
,
где
а1с, а1я, и т.д. - ширина стыкуемых пакетов стержня и
ярма, см;
b1с, b1с и
т.д. - толщина пакетов в половине сечения стержня, см;
Кз
- коэффициент заполнения сталью;
СМ
- плотность холоднокатанной стали, СМ = 7650 кг/м3.
Масса
стали ярм трехфазного стержневого трансформатора с плоской магнитной
системой, кг,:
Масса
стали стержней при многоступенчатой форме сечения ярма, кг,:
Полная
масса плоской магнитной системы трансформатора, кг,:
5.2 Определение потерь
холостого хода трансформатора
Режим работы трехфазного трансформатора при питании от сети
переменного тока одной из егo
обмоток и разомкнутой другой называют режимом холостого хода. Потери
возникающие в трансформаторе в этом режиме, называют потерями холостого хода.
Потери холостого ходя в трансформяторе Pк слагаются из магнитных потерь
(гистерезис, вихревые токи) в магнитопроводе, потерь в стальных элементах
конструкции трансформатора от потоков рассеивания, электрических потерь в
первичной обмотке от тока холостого хода и диэлектрических потерь в изоляции.
Диэлектрические потери в изоляции и электрические потери в
первичной обмотке у силовых трансформаторов обычно малы и их можно не
учитывать. Потери в стальных элементах конструкции трансформатора учитывают
приближенно в виде добавочных потерь.
Магнитные потери составляют основную часть потерь холостого
хода и рассчитывают их по экспериментально установленным зависимостям между
индукцией магнитного поля и удельными потерями в стали Р (Вт/кг) при частоте
50 Гц.
Индукции в стержне Вс и ярме Вя для
установленных значений Пс и Пя, Т,:
где
Uв - ЭДС
одного витка из расчета обмоток, В;
f = 50 Гц -
частота питающей сети;
Пя,
Пс - сечения стержня и ярма.
Удельные потери Р, Вт/кг, в холоднокатаных текстурованных
сталях в зависимости от индукции приведены в табл. 5.5.
Удельные потери, приведенные в табл. 5.5, справедливы лишь
для случая, когда направление магнитного потока совпадает, с направлением
прокатки стали. При отклонении магнитного потока от направления прокатки
следует учитывать увеличение магнитных потерь.
Пластины для стержней и ярм вырезают из листов холоднокатаной
стали так, чтобы направление потока в магнитопроводе совпадало с направлением
прокатки. При сборке магнитной системы из пластин прямоугольной формы (рис,
1, а, б) направление магнитного потока в зоне стыков не совпадает с
направлением прокатки стали. Это приводит к увеличению удельных потерь. При
использовании косых стыков (рис. 1, в, г) направления потока и прокатки стали
в зоне стыков совпадают, дополнительные потери меньше, чем при прямых. Таким
образом, увеличение удельных потерь зависит от соотношения числа прямых и
косых стыков в магнитопроводе и может быть учтено при расчете Рх коэффициентом
Куп, значение которого находят по табл. 5.6.
Таблица 5.6
|
Магнитная система по
Рис.1
|
Соотношение стыков
|
Значение коэффициента Куп
|
|
косых
|
прямых
|
Сталь 3414
|
|
в,г
|
6
|
--
|
7.68
|
Резка стальных пластин, закатка или срезание заусенцев
после резки, прессовка стержней и ярм при сборке магнитопровода, расшихтовка
и зашихтовка верхнего ярма для насадки обмоток на стержни приводят к
увеличению потерь в стали. Общее увеличение потерь из-за технологических
факторов может быть учтено коэффициентом Кпд = 1.16. Применение
отжига пластин после их резки и закатки заусенцев приводит к уменьшению
добавочных потерь. В этом случае коэффициент Кпд = 1.08.
Потери холостого хода в плоской магнитной системе
стержневого типа, Вт,:
где
Куп - коэффициент;
Pс = 1.38 Вт/кг, Pя = 1.27 Вт/кг - удельные потери в стержне и ярме;
Gя, Gс, Gу - массы стержней, ярм и угла магнитопровода, кг.
.
5.3 Определение тока
холостого хода трансформатора
Ток в первичной обмотке трансформатора, протекающий при
холостом ходе, называют током холостого хода.
Активная составляющая тока холостого хода зависит от потерь
холостого хода Px. Реактивная составляющая,
расходуемая на создание магнитного потока в трансформаторе, зависит от
намагничивающей мощности Qx. Обычно вычисляют не абсолютное значение тока холостого
хода и его составляющие, а их относительные значения в % от номинального тока
трансформатора.
Активная составляющая тока холостого хода, %,:
где
Рх - потери холостого хода, Вт;
Sн - номинальная мощность, кВА.
Для расчета реактивной составляющей тока холостого хода
необходимо определить намагничивающую мощность трансформатора Qх, которая
состоит из намагничивающей мощности для немагнитных зазоров Qхз. Составляющие
намагничивающей мощности рассчитывают по экспериментально установленным
зависимостям между индукцией магнитного поля и удельными намагничивающими
мощностями стальных участков q и немагнитных зазоров qз, В.А/кг.
Намагничивающая мощность, также как и потери холостого хода
зависит от основных магнитных свойств стали магнитопровода и ряда
конструктивных и технологических факторов, которые увеличивают ее в большей
мере, чем потери холостого хода.
Увеличение намагничивающей мощности учитывают
соответствующими коэффициентами:
1.
Ктр
- коэффициент, учитывающий резку пластин (при отжиге после
резки пластин и закатки заусенцев Ктр = 1.0);
2.
Ктз
- коэффициент, учитывающий срезку заусенцев (при отжиге Ктз =
1.1);
3.
Ктп -
коэффициент, учитывающий влияние прессовки стержней и
ярм при сборке магнитопровода (для мощностей до 630 кВ.А
Ктп = 1.04);
. Ктш - коэффициент, учитывающий расшихтовку и
зашихтовку верхнего ярма при насадке обмоток (Ктш = 1.02);
4.
К1ту
и К11ту - коэффициенты, учитывающие увеличение
намагничивающей мощности соответственно в косом и прямом стыках магнитной
системы, определяют по табл. 5.8.
Намагничивающая мощность стальных участков магнитной
системы, ВА,:
где
Gс, Gя, Gу -
массы стержней, ярм и угловых частей магнитопровода, кг;
qс, qя -
удельные и намагничивающие мощности стержней и ярм, ВА/кг;
Ккос,
Кпр - число косых и прямых стыков в магнитной системе.
Таблица
5.8
|
Марка стали
|
Коэффициент Коэффициент
|
|
|
Индукция В, Т
|
Индукция В, Т
|
|
1.4
|
1.5
|
1.6
|
1.7
|
1.4
|
1.5
|
1.6
|
1.7
|
|
3414
|
2.20
|
2.65
|
3.70
|
5.20
|
3.85
|
4.80
|
7.30
|
10.8
|
При расчета намагничивающей мощности для немагнитных
зазоров Qxз необходимо знать индукцию в стыках
магнитопровода. Индукция при прямых стыках, перпендикулярных оси стержня,
равна индукции в стержне Вс, а в стыках, перпендикулярных оси
ярма, - индукции в ярме Вя, Т.
Для косых стыков индукцию, Т, и сечение немагнитного
зазора, см2, определяют соответственно:
где
Пс - сечение стержня, см2.
Намагничивающая
мощность для немагнитных зазоров, ВА,:
где
qзя -
удельная намагничивающая мощность зазора прямого стыка,
перпендикулярного
оси ярма, ВА/кг;
qзс - удельная намагничивающая мощность зазора прямого
стыка,
перпендикулярного
оси стержня, ВА/кг;
qз.ст - удельная намагничивающая мощность зазора косого
стыка, ВА/кг;
nзя, nзс -
число немагнитных зазоров прямых стыков;
nз.ст - число немагнитных зазоров косых стыков;
Пя,
Пс, Пз.ст - сечения ярма, стержня и немагнитного зазора
в косом стыке, см2.
Таблица
5.12
|
Индукция В, Т
|
Удельная намагничивающая
мощность немагнитных зазоров qз, ВА/кг,
для стали 3414
|
|
0.00
|
0.02
|
0.04
|
0.06
|
0.08
|
|
1.0
|
0.166
|
0.177
|
0.188
|
0.200
|
0.211
|
|
1.1
|
0.222
|
0.233
|
0.244
|
0.255
|
0.266
|
|
1.2
|
0.277
|
0.333
|
0.390
|
0.445
|
0.500
|
|
1.3
|
0.555
|
0.665
|
0.775
|
0.890
|
1.00
|
|
1.4
|
1.11
|
1.22
|
1.33
|
1.44
|
1.55
|
|
1.5
|
1.67
|
1.87
|
2.06
|
2.27
|
2.46
|
|
1.6
|
2.66
|
2.97
|
3.28
|
3.64
|
4.04
|
|
1.7
|
4.44
|
5.00
|
5.55
|
6.30
|
6.91
|
Полная намагничивающая мощность холостого хода
трансформатора, ВА,:
Реактивная
составляющая тока холостого хода, %,:
где
Sн -
номинальная мощность трансформатора, кВА.
Полный
ток холостого хода, %,:

-
условие выполняется.
Коэффициент
полезного действия трансформатора, %,:
где
Рк, Рх - потери короткого замыкания и холостого хода,
Вт;
Sн - номинальная мощность трансформатора, кВА.
6. Тепловой расчет трансформатора
Во время работы трансформатора в его активных материалах -
металле обмоток и стали магнитной системы - возникают потери энергии,
выделяющиеся в виде тепла. Обмотки и магнитная система начинают нагреваться,
постепенно повышая свою температуру. Вместе с ростом температуры возникает
температурный перепад между обмоткой или магнитной системой и окружающей
средой - трансформаторным маслом или воздухом. С появлением температурного
перепада происходит теплоотдача от активных материалов к окружающей среде.
6.1 Тепловой расчет
обмоток
Тепловой
расчет обмоток начинают с определения внутренних перепадов температуры:
для обмотки НН и
для
обмотки BН.
Подсчет
внутреннего перепада температуры в большинстве обмоток из прямоугольного
провода упрощается тем обстоятельством, что каждый провод одной или двумя
сторонами своего сечения соприкасается с охлаждающим маслом. К таким обмоткам
относятся обмотки с радиальными охлаждающими каналами (одно - и двухслойные
цилиндрические, винтовые, непрерывная катушечная), выполняемые из
прямоугольного провода. Внутренний перепад температуры в указанных обмотках
является перепадом в изоляции одного провода, С, который определяют
по формуле:
Перепад в изоляции одного провода, С,:
где
q - плотность теплового потока, на поверхности
рассматриваемой обмотки НН или ВН, Вт/м2;
-
толщина изоляции провода на одну сторону, мм;
из
- теплопроводность изоляции провода, Вт/(см.С), определяют
по табл. 6.1.
Таблица
6.1
|
Изоляционный материал
|
из, Вт/(см.С)
|
|
Хлопчатобумажная лента
лакированная
|
0.0027
|
|
Бакелизированная
полотняная лента
|
0.0027
|
|
Лакоткани
|
0.0025
|
|
Бумага промасленная
|
0.0014
|
|
Бумага лакированная
|
0.0017
|
|
Электроизоляционный
картон
|
0.0017
|
|
Картон лакированный
|
0.0014
|
Среднее
значение внутреннего перепада температуры обмотки НН или ВН составляет 2/3
полного перепада:
Кроме
внутреннего перепада температуры, различают перепады на поверхности обмоток:
для обмотки НН и
для
обмотки ВН, которые зависят от плотности теплового потока соответственно q1 и q2, Вт/м2,:
Зная
внутренний и внешний перепады температуры в обмотках, посчитывают для каждой
из них среднее превышение температуры обмотки над средней температурой
охлаждающего масла:
6.2 Тепловой расчет бака
трансформатора
Для трансформаторов с естественным масляным охлаждением
конструкцию бака выбирают по табл. 6.3 в зависимости от мощности
трансформатора.
Таблица 6.3
|
Тип бака
|
Пределы применения по
мощности
|
|
С гладкими стенками
|
До 25-40
|
|
С трубами
|
От 40 до 6300
|
|
С радиаторами из труб
|
От 1000 до 63000
|
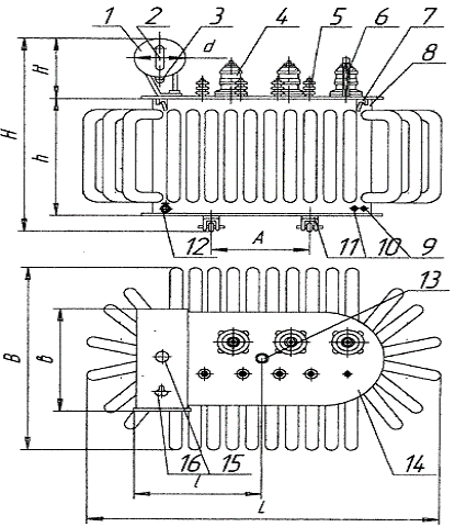
Определяем ширину В и длину А бака:
где
- внешний диаметр обмотки ВН, см;
С
- расстояние между осями соседних стержней магнитопровода, см;
S1, S3, S4, S5 -
изоляционные расстояния для обмотки ВН, см;
S2 - изоляционное расстояние для обмотки НН, см;
d1 и d2 - диаметры круглого или меньшие
размеры а прямоугольного провода соответственно
обмоток
НН и ВН, см.
Для
выбранных размеров бака его поверхность излучения, м2,:
где
А, В, Н - размеры бака, см;
К - коэффициент, учитывающий отношение периметра
поверхности излучения к поверхности гладкой части бака, для бака с трубами К
= 1.2 - 1.5.
Трубчатый бак
Число рядов труб выбирают от одного до трех в зависимости
от мощности трансформатора и формы труб (табл. 6.6). Соседние трубы разных
рядов располагаются одна над другой. Все трубы имеют радиус R. Шаги труб в рядах tТ и между рядами tp принимают различными, но не менее
указанных в табл. 6.6.
Из табл. 6.6: Овальная труба (7.2 х 2.0), один
ряд, Пм = 0.16 м2;
Шаг, см: tр = 10, tТ = 5; толщина стенки 0.15 см;
Поперечное сечение в свету 8.9 см;
Радиус изгиба R = 18.8 см;
Масса в 1м, кг: металла - 1.82, масла в трубе - 0.79.
Из табл. 6.7 по ан = 5 принимаем: с = 6 + 1 =
7см; е = 7 + 1 = 8см.
Развернутая длина труб:
.
Необходимая
поверхность конвекции труб трансформатора, м2,:
где
- поверхность конвекции гладкого бака
трансформатора;
-
необходимая поверхность конвекции трансформатора.
Необходимая реальная поверхность труб, м2,:
где Кф - коэффициент, учитывающий улучшение
теплоотдачи путем конвекции с помощью труб по сравнению с вертикальной
гладкой стенкой бака; для радиаторов с прямыми трубами (по табл. 6.8) Кф
= 1.4.
Фактическая поверхность конвекции, м2, бака с
трубами:
где
п - число рядов труб;
А,
В, Н - размеры бака, см;
-
поверхность крышки бака;
R - радиус
закругления труб;
d - больший
размер поперечного сечения овальной трубы.
.3 Расчет превышений температуры обмоток и масла в
трансформаторе
Среднее превышение температуры стенки бака над окружающим
воздухом, С,:
где
Пи, Пк - фактические поверхности излучения и конвекции;
Рх,
Рк - потери холостого
хода и короткого замыкания трансформатора, Вт.
Среднее
превышение температуры масла вблизи стенки над стенкой бака, С,:
где
Пк - фактическая поверхность конвекции, м2, для
принятой конструкции бака трансформатора.
Превышение температуры масла в верхних слоях над окружающим
воздухом,С,:
Превышение
температуры обмоток над окружающим воздухом, С, для обмоток ВН и НН
подсчитывают отдельно по формуле:
Превышение
температуры обмоток и масла в верхних слоях над окружающим воздухом не должно
превышать согласно ГОСТ 11677-75 следующих величин:
Данные
требования выполняются.
ЗАКЛЮЧЕНИЕ
|
Спроектировать
|
Спроектировано
|
Стандартный тр-р
ТМ-250/10
|
|
Номинальная мощность, кВ.А
|
250
|
250
|
250
|
|
Номинальное напряжение,
кВ
|
6/0.4
|
6/0.4
|
6/0.4
|
|
Потери, кВт
|
|
|
|
|
- ХХ
|
0.74
|
0.6
|
0.74
|
|
- КЗ
|
3.7
|
3.65
|
3.7
|
|
Напряжение КЗ, %
|
4.5
|
4.64
|
6.5
|
|
Ток ХХ, %
|
2.3
|
1.98
|
2.3
|
|
КПД, %
|
|
98
|
|
Вывод:
Спроектированный трансформатор отличается от стандартного
трансформатора типа ТМ-250/10 в пределах допусков установленных ГОСТ
11677-75, что приемлемо.
ЛИТЕРАТУРА
1. Тихомиров П.М. Расчет
трансформаторов. М., «Энергия», 1976.
2. Федоров А.А. Справочник по
электроснабжению и электрооборудованию Т.2. Электрооборудование.-М.;
Энергоатомиздат. 1987.
3. Яныгин В.Г, Проектирование
трансформаторов. Учебное пособие.-Красноярск: №д КПП, 1983.
Приложение
Изоляторы.