Технологический процесс производства муки
РЕФЕРАТ
ЗЕРНО, ПОДГОТОВКА, ИЗМЕЛЬЧЕНИЕ, МОДЕРНИЗАЦИЯ
РАССЕВ
Приведена краткая характеристика пшеницы, ее
строение, свойства. Рассмотрен процесс измельчения зерна, способы и режимы,
классификация обоечных машин, зависимость качества муки от качества зерна.
В технологическом разделе Магнитный сепаратор на
«ООО «Мельник»», рассмотрена технологическая схема производства муки. Сделано
экономическое обоснование модернизируемой магнитному сепаратору.
Путем замены модернизации магнитного сепаратора
с целью увеличить производительность и максимально использовать рабочий объем.
ВВЕДЕНИЕ
Мука - товар, который получают в результате
размалывания на порошок зерен хлебных злаков (пшеницы, ржи и др.) или семян
бобовых культур (гороха, сои). Мука имеет очень важное значение в питании
человека. Она широко используется в кулинарии, хлебопекарной, макаронной и
других областях пищевой промышленности. Более всего в нашем государстве
вырабатывают пшеничной муки. На втором месте стоит ржаная. Небольшое количество
муки получают из ячменя, кукурузы, гороха, сои и других культур.
Пищевая ценность муки зависит от ее вида и
сорта. Сорт определяется типом помола. При грубом помоле почти все зерно
измельчают в муку, которая состоит из крупных частиц, содержит оболочки клеток,
отруби (пшеничная 2-го сорта и обойная, ржаная обдирная и обойная). При тонком
помоле мука нежная, состоит из мелких частиц центра зерна, наружные слои
которого удаляются (пшеничная 1-го и высшего сорта, ржаная сеяная). Чем тоньше
помол и выше сорт муки, тем меньше в ней белков и особенно минеральных веществ,
витаминов, клетчатки, но больше крахмала и лучше перевариваемость и усвояемость
крахмала и белков.
Потребительские свойства муки зависят от
химического состава муки, его энергетической ценности, использования. Химический
состав муки близок к химическому составу зерна, из которого оно изготовлено. В
частности у низших сортов он близок в состав целого зерна. Тем не менее
сравнительно с зерном в муке содержится больше крахмала и меньше жира, сахара,
клетчатки, минеральных веществ и витаминов.
В 2013 году в России было произведено 9 870
074,59 тонн муки, что на -2,9% ниже объема производства предыдущего года.
Лидером производства муки в (тонн) от общего произведенного объема за 2013 год
стал Центральный федеральный округ с долей около 27,8%. В 2013 году в России
было произведено 9 128 918,77 тонн муки пшеничной и пшенично-ржаной, что на
-2,3% ниже объема производства предыдущего года.
По оценкам аналитиков Alto Consulting Group,
наибольший рост производства муки пшеничной и пшенично-ржаной в 2013 году был
отмечен в январе и составил 13,6% по отношению к аналогичному месяцу 2012 года.
Объем импорта муки пшеничной и пшенично-ржаной
на российский рынок в 2013 году вырос по сравнению с прошлым годом на 42 035
тонн (+187%) до 64 484 тонн., что в стоимостном выражении составила 25 559 тыс.
долл.
Основными странами-поставщиками муки пшеничной и
пшенично-ржаной в РФ за 2013 год являлись: Казахстан 31 893 тонн (+662% к
предыдущему году), Украина 15 289 тонн (+1178%), Белоруссия 8 332 тонн (-5%) и
Италия 3 875 тонн (+17%).
Объем российского экспорта муки пшеничной и
пшенично-ржаной в 2013 году снизился по сравнению с прошлым годом на 44 163
тонн (-28%) до 116 401 тонн., что в стоимостном выражении составила 57 221 тыс.
долл.
Основными странами-потребителями муки пшеничной
и пшенично-ржаной экспортируемого из РФ в 2013 году являлись: Грузия 32 264
тонн (+37% к предыдущему году), Монголия 16 124 тонн (-57%), Таджикистан 12 760
тонн (+51%) и Азербайджан 8 321 тонн (-1%).
Целью выбранной темы является изучение
технологического процесса сушки зерна на предприятии ООО "Мельник" и
определение возможных способов его совершенствования посредством реконструкции
технологического процесса.
Задачи:
. Изучить по литературным данным
характеристику пшеницы как основного объекта сушки.
. Ознакомиться с требованиями к качеству
зерна, с устройством магнитный сепаратор, установленной на предприятии
ООО"Мельник"
. Изучить технологический процесс и
определить возможные способы реконструкции магнитного сепаратора целью
повышения ее производительности.
. Оценить экономическую эффективность
реконструируемой зерносушилки.
. Ознакомиться и оценить эффективность
безопасности жизнедеятельности при работе на магнитном сепараторе.
1. ХАРАКТЕРИСТИКА ХОЗЯЙСТВА
магнитный сепаратор пшеница помол
1.1 Общие сведения
Хозяйство расположено в Красноярском крае,
г.Ачинск, ул. Промышленная, 84
Административный и хозяйственный центр г.Ачинск
связан с областным и районным центром автодорогой с твердым покрытием.
Состояние дороги хорошее.
Общая площадь землепользования 30768 га, из них
сельскохозяйственные угодья занимают 25368 га (82,4%), в том числе пашня 21546
га (85%).
Качество пашни, как основного средства
производства, характеризует данные экономической оценки: балл оценки по выходу
кормовых единиц равен 55.3, по району - 55.0, по области - 39.4.
Пашня имеет средний угол до 1,2°.
Погода в Ачинске, находящейся под влиянием
чередующихся воздушных масс с разными и, зачастую, противоположенными
характеристиками, свойственна неустойчивость. Это влияет на среднюю годовую
температуру воздуха, равную +1,2 °C. Это также формирует большую разницу между
температурой самого тёплого месяца (июль - плюс 19, 5 °C) и самого холодного
(январь - минус 17,5 °C) равную 37,4 °C. Летние температурные максимумы в
среднем приходятся на июль - август и могут достигать +38,3 °C (июль 1953) и
+36 °C (август 1955). Зимние минимальные температуры приходятся на январь (до −53,2
°C в 2001) и декабрь (до −49,5 °C в 1938). Годовая абсолютная амплитуда
температуры воздуха равна 89,8 °C. Для этого значения БКП климатически
обеспеченный урожай озимой пшеницы составляет 40.5ц/га, а кукурузы на зерно -
50.5 ц/га.
Среднегодовое количество осадков
<https://ru.wikipedia.org/wiki/%D0%90%D1%82%D0%BC%D0%BE%D1%81%D1%84%D0%B5%D1%80%D0%BD%D1%8B%D0%B5_%D0%BE%D1%81%D0%B0%D0%B4%D0%BA%D0%B8>
равно в среднем 495 мм, во время тёплого сезона (апрель-октябрь) выпадает 65 %
от общего их числа. Общее ежегодное число дней с осадками - около 180 в год,
61,11 % (около 113 дней) от этого количества приходится на осенне-зимний период
. В особо влажные годы выпадает более 600 мм, а в засушливые
<https://ru.wikipedia.org/wiki/%D0%97%D0%B0%D1%81%D1%83%D1%85%D0%B0> -
менее 150 мм осадков.
1.2 Состояние
сельскохозяйственного производства
В процентном соотношении от общего объема
продукции сельского хозяйства по Сибирскому федеральному округу доля
Красноярского края менялась за 1991-2011 гг. в диапазоне от 13,5% до 21,5%, по
Российской Федерации - от 2,3% до 3,3%.
В Красноярском крае всегда традиционно
развивались обе базовые отрасли сельского хозяйства: растениеводство и
животноводство. За 1991-2011 отраслевая структура сельского хозяйства
претерпела существенные изменения, доля продукции растениеводства в стоимостном
выражении возросла с 43,3% в 1991 г. до 48,4% в 2011 г. В динамике за
рассматриваемый период прослеживается ведущая роль растениеводства в сельском
хозяйстве относительно животноводства, хотя разрыв между этими отраслями
незначительный.
Зерновая отрасль в Красноярском крае является
структурно-образующей. Валовой сбор зерновых культур в среднем за 1991-2011 гг.
в весе после доработки составил 3,6 млн. тонн, в том числе пшеницы 2,5 млн.
тонн. За рассматриваемый период валовые сборы зерновых культур возросли с 3,2
млн. тонн в 1990 г. до 3,9 млн. тонн в 2011 г. На значительных площадях
возделываются овес, ячмень, в том числе пивоваренный, крупяные и зернобобовые
культуры, ряд хозяйств выращивают сою и кукурузу.
По итогам 2011 года в крае произведено 32,2%
общероссийского объема крупы, муки грубого помола и гранул из зерновых культур;
12,8% муки из зерновых, овощных и растительных культур. Большое значение
зерновые имеют и для животноводства, как сырьё для производства комбикормов.
Кроме того, зерно служит сырьем для пивоваренного и спиртового производства.
1.3 Землеустройство и
мелиорация земель
Земельный фонд Красноярского края в его
современных границах составляет 16779,6
тыс. га (табл. 2.3). В структуре земельного фонда
по состоянию на 1.01.2003 г. господствующее положение
занимают
земли сельскохозяйственного назначения (68,7%). На
втором
месте по размеру площадей находятся земли лесного фонда (25,9%). Остальные пять
категорий земель составляют только 3,2%
всего земельного фонда края. К землям сельскохозяйственного назначения в
основном относятся земли сельскохозяйственных предприятий и крестьянских
(фермерских) хозяйств, а также земли,
переданные в ведение поселковых и сельских органов местного самоуправления и
расположенные за пределами застроенной части поселений.
Таблица 1.1
Структура земельного фонда Красноярского края
по
категориям земель
|
Категория
земель
|
Площадь
|
|
тыс.
га
|
%
|
|
Земли
сельскохозяйственного назначения
|
11541,2
|
68,7
|
|
Земли
поселений
|
371,8
|
2,2
|
|
Земли
промышленности и иного специального назначения
|
118,2
|
0,7
|
|
Земли
особо охраняемых территорий и объектов
|
41,7
|
0,2
|
|
Земли
лесного фонда
|
4348,1
|
25,9
|
|
Земли
водного фонда
|
289,0
|
1,7
|
|
Земли
запаса
|
89,6
|
0,5
|
|
Итого
земель в границах края
|
16799,6
|
100,0
|
Таблица 1.2
Состав земель сельскохозяйственного назначения
по угодьям
|
Виды
угодий
|
Площадь
|
|
тыс.
га
|
%
|
|
Сельскохозяйственных
угодий
|
10614,9
|
92,0
|
|
в
том числе: пашня
|
6557,6
|
56,8
|
|
залежь
|
306,5
|
2,7
|
|
многолетние
насаждения
|
19,5
|
0,2
|
|
сенокосы
|
1124,9
|
9,7
|
|
пастбища
|
2606,4
|
22,6
|
|
В
стадии мелиоративного строительства и восстановления плодородия
|
3,1
|
-
|
|
Под
лесами
|
-
|
-
|
|
Под
древесно-кустарниковой растительностью
|
298,7
|
2,6
|
|
Под
водными объектами
|
43,3
|
0,4
|
|
Земли
застройки
|
37,4
|
0,3
|
|
Под
дорогами
|
88,8
|
0,8
|
|
Болота
|
255,7
|
2,2
|
|
Нарушенные
земли
|
1,6
|
-
|
|
Прочие
земли
|
197,7
|
1,7
|
|
Итого
земель
|
11541,2
|
100,0
|
|
|
|
|
1.4 Пшеница как объект
помола
Пшеница - это одна из самых значимых зерновых
культур в мире. Из этого злака производят муку, крупу, макаронные и
кондитерские изделия, а также некоторые виды пива и водки. Существует огромное
количество сортов и видов пшеницы, но наибольшее распространение получили
твердые и мягкие сорта. Не будем подробно останавливаться на таких различиях
сортов как размер колоса, форма зерна и других ботанических особенностях, а
обратим внимание на наиболее важные потребительские качества.
Твердая пшеница - это продукт с высоким
содержанием белков. В ней много каротиноидов (органические пигменты, придающие
продукту желтую окраску), поэтому мука из твердых сортов пшеницы может иметь
кремовый оттенок. Зерно такой пшеницы довольно твердое и тяжело перемалывается,
мука получается «грубой», но, как правило, образует высококачественный глютен,
что делает тесто эластичным и упругим. Из муки твердых сортов пшеницы делают
самые лучшие макаронные изделия, высококачественную манную крупу и многое другое.
Изделия, изготовленные из твердой пшеницы могут
иметь следующую маркировку: «durum», «пшеница твердых сортов», «semolina di
grano duro» и т.п.
Мягкая пшеница - содержит относительно небольшое
количество белка. Зерна крахмала в такой муке более крупные, мука получается
белой, рассыпчатой, более тонкого помола, часто образует слабый глютен. Эти
качества наилучшим образом подходят для изысканных, нежных кондитерских
изделий, тортов и пирожных.
Зерно как биологический объект - чрезвычайно
сложное образование. Каждая его часть и все зерно в целом несут определенную
информацию о способности дать продукцию заданного выхода и качества, о
технологических· приемах, необходимых для получения этой продукции и, наконец,
режимных параметрах, при которых необходимо вести технологию. Так, по крупности
зерна судят о содержании в зерне эндосперма и возможном выходе продукции. По
стекловидности и влажности - о преобладающем виде деформации при измельчении
(пластическая или хрупкая) и о способности зерна к крупообразованию, по
качеству клейковины - о режимных параметрах гидротермической обработки зерна
при его подготовке к помолу.
Таким образом, при общей оценке зерновка - это
сложносоставное тело, органичное соединение в единое целое разнородных по
структуре, физическим свойствам, химическому составу; абсолютной массе,
биологическому назначению анатомических частей: эндосперма, наружных и
внутренних оболочек, зародыша. В процессе переработки необходимо учитывать
различия свойств разделяемых анатомических частей и при необходимости
преумножат их.
Уровень технологических свойств оценивается:
• выходом продукции заданного ассортимента. Чем
больше выход продукции из единицы массы сырья при соблюдении необходимых
качественных показателей, тем эффективнее ведется технология;
• качеством продукции при определенном заданном
выходе. Причем, показатели качества индивидуальны для каждого вида технологии.
Например, в технологии муки, чем ниже зольность продукции, тем эффективнее
технология;
• эксплуатационными затратами на единицу выхода
готовой продукции.
Технологические свойства зерна
заметно-изменяются от параметров окружающей среды, в условиях которой
организована переработка сырья. Так, результаты переработки одного и того же
сырья в зимнее и летнее время могут отличаться на значительную величину.
Рис. 1.2. Влияние влажности на технологические
свойства зерна: 1 - выход недробленой крупы, %; 2 - зольность обдирной муки, %;
3 - выход дробленой рисовой крупы, %; 4 - зольность пшеничной муки 70 % выхода,
%; 5 - расход электроэнергии на тонну пшеничной муки: 70 % выхода, кВт/час; 6
объемный выход хлеба из пшеничной муки 70 % выхода, смЗ
Рис. 1.3. Влияние температуры на
технологические свойства зерна: 1-зольность крупной крупки; 2 - общее
извлечение, Uо; 3 -
средневзвешеннаязольность извлеченных крупок; 4 - выход крупной крупки; 5 -
показатель 
; 6 - зольность средней крупки; 7 -
выход средней крупки
2. ТЕХНОЛОГИЧЕСКАЯ ЧАСТЬ
2.1 Подготовка зерна к
сортовому помолу
Известно что качество зерна одна из основных
составляющих эффективного ведения технологического процесса на мукомольном
заводе. Поэтому подготовка зерна к помолу всегда уделялось особое внимание.
Подготовить зерно к переработке - зто значит придать ему такие свойства,
которые бы позволили с максимальной эффективностью решить основную задачу
мукомольной технологии - разделить с минимальными эксплyтационными затратами
главные анатомические части зерна: крахмалистый эндосперм и высокозольные
оболочки.
Зерно должно иметь удовлетворительное санитарное
состояние, что должно минимизировать попадание в муку плесеней, грибков,
волосков грызунов и хитинового покрова насекомых.
Подготовленное к переработке зерно должно иметь
ограниченное содержание не ядовитой сорной примеси, в том'числе минеральной, а
также металломагнитной.
Эндосперм зерна должен быть разрыхлен микро-и
макротрещинами, что обеспечивает эффективное его измельчение с образованием
высококачественных круподунстовых продуктов.
Также в максимальной степени должны быть
разрушены связи разделяемых в процессе технологии анатомических частей зерна.
Кроме этого, начальное состояние зерна по
стекловидности или твердозерности должно обеспечить высокую крупообразующую
способность, что является гарантией высокоэффективного ведения технологического
процесса. И, наконец, количество и качество клейковины должны обеспечить
получение стандартной по этим показателям муки с высокими хлебопекарными
свойствами. .
Начальное состояние зерна, хранящегося в
производственном элеваторе, не позволяет без предварительной подготовки
получить готовую продукцию высокого качества по ряду причин:
• как правило, зерно засорено примес.ями, в
числе которых соломистые частицы, семена дикорастущих растений, минеральные
примеси, металломагнитные и т. п.,
которые свободно располагаются в межзерновом
пространстве и с зерном практически не связаны;
поверхность зерна пориста, покрыта минеральной
пылью пpилипшими частицами хитинового покрова насекомых и волосков грызунов.
При неблагоприятных условиях уборки и хранения на поверхности зерна могут
накапливаться плесени, грибки;
• заложенное на хранение, зерно имеет низкую
влажность, прочную структуру, прочную связь оболочек и зндосперма, что при
начальном измельчении приводит к образованию сростков оболочек и зндосперма
(трудноразделимые, нежелательные компоненты продуктов измельчения), а также к
повышенному расходу энергии на измельчение.
Зерно, направляемое из производственных
зернохранилищ в зерноочистительное отделение мельницы, должно иметь качество не
ниже мельничных кондиций, что гарантирует получение из него качественной
продукции.
Такое зерно должно быть доброкачественным, не
затхлым, не плесневелым, не испорченным самосогреванием и сушкой, не должно
иметь посторонних запахов, не свойственных данному зерну.
Рекомендуемая начальная влажность зерна может
изменяться в зависимости от помола. Так, при сортовых помолах пшеницы и ржи с
выработкой муки высшего сорта или сеяной рекомендуемая влажность зерна должна
быть не выше 13,0 %, что связано с обязательным проведением для этих типов
помолов гидротермической обработки в несколько этапов. Для других типов
copтoвых помолов рекомендуемая влажность зерна не должна превышать 14,0 %. Для
обойных помолов влажность зерна должна быть на уровне обеспечивающем получение
стандартной по влажности муки.
Содержание сорной примеси должно быть не более
2,0 %. При наличии в производственном элеваторе оборудования для очистки зерна
содержание сорной примеси в зерне должно быть не более 1,0 %. В составе сорной
примеси ограничивается содержанием испорченных зерен (не более 1,0 % для всех
помолов, кроме помолов в макаронную мyкy, где содержание испорченных зерен не
должно превышать 0,5 %) и вредной примеси (не более 0.2 %). В составе вредной
примеси содержание головни и спорыньи, отдельно или вместе, не должно пpевышать
0,05 %, а горчака и вязеля, также отдельно или вместе, - 0,04 %, из общей нормы
0,05 %.
Содержание зерновой примеси должно быть не более
5,0 % в пшенице и 4,0 % во ржи, в том числе проросших зерен не более 3,0 %. Для
макаронных помолов пшеницы норма зерновой примеси снижается до 4,0 %, а
содержние проросших зepeн - до 2,0%.
Содержание фузариозных зерен должно быть не
более 1,0 % (количество вомитоксина не более 0,7 мг/кг).
Количество и качество клейковины зерна в
помольной смеси должно. обеспечивать выработку муки, стандартной по данным
показателям качества
В соответствии с задачей подготовки зерна к
помолу технологический процесс должен включать:
· сепарирование зерна с использованием
сит, ячеистых поверхностей, пневмосепарирующих каналов, магнитных аппаратов,
сепараторов-камнеотделителей, разделяющих зерно и примеси по совокупности
признаков;
· сухую обработку поверхности зерна
(поверхностное шелушение) с использованием различного оборудования с наждачной,
стальной щеточной и ситовой рабочей поверхностью;
· влажную или мокрую обработку
поверхности зерна или мойку зерна при полном погружении в воду для обеспечения
санитарной чистоты, снижения зольности и начального увлажнения;
· гидротермическую обработку в
соответствии с качеством зерна и типом помола;
· воздействии на зерно ударом о
стальную отражательную поверхность для удаления скрытой зараженности,
разрушения пустотелых, изъеденных изнутри зерен и т. п.;
· оперативное хранение зерна в
емкостях для неочищенного зерна и отволаживания в соответствии с типом
технологии;
· комплекс средств для обеспечения
постоянства массовой доли потока зерна в единицу времени, формирования
помольной партии вecoвoro контроля за операциями с зерном и готовой продукцией,
который включает весовое, дозирующее, смешивающее оборудование;
· контроль отходов и кормовых
зернопродуктов для извлечения полезного зерна.
Насыщенность технологических операций в общей
технологии подготовки зерна к помолу или построение схемы зависит от ряда
факторов. Перечислим наиболее весомые:
· вид перерабатываемого зерна -
пшеница, рожь, кукуруза, тритикале. Например, рожь, имея специфический
химический состав, не должна интенсивно увлажняться. Отволаживание сокращают до
минимума. Кратность процесса увлажнения и отволаживания сокращают до двух,
исключают:м:ойку и пропаривание;
· тип помола. Сортовые помолы требуют
многократной обработки влагой с последующим отволаживанием. В некоторых случаях
эффекrивно обрабатывать зерно пшеницы паром с последующим термостатированием в
течение определенного времени.
Количество циклов увлажнение-отволаживание может
достигать трех при· обработке высокостекловидной пшеницы низкой влажности.
Напротив, при подготовке к обойным помолам ограничиваются, одним циклом
увлажнение-отволаживание или вовсе не проводят при влажности зерна,
обеспечивающей стандартную влажность муки. Макаронные помолы пшеницы, помолы
ржи и обойные помолы пшеницы и ржи исключают из технологии подготовки тепловые
метоДы; гидротермической обработки, в отличие от сортовых хлебопекарных помолов
пшеницы;
· конструктивные особенности
применяемого технологического· оборудоваиия. Так, при использовании сложных
ситовых или ситовоздушных сепараторов возможно деление зерна на фракции с
последующей их раздельной обработкой. Оборудование для сухой обработки
поверхности зерна (обоечные, щеточные машины) может иметь или не иметь
встроенные пневмоприемники для обеспечения последующего перемещениязерна. Это
предопределяет использование на этапе пневмосепарирования продуктов шелушения
различного оборудования. Использование в технологии моечных машин или машин
мокрого шелушения предопределяет применение технологий обработки влажных
отходов по схеме: выделение из моечной воды зерна и отходов, отжим воды, сушка
влажных отходов;
· качество зерна. Это существенный
фактор при выборе, в основном, способа и режимных параметров гидротермической
обработки. Наиболее значимыми показателями качества зерна при этом являются
количество и качество клейковины, стекловидность и типовой состав.
Стекловидность зерна также может повлиять на выбор способов режимов сухой
обработки поверхности. Специфические засорители требуют специальных приемов
подготовки зерна. Например, правила организации и ведения технологического
процесса на мукомольных заводах рекомендуют при систематичесом поступлении
зерна в переработку с содержанием минеральных примесей больше 0,1 % двойную
очистку зерна с использованием специальных камнеотборников. Аналогичные
требования предъявляются к технологии при повышенном содержании в зерне куколя
и овсюга. Специфические засорители требуют корректировки размеров отверстий
сит, ячей триеров, скорости воздушного потока в пневмосепараторах и т. п.;
· производительность мукомольного завода.
В основном, влияние производительности связано с насыщенностью технологического
процесса технологическим оборудованием и возможностью раздельно обрабатывать
зерно разного качества. Практически все отечественные мукомольные заводы малой
и средней производительности ведут подготовку зерна на одной технологической
линии от приема зерна в емкости для неочищенного зерна до передачи его в
размольное отделение. Это создает дополнительные трудности при подготовке
разнокачественного. зерна в составе помольной партии. На заводах· большой
производительности (свыше 300 т/сут) технология может осуществляться
параллельными патоками, двумя и более. Так, для заводов производительностью 500
т/сут на комплектном оборудовании по технологии фирмы Buhller
переработка и подготовка осуществляется в двyx секциях с производительностью
250т/сутки. Внутри каждой секции подготовка на начальном этапе, включая и
гидротермическую обработку, осуществляется также двумя параллельными потоками,
т.е. вся технология подготовки осуществляется четырьмя потоками, что позволяет
учитывать индивидуальные особенности зерна в составе помольной партии;
· способ транспортирования зерна. На
мукомольных заводах в основном используется механический ·(нории) и
пневматический способы транспортирования. Считается, что при перемещении зерна
в материалопроводах пневмотравспортеров при контакте со стенками происходит
дополнительное шелушение поверхности зерна. При использовании норий такое
воздействие минимально. Поэтому при механическом транспорте зерна рекомендуется
использовать дополнительную систему для сухой обработки поверхности в
современных технологиях может использоваться смешанный вид транспорта
механический и пневматический. В этом случае надобности в установке
дополнительной системы по обработке поверхности зерна нет.
2.2 Технологический
процесс производства муки
Известно, что технологический процесс в
размольном отделении мукомольного завода осуществляется при непрерывном
измельчении и последующем сортировании продуктов измельчения. Несмотря на сравнительно
ограниченный набор (номенклатуру) технологических операций или технологического
оборудования, схемы производства сортовой муки сложны по структуре, количество
систем технологического процесса достигает десятков, что определяет сложную и
протяженную коммуникационную увязку. Для размола зерна используют вальцовые
станки с нарезными и шероховатыми валками, центробежные измельчители
-энтолейторы, деташеры-разрыхлители, бичевые и щеточные машины. Сортируют
продукты измельчения в многорамных рассевах, центрофугалах и ситовеечных
машинах.
Физическая сущность операциЙ измельчения на
отдельных этапах технологического процесса резко различна в связи с различной
задачей технологии. Есть системы начального и промежуточного измельчения зерна,
обработки отрубянистых остатков зерна и измельчения частиц эндосперма. На
каждую из систем поступает продукт с различным соотношением
оболочек и эндосперма.
По характеру производственных операций
технологический процесс производства муки подразделяется на ряд основных этапов
- драной или крупообразующий, обогащения, шлифовочный и размольныЙ.
В зависимости от целевой задачи отдельные этапы
технологии могут быть развиты в различной системе или отсутствовать вовсе.
Наиболее существенное влияние на построение технологического процесса в
размольном отделении оказывают следующие факторы:
• вид перерабатываемой культуры (пшеница, рожь,
кукуруза и т.п.);
• тип помола или ассортимент
и качество продукции;
• производительность предприятия;
• качество переработанного зерна.
На рисунке 2.1 изображена структурная схема
помола, в которой представлены возможные технологические операции. Тонкие
линии, соединяющие блоки или выходящие из блоков показывают. возможные
продукты, получаемые в процессе помола. В разрыве тонкой линии цифрой показано
наименование соответствующего продукта.
Драной процесс - это процесс начального
измельчения зерна. В сортовых помолах крупообразующий, т. е. предназначенный
для получения крупок и дунстов. Мука в драном процессе сложных сортовых помолов
является не основным, а попутным продуктом. Напротив, для простых помолов,
например, помолов в ,обойную муку, драной процесс предназначен для
максимального извлечения муки. По своей сути этот-процесс последовательного
измельчения зерна и его остатков с извлечением после каждого этапа измельчения
некоторых продуктов путем ситового сепарирования. В сортовых помолах извлекают
крупки, дунсты (промежуточные продукты помола) и муку, в обойных помолах -
муку. Остатки зерна после измельчения крупок, дунстов и муки направляют на следующую
драную систему и там снова повторяют тот же цикл - измельчение с последующим
силовым сепарированием. Таких последовательных циклов может быть от четырех до
семи.
Для измельчения в драном пpоцессе используют
валки с рифленой поверхностью, которые обозначают в виде двух заштрихованных
кругов.,
Рис. 2.1
Структурная схема помола: 1-мука; 2 - отруби; 3 - макаронная крупка и
полукрупка; 4 - остатки; 5 - смесь крупок, дунстови муки; 6 - крупки на
обогащение; 7 - обогащенные крупки
Шлифовочный процесс - это процесс измельчения
крупок на вальцовых станках с целью разделения оболочек и эндосперма зерна.
Процесс свойственен только сложным, сортовым помолам пшеницы. Количество
шлифовочных систем может. колебаться от одной до· одиннадцати. Минимальное
количество характерно для хлебопекарных помолов пшеницы по сокращенным схемам и
с интенсивным ведением процесс а измельчения.
Максимальное - для макаронных помолов твердой
пшеницы. Измельчение в шлифовочном процессе можно осуществлять в вальцовых
станках с рифлеными и гладкими валками с микрошероховатой поверхностью.
При использовании гладких валков с
микрошероховатой поверхностью в продуктах измельчения появляются так называемые
предразрушенные частицы и конгломераты частиц. Поэтому вальцовые станки
используют в сочетании с деташерами-разрыхлителями (тип доизмельчителя с
малоинтенсивным воздействием на продукт. Такое сочетание характерно для
шлифовочного процесса хлебопекарных помолов пшеницы, где конечным продуктом
является тонко измельченная мука. Для макаронных помолов пшеницы, где в
качестве основного продукта получают муку в виде крупок и дунстов, применяют
только рифленые валки. После двойного последовательного или одинарного
измельчения обязательным процессом является сортирование в рассевах.
В соответствии с этим каждая шлифовочная система
может состоять из вальцового станка и рассева или из вальцового станка,
деташера и рассева.
В рассеве шлифовочной системы проставляют номер
используемой технологической схемы. число групп сит, количество и номер сита в
группе. Для конкретного мукомольного завода с известной производительностью
дополнительно проставляют количестве оборудования в пределах системы и его
типоразмер.
Рис. 2.2.
Принципиальное изображение шлифовальных систем для технологических схем с
использованием рифленых (а) и гладких (б) валков 1 рифленые валки; 2 - рассев;
3 - гладкие валки; 4 -деташер
Процесс измельчения при шлифов.ании крупок можно
осуществлять в интенсивном режим с образованием значительного количества тонко
измельченной муки. При этом можно использовать как рифленые, так и гладкие
валки в сочетании с деташерами. При ведении процесса в высоком, менее
интенсивном режиме в качестве основного продукта образуется следующая по
крупности крупка. Это значит, что при шлифовании крупных крупок должны
образоваться в максимальном количестве средние крупки," при шлифовании
средних крупок - мелкие и т. п. При этом извлечение мягкой, тонкой муки
минимально, а измельчение осуществляют с использованием только рифленых валков.
Такой режим измельчения характерен для макаронных помолов, хлебопекарных
помолов с отбором макаронной муки, а также для хлебопекарных помолов с отбором
муки высшего сорта на мельзаводах большой производительности. Образовавшиеся
при шлифовании крупки и дунсты подвергают обязательному обогащению на
ситовейках.
Размольный процесс предназначен для интенсивного
измельчения обогащенных и необогащенных крупок и дудстов в муку . Процесс
характерен для всех, помолов пшеницы и ржи, кроме помолов в обойную муку.
Измельчение в размольном процессе осуществляют в вальцовых станках с
последующим сортированием продуктов измельчения в рассевах.
Измельчение может осуществляться как рифлеными
валками, так и гладкими. валками с микрошероховатой поверхностью. в случае
измельчения гладкими валками, как в шлифовочном процессе, могут образовываться
недоизмельченные, предразрyшенные частицы и конгломераты частиц.
Каждая система размольного процесса может
сочетать в себе три различных варианта технологического оборудования (в
соответствии с рис. 2.3);
• вальцовый станок - рассев;
• вальцовый станок -:- энтолейтор - рассев;
• вальцовый станок - деташер - pacceв.
Рис. 2.3.
Варианты сочетания технологического оборудования в системе размольного процесса:
1 - вальцевые станки с рифлеными валками; 2 вальцевые станки с гладкими
валками; 3 - энтолейтор; 4 - деташер; 5 - рассев
Количество систем в размольном процессе
колеблется от двух до двенадцати. Минимальное количество характерно для
двухстороних помолов ржи и макаронных помолов пшеницы, а максимальное - для
хлебопекарных помолов с отбором муки высшего сорта.
Коитроль хлебопекарной муки осуществляется на pa~ceBax,
а манной крупы и макаронной муки - «крупки» и «полукрупки» - на ситовеечных
машинах. Это процесс с различной организацией присутствует во всех
повторительных помолах.
В помолах пшеницы в сортовую муку по сокращенным
схемам" практически всегда отсутствует процесс, обогащения крупок после
шлифования. В сортовых помолах ржи нет процессов обогащения крупок и
шлифовочного процесса.
В обойных помолах пшеницы и ржи муку получают
только в одном драном процессе.
Принципиально помолы любой сложности
осуществляются по одной схеме. Из зерна в драном процессе получают крупки и
дунсты, которые затем обрабатываются в промежуточных операциях обогащения и
шлифования дли удаления свободных и сросшихся оболочек. Подготовленные таким
образом крупки и дунсты могут быть конечным продуктом в виде макаронной муки
или могут интенсивно измельчаться в размольном процессе хлебопекарного помола в
тонкодисперсную муку.
В Обойных помолах, пшеницы и ржи нет
необходимости в предварительном получении крупок и дунстов И их последующем
обогащении и шлифовании, как это осуществляется в сортовых помолах. Последнее
объясняется тем, что обойная мука практически повторяет химический состав
зерна. Поэтому нет необходимости в разделении оболочек и эндосперма, зерна. И
весь процесс получения муки сводится к интенсивному измельчению зерна на
четыpex драных системах.
Таблица 2.1
Количество систем в отдельных
процессах помолов пшеницы и ржи
|
Тип
помола
|
Наименование
процессов
|
|
Дранной
|
Шлифовочный
|
Размольный
|
Обогащения
|
|
Сортовые
хлебопекарные помолы пшеницы:
|
|
|
|
|
|
-
с отбором муки высшего сорта
|
4-6
|
2-6
|
8-12
|
7-16
|
|
-
сокращенные без отбора муки высшего сорта
|
4-5
|
1-2
|
56
|
2-3
|
|
-
85 % помолв муку второго сорта
|
4-5
|
-
|
4-5
|
2-3
|
|
Макаронные
помолы:
|
|
|
|
|
|
-
твердой пшеницы
|
5-6
|
8-11
|
2-4
|
10-35
|
|
-
мягкой пшеницы
|
5-6
|
6-8
|
4-6
|
25-28
|
|
Сортовые
помолы ржи:
|
|
|
|
|
|
-
63 % в сеяную муку
|
4-5
|
-
|
5-6
|
-
|
|
-
80 % в сеяную и обдирную муку
|
4-5
|
-
|
2
|
-
|
|
-
87 % в обдирную муку
|
4-5
|
-
|
2
|
-
|
|
Обойные
помолы пшеницы и ржи
|
3-4
|
-
|
-
|
-
|
2.2.1 Классификация и
ассортименты муки
На формирование ассортиментов муки влияют вид
зерновой культуры, назначение муки, технология производства.
В зависимости от вида зерновой культуры муку
разделяют на пшеничную, ржаную, ячменную и др. Наиболее распространенным видом
есть пшеничная.
Пшеничная мука.
Его изготовляют из зерна мягкой пшеницы или
мягкой с примесями твердой (до 20%) и используют для производства хлебобулочных
изделий, мучных кондитерских и макаронных изделий, для реализации в торговой
сети и других целей.
В зависимости от технологии производства его
разделяют на сорта: высший, 1-и, 2-и и обойный.
Мука высшего сорта состоит из однородных
меленьких частичек (30-40 мкм). В нем почти отсутствуют высевочные частички. В
муке 1-го сорта частички менее однородные. Их размеры колеблются от С до 60
мкм. Эта мука немного темнее сравнительно с мукой высшего сорта и имеет в своем
составе 3-4% высевочных частичек. Мука 2-го сорта состоит из неоднородных и
сравнительно больших частичек (С-200 мкм). Количество высевочных частичек в ней
достигает 80%. Муку обивочное получают обивочным помолом с выходом 96%. По
химическому составу мука обивочная близка к зерну, из которого она изготовлена.
Размеры частичек в муке очень неоднородные - от С-40 до 500-600 мкм. Высевки из
этого муки не изымают.
Кулинарная муку получают добавлением к
хлебопекарной муке высшего или 1-го сорта соли, сахара, сухого молока, яичного
порошка, соевой муки, химических разрыхлителей (двууглекислой соды, углекислого
аммония). Такой есть мука для блинов, вареников, пудингов и бисквитов.
Ржаная мука.
По назначению бывает только хлебопекарной. В
зависимости от технологии производства этот вид муки разделяют на три сорта:
сеянное, обдирающее, обивочное. Сеянная мука - продукт сеянного и двусортного
помола. Это измельченный в порошок эндосперм. Она имеет в своем составе около
3% высевочных частичек, цвет ее белый с синеватым оттенком. Размер частичек
муки колеблется от 20 до 200 мкм. Обойную муку вырабатывают обдирающим и
двусортным помолом. Она отличается от сеянной большими частичками и темнейшим
(сероватым) цветом, в ее составе до 10% высевочных частичек. Частички муки
имеют размеры от С до 400 мкм. Обойная мука является основным сортом ржаной
муки. Его получают вследствие обойного помола, норма выхода 95%. Обойная мука
состоит из неоднородных за размером частичек (С-600 мкм), имеет серый цвет, в
ней хорошо заметны высевочные частички.
Ржано-пшеничная и пшенично-ржаная обойная мука.
Ржано-пшеничную обойную хлебопекарную муку получают вследствие размалывания ржи
и пшеницы в соотношении 60:40, а пшенично-ржаная мука - 70:30 (допускается
отклонение не более чем ±5%). Ржано-пшеничная и пшенично-ржаная обойная мука имеет
серовато-белый цвет с заметными частичками оболочек зерна. На хлебопекарных
предприятиях ржано-пшеничную муку вырабатывают также смешиванием ржаной и
пшеничной муки разных сортов. Таким образом, ржано-пшеничная мука
образовывается от: ржаной обивочной и пшеничной обивочной муки; ржаного
обивочного и пшеничного обивочного; ржаного обивочного пшеничного 2-го сорта и
т.п.. К такому смешиванию муки разных сортов и видов прибегают с целью
улучшения потребительских свойств хлеба (вкуса, цвета, консистенции, пористости
и т.п.).
.2.2 Показатели
качества муки
Качество муки всех выходов и сортов нормируется
стандартами и имеет довольно большое число показателей, которое можно разделить
на две группы:
1. Показатели, характеристика и числовое
выражение которых не зависят от выхода и сорта муки, т. е. по этим показателям
к любой муке предъявляются единые требования: запах, вкус, хруст, влажность,
зараженность вредителями хлебных запасов, наличие вредных примесей и
металлопримесей;
2. Показатели, нормируемые различно для
муки разных выходов и сортов: цвет, зольность, крупнота помола, количество и
качество сырой клейковины (последнее только для муки из пшеницы).
К показателям качества муки первой группы
предъявляют следующие требования:
1. Свежесть. Мука должна обладать слабым
специфическим мучным запахом. Другие запахи (сортированные или разложения)
свидетельствуют о той или иной степени дефектности муки. Свежая мука имеет
пресный вкус, при продолжительном разжевывании он становится сладковатым в
результате воздействия амилаз слюны на крахмал. Горький, кислый и сладкий вкус
характерен для муки, полученной из дефектного зерна или испортившейся при
хранении.
2. Хруст - дефект, не допустимый в муке. Он
появляется вследствие выработки ее из зерна, недостаточно очищенного от
минеральных примесей, или помола на неправильно установленных или плохих
жерновах. Иногда хруст появляется после перевозки мешков с мукой в неочищенных
кузовах автомашин или размещения муки в плохо очищенных складах. Хруст
проявляется при разжевывании муки. Этот дефект передается и печеному хлебу.
. Влажность. Влажность муки не должна
превышать 15 %. При большей влажности мука плохо хранится, легко прокисает,
плесневеет и самосогревается. Очень низкая влажность муки также нежелательна.
Мука с влажностью 9-13 % при хранении быстрее прогорает.
. Зараженность вредителями хлебных
запасов. Мука не должна иметь признаков заражения, так как это полуфабрикат,
направляемый непосредственно на приготовление печеного хлеба. При обнаружении в
муке любого из вредителей в любой стадии развития ее считают нестандартной.
Вредные примеси допускаются в муке в строго
определенных пределах не более 0,05 %, в том числе горчака или вязеля (отдельно
или вместе) 0,04 %. Примесь семян триходесмы с едой не допускается.
Каждый вид вредных примесей в муке можно
выявить. Однако в связи со сложностью некоторых анализов правилами ведения
технологического процесса предусматривается проверка содержания вредных
примесей после очистки зерна перед его размолом. Если вредных примесей больше
допустимых норм, зерно в размол пускать нельзя.
Металлопримеси обнаруживаются в муке при плохой
очистке зерна или износе рабочих органов машин (рифлей у вальцов, металлических
сит и т. д.). Поэтому все промежуточные продукты помола и готовую муку на
мельнице пропускают через магнитные установки для отделения ферропримесей.
На 1 кг муки допускается до 3 мг
пылевиднойметаллопримеси с размером частиц до 0,3 мм и массой каждой частицы
руды или шлака не более 0,4 мг. Частицы игольчатой и пластинчатой форм не
допускаются.
Количество проросших зерен нормируется при пуске
зерна в размол и не должно превышать 3 %. Причины этого подробно описаны при
характеристике дефектов зерна.
Методы определения качества муки описаны в ГОСТ
9404-60. Запах, вкус и хруст муки определяют сенсорно, остальные показатели
выявляют приборами. Так, цвет муки определяют на цветомерах, влажность -
высушиванием в сушильном шкафу, металлопримеси - специальными магнитами,
крупноту помола - на наборе сит, зольность - сжиганием навески муки в муфельных
печах и т. д.
Нормирование показателей качества муки обязывает
фермеров, агрономов, руководителей колхозов и совхозов при направлении зерна в
размол на местные предприятия правильно подбирать партии его. На помол можно
отправлять только такие партии, из которых будет выработана мука,
соответствующая требованиям государственного нормирования.
Особое внимание следует обращать на содержание в
зерне вредных и минеральных примесей. Не следует забывать и о подборе партий по
хлебопекарным признакам (количеству и качеству сырой клейковины). В связи с
этим необходимо знать технические возможности мельницы, на которой будет
произведен помол (наличие зерноочистительного отделения и степень его
оснащенности машинами, возможные выходы и сорта муки).
При длительном хранении штабель полезно через
несколько месяцев переложить, т. е. верхние мешки переместить вниз, а нижние -
вверх. Это предупреждает слеживание муки. За хранящимися партиями муки
необходимо вести наблюдение и прежде всего проверять, не произошло ли заражение
муки вредителями, которых нужно искать на поверхности мешков. Поэтому
периодическое обметание их жесткой щеткой и проверка сметок, лучше через лупу,
дает представление о том, имеются вредители или нет.
2.2.3 Дефекты муки
Причиной возникновения дефектов в муке может
быть использования недоброкачественного зерна, нарушение технологии
изготовления, несоблюдение режимов и сроков хранения. Самосогревание муки - это
повышение температуры в ее массе вследствие внутренних физиологических
процессов и плохой теплопроводности. Среди физиологических процессов, которые
происходят в крупах и муке во время самосогревания, необходимо выделить процесс
дыхания и развитие микроорганизмов. При этом изменяются органолептические
показатели муки (цвет, запах, вкус). Посторонний запах муки возникает
вследствие несоблюдения товарного соседства хранения их с продуктами, которые
имеют свойство передавать запах (рыба, пряности, мыло, одеколон и т.п.).
Причиной появления постороннего привкуса в этих продуктах могут быть также
посторонние ароматные примеси в зерне к его переработке.
При продолжительном хранении, особенно на свету,
мука обесцвечивается, темнеет. Увлажнение муки является причиной возникновения
других дефектов. Такие продукты нельзя долго сохранять, они быстро портятся.
Повышенная влажность муки активизирует ферменты, повышает интенсивность их
дыхания, самосогревание, развития микроорганизмов. Заплесневение муки возникает
вследствие самосогревания или хранение в плохо вентилируемых помещениях с
высокой относительной влажностью воздуха - выше за 80%. Продукты приобретают
затхлый запах, в них повышается кислотность, их цвет становится темнее.
Заплесневелая мука слеживается в комочки.
Прокисание муки начинается во внутренних пластах
массы продукта в связи с развитием кислототворных бактерий, прежде всего
молочнокислых. Прокисание большей мерой возникает в муке и в крупах.
прогорклость муки является результатом окисления жиров.
Мука с повышенным содержимым жира быстрее
горкнут. Мука низших сортов имеет в своем составе больше частичек зародыша,
богатых на жиры, поэтому она также быстрее горкнет. Снижение или потеря
сыпучести круп возникает с увеличением в них засоренности, а в муке (в
частности низших сортов) благодаря большому содержимому частичек оболочек. Это
происходит также при высокой влажности. Способность муки терять сыпучесть
частично или полностью называется уплотнением или слеживанием.
Слеживание большей мерой характерное для муки. С
увеличением продолжительности хранения увеличивается вероятность слеживания
муки. Мука, которая потеряла сыпучесть вследствие давления верхних пластов
продуктов на нижние, не используется для продолжительного хранения. Если мука
уплотняются и теряют сыпучесть вследствие самосогревания, развития
микроорганизмов и вредителей хлебных запасов, она становится непригодна для
употребления и в реализацию не допускаются. Деффектной есть мука с низкими
хлебопекарными свойствами, например, мука с малым содержимым клейковины и
низким качеством ее.
2.3 Технологическая
схема на предприятии ООО «Мельник»
После уборки урожая зерно содержит различные
посторонние примеси. В зерне могут находится семена сорных растений, соломистые
частицы, обмолоченные колосья и даже кусочки земли или мелкие камешки (галька).
При перевозке и различных операциях с зерном в него могут попасть и другие
предметы, кусочки проволоки, различные металлические предметы, веревка, стекло
и т.п. Все это нежелательные примеси и все это необходимо удалить из зерна до
его измельчения в муку.
Особый класс составляют вредные примеси - семена
некоторых растений, содержание ядовитые вещества. Это семена куколя, софоры
лисохвостной, триходесмы инканум и др. От них нужно очищать зерно особенно
тщательно.
Если растения пшеницы заражены спорыньей, то ее
рожки тоже попадают в массу зерна при обмолоте. Имеются так же и другие
грибковые заболевания зерна - фузариозное зерно и т.п.
Таким образом, перед помолом зерно необходимо
тщательно очищать от всех этих посторонних включений.
На измельчающие машины должно поступать чистое
зерно, иначе нельзя будет получить муку необходимого качества.
Очистку зерна проводят на машинах различного
принципа действия: на сепараторах, триерах, камнеотделителях, аспираторах и
т.д.
Так как в хозяйстве имеются ЗАВы, то
предварительную очистку зерна, от сорных растений, куколя, овсюга и др.
засорений производят на них. А последующую очистку, непосредственно в
подготовительном отделении мельницы. Однако, на этом подготовительные операции
не завершаются. На поверхности зерна обычно присутствует пыль и другие
загрязнения. Поэтому проводят очистку его поверхности на обоечных и щеточных
машинах или даже промывают его в специальных моечных машинах.
И, наконец осуществляют обработку зерна для
улучшения его мукомольных свойств, проводят “кондиционирование” зерна. В этом
процессе зерно увлажняют до определенной влажности и затем выдерживают его в
течение нескольких часов в закромах - отволаживают.
В данной мельнице, подготовка зерна к помолу в
зерноочистительном отделении производится по следующей схеме:
Рис.2.4. Аппаратно-технологическая
схема подготовительного отделения: 1. Автотранспорт; 2. Сепаратор А1-БЛС; 3.
Магнитный сепаратор; 4. Триер; 5. Камнеотделительная машина Р3-БКТ; 6. Обоечная
машина Р3-БГО-6; 7. Аспирационная установка Р3-БНА-50; 8. Увлажнительная машина
А1-БШУ-2; 9. Силос для отволаживания зерна
Зерно предварительно очищенное на
ЗАВе из самосвала выгружается в бункер неочищенного зерна в днище которого
вмонтирован конвейер винтовой, который подает зерно в башмак порций. Далее
зерно порцией подается на первичную очистку в аспиратор и на зерноочистительный
сепаратор, который служит для удаления из зерновой массы крупных, мелких и
легких примесей. Легкие примеси удаляются воздушным потоком в аспираторе на
входе в сепаратор, и на выходе из него. Для выделения примесей, отличающихся по
размерам (крупных и мелких) служат пробивные сита (решета), с отверстиями
круглой или же продолговатой формы. Длина продолговатых отверстий зависит от
ширины их: если ширина не более 2.0 мм, то l=20мм. На
решетном полотне отверстия располагаются в шахматном порядке, чтобы повысить
вероятность просеивания. Сита устанавливаются с некоторым наклоном от входа к
выходу, а ситовой кузов сепаратора совершает колебательное движение. Таким
образом, на верхнем сите с Æ
отверстий 5 ... 10 мм, удаляют крупные примеси. Зерно вместе с мелкими
примесями проходи сквозь отверстия этого сита и поступает на нижнее сито, с
отверстиями Æ 1.5 х 20
... 1.7 х 20, на которые мелкие примеси идут проходом, а зерно идет сходом.
Очищенное зерно направляется в
камнесборник, предназначенный для отбора мелких камешков, размеры которых мало
отличаются от размера зерна.
Зерно из приемного устройства
попадает сначала на сетчатую поверхность распределителя, продуваемую с низу
воздухом, а затем на сетку деки в центре вибростола. Здесь исходное зерно
делится на два равных потока. Под действием колебаний рабочей поверхности и
аэрации воздухом, зерновая смесь разрыхляется, при этом коэффициент внутреннего
трения снижается. Зерно переходит в состояние псевдоожижения. В таких условиях
происходит интенсивное самосортирование зерновой массы: тяжелые минеральные
частицы опускаются вниз на рабочую поверхность деки, а зерно и легкие примеси
остаются в верхних слоях. Кинематические параметры и нагрузка машины, угол наклона
и коэффициент трения рабочей поверхности подобраны таким образом, что нижний
слой, имеющий наибольшее сцепление с рабочей поверхностью, движется вверх
против наклона деки. Верхний слой не подверженный транспортирующему воздействию
дека, течет как жидкость под уклони разгружается в нижней широкой части деки,
преодолевая сопротивление резинового клапана в выпускном патрубке.
Минеральные примеси выводятся через
верхнюю суженную часть деки. Здесь толщина слоя минеральных примесей
увеличивается, остатки зерна всплывают на поверхность и скатываются вниз.
Легкие примеси уносятся воздухом и
отделяются в пылеотделителе. Содержание зерна в отходах не превышает 0.05%,
эффективность очистки зерна от минеральных примесей не менее 99%.
Далее зерно поступает на магнитный
сепаратор и обоечную машину, осуществляющую очистку поверхности зерна,
обработка зерна в обоечной машине должна обеспечить очистку его поверхности и
характеризоваться следующими параметрами в %:
·
снижение
зольности - 0.03 ¸ 0.05;
·
увеличение
количества битых зерен не более 2.
Зерно поступает в кольцевой зазор между ротором
и цилиндром, где в результате многократных ударов и интенсивного трения
происходит очистка поверхности и частичное шелушение.
Проход через сетчатый цилиндр попадает в
аспирационную сеть. После обоечной машины зерно поступает в аспирационный канал
для очистки от легких примесей и далее направляется в башмак порции. Затем
зерно порцией и конвейером винтовым подается в бункера очищенного зерна для
накопления. Из бункеров очищенного зерна посредством винтового конвейера и
порции зерно поступает на машину для увлажнения. В этом процессе зерно
увлажняют до определенной влажности и затем винтовым конвейером подается в
бункера для отволаживания., где зерно выдерживают в количестве нескольких часов.
В результате воздействия воды на вещества зерна
структура его эндосперма существенно изменяется, происходит его разрыхление,
поэтому прочность его значительно понижается, в процессе измельчения о
разрушается с незначительной затратой энергии. В то же время прочность оболочки
возрастает и вследствии такого эффекта эндосперм легко отделяется от них в
процессе измельчения на вальцовых станках. Оболочки же при этом получаются в
виде крупных частиц и поэтому в процессе сортирования продуктов в рассевах, частицы
эндосперма и частицы оболочек формируют самостоятельные фракции и поступают в
различные потоки.
Величина увлажнения и длительность процесса
отволаживания зерна в бункерах зависит от исходной характеристики помольной
партии.
Затем, из бункеров для отволаживания через
вибропитатели, зерно поступает на винтовой конвейер и далее в пневмоприемник -
отвод, затем в циклон - разгрузитель, на аспирацинный канал, в котором
отбираются легкие примеси, и в размольное отделение.
Размольное отделение
В размольном отделении производят помол
подготовленного зерна и разделение (сортирование) измельченных продуктов на
конечные продукты: муку и отруби. Дополнительно можно получать некоторое
количество манной крупы.
Следовательно, в размольном отделении
осуществляют следующие технологические операции:
·
измельчение
зерна и промежуточных продуктов;
·
просеивание
измельченных продуктов для фракционирования их по крупности, и в конечном
счете, получения муки и отрубей;
·
обогащение
крупных фракций промежуточных продуктов на ситовеечных машинах.
Данной технологической схемой предусмотрено три
дранных и три размольных системы.
Технологический процесс в измельчающем отделении
протекает следующим образом: измельчение продукта на вальцовых станках с
последующей обработкой продукта на виброситах, рассеве и ситовеечной машине.
Измельчение продуктов осуществляется на трех
дранных и трех размольных системах, на каждую из которых выделено 1/2
вальцового станка 3М.2.25х60. Так как мы в эту технологическую схему поставили
вымольную бичевую машину, то вымол оболочек проводится на ней. Сортирование
измельченных продуктов производится на рассеве ЗРШ-6М.
Для выделения сходовых продуктов на 1-й дранной
и 2-й дранных системах, установлены центробежные пневмосетовые сепараторы
У1-БСД-3,5 с металлоткаными ситами, на 3 - капроновое сито № 20. Эти продукты
идут “С системы на систему”.
Фактический выход продуктов размола составляет:
·
мука
1 сорта 50%...53%;
·
мука
высшего сорта 14%...16%;
·
манная
крупа 0.1%...2%;
·
отруби
30%....38%.
Для получения выхода муки высшего и первого
сортов, необходимо провести анализ технологической схемы и усовершенствовать
технологический процесс.
2.3.1 Анализ
применяемой технологии и возможность ее совершенствования
Обзор литературных источников по переработке
зерна в муку, а так же анализ технологического процесса на мукомольном заводе
“Конного завода 157” показывает, что в данной технологической схеме заменить
центробежные пневмосетовые сепараторы на рассев ЗРШ-4М, а так же для вымола с
ходового продукта (отрубей) после ЗД станка целесообразно применить вымольную
бичевую машину (ЗВО-1).
Измененная технологическая схема представлена на
рис 4.2.
Рис. 2.5. Схема технологического процесса
Для выделения сходовых продуктов на 1 Д и 2 Д
установлены металлотканые сита, на 3 Д капроновые сита № 12. Эти продукты идут
“с системы на систему”, а с 3 Д оба схода поступают для окончательного вымола
на БМ. Где происходит отделения эндоспарма от оболочки. Эндосперм в
измельченном виде проходи через сетчатую поверхность барабана и поступает для
дальнейшего просева на рассев. Сход - отрубная часть выводится в бункер
накопитель отрубей. Нижним сходом с рассевов 1 Д и 2 Д отбирают крупную крупку
проходом сит 09 и 08 и сходом № 15 и № 19, которая поступает на ситовеечную
систему СВ1 для обогащения. Проходом нижней группы сит рассевов 1 Д и 2 Д
извлекают смесь продуктов, которая состоит из средней крупки, мелкой крупки,
дукатов и муки, и направляет ее на дополнительное сортирование на рассев С1.
Зольность средней крупки ниже зольности крупной
крпки, она чище, поэтому все продукты с ситовеечной системы СВ 2 направляются в
размольный процесс, на 2Р и 3Р, на этой СВ2 можно проходом второго и третьего
сита выделить в отдельный поток манную крупу.
Муку извлекают на всех системах, при этом мука
высшего сорта формируется из потоков ее с С1, 2Д, 1Р и 2Р, а с остальных систем
получают муку первого сорта.
Контрольное просеивание муки имеет цель удалить
из нее случайно попавшие крупные частицы. Технологическая схема позволяет
обеспечить выход муки в размере около 75%, т.е. муки высшего сорта до 42%, муки
1 сорта до 32% по мере необходимости можно получить до 2% манной крупы.
Для полной характеристики технологического
процесса необходимо знать количественно-качественные показатели промежуточных и
конечных продуктов, при помощи которых можно сделать анализ режима работы всего
оборудования, загрузку каждой машины и системы, правильность формирования
промежуточных продуктов по системам и муки по сортам, определить необходимое
число технологического оборудования на каждом этапе процесса, произвести
расчеты пневматического и механического транспорта и внести исправления для
улучшения ведения технологического процесса.
Количественный баланс помола характеризует в
количественном виде (в %% по отношению 1Д) организацию и ведение процесса в
целом по схеме помола и по отдельным системам процесса.
При составлении баланса принимаем, что на 1Д
поступает 100% зерна, расчет убыли и прибыли массы зерна при проведении
подготовительных операций не ведут.
Основной характеристикой систем измельчения
является режим измельчения продуктов, которая определяется массой извлеченного
продукта извлечением на системе. Этот показатель рассчитывают при условии, что
поступающий продукт принимаем каждый раз за 100%.
Количественный баланс 2-х сортового помола
пшеницы на 3-х станковой мельнице приведен в таблице 2.2.
Таблица 2.2
|
Системы
|
Поступило
продуктов
|
Получено
продуктов
|
|
Наименование
|
кол-во
в % к 1Д
|
Наименование
|
Кол-во
в % к 1Д
|
Направление
продуктов
|
|
1
|
2
|
3
|
4
|
5
|
6
|
|
IД
|
Зерно
|
100
|
1-й
сход 2-й сход 3-й сход 1 - проход 2 - проход
|
7,00
12,0 10,0 8,0
|
IIД СВ1 С1 конт. м1с
|
|
ИТОГО
|
100
|
|
100
|
|
|
IIД
|
1-й
сход IД 2-й сход
IД
|
70,0
|
1-й
сход 2-й сход 3-й сход
|
28,0
12,0 18,0 12,0
|
IIIД СВ1 С1 конт. М, В, С
|
|
ИТОГО
|
70,0
|
|
70,0
|
|
|
IIIД
|
1-й
сход IД 2-й сход
IД сход СВ1
|
28,0
5,0
|
1-й
сход 2-й сход проход
|
21,0
12,0
|
БМ конт. м1с
|
|
ИТОГО
|
33,0
|
|
33,0
|
|
|
С1
|
2-й
сход IД 1-й сход
IIД
|
10,0
18,0
|
1-й
сход 2-й сход 1 - проход 2 - проход
|
13,0
4,0 8,0 3,0
|
СВ2
2Р конт. М, В, С 2Р
|
|
ИТОГО
|
28,0
|
|
28,0
|
|
|
БМ
|
1-й
сход IIIД 2-й сход
IIIД 1-й сход
ЗР 2-й сход ЗР
|
21,0
9,0
|
сход
проход
|
10,0
20,0
|
отруба С2
|
|
ИТОГО
|
30,0
|
|
30,0
|
|
|
С2
|
проход
БМ
|
20,0
|
1-й
сход 2-й сход проход
|
16,0
4,0
|
отруба конт. м1с
|
|
ИТОГО
|
30,0
|
|
30,0
|
|
|
С2
|
проход
БМ
|
20,0
|
1-й
сход 2-й сход проход
|
16,0
4,0
|
отруба конт. м1с
|
|
ИТОГО
|
20,0
|
|
20,0
|
|
|
СВ1
|
3-й
сход IД 3-й сход
IIД
|
12,0
12,0
|
сход
1-й сход 2-й сход
|
5,0
17,0 2,0
|
IIIД 1Р 3Р
|
|
ИТОГО
|
24,0
|
|
24,0
|
|
|
СВ2
|
1-й сход С1
|
13,0
|
сход
1-й сход 2-й сход 3-й сход
|
3,0
3,0 2,0 5,0
|
3Р 2Р мак. кр. 2Р
|
|
ИТОГО
|
27,0
|
|
27,0
|
|
|
3Р
|
2-й
сход СВ1 сход СВ2 1-й сход 2Р 2-й сход 2Р
|
2,0
3,0 13,0
|
1-й
сход 2-й сход проход
|
9,0
9,0
|
БМ конт.М.1.С
|
|
ИТОГО
|
18,0
|
|
18,0
|
|
|
контр.М.В.С.
|
1-й
проход IIД 1-й
проход С1 проход 1Р проход 2Р
|
12,0
8,0 9,0 14,0
|
сход
проход
|
2,0
41,0
|
2Р мука В.С.
|
|
ИТОГО
|
43,0
|
|
43,0
|
|
|
контр.М.1.С.
|
1-й
проход IД проход IIIД проход
С2 проход 3Р
|
8,0
12,0 4,0 9,0
|
сход
проход
|
2,0
31,0
|
2Р мука 1СА
|
|
ИТОГО
|
33,0
|
|
33,0
|
|
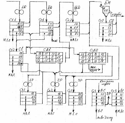
Получаем следующие значения: извлечения на 1Д
составляют 30% ,на 2Д 60%, на 3Д 36%, 1Р 53%, на 2Р 52%, на 3Р 50%.
Отнесем массы извлекаемых продуктов к массе
зерна на 1Д,получаем следующие величины и извлечения на 1Д 30%, на 2Д 42%, на
3Д 12%, на 1Р 9%, на 2Р 14%, на 3Р 9%. В данном процессе всего извлечено крупок
44%, муки 44%. Общее извлечение в этом процессе составляет 88%. Но так как в
дранном процессе поступило не только 100% зерна, но еще были возвращены
продукты - сходы с СВ1- 5% и 3Р - 9%, в количестве 14%. Отнесем 88% к 114%
получаем, что общее извлечение продуктов равно 77.2%.
На контрольное просеивание направлено 43% муки
высшего сорта и 33 %пуки 1 сорта. На контрольных рассевах сходом выделены
крупные частицы в размере 2% (по отношению к 1Д), так что окончательно на выбой
направлено муки высшего сорта 41%, муки 1 сорта 31%, манной крупы 2%. Всего
выход составил 74% вместе с манной крупой и 26% отрубей.
Зерно - предназначенное для переработки,
поступает в накопительный бункер (1), который заполняют один раз в сутки. Из
него зерно через автоматические весы (2) поступает в шнековый транспортер (3)
далее пройдя через магнитный сепаратор (У1 - БМП) (4) по воздухопроводу
поступает в воздушный сепаратор (5) РЗ-БАБ, где отделяются легкие примеси.
После воздушного сепаратора зерно поступает в зерноочистительный сепаратор (6)
А1-БЛС-12, где выделяются крупные и мелкие примеси, так же легкие частицы,
которые направляются в циклон (7).
Далее зерно поступает на увлажнительную машину.
Но мы предлагаем ввести в технологическую схему камнеотделительную машину (8),
где выделяются примеси, отличающиеся от зерна основной культуры плотностью и
коэффициентом трения, а так же обоечную машину (9), для сухой очистки
поверхности зерна от пыли и грязи.
После обоечной машины зерно пневматическим
транспортером подается в воздушный сепаратор (10), где выделяется пыль, лузга,
а из него зерно пройдя магнитный сепаратор (11), направляется на увлажнительную
машину (12).
С увлажнительной машины зерно подается в
отволаживающие бункера (13), где находится в течение 6-8 часов.
После отволаживания зерно поступает на шнековый
транспортер (14) и далее пневмо-транспортером подается в бункер накопитель (15)
и далее через центробежный разгружатель направляется на первую дранную систему.
В размольном отделении продукты размола с
вальцевого станка 1 др.с. поступает в рассев, где пройдя сортирование поступает
на другие системы вальцовых станков.
При данном технологическом процессе зерно
проходит два этапа измельчения на трех дранных и трех размольных системах.
Техническая характеристика системы подобрана
так, чтобы было обеспечено интенсивное измельчение зерна в дранной и размольной
системах и было обеспечено получение максимального количества муки высшего
сорта.
2.4 Расчет операции
переработки
.4.1 Расчет и подбор
оборудования для зерноочистительного отделения
Для бесперебойного снабжения зерном размольного
отделения мукомольного завода, подготовленным к помолу и сокращения времени
заполнения бункеров для отволаживания производительность зерноочистительного
отделения должна быть на 10...20% больше плановой.
Ее определяют по формуле:
(2.1)
где: Q - плановая
производительность мукомольного завода, т/сутки;
K -
коэффициент запаса, равный K= 1.1 ... 1.2
Число машин, принятых по
технологической схеме для каждой системы зерноочистительного отделения
определяют по формуле:
(2.2)
где: Q1 -
производительность зерноочистительного отделения, т/сутки;
g -
производительность одной машины, т/сутки.
Если n получается
двойным числом его округляют до целого. Число автоматических весов определяют
по формуле:
(2.3)
где: Q1 -
производительность зерноочистительного отделения, т/сутки;
а - вместимость ковша весов (50 или
100 кг);
в - число отвесов в минуту (от 1 до
3).
Число бункеров для неочищенного
зерна и их вместимость определяют из расчета запаса зерна на 30 часов работы
мукомольного завода. Вместимость одного бункера определяется по формуле:
(2.4)
где:F - площадь
сечения бункера, м2
(рекомендуется 3 х 3м);
h - высота
бункера , м;
g
- натура зерна, т/м3 ;
K -
коэффициент заполнения, K= 0.85.
Число бункеров для неочищенного
зерна рассчитывают по формуле:
(2.5)
где: Q - производительность
зерноочистительного отделения, т/сутки;
V -
вместимость одного бункера.
Число бункеров для отволаживания
зерна определяют так же, но учитывают продолжительность отволаживания в часах.
В настоящее время на мукомольных заводах широко внедряется непрерывное поточное
отволаживание зерна. Для равномерного движения зерна в бункерах рекомендуется
принимать сечение 1.5 х 1.5 м, днище делать в виде воронки с уклоном не менее
70%.
Потребное количество обоечных или
щеточных машин определяют по формуле:
(2.6)
Принимаем 2 обоечные машины.
а фактическую загрузку (%) обоечной
машины или щеточной машины из выражения:
(2.7)
где:h -
фактически принятое количество машин в пределах одного пропуска;
gн -
паспортная производительность машины, т/ч или т/сутки.
При определении фактической загрузки
следует учитывать, что обоечные и щеточные машины нельзя перегружать, т.к. это
связано со снижением качества очистки зерна и с возможным завалом машины.
Высоту бункера принимают в зависимости от этажности здания. Можно определить
общую вместимость всех бункеров подготовительного отделения, зная количество зерна,
которое должно быть размещено в бункерах и их размеры.
В этом случае фактическую потребную
емкость определяют по формуле:
(2.8)
где:t - время хранения зерна,
g
- объемная масса зерна,
h
- коэффициент использования емкости
Qз -
производительность д/о отделения
Тогда число бункеров можно
определить по формуле:
(2.9)
где: V -
вместимость одного бункера.
Количество обоечных машин определяем
по формуле:
3. ТЕХНИЧЕСКАЯ ЧАСТЬ
.1 Обзор
конструкций обоечных машин
В зерновой смеси, как правило,
содержатся металломагнитные примеси, которые не удается полностью выделить в
зерноочистительных сепараторах. Наличие таких примесей может привести к
искрообразованию и повреждению рабочих органов машин
<#"866914.files/image019.gif">
Рис. 3.1 - Магнитный сепаратор: а -
У1-БМЗ; б - У1-БМЗ-01; в - цилиндрический магнит
Магнитные сепараторы
<#"866914.files/image020.gif">
Рис. 3.2 - Магнитный сепаратор: а -
У1-БМП; б - У1-БМП-01
Устройство сепараторов этого типа
одинаково. Корпус 1 обоих сепараторов представляет собой сварной короб с
отверстиями для приемки и выпуска продукта. Он изготовлен в двух исполнениях в
соответствии с технологическим назначением и местом установки. В передней
стенке корпуса расположен люк, закрываемый крышкой 8. Для предотвращения
выделения пыли установлены прокладки 7. Внутри корпуса смонтированы оси 5 и 13.
На них расположены магнитодержатель 3 и ограничитель 2. Ребро 12 для
направления потока продукта на плоскость блока магнитов и направляющие накладки
б крепят к корпусу сепаратора.
Магнитодержатель представляет собой
сварной кронштейн из нержавеющей стали с вставленным в него блоком магнитов 4.
Для удобства очистки магнитов весь магнитодержатель можно вынуть через люк
корпуса, а затем снова установить по направляющим накладкам. Магнитный блок
представляет собой шесть плоских магнитов, собранных в комплект.
Отличительная особенность магнитного
сепаратора У1-БМП-01 - заслонка 11, представляющая сварной кронштейн, свободно
висящий на оси 10. Заслонка обеспечивает равномерную подачу продукта. В
зависимости от количества продукта положение заслонки (угол наклона) регулируют
грузом 9.
Магнитный сепаратор У1-БММ (рис.)
предназначен для выделения металломагнитных примесей из муки.
Рис. 3.3 - Магнитный сепаратор
У1-БММ
Корпус 8 представляет собой сварной
полый вертикальный цилиндр. В верхней его части расположен приемный патрубок 3
с отбортовкой, которая позволяет соединять при помощи хомута сепаратор с самотечной
трубой. К нижней части корпуса приварен фланец с отверстиями для установки и
закрепления сепаратора. Внутри корпуса сделаны козырьки 10, направляющие поток
продукта на блок магнитов 11. Козырьки расположены по окружности корпуса двумя
рядами в шахматном порядке. На боковой стороне находится люк для очистки блока
магнитов от задержанных примесей.
Дверка 5 одной стороной связана с
корпусом шарнирной петлей 4, а другой - двумя замками 2, герметично
закрывающими ее во время работы. Плотность закрывания дверки регулируют
выдвижным захватом 1. На внутренней стороне дверки приварены направляющие
козырьки. В нижней части двери смонтирована подставка 13 для установки блока
магнитов. Она выполнена в виде скобы с приваренным диском.
Блок магнитов - основной рабочий
орган сепаратора. Он состоит из кольцевых постоянных магнитов, собранных в два
комплекта, между которыми находятся два диамагнитных диска, закрытых обечайкой.
Для равномерного распределения муки
в верхней части блока установлен конус. Для удобства очистки магнитов
предусмотрены шариковые опоры 12. На них магнитный блок может поворачиваться.
Если поворот блока затруднен, ручкой 7 ослабляют его прижатие к подставке.
Техническая характеристика магнитных
сепараторов представлена в табл.
Таблица. 3.1 Техническая
характеристика магнитных сепараторов
|
Показатель
|
У1-БМЗ-01
|
У1-БМЗ
|
У1-БМП-01
|
У1-БМП
|
У1-БММ
|
|
Производительность,
т/ч
|
11
|
2
|
И
|
11
|
8
|
|
Количество:
|
|
|
|
|
|
|
блоков
|
2
|
21
|
1
|
2
|
|
|
магнитов
в блоке
|
10
|
10
|
6
|
6
|
7
|
|
Габаритные
размеры, мм
|
300х290х
|
295х215х
|
455х370х
|
355х370х
|
700х340х
|
|
х200
|
хЗОО
|
х380
|
х380
|
х340
|
|
Масса,
кг
|
6
|
8
|
30
|
25
|
56
|
Продукт по конусу 9 поступает в кольцевой канал
сепаратора, где при помощи козырьков направляется на блок магнитов.
Металло-магнитные примеси притягиваются к магнитам, а очищенный продукт выводится
через выпускной патрубок 6.
Чтобы сепараторы работали нормально, поверхность
магнитного блока очищают один раз в семь-десять дней. Периодичность очистки
зависит от количества металломагнитных примесей в исходном продукте и
производительности сепаратора. Во время его работы не рекомендуется открывать
крышку и очищать блок магнитов, регулировать или ремонтировать. После каждой
очистки во избежание выделения пыли проверяют плотность прилегания крышки (типа
У1-БМП), магнитной заслонки (типа У1-БМЗ) или дверки (У1-БММ). Запыленность в
рабочей зоне не должна превышать 2 мг/м3. При необходимости заменяют прокладки,
подтягивают резьбовые соединения или регулируют захваты замков дверок.
При снижении эффективности выделения
металломагнитных примесей проверяют производительность сепаратора и регулируют
слой продукта. Если магнитная индукция становится ниже установленных норм,
блоки магнитов перемагничивают.
В работе магнитных сепараторов могут возникать
неисправности. Чрезмерное выделение пыли в зоне работы сепаратора (свыше 2
мг/м3) чаще всего возникает вследствие износа прокладок, ослабления резьбовых
соединений. В магнитном сепараторе У1 - БММ пыление возникает также по причине
неплотного прилегания двери, которое устраняется регулированием положения
захватов замков.
Если не проворачивается блок магнитов в
сепараторе У1-БММ, то он сильно прижат к подставке, и для устранения
неисправности ослабляют затяжку ручки.
3.2 Описание
усовершенствованной конструкции обоечной машины
В мельничном цехе “ООО Мельник” установлен
магнитный сепаратор У1-БМП. Данный сепаратор состоит из корпуса, блока магнитов
на кронштейне, который вынимается через специальный люк. Также имеется заслонка
для регулирования равномерности подачи и объема подачи зерна.
Основным недостатком данной конструкции является
конструкция магнитного блока, которая не позволяет в полной мере удалять
магнитные примеси. Данный факт значительно снижает качество конечного продукта
(муки).
В результате анализа конструкций магнитных
сепараторов было принято решение изменить форму магнитного блока. Решено
использовать блок магнитов цилиндрической формы. Данный блок представляет собой
цилиндр с вставленными в него магнитными стержнями (10 штук).
3.2.1 Технические
характеристики
Усовершенствование конструкции магнитного сепаратора
и конструкторские расчеты выполненные в конструкторской части позволили
получить следующие технические показатели обоечной машины.
Таблица 3.2
|
Показатель
|
У1-БМП
|
|
Производительность,
т/ч
|
12
|
|
Количество:
|
|
|
блоков
|
1
|
|
магнитов
в блоке
|
10
|
|
Габаритные
размеры, мм
|
355х370х
|
|
х380
|
|
Масса,
кг
|
25
|
3.2.2 Основные
регулировки, подготовка к работе, работа
Для обеспечения правильного режима очистки зерна
в магнитном сепараторе необходимо проводить регулировочные работы, которые
включают в себя установление заслонки в рабочее положение (открыть на 70%),
установление магнитов после очистки в рабочее положение. В процессе работы
обязательно проверяется качество зерна и отходов, выходящих из машины. В случае
увеличения металлических примесей - остановить работу и очистить магнитный
блок.
Работает сепаратор следующим образом. Зерно
через приемный патрубок поступает в сепаратор, там оно проходит через магнитный
блок. Зерно в данном случае проходит так, что из-за цилиндрической формы
магнита, оно его обволакивает и поэтому происходит максимальное отделение
ферромагнитных частиц от зерновой массы.
4. КОНСТРУКТОРСКАЯ ЧАСТЬ
4.1. Технологические
расчеты
Известно [22], при проектирование магнитной
системы необходимо обеспечить величину магнитного поля в центре рабочего зазора
Вр= 0,8 Тл. Так как магнитный сплав дорогостоящий материал, то необходимо
произвести оптимизацию размеров и формы магнита.
=k3 и H3=B3/мо (4.1)
где kз - коэффициент, учитывающий соотношение
величин индукций в середине и центре полюсных наконечников магнита, kз = 1,05
... 1,1.
Длина Lм и площадь нейтрального сечения Sм
постоянного магнита представляют основные искомые величины. В нашем случае
данные величины составляют:

(4.2)

(4.3)
где f -
коэффициент, учитывающий изменение намагничивающей силы в магнитопроводе, стыках
и зазорах, f = 1,1 ...
1,4; Sз - площадь
поперечного сечения рабочего зазора, м2; Вd и Нd - индукция
и напряженность поля, соответствующие точке (ВН) макс кривой размагничивания
постоянного магнита; s1- коэффициент рассеяния магнитного
потока.
По вычисленным величинам Lм, Sм
магнитной системы и на основании результатов экспериментальных исследований
потокораспределения в системе, магнитная цепь условно разбивается на ряд
участков и рассчитывается проводимость каждого звена магнитной системы. Проводимости
рабочего Gв и технологических воздушных зазоров Gт находятся соответственно:

(4.4)

(4.5)
где Sт - площадь поперечного сечения
технологического зазора, м2; dз, dт - длины технологического и рабочего зазоров
соответственно, м.
Тогда полная проводимость всех
воздушных путей магнитного потока рабочей зоны будет

(4.6)
де Gd - проводимости
технологического и рабочего зазоров, м; Ga - проводимости отдельных участков
арматуры, м; Gм- полная проводимость воздушных путей магнита, м.
Определение величин Вм, Нм
(индукция, напряженность постоянного магнита) и Вз производится графически с
помощью кривой размагничивания Вм = f(Нм). Строились характеристики полной
проводимости магнитной системы k1 и рассеяния магнита и деталей арматуры с
учетом углового коэффициента k2, соответственно:

(4.7)

(4.8)
5. ТЕХНИКО-ЭКОНОМИЧЕСКОЕ ОБОСНОВАНИЕ
ПРЕДЛАГАЕМОГО ТЕХНИЧЕСКОГО РЕШЕНИЯ
Имеющиеся на мукомольном заводе обоечные машины
позволяют получить готовую продукцию (муку) более высокого качества, причем
общий выход продукции увеличится на 4%. В исходном варианте общий выход муки
составлял 68%, в том числе высшего сорта 26%, 1 сорта 42%.
Предлагаемая модернизация обоечной машины
позволяет повысить выход муки до 72%, из них высший сорт 40%, 1 сорт 32%.
5.1 Расчет капитальных
вложений
Расчетную балансовую стоимость машины,
выпускаемую промышленностью можно рассчитать по формуле:
БИСХ = Ц0 × К, (5.1)
где Б - балансовая (расчетная) стоимость машины,
руб
Ц0 - отпускная цена машины (по прейскуранту
торгующих организаций), руб.
К - коэффициент, выражающий средние затраты на
транспортировку, монтаж машины и торговые наложения.Для машин, требующих монтаж
К= 1,2.
БИСХ = 22000 × 1,2 = 26400 руб.
Цену на вновь создаваемую (разрабатываемую)
машину можно ориентировочно определить по сопоставимой массе, когда известна
масса эталона и проектируемой машины.

, (5.2)
где БПР, БЭТ - балансовая стоимость новой
(проектируемой) машины и машины - эталона, руб.
GПР, GЭТ
- масса новой (проектируемой) машины и машины - эталона.
5.2 Расчет
эксплуатационных затрат
Размеры эксплуатационных затрат по каждой из
сравниваемых машин определяются по формуле:
ИЭ = З + А + Р + Э + П , (5.3)
где З - затраты на заработную плату рабочих,
руб.
А- амортизационные отчисления, руб.
Р- отчисления на ремонт и техобслуживание за
машинами, руб.
Э- затраты на расходуемую эл.энергию, руб.
П- прочие эксплуатационные затраты, руб.
Рассчитаем затраты на заработную плату рабочих,
занятых на выполнение механизированного процесса по формуле:
З = D
× t
× n
× Л ×
Ст , (5.4)
где D
- кол-во дней работы машины в году;
t - сменная продолжительность
работы на выполнении производ-ственного процесса в часах ;
n - число смен в
день:
Л - кол-во рабочих, занятых на выполнение
процесса, чел.
Ст - часовая тарифная ставка с дополнительными
начислениями и отчислениями на социальные нужды (соц. страхование, мед.
страхование, фонд занятости, пенсионный фонд) по данным предприятия, руб.
ЗИСХ = 290 ×
8 × 1 ×
3 × 2,79 = 19418,40 руб.
ЗИСХ = ЗПР = 19418,40 руб.
Амортизация машины рассчитывается по формуле:
, (5.5)
где Б - балансовая стоимость машины, руб.
На - норма ежегодных амортизационных отчислений
в % от балансовой стоимости.
Затраты на ремонт и техническое
обслуживание за машинами:
, (5.6)
где НР - норма ежегодных отчислений на ремонт и
техническое обслуживание, % (по данным предприятия)
Затраты на расходуемую
электроэнергию рассчитываются по формуле:
Э = F2
× ZЭ
, (5.7)
где F2
- годовое потребление эл.энергии, кВт/ч
ZЭ
- стоимость кВт/ч эл.энергии, руб.
Годовой расход электроэнергии
на технологические нужды рассчитывается по формуле:
, (5.8)
где N
- потреляемая мощность установленного оборудования, кВт;
n
- число смен работы оборудования в день;
D
- число дней работы оборудования в году;
К3 - коэффициент загрузки
оборудования, К3 = 0,85;
К0 - коэффициент
одновременности работы оборудования,
К0 = 0,6..0,7;
КС - коэффициент учитывающий
потери сети, КС = 0,96;
КПД - коэффициент полезного
действия электродвигателя,
КПД = 0,85..0,90.
Тогда:
ЭИСХ = 8159,6 × 0,40 =
3263,84 руб.
ЭПР = 7417,8 × 0,40 =
2967,12 руб.
Прочие эксплуатационные затраты
планируются в размере 3-5% от суммы эксплуатационных затрат.
Общая сумма годовых эксплуатационных
затрат с учетом прочих рассчитывается по формуле:
ИЭ = (З + А + Р + Э) ×
1,05 (5.9)
Удельные эксплуатационные затраты
определяются по формуле:
, (5.10)
где W - годовая
производительность машины, ц.
Рассчитаем необходимое количество
сырья:
В денежном выражении, с учетом
сортности пшеницы производительность годовая составит:
WИСХ = 13920 × 0,26 × 6000 руб./т
+ 13920 × 0,42 × 5000 =
50947 тыс.руб.
WПР = 13920 × 0,40 × 6000 +
13920 × 0,32 × 5000 =
55680 тыс.руб.
5.3 Показатели
использования труда и его производительности
Для экономической оценки машин
принято брать в расчет только прямые затраты труда, то есть затраты труда
рабочих, занятых непосредственно на выполнении механизированных работ.
Трудоемкость процесса на
единицу выполнения работы рассчитывается по формуле:
, (5.11)
где SТ - суммарные затраты труда рабочих,
обслуживающих машину за год, чел.
Суммарные затраты труда рабочих,
обслуживающих машину определяются по формуле:
SТ
= D × t × n × Л (5.12)
SТИСХ
= SТПР = 290 × 8 × 1 × 3 = 6960
чел.ч.
Экономия труда (Эте) на единицу
работы определяется как разность в затратах труда по сравниваемым машинам: в
исходном и проектируемом вариантам.
(5.13)
Эте = 0,74 - 0,69 = 0,05 чел.ч/т
Годовая экономия труда, зависит от
масштаба применения сравниваемых машин и определяется по формуле:
Эт.год = Эт.е WПР , (5.14)
где WПР - годовая
производительность машины в проектируемом варианте, т.
Эт.год = 0,05 × 10022,4 =
501,12 чел.ч
Степень снижения затрат труда ( )
определяется по формуле:
(5.15)
Производительность труда (ПТ) на
операции исчисляется по формуле:
(5.16)
Рост производительности труда:
(5.17)
5.4. Определение
ожидаемого экономического эффекта от применения новых механизмов
Экономическая эффективность
применения выражается экономией затрат, которые определяются путем
сопоставления эксплуатационных издержек по следующей формуле. Так как в данном
конкретном случае получен более высококачественный продукт (мука), против
прежнего, то добавляется и экономия от прибавки дополнительного продукта (Эд).
, (5.18)
где ИУД - удельные эксплуатационные
затраты, руб/т;
WПР
- годовой объем работа в проектируемом варианте, т;
Эд - дополнительный эффект от
изменения кол-ва и качества муки, руб.
Эд =55680 - 50947 = 4733 тыс.
руб.
Эг = (3,25-3,03) ×
10022,4 + 4733000 = 2204,93 + 4733000 = 4735205 руб.
Степень снижения затрат (СС)
определяется по формуле:
, (5.19)
Определим приведенные затраты по
сравниваемым вариантам:
ПЗ = ИУД + КУД × ЕН , (5.20)
где ПЗ - приведенные затраты по
каждому сравниваемому варианту, руб/т;
КУД - удельные капиталовложения по
вариантам, руб/т;
ЕН- 0,15 нормативный коэффициент
окупаемости капиталовложений.
Удельные капиталовложения
определяются по формуле:
(5.21)
где К - балансовая стоимость
оборудования, руб.
Тогда:
Тогда годовой экономический эффект
по приведенным суммарным затратам можно определить по формуле:
(5.22)
5.5 Расчет
материалоемкости производственных процессов
Материалоемкость определяется
как отношение массы машин к их годовой производительности:
, (5.23)
где GM - масса
машин, кг
Степень снижения материалоемкости
(СМ) определяется по формуле:
(5.24)
5.6 Расчет
энергоемкости производственных процессов
Энергоемкость определяется как
отношение затраченной энергии в единицу времени (Зп год) на объем произведенной
продукции за соответ-ствующий период времени:
, (5.25)
Степень снижения энергоемкости (CF)
определяется по формуле:
(5.26)
|
Наименование
показателей
|
Значение
показателей по вариантам
|
|
Исходный
|
Проектируемый
|
|
Годовой
объем работ, т
|
9465,6
|
10022,4
|
|
Затраты
труда, чел/т
|
0,74
|
0,69
|
|
Эксплуатационные
зат-ты, руб.т
|
3,25
|
3,03
|
|
Приведенные
затраты, руб.т
|
2,67
|
3,42
|
|
Стоим-ть
доп. Продукции, руб.
|
-
|
4733000
|
|
Годовая
экономия эксплуатационных затрат, руб.
|
-
|
2204,93
|
|
Капиталовложения,
руб.
|
26400
|
26012
|
|
Материалоемкость
операции, кг/т
|
0,072
|
0,069
|
|
Энергоемкость
операции, кВт-ч/ц
|
0,86
|
0,74
|
6.
ОХРАНА
ТРУДА И ТЕХНИКА БЕЗОПАСНОСТИ
6.1 Общие положения
Производственный процесс хлебоприемных и
зерноперерабатывающих предприятий существенно влияет на состояние окружающей
среды. Это влияние характеризуется следующими основными направлениями:
загрязнение воздуха за счет выброса пыли и токсичных веществ, загрязнение зерно
продуктов, выделение сточных вод, производственный шум.
В процессе очистки зерна от примесей и сухой
очистки его поверхности, а также при перемещениях зерна образуется значительное
количество минеральной и органической пыли. При измельчении и сортировании
зерна и промежуточных продуктов также образуется пыль, которая в ряде случаев
представляет ценную высокобелковую фракцию муки, потеря ее недопустима. Для
предотвращения выноса пыли в атмосферу и загрязнения прилегающей к предприятию
местности на заводе предусмотрена система аспирации с определенным количеством
отсасываемого воздуха из всех точек пылевыделения.
Воздух надежно очищается от пыли в
пылеотделителях различных конструкций. Выбросы пыли в атмосферу на новых
мукомольных заводах, как правило, ниже установленных норм. Порядок определения
предельно допустимых концентраций (ПДК) выбросов вредных веществ в атмосферу
регламентируется ГОСТ 17.2.02-78 "Охрана природы. Атмосфера. Правила
установления допустимых выбросов вредных веществ промышленными
предприятиями".
Методика определения объема выбросов, расхода
воздуха и концентрации пыли, разработанная ВНИИЗ, устанавливает порядок
контроля суммарной и единичной мощности выбросов пыли (количества пыли, выбрасываемого
в атмосферу в единицу времени) аспирационными и пневмотранспортными установками
предприятий по хранению и переработке зерна.
В соответствии с действующими нормами
концентрация пыли в воздухе, выбрасываемом в атмосферу, не должна превышать
допустимую концентрацию пыли в воздухе рабочих зон более чем в 15 раз, т. е. не
более 60 мг/м3 для зерновой пыли и 100 мг/м3 - для мучной. Для предприятий
системы хлебопродуктов в воздухе рабочей зоны производственных помещений ПДК
зерновой пыли должна составлять 4 мг/м3, мучной - 6 мг/м3.
Кроме негативных последствий загрязнения
атмосферного воздуха, зерновая и мучная пыль является причиной возникновения
взрывов на хлебоприемных, и зерноперерабатывающих предприятиях. Взрыв
пылевоздушной смеси происходит при наличии определенной концентрации
(взрывоопасной) и источника зажигания с температурой и энергией, достаточной
для воспламенения.
Запыленность воздуха в производственных
помещениях в значительной мере зависит от герметизации оборудования, от режимов
отсоса воздуха аспирируемых машин и других точек пылевыделения, от
конструктивного исполнения, состояния и режимов работы рабочих органов машин.
Наряду с загрязнением воздуха в результате
пылевыделения практика химической защиты зернопродуктов от вредителей связана с
выбросом токсичных веществ в атмосферу. Препараты, применяемые для этой цели
(пестициды), являются потенциальным источником загрязнения окружающей среды:
воздуха, воды, почвы и зернопродуктов. Токсичность пестицидов, характер их
воздействия, остаточное содержание в зернопродуктах строго регламентируются и
контролируются с точки зрения техники безопасности и охраны окружающей среды.
Например, допустимое остаточное содержание бромистого метила, применяемого для
газации, составляет 35 мг/кг в зерне, 10 мг/кг в муке, 3 мг/кг в хлебе и 1
мг/м3 в воздухе рабочей зоны. Поэтому каждый препарат, внедряемый для борьбы с
вредителями зернопродуктов, тщательно изучают и устанавливают условия его
применения, нормы расхода, оценивают возможные негативные последствия применения,
предельно допустимые концентрации его в зернопродуктах, воздухе, воде и на
почве, а также меры безопасности при работе с ним.
На мукомольных заводах ежегодно проводят газацию
всех производственных помещений. При подготовке к газации необходимы строгое
соблюдение ее технологии, обеспечение герметичности и чистоты помещений,
предварительная оценка метеорологических условий периода газации и дегазации
(влажность, температура, давление воздуха). Контроль за проведением процесса
газации и полнотой дегазации после химической обработки помещений, определение
остаточного содержания пестицидов, порядок сдачи объектов после газации
гарантируют безопасность этих мероприятий для людей и снижают уровень
загрязнения окружающей среды.
Зерноперерабатывающие предприятия используют
воду для производственных (технологических) нужд, на хозяйственно-бытовые цели
и пожаротушение. На мукомольных заводах воду расходуют на обработку зерна в
машинах мокрого шелушения, аппаратах и машинах для увлажнения зерна, для
охлаждения вальцов вальцовых станков и для обработки воздуха в кондиционерах.
На мукомольном заводе с комплектным
оборудованием производительностью 500 т/сут расход воды на производственные
нужды составляет около 10 м3/ч, а на хозяйственные - до 0,3 м3/ч. Этот расход
определяется с учетом воды в оборотной системе водоснабжения: в системе
охлаждения вальцов и рециркуляции в промывных камерах кондиционеров. В
соответствии с этим в бытовую и производственную канализацию отводится до 6
м3/ч сточных вод.
Производственные сточные воды подразделяют на
незагрязненные (в основном охлаждающие) и загрязненные после машин мокрого
шелушения. В сточных водах после машин мокрого шелушения содержатся частицы
органического и минерального происхождения, микроорганизмы. Эти воды фильтруют
через сита в специальных сепараторах, мокрые отходы отжимают, просушивают и
используют для кормовых целей. Степень очистки воды от примесей достигает 55 %.
Вода выводится в канализацию для последующей очистки и обеззараживания в
системе очистных сооружений сточных вод до установленных водоохраной норм.
В настоящее время в системе хлебопродуктов
разработана и осуществляется комплексная целевая программа водоохранных
мероприятий по предотвращению загрязнения вод на период до 1990 г. Наряду со
строительством эффективных водоочистных сооружений перспективным направлением
является широкое внедрение бессточной технологии гидрообработки зерна.
В системе мероприятий по охране окружающей среды
важное место занимает проблема отходов. В процессе подготовки зерна к помолу его
очищают от различных примесей, образующих отходы различных категорий, в том
числе значительное количество ценных кормовых и негодных отходов. Перспективным
направлением являются более эффективное использование зерна и разработка
рентабельных методов утилизации отходов.
В производственных помещениях мукомольных
заводов работа машин с быстровращающимися и колеблющимися органами
сопровождается шумом и вибрацией. При длительном воздействии они неблагоприятно
влияют на организм человека: вызывают снижение слуха, утомляют, притупляют
внимание, вызывают специфические заболевания. В нашей стране допустимые уровни
звука и звукового давления определяет ГОСТ 12.1.003-83 "Шум. Общие
требования безопасности". Нормируемыми параметрами являются уровень звука
в дБА, измеряемый по шкале "А" шумомера, а также уровень звукового
давления в дБ, измеряемый на среднегеометрических частотах октавных полос.
Звуки разных частот при одинаковых уровнях
звукового давления по-разному воздействуют на органы слуха человека. Наиболее
неприятны для человека звуки высоких частот. Это учитывается при нормировании
уровней шума и применении звукопоглощающих устройств и материалов,
эффективность которых зависит от частоты. Поэтому для успешной борьбы с шумом
необходимо знать его частотный спектр. Для изучения распределения частот шума в
измерительную аппаратуру введены акустические фильтры, частотные характеристики
которых обозначены буквами А, В, С и В. Соответственно результаты измерений
обозначаются дБ А, дБ В и т. д. Характеристика "А" в наибольшей
степени приближает измерения акустического шума к восприятию звука человеком. В
практике замеров уровней шума на предприятиях системы хлебопродуктов в основном
измеряют уровень звука по характеристике "А" шумом ер а.
Как показали замеры, наиболее "шумными"
являются помещения, где установлены вальцовые станки и воздуходувные машины.
Результаты исследования показали, что уровни
шума в большинстве производственных помещений превышают установленные нормы как
по уровню звука в дБ А, так и в октавном спектре частот. Однако на новых
заводах с высокопроизводительным оборудованием обслуживающий персонал не должен
постоянно находиться около машин, поэтому шум воздействует на него ограниченное
время. Вся информация о работе завода и управление им сосредоточены на пульте,
где постоянно находится оператор. Уровни шума в помещении пульта управления
мукомольного завода значительно ниже допустимых норм. Следует отметить, что
уровень шума на новых мукомольных заводах снижен на 10... 12 дБ по сравнению с
заводами, построенными ранее, за счет качественного изготовления и динамической
балансировки вращающихся рабочих органов, зубчатых передач, установки приводов
вальцовых станков под перекрытием, применения звукопоглощающих материалов и
покрытий, глушителей, установки воздуходувных машин в изолированном помещении
первого этажа.
Гигиенические нормы вибрации на рабочих местах в
производственных помещениях предприятий регламентируются ГОСТ 12. 1.012-78
ССБТ. Анализ параметров вибрации на рабочих местах показал, что практически все
машины новых заводов создают вибрации, не превышающие установленных норм.
Мероприятия по охране окружающей среды,
направленные в первую очередь на создание здоровых и безопасных условий труда и
быта людей, являются важнейшим слагаемым производственной деятельности всех
промышленных предприятий, мощным рычагом увеличения производительности труда и
ускорения НТП отрасли.
6.2. Общие требования по охране труда
К работе аппаратчиком мукомольного производства
допускаются лица не моложе 18 лет, любого пола, предварительно прошедшие
медицинский осмотр, а также вводный инструктаж по охране труда и пожарной
безопасности, инструктаж на рабочем месте и соответствующее обучение профессии
в учебном комбинате, прошедшие стажировку под руководством начальника смены или
квалифицированного рабочего со стажем работы не менее 3-х лет в течение не
менее 12 смен, имеющие допуск к самостоятельной работе.
Работник должен:
· соблюдать правила внутреннего
трудового распорядка организации;
· знать и выполнять требования настоящей
инструкции;
· знать приемы оказания первой
медицинской помощи при несчастных случаях;
· знать и выполнять правила личной
гигиены;
· соблюдать осторожность при ходьбе по
лестницам, во время нахождения на территории организации;
· соблюдать требования пожарной
безопасности, знать порядок действий при пожаре, уметь применять первичные
средства пожаротушения;
· немедленно сообщать
непосредственному руководителю работ о любой ситуации, угрожающей жизни или
здоровью работающих и окружающих, каждом несчастном случае, произошедшем на
производстве, неисправности оборудования, инструмента, приспособлений,
транспортных средств, средств защиты, об ухудшении своего здоровья;
· выполнять только порученную работу;
· правильно использовать
предоставленные ему средства индивидуальной защиты (СИЗ).
Работнику не допускается производить работы,
находясь в состоянии алкогольного опьянения либо в состоянии, вызванном
употреблением наркотических средств, психотропных или токсических веществ, а
также распивать спиртные напитки, употреблять наркотические средства,
психотропные или токсические вещества на рабочем месте или в рабочее время.
Курение допускается только в специально
отведенных для этого местах.
При обслуживании оборудования мельницы на
работника могут воздействовать следующие опасные и вредные производственные
факторы:
· вращающиеся механизмы;
· повышенное напряжение электрического
тока;
· статическое электричество;
· возможность возникновения взрыва или
пожара;
· повышенная запыленность и шум.
Согласно типовым отраслевым нормам бесплатной
выдачи спецодежды и средств индивидуальной защиты (СИЗ) АМП обеспечивается:
· костюмом хлопчатобумажным;
· ботинками кожаными;
· шлемом х/б;
· наушниками или бирушами.
АМП работает под непосредственным руководством
начальника смены, четко и своевременно выполняет его распоряжения.
Для обеспечения пожаро и взрывобезопасности АМП
обязан осуществлять контроль режима работы оборудования (температурой нагрева
подшипников, электродвигателей, параллельностью вальцовых валов, подпором
станка продуктом, попаданием посторонних предметов, наличием воды для
охлаждения, натяжкой ремней приводов и их укомплектованностью).
Работник несет ответственность за нарушение
требований настоящей инструкции в порядке, установленном Правилами внутреннего
трудового распорядка организации и действующим законодательством.
6.3 Требования по охране труда перед началом работы
Приступая к работе, АМП должен надеть
спецодежду, тщательно заправить ее, не допуская свисающих концов, волосы убрать
под головной убор, обувь должна быть удобная, закрытая, без каблука.
Работник должен ознакомиться с результатами
предыдущей смены, выяснить все имеющиеся технические неполадки в работе
оборудования, внимательно осмотреть рабочее место и проверить, нет ли на
рабочем месте посторонних предметов, свободны ли проходы, исправность
освещения, аспирации, подключения заземления, наличия необходимого инвентаря,
инструментов, приспособлений.
Проверить исправность оборудования, температуру
подшипников, электродвигателей, наличие и исправность ограждений приводов.
Наружным осмотром проверить исправность электроаппаратуры, средств
сигнализации, исправность электроосвещения, средств заземления, аспирационных
сетей.
При дистанционном пуске, услышав звуковой
сигнал, закрыть дверцы и люки, не прикасаться к вращающимся деталям и убрать
руки из опасной зоны оборудования.
В случае обнаружения неисправностей следует
сообщить об этом начальнику смены и действовать по его указанию.
6.4 Требования по охране труда при выполнении работы
Рабочее место содержать в надлежащем порядке.
Во время работы станков убирать пыль с наружной
стороны, своевременно убирать завалы.
Не открывать без необходимости дверки и люки
оборудования и не допускать выбросов пыли в помещение.
Пробы продукта отбирать, используя совок с диэлектрической
ручкой.
Не допускается чистить
и вынимать щитки для подачи продуктов от питающих валиков к рабочей зоне при
работе вальцового станка, а также подхватывать руками посторонние предметы,
попавшие в станок. В случае попадания таких предметов необходимо немедленно
отключить станок и вынуть их после полной остановки станка. Двери и лючки
станка должны быть закрыты и не допускать пыли в помещение.
При нарушении параллельности валов, подпоре
продуктом валков, непоступлении продукта на станок необходимо остановить
вальцовый станок и устранить неполадки. Для внутренней очистки пользоваться
только специальным крючком.
Не допускается проводить техническое
обслуживание, очистку и ремонт во время работы оборудования или если
оборудование не заблокировано от случайного включения (трехпозиционный
переключатель установлен в положение «0»).
Во время работы необходимо следить за
равномерным поступлением продукта в ситовеечную машину.
Не допускать россыпь продукта вокруг машины,
регулярно очищать элементы оборудования от осевшей пыли только во время
остановки. Контролировать и обеспечивать герметичность люков и соединений.
Работник должен поддерживать рабочее место в
надлежащем порядке и следить за наличием и исправностью тканевых рукавов на
выпускаемых патрубках.
При очистке аспирационных воздуховодов не
допускается становиться на горизонтальные участки воздуховодов и приставлять к
ним лестницы.
АМП должен производить очистку магнитов от
металлопримесей не реже одного раза в смену. Очистку производить в рукавицах
ручной щеткой в сторону противоположную от глаз.
Собранные в специальный ящик металлопримеси
необходимо сдать в лабораторию, а данные о количестве и характере
металлопримесей занести в журнал.
Рассев должен вращаться равномерно без стуков и
ударов, приводные ремни не должны пробуксовывать, тросы должны иметь одинаковое
натяжение.
Следить за равномерным поступлением продукта в
приемные патрубки рассевов и выходом продукта, следить за надежным креплением
матерчатых рукавов, герметичностью их соединений.
Не допускать россыпей продукта вокруг рассева,
регулярно очищать оборудование от осевшей пыли (во время остановки).
Не останавливать рассев, работающий нормально в
период разбега, а также не включать рассев повторно, если он полностью не
остановился. При сбивании с нормального хода или появлении стуков в рассеве его
останавливают, прекратив подачу продукта.
Во время работы не загромождать проходы, подход
к пультам управления и выходы из помещения.
6.5 Требования по охране труда по окончании работы
Обо всех обнаруженных нарушениях охраны труда
сообщить начальнику смены или начальнику мельницы.
По окончании смены работник должен привести в
порядок свое рабочее место, используя щетки с длинной ручкой и другой инвентарь
для безопасного проведения работ.
Убрать спецодежду и СИЗ в гардероб.
Перед переодеванием в личную одежду принять
гигиенический душ.
Оставаться в цеху или на территории организации
после окончания смены без ведома начальника мельницы не допускается.
6.6 Требования по охране труда в аварийных ситуациях
При возникновении опасных предаварийных ситуаций
(запах нагретого продукта, гари, дыма, попадание в оборудование посторонних
предметов, завала оборудования продуктом и т.д.) все технологическое
оборудование должно быть остановлено и тщательно проверено. Запуск его возможен
только после выявления и устранения причин неполадок.
К аварийным ситуациям или несчастным случаям
могут привести:
· попадание посторонних предметов в
рабочую зону;
· появление посторонних звуков при
работе станков;
· наличие напряжения электричества на
корпусе станка;
· повреждение, искрение или загорание
проводки;
· попадание в опасную зону или захват
рук, одежды людей;
· вибрация станка, электродвигателя,
трубопроводов;
· завал станка продуктом;
· нагрев подшипников выше 60оС.
В случае возникновения аварийной ситуации АМП
обязан остановить оборудование и принять меры по устранению вышеуказанных
ситуаций.
В случае возникновения пожара или взрыва АМП
должен:
· нажатием кнопки ручного пожарного
извещателя (ИПР) сообщить об аварии дежурному;
· нажатием кнопки звукового сигнала
оповестить весь обслуживающий персонал об аварии;
· кнопкой аварийной остановки
отключить технологическое, транспортное и аспирационное оборудование;
· сообщить в сторожевую охрану
организации по телефону 225;
· приступить к тушению загорания
имеющимися средствами пожаротушения;
· оказать при необходимости первую
доврачебную помощь пострадавшему: сделать искусственное дыхание, наложить
повязку на рану, жгуты с указанием времени при кровотечениях и при
необходимости вызвать скорую помощь по телефону 103;
· в случае угрозы жизни покинуть
помещение.
В случае получения травмы или внезапного
заболевания пострадавший должен сообщить начальнику смены и обратиться в
здравпункт.
7. ЭКОЛОГИЯ
Производственный процесс хлебоприемных и
зерноперерабатывающих предприятий существенно влияет на состояние окружающей
среды. Это влияние характеризуется следующими основными направлениями:
загрязнение воздуха за счет выброса пыли и токсичных веществ, загрязнение зерно
продуктов, выделение сточных вод, производственный шум.
В процессе очистки зерна от примесей и сухой
очистки его поверхности, а также при перемещениях зерна образуется значительное
количество минеральной и органической пыли. При измельчении и сортировании
зерна и промежуточных продуктов также образуется пыль, которая в ряде случаев
представляет ценную высокобелковую фракцию муки, потеря ее недопустима. Для
предотвращения выноса пыли в атмосферу и загрязнения прилегающей к предприятию
местности на заводе предусмотрена система аспирации с определенным количеством
отсасываемого воздуха из всех точек пылевыделения.
Воздух надежно очищается от пыли в
пылеотделителях различных конструкций. Выбросы пыли в атмосферу на новых
мукомольных заводах, как правило, ниже установленных норм. Порядок определения
предельно допустимых концентраций (ПДК) выбросов вредных веществ в атмосферу
регламентируется ГОСТ 17.2.02-78 "Охрана природы. Атмосфера. Правила
установления допустимых выбросов вредных веществ промышленными
предприятиями".
Методика определения объема выбросов, расхода
воздуха и концентрации пыли, разработанная ВНИИЗ, устанавливает порядок
контроля суммарной и единичной мощности выбросов пыли (количества пыли,
выбрасываемого в атмосферу в единицу времени) аспирационными и
пневмотранспортными установками предприятий по хранению и переработке зерна.
В соответствии с действующими нормами
концентрация пыли в воздухе, выбрасываемом в атмосферу, не должна превышать
допустимую концентрацию пыли в воздухе рабочих зон более чем в 15 раз, т. е. не
более 60 мг/м3 для зерновой пыли и 100 мг/м3 - для мучной. Для предприятий
системы хлебопродуктов в воздухе рабочей зоны производственных помещений ПДК
зерновой пыли должна составлять 4 мг/м3, мучной - 6 мг/м3.
Кроме негативных последствий загрязнения
атмосферного воздуха, зерновая и мучная пыль является причиной возникновения
взрывов на хлебоприемных, и зерноперерабатывающих предприятиях. Взрыв
пылевоздушной смеси происходит при наличии определенной концентрации
(взрывоопасной) и источника зажигания с температурой и энергией, достаточной
для воспламенения.
Запыленность воздуха в производственных
помещениях в значительной мере зависит от герметизации оборудования, от режимов
отсоса воздуха аспирируемых машин и других точек пылевыделения, от
конструктивного исполнения, состояния и режимов работы рабочих органов машин.
Наряду с загрязнением воздуха в результате
пылевыделения практика химической защиты зернопродуктов от вредителей связана с
выбросом токсичных веществ в атмосферу. Препараты, применяемые для этой цели (пестициды),
являются потенциальным источником загрязнения окружающей среды: воздуха, воды,
почвы и зернопродуктов. Токсичность пестицидов, характер их воздействия,
остаточное содержание в зернопродуктах строго регламентируются и контролируются
с точки зрения техники безопасности и охраны окружающей среды. Например,
допустимое остаточное содержание бромистого метила, применяемого для газации,
составляет 35 мг/кг в зерне, 10 мг/кг в муке, 3 мг/кг в хлебе и 1 мг/м3 в
воздухе рабочей зоны. Поэтому каждый препарат, внедряемый для борьбы с
вредителями зернопродуктов, тщательно изучают и устанавливают условия его
применения, нормы расхода, оценивают возможные негативные последствия
применения, предельно допустимые концентрации его в зернопродуктах, воздухе,
воде и на почве, а также меры безопасности при работе с ним.
На мукомольных заводах ежегодно проводят газацию
всех производственных помещений. При подготовке к газации необходимы строгое
соблюдение ее технологии, обеспечение герметичности и чистоты помещений, предварительная
оценка метеорологических условий периода газации и дегазации (влажность,
температура, давление воздуха). Контроль за проведением процесса газации и
полнотой дегазации после химической обработки помещений, определение
остаточного содержания пестицидов, порядок сдачи объектов после газации
гарантируют безопасность этих мероприятий для людей и снижают уровень
загрязнения окружающей среды.
Зерноперерабатывающие предприятия используют
воду для производственных (технологических) нужд, на хозяйственно-бытовые цели
и пожаротушение. На мукомольных заводах воду расходуют на обработку зерна в
машинах мокрого шелушения, аппаратах и машинах для увлажнения зерна, для
охлаждения вальцов вальцовых станков и для обработки воздуха в кондиционерах.
На мукомольном заводе с комплектным
оборудованием производительностью 500 т/сут расход воды на производственные
нужды составляет около 10 м3/ч, а на хозяйственные - до 0,3 м3/ч. Этот расход
определяется с учетом воды в оборотной системе водоснабжения: в системе охлаждения
вальцов и рециркуляции в промывных камерах кондиционеров. В соответствии с этим
в бытовую и производственную канализацию отводится до 6 м3/ч сточных вод.
Производственные сточные воды подразделяют на
незагрязненные (в основном охлаждающие) и загрязненные после машин мокрого
шелушения. В сточных водах после машин мокрого шелушения содержатся частицы
органического и минерального происхождения, микроорганизмы. Эти воды фильтруют
через сита в специальных сепараторах, мокрые отходы отжимают, просушивают и используют
для кормовых целей. Степень очистки воды от примесей достигает 55 %. Вода
выводится в канализацию для последующей очистки и обеззараживания в системе
очистных сооружений сточных вод до установленных водоохраной норм.
В настоящее время в системе хлебопродуктов
разработана и осуществляется комплексная целевая программа водоохранных
мероприятий по предотвращению загрязнения вод на период до 1990 г. Наряду со
строительством эффективных водоочистных сооружений перспективным направлением
является широкое внедрение бессточной технологии гидрообработки зерна.
В системе мероприятий по охране окружающей среды
важное место занимает проблема отходов. В процессе подготовки зерна к помолу
его очищают от различных примесей, образующих отходы различных категорий, в том
числе значительное количество ценных кормовых и негодных отходов. Перспективным
направлением являются более эффективное использование зерна и разработка
рентабельных методов утилизации отходов.
В производственных помещениях мукомольных
заводов работа машин с быстровращающимися и колеблющимися органами
сопровождается шумом и вибрацией. При длительном воздействии они неблагоприятно
влияют на организм человека: вызывают снижение слуха, утомляют, притупляют
внимание, вызывают специфические заболевания. В нашей стране допустимые уровни
звука и звукового давления определяет ГОСТ 12.1.003-83 "Шум. Общие
требования безопасности". Нормируемыми параметрами являются уровень звука
в дБА, измеряемый по шкале "А" шумомера, а также уровень звукового
давления в дБ, измеряемый на среднегеометрических частотах октавных полос.
Звуки разных частот при одинаковых уровнях
звукового давления по-разному воздействуют на органы слуха человека. Наиболее
неприятны для человека звуки высоких частот. Это учитывается при нормировании уровней
шума и применении звукопоглощающих устройств и материалов, эффективность
которых зависит от частоты. Поэтому для успешной борьбы с шумом необходимо
знать его частотный спектр. Для изучения распределения частот шума в
измерительную аппаратуру введены акустические фильтры, частотные характеристики
которых обозначены буквами А, В, С и В. Соответственно результаты измерений
обозначаются дБ А, дБ В и т. д. Характеристика "А" в наибольшей
степени приближает измерения акустического шума к восприятию звука человеком. В
практике замеров уровней шума на предприятиях системы хлебопродуктов в основном
измеряют уровень звука по характеристике "А" шумом ер а.
Как показали замеры, наиболее
"шумными" являются помещения, где установлены вальцовые станки и
воздуходувные машины.
Результаты исследования показали, что уровни
шума в большинстве производственных помещений превышают установленные нормы как
по уровню звука в дБ А, так и в октавном спектре частот. Однако на новых
заводах с высокопроизводительным оборудованием обслуживающий персонал не должен
постоянно находиться около машин, поэтому шум воздействует на него ограниченное
время. Вся информация о работе завода и управление им сосредоточены на пульте,
где постоянно находится оператор. Уровни шума в помещении пульта управления
мукомольного завода значительно ниже допустимых норм. Следует отметить, что
уровень шума на новых мукомольных заводах снижен на 10... 12 дБ по сравнению с
заводами, построенными ранее, за счет качественного изготовления и динамической
балансировки вращающихся рабочих органов, зубчатых передач, установки приводов
вальцовых станков под перекрытием, применения звукопоглощающих материалов и
покрытий, глушителей, установки воздуходувных машин в изолированном помещении
первого этажа.
Гигиенические нормы вибрации на рабочих местах в
производственных помещениях предприятий регламентируются ГОСТ 12. 1.012-78
ССБТ. Анализ параметров вибрации на рабочих местах показал, что практически все
машины новых заводов создают вибрации, не превышающие установленных норм.
Мероприятия по охране окружающей среды,
направленные в первую очередь на создание здоровых и безопасных условий труда и
быта людей, являются важнейшим слагаемым производственной деятельности всех
промышленных предприятий, мощным рычагом увеличения производительности труда и
ускорения НТП отрасли.
ЗАКЛЮЧЕНИЕ
В данном дипломном проекте был проведен анализ
конструкций обоечных машин на предприятии ООО «Мельник». Также был проведен
анализ технологии производства муки на данном предприятии. В ходе анализа
состояния оборудования было обнаружено, что обоечная машина использует свой
рабочий объем всего лишь на 40 %, для устранения этой проблемы было применено
следующая модернизация: усовершенствование конструкции обоечной машины выглядит
так. Цилиндрический корпус обоечной машины состоит из основания крышки, в торце
которой с одной стороны имеется сварной приемный патрубок. Выход зерна
осуществляется через выходное отверстие в противоположной стороне корпуса
машины. Бичевой вал основной рабочий орган машины. Он состоит из вала, на
котором закреплены винтами 9 пар бичей, представляющих собой стальные пластины.
Исходное зерно поступает через приемный
патрубок, подхватывается бичями и подвергается интенсивному трению о бичи и
внутреннюю стенку корпуса цилиндра, причем плоскость бичей составляет с осью
вала угол 15°, что позволяет в процессе работы перемещать
зерно от выходного патрубка к отверстию корпуса обоечной машины.
Бичевой вал установлен в подшипниковых опорах и
получает вращение от электродвигателя через муфту.
Согласно экономическому анализу - данная
модернизация требует материальных затрат, но в итоге модернизированное
оборудование будет более экономично.
Список литературы
1. Аскарова,
А. А. Совершенствование процессов первичной обработки и хранения зерна : [в
механизированных складах и элеваторах] / А. А. Аскарова, А. Д. Аскаров //
Аграрная наука. - 2010. - № 9. - С. 26-28. - Библиогр.: с. 27-28 (18 назв.).
. Власов
А.М. Оборудование зерноперерабатывающих предприятий [Текст+ЭР] : справочник /
А. М. Власов, 2003. - 176 с
. Войсковой,
А. И. Хранение и оценка качества зерна и семян: учебное пособие для студентов
по агрономическим специальностям / А. И. Войсковой, А. Е. Зубов, О. А. Гурская
; Ставроп. гос. аграр. ун-т. - Изд. 2-е, перераб. и доп. - М. : Колос ;
Ставрополь : Агрус, 2011. - 146 с., [12] л. цв. ил. : табл.
. Ганиев,
М. М. Вредители и болезни зерна и зернопродуктов при хранении : учебное пособие
для студентов с.-х. вузов / М. М. Ганиев, В. Д. Недорезков, Х. Г. Шарипов. - М.
: Колосс, 2012 (Чебоксары). - 206, [2] с. : ил.
. Гордеев
А. В. Российское зерно - стратегический товар XXI века: учебник / А. В.
Гордеев, В. А. Бутковский, А. И. Алтухов. - М.: ДеЛи принт, 2014. - 472 с.
. Драгилев
А. И. Технологическое оборудование: хлебопекарное, макаронное и кондитерское:
учебник / А. И. Драгилев, В. М. Хромеенков, М. Е. Чернов. - 2-е изд., стер. -
М.: Академия, 2012. - 432 с.
. Емельянова
Ф. Н. Организация переработки сельскохозяйственной продукции: учеб. пособие для
вузов / Ф. Н. Емельянова, Н. К. Кириллов. - М.: ЭКМОС, 2010. - 384 с.
. Кошевой
Е.П. Практикум по расчётам технологического оборудования пищевых производств
[Текст+ЭР] : учебное пособие для студентов вузов по специальности "Машины
и аппараты пищевых производств" / Е. П. Кошевой, 2007. - 323 с.
. Кретов
И.Т. Технологическое оборудование предприятий пищевой промышленности / И.Т.
Кретов. - Воронеж: Изд-во Воронежского ун-та, 2012. - 448 с.
. Куликов
В.Н. Оборудование предприятий элеваторной и зерноперерабатывающей
промышленности / В.Н. Куликов, М.Е. Миловидов. М.: Агропромиздат, 2011. - 383
с.
. Курочкин
А. А. Основы расчета и конструирования машин и аппаратов перерабатывающих
производств: учебник / А. А. Курочкин, В. М. Зимняков. М.: КолосС, 2012. - 320
с.
. Кутепова
М.А. Товароведение пищевых продуктов / М.А. Кутепова, З.П. Матюхина. - М.:
Высшая школа, 2013. - 158 с.
. Ларионов,
Г. А. Практикум по технологии хранения, переработки и стандартизации зерна:
учебное пособие / Г. А. Ларионов, П. В. Диомидов ; Чуваш. гос. с.-х. акад. -
Чебоксары ЧГСХА, 2014. - 236 с. : ил.
. Лебедев
Е.И. Комплексное использование сырья в пищевой промышленности / Е.И. Лебедев. -
М.: Легкая и пищевая промышленность, 2012. - 239с.
. Машарова
Г.М. Технологический контроль на предприятиях по хранению и переработке зерна /
Г.М. Машарова, Г.Т. Крамаренко. - М.: КолоС. - 2012. -307 с.
. Машины
и аппараты пищевых производств [Текст] : учебник для студентов специальности
"Машины и аппараты пищевых производств" учреждений, обеспечивающих
получение высшего образования : в 3-х книгах. Кн. 2. Т. 1 / С. Т. Антипов [и
др.] ; под ред.: В. А. Панфилова, В. Я. Груданова, 2008. - 619 с.
. Машины
и аппараты пищевых производств [Текст] : учебник для студентов специальности
"Машины и аппараты пищевых производств" учреждений, обеспечивающих
получение высшего образования : в 3-х книгах. Кн. 3 / С. Т. Антипов [и др.] ;
под ред.: В. А. Панфилова, В. Я. Груданова, 2008. - 579 с.
. Мельник
Б.Е. Технология приемки, хранения и переработки зерна / Б.Е. Мельник, В.Б.
Лебедев, Г.А. Вишняков. - М.: Агропромиздат, 2010.- 367 с.
. Михелев
А.А. Справочник по хлебопекарному производству /А.А. Михелев. - М.: Пищевая
промышленность, 2014. - 366с.
. Оборудование
и автоматизация перерабатывающих производств [Текст] : учебник для студентов
вузов, обучающихся по специальности 110305 "Технология производства и
переработки сельскохозяйственной продукции" / А. А. Курочкин [и др.],
2007. - 590 с.
. Основы
технологии производства и первичной обработки продукции животноводства : учеб.
пособие / ред. Л. Ю. Киселев. - СПб. : Лань, 2013. - 448 с.
. Остриков
А.Н. расчёт и конструирование машин и аппаратов пищевых производств [Текст] :
учебник для студентов вузов, обучающихся по специальности 271300 "Пищевая
инженерия малых предприятий" и специальности "Машины и аппараты
пищевых производств" / А. Н. Остриков, О. В. Абрамов, 2004. - 347 с.
. Пилипюк,
В. Л. Технология хранения зерна и семян : учебное пособие для студентов,
обучающихся по агрономическим специальностям / В. Л. Пилипюк. - М. : Вузовский
учебник, 2011. - 455, [1] с. : ил., граф., табл., схем.
. Практикум
по оборудованию и автоматизации перерабатывающих производств [Текст] : учебное
пособие для студентов вузов, обучающихся по специальности 110305
"Технология производства и переработки сельскохозяйственной
продукции" / Г. В. Шабурова [и др.], 2007. - 183 с.
. Сегеда
Д.Г. Охрана труда в пищевой промышленности / Д.Г. Сегеда, В.И. Дашевский. - М.:
Легкая и пищевая промышленность, 2013. - 344 с.
. Сенькин
Е.Г. Техника безопасности и противопожарная техника в пищевой промышленности /
Е.Г. Сенькин. - М.: Пищевая промышленность, 2013.- 302 с.
. Скверчак
Д.А. Техника безопасности на предприятиях по хранению и переработке зерна /
Д.А. Скверчак, В.Г. Пономарев.- М.: Колос, 2010. - 376
. Скрипников
Ю.П. Оборудование предприятий по хранению и переработке плодов и овощей / Ю.П.
Скрипников, Э.С. Гореньков. - М.: Колос, 2013. - 270 с.
. Соколов
А.Я. Технологическое оборудование предприятий по хранению и переработке зерна /
А.Я. Соколов, В.Ф. Журавлев. - М.: Колос, 2014. - 445с.
. Сологуб
А.М. Экономика, организация и планирование производства отрасли хлебопродуктов
/ А.М. Сологуб. - М.: Колос, 2011. - 270 с.
. Технологическое
оборудование для переработки продукции растениеводства [Текст] : учебное
пособие для студентов вузов, обучающихся по специальности 311500
"Механизация переработки сельскохозяйственной продукции" / С. В.
Байкин [и др.] ; под ред. А. А. Курочкина, 2007. - 445 с.
. Технологическое
оборудование для переработки продукции растениеводства: учебник / С. В. Байкин
[и др.]; ред. А. А. Курочкин. - М.: КолосС, 2014. - 445 с.
. Технологическое
оборудование предприятий отрасли (зерноперерабатывающие предприятия) [Текст] :
учебник для студентов вузов, обучающихся по специальности "Технология
хранения и переработки зерна" / Л. А. Глебов [и др.], 2006. - 816 с.
. Технология
переработки растениеводческой продукции: учебник / Н. М. Личко [и др.]; ред. Н.
М. Щербакова. - М.: КолосС, 2014. - 583 с.
. Торжинская
Л.Р. Технологический контроль хлебопродуктов / Л.Р. Торжинская, В.А. Яковенко.
- М.: Агропромиздат, 2013. - 399 с.
. Трисвятский
Л.А. Технология приема, обработки, хранения зерна и продуктов его переработки/
Л.А. Трисвятский, Б.Е. Мельник. - М.: Колос, 2013. - 351 с.
. Трисвятский
Л.А. Хранение зерна / Л.А. Трисвятский - М.: Агропромиздат, 2013. - 351 с.
. Трисвятский
Л.А. Хранение и технология сельскохозяйственных продуктов/ Л.А. Трисвятский,
Б.В. Лесик, В.Н. Кудина. - М.: Агропромиздат, 2011. - 415 с.
. Хроменков
В.М. Оборудование хлебопекарного производства / В.М. Хроменков. - М.: ИРПО, Академия,
2010. - 320с.
. Чеботарев
О. Н Технология муки, крупы и комбикормов / О. Н Чеботарев, А. Ю. Шаззо, Я. Ф.
Мартыненко. - М.: ИКЦ "МарТ"; Ростов н/Д: Издательский центр
"МарТ", 2014. - 688 с.
. Шаршунов
В. А. Сушка и хранение зерна [Текст] : [справочное пособие] / В. А. Шаршунов,
Л. В. Рукшан, 2010. - 588 с.
. Экономика
сельского хозяйства / В. Т. Водянников, А. И. Лысенко, А. И. Лысюк и др.; под
ред. В. Т. Водянникова. - М.: КолосС, 2012. - 390с.
. Экономика
сельского хозяйства / Н. Я. Коваленко, В. С. Сорокин, С. А. Орехов и др.; под
ред. Н. Я. Коваленко. - М.: КолосС, 2014. - 208 с.
. Юдаев,
Н. В. Элеваторы, склады, зерносушилки : учебное пособие для студентов вузов /
Н. В. Юдаев. - СПб. : ГИОРД, 2013. - 118 с.
. Юкиш
А.Е. Техника и технология хранения зерна [Текст+ЭР] / А. Е. Юкиш, О. И. Ильина,
2009. - 717 с.
. Юкиш,
А. Е. Технология и организация хранения зерна: учебник ДеЛи плюс, Несерийное
издание. Рубрика: «Заготовки, хранение, переработка продуктов сельского
хозяйства и сырья.», 2015.- 717 с.