Процесс поверхностной обработки зерна

  • Вид работы:
    Курсовая работа (т)
  • Предмет:
    Другое
  • Язык:
    Русский
    ,
    Формат файла:
    MS Word
    439,3 Кб
  • Опубликовано:
    2014-11-18
Вы можете узнать стоимость помощи в написании студенческой работы.
Помощь в написании работы, которую точно примут!

Процесс поверхностной обработки зерна

Содержание

Введение

1. Состояние вопроса

. Литературный и патентный обзор аппаратов для поверхностной очистки зерна

2.1 Классификация машин

2.2 Общие данные об обоечных машинах

2.3 Описание машин

.4 Выбор оптимальной машины

. Описание машины с внесенными изменениями

.1 Назначение и область применения

.2 Принцип действия

.3 Усовершенствование машины

. Прочностные расчеты

.1 Расчет призматической шпонки

4.2 Расчет подшипников

4.3 Расчет клиноременной передачи

.4 Расчет вала на выносливость

.5 Расчет производительности

.6 Расчет потребляемой мощности

Заключение

Литература

Введение

Зерноперерабатывающая промышленность одна из ведущих отраслей народного хозяйства нашей страны, которая вырабатывает муку и крупы, а также комбикорма. Мукомольная и крупяная промышленность тесно связана с сельскохозяйственным производством и пищевой промышленностью, прежде всего хлебопекарной. Мукомольная и крупяная промышленность нашей страны добилась значительных успехов в своем развитии и совершенствовании. При содержании в пшенице около 77...83% наиболее ценной ее части - эндосперма на передовых мукомольных заводах получают 65...75% муки по качеству, близкой к качеству эндосперма. Эффективность технологических процессов производства и муки и крупы определяется уровнем использования зерна и электроэнергии, а так же качеством вырабатываемой муки и крупы на эффективность переработки зерна в муку и крупу оказывают влияние технологические свойства перерабатываемого зерна, структура и режимы технологического процесса на мукомольном крупяном заводах, состав технологического и транспортного оборудования. Технологические процессы переработки зерна в муку сопровождаются сложными структурно механическими, физико-химическими и биохимическими изменениями в зерне и готовой продукции. Поэтому знание закономерностей указанных изменений не только составляет сущность изучения технологии мукомольного и крупяного производства, но и служит основой дальнейшего совершенствования технологических процессов переработки зерна в муку и крупу [8].

Одной из важных операций в мукомольном и крупяном производстве является очистка зерна от пыли, надорванных в процессе обработки плодовых оболочек, а также частичного отделения зародыша и бородки [15].

1. Состояние вопроса

Очистка зерна от примесей - важнейший приём в обработки зерна, существенно влияющий на стабильность качества хранения зерна, улучшающий качество партии зерна, передаваемых в переработку; повышающий эффективность работы и производительность технологического оборудования.

В зерноочистительных машинах применяют различные рабочие органы, работа которых основана на использовании определённого признака делимости зерновой массы. Признаки делимости зерновой массы: размеры (длинна, толщина, ширена); аэродинамические свойства (скорость витания); форма и состояние поверхности (фрикционные свойства); плотность (гравитационные свойства); цвет, упругость. Магнитные свойства и др.

Принципы и способы разделения зерна и примесей, наиболее широко применяемые в практике:

по ширине - на ситах с круглыми отверстиями;

по толщине - на ячеистой поверхности;

форме - на ситах с фасонными отверстиями;

на аэродинамическими свойствами - в пневматических каналах;

по форме и состоянию поверхности;

на ворсистой наклонной поверхности;

по упругости и коэффициенту ударного трения - виброударное сепарирование;

В технологических линиях предусматривают: предварительную очистку на ворохоочистителях или сепараторах перед сушкой (для удаления грубых и лёгких примесей); однократную или двух кратную очистку зерна на воздушно - ситовых сепараторах (после сушки) для доведения зерна до нужных кондиций.

Если этого недостаточно, производят дополнительную очистку, используя триеры, а аспираторы, пневматолы, корнеотборники, в зависимости от состава и количество оставшихся примесей в очищаемом зерне. Очистку считают эффективной, если содержание сорной примеси после неё не>2%, зерновой не >5 и вредной (спорыньи, головни) ≤0,2%.

Для очистки зерна в сепараторах устанавливают в основном исталенованные сита, на листовой стали толщиной 0,8-1,0 мм. Форма отверстий сит для сепарирования смеси по ширине частиц круглая, по толщине прямоугольная, по форме треугольная. Подборке сит должно быть уделено особое внимание. Следует обеспечить равномерную подачу зерна не сито машины по всей ширине питающего механизма [16].

Для обработки верхнего покрова зерна на мукомольных заводах применяют обоечные машины. Технологический процесс при сортовых помолах предусматривает не менее двух пропусков (проходов) зерна через эти машины. Отечественная промышленность изготовляет два типа обоечных машин с абразивным цилиндром (наждачные) и со стальным цилиндром ("мягкие"). Обоечные машины выпускают, как с замкнутой (типа ЗОН), так и с разомкнутой (типа ЗНМ) циркуляции воздуха. По конструкции бичевого барабана обоечные машины бывают двух типов - радиально - бичевые и продольно-бичевые.

В обоечных машинах отделяют от зерна пыль, частично отслоившуюся оболочку, разбивают мелкие комочки земли. Обоечные машины применяют также на крупяных заводах для шелушения овса, ячменя и риса [11].

2. Литературный обзор аппаратов для поверхностной очистки зерна

2.1 Классификация машин

Обоечные машины классифицируют: по расположению корпуса - на горизонтальные и вертикальные; по типу поверхности рабочего цилиндра - на машины с абразивной (наждачной) поверхностью, с гладкой стальной поверхностью и с металлотканой поверхностью; по расположению рабочих органов на барабане - с продольным и радиальным расположением бичей; по типу системы циркуляции воздуха - с замкнутой и разомкнутой системами циркуляции воздуха; в зависимости от способа удалению выделенных примесей - с осадочной камерой и без нее;

В зависимости от способа транспортирования зерна - с внутрицеховым механическим транспортом и внутрицеховым пневматическим транспортом.

.2 Общие данные об обоечных машинах

Поверхность рабочей зоны покрывается абразивной массой с крупностью кристаллов (зернистость) от № 20 до № 26. Чем крупнее кристаллы, тем интенсивнее происходит шелушение.

Окружная скорость рабочих органов при обработке пшеницы оптимальной влажности 13 - 15 м/сек, а при обработке ржи 15 - 18 м/сек. Это объясняется тем что зерно пшеницы более хрупкое, чем зерно ржи, и легче поддается разрушению при ударе.

Угол наклона бичей к образующей колеблется в пределах 5 - 10°. От угла наклона зависит длина сложного криволинейного пути зерна в машине. Изменяя величину угла наклона бичей, можно регулировать продолжительность пребывания зерна в машине, т. е. интенсивность его обработки, влияющую на технологический эффект. Продолжительность пребывания зерна в обоечной машине при скорости бичей 15 - 16 м/сек и уклоне 6° равна примерно 3,5 - 4,5 сек.

При увеличении нагрузки на машину с абразивной поверхностью увеличивается количество битых зерен.

Так как на качество работы машины влияет нагрузка, она должна оставаться равномерной. Рекомендуемая нагрузка на 1м2 внутренней поверхности абразивного барабана обоечной машины 28 т /сутки пшеницы и 24 т /сутки ржи. При работе одной и той же машины при одинаковом режиме, но на зерне с различными технологическими свойствами получают различный результат его обработки.

Технологический эффект очистки с замкнутым циклом воздуха характеризуется следующими основными показателями: снижение зольности зерна на 0,03%, увеличение битых зерен на 0,1%, снижение всхожести зерна на 3%, при этом удельный расход энергии значительно снижается.

Рекомендуемая нагрузка на 1 м2 внутренней поверхности стального цилиндра 75 - 100 т /сутки.

На мукомольных предприятиях в технологическую линию по подготовке зерна к помолу включают установку двух обоечных машин. Причём одна машина устанавливается перед увлажнением зерна, а другая после увлажнения. Это сделано для того, чтобы зерно на увлажнение поступало в частично очищенном от чешуек и бороздок виде вследствие чего сократиться расход воды и улучшиться увлажнение зерновок. Вторая машина устанавливается после увлажнения для повторного очищения зерна ,так как при увлажнении в зерне происходят физико - биологические изменения, в результате которых увеличивается эластичность оболочек ,облегчается их отделение, и появляется возможность увеличения нагрузок на зерно со стороны рабочих органов машин без его травмирования и разрушения. А из увеличения нагрузок следует более тщательное отделение органических и минеральных примесей т.е. снижение зольности [8]

2.3 Описание машин

Обоечная машина ЗНМ-5 предназначена для очистки поверхности зерна от пыли, частичного отделения плодовых оболочек и зародыша. Ее устанавливают В зерноочистительном отделении мельниц с механическим транспортом зерна. для работы в мельницах с пневматическим транспортом машина поставляется заводом-изготовителем в специальном исполнении, для чего 11 конце бичевого вала устанавливают крыльчатку броскового приёмника, подающего зерно в вертикальный продуктопровод. Машина выполнена в виде разъемного наждачного цилиндра, вращающегося в нем бичевого барабана 2 с продольными бичами, аспирационно-осадочного устройства 3, основания и электродвигателя 15. Наждачный цилиндр состоит из верхнего 12 и нижнего 14 желобов и люка-жалюзи 13. Нижний желоб установлен в основании, верхний в аспирационно-осадочном устройстве на болтовых соединениях что упрощает замену цилиндра при износе или повреждении абразивной поверхности.

Рисунок 2.1 - Общий вид обоечной машины ЗНМ-5: 1 - наждачный цилиндр; 2 - бичевой барабан; 3 - аспирационно-осадочное устройство; 4 - бич; 5 - чугунная розетка; 6 - отверстие для поступления воздуха в цилиндр; 7 - выпускной патрубок; 8 - люк; 9 - канал для выпуска относов; 10приемный патрубок; 11- аспирационный клапан; 12 - верхний желоб; 13 - жалюзи; 14 - нижний желоб; 15 - электродвигатель; 16 - система клапанов; 17-клиноременная передача

Каждый желоб состоит из 10 ячеек, двух боковин и абразивной массы. В торцевых стенках нижнего желоба сделаны отверстия 6 для поступления воздуха внутрь цилиндра. С внутренней стороны задней стенки установлен выпускной патрубок 7 с окном для забора воздуха, предназначенного для обработки слоя зерна на выходе из машины. С лицевой стороны стенки расположен люк 8, через который машина разгружается в случае завала. В верхнем желобе расположен патрубок, для приема зерна, смещенный от вертикальной оси цилиндра по ходу бичей. Чтобы в цилиндр не попадали крупные примеси и посторонние предметы, в приемном патрубке установлена решетка.

Бичевой барабан состоит из вала с двумя литыми чугунными розетками 5, к которым прикреплены 12 продольных бичей. Их наклон к продольной оси барабана обеспечивает перемещение зерна от приема к выходу по винтовой поверхности. Бичевой вал приводится во вращение от электродвигателя 15 через клиноременную передачу 17. Частоту вращения бичевого вала можно регулировать изменением диаметра шкива на валу электродвигателя. В машине предусмотрено защитное устройство, блокирующее ее пуск при открытом люке-жалюзи13. Аспирационно-осадочное устройство З включает аспирационную камеру и осадочный конус, в котором расположены клапан 11 для регулирования количества воздуха и канал 9 для выпуска относов. В связи с тем, что в данной машине вентилятор не предусмотрен, ее присоединяют к центральной аспирационной сети перерабатывающего цеха. Обоечная машина ЗНМ-5 работает следующим образом. Зерно через приемный патрубок 10 поступает во вращающийся барабан и бичами отбрасывается к внутренней поверхности наждачного цилиндра. Зерно отражается от нее, подхватывается бичами и вновь отбрасывается на неподвижную поверхность. В результате многократных ударов и трения об абразивную поверхность зерновая масса очищается и поступает в патрубок 7. Здесь зерно преодолевает сопротивление клапана 11 с противовесом и удаляется из машины через канал. При этом очищенное зерно дополнительно обеспыливается встречным потоком воздуха. Воздух засасывается в цилиндр через отверстия 6, захватывает отходы и уносит их через люк-жалюзи 13 в аспирационное устройство, в котором из-за резкого падения скорости воздушного потока более тяжелые относы осаждаются и по мере накопления в осадочном конусе под действием собственного веса открывают клапаны и выводятся из машины. Сравнительный анализ технических данных машин с абразивной поверхностью рабочего цилиндра и современных обоечных машин показывает, что для первых характерен довольно жесткий режим работы.

С одной стороны это приводит к тому, что у части обрабатываемого продукта не только отделяются пыль и частично оболочки, но и нарушается целостность и образуется довольно много битого зерна (в среднем до 1 %), поэтому считается, что машины такого, типа можно использовать без ограничений в обойных помолах, а. также при подготовке к сортовому помолу ржи. В схеме подготовки к сортовому помолу пшеницы эти обоечные машины желательно применять после увлажнения (ГТО); в этом случае оболочки зерна обладают повышенной вязкостью и меньше травмируются. С другой стороны, по сравнению с машинами типа БГО и БМО машины с абразивным цилиндром имеют и некоторые преимущества. Указанные типы машин оснащены ситовыми деками из проволоки граненого профиля специального плетения. Основные технические данные обоечных машин типа ЗНМ приведены в таблице 2.1. Со временем т связи с абразивными свойствами зерна грани заглаживаются и эффективность воздействия на верхние покровы зерна существенно уменьшается. Соответственно снижается и эффективность работы машины по уменьшению зольности, в то время как абразивные свойства наждачной поверхности по мере износа ухудшают не столь интенсивно и эффективность шелушения снижается но не значительно. В целом поверхность абразивных цилиндров более долговечна. Кроме того, она подлежит восстановлению, а металлические сетки не восстанавливаются, и их необходимо заменять. Особое значение обоечные машины такого типа имеют для мельниц малой мощности, где процессы очистки зерна сокращены. Отсюда и определенный интерес предприятий мало тоннажной переработки зерна к обоечным машинам с наждачной поверхностью.

Обоечная машина РЗ-БГО-6 (рисунок 2.2) горизонтального типа металлотканой поверхностью рабочего цилиндра и продольным расположением бичей ротора состоит из приемного устройства корпуса, бичевого ротора, сетчатого цилиндра, привода и ограждения. Приемное устройство установлено со стороны привода машины. Оно выполнено в виде патрубка 2 сварной конструкции, подающего зерно в магнитный аппарат З. Блок магнитов расположен в лотке, который легко снимается для удаления металломагнитных примесей. Магнитный аппарат снабжен грузовым клапаном. Корпус 1 сварен из листового материала и установлен на станине, представляющей собой две опоры. Со стороны привода расположена сплошная опора, а с противоположной - две стойки соединенные вверху поперечиной. В нижней части опор сделаны отверстия для крепления машины к полу. С одной стороны корпуса предусмотрены плотно прилегающая дверка с запорными ручками, а также отверстия для приемного устройства.

Бичевой ротор 6 - основной рабочий орган машины, состоящий из пустотелого вала, с торцов которого приварены полуоси, установленные в шарикоподшипниках. На консольной части полуоси расположен приводной шкив. На валу по образующей закреплены винтами восемь бичей, представляющих собой стальные продольные пластины к каждому бичу приварены короткие гонки, причем на четырех бичах гонки установлены под углом 80, а на остальные - под углом 60° к оси ротора. Высота гонков каждого бича разная: пять крайних гонков с обеих концов короче средних. В результате и скорость зерна в различных зонах цилиндра разная. В результате такого движения потоков зерна увеличивается интенсивность взаимного трения обрабатываемого сырья и соответственно повышается эффективность его очистки. Сетчатый цилиндр 4 состоит из двух одинаковых половин соединенных в продольной плоскости. Сетка, выполнена из проволоки граненого профиля специального плетения, прикреплена к деревянной раме винтами с увеличенной головкой. Сетчатый цилиндр зажимают на цилиндрических патрубках питателя и выпускного устройства. Привод машины - от электродвигателя 11 через клиноременную передачу 2. Клиновые ремни натягивают винтовым устройством. Фланец электродвигателя закреплен на вертикальной опоре машины болтами. Между фланцем и опорой установлена плита, жестко связанная с фланцем, в которой проделаны вертикальные прорези для перемещения электродвигателя при натяжении клиновых ремней. Выпускные устройства предназначены для вывода частиц, отделенных от зерна, проходом через сито и очищенного зерна - сходом с него. Для вывода частиц, отделенных от зерна, под сетчатым цилиндром установлен выпускной бункер 10, прикреплённых к корпусу машины. Очищенное зерно выводится через выпускной патрубок (типа улитки), установленный в торце сетчатого цилиндра со стороны, противоположной приему. Выпускной парубок повернут так, что зерно из машины поступает на вибропитатель вертикального пневмосепаратора 7. Обоечная машина работает следующим образом.

Рисунок 2.2 - Горизонтальная обоечная машина РЗ-БГО-6

- корпус; 2 - приёмный патрубок; 3-магнитный аппарат; 4 - сетчатый цилиндр; 5 - фланец для аспирационного воздуховода; 6-бичевой ротор; 7 - пневмосепаратор; 8-выпускной патрубок; 9 - стойка; 10 - выпускной бункер; 11 - электродвигатель; 12 -клиноремённая передача; 1-неочищенное зерно; 11- отходы; отходы; 111-очищенное зерно.

Зерно через приемник поступает в питатель, который равномерно подает его цилиндр.Здесь зерно захватывается бичами и обрабатывается т тем интенсивного трения о бичи, внутреннюю поверхность сетчатого цилиндра, а также за счет межзернового трения. Проход; рез сетчатый цилиндр отводится воронкой. Обработанное зерно выводится из машины по патрубку в аспирационный канал для дальнейшей очистки на пневмосепаратое. Особенность машины этого типа заключается в том, что пот вал бечевого ротора занимает до четверти рабочего объема сетчатого цилиндра, а угол наклона и высота планок бичей различны, результате в кольцевом зазоре, заполненном зерном, возникает сложная циркуляция обрабатываемого материала, при которой скорость отдельных зерен неодинакова. Этот фактор, а также скоростной режим работы бичевого ротора обеспечивают 1 высокую эффективность обработки поверхности зерна [7].

Обоечная машина РЗ-БМО-6 (рисунок 2.3) вертикального типа состоит из корпуса, загрузочно - питающего, выпускного устройств, сетчатого цилиндра бичевого ротора и привода. Цилиндрический корпус 8 представляет собой сварную неразборную конструкцию диаметром 890 мм, изготовленную из листового металла. В нижней части корпуса предусмотрено четыре отверстия для крепления его к перекрытию. С противоположных сторон корпуса расположены съемные двери с запорными ручками. Загрузочное устройство состоит из приемного патрубка 1 и загрузочной воронки. Патрубок представляет собой прозрачный цилиндрический стакан, нижняя часть которого установлена на крышке корпуса, а к верхней прикреплён гибкий рукав, соединяющий стакан с самотечной трубой, подающей зерно. Загрузочная воронка состоит из двух конусов 2 и З, концентрично установленных один над другим. Такое конструктивное решение загрузочной воронки исключает излишнее накопление зерна поступающего в машину. К нижнему конусу З воронки приварен питающий цилиндр 4. К его нижней части примыкает распределительный диск 5, подвешенный к конусу трех пружинах 12. Натяжение пружин отрегулировано так, что при отсутствии зерна диск прижимается к цилиндру. Вертикальный сетчатый цилиндр 11 собран из трех секторов, соединенных между собой через три продольные деревянные накладки болтами. Вверху и внизу сетчатый цилиндр опирается на внутренние кольца корпуса машины. Верхняя его часть для предохранения от преждевременного износа закрыта с внутренней стороны на высоту 250 мм сплошным металлическим листом, цилиндр выполнен из металлотканой сетки толщиной З мм с отверстиями 1,0 х 1,8 мм. Площадь сетчатой поверхности цилиндра 2,8 м. Бичевой ротор смонтирован на вертикальном валу 9 с помощью четырех крестовин 6, которые прикреплены к валу центрирующими штифтами. На крестовинах вертикально установлено семь плоских стальных бичей 7. Их верхние концы отогнуты в направлении вращения ротора. На бичах сделана нарезка для крепления их болтами к крестовинам и регулирования зазора (22...28 мм) между рабочей кромкой бичей и сетчатым цилиндром. Вал бичевого ротора вращается в двух самоустанавливающихся подшипниках. Верхний подшипник - роликовый, радиальный сферический, двухрядный. Он установлен в чугунном корпусе с крышкой и закреплен на валу втулкой и гайкой со стопорной шайбой. Нижний подшипник - шариковый, радиальный, сферический, двухрядный. Он расположен на закрепленной втулке стальном корпусе с крышкой.

Рисунок 2.3 - Вертикальная обоечная машина РЗ - БМО - 6

- впускной патрубок; 2 - корпус; 3 - выпускной патрубок; 4 - патрубок забора воздуха; 5 - аспирационный патрубок; 6 - вал; 7 - ситовой цилиндр; 8 - бичевой ротор; 9 - станина; 10 - электродвигатель; 11 - клиноременная передача


2.4 Выбор оптимальной машины

По удельным показателям строим гистограммы, чтобы наглядно выявить наилучшую марку обоечной машины. Данные удельных показателей заносим в таблицу 2.1

Строка 5 Техническая производительность, т/ч

Wт = Wп*τ (1)

где, Wп - паспортная производительность, т/ч;τ = 0,8.

Строка 6 Удельная материалоемкость, кг*ч/т

Муд = М/Wт, (2)

где, М - масса, кг.

где, N - установленная мощность, кВт

Строка 7 Удельная энергоемкость, кВт*ч/т

N уд = N/Wт, (3)

Строка 8 Габаритность

Г = L*B*H/Wт, (4)

где, Г - габаритность;

L - длина;

B - ширина;

H - высота.

Таблица 2.1 - Сравнительная характеристика обоечных машин

Технические данные критерии оценки

Марка машины


РЗ - БГО - 6

РЗ - БМО - 6

ЗНМ - 5

1.Производительность, т/ч

6

6..9

5

2.Установленная мощность, кВт

11

5,5

5

3.Габаритные размеры, м

1,403* 0,878* 2,943

1,505* 1,075* 1,850

2,130* 1,095* 2,185

4.Масса, кг.

865

406

1820

5.Техническая производительность т/ч

4,8

6

4

6.Удельная материалоемкость, кг*ч/т

180,2

67,7

455,0

7.Удельная энергоемкость, кВт*ч/т

2,3

0,9

1,3

8.Габаритность, м3ч/т

0,5

0,5

1,3

Строим гистограммы по удельным показателям выбранных аппаратов

Рисунок 2.4 - Гистограмма удельной материалоемкости аппаратов

Рисунок 2.5 - Гистограмма удельной энергоемкости аппаратов

Рисунок 2.6 - Гистограмма габаритности аппаратов

Из данной гистограммы видно, что наибольшим количеством положительных показателей обладает обоечная машина РЗ-БМО-6 ( самая низкая энергоёмкость и материалоёмкость), а наибольшим количеством отрицательных - ЗНМ-5 (самая высокая энергоёмкость и габаритность).

3. Описание выбранной машины с внесенными изменениями

.1 Назначение и область применения

Обоечная машина Р3-БМО-6 применяется в мукомольном, крупяном и комбикормовом производствах, работающих на комплектном оборудовании, для сухой очистки поверхности зерна, частичного отделения плодовых оболочек и зародыша, а также для шелушения овса и ячменя.

.2 Принцип действия

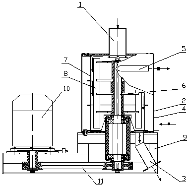
Зерно поступает внутрь машины через приёмный патрубок 1 и под действием центробежных сил инерции, возникающих при вращении вала 6, поступает на внутреннюю поверхность комбинированного сетчатого цилиндра 7, по которой скользит, описывая спиральную траекторию, постепенно приближаясь к выходному патрубку 3 в нижней части машины. При этом зерно, попадая в клиновидные зазоры, испытывает многократные истирающие переменные воздействия, приводящие к отслоению оболочки, далее за счёт трения о сетчатый цилиндр и между собой в рабочем зазоре происходит интенсивное шелушение зерновок. Мелкие частицы образующиеся в процессе шелушения зерна, проходят через отверстия сетчатого цилиндра и вместе с воздухом отсасываются из машины через отводящий патрубок. Ошелушенное зерно выходит из машины через выходной патрубок. Технологический процесс в вертикальных обоечных машинах происходит следующим образом. Зерно поступает в приемное устройство и, пройдя магнитную защиту, распределяется в кольцевом зазоре между бичами и сетчатым цилиндром, где подвергается многократному удару и трению о бичи и ситовой цилиндр, в результате чего его поверхность очищается, частично отделяются оболочки и зародыш.

Рисунок 3.1- Функциональная схема обоечной машины

- патрубок забора воздуха; 5 - аспирационный патрубок; 6 - вал;

- ситовой цилиндр; 8 - бичи; 9 - станина; 10 - электродвигатель;

- клиноременная передача

Одновременно зерно продвигается и выводится из машины. Проход ситового цилиндра, отходы, выводятся раздельно через выпускные патрубки.

Для обеспечения правильного режима обработки зерна в обоечной машине необходимо проводить регулировочные работы, установление магнитов перед обоечной машиной, во избежание образования искры, от случайного попадания в машину крупных металлических предметов. В процессе работы обязательно проверяется качество зерна и отходов, выходящих из машины. В случае увеличения сечки заменяют бичи, в следствии износа их кромки. При попадании годных зерен в отходы регулируют скорость воздуха. Следует постоянно следить за наличием смазки в подшипниковых опорах бичевого вала, не допуская их перегрева. Периодически, через каждые 320 часов работы, но не реже одного раза в 6 месяцев необходимо заменять смазку в подшипниках. Перед началом работы следует запустить машину на холостой ход и убедиться в отсутствии шумовых вибраций. Во избежание завалов следует очистить машину перед подготовкой к работе от остаточного зерна [4].

.3 Усовершенствование машины

Целью усовершенствования является повышение эффективности работы обоечной машины.

Цель достигается следующим образом: ситовой цилиндр устанавливается в специально изготовленный корпус к которому крепиться вал, на котором нарезаны зубья входящие в зацепление с зубчатым колесом установленным на валу бичевого ротора.

Технический результат достигается тем, что ситовой цилиндр, будет вращаться в противоположную сторону от бичевого ротора, тем самым увеличивая ударное воздействие на зерновой материал.

Такое техническое решение позволит увеличить производительность машины и качество обработки зерна.

4. Прочностные расчеты

очистка зерно обоечный машина

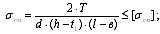
4.1 Расчет призматической шпонки

Материал для шпонки берем сталь 30 так как вал состоит из материала сталь 45. [σсм] = 45 Н/мм2


где Т -вращающий момент на валу, Н м; d - диаметр вала, мм; h - высота шпонки, мм; t1 - глубина паза вала, мм; l - длина шпонки, мм; в - ширина шпонки, мм.

Выбираем необходимые параметры; электродвигатель 4А100S3У3

Nдв = 6кВт, nдв = 1140 об/мин, мм, t1 = 5мм, l = 70мм, [30].


Таким образом, условие выполняется .

.2 Расчет подшипников

Берем подшипник № 7217А d = 85 мм, D = 190 мм, С = 83200 Н. так как диаметр вала равен 85 мм (чертеж).

Ресурс подшипника в млн.об

где С - динамическая грузоподъемность, Н; Рэкв - эквивалентная нагрузка, Н;

Р = 3 - роликовый конический подшипник;

;(8)

где v - коэффициент вращения (v = 1, так как вращается внутреннее кольцо); Кб - коэффициент безопасности (Кб = 1,5); КТ - температурный коэффициент (КТ = 1); так как осевая нагрузка отсутствует то x = 1, y = 0.

Эквивалентна нагрузка равна:

;


Ресурс подшипника в чачах.


где n - частота вращения (n = 1140 об/мин)

Ресурс подшипника высокий. [30]

.3 Расчет клиноременной передачи

Частота вращения меньшего шкива, об/мин

1 = nc(1-s) (10)

где s - скольжение (s = 0.051); nc - частота вращения вала, об/мин;

n1 = 1140 (1 - 0,051) = 1081,8 об/мин

Вращающий момент на ведущем валу, Н м;

Т1 = ;(11)

где Р - мощность двигателя кВт; n1 - частота вращения меньшего шкива, об/мин.

Т1 = ;

Диаметр меньшего шкива, мм


Принимаем d1 = 235мм; по ГОСТ 17383 - 73

Диаметр большого шкива, мм


где i - передаточное отношение; ε - коэффициент для клиноременной передачи с регулированием натяжения ремня ε = 0,01


Принимаем d2 = 350мм; по ГОСТ 17383 - 73

Передаточное отношение (уточненное).

; (14)

Отклонение %;(15)

допускается 3%.

Межосевое расстояние, мм

а = 2 (d1+ d2) = 2 (235+350) = 1170 мм;(16)

Угол обхвата малого шкива.

°;(17)

Длина ремня, мм

 = 2 а + 0,5 π (d1+ d2) + (d2 - d1)2/4 а = 2 1170 + 0,5 3,14 (235+350) + (350-235)2/ 4 1170 = 3261 мм;(18)

Принимаем L = 3300 мм по ГОСТ 1284.1 - 80

Скорость ремня, м/с


Р0 - номинальная мощность передаваемая одним ремнем (1,33 кВт); СL - коэффициент для клиноременной передачи по ГОСТ 1284.3 - 80 равный 1,13; СР - коэффициент для клиноременных передач от двигателей переменного тока общепромышленного пользования СР = 1,2; Сα - коэффициент угла обхвата, Сα = 0,95; СZ - коэффициент учитывающий число ремней, СZ - 3. Число ремней.


Рабочий ресурс передачи, ч

 (21)

где Nоц - базовое число циклов для среднего режима, Nоц = 4,7 106; σ-1 - предел выносливости, σ-1 = 2,6 МПа; σMax - максимальное напряжение в сечении ремня, σMax - 4,5 МПа; Сi - коэффициент учитывающий влияние передаточного отношения, Сi = 0,95; СZ - коэффициент, учитывающий периодическое изменение от нуля до номинального значения, СН = 1.


Для среднего режима ресурс ремня должен составлять не менее 2000 ч, т.е. это значение нас удовлетворяет [30].

.4 Расчет вала на выносливость

Вал выполнен из материала сталь 45 ;

- предел прочности материала.

S - запас выносливости вала.

;(22)

δ - запас выносливости по напряжению изгиба;

Sτ - запас выносливости по касательным напряжениям;

;(23)

;(24)

δ-1 и τ-1 - предел выносливости материала; δа и τа - амплитуда циклов напряжения при изгибе и при кручении; δm и τm - средние значение; Кδ и Кτ - табличное значение функция от посадки, концентратора напряжения; Кd - масштабный фактор; Ψ - коэффициент характеризующий механические свойства материала; КF - коэффициент учитывающий качество поверхности;

(25)

;

(26)

;

 

Посадка шкива на призматическую шпонку.

Кδ = 3,6; Кτ = 2,5; ψδ = 0,16;

Кd = 0,65; КF = 1; ψτ = 0,1;

;

;

;

Таким образом условие по запасу выносливости выполняется .

.5 Расчет производительности

, (27)

Где D - диаметр цилиндра, мм;

K - коэффициент, учитывающий размеры поверхности цилиндра (К=0,8…0,9); L - длина рабочей части цилиндра, мм; q - удельная зерновая нагрузка, т/ч*м.

По формуле (27) рассчитываем:


4.6 Расчет потребляемой мощности

N=Q*n, (28)

Где Q - производительность, кг/ч;

n - удельный расход электроэнергии, кВт*ч/т.

По формуле (28) рассчитываем:

 [24].

Заключение

В проделанной нами курсовой работе был рассмотрен процесс поверхностной обработки зерна. Поставленная перед нами задача по повышению качества выпускаемой продукции, а также разработка и внедрение ресурсо и энергосберегающих технологий была выполнена.

Цель достигнута следующим образом: ситовой цилиндр устанавливается в специально изготовленный корпус к которому крепиться вал-шестерня который входит в зацепление с зубчатым колесом установленым на вал бичевого ротора.

Машина РЗ - БМО - 6 из всех нами рассмотренных машин наиболее эффективна и значительно превосходит своих оппонентов по таким показателям как энергоемкость и материалоёмкость.

Литература

1.     Акопян В.Б. Машиностроение. Энциклопедия Т. VI машины и оборудование пищевой и перерабатывающей промышленности. - М.: Машиностроение 2003 г. 736 с.

2.      Андреев В.А. Справочник по монтажу оборудования элеваторов, зерноперерабатывающих и комбикормовых заводов. - М.: "Колос" 1989 г. 220 с.: ил.

.        Анурьев В.И. Справочник конструктора-машиностроителя. - М.: Машиностроение, 1988 г. 920 с.

.        Борискин А.М., Демский А.Б. Справочник по оборудованию зерноперерабатывающих предприятий. Изд. 2 - е, и перераб и доп. - М.: Колос. 1991 г. - 383 с.

.        Боуманс Г.В. Эффективная обработка и хранение зерна. - М.: Агропромиздат, 1991 г. 608 с.

.        Бутковский В.А. Мукомольное производство (изд. 2-е доп. перераб.) - М.: Колос 1983 г.150 с.

.        Бутковский В.А., Мерко А.Н. Технология зерноперерабатывающих производств. - М.: Колос 1999 г. 351 с.

.        Бутковский В.А., Птушкина Т.Е. Технологической оборудование мукомольного производства. Под ред. В.А. Бутковского. - М. ГП "Журнал хлебопродукты", 1999 г. 208 с.: ил. (Учебное пособие).

.        Вобликов Е.М. Зернохранилища и технология элеваторной промышленности: Учебное пособие. - СПб.: Издательство "Лань" 2005 г. - 208 с.: ил. (Учебник для вузов. Специальная литература).

.        Вобликов Е.М. Технология элеваторной промышленности. Учебное пособия. - Ростов и /Д издательский центр. "Смарт", 2001 г. 192 с.

.        Галицкий Р.Р. Оборудование зерноперерабатывающих предприятий. - М.: Агропромиздат. 1990 г. 319 с.

.        Гинсбург М.Е., Егоров Г.А. Практикум по технологии мукомольного крупяного и комбинированного производства. Под ред. Г. А. Егорова. Изд - во "Агропромиздат" 1994 г. 380 с.

.        Демский А.Б. Комплектные перерабатывающие установки малой мощности. - М.: ДеЛи. 2004 г. 264 с.

.        Журавлев В.Ф., Соколов А.Я. Технологическое оборудование предприятий по хранению и переработки зерна. - М.: Колос 1984 г. 451 с.

.        Камышкин Л. Н. Исследования зерна при хранении в металлическом зернохранилище. // Мукомольно-элеваторные и комбинированной промышленности. - М.: Высш. шк., 1987 г. 608 с.

.        Куприца Я. Н. Технология мукомольного производства. Под ред. проф. Куприца Я. Н. - М.: Лань 1986 г. 468 с.

.        Кулак В. Г., Максимчук Б.М. Мукомольные заводы на комплектном оборудовании. - М.: Колос 1984 г. 220 с.

.        Курочкин А.А., Шабулова Г.В. Оборудовании и автоматизация перерабатывающих производств. - М.: Колос 2007 г. 591 с. ил.

.        Лобанов В.И. Процессы и аппараты: Методические указания к выполнению курсовой работы для студентов ИТАИ по специальности "Механизация переработки сельскохозяйственной продукции". - Барнаул: Изд-во АГАУ, 2003 г. 52 с.

.        Лукин О.Г. Курсовое и дипломное проектирование технологического оборудования пищевых производств. - М.: Агропромиздат 1990 г. 269 с. ил.

.        Мельник Б.Е. Элеваторы и зерноперерабатывающие предприятия. - М.: Агропромиздат 1985 г. 368 с., ил. - (Учебники и учеб. пособия для технических техникумов, системы заготовок ).

.        Остриков А. Н., Антипов А.Н. и др. Машины и аппараты пищевых производств. В 2-х кн. 1 кн.: Учеб. для вузов. Под ред. Академика РАСХН В.А. Острикова и др. - М.: Высш. шк., 2001. 703 с.: ил.

.        Остриков А. Н., Абрамов О.В. Расчет и конструирование машин и аппаратов пищевых производств. Учебник для вузов. - СПб.: ГИОРД, 2004 г. 352 с.

.        Панфилов В.А. Машины и аппараты пищевых производств. В 2-х кн. -М.: Высшая школа. 2001 г. 1384 с.

.        Птушкина Т.Е. Технологическое оборудование мукомольного производства. - М. - ГП. Агропромиздат 1998 г. 210 с.

.        Птушкина Т.Е. Высопроизводительное оборудование мукомольных заводов. - М.: ВО Агропромиздат 1988 г. 541 с. ил.

.        Резников В.А., Бровенко В.П. и др. Режимы работы аэробежелабов закрытого типа. // Мукомольно - элеваторные и комбикормовой промышленности. - М.: Лань 1986 г. 510 с.

.        Соколов А. Я. Технологическое оборудование предприятий по хранению и переработке зерна. Изд. 3 - е перераб. и дополненное изд. -М.: Колос 1987 г. 518 с. очистка зерно обоечный машина

.        Чернилов Л.О. Оборудование элеваторов. Складов и зерноперабатывающих предприятий. (Оборудование элеваторов и складов). Изд. 2-е перараб. и доп. -М.: Колос 1992 г. 264 с. ил.

Похожие работы на - Процесс поверхностной обработки зерна

 

Не нашли материал для своей работы?
Поможем написать уникальную работу
Без плагиата!
Без нейросетей!