Технологический расчёт детали 'Гайка'

  • Вид работы:
    Курсовая работа (т)
  • Предмет:
    Другое
  • Язык:
    Русский
    ,
    Формат файла:
    MS Word
    227,71 Кб
  • Опубликовано:
    2016-01-28
Вы можете узнать стоимость помощи в написании студенческой работы.
Помощь в написании работы, которую точно примут!

Технологический расчёт детали 'Гайка'

Содержание


Введение

. Общая характеристика детали

.1 Описание и характеристика детали

.2 Характеристика применяемых листоштамповочных операций

.3 Анализ технологичности детали

. Маршрутный технологический процесс изготовления

.1 Основные критерии выбора технологического процесса изготовления изделия

.2 Определение маршрутного техпроцесса изготовления детали «Гайка»

. Расчёт технологических параметров процесса

.1 Расчёт размера заготовки и ширины полосы

.2 Расчёт усилия для вырубки и пробивки

. Конструкторский расчёт штампа

.1 Технологическая оснастка

.2 Расчет исполнительных размеров матриц и пуансонов штампа для изготовления детали «Гайка»

.3 Выбор материалов для изготовления деталей штампов

.4 Конструкторский и прочностной расчёт разделительного инструмента

.5 Выбор и расчёт размеров плит штампа

.6 Определение и выбор направляющих узлов разделительного штампа

.7 Расчёт центра давления штампа

.8 Расчёт закрытой высоты штампа

. Мероприятия по технике безопасности

. Расчёт экономической эффективности

Выводы и заключение

Литература

Введение

Холодная листовая штамповка является одним из наиболее прогрессивных технологических методов производства; она имеет ряд преимуществ перед другими видами обработки металлов, как в техническом, так и в экономическом отношении.

В техническом отношении холодная штамповка позволяет:

.        получить деталь весьма сложных форм, изготовление которых другими методами обработки или невозможно или затруднительно;

.        создать прочные и жесткие, но легкие по массе конструкции деталей при небольшом расходе материала;

.        получить взаимозаменяемые детали с достаточно высокой точностью размеров, преимущественно без последующей механической обработки.

В экономическом отношении холодная штамповка обладает следующими преимуществами:

.        экономным использованием материала и сравнительно небольшими отходами;

.        весьма высокой производительностью оборудования, с применением механизации и автоматизации производственных процессов;

.        массовым выпуском и низкой стоимостью изготовления деталей.

Наибольший эффект от применения холодной штамповки может быть обеспечен при комплексном решении технических вопросов на всех стадиях подготовки производства, начиная с создания технологичных конструкций или форм деталей, допускающих экономичное изготовление их.

деталь гайка штамп узел

1. Общая характеристика детали

.1      Описание и характеристика детали

Деталь «Гайка» - предназначена для обеспечения крепления резьбовых соединений различных машиностроительных конструкций. Эскиз детали представлен на рисунке 1.

Рисунок 1- Деталь «Гайка»

В соответствии с заданием деталь «Гайка» имеет следующие размеры:

Предполагается, что будет использован семирядный раскрой и последовательная конструкция штампа.

Материалом детали является Сталь 35. Данная сталь конструкционная, характеризуется хорошими механическими свойствами, высокой пластичностью, хорошо подвергается обработке давлением (резке, вытяжке, формовке, гибке и пр.). Химический состав стали 35 представлен в таблице 1.

Таблица 1- Химический состав стали 35

Химический элемент

%

Кремний (Si)

0.17-0.37

Марганец (Mn)

0.50-0.80

Медь (Cu), не более

0.25

Мышьяк (As), не более

0.08

Никель (Ni), не более

0.25

Сера (S), не более

0.04

Углерод (C)

0.32-0.40

Фосфор (P), не более

0.035

Хром (Cr), не более

0.25


Механические свойства стали 35 представлены в таблице 2.

Таблица 2 - Механические свойства стали 35.

0,2, МПаB, МПа5, %, %KCU, Дж/м2HB






410

620

18

71

176

175


.2 Характеристика применяемых листоштамповочных операций

При изготовлении детали «Гайка» применяются такие операции как вырубка и пробивка.

Вырубка - полное отделение металла по замкнутому контуру при котором отделяемая часть заготовки является изделием. Вырубка является наиболее распространенной операцией из группы резки; она производится при помощи вырубного штампа.

Пробивка - операция, имеющая целью получения в вырубленной детали или листе отверстия путём отделения при помощи пробивного штампа части материала по замкнутому контуру. Отличие этой операции от вырубки состоит в том, что при вырубке часть материала, проталкиваемая пуансоном в матрицу, является деталью, а оставшаяся на матрице часть отходом; при пробивке же наоборот, проталкиваемая через матрицу часть материала является отходом, а оставшаяся на ней изделием.

1.3 Анализ технологичности детали

Технологические процессы холодной листовой штамповки могут быть наиболее рациональными лишь при условии создания технологической конструкции или формы детали, допускающей наиболее простое и экономическое изготовление. Поэтому технологичность листоштамповочных деталей является наиболее важной предпосылкой прогрессивности технологических методов и экономичности производства.

Под технологичностью следует понимать такую совокупность свойств и конструктивных элементов, которые обеспечивают наиболее простое и экономичное изготовление деталей при соблюдении технологических и эксплуатационных требований к ним. Основные технологические требования к конструкции плоских деталей, получаемых вырубкой и пробивкой:

.        Необходимо избегать сложных конфигураций с узкими и длинными вырезами контура или очень узкими прорезами.

.        При применении цельных матриц сопряжения в узлах внутреннего контура следует выполнить с радиусом закругления. В составных матрицах сопряжения сторон делать без закругления.

.        Сопряжения сторон наружного контура следует выполнить с закруглением лишь при вырубке детали по внешнему контуру. Для возможности применения безотходного производства следует наоборот, допускать сопряжения сторон под прямым углом.

.        Следует избегать вырубки длинных и узких деталей постоянной ширины, заменяем вырубку расплющиванием проволочных заготовок.

.        Наименьшие размеры для пробиваемых отверстий для твёрдой стали: - с круглым пуансоном 1,3S

с прямоугольным пуансоном 1,0S

.        Наименьшее расстояние от края отверстий до прямолинейного наружного контура должно быть не менее S для фигурных крупных отверстий и не менее 1,5 S, если края отверстий параллельны контуру стали.

.        Не следует располагать отверстия в заготовке, подлежащей гибке, близко к радиусу закругления детали.

.        Наибольшее расстояние между отверстиями при одновременной их пробивке равно (2÷3)S.

В целях обеспечения высокого качества изделия, его служебных характеристик (технических требований к изделию) и минимальной себестоимости при разработке конструкции изделия, выборе геометрических соотношений формы, вида и механических характеристик исходного материала необходимо учитывать следующие факторы: технологические возможности и особенности штамповочных операций в предлагаемых вариантах технологического процесса; уровень технической оснащенности и состояния машин штамповочного и инструментального подразделений; возможности выбора материалов для штампов. Понятие «технологичность изделия» включает в себя сравнительную (качественную) оценку полноты этого учёта.

Для данной детали в соответствии с заданием применяется штамп последовательного действия. Преимуществом его является компактность и обеспечение большей точности формы и повышения качества изделия, также увеличение производительности.

2. Маршрутный технологический процесс изготовления

.1      Основные критерии выбора технологического процесса изготовления изделия

Качество конструкторско-технологической подготовки производства определяется уровнем разработки технологии на четырех основных этапах:

отработка технологичности конструкции детали, узла, изделия;

- разработка маршрутной технологии, определение потребности в оборудовании, оснастке, средствах автоматизации и механизации, укрупненный анализ технико-экономических показателей производства нового изделия;

- разработка рабочей технологии, проектирование штампов, другой оснастки, средств автоматизации и механизации;

наладка и внедрение новых технологических процессов, корректировка их по результатам наладки.

На первом этапе конструкторы при участии технологов по различным видам обработки и сборке создают технологичную конструкцию изделия, осуществляют увязку конструкторских идей с требованиями и возможностями производства. К этой работе следует приступать в начальной стадии конструкторских разработок нового изделия.

В ходе отработки технологичности решается задача достижения необходимого уровня качества детали (узла, изделия) при минимальных материальных, трудовых и энергетических затратах. Важнейшие требования развития технологии, которые обеспечиваются на данном этапе, следующие:

применение экономичных способов штамповки;

укрупнение деталей, сокращение числа штампованных деталей в узле, изделии по сравнению с известными аналогами;- применение прогрессивных материалов и, в первую очередь, низколегированных сталей, экономичных профилей, эффективное использование материалов и отходов;

автоматизация и механизация производственных процессов, применение прогрессивного оборудования;

необходимая стойкость и работоспособность штампов;

рациональная унификация и стандартизация элементом в новом изделии и в оснастке для его изготовления.

Второй этап включает разработку маршрутной технологии и анализ на ее основе уровня технологии, ее количественную оценку по ряду технико-экономических показателей: суммарной норме расхода материала и коэффициенту использования материала на изделие и по видам материала; трудоемкости по узлам, на изделие в целом, по группам оборудования; ожидаемому уровню автоматизации и механизации. Данные критерии позволяют активно воздействовать на конструкцию, совершенствовать ее, нацеливая отработку конструкции на конкретные объекты. Результаты разработки второго этапа служат также исходными данными для проекта реконструкции производства или строительства нового завода, цеха, для выбора и заказа оборудования.

Третий этап - разработка рабочей технологии и другой конструкторско-технологической документации, запуск ее в производство, поэтапное изготовление штампов.

На четвертом этапе, заключительном, осуществляется реализация разработок, технологической подготовки производства.

Проектируемая технология должна быть сориентирована на определенные методы обработки и состав оборудования.

Задачу рационального использования материала решают следующими путями:

комбинированным раскроем, совместной штамповкой нескольких деталей;

использованием отхода, образующегося при штамповке или резке для изготовления других заготовок или деталей;

оптимизацией раскроя;

применением листа кратных размеров или рулона.

Важно, чтобы при освоении производства новых деталей или изделий сортамент применяемых материалов не расширялся, а планомерно сокращался, т. е. обоснованное введение новых типоразмеров проката должно с избытком компенсироваться за счет действующего сортамента.

.2      Определение маршрутного техпроцесса изготовления детали «Гайка»

Проектирование технологического процесса в целом сводится к установлению порядка операций с указанием режима и потребного оборудования.

В технологический процесс изготовления детали включают:

)        последовательность изготовления деталей по операциям;

) последовательность участков, на которых изготавливаются детали;

) указание основного, необходимого и вспомогательного оборудования;

) указания оснастки (штампов, приспособлений и инструментов);

) пооперационные нормы времени;

) общие данные о детали (номер, количество на изделия, материал и др.)

Транспортировка

Резка листа на полосы

Транспортировка

Вырубка, пробивка

Транспортировка

Контроль

Транспортировка

Рисунок 2 - Структурная схема технологического процесса

Первая операция предполагает транспортирование листов со склада на резку полос на гильотинных ножницах (вторая операция). Далее снова транспортировка (третья операция). После происходит вырубка и пробивка (четвертая операция). После изделия проходят контроль (пятая операция). И заключительная операция транспортировка на склад.

3. Расчёт технологических параметров процесса

.1 Расчёт размера заготовки и ширины полосы. КИМ

Проектирование раскроя листового материала, в результате которого определяют коэффициент использования материала, является важнейшим этапом разработки технологического процесса. В общих расходах на изготовление, т. е. в себестоимости изделий листовой штамповки, затраты на материал достигают 50-70 % и более. Но снижение затрат на материал в ряде случаев приводит к увеличению сложности инструментально-штамповочной оснастки и оборудования. Задачи оптимизации технологического процесса штамповки в целом решаются только при комплексном рассмотрении технико-экономических показателей, характеризующих производство. Вариант процесса листовой штамповки определяется видом исходного материала, видом заготовки, поступающей на основные штамповочные операции, типом раскроя или числом рядов при раскрое, конструкцией штампа, уровнем организации, механизации и автоматизации производства.

Операции раскроя материала обычно выполняют на специальных раскройно-заготовительных участках. Материал разрезают на ленты, полосы или карточки различной формы с помощью гильотинных и дисковых ножниц. При этом производятся следующие операции: обрезка дефектных кромок листов; отрезка полей листов для получения размеров, кратных соответствующим размерам заготовок в виде полос, карточек; разрезка на полосы, карточки.

На гильотинных ножницах, как правило, выполняют разрезку листа на крупные штучные заготовки прямоугольной, трапецеидальной, ромбовидной и треугольной формы. При вырезке крупногабаритных деталей, а также при параллельном раскрое получаются большие отходы по краям заготовок; экономию материала удается получить при применении косого раскроя полос из листа. Для мелкосерийного производства, как правило, применяют комбинированный раскрой, когда лист раскраивают на полосы неодинаковой ширины для вырубки из них различных деталей. При комбинированном раскрое получают более высокий коэффициент используемого материала. На дисковых ножницах осуществляют разрезку листа на полосы.

Для раскроя рулонного материала на полосы и карты применяются специальные линии для поперечного и продольного раскроя. По сравнению с использованием листа это обеспечивает лучшее использование материала за счёт снижения отходов. На указанных линиях выполняется продольный раскрой широкой ленты на более узкие, поперечный раскрой рулонной стали на карты, штамповка непосредственно из рулона; смешанный раскрой, совмещающий продольный и поперечный.

Если контур изделия при раскрое листового материала криволинейный замкнутый или незамкнутый, для вырубки применяются штампы. Контуры вырубаемых заготовок должны быть удалены друг от друга на величину технической перемычки.

Основное назначение перемычки - компенсировать погрешности подачи материала и фиксации его в штампе с тем, чтобы обеспечить полную вырубку детали по всему контуру и предотвратить получение бракованных деталей. Штамповку перемычки выполняют наименьшей для снижения расхода материала, а также для уменьшения усилий, необходимых для снятия материала с пуансона. Но размеры перемычек должны учитывать допуски на ширину полосы, ленты и возможные неточности подачи материала в штамп для исключения разрыва отхода материала при подаче полосы и попадания его в матрицу при вырубке. Перемычка между контурами деталей называется межконтурной и обозначается . Перемычка между контуром детали и краем полосы называется боковой и обозначается а.

Размер перемычки зависит от толщины материала, от размеров и конфигурации вырубаемой детали, от способа подачи полосы, от типа раскроя, а также частично от типа упора и т. д..

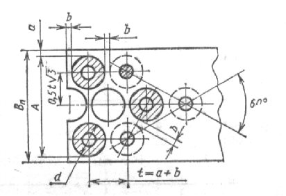
Для данного изделия, в соответствии с заданием применяем семирядный шахматный раскрой. Расчётная схема представлена на рисунке 3.

Рисунок 3- Схема раскроя при шахматном раскрое.

Расчет номинальной ширины полосы проводят исходя из условия сохранения минимально необходимой ширины боковых перемычек при различных способах подачи и допусков по ширине полосы. Номинальную ширину  полосы определяют по формуле:

,

где - расчетный размер заготовки, мм;

- величина перемычки, мм;

, - допуск на ширину полосы.

.

Вырубку шестигранных деталей можно производить из листа, полосы, ленты, рулона в один, два и более рядов при параллельном и шахматном расположении, т. е. имеется несколько вариантов раскроя, однако с учётом программы выпуска и толщины материала целесообразно использовать полосу.

При шахматном раскрое шаг подачи определяется следующим образом:

мм.

мм.

мм,

принимаем мм.

Схема раскроя представлена на рисунке 4.

Рисунок 4- Схема раскроя полосы

Определим КИМ с учётом поперечного и продольного варианта раскроя листа.

Вариант 1. Поперечный раскрой.

Число полос, получаемых из листа:

,

где - длина листа.

Число деталей, получаемых из полосы:

,

где - ширина листа.

Для расчётов принимаем лист размерами 1000´2000мм.

,

Число деталей, получаемых из листа:

,

Коэффициент использования листа при поперечном раскрое:

,

где - площадь детали.

Применительно к данной детали её площадь определяется с помощью автоматизированного пакета проектирования КОМПАС-3D V10:

.

Вариант 2. Продольный раскрой.

Число полос, получаемых из листа:

.

Число деталей, получаемых из полосы:

.

,

Число деталей получаемых из листа:

,

Коэффициент использования листа при продольном раскрое:

,

где - площадь детали.

.

Так как коэффициент использования материала при продольном раскрое меньше, чем при поперечном раскрое, то предпочтение отдаём поперечному раскрою листа.

3.2 Расчёт усилия для вырубки и пробивки

В процессе вырубки листового металла возникает сложное неоднородное силовое поле, сконцентрированное вблизи режущих кромок пуансона и матрицы.

Пуансон обычно вдавливается в листовую заготовку не по всей торцовой поверхности, а лишь по кольцевому (или иной формы) пояску. Такое же вдавливание происходит и со стороны матрицы. Давление пуансона и матрицы по ширине пояска распределено неравномерно.

Таким образом, при вырубке - пробивке возникает пара сил, создающих круговой (пространственный) изгибающий момент, под действием которого относительно тонкая заготовка изгибается и выпучивается. В результате изгиба заготовки возникает давление металла на наружную поверхность пуансона и распирающее давление на кромки матрицы. Кроме нормальных сил на поверхность заготовки действуют касательные усилия, созданные силами трения.

Ввиду сложности и неоднородности силового поля при вырубке - пробивке в технологических расчетах применяется условная технологическая величина - сопротивление срезу. Однако глубина вдавливания не является постоянной, так как зависит также от зазора и скорости вырубки, что затрудняет практическое применение этой величины. Как показали исследования, сопротивление срезу зависит не только от механических свойств металла и степени предварительного наклепа, но также от относительной толщины вырубки, зазора и скорости процесса резания.

Выявленная зависимость  относительной толщины детали S/d объясняется значительным увеличением жесткости вырубаемых деталей при увеличении отношения S/d, в результате: чего резко возрастают удельные распирающие усилия, а следовательно, повышается сопротивление металла разделению.

Полное усилие вырубки обычно учитывает поправку на неоднородность материала и затупление режущих кромок введением поправочного коэффициента k=1,25. В случае применения пружинного, резинового или пневматического съемника, прижима или выталкивателя к расчетному усилию вырубки прибавляют усилие сжатия буферов или пружин.

Для большинства случаев вырубки деталей крупных и средних размеров вследствие малой жесткости их влияние относительной толщины на  сравнительно невелико. Поэтому в указанных случаях практически можно пользоваться приближенной средней величиной .

Усилие пресса обычно берется значительно больше расчетного усилия вырубки для увеличения запаса жесткости и повышения надежности и долговечности пресса и штампа. Следовательно, полное усилие вырубки зависит от усилия снятия полосы с пуансона и от усилия, необходимого для проталкивания детали через матрицу.

Усилие пробивки:

,

где - периметр пробиваемого контура;

- толщина материала.

Н.

Усилие проталкивания отхода:

,

где - коэффициент, зависящий от штампуемого материала, 0,02-0,06 для стали.

 Н.

Усилие снятия полосы с пуансона:

,

где - коэффициент, зависящий от штампуемого материала, 0,03-0,05 для стали.

Н.

Работа деформации, необходимая для выполнения операции:

,

где  - усреднённое усилие штамповки, кН. Для стали средней твёрдости составляет 60-65% от усилия вырубки ;

 - рабочий ход пуансона при выполнении разделительной операции, мм.

 кН.

 Дж.

Расчётное усилие вырубки:

,

где - периметр вырубаемого контура;

- толщина материала;

= 460 МПа - сопротивление металла срезу для Стали 35;

Расчётное усилие вырубки:

 Н.

Усилие снятия полосы с пуансона:

,

где  - коэффициент, зависящий от штампуемого материала, 0,03-0,05 для стали.

Н.

Усилие проталкивания детали:

,

где - коэффициент, зависящий от штампуемого материала, 0,02-0,06 для стали.  Н.

Работа деформации необходимая для выполнения операции:

,

где  - усреднённое усилие штамповки, кН. Для стали средней твёрдости составляет 60-65% от усилия вырубки ;  - рабочий ход пуансона при выполнении разделительной операции, мм.

Рабочий ход  пуансона при выполнении разделительных операций в штампах с параллельными режущими ребрами пуансона и матрицы равен толщине материала s.

 кН.

 Дж.

Для повышения качества вырубки и пробивки применяют прижимные устройства. Усилие прижима, которое должен обеспечивать прижим определяется по формуле:

,

где - удельное усилия прижима, Н/мм2.

Н.

Общие усилие в штампе для вырубки и пробивки составит:

.

Н.

Требуемое усилие пресса вычисляется по формул:

,Н.

Н.

Исходя из расчётов и размеров проектируемого штампа для штамповочной операции требуется пресс модели К2130. Техническая характеристика пресса модели К2130 представлена в таблице 3.

Таблица 3- Технические характеристики пресса модели К2130

Наименование параметра

Величина

1

2

Номинальное усилие пресса, кН

1000

Ход ползуна регулируемый, мм

140

Число ходов ползуна в мин.

100

Регулировка расстояния между столом и ползуном, мм

100

Наибольшее расстояние между столом и ползуном в его нижнем положении при наибольшем ходе, мм

400

Расстояние от оси ползуна до станины, мм

320

Расстояние от стола пресса до направляющих, мм

550

Размеры отверстия в ползуне, мм

60

Размеры стола, мм  слева-направо  спереди-назад

 850 560

Размеры отверстия в столе, мм  слева-направо  спереди-назад  диаметр

 420  280  360

Расстояние между стойками в свету, мм

400

Толщина подштамповой плиты, мм

100

Угол наклона станины, градусы

10, 20, 30

Габариты пресса, мм  слева-направо  спереди-назад  высота над уровнем пола

 1710  2125  3180

Масса пресса без пневмоподушки, кг

8025

Масса пресса с пневмоподушкой, кг

8440

Расход сжатого воздуха на одно включение, м3

0,0025

Тип электродвигателя

А0С2-61-4УЗ

Мощность электродвигателя, кВт

14,5

Число оборотов электродвигателя в минуту

1350



4. Конструкторский расчёт штампа

.1 Технологическая оснастка

В данном курсовом проекте применяется штамп последовательного действия для вырубки и пробивки.

Типовые детали штампов делятся на две основные группы:

детали технологического назначения;

детали, которые во время производимой операции находятся во взаимодействии с обрабатываемым материалом или изделием и непосредственно участвуют в выполнении этой операции;

детали конструкторского назначения;

детали, имеющие в конструкции штампа монтажно-сборочное назначение.

Детали технологического назначения (пакет штампа) в свою очередь состоят из следующих групп:

рабочие детали штампа, непосредственно выполняющие необходимую штамповочную операцию (матрицы, пуансоны, ножи);

фиксирующие детали, предназначены для точной установки штампуемого материала или заготовки во время выполнения операции штамповки (упоры, рычаги, фиксаторы, ловители, боковые прижимы);

прижимающие и удаляющие детали, предназначенные для удержания материала или заготовки во время выполнения операции или съема и удаления отштампованного изделия (прижимы, выталкиватели, съемники, сбрасыватели, отлипатели).

Детали конструкторского назначения (блок штампа) состоят из следующих групп:

держащие опорные детали, предназначенные для монтажа технологических деталей и передачи рабочего давления (плита верхняя и нижняя, направляющие колонки и направляющие втулки, хвостовик).

Хвостовик применяют в малых и средних штампах для крепления верхней части штампа к ползуну пресса.

направляющие детали штампа, предназначенные для направления движения верхней части штампа или пуансона относительно нижней во время штамповки (направляющие колонки и втулки, направляющие планки и плитки);

крепежные детали, предназначены для крепления деталей штампа между собой и крепления штампа на столе пресса (винты, штифты, пружины, зажимы и др.).

Далее произведём расчет усилий в штампах и исполнительных размеров матриц и пуансонов.

.2 Расчет исполнительных размеров матриц и пуансонов штампа для изготовления детали «Гайка»

Вырубка.

При вырубке - принимаем изготовление матрицы и пуансона раздельное.

Размер матрицы при наружном допуске на размер детали рассчитывается по формуле [1]:

,

где D - номинальный размер заготовки;

П - припуск на износ,  мм.

мм.

Размер пуансона при наружном допуске на размер детали рассчитывается по формуле [1]:

,

где z - двусторонний зазор между матрицей и пуансоном, мм.

 мм.

Пробивка.

При пробивке - принимаем изготовление матрицы и пуансона раздельное. Исполнительные - рабочие размеры пуансона и матрицы при пробивке круглого контура определяются по формулам [1]:

,

,

 мм,

 мм.

4.3 Выбор материалов для изготовления деталей штампов

Рабочие детали штампов (пуансоны и матрицы) подвергаются ударной нагрузке с сильной концентрацией напряжений на рабочих кромках или на рабочей поверхности. Поэтому к материалу пуансонов и матриц предъявляется требование высокой или повышенной твердости и износоустойчивости при наличии достаточной вязкости.

Стали, применяемые для изготовления рабочих частей штампов холодной листовой штамповки, делятся на следующие группы:

Углеродистые инструментальные стали небольшой прокаливаемости (диаметром до 25 мм): У8А, У10А, У8, У10.

2 Легированные стали повышенной прокаливаемости ( диаметром до 40-50мм): Х (ШХ15), Х09 (ШХ9), 9Х, 9ХС, 9ХФ, ХВГ, 9ХВГ, ХГСВФ.

Высокохромистые стали высокой прокаливаемости (диаметр до 80 мм), высокой износоустойчивости, мало деформируемые при закалке: Х12Ф1, Х12Ф, Х12М, Х12, также Х6ВФ и ХГ3СВФ.

4 Легированные стали повышенной вязкости (при твердости НRC 56 - 58): 4ХС, 6ХС, 4ХВ2С, 5ХВ2С, 6ХВ2С, 5ХВГ.

Основным недостатком углеродистых инструментальных сталей является их низкая прокаливаемость, в результате чего в больших сечениях (свыше 20 - 25 мм) сохраняется непрокаленная сердцевина с пониженной твердостью. Однако, в ряде случаев, при работе штампа со значительными динамическими нагрузками, это свойство углеродистых сталей становится положительным.

Применение углеродистых инструментальных сталей ограничивается рабочими частями штампов простой формы толщиной или диаметром до 25 мм. Наиболее пригодны для изготовления штампов стали марок У10А, У10.

Хвостовик - служит для крепления верхней плиты штампа к ползуну пресса. Изготавливают в основном из сталей 35, 40.

Плита верхняя и нижняя - предназначены для крепления на них рабочих частей штампа, направляющих колонок и втулок. Изготавливают из СЧ25, Ст3, Ст4, 30Л.

Плиты подкладные устанавливаются под матрицу и пуансон и служат для гашения ударных нагрузок при штамповке, тем самым предохраняя верхнюю и нижнюю плиты от деформации и разрушения, изготавливаются из СЧ25, 45Л, 45.

Пуансон вырубной (пробивной) является рабочей деталью штампа и предназначен для вырубки детали из заготовки. Изготавливаются для простой формы: У10, У10А, Х12Ф1; для сложной формы: Х12ВМ, Х6ВФ, Р6М5, ВК20.

Матрица вырубная является рабочей деталью штампа, предназначена для вырубки детали из заготовки. Изготавливаются для простой формы: У10, У10А, Х12Ф1; для сложной формы: Х12ВМ, Х6ВФ, Р6М5, ВК20.

Направляющие втулки и колонки предназначены для совмещения верхней и нижней половины (плит) штампов, а соответственно и точному совмещению рабочих частей штампа (пуансона и матрицы). Их изготавливают из стали 20, которую цементируют на глубину 0, 5-1, 0 мм и потом закаливают до HRC 58 - 62, или из сталей 45, 50, которые закаливаются до HRC 45 - 50.

Съемник применяется для удаления пуансона к верхней плите штампа. Изготавливается из стали 35 или 45 без термообработки.

Упор является фиксирующей деталью штампа и предназначен для перемещения полосы на шаг штамповки. Изготавливают из стали 45, которая калится до HRC 40 - 45.

Примечание - сталь Ст3 относится к углеродистым конструкционным сталям общего качества; стали 35, 40, 45, 50, 30Л, 45Л - углеродистые качественные конструкционные стали; стали У10, У10А - углеродистые инструментальные стали; Х12ВМ, Х6ВФ, Х12Ф1 - легированные инструментальные стали; Р6М5 - быстрорежущая сталь; ВК20 - металлокерамический твердый сплав вольфрамовой группы; СЧ25 - серый чугун.

.4 Конструкторский и прочностной расчёт разделительного инструмента

Матрица и пуансон определяют работоспособность, надёжность и долговечность штампа. Их расчёт и конструирование - важнейший этап разработки документации штампа.

Толщину матрицы по следующей эмпирической формуле:

,

где - толщина штампуемого материала, мм;

 и - размеры рабочей зоны матрицы, мм;

- коэффициент, принимаемый в зависимости от временного сопротивления штампуемого материала.

мм.

Матрица. Форма матрицы определяется формой и размерами штампуемой детали. По эмпирической формуле можно проверить достаточность толщины матрицы, мм:

,

где - требуемое технологическое усилие штамповки, кН.

 мм.

Найденное значение  необходимо округлить до ближайшего большего числа из следующего ряда чисел: 8, 10, 12, 16, 20, 25, 28, 32, 36, 40, 45, 50, 56, 63, 71, 80. Из конструктивных соображений, с учётом последовательной конструкции принимаем толщину матрицы 25 мм и заключаем её в обойму для повышения прочности. Соотношение габаритных размеров и толщины прямоугольных матриц следует принимать по ГОСТ 15861-81.

Определим размеры матрицы. Форма и размер матрицы определяется формой и размерами штампуемой детали. Размеры прямоугольной матрицы определяют (ориентировочно) исходя из размеров её рабочей зоны. Размеры матрицы уточняют с учётом требуемых величин перемычек между отверстиями, конкретного размещения рабочей зоны и отверстий и т. д..

В соответствии с рекомендациями [1] принимаем размеры матрицы 110´130 мм.

Тяжело нагруженные матрицы следует проверять на прочность специальным расчетом, основанным на определении напряжений, возникающих в опасном сечении. Опасным является сечение, проходящее через узкие щелевые отверстия, острые углы и др. Например, при вырубке квадратного контура опасным является сечение, проходящее через противоположные углы и

диагонали квадрата. При расчете можно исходить из того, что сила, распирающая матрицу в опасном сечении, составляет не менее 40 % технологического усилия. Проверку выполняют по формуле [1]:

,

где  - допускаемое напряжение на разрыв (для стали У8, У10 в закалённом состоянии =250МПа);

Р - технологическое усилие, Н;

F - площадь опасного сечения, мм.

Рисунок 5- Опасное сечение матрицы

Площадь опасного сечения определяем с помощью пакета КОМПАС-3D V13.

- условие не выполняется.

Так как условие выполняется на предельных условиях, то матрицу дополнительно для повышения прочности устанавливаем в обойму.

Размеры пуансонов для пробивки круглых отверстий принимаются в соответствии с ГОСТ 16621-80 и ГОСТ 16625-80.

Проведём проверку пробивного пуансона на сжатие, смятие опорной поверхности и продольный изгиб, так как при изготовлении данной детали именно этот элемент будет подвергнут максимальным нагрузкам.

Напряжение смятия sсм поверхностью головки пуансона поверхности плиты вычисляют по формуле:

,

где - технологическое усилие воспринимаемое пунсоном, Н;

- площадь поверхности его головки, мм2;

Если МПа, то пуансон следует упирать головкой в стальную закалённую подкладную плиту.

Произведём проверочный прочностной расчёт на смятие опорной поверхности для пуансона Ø 4,1 мм.

.

Так как , то стальную закалённую плиту в конструкции штампа применяем.

Проверку на сжатие осуществляют с учётом продольного изгиба в следующей последовательности.

Вначале определяют коэффициент j понижения допускаемого напряжения sсж, зависящий от условной гибкости пуансона и учитывающий возможную потерю устойчивости пуансона (его продольный изгиб). Для пуансонов круглого сечения этот коэффициент зависит от параметра:

,

где - длина рабочей части пуансона;

- диаметр (по наименьшему сечению) рабочей части пуансона.

Далее определяют площадь Fк (мм2) контакта рабочего торца пуансона со штампуемым материалом. Если диаметр пробиваемого отверстия соизмерим с толщиной материала, .

Напряжение сжатия для таких пуансонов вычисляют по следующей формуле:

,

где - технологическое усилие, воспринимаемое проверяемым пуансоном, Н;

- площадь контакта рабочего торца пуансона со штампуемым материалом; j- коэффициент понижения допускаемого напряжения, зависящий от m и принимаемый по [1].

Проведём проверку на сжатие пуансона пробивного пуансона:


Следовательно, в соответствии с рекомендациями [1] принимаем j=0,8.

Так как диаметр пробиваемого отверстия соизмерим с толщиной материала, то

, мм2.

Допускаемое напряжение на сжатие для сталей У10А, У8А и т.п. после закалки и отпуска принимают 1600Мпа [1].

Так как , то условие по соблюдению устойчивости не выполняется. Для повышения устойчивости пуансона предусматриваем в конструкции штампа дополнительное направление через прижим.

.5 Выбор и расчёт размеров плит штампа

Исходя из расчётных габаритных размеров матрицы в соответствии с рекомендациями [1] выбираем стандартный штамповый блок с диагональным расположением направляющих узлов скольжения. Принимаем блок с размерами рабочего пространства Ар.п´Вр.п.=250´400 мм.

Нижняя плита данного блока имеет толщину 50 мм.

Определим требуемую толщину нижней плиты блока исходя из действующей на неё нагрузки при штамповке. Требуемый момент сопротивления Wд сечения плиты в направлении провального отверстия Dпр пресса в подштамповой плите определяется выражением [1]:

,

где Р - полное расчётное усилие действующее на нижнюю плиту, кН;

- допускаемое напряжение на изгиб материала нижней плиты. Для стали марки 30 допускаемое напряжение изгиба при нагрузке действующей от нуля до максимума .

Для выбранного пресса модели Dпр=360мм.

мм3.

По найденному значению момента сопротивления определяем требуемую толщину нижней плиты по формуле [1]:

,

где - диаметр провального отверстия в нижней плите, мм.

мм.

В соответствии с расчётом нижняя плита выдержит оказываемую на неё нагрузку, так как выбранный штамповый блок по толщине нижней плиты превосходит расчётное её значение.

Толщину верхней плиты рекомендуется принимать не более 0,6¸0,8 от толщины нижней, что также выполняется.

4.6 Определение и выбор направляющих узлов разделительного штампа

Размеры направляющих узлов можно выбрать основываясь на габаритных размерах нижней плиты штампа и действующем на неё усилия. Минимальный диаметр направляющих колонок dнк вычисляют по эмпирической формуле [1]:

,

где F- площадь опорной поверхности нижней плиты, см2;

Р - полное расчётное усилие, Кн.

F=41×28=1148 см2.

 мм.

В штампе применяем две колонки . Используются стандартные направляющие узлы скольжения с размерами по ГОСТ 13121-83.

.7 Расчёт центра давления штампа

В штампах для вырубки (пробивки), содержащих несколько пуансонов, определение центра давления является обязательным. В штампах для гибки, вытяжке и других формоизменяющих операций центр давления обычно не определяют, так как конструкции таких штампов, как правило, содержат только один пуансон, ось которого является линией действия равнодействующей всех сил.

Определению координат центра давления штампа предшествует определение координат центра давления отдельных штампуемых элементов.

В общем случае координаты центра давления штампа можно определить аналитически по формулам:

,

.

где , ,….., - усилия штамповки отдельных элементов;

, , ….. и , , ….., - координаты центров давления штампуемых элементов.

Схема определения представлена на рисунке 7.

Рисунок 7- Схеме расчёта центра давления штампа

мм.

4.8 Расчёт закрытой высоты штампа

Штамп следует проектировать в его нижнем рабочем положении. В этом положении наилучшим образом увязывается взаимодействие рабочих, прижимающих и удаляющих деталей штампа.

Высота штампа в нижнем рабочем положении называется его закрытой высотой и должна быть увязана с закрытой высотой пресса.

Закрытой высотой пресса называется расстояние от верхней плоскости стола пресса до нижней плоскости ползуна в его нижнем положении при максимальном ходе и наименьшей длине шатуна.

Закрытая высота пресса определяет максимальную закрытую высоту штампа, который может быть установлен на данном прессе.

Закрытая высота штампа  (в нижнем рабочем положении) должна находится между наибольшей закрытой высотой пресса  и наименьшей закрытой высотой пресса , обычно берут .

Обычно штампы проектируют ближе к наибольшей закрытой высоте пресса, учитывая желательность работы при укороченном (свинченном) шатуне, а также уменьшение высоты штампа вследствие последующих перешлифовок.

В случае, если закрытая высота штампа  будет меньше наименьшей закрытой высоты пресса ,(т.е. ), необходимо применение промежуточных подкладных плит или специальных обработанных брусков.

мм.

5. Мероприятия по технике безопасности

В холодноштамповочных цехах травматизм может возникнуть вследствие несовершенства конструкций штампов или прессов, из-за нарушения технологического процесса, отсутствия или неправильной конструкции предохранительных и ограждающих устройств, а также вследствие плохой организации труда в цехе (недостаточное освещение, захламленность, плохая организация рабочего места, недостаточное обучение рабочих безопасным методам работы, неправильная расстановка оборудования).

Ответственность за выполнение мероприятий по охране труда и технике безопасности в цехе несет начальник цеха, а на участке - производственный мастер.

Согласно правилам техники безопасности каждый вновь принимаемый рабочий должен пройти предварительный инструктаж по технике безопасности. После этого мастер обязан лично познакомить рабочего с правилами обращения с оборудованием и подъемно-транспортными средствами, с правилами содержания рабочего места, показать безопасные приемы работы на данном прессе при штамповке тех или иных деталей. Такой инструктаж мастер проводит также и при переводе рабочего на новую работу. Мастер обязан лично и через наладчиков следить за тем, чтобы работа производилась только на вполне исправных прессах и все ограждения и предохранительные приспособления были всегда на своих местах, хорошо закреплены и в исправном состоянии.

Общие правила безопасности при работе на прессах. В начале работы необходимо:

1. Убедиться в хорошем состоянии пресса и рабочего места и выяснить, были ли в предыдущей смене неполадки в работе пресса и как они устранены.

. Обеспечить необходимую смазку пресса.

. При необходимости отрегулировать местное освещение.

. Проверить исправность пресса на холостом ходу.

Во время работы:

1. Внимательно относиться к сигналам, подаваемым с грузоподъемных устройств и движущегося транспорта, и не находиться под поднятым и движущимся грузом.

2. Во время работы быть внимательным и не отвлекаться посторонними делами и разговорами.

3. При ремонте, чистке, смазке пресса у пусковых устройств вывешивать надпись «Не включать - ремонт».

4. Запрещается прикасаться к электрооборудованию и электроустройствам, обслуживание которых рабочему не поручено, открывать дверцы электрошкафа и прикасаться к клеммам.

Предупредительные меры защиты от поражения электрическим током. В целях защиты от поражения электрическим током необходимы следующие меры:

-        проведение инструктажа лиц, связанных с обслуживанием электрооборудования;

-        вывешивание предостерегающих надписей и плакатов;

-        маркировка проводов установленной краской;

-        организация периодической проверки состояния изоляции деталей от электротока;

-        размещение электропроводки в трубах на всех участках, где она может подвергаться повреждениям;

-        надежное ограждение пусковых устройств;

-        установка огнестойких защитных кожухов, на рубильниках;

Все электротехнические работы по монтажу и обслуживанию осветительных и силовых сетей должен выполнять электромонтер, прикрепленный к данному участку. Устройства для защиты рук при работе на прессах. Основной причиной травматизма в прессовых цехах является попадание рук штамповщика в опасную зону штампа (во время рабочего хода пресса). Это может происходить вследствие невнимательности, неосторожности рабочего, сдваивания ходов пресса, неожиданного хода пресса, вызванного случайным включением.

Для предупреждения подобных случаев применяются устройства, закрывающие штамповое пространство во время рабочего хода, устройства, предотвращающие включение пресса при нахождении рук рабочего в такой зоне, устройства, принудительно удаляющие руки рабочего из опасной зоны, схемы включения, требующие одновременного участия обеих рук рабочего, а также различные приспособления, предотвращающие случайное включение пресса - ограждения педали, упоры и т. д. Устройства могут быть механическими или с использованием световых лучей. Последнюю схему не следует применять на прессах с муфтами жесткого сцепления. Однако и в других случаях эта схема не всегда гарантирует безопасность вследствие недостаточной надежности используемых в ней фотоэлементов и фотосопротивлений. Основными требованиями к этим устройствам являются: надежная защита рук от попадания в опасную зону во время рабочего хода или удаление рук, находящихся в опасной зоне при каждом опускании ползуна; исключение возможности травмирования штамповщиков самим защитным устройством; возможность регулирования ограждения по высоте при изменении высоты штампового пространства пресса; работа устройства не должна утомлять рабочего и мешать ему; устройства должны быть прочными, надежными, простыми в изготовлении и ремонте, не мешать наладке и установке штампов.

Технические условия безопасности на механические прессы. При ремонте и модернизации механических прессов следует в обязательном порядке выполнять приведенные ниже основные требования, гарантирующие нормальную работу прессов и безопасность обслуживающего персонала.

. Прессы необходимо снабжать стационарными площадками с лестницами для обслуживания частей, требующих осмотра, ремонта, наладки и т. п., расположенных на высоте 3 м и более. Для обслуживания высокорасположенных частей прессов, конструкция которых не требует наличия площадок, можно ограничиваться только лестницами.

. Площадки должны иметь перила высотой 1000 мм со сплошной зашивкой снизу на высоту не менее 100 мм. Между зашивкой и перилами на высоте 500-600 мм от настила площадки необходимо размещать дополнительную продольную ограждающую полосу, а также поперечные вертикальные перекладины на расстоянии не более 300 мм друг от друга. На площадках должен быть металлический настил из стальных рифленых или гладких листов с наплавленным рельефом.

3. Площадки следует снабжать табличкой с указанием максимально допустимой на них общей и сосредоточенной нагрузки.

4. У выхода с площадки на лестницу должна быть откидывающаяся перекладина с защелкой, открывающаяся вверх или внутрь (в сторону площадки).

5. Ширина лестниц должна быть не менее 600 мм, а расстояние между ступенями не более 300 мм.

6. Наклонные лестницы (с углом наклона к горизонту 75° и менее) должны иметь перила высотой 800 мм и плоские ступени из стальных рифленых или гладких листов с наплавленным рельефом либо ступени, выполненные из двух-трех стержней.

7. Смазка основных трущихся поверхностей у прессов усилием 40 тс и выше должна быть централизованной. На прессах с большими усилиями следует устанавливать приводную станцию смазки. При этом густую смазку нужно осуществлять автоматически с контролируемым режимом в зависимости от времени и числа ходов ползуна пресса в минуту.

8. В системе смазки пресса нужно устанавливать реле давления, обеспечивающее автоматическое выключение пресса при падении давления смазки ниже установленного предела. Система смазки должна быть герметичной и исключать утечки из емкостей.

9.   На прессе необходимо предусматривать сборники для стекающей жидкой смазки.

10. На прессах должно иметься местное освещение, обеспечивающее на столе пресса освещенность не менее 50 лк.

11. Окрашивать прессы следует в соответствии с «Указаниями по рациональной цветовой отделке поверхностей производственных помещений и технологического оборудования промышленных предприятий».

12. Пресс должен иметь:

а) паспортную табличку с краткой технической характеристикой; б) таблицу с указанием точек и периодичности смазки; в) указатели предела регулировки шатуна; г) указатели направления вращения маховика (маховых шестерен); д) надпись к каждой кнопке и рукоятке, указывающую их назначение; е) указатель положения кривошипного вала; ж) световые сигналы, показывающие, на какой из режимов работы прессу переключена система управления, а также сигналы «цепь управления под напряжением» и «главный двигатель работает».

14. Приборы управления, муфта включения и тормоз не должны допускать случайного или самопроизвольного включения пресса.

15. Тормозная система должна осуществлять торможение механически, независимо от энергоносителя; растормаживание - механически или с помощью энергоносителя (электричества, воздуха и т. п.).

16. Угол торможения должен составлять не более 15° угла поворота кривошипного вала.

17. Прессы усилием свыше 16 тс необходимо оборудовать уравновешивателями, предотвращающими опускание ползуна под действием собственного веса и веса прикрепленного к нему инструмента при разладке тормоза, а также при обрыве шатуна.

18. Верхний и нижний пределы регулировки межштампового пространства необходимо ограничивать: при регулировке от электродвигателя с помощью конечных выключателей, при ручной регулировке соответствующими указателями.

19. Прессы, на которых предусматривается групповая работа, необходимо снабжать групповым управлением - двуруким для каждого штамповщика, допускающим возможность включения пресса на рабочий ход только при одновременном включении всех пусковых приборов.

20. Каждый пост управления прессом (ходом ползуна) необходимо снабжать двумя кнопками «пуск» и одной кнопкой «стоп».

21. Кроме кнопок «стоп» отключения муфты должны быть предусмотрены аварийные кнопки «стоп общий» для полного отключения пресса (муфты и двигателя).

22. Кнопки управления прессом (ходом ползуна) должны быть расположены на высоте 700-1200 мм от уровня пола. Кнопки «пуск» двурукого включения должны находиться на расстоянии друг от друга не менее 300 мм (для невозможности их включения одной рукой) и не более 600 мм (для удобства пользования).

23. Опорная поверхность педали должна быть прямой и не скользкой. Педаль должна иметь закругленный передний край (торец) и на расстоянии 110-130 мм от него упор для носка ноги.

24. Педаль необходимо закрывать на всем протяжении прочным кожухом, открытым только с фронта обслуживания и исключающим возможность случайного воздействия на педаль.

25. Педаль нужно располагать на высоте 80-100 мм от уровня пола, а включение ее на рабочий ход должно происходить после прожима педали соответственно на 45-70 мм.

26. Усилие воздействия на педаль для включения пресса должно составлять 2,5-3,2 кг.

27. Все движущиеся и вращающиеся части, расположенные на высоте до 2,5 м от уровня пола, необходимо размещать внутри станины либо закрывать сплошным или сетчатым ограждением. Стороны ячеек сетчатого ограждения должны быть не более 10 мм. Ограждения надо подвешивать на петлях, шарнирах и т. п. Допускается глухое подвешивание (на болтах, шпильках и т.п.) при условии наличия в ограждении подвижной крышки (дверцы) для доступа к частям машин, требующим частого обслуживания.

28. Прессы нужно снабжать предохранителями предотвращающими поломку пресса при перегрузке.

29. На открытых одностоечных прессах необходимо предусматривать ограждение кривошипно-шатунного механизма и кривошипного вала, предотвращающее падение их частей при различных по ломках.

30. Рабочее пространство прессов при наличии устройств для автоматической подачи заготовок в штамп и удаления из штампа отходов и деталей необходимо ограждать, чтобы исключить доступ рук в опасную зону. Ограждение не должно мешать наблюдению за прессом штамповки.

32. Всю электроаппаратуру пресса (за исключением конечных выключателей, электромагнитов и других устройств, монтаж которых на прессе диктуется условиями работы) следует устанавливать в отдельном запираемом шкафу. Сетевой вводный выключатель должен иметь рукоятку, выведенную наружу.

33. Все токоведущие части электродвигателя, электроприборов и проводка должны быть ограждены и недоступны для случайного прикосновения.

34. Станину пресса, корпусы электродвигателей, кожухи электроаппаратуры, а также другие металлические части, которые могут оказаться под напряжением, требуется заземлять и занулять в соответствии с действующими правилами устройства электроустановок.

35.Питание светильников местного освещения с лампами накаливания, осветителя фотоэлектронной блокировки, а также педалей и кнопок управления прессом в режиме одиночных ходов допускается электрическим током напряжением не выше 36 в.

6. Расчёт экономической эффективности

Оценка экономической эффективности применения разработанного в проекте штампа заключается в сопоставлении единовременных затрат на изготовление более сложной технологической оснастки с ожидаемой экономией на производственной заработной плате, расходе штампуемого материала и цеховых расходах. В качестве показателей экономической эффективности применения разработанного определяется технологическая себестоимость изготовления детали при штамповке, а также срок окупаемости затрат, представляющий отношение величины единовременных дополненных затрат к суммарной величине годовой экономии на текущих затратах производства.

Технологическую себестоимость изготовления детали определяют по формуле:

,

где K - технологическая себестоимость детали, у.е.;

W- ориентировочная планово-расчётная цеховая стоимость типовых штампов (м/ук 3846, табл. Б.1-Б.3);

m- число штампов, необходимое для изготовления заданной партии деталей, шт.:

,

где C - стойкость штампа (м/ук 3846, табл. Б.4);

V - стоимость автоматической подачи (м/ук 3846, табл.Б.5);

N - годовая программа выпуска штампуемых деталей, шт.;

T - производительность в смену, шт.;

t - средняя заработная плата рабочего по данной операции за 1 день, у.е. (тарифная часовая ставка для рабочих машиностроительной промышленности, работающих по третьему разряду, составляет 0,413 у.е.);

Н- цеховые накладные расходы за один день, у.е. (принимаются в процентном отношении к заработной плате производственных рабочих. По данным Минского тракторного завода цеховые накладные расходы составляют 500% заработной платы производственных рабочих);

М- стоимость материала, определяемая по норме расхода на основании карты раскроя и прейскуранта оптовых цен не материалы, у.е..

, принимаем ,

 шт.

Масса листа определяется по формуле:

,

где  - длина листа, см;

 - толщина листа, см;

 - ширина листа, см;

 - плотность обрабатываемого материала, г/см3.

 г.

Количество листов в тонне материала:

 листа.

Стоимость одного листа:

,

где - стоимость одной тонны материала, у.е.

 у.е.

Стоимость материала приходящегося га одну деталь, у.е:

.

 у.е.

у.е.

Срок окупаемости затрат на средства автоматизации подсчитывается по формуле:

,

где O - срок окупаемости затрат в годах;

N - годовая программа выпуска штампуемых деталей, шт.;

- дополнительные затраты на автоматизацию, принимаемые равными стоимости автоматической подачи, у.е. (м/ук 3846, табл. Б.5);

- экономия на производственной заработной плате на одну штампуемую деталь, определяемая разностью расценок до и после автоматизации.

При выполнении курсового проекта расценки можно определить как частное от деления средней заработной платы рабочего на производительность:установленный процент цеховых накладных расходов;коэффициент, учитывающий отсутствие экономии по некоторым статьям накладных цеховых расходов при наличии экономии на производственной заработной плате.

При постоянной годовой программе выпуска изделий коэффициент k = 0.2...0.5 .

 лет.

Выводы и заключение

В данном курсовом проекте в соответствии с заданием произведён технологический расчёт детали «Гайка», а именно раскрой, КИМ, исполнительные размеры инструмента и пр. Спроектирована необходимая технологическая оснастка. Освещены вопросы техники безопасности при штамповочных операциях. Разработан технологический процесс. Произведён расчёт экономической эффективности.

Литература

1. Справочник конструктора штампов: Листовая штамповка /Под общ. Ред. Л.И.Рудмана. - М. : Машиностроение, 1988.

.        Короткевич В.Г. Проектирование инструмента для пластического деформирования. - Мн.: Вышэйшая школа, 2000.

.        Зубцов М.Е. Листовая штамповка - Л.: Машиностроение, 1980.

.        Романовский В.П. Справочник по холодной штамповке. - Л.: Машиностроение, 1979.

.        Ковка и штамповка: Справочник: В 4-х томах. Т.4: Листовая штамповка. Под ред. А.Д. Матвеева. - М.: Машиностроение, 1985-1987

Похожие работы на - Технологический расчёт детали 'Гайка'

 

Не нашли материал для своей работы?
Поможем написать уникальную работу
Без плагиата!
Без нейросетей!