|
7
|
|
|
|
Составляющая
первичного тока небаланса, обусловленная округлением расчетного числа витков
неосновной стороны для расчетного случая повреждения, А
|
I’’’нб.расч.
=
*
IКЗ.max.ВН
* 840 = 46.8 A
|
|
|
Первичный
расчетный ток небаланса с учетом составляющей I’’’нб.расч.
,
А
|
Iнб.расч. =[I’нб.расч.+
I’’нб.расч.
+
I’’’нб.расч.]
|
218+46.8=264.8 А
|
|
Ток
срабатывания защиты на основной стороне, А
|
Iс.з. =
 * =289
А
|
|
|
Коэффициент
отстройки защиты (окончательное значение)
|
kотс.=
Iс.з. /
Iнб.расч.
|
=
1,09
|
|
Окончательно
принятое число витков обмотки НТТ реле для установки на основной и неосновной
сторонах
|
Wосн
= WI.ур.
WI
= WII.ур.
|
6 7
|
Расчет максимальной токовой защиты
(МТЗ) с пуском напряжения трансформаторов
Максимальная токовая защита с комбинированным
пуском напряжения, выполнена с помощью реле тока типа РТ-40, фильтра-реле
напряжения обратной последовательности типа РНФ-1М и минимального реле
напряжения типа РН-54.
Первичный ток срабатывания защиты определяется
по условию отстройки от номинального тока трансформатора Iном
на обеих сторонах, где установлена рассматриваемая защита.
Iс.з. =
kотс.*
Iном
/ kв ,
где
kотс.-
коэффициент отстройки, учитывающий ошибку реле принимается равным 1,2;
kв
- коэффициент возврата реле, может быть принят равным 0,8.
Iс.з. ВН
= kотс.*
Iном
/ kв
= 1,2*80,4 / 0,8 = 120,6 А
Iс.з. НН
= kотс.*
Iном
/ kв =
1,2*840,8 / 0,8 = 1261,2 А
Для реле минимального напряжения,
включенного на междуфазное напряжение (типа РН - 54) первичные напряжения
срабатывания защиты определяются по следующим условиям, исходя из обеспечения
возврата реле после отключения внешнего КЗ по выражению: Uс.з.£
где Umin -
междуфазное напряжение в месте установки защиты в условиях самозапуска после
отключения внешнего КЗ (определяется расчетом); в ориентировочных расчетах
может быть принято равным (0.9 - 0.85) Uном.; принимаем
равным 0.85;
kотс. -
коэффициент отстройки; может быть принят равным 1,2;
Uс.з.ВН£
=67,9 кВ
Uс.з.НН£
=6,49 кВ
Отстройки от напряжения самозапуска
при включении от АПВ или АВР заторможенных двигателей нагрузки Uс.з.£
где Uзап. -
междуфазное напряжение в месте установки защиты в условиях самозапуска
заторможенных двигателей нагрузки при включении их от АПВ или АВР (определяется
расчетом); в ориентировочных расчетах можем быть принято равным 0,7*Uном.
Uс.з.ВН£
=67,1 кВ
Uс.з.НН£
=6,41 кВ
Для фильтра - реле напряжений
обратной последовательности (типа РНФ-1М) комбинированного пуска напряжения -
исходя из минимальной уставки устройства (6 В междуфазных):
U2с.з.=0,06
Uном.
U2с.з.ВН=0,06
115 = 6,9 кВ
U2с.з.НН=0,06
11 = 0,66 кВ
При таком напряжении срабатывания обеспечивается
отстройка от напряжения небаланса в расчетном (нагрузочном) режиме.
Вторичный ток срабатывания реле
определяется по выражению
Iс.з. =
Iс.з.*
kсх
/ K1
Где
kсх -
коэффициент, зависящий от схемы соединения трансформаторов тока защиты; при
соединении последних в звезду kсх=1,0, при
соединении трансформаторов тока в треугольник kсх =
;
K1 - коэффициент
трансформации трансформаторов тока защиты.
Iс.р. ВН = Iс.з.*
/ K1ВН =
120,6*1,73/(150/5)=6,95 А
Iс.р. НН = Iс.з.* kсх / K1НН =
1261,2*1/(1000/5)=6,3 А
Чувствительность защиты определяется
по выражениям:
Для реле тока kч.1=
Iз.min./
Iс.з.
где Iз.min -
минимальный ток защиты, который рассчитывается по формуле Iз.min.ВН =
/2 * Iк.з.max.вн =
(1,73/2)*840=726,6А
Iз.min.НН =
=
=6381 А
Uнн -
номинальное напряжение обмоток силового трансформатора на стороне НН
kч.1ВН= Iз.min.вн * kсх / Iс.з.В.Н. = 726,6*
/120,6 =
10,4
kч.1НН= Iз.min.нн * kсх / Iс.з..НН =
6381/1261,2 = 5,06
по условию чувствительности защиты необходимо,
чтобы >1,5
Для реле минимального напряжения (типа РН-54),
включенного на междуфазное напряжение,
KЧ.U.=
где Uз.max - первичное
значение междуфазного напряжения в месте установки защиты при металлическом КЗ
между фазами в расчетной точке в режиме, обуславливающем наибольшее значение
этого напряжения; Uз.max=0.85*Uном.
kв-
коэффициент возврата реле, принят равным 1,25.
KЧ.U.в.н.=
=1,52
KЧ.U.н.н=
= 1,5
коэффициент чувствительности удовлетворяет
условию чувствительности защиты, согласно которому по необходимо, чтобы KЧ.U>1,5.
Защита трансформатора от перегрузки
Защита от перегрузки применяется если по
условиям технологии производства возможна перегрузка трансформатора. Она
выполняется с одним реле, включенным на ток фазы со стороны источника питания,
и действует с выдержкой времени на сигнал, а на необслуживаемых подстанциях -
на разгрузку или отключение трансформатора. На двухобмоточных трансформаторах
защита от перегрузки устанавливается со стороны основного питания. Схема защиты
от перегрузки совмещаемся со схемами дифференциальной защиты и МТЗ
трансформатора.
Iс.з. =
kотс.*
Iном
/ kв
где kотс.
- коэффициент отстройки; принимается равным 1,05;
kв
- коэффициент возврата; для реле РТ - 40 принимается равным 0,8;
Iном
- номинальный ток обмотки трансформатора со стороны установки реле РТ-40, то
есть со стороны основного питания.
Iс.з. =
1,05* Iном
/ 0,8 = 1,05*80,4/0,8 = 105,5А
Ток срабатывания реле РТ-40 :
Iс.р. =
Iс.з.*
kсх
/ K1вн
Iс.р. = 105,5*
/
(150/5)=6,08 А
kсх -
коэффициент, зависящий от схемы соединения трансформаторов тока защиты; при
соединении последних в звезду равен 1, при соединении трансформаторов тока в
треугольник равен
.
K1вн -
коэффициент трансформации трансформатора тока защиты со стороны ВН силового
трансформатора
Газовая защита трансформатора
Газовая защита основана на
использовании явления газообразования в баке поврежденного трансформатора
(Рис.4). Она устанавливается на трансформаторах и автотрансформаторах, а также
на токоограничиваюших реакторах с масляным охлаждением, имеющих расширители.
Применяемые газовые зашиты является обязательным на трансформаторах и
автотрансформаторах мощностью 4,0 МВ*А и более, а также на трансформаторах и
автотрансформаторах мощностью от 1000 до 4000 кВ*А, не имеющих дифференциальной
защиты или отсечки и если максимальная токовая защита имеет выдержку времени 10
и более. В трансформаторах мощностью 1000 - 4000 кВ*А применение другой газовой
защиты при наличии другой быстродействующей защиты, допускается, но не является
обязательным. Применение данной газовой защиты является необходимым на
внутрицеховых трансформаторах и автотрансформаторах мощностью от 6,3 МВ*А и
выше независимо от других быстродействующих защит.
Интенсивность газовыделения и
химический состав выбрасываемого газа зависят от характера и размеров
внутренних повреждений трансформатора. Поэтому защита выполняется с таким
условием, чтобы при медленном газообразовании подавался предупредительный
сигнал дежурному персоналу, а при бурном газообразовании, что имеет место при
коротких замыканиях, происходило немедленное отключение защищаемого
трансформатора (автотрансформатора). Кроме того, газовая защита действует на
отключение или только на сигнал при опасном понижении масла в баке
трансформатора или автотрансформатора. Газовая защита является универсальной и
наиболее чувствительной защитой от внутренних повреждений. Эта защита реагирует
на такие опасные повреждения, как замыкание между витками обмоток, на которые
не реагируют другие виды защит из-за недостаточного значения тока при этом виде
повреждения.
Газовая защита осуществляется с
помощью специальных газовых реле, которые подразделяются на:
Поплавковые
Лопастные
Чашечные
Газовое реле представляет собой
металлический кожух, который врезан в маслопровод, который соединяет бак
трансформатора (автотрансформатора) с расширительным баком. Реле заполнено
маслом. В кожухе реле имеется смотровое стекло со шкалой, с помощью которого мы
наглядно определяем объём скопившегося в реле газа.
На крышке реле имеется кран, которым
для выпуска скопившегося газа и взятия его на пробу для анализа. На кожухе реле
также расположены зажимы для подключения кабеля к контактам, которые
расположены внутри кожуха реле.
Газовая защита является
быстродействующей, это обусловлено тем, что в оперативной части защиты
отсутствует реле времени, реагирует практически на все повреждения внутри бака,
проста по исполнению (Рис.5). К недостаткам газового реле можно отнести ложное
срабатывание защиты при гидравлическом ударе (при коммутационных переключениях
цепей, внешних КЗ, сопровождаемых электродинамическими перемещениями обмоток);
возможны ложные срабатывания защиты в сейсмоопасных районах, при попадании
воздуха в бак. Кроме того газовая защита нечувствительна к начальным стадиям
межвитковых замыканий.
В данном проекте для защиты бака
силового трансформатора используется газовое реле типа РГТ - 80, а для устройства
РПН, как указано выше, принимаем реле типа РСТ - 25 (Рис.6).
Рис.4
Рис. 5
Рис.6
Техника безопасности при
обслуживании устройств релейной защиты
Для обеспечения безопасности работ, проводимых в
цепях измерительных приборов и устройств релейной защиты, все вторичные обмотки
измерительных трансформаторов тока и напряжения должны иметь постоянное
заземление. В сложных схемах релейной защиты для группы электрически
соединённых вторичных обмоток трансформаторов тока, независимо от их числа
допускается выполнять заземление только в одной точке. При необходимости
разрыва токовой цепи измерительных приборов и реле цепь вторичной обмотки трансформатора
тока, предварительно закорачивается на специально предназначенных для этого
зажимах.
В цепях между трансформатором тока и зажимами,
где установлена закоротка, запрещается производить работы, которые могут
привести к размыканию цепи. При производстве работ на трансформаторах тока или
в их вторичных цепях необходимо соблюдать следующие меры безопасности:
Шины первичных цепей не использовать в качестве
вспомогательных токопроводов при монтаже или токоведущих цепей при выполнении
сварочных работ;
Цепи измерений и защиты присоединять к зажимам
указанных трансформаторов тока после полного окончания монтажа вторичных схем;
При проверке полярности приборы, которыми она
производится, до подачи импульса тока в первую обмотку надёжно присоединять к
зажимам вторичной обмотки.
Работа в цепях устройств релейной защиты,
электроавтоматики и телемеханики производится по исполнительным схемам, работа
без схем, по памяти, запрещается. При работах в устройствах релейной защиты,
автоматики и телемеханики необходимо пользоваться слесарно-монтажным
инструментом с изолирующими рукоятками.
При необходимости производства каких-либо работ
в цепях или на аппаратуре релейной защиты, автоматики и телемеханики при
включенном основном оборудовании, принимаются дополнительные меры, против его
случайного отключения. Запрещается на панелях или вблизи места размещения
релейной аппаратуры производить работы, вызывающие сильное сотрясание релейной
аппаратуры, грозящие ложным срабатыванием реле.
Переключения, включения и отключения
выключателей, разъединителей и другой аппаратуры, пуск и остановка агрегатов,
регулировка режима их работы, необходимые при наладке или проверке устройства
релейной защиты, автоматики и телемеханики, производят только оперативным
персоналом.
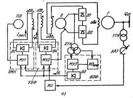
Автоматическая регулировка
возбуждения (АРВ) турбогенератора с полупроводниковой системой возбуждения
Генераторы мощностью более 100 МВт и синхронные
компенсаторы мощностью 100 MB.А и выше оборудуются обычно полупроводниковой
системой возбуждения. Для турбогенераторов типа ТВВ широкое распространение
получила полупроводниковая высокочастотная система возбуждения. Обмотка
возбуждения генератора овг (рис. 5а) в этой системе возбуждения получает
питание от выпрямителей В1 и В2, на которые работает возбудитель В,
представляющий собой индукторный генератор переменного тока с частотой 500 Гц.
Возбудитель имеет три обмотки возбуждения: овв1, овв2 и овв3. В систему
возбуждения входит также подвозбудитель ПВ, представляющий собой генератор с
частотой 400 Гц, возбуждаемый постоянным магнитом. Обмотка возбуждения
возбудителя овв1 включена по схеме последовательного самовозбуждения.
АРВ турбогенератора с такой системой возбуждения
включает в себя (рис. 5а) противовключенный электромагнитный корректор
напряжения ЭМК, устройство бесконтактной форсировки возбуждения УБФ и блок
ограничения форсировки БОФ.
Обмотка возбуждения возбудителя овв1 создает
возбуждение больше требуемого в нормальных условиях работы генератора.
Противовключенный ЭМК, работающий на обмотку овв3, снимает излишнее
возбуждение, поддерживая напряжение турбогенератора на заданном уровне. ЭМК
получает питание от подвозбудителя.
При значительных снижениях напряжения,
обусловленных, например, к. з., возбуждение возбудителя, а следовательно, и
генератора форсируется УБФ, которое работает как согласованный корректор
напряжения. Выходной ток УБФ Iф.
подается в обмотку овв2 возбудителя, включенную согласно с овв1. УБФ получает
питание от одной из рабочих обмоток возбудителя. Структурные схемы ЭМК и УБФ
аналогичны. Они содержат трехфазные магнитные усилители МУ1 и МУ2 и выпрямители
ВЗ, В4. Измерительный орган ИО является общим для ЭМК и УБФ.
В нормальных условиях работы ток Iф.
мал и УБФ не оказывает существенного влияния на возбуждение машины. При
напряжении машины ниже U3 ток Iф.
резко возрастает, а Iрег
снижается,
что приводит к форсировке возбуждения.
Блок ограничения форсировки БОФ предназначен для
предотвращения повышения напряжения возбудителя в процессе форсировки выше
заданного предельного значения, которое принимается обычно равным удвоенному
номинальному.
Структурно БОФ аналогичен ЭМК. Он содержит
измерительный орган ИОБОФ, магнитный усилитель МУЗ, получающий
питание от одной из рабочих обмоток возбудителя через трансформатор напряжения
ТН2, и выпрямитель В5. Выходной ток БОФ Iбоф.
подается в управляющие обмотки МУ1 ЭМК и МУ2 УБФ. Увеличение Iбоф
приводит к возрастанию Iрег
и
снижению Iф
(Рис.5б), чем и достигается ограничение форсировки возбуждения регулируемого
генератора.
Данный АРВ представляет собой статический АРВ
пропорционального действия. АРВ является относительно быстродействующим, так
как его магнитные усилители питаются напряжением повышенной частоты.
Рис.
Рис. 5. Структурная схема АРВ турбогенератора с
полупроводниковой высокочастотной системой возбуждения.
Список использованной литературы
.ГОСТ
2 104 - 68 ЕСКД. «Основные надписи».
.ГОСТ
105-95. ЕСКД. - Техническая документация
.ГОСТ
109-73 ЕСКД. «Основные требования к чертежам».
.ГОСТ
2 105 - 79 ЕСКД. «Общие требования к текстовым документам»
.ГОСТ
316-68. ЕСКД. - ПТБ при эксплуатации электроустановок потребителя. -М:
Госэнерго 1994
.Правила
установок электрических установок. - М: Энергоатомиздат, 1987-648с.
.Правила
техники безопасности при эксплуатации электрических установок потребителей. -
М.: Госэнергонадзор, 1994.
.Руководящие
указания по релейной защите. Выпуск 13А и 13Б. Релейная защита трансформаторов
и автотрансформаторов 110 - 500 кВ: - М.: Энергоатомиздат, 1986
.Рожкова
Л.Д. Козулин B.C. Электрооборудование станций и подстанций: Учебник для
техникумов. - 3-е изд., перераб. и доп. - М.: Энергоатомиздат, 1987 -648 с: ил.
.Г.
Н. Ополева СХЕМЫ И ПОДСТАНЦИИ ЭЛЕКТРОСНАБЖЕНИЯ. СПРАВОЧНИК. М. ФОРУМ - ИНФРА-М
2006 - 480с.
.Гловацкий
B.Г., Пономарев И.В.. СОВРЕМЕННЫЕ СРЕДСТВА РЕЛЕЙНОЙ ЗАЩИТЫ И АВТОМАТИКИ
ЭЛЕКТРОСЕТЕЙ. М. EMV 2003.
.Чернобровов
Н.В. Релейная защита. Энергия. М.1974.
.Кривенков
В.В., Новелла В.Н. Релейная защита и автоматика систем электроснабжения. М.
Энергоиздат.1981г.
.http://forca.ru
.http://www.tdtransformator.ru/
.http://city-energi.ru
.
http://www.rza.org
Приложение
Таблица
|
Обозначение
|
Наименование
|
Кол.
|
Примечание
|
|
T1-T2
|
Трансформатор
силовой ТДН16000/110 кВ
|
1
|
|
|
TA1-ТА2
|
Трансформатор
тока ТФЗМ-110Б-1191
|
12
|
|
|
ТА3
- ТА4
|
Трансформатор
тока ТПШЛ-10
|
12
|
|
|
АК1
|
Реле.
Комплектная защита К3-12
|
1
|
|
|
КА1
- КА2
|
Реле
тока РТ-40/Р
|
2
|
|
|
КА3
- КА8
|
Реле
тока РТ-40
|
6
|
|
|
KAW1-KAW2
|
Реле
тока РНТ-565
|
2
|
|
|
KVZ1-KVZ2
|
Фильтр-реле
напряжения обратной последовательности РНФ-1М
|
2
|
|
|
KV1-KV2
|
Реле
напряжения РН-54/160
|
2
|
|
|
SG1-SG5
|
Блоки
испытательные БН-4
|
5
|
|
|
КН1-КН5
|
5
|
|
|
КН6-КН9
|
Реле
указательное РУ-1
|
4
|
|
|
KL1-KL3
|
Реле
промежуточное РП-23
|
2
|
|
|
KL4
|
Реле
промежуточное РП-222
|
1
|
|
|
KL5
|
Реле
промежуточное РП-252
|
1
|
|
|
KL6-KL10
|
Реле
промежуточное РП-23
|
5
|
|
|
KSG1-KSG2
|
Реле
газовое РГТ - 80
|
2
|
|
|
KT1, KT7
|
Реле
времени РВ - 133
|
2
|
|
|
KT3,
KT5
|
Реле
времени РВ - 132
|
2
|
|
|
KT6
|
Реле
времени РВ - 114
|
3
|
|
|
SX1-SX10
|
Накладки
НИР-3
|
10
|
|
|
R1
|
Резистор
ПЭВ-25, 3900 Ом
|
1
|
|
|
R2
|
Резистор
ПЭВ-50, 1800 Ом
|
1
|
|
|
R3
|
Резистор
ПЭВ-10, 100 Ом
|
1
|
|