Разработка конструкции специального вертикально-сверлильного станка 2Н125

  • Вид работы:
    Курсовая работа (т)
  • Предмет:
    Другое
  • Язык:
    Русский
    ,
    Формат файла:
    MS Word
    932,92 Кб
  • Опубликовано:
    2015-07-06
Вы можете узнать стоимость помощи в написании студенческой работы.
Помощь в написании работы, которую точно примут!

Разработка конструкции специального вертикально-сверлильного станка 2Н125

Министерство образования и науки Российской Федерации

Федеральное Государственное бюджетное образовательное учреждение

высшего профессионального образования

«СИБИРСКИЙ ГОСУДАРСТВЕННЫЙ АЭРОКОСМИЧЕСКИЙ УНИВЕРСИТЕТ ИМЕНИ АКАДЕМИКА М.Ф. РЕШЕТНЕВА»







Курсовой проект

по дисциплине оборудование машиностроительных производств

Тема: Разработка конструкции специального вертикально - сверлильного станка 2Н125







Красноярск 2014г

ТЕХНИЧЕСКОЕ ЗАДАНИЕ

Размер стола, мм

nдв,об\мин

Диаметр МРИ

Конус шпинделя

Опора ШСЕ

Класс точности опоры

Материал детали

410 мм

1500

16 мм

МК3

А354

Сталь 35


Тема проекта: Разработка конструкции специального вертикально-сверлильного станка 2Н125.

Перечень разрабатываемого графического материала:

Деталь «Крышка» - формат А3.

Вертикально-обрабатывающий центр- формат А2.

Вертикально-сверлильный станок схема кинематическая принципиальная - формат А2.

Вал шпиндельный - формат А2.

Шпиндельная сборка - формат А2.

Шифр проекта КП.ОМП.14.07.00.00.000 ПЗ.

АННОТАЦИЯ

Даны теоретические и экономические обоснования, конструкторско-технологические разработки по созданию металлообрабатывающего оборудования типа КП.ОМП.07.

Станок может быть использован в различных отраслях народного хозяйства, имеющих основные и вспомогательные цеха по обработке металлов.

ANNOTATION

There are given theoretical and economical grounded engineering-technological development for design metal working equipment type KP.OMP.20 .can be used in different brunches of national economy, producing and service service for working of metal and arborous materiaks.

ВВЕДЕНИЕ

Интенсификация производства в машиностроении неразрывно связано с техническим перевооружением и модернизации средств производства на базе применения новой техники. Техническое перевооружение, подготовка производства новых видов продукции машиностроения и модернизации средств производства неизбежно включают процессы проектирования средств технического оснащения и их изготовления.

На данный момент производится много металлообрабатывающего оборудования, оно более совершенно, чем оборудование, которое используется на заводах. Поэтому актуально разрабатывать новые модели металлообрабатывающего оборудования, которые будут удовлетворять всем требованиям производства и будут надежны.

Конструкция создаваемого станка должна быть перспективной. При разработке нового станка необходимо заложить в проект определенный запас совершенства и новизны решений его основных элементов по сравнению с уже известными.

При создании нового станка следует стремиться к сокращению сроков проектирования и освоения его производства.

Необходимо, чтобы проектируемый станок был универсальным, удовлетворял всем требованиям по технологической, технической части, виброактивости и технике безопасности.

Цель данной работы посвящена разработке вертикально-сверлильного станка.

Задача работы состоит из четырех частей: аналитической части, обзор, системный анализ аналогов и выбор прототипа станка, конструктивные проработки, описание и определение класса точности станка и построение станочного конфигуратора; из технологической части: расчет режимов резания, выбор электродвигателя и построение структурной схемы и графика частот вращения станка, конструкторской части - где изводится выбор электродвигателя, расчет структурной схемы, расчет шпинделя и исследовательской части - где производим расчет сверла, представляется патентно-лицензионный поиск.

1. АНАЛИТИЧЕСКАЯ ЧАСТЬ

.1 Системный анализ аналогов и выбор прототипа станка

Таблица 1

Характеристики станков

SSB 40Xn

2H135

SSB 35 Xn

LD450C

2H125

Максимальный диаметр сверления, мм

50

35

35

45

25

Рабочая поверхность стола, мм

580х60

450х500

540х440

730 х210

400 х450

Конус шпинделя

МК 4

МТ 4

МК 4

МТ 4

Частоты вращения, об/мин (число скоростей)

50-150 100-300 230-750 460-1500

80-1250

75-220 (12)

80-1250 (6)

45-2000(12)

Подачи шпинделя, мм/об

0,1;0,2; 0,3; 0,4.

0,1-1,6

0,1;0,2;0,3(3)

0,06;0,3

0,1;1,6

Расстояние от торца шпинделя до стола, мм

600

600

615

700

700

Ход стола, мм

530

600

570

570

270

Мощность двигателя, кВт

2,4

1,5

1,5

1,5

2.2

Габаритные размеры, мм

1035x680x2000

1030x835x2535

849x545x2290

1850x750x1000

2350х785х915

Вес, кг

670

1200

560

452

880


1.2 Описание конструкции станка

Станок вертикально-сверлильный 2Н135, применяется на производственных предприятиях с небольшим объемом выпускаемой продукции, мелкими или единичными сериями, как правило, это небольшие мастерские или малые предприятия.

Предназначен для выполнения ряда операций: сверление, зенкование, рассверливание отверстий, а так же зенкерования и подрезки торцев. Станок 2Н125 оснащен механической подачей шпинделя, при этом управление циклами работ осуществляется в ручном режиме, все это позволяет работать в широком диапазоне размеров, при использовании различных материалов заготовок и тд. Так же на станке установлена система реверсивного электродвигателя основного видения, это дает возможность работать на станке с использованием машинного метчика при ручной подаче шпинделя.

Рисунок 1.2.1 - 2Н135-Вертикально-сверлильный станок

1.3 Определение класса точности станка

Требуемый класс точности для обработки детали заданной точности применяется на основании расчетов и анализа.

Первый параметр R расч рассчитывается по данным рабочего чертежа по наиболее точному размеру и качеству поверхности.

расч= ,

где - шероховатость детали;

- допуск на размер, определяем по наиболее точному размеру и качеству поверхности, определяем для размера

расч=

 =es - ei


где es- верхнее предельное отклонение; ei - нижнее предельное отклонение на выдерживаемый размер.

Определяем значительное радиальное биение для шпинделя

Тс =А =↑

Тс =↑.

Принимаем класс точности станка - Н.

2. ТЕХНОЛОГИЧЕСКАЯ ЧАСТЬ

.1 Расчет режимов резания

Сверление:

Материал заготовки - сталь 35 с σв= 600 МПа. Требуется выбрать режущий инструмент, назначить режим резания.

Решение:

А. Выбор режущего инструмента.

Для обработки стали 35 с σв = 600 МПа [1, табл. 1.38] выбираем спиральное сверло из быстрорежущей стали Р18 диаметром D = 12мм с коническим хвостовиком. Можно использовать сталь Р6М5. Форма заточки сверла - одинарная с подточкой поперечной кромки [1, табл. 14.3].

Б. Назначение режима резания.

.        Находим глубину резания:


.        Назначаем подачу S0 [2, табл. 25 на с. 277]. Сталь 35 с σв = 600 МПа имеет твердость 180 НВ. Для сверла с D = 12 мм при твердости стали 160…240 НВ, подача S0 = 0,33…0,38 мм/об. Принимаем значение S0 = 0,33 мм/об.

.        Определяем скорость резания, м/мин, допускаемую режущими свойствами сверла, по формуле

.

Находим [2, табл. 28 на с. 278] значение постоянного коэффициента Cv = 9,8 и показатели степеней q = 0,4; m = 0,2; у = 0,5. При использовании СОЖ Т = 90.

Поправочный коэффициент на скорость резания

Кv = КмvКиvКnv,

Коэффициент на инструментальный материал Р6М5 Киv = 1 [2, табл. 6 на с. 263].

Коэффициент, учитывающий отрабатываемый материал, рассчитывается по формуле

.

Здесь коэффициент, характеризующий группу стали по обрабатываемости, Кr = 1, а показатель степени nv = 0,9 [2, табл. 2 на с. 262].

Тогда

.

При одинарной заточке сверл из быстрорежущей стали рассчитанную скорость резания необходимо уменьшить, умножив ее на коэффициент Knv = 1. Тогда

=l,2 · 1,0 · 1,0 = 1,2

а скорость резания

м/мин.

.        Определяем частоту вращения шпинделя, соответствующую расчетной скорости резания:

об/мин

.        Крутящий момент от сил сопротивления резанию при сверлении определяем по формуле

Мкр = 9,81CмDqSyKp.

Находим коэффициент См = 0,045 и показатели степеней q = 2 и у = 0,8 [2, табл. 32 на с. 281].

Поправочный коэффициент Кp был определен в п. 3 при расчете осевой составляющей силы резания: Кp = Кмp = 1. В единицах СИ крутящий момент

Мкр = 9,81 · 0,045 · 121,7 · 0,330,8 · 1 = 12,43 Н · м

. Определяем эффективную мощность по формуле

 кВт.

Зенкерование:

Решение:

А. Выбор режущего инструмента.Зенкерую предварительно обработанное сквозное отверстие диаметром d = 12 мм до диаметра D = 16 мм .Материал заготовки - сталь 35 с σв= 6000 МПа. Требуется выбрать режущий инструмент, назначить режим резания.

Б. Назначение режима резания.

. Определяем глубину резания:

мм.

.        Назначаем подачу для зенкерования отверстия. В зависимости от диаметра зенкера и материала обрабатываемой детали S0 = 0,5… 0,6 мм/об [2, табл. 26 на с. 277). Принимаем среднее значение S0= 0,55мм/об.

.Определяем скорость резания, м/мин, допускаемую режущими свойствами зенкера, по формуле

.

Постоянный коэффициент Cv = 16,3. Показатели степеней следующие: q = 0,3; m = 0,3; х = 0,2; у = 0,5 [2, табл. 29 на с. 279].

Поправочный коэффициент на скорость резания определяется по формуле

Кv= КмvКиvКпv

Здесь коэффициент на обрабатываемый материал [2, табл. 2 на с. 262]

,

где Kr = 1 - коэффициент, характеризующий группу стали по обрабатываемости [2, табл. 2 на с. 262]; nv= 0,9 - показатель степени [2, табл. 2 на с. 262].

Следовательно,

.

Коэффициент на инструментальный материал Р6М5 [2, табл. 6 на с. 263].

При рассверливании и зенкеровании литых и штампованных отверстий дополнительно вводится поправочный коэффициент на скорость резания, т.е. скорость резания уменьшают, умножая ее на коэффициент Kпv = 0,9 [2, табл. 5 на с. 263].

Тогда коэффициент

= 1,22· 1 · 0,9 = 1,1

а скорость резания

м/мин.

.        Определяем частоту вращения шпинделя, соответствующую найденной скорости резания:

 об/мин.

6.      Определяем действительную скорость главного движения резания:

м/мин.

2.2 Выбор марки двигателя

Электродвигатель серии АИР со степенью защиты IP44 по ГОСТ 17494-99, способом охлаждения ICA0141 по ГОСТ 20459-99, способом монтажа 1М2081, общего применения предназначены для продолжительного режима работы от сети переменного тока с частотой 50 Гц.

Выбираем марку двигателя АИР90L4при частоте вращения 1500 об/мин, мощность двигателя 2,2 кВт.

«А» - асинхронный двигатель, «И» - Интерэлектро,»Р» - привязка мощностей к установочным размерам в соответствии с ГОСТ Р 51689, 71 - высота оси вращения (габарит).Предназначен для продолжительного режима работы от сети переменного тока с частотой 50 Гц.

* - размеры могут незначительно отличаться в зависимости от завода-изготовителя электродвигателя.

Рис. 2.2.1 - Двигатель АИР90L4

Асинхронная частота вращения двигателя, об/мин:

(1-S),

(1-0,03)=1499,03 об/мин.

Записываем структурную формулу для числа скоростей шпинделя z=4, как произведение чисел передач в каждой группе:

=P2·P3

где P2,P3 - число передач в каждой двухваловой группе, у нас 2 группы.

=2·2=4

Полная структурная формула привода запишется в виде:

= Р1[x1]·Р2[x2],=2[1]·2[2].

2.3 Построение структурной сетки

Структурную сетку строят для наглядного изображения варианта структурной формулы и определения: числа частот вращения на валах привода; числа групповых передач в приводе и порядка их конструктивного расположения; числа передач в каждой группе и т.д.



где z - число частот вращения на шпинделе;ηmaxи ηmin- максимальная и минимальная частоты вращения шпинделя.


Рекомендуемые φ = 1,26; 1,41; 1,58. Принимаем φ = 1,58.

Построение структурной сетки проводится в следующем порядке:

На равных расстояниях проводим горизонтальные линии на одну больше, чем число групповых передач , поле между двумя горизонтальными линиями отводим для одной групповой (двух валовой) передачи.

А) На равных расстояниях проводим вертикальных линий, по числу скоростей в приводе, расстояние между которыми равно lg();

Б) Рядом с полем указываем число передач в группе Pi и её характеристики Xj;

В) На середине верхней горизонтальной линии намечаем точку 0, из которой симметрично проводим лучи в количестве равном Pj и расстоянием между концами лучей на следующей горизонтали Xj-lg();

Г) Из каждой полученной точки на второй горизонтали аналогично проводим лучи для второй групповой передачи.

.По структурной сетке можно определить: Количество скоростей.

. Количество групповых передач и порядок их расположения.

.Число передач в каждой группе.

. Характеристики групп, то есть их место в порядке кинематического включения.

.Диапазоны регулирования групповых передач, которые равны ц в степени, равной числу интервалов lg(), заключенному между крайними лучами, выходящими из одной точки.

.Диапазоны регулирования на промежуточных валах.

Однако структурная сетка не дает фактических значений чисел оборотов и передаточных отношений передач в группах, поэтому строят еще график чисел оборотов (частот вращения) шпинделя.

Рис. 2.3.1 - Структурная сетка

2.4 Порядок построения графика частот вращения

Порядок построения:

.        На равных расстояниях проводим столько вертикальных линий, сколько валов в коробке;

.        На равных расстояниях проводим горизонтальные линии и присваиваем им (слева направо) порядковые частоты вращения, начиная nminдо nmax;

.        Далее смотрим на структурную сетку и учитываем допустимые числа интервалов для коробок скоростей, а также рекомендации по уменьшению крутящих моментов, веса.

Необходимо сообщать более высокие скорости промежуточным валам. Для уменьшения веса привода желательно, чтобы число передач в группах уменьшалось от электродвигателя к шпинделю.

График строим так, чтобы лучи не накладывались друг на друга. При наложении лучей шестерни используются не эффективно, повторяя друг друга, т.е. увеличивается масса коробки.

Если на схеме лучи идут сверху вниз на лево - это передача на замедление. При вертикальном луче передаточное число равно 1. При наклоне луча сверху вниз на право передача работает на ускорение.

Для передачи необходимых усилили и скоростей резания для заданного диапазона материалов и размеров обрабатываемых изделий служит коробка скоростей.

Для выбора промежуточных частот вращения шпинделя требуется определить диапазон регулирования частот вращения, знаменатель ряда и число ступеней частот вращения.

Отношение предельных частот вращения шпинделя называется диапазоном регулирования частот вращения.

Для геометрического ряда со знаменателем  следует:

==720,8 об/мин= n1·=1138,8 об/мин= n1·=1799,4 об/мин= n1·=2843,06 об/мин

Рис. 2.4.1 - График частот вращения

Таблица 3

Значение

Двухваловые передачи


первая

вторая

Передаточное отношение i

i1=0,63

i2=1

i4=0,63

i5=1,58

Числа зубьев z1/z2

31/49

40/40

31/49

49/31

Сумма зубьев

80

80


2.5 Построение кинематической схемы

Рис. 2.5.1 - Схема кинематическая z=4

Определение меж валового расстояния:

Из графика частот вращения привода определяем расстояние между валами:

А=

где m- модуль зацепления ,применяем m=1,5мм.

Межваловое расстояние выбираем по стандартному ряду ГОСТ 2185-66 А=80мм.

Рассчитываем передаточное отношение ременной передачи:

=1

3. КОНСТРУКТОРСКАЯ ЧАСТЬ

Конструкторская часть включает в себя расчеты на прочность, жесткость, на основании которых проводим разработку одного из узла станка.

3.1 Расчет и выбор параметров шпинделя

Основной узел любого станка - это шпиндель. Работа шпинделя непосредственно влияет на эффективность, точность и общую производительность станка.

К шпиндельным узла станка предъявляются следующие требования:

Точность вращения, измеряемая биением на переднем конце шпинделя в радиальном или осевом направлении;

Жесткость шпиндельного узла определяемая по упругим перемещениям переднего конца шпинделя;

Долговечность шпиндельных узлов;

Ограничение тепловыделения и температурных деформаций, которые сильно влияют на точность обработки;

Быстрое и надежное закрепление инструмента или заготовки, обеспечивающее их точное центрирование и соответственно точное вращение.

Определим минимальный диаметр шпинделя по условию жесткости, так как этот способ отвечает всем ограничениям по условию прочности, поэтому расчет считается достаточным:


где Nдв - мощность двигателя, кВт; n- рабочая частота вращения шпинделя, об/мин.


Принимаем диаметр первой опоры d=35мм .Берем из стандартного ряда по ГОСТ 832-78.

Вторая опора будет отличаться от первой на 4-10 мм по диаметру подшипников d=30 мм.

Расстояние между опорами:

4…5d=4…5·35=140..175 мм

Находим вылет консоли со стороны МРИ:

33мм

Принимаем .

Со стороны передачи крутящего момента:

 мм

Принимаем b.

Назначаем L=

Рис. 3.1.1 - Схема установки подшипников 2Т (тандем)

Выбранные подшипники

Таблица 4

d

D

B

Тип подшипников

30

62

16

36205 ГОСТ 831-75


Назначаем допуски и посадки по ГОСТ 3325-85.

Первая опора 30TD=5 мкм Td=6 мкм

55 TD=6 мкм Td=11 мкм

Вторая опора 25 TD=5 мкм Td=6 мкм

47 TD=6 мкм Td=11 мкм

Шпиндель изготавливаем из стали 12ХНЗА с цементацией и закалкой до твердости 56…60 HRC.

3.2 Расчет ресурса точности станка


Где С - постоянная времени продолжительности ремонтного цикла, согласно планово-предупредительному ремонту (ППР), С=16570;

 - коэффициент обработки материала,  = 0,9;

 - коэффициент материала, применяемого в МРИ,  = 0,95;

 - коэффициент класса точности МРС ;

 - коэффициент возраста до 10 лет.  = 2;

 - коэффициент года выпуска.  = 1;

 - число средних ремонтов в цикле;  = 1


Расчетный ресурс точности разработанного станка 14167 ч.

3.3 Расчет времени безотказной работы станка

Формула вероятности безотказной работы станка имеет вид:

,

Где, - ресурс точности станка;

 - вероятность безотказной работы станка,  = 0,9 - для станков нормальной точности- время безотказной работы станка.

Ln0,9 = ln

,1054 = = 1493,2 ч

Время безотказной работы станка 1493,2 ч.

4. ИССЛЕДОВАТЕЛЬСКАЯ ЧАСТЬ

.1 Выбор режущего инструмента

станок конструкция точность режим

Рис. 4.1.1 - Спиральное сверло

Для инструмента нормального сечения определяем главный центральный момент инерции - максимальный и минимальный:

=0,0338·164=2215,1

164=255,6

Площадь поперечного сечения:

=0,38·d2=0,38·162=97,3

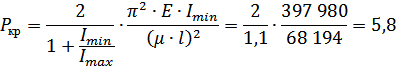
Критическая сила по формуле Эйлера:


ЗАКЛЮЧЕНИЕ

В ходе выполнения курсового проекта был проведен анализ назначения и условий работы проектируемого станка, наиболее рациональные конструктивные решения с учетом технологических требований; кинематические расчеты; определение сил резания, выбор материалов.

В ходе проделанной работы разработана КД, разработаны чертежи на вертикально-сверлильного станка.

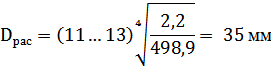
Спроектированный станок отличается от прототипа наибольшим диаметром сверления 16 мм, минимальной частотой вращения шпинделя: 498,9 мин-1.

СПИСОК ИСПОЛЬЗУЕМЫХ ИСТОЧНИКОВ

1.      Анурьев В.И Справочник конструктора-машиностроителя :в 3-х т.Т2 - 8-е издю,перераб. и доп.Под ред. И.Н. Жестковой.-М.:Машиностроение,1999.-880 с.

.        А.Г. Косилова, Р.К. Мещеряков «Справочник технолога- машиностроителя» Москва 2003г.

.        Допуски и посадки. Справочник. В 2-х т. В.Д.Мягков, М.А. Палей, А.Б. Романов. - 6-е изд., перераб. и доп. - Л.:Машиностроение,Ленингр.отд-ние,1983.Ч.2 488с.

.        Металлорежущие станки. Курсовое проектирование: учеб.- метод. пособие к выполнению курсового проекта /сост. : Е.В. Раменская, Ю.А. Филиппов; Сиб. гос. аэрокосмич. Ун-т.- Красноярск, 2013.-154 с.

.        Г.А. Тарзиманов « Проектирование металлорежущих станков» Москва 1972г.

ПРИЛОЖЕНИЕ

Патентно-лицензионный обзор

Автоматическая линия для упаковки группы изделий в термоусадочную пленку.

Патент на изобретение №: 2169684

Автор: Бирюков В.А., Милютин В.И.

Патентообладатель: ООО "Нижновхимсервис"

Дата публикации: 27 Июня, 2001

Начало действия патента: 24 Августа, 1999

Адрес для переписки: 603146, г.Нижний Новгород, ул. Горловская, 7/9, ООО "Нижновхимсервис"

Изобретение относится к технике упаковки группы изделий в пленку и может быть использовано в пищевой, медицинской, химической, легкой и других отраслях промышленности. Установка содержит подающий транспортер, накопитель, механизм для отделения и перемещения блока изделий с приводом, механизм для оборачивания в пленку и ее обрезки и сварки, термоусадочный тоннель. Механизм для отделения и перемещения блока изделий имеет захват с ограничителями по периметру всего блока, приемный и передающий транспортеры выделенного блока, передний толкатель, кинематически связанный с захватом блока. Последний установлен на каретке и имеет возможность как вертикального, так и горизонтального возвратно-поступательного перемещения. Подача изделий и движение сгруппированных блоков происходит однонаправленно в горизонтальной плоскости. Приемный и передающий транспортеры выполнены синхронизированными по скорости с перемещением каретки по ходу следования изделий. Синхронизация по скорости может быть осуществлена за счет кинематической связи приемного и передающего транспортеров с кареткой через муфту одностороннего вращения. Установка является компактной и вместе с тем простой и надежной в работе с достаточно высокой производительностью. 1 з.п. ф-лы, 1 ил.

Изобретение относится к автоматизированной упаковке групп изделий в термоусадочную пленку и может быть использовано на предприятиях пищевой, химической, медицинской, легкой и других отраслях промышленности.

Известны многочисленные устройства упаковки группы изделий в термоусадочную пленку, осуществляющие процессы группирования изделий, их перемещения, выделения и помещения блока изделий в пленку, обрезки и сварки пленки с последующей термоусадкой в термотоннеле. К ним относятся известные машины российских, итальянских, немецких, французских и американских фирм.

Так, например, в устройстве для групповой упаковки штучных предметов в пленочную оболочку (авт. свид. СССР N 1039816, 17.05.82, В 65 В 35/40 или авт. свид. СССР N 1759737, 25.07.90, В 65 В 35/40, 49/00) формирование группы (блока) производится сложным механизмом составных толкателей, осуществляющих циклическую подачу рядов штучных изделий. При этом основной однорядный поток штучных изделий поступает непрерывно к устройству формирования группы с ответвленного перпендикулярно примыкающего к нему транспортера. Однако такие установки малокомпактны, сложны и ненадежны в работе, недостаточно производительны и не позволяют формировать группы при движении сплошного многорядного потока изделий.

Другие известные установки, в которых осуществляется процесс отделения целого блока изделий из сплошного многорядного потока, имеют более высокую производительность, но обладают следующими характерными недостатками. Отделение блока изделий происходит достаточно сложными и ненадежными в работе механизмами (как, например, имеющими сложные движения по копиру - см. авт. свид. СССР N 992329, В 65 В 35/40, 1980 г.), либо с помощью перепускного устройства с последующим подхватыванием и горизонтальным ведением блока разделительными штангами на непрерывно движущемся довольно протяженном транспортере (например, универсальный упаковочный автомат модели AF 432 A имеет общую длину до 9 м, причем сгруппированный и обернутый в пленку блок получается на участке длиной 3 м - см. рекламный проспект фирмы SMI S.p.a. Италия, 1998.

Таким образом, характерные недостатки известных решений - это наличие сложных механизмов, излишне большая протяженность установок по ходу движения изделий, т.е. их большие габариты, - послужили причиной создания новой компактной и вместе с тем простой и надежной в работе с достаточно высокой производительностью автоматической установки для упаковки групп изделий в термоусадочную пленку.

Из известных устройств аналогичного назначения наиболее близкой к заявляемой установке как по техническому решению, так и по достигаемому результату заявителем принята указанная выше высокопроизводительная автоматическая установка модели AF 432 A фирмы SMI S.p.a., Италия, с прямолинейным однонаправленным движением группируемых и уже сгруппированных изделий. В известном устройстве-прототипе подача изделий осуществляется непрерывно движущимся транспортером, на котором по ходу движения изделий происходит их накопление с помощью перепускных устройств на довольно протяженном участке транспортера с последующим отделением необходимых блоков разделительными штангами с приводом и ведением выделенных блоков на упаковку.

Сущность изобретения заключается в следующем. В предлагаемой автоматической установке для упаковки групп изделий в термоусадочную пленку, содержащей подающий транспортер, накопитель, механизм для отделения и перемещения блока изделий с приводом, механизмы оборачивания в термоусадочную пленку и ее обрезки и сварки, термоусадочный тоннель для термоусадки и окончательного получения упаковки, в отличие от известной установки механизм для отделения и перемещения блока изделий имеет захват с ограничителями по периметрувсего блока, приемный и передающий транспортеры выделенного блока, передний толкатель, кинематически связанный с захватом блока, который в свою очередь связан с приводом вертикального возвратно-поступательного перемещения и установлен над накопителем на каретке с приводом горизонтального возвратно-поступательного перемещения, при этом подающий транспортер, накопитель, приемный и передающий транспортеры выделенного блока установлены последовательно друг за другом в одну линию, приемный и передающий транспортеры выделенного блока выполнены синхронизированными по скорости с перемещением каретки по ходу следования изделий и расположены соответственно перед и после механизма оборачивания в термоусадочную пленку и ее обрезки и сварки. Синхронизация по скорости может быть осуществлена за счет кинематической связи приемного и передающего транспортеров с кареткой через муфту одностороннего вращения.

Предлагаемая установка, как и прототип, позволяет осуществлять однонаправленное прямолинейное перемещение изделий исходного потока и выделенных блоков изделий, тем самым выгодно отличается от других упомянутых выше известных решений. При этом она также выгодно отличается от установки-прототипа значительным уменьшением протяженности по длине благодаря отличному от прототипа выполнению механизма отделения и перемещения выделенных блоков, определяющему длину установки размерами входящих в этот механизм последовательно расположенных накопителя и двух транспортеров выделенных блоков (приемного и передающего), которые в свою очередь выбираются исходя из размеров группируемых блоков. Вместе с тем конструктивное выполнение механизма отделения и перемещения блоков не является сложным по сравнению с известными решениями и обеспечивает высокую производительность установки благодаря непрерывности следования на упаковку термоусадочной пленкой сгруппированных блоков изделий.

Сущность изобретения поясняется чертежом, на котором показана принципиальная схема автоматической установки для упаковки блоков изделий в термоусадочную пленку.

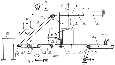
Установка включает в себя подающий транспортер 1 упаковываемых изделий и примыкающий к нему накопитель 2 в виде стола с упором 3. Над накопительным столом установлен захват 4 с ограничителями в виде вертикальных стержней по периметру отделяемого для упаковки блока изделий. Захват 4 связан с приводом 5 вертикального возвратно-поступательного перемещения и установлен на каретке 6 с приводом 7 горизонтального возвратно-поступательного перемещения. За упором 3 следуют по ходу движения изделий приемный 8 и передающий 9 транспортеры. Над приемным транспортером 8 находится установленный на каретке 6 и кинематически связанный с захватом 4 толкатель передний 10. Приемный 8 и передающий 9 транспортеры имеют связь с закрепленной на каретке 6 рейкой 11 через шестерню реечную 12, звездочку 13, цепь 14 и муфту одностороннего вращения 15. Узлы и элементы, обозначенные позициями 4 - 15, составляют механизм отделения и перемещения блоков изделий. На схеме также показаны рулоны 16 с термоусадочной пленкой и механизмом размотки пленки, нож сварочно-отрезной 17, столик 18, прижим 19, термотоннель 20 и электроприводы M1, М2, и М3. Все механизмы установки закреплены на общей раме (не показана).

Процесс упаковки предлагаемой автоматической установкой осуществляется следующим образом.

Изделия, перемещающиеся рядами по транспортеру 1, заполняют стол накопительный 2 и отсекаются от дальнейшего движения упором 3. После накопления достаточного для группирования блока количества изделий поступает сигнал с датчика готовности (не показан) и включается привод 5 вертикального перемещения захвата 4 блока. После опускания захвата 4 включается привод горизонтального перемещения блока на приемный транспортер 8. Упор 3 закрывается. Скорость движения транспортера 8 за счет передачи вращения на него от каретки 6 равна скорости перемещения каретки 6 и захвата 4. После остановки привода 7 привод 5 поднимает захват 4 и привод 7 перемещает захват 4 назад в исходное верхнее положение. В момент движения каретки 6 назад, для исключения обратного хода транспортера 8 с блоком изделий, муфта 15 отключает передачу вращения со звездочек 13.

Затем, после получения сигнала с датчика готовности движение повторяется, причем блок изделий, двигаясь с транспортера 8 на транспортер 9, поддерживается сзади толкателем передним 10, имеющим ту же скорость. Таким образом, первый блок изделий оказывается на транспортере 9 обернутым в пленку с рулонов 16, а следующий перемещенный захватом блок оказывается на его предыдущем месте на транспортере 8. После этого включается привод 5 вертикального перемещения, который поднимает захват 4 и выводит изпод ножа 17 толкатель передний 10 предыдущего блока. Привод 7 перемещает каретку 6 с захватом 4 за следующим блоком изделий, при этом муфта 15 отключает движение транспортеров 8 и 9. Прижим 19 фиксирует обернутый пленкой блок изделий на транспортере 9, нож 17 опускается на столик 18, обрезает пленку и сваривает ее концы.

После получения сигнала с датчика готовности процесс повторяется.

Теперь блок изделий, обернутый в термоусадочную пленку, с транспортера 9 поступает на термоусадку в термотоннель 20. Одновременно с этим на его позицию перемещается и оборачивается пленкой следующий блок с транспортера 8, а на транспортер 8 со стола 2 захват 4 подает новый блок изделий.

В дальнейшем процесс повторяется в той же последовательности. При этом синхронность перемещений блоков и отсутствие между ними механического контакта при поддержке блоков сзади и предохранение тем самым их от потери формы в момент перехода через неподвижный столик с приемного на передающий транспортер позволяют иметь блоки гарантированной формы и размеров. Таким образом, блоки изделий на упаковку пленкой и термоусадку поступают непрерывно, обеспечивая высокую производительность установки.

Система управления (не показана), работающая в данной установке и пользующаяся сигналами с оптического датчика (датчик готовности), с герконовых датчиков положения (приводы 5 и 7, механизмы 17 и 19) и индуктивных датчиков (механизмы поз. 16), решает следующие основные задачи: - обеспечение необходимого количества изделий в блоке; - синхронная работа механизмов перемещения блока изделий; - обеспечение и поддержание оптимальной температуры сварки и резки термоусадочной пленки; - визуализация текущего состояния установки, сбоев, отказов, а также поиска и устранения неисправностей; - возможность обеспечения функционирования установки в составе поточных технологических линий.

Предлагаемая установка, изготовленная заявителем в связи с подготовкой ее к серийному выпуску в собственном производстве, имеет длину участка, на котором получается сгруппированный и обернутый в пленку блок, равную 1,3 метра, т. е. при однолинейности установки имеется выигрыш по ее длине по сравнению с прототипом более чем в 2 раза.

Формула изобретения

. Автоматическая установка для упаковки группы изделий в термоусадочную пленку, содержащая подающий транспортер, накопитель, механизм для отделения и перемещения блока изделий с приводом, механизм оборачивания в термоусадочную пленку и ее обрезки и сварки, термоусадочный тоннель, отличающаяся тем, что механизм для отделения и перемещения блока изделий имеет захват с ограничителями по периметру всего блока, приемный и передающий транспортеры выделенного блока, передний толкатель, кинематически связанный с захватом блока, который в свою очередь связан с приводом вертикального возвратно-поступательного перемещения и установлен над накопителем на каретке с приводом горизонтального возвратно-поступательного перемещения, при этом подающий транспортер, накопитель, приемный и передающий транспортеры выделенного блока установлены последовательно друг за другом в одну линию, приемный и передающий транспортеры выделенного блока выполнены синхронизированными по скорости с перемещением каретки по ходу следования изделий и расположены соответственно перед и после механизма оборачивания в термоусадочную пленку и ее обрезки и сварки.

. Автоматическая установка по п.1, отличающаяся тем, что приемный и передающий транспортеры имеют кинематическую связь с кареткой через муфту одностороннего вращения.

Рис. П1 - Автоматическая линия сборки шлангов или трубок с их концевой арматурой

Классы МПК:

B23P21/00 <http://www.freepatent.ru/MPK/B/B23/B23P/B23P21> 

Похожие работы на - Разработка конструкции специального вертикально-сверлильного станка 2Н125

 

Не нашли материал для своей работы?
Поможем написать уникальную работу
Без плагиата!
Без нейросетей!