Проект реконструкції споруд очищення побутових стічних вод в умовах каналізаційних очисних споруд

  • Вид работы:
    Дипломная (ВКР)
  • Предмет:
    Строительство
  • Язык:
    Украинский
    ,
    Формат файла:
    MS Word
    1,33 Мб
  • Опубликовано:
    2015-01-11
Вы можете узнать стоимость помощи в написании студенческой работы.
Помощь в написании работы, которую точно примут!

Проект реконструкції споруд очищення побутових стічних вод в умовах каналізаційних очисних споруд

Зміст

1. Аналітичний огляд очищення побутових стічних вод

.1 Загальна характеристика стічних вод

.2 Механічне і хімічне очищення стічних вод

.3 Біологічне очищення на полях зрошення і полях фільтрації

.4 Біологічне очищення стічних водв аеротенках

.5 Біологічне очищення стоків із застосуванням мембранних фільтрів

.6 Очищення стічних вод із застосуванням біофільтрів

.7 Очищення методом біотехнології нітриденітрифікації

. Характеристика вихідної і очищеної води

. Фізико-хімічні основи процесу очищення стічних вод

.1 Суть методу біохімічного очищення

.2 Склад активного мулу та біоплівки

.3 Закономірності розпаду органічних речовин

.4 Вплив різних факторів на ефективність процесу біохімічного очищення

. Опис технологічної схеми

. Матеріальний баланс  процесу очищення стічних вод

. Аналітичний контроль за стадіями процесу

. Норми технологічного режиму

. Конструктивні розрахунки апаратів

.1 Решітки-дробарки

.2 Піскоуловлювачі

.3 Первинний відстійник

.4 Аеротенк

.5 Вторинний відстійник

.6 Споруди знезараження стічних вод

. Оптимізація конструктивних параметрів аерації від дози активного мулу

.1 Визначення алгоритмічних задач та математичне забезпечення процесу

.2 Ідентифікація пермінних

.3 Аналіз результатів розрахунку

. Вибір основного технологічного обладнання

.1 Решітки-дробарки

.2 Піскоуловлювачі

.3 Первинний відстійник

.4 Аеротенк

.5 Вторинний відстійник

.6 Контактні резервуари

. Автоматичний контроль і регулювання технологічних процесів

. Охорона довкілля

.1 Охорона атмосферного повітря

.2 Охорона гідросфери

.3 Відходи виробництва і їх використання

. Охорона праці та безпека при надзвичайних ситуаціях

.1 Аналіз характеристик та потенціальних небезпек об’єкта дослідження

.2 Вибір і обгрунтування заходів щодо нормалізації умов праці

.2.1 Розрахунок системи вентиляції

.2.2 Розрахунок аварійної ситуації

.3 Забезпечення пожежної безпеки

.4 Безпека при надзвичайних ситуаціях

. Обгрутування еколого-економічних збитків при впровадженні нових технологій

Висновки

Перелік посилань

Додаток А. Блок-схема оптимізації конструктивних параметрів аерації в залежності від дози активного мулу

Реферат

Розрахунково-пояснювальна записка: 118 с., 16 рис., 15 табл., 22 посилання.

Об’єктом дослідження дипломного проекту спеціаліста є станція очищення побутових стічних вод.

Метою роботи є розробка проекту реконструкції споруд очищення побутових стічних вод в умовах каналізаційних очисних споруд (КОС) м. Селидове.

В дипломному проекті зроблений аналітичний огляд існуючих методів очищення побутових стічних вод і детально розглянутий, як найкращий, метод біохімічного очищення. Досліджені фізико-хімічні основи цього процесу. В роботі представлена технологічна схема очисних споруд м. Селидове. Розрахований матеріальний баланс основних етапів очищення, визначені показники якості води після очищення, виконані конструктивні розрахунки основних та допоміжних апаратів, які упорядковані контрольно-вимірювальними приладами. Описані заходи щодо охорони навколишнього середовища. Розроблені засоби охорони праці та виконані розрахунки системи вентиляції та аварійної ситуації.

Стічна вода, технологічна схема, відстійник, біохімічне очищення, аеротенк, активний мул, аналітичний контроль

Abstract

explanatory statement: 188 p., 16 fig., 15 tab.,5 references, 22 addition.object of study diploma project of specialist are the treatment plant wastewater.purpose of the work is the development of reconstruction project of installations treatment of domestic wastewater of Selydove city.the diploma project, made an analytical review of existing methods of treatment wastewater and thoroughly examined, as the best, method of biochemical purification. Are studied physico-chemical basis of this process. In work presents technological scheme treatment plants Selydove city. Calculated material balance of the main stages of purification, have been determined the parameters of water quality after cleaning, made the constructive calculations of basic and auxiliary machines that are ordered inspection equipment. The described measures to protect the environment. Tools for labor protection and calculations of ventilation and emergency.

Waste water, technological scheme, biochemical purification, aerotank, aeration, active sludge, analytical control

Вступ

На сьогоднішній день гостро постала проблема забруднення навколишнього середовища. У зв’язку з цим існує потреба обов’язкого ретельного очищення компонентів середовища до санітарних норм. Особлива увага приділяється очищенню води у зв'язку з широким її використанням у більшості технологічних процесів, у життєдіяльності людей.

Кожну добу утворюється велика кількість, так званих, побутових стічних вод. В процесі використання води людиною вона змінює свої природні властивості і стає небезпечною в санітарному відношенні. Води забруднені мінеральними та органічними домішками. Для вирішення цієї проблеми в містах розташовані каналізаційні очисні споруди, на яких виконується очищення каналізаційних стоків перед скиданням їх у водойми. На цих спорудах застосовується цілий комплекс фізико-хімічних, механічних і біохімічних методів.

Метою дипломного проекту спеціаліста розробка проекту реконструкції споруд очищення побутових стічних вод в умовах КОС м. Селидове. Під реконструкцією розуміється заміна решіток з ручним видаленням сміття на решітки-дробарки, заміну знезаражуючого агента хлору на гіпохлорит натрія та впровадження нової більш продуктивної системи аерації.

Відповідно з темою дипломного проекту можна висунути наступні завдання:

      розглянути існуючі методи очищення стічних вод міста;

-        дослідити фізико-хімічні основи методу біохімічного очищення;

         представити технологічну схему очисних споруд з новим устаткуванням, обладнаних контрольно-вимірювальними приладами;

         навести розрахунки матеріального балансу основних процесів та конструктивні розрахунки апаратів;

         розробити заходи щодо охорони навколишнього середовища та охорони праці.

1. Аналітичний огляд очищення побутових стічних вод

.1 Загальна характеристика стічних вод

Стічні води - це води, використані на побутові, виробничі або інші потреби і забруднені різними домішками, що змінили первісний хімічний склад і фізичні властивості, а також води, що стікають з території населених пунктів і промислових підприємств у результаті випадання атмосферних опадів або поливання вулиць.

Органічні речовини, що містяться в стічних водах, потрапляючи в значних кількостях у водойми або накопичуючись в грунті, можуть швидко загнивати і погіршувати санітарний стан водойм і атмосфери, сприяючи поширенню різних захворювань. Тому питання очищення, знешкодження та утилізації стічних вод є невід'ємною частиною проблеми охорони природи, оздоровлення навколишнього середовища людини і забезпечення санітарного благоустрою міст та інших населених місць [2].

Залежно від походження виду і складу стічні води підрозділяються на три основні категорії:

побутові (компоненти продуктів життєдіяльності людини; забруднення від приготування їжі, прання білизни, прибирання приміщень тощо; тверді відходи, такі як поліетилен, папір та ін.; мікроорганізми, в тому числі патогенні та умовно-патогенні, яйця гельмінтів, цисти найпростіших);

виробничі (води, використані в технологічних процесах, що не відповідають більше вимогам, що висуваються до їх якості); до цієї категорії вод відносять води, що відкачуються на поверхню землі при видобутку корисних копалин);

атмосферні (дощові і талі; разом з атмосферними відводяться води від поливу вулиць, від фонтанів і дренажів) [3].

При характеристиці будь-яких стічних вод, у тому числі і побутових, велике значення має їх якісний склад. Забруднення побутових стічних вод за розміром поділяють на:

нерозчинні, що утворюють великі суспензії (у яких розміри часток перевищують 0,1 мм);

суспензії, емульсії і піни (у яких розміри часток складають від 0,1 мм до 0,1 мкм);

колоїдні (з частками розміром від 0,1 мкм до 1 нм);

розчинні (у вигляді молекулярно-дисперсних частинок розміром менше 1нм) [2].

Існує ще одна класифікація забруднень побутових стічних вод. Відповідно до неї розрізняють забруднення:

мінеральні ;

органічні ;

біологічні.

До мінеральних забруднень відносяться пісок, частки шлаків, глинисті частки, розчини мінеральних солей, кислот, лугів та багато ін речовини.

Органічні забруднення бувають рослинного і тваринного походження. До рослинних відносяться залишки рослин, плодів, овочів, папір, рослинні масла та інші. Основний хімічний елемент рослинних забруднень - вуглець.

Забрудненнями тваринного походження є фізіологічні виділення людей і тварин, залишки тканин тварин, клейові речовини тощо. Вони характеризуються значним вмістом азоту.

До біологічних забруднень відносяться різні мікроорганізми, дріжджові і цвілеві грибки, дрібні водорості, бактерії, в тому числі хвороботворні (збудники черевного тифу, паратифів, дизентерії, сибірської виразки та ін.). Цей вид забруднень притаманний не лише побутовим стічних водам, а й деяким видам виробничих стічних вод, що утворюються, наприклад, на м'ясокомбінатах, бойнях, шкіряних заводах, біофабриках тощо. За своїм хімічним складом вони є органічними забрудненнями, але їх виділяють в окрему групу з огляду санітарної небезпеки, створюваної ними при попаданні у водойми [4].

У побутових стічних водах мінеральних речовин міститься близько 42% (від загальної кількості забруднень); органічних - близько 58%; осаджувані завислі речовини становлять 20 %; суспензії - 20 %; колоїди - 10 %; розчинні речовини - 50 %.

Кількість побутових стічних вод залежить в основному від норми водовідведення, яка, у свою чергу, визначається ступенем благоустрою будівель.

У зв'язку з таким складом стічних вод, існує необхідність їх очищення на міських очисних спорудах перед скиданням у водойми до необхідних санітарних норм. Ця проблема вирішується за допомогою застосування ряду методів очищення [2].

Для очищення стічних вод використовують механічні, хімічні, фізико-хімічні та біологічні методи. При цьому використовують комлекс окремих споруд, в яких по ходу руху стічна вода стічна вода послідовно очищається спочатку від крупних, а потім від все менших за розмірами забруднень.

В спорудах для механічного очищення видаляються найбільш крупні та важкі забруднення, а потім основні маси нерозчинених забруднень; в наступних спорудах для біологічного очищення видаляються залишкові тонкі суспензії та колоїдні і розчинені органічні забруднення, після чого відбувається знезараження стічних вод (дезінфекція) [5].

Для того, щоб обрати найбільш правильну схему очищення стічних вод, потрібно мати інформацію щодо необхідного ступеня очищення стічних вод, на підставі чого обирається метод очищення за даними таблиці 1.1.

Таблиця 1.1 - Залежність методу очищення від необхідного ступеня очищення [5]

Рекомендовані методи очищення

Необхідний ступінь очищення, мг/дмі


за завислими речовинами

за БПК

Механічне

80

-

Механічне і частково біологічне

25-80

25-80

Механічне і повне біологічне

15-25

15-25

Механічне, повне біологічне і доочищення

< 15

< 15


1.2 Механічне і хімічне очищення стічних вод

Розглянемо схему механічного очищення стічних вод (рис.1.1).

Рисунок 1.1 - Схема механічного очищення стічних вод [3]: 1 - решітка; 2 - дробарка; 3 - піскоуловлювач; 4 - відстійник; 5 - метантенк; 6 - котельна; 7 - газгольдер; 8 - механічне фільтрування; 9 - хлораторна установка та контактні резервуари

На рисунку 1.1 вказана схема механічного очищення стічних вод з наступним розташуванням споруд: решітки для затримання крупних речовин органічного й мінерального походження; піскоуловлювачі для виділення важких мінеральних забруднень (головним чином піску); відстійники для виділення осаджуваних речовин (головним чином органічних); хлораторна установка з контактними резервуарами, в яких відбувається контакт освітленої води з хлором із метою знищення патогенних бактерій. Після дезінфекції вода може бути скинута у водойми.

Осад із відстійників прямує на мулові майданчики для підсушування або спочатку в метантенки для зброджування; газ, що при цьому утворюється, використовується для потреб очисної станції.

Збродженний осад з метантенків прямує для зневоднення на мулові майданчики, або в мулові ставки (на невеликих або середніх станціях), або на вакуум-фільтри (на великих станціях). Зневоднений осад складується в штабеля, звідки вивозиться на поля для добрива, а дренажна вода приєднується до загального потоку стічних вод і підлягає дезінфекції. в залежності від місцевих умов і обсягу очищуваних вод замість відстійників і метантенків можуть використовуватись двоярусні відстійники, в яких операції освітлення води і зброджування осаду та поєднані в одній споруді [3].

Схема хімічного очищення аналогічна схемі механічного очищення і відрізняється від неї тільки введенням перед відстійником змішувача і реагентного господарства.

Решітки і піскоуловлювачі розташовуються у тій же послідовності, що і в попередній схемі.

Із цих споруд стічна вода потрапляє в змішувач, де до неї додається реагент для коагулювання. Зі змішувача стічна вода потрапляє у відстійник для прояснення. Із відстійника стічна вода випускається або прямо у водойму, або спочатку до фільтру для додаткового прояснення, а потім у водойму. Перед випуском у водойму, якщо це потрібно за нормами, вода може бути ще й продизінфікована [3].

1.3 Біологічне очищення стоків на полях зрошення і полях фільтрації

стічний очищення біотехнологія нітриденітрифікація

Далі розглянемо метод біологічного очищення стічних вод на полях зрошення і полях фільтрації.

За схемою, що представлена на рисунку 1.2, стічна вода, що пройшла через решітки, надходить в піскоуловлювачі, а потім у відстійники для прояснення та дегельмінтизації, звідки вона надходить на поля зрошення або поля фільтрації, а потім у водойму. Застосування відстійників дозволяє збільшити навантаження на поля; крім того відстійники покращують якість стічної води з санітарно-гігієнічної точки зору. Осад з відстійників обробляють як і в вищеописаних схемах.

Рисунок 1.2 - Схема біологічного очищення стічних вод на полях зрошення і полях фільтрації [3]: 1 - решітка; 2 - дробарка; 3 - піскоуловлювач; 4 - відстійник; 5 - мулові майданчики; 6 - метантенк; 7 - поля зрошення; 8 - поля фільтрації

1.4 Біологічне очищення стічних вод в аеротенках

Наступним методом очищення побутових стоків є біологічне очищення в аеротенках.

За схемою наведеною на рисунку 1.3, попереднє очищення відбувається на решітках, у піскоуловлювачах, в преаераторах і відстійниках. Подальше очищення відбувається в аеротенках з механічною аерацією (або пневматичною), потім і у вторинних відстійниках і закінчується дезінфекцією, після чого вода скидається у водойму.

Рисунок 1.3 - Схема біологічного очищення в аеротенках з механічною аерацією [3]: 1 - решітка; 2 - дробарка; 3 - піскоуловлювач; 4 - первинний відстійник; 5 - аеротенк з механічною аерацією; 6 - вторинний відстійник; 7 - хлораторна установка та контактні резервуари; 8 - механічне фільтрування; 9 - метантенк; 10 - котельна; 11 - газгольдер

Осад із первинних відстійників оброблюється в метантенках і далі зневоднюється на мулових майданчиках або на вакуум-фільтрах.

Активний мул із вторинних відстійників перекачується в аеротенк (циркуляційний активний мул), а частина, що залишилась (надлишковий мул) передається в преаератор та мулоущільнювачі.

Після мулоущільнювачів мул надходить на утилізаційну установку або в метантенки, де оброблюється разом з осадом первинних відстійників [5].

Біологічне очищення стічних вод в залежності від вимог до скиду стічних вод у водойму може бути повна або неповна. Осад може оброблюватьсь і в аеробних (мінералізаторах) і в анаеробних умовах на станціях малої та середньої пропускної здатності.

Вибір типу споруд для біологічного очищення стічних вод залежить від цілого ряду факторів. До основних з них належать:

потрібна ступінь очищення стічних вод;

розмір площі для очисних споруд;

характер грунтів, рельєф поверхні тощо.

При виборі схеми очисних споруд необхідно враховувати економічні показники - будівельну і експлуатаційну вартість споруд.

1.5 Біологічне очищення стоків із застосуванням мембранних фільтрів

Також пріоритетним напрямком є проектування і будівництво очисних споруд побутових стічних вод із застосуванням сучасних технологій і обладнання, які передбачають: механічне і біологічне очищення, мембранну фільтрацію, знезараження і зневоднення осаду.

На першому етапі застосовується механічне очищення, яке оптимально проводити за двохступеневою схемою: спочатку видаляють тверді відходи за допомогою механізованою решітки з шириною прозору 6 мм, потім - більш дрібні включення розміром до 3 мм.

Другий етап - біологічне очищення в аеротенку, де відбуваються основні процеси обробки забруднюючих речовин - нітрифікація і денітрифікація. Оптимальна тривалість знаходження стічних вод в аеробних і анаеробних умовах визначається за допомогою спеціальних датчиків [6].

Далі стоки прямують на мембранні установки, де відбувається відділення води від мулової суміші, рециркуляція активного мулу, додаткове очищення, знезараження і насичення стоків киснем. Мембранна фільтрація дозволяє затримувати тонкодисперсні та колоїдні домішки, макромолекули, водорості, одноклітинні мікроорганізми, бактерії та деякі віруси і одразу направляють очищену та збагачену киснем на остаточне знезараження на установку ультрафіолетового опромінювання.

Збитковий мул для зневоднення направляється в центрифуги з дозаторами флокулянта. На виході отримують осад вологістю 70 %.

Автоматизація системи керування процесом вирішує питання постійного моніторингу технологічного циклу, дає можливість змінення параметрів роботи через інтернет [6].

Застосування сучасного застосування і технологій дозволяє оптимізувати ряд етапів технологічного ланцюга, що суттєво зменшує площу, що займають споруди. Так використання мембранних установок дає можливість зменшити розмір аеротенка і відмовитись від будівництва вторинних відстійників за рахунок інтенсифікації процесу муловідокремлення і забезпечення повернення в аеротенк активного, насиченого киснем мулу. При застосуванні центрифуг для зневоднення досягається така вологість осаду на виході, при якій його одразу ж можна депонувати на спеціальних полігонах або використовувати як рекультивант, що виключає із технологічної схеми мулоущільнювач і мулонакоплювачі.

Зменшення площі і використання сучасних материалів і технологій веде до зменшення об’єма будівельно-монтажних робіт, а значить і строків реалізації всього проекту. Наприклад, виконання аеротенку у вигляді земляних ємностей з ложем і відкосами, вкритих спеціальним водонепроникним матеріалом, зменшує строки будівництва в 10-15 разів за рахунок виключення часу, необхідного на твердіння та набору міцності бетону.

Значне покращення техніко-економічних показників роботи аеротенку досягається за рахунок застосування енергозбережуючої аераційної системи пластинчатого типу, обладнаної спеціальними датчиками вмісту кисню, які подають сигнал про необхідність аерації.

Запропонована система очищення має беззаперечні переваги, обумовлені довгим терміном експлуатації, високою надійністю і екологічністю, економічністю витрати матеріальних ресурсів і електроенергії. Обладнання забезпечує стабільний і керований режим очищення стоків на всьому діапазоні робочих параметрів і протягом всього періоду служби, що гарантує відсутність понадлімітних скидів [6].

1.6 Очищення стічних вод із застосуванням біофільтрів

Процес очищення включає стадії: видалення механічних домішок на піскоуловлювачах, первинне відстоювання, біологічне очищення, вторинне відстоювання, доочищення на фільтрах з єршовим завантаженням і знезараження на ультрафіолетових бактерицидних лампах.

Метод біологічного очищення відбувається із застосуванням біофільтрів і призначений для повного біологічного очищення.

Біологічне очищення відбувається завдяки наявності двох зон - аеробної і анаеробної зон. Процес нітрифікації (окислення амонійного азоту до нітратів) здійснюється хемоавтотрофними аеробними бактеріями, існування яких можливе тільки за наявності в муловій суміші розчиненого кисню в концентраціях більше 1,5 мг/дмі. Істотне насичення води киснем при обертанні барабанів біофільтра не забезпечує потрібного вмісту розчиненого кисню, що не дозволяє отримати нормативну якість води, перш за все за вмістом амонійного азоту. У зв’язку з цим необхідна додаткова аерація [7].

В присутності легкоокислюваних органічних домішок діяльність бактерій-нітрифікаторів інгібірується. Тому для нормального протікання процесу повинне забеспечуватись попереднє зниження легкоокислюваної органіки на 30-35 %, що може бути виконане шляхом окислення при попередній аерації стічних вод. Таке рішення дозволяє знизити навантаження на активний мул по органіці і відповідно скоротити час, необхідний для повного окислення амонійноrо азота.

В схемі передбачається застосування попередньої аерації стоків шляхом установлення системи дрібнобульбашкової аерації в баці гасіння напору. Для нормалізації умов протікання нітрифікації організується дозування лужного агенту в піскоуловлювачі, так як на ефективність окислення з’єднань амонія впливає pH середовища.

Анаеробна зона також обладнана системою дрібнобульбашкової аерації з дисковими мембранами. Аераційна система розташована таким чином, щоб забезпечилось дотримання кисневого режиму по всій довжині зони зі зниженням інтенсивності аерації у кінці коридору, оскільки потреба у кисні по всій довжині змінюється від максимальної на початку до мінімальної наприкінці. Повітря на аерацію подається повітродувкою [7].

Виконані заходи дозволяють отримати нормативну якість очищеної води за вмістом азоту, але повного видалення фосфора в процесі біологічного очищення не відбувається. Необхідно відмітити, що зниження вмісту біогенного фосфору до нормативних показників на таких спорудах можна досягти тільки шляхом використання реагентів, наприклад, алюмінієвих коагулянтів. Дозування алюмінієвого коагулянта здійснюється в прояснені стоки при надходженні їх на блок доочищення з єршовою загрузкою.

Технологічна схема цього метода очищення побутових стоків представлена на рисунку 1.4.

Рисунок 1.4 - Схема очищення побутових стічних вод з використанням біофільтрів [7]: 1 - каналізаційна насосна станція; 2 - витратомір; 3 - бак гасіння напору; 4 - піскоуловлювач; 5 - біофільтр; 6 - блок доочищення; 7 - бак чистої води; 8 - насоси чистої води; 9 - установка УФ-знезараження; 10 - ежектор; 11 - насоси осаду; 12 - повітродувка; 13 - дозуючий комплекс коагулянта; 14 - дозуючий комплекс лужного агенту

1.7 Очищення методом біотехнології нітриденітрифікації

Існуючі методи очищення стічних вод дозволяють провести очищення стічних вод від азоту на 10-30 %, що не зовсім відповідає вимогам, що висуваються до якості очищених стоків.

Збільшення ефективності очищення по загальному азоту можна досягти, якщо використовувати біотехнологію нітриденітрифікації, яка дозволяє ефективно видаляти органічні речовини та з’єднання азоту із побутових стоків. Якість очищенної води за цими показниками відповідає найжорсткішим вимогам.

Реалізація біотехнології пов’язана із створенням в аеротенку двох типів зон:

аеробної зони (висока концентрація розчиненого кисню, більше 3 мг/дмі), де протікають процеси аеробного очищення від органічних речовин, нітрифікація;

аноксидної зони (розчинений кисень практично відсутній, але є нітрати, а також органічні речовини), де відбувається процес денітрифікації.

При доповнені технологічної схеми аноксидною схемою паралельно з процесом нітрифікації відбувається процес денітрифікації - переведення нітратного азоту в азот молекулярний, що віддувається при аерації, в атмосферу. На стадії денітрифікації окислення органічних речовин відбувається не киснем, а нітратами, що дозволяє зменшити витрату повітря і затрати на аерацію. За окислювальною здатністю 1 г нітратного азоту еквівалентен 2,86 г молекулярного кисню [8].

Аноксидні умови створюються заміною аерації на механічне перемішування, що забезпечує підтримання активного мулу у завислому стані. Механічне перемішування вигідніше ніж аерація, однак для діючих очисних споруд реконструкція аеротенків із заміною аерації на механічне перемішування потребує значних капітальних витрат. Альтернативний підхід полягає у створенні аноксидних умов в аеротенку за рахунок низької (мінімально допустимої для запобігання осідання активного мулу) інтенсивності аерації.

Таким чином, результати застосування біотехнології нітриденітрифікації дозволяє суттєво зменшити вміст нітратного і загального азоту в очищеній воді [8].

2. Характеристика вихідної і очищеної води

Об’єктом дослідження проблеми очищення побутових стічних були обрані каналізаційні очисні споруди в місті Селидове.

Побутові стічні води міста Селидове надходять на каналізаційні очисні споруди. Вони були введені в експлуатацію в 1989 році і мають проектну продуктивність 23 тис.мі/доб. Але на даний момент їх продуктивність знижена до 5 тис.мі/доб.

Стічні води, що надходять на очищення мають наступну характеристику (таблиця 2.1).

Таблиця 2.1 - Характеристика вихідної стічної води [9]

Показники

Од. вим.

Концентрація забруднюючих речовин



мін.

макс.

серед.

ХСК

мг/дмі

265

490

378

БСК 5

мг/дмі

182

340

251

Азот амонійний

мг/дмі

36,5

78,0

58,1

Нітрити

мг/дмі

н/в

н/в

н/в

Нітрати

мг/дмі

н/в

н/в

н/в

Фосфати

мг/дмі

6,3

15,7

8,8

Завислі речовини

мг/дмі

165

388

248

Хлориди

мг/дмі

194

236

210

Сульфаты

мг/дмі

195

282

239

Н/продукти

мг/дмі

0,9

1,3

1,0

СПАР

мг/дмі

2,7

5,8

3,5


Міські стічні води обробляються на спорудах механічного та біохімічного (біологічного) очищення.

При механічному очищенні із стічної води видаляються забруднення, що знаходяться в ній головним чином в нерозчиненому і частково колоїдному стані. У спорудах механічного очищення видаляються забруднення великого розміру (гілки дерев, листя, папір, різноманітне сміття і т.д.); затримуються забруднення мінерального походження (пісок); видаляються завислі речовини, в залежності від щільності вони або осідають на дно відстійника, або спливають на поверхню [5].

Для подальшого очищення стічних вод від органічних забруднювачів на каналізаційних очисних спорудах застосовують біохімічне очищення, засноване на використанні життєдіяльності мікроорганізмів, які окислюють органічні речовини, що знаходяться в стічних водах. Біохімічним методом вдається майже повністю звільнитися від органічних забруднень, що залишаються у воді після механічного очищення. Серед споруд біологічного очищення в Селидовому застосовують трьохкоридорні аеротенки з регенерацією. Відокремлення очищеної води від активного мулу відбувається у вторинних радіальних відстійниках [3].

Остаточне знезараження води відбувається в контактних резервуарах. На Селидівських очисних спорудах як реагент застосовують хлор. В проекті пропонується замінити його на гіпохлорит натрію.

Після проведення всіх заходів щодо очищення побутових стоків утворюється очищена вода, що скидується в річку Солону та осад (осад з відстійників та збитковий активний мул). Вимоги до якості очищеної води наведені в таблиці 2.2 [9].

Таблиця 2.2 - Вимоги до якості очищеної води [9]

Показники складу зворотних вод

Затверджена допустима концентрація, мг/дмі

1

2

Завислі речовини

15,0

ХСК

60

БСК 5

15,0

Азот амонійний

2,0

Нітрити

1,0

Нітрати

45

Сульфати

200

Хлориди

200

Мінералізація

1050

Фосфати

3,5

Залізо (загальне)

0,3

СПАР

0,35

Нафтопродукти

0,3

рН

6,5 - 8,5

Розчинений кисень

Не <4,0

Колі-індекс

Не більше 1000 КУО/дмі

Колі-фаги

Не більше 1000 БУО/дмі

Яйця гельмінтів

Відсутність


3. Фізико-хімічні основи процесу очищення стічних вод

Для очищення стічних вод використовують механічні, хімічні, фізико-хімічні та біологічні методи. При цьому використовують комплекс окремих споруд, в яких по ходу руху стічна вода послідовно очищається спочатку від крупних, а потім від все менших за розмірами забруднень [5].

На каналізаційних очисних спорудах міст нашої країни (зокрема у місті Селидове) широке застосування отримав метод біохімічного очищення стічних вод.

3.1 Суть методу біохімічного очищення

Суть біологічного очищення стічних вод полягає у застосуванні природних біоценозів гідробіонтів для звільнення забрудненої води від небажаних домішок. До складу біоценозів гідробіонтів входять мікроогранізми та інші представники тваринного й рослинного світу, які проживають в активному мулі, біоплівці та в очищуваній воді [10].

Мікрооганізми активного мулу використовують розчинені органічні речовини стічних вод для живлення в процесі життєдіяльності.

Приймаючи участь у конструктивному і енергетичному обміні живої клітини, органічні речовини стічних вод зазнають складні хімічні та біологічні перетворення. В результаті катаболічних процесів відбувається розкладання цих речовин з утворенням більш простих органічних низькомолекулярних з’єднань, частина з яких підлягають подальшому окисленню до води та діоксиду вуглецю з виділенням енергії або перетворюється в продукти метаболізму, а друга частина використовується для біосинтезу в процесах анаболізму.

Біологічне вилучення домішок з води за допомогою мікроорганізмів може відбуватися як за наявності кисню (аеробні окисні процеси), так і без нього (анаеробні окисні процеси) [11].

Розглянемо аеробне біохімічне очищення. Аеробне очищення стічних вод може здійснюватися внаслідок насичення їх повітрям (або киснем) в аеротенках. При цьому мікроорганізми, що розвиваються, створюють легкоосідаючі пластівці активного мулу або біологічну плівку, яка утворюється під час фільтрування води завантаження зі щебеню в біофільтрах.

Сучасні біологічні способи можна використовувати для очищення води практично для всіх розчинених у ній органічних сполук у будь-яких концентраціях: від нітратів, сульфітів, хроматів, іонів важких металів та від небезпечних біологічних агентів - хвороботворних бактерій, вірусів та ін. Завдяки біологічному очищенню можна не тільки звільнитись від небажаних домішок, а й відновити якість води, що в іншому випадку є проблематичним [12].

Споруди біологічного очищення можна умовно розподілити на два види:

-    з очищенням в умовах, близьких до природних;

-        з очищенням в штучно створених умовах.

До першого виду належать поля фільтрації і зрошення (земельні дільниці, в яких очищення відбувається за рахунок фільтрації крізь шар грунту), а також біологічні пруди (неглибокі водойми, в яких відбувається очищення, засноване на самоочищенні водоймів).

Другий вид складають такі споруди, як біофільтри і аеротенки. Біофільтр - резервуар з фільтруючим матеріалом, поверхня якого вкрита біологічною плівкою (колонія мікроорганізмів, здатних сорбувати і окислювати органічні речовини із стічних вод). Аеротенк - резервуар, в якому очищувані стоки змішуються з активним мулом (біоценоз мікроорганізмів, здатних поглинати органіку зі стоків) [11].

3.2 Склад активного мулу та біоплівки

Активний мул є амфотерною колоїдною системою. Елементний хімічний склад активних мулів достатньо близький і для міських стічних вод має формулу - C54H212O82N8S7.

Суха речовина активного мулу містить 70-90 % органічних і 10-30 % неорганічних речовин. Крім живих організмів, в мулі міститься субстрат - різноманітні тверді залишки, до яких кріпляться мікроорганізми.

По зовнішньому вигляду активний мул являє собою грудочки та пластівці розміром 3-150 мкм і високою питомою поверхнею - близько 1200 мІ на 1 мі мулу [11].

Спільнота живих організмів, що населяють активний мул або біоплівку, називають біоценозом. Біоценоз активного мулу представлений в основному 12 видами мікроорганізмів та найпростіших [12].

Біоценоз активних мулів складається з бактерій, найпростіших, плісневих грибів, дріжджів, актиноміцет, личинок комах, рачків, водоростей та ін. Основне руйнування органічних забруднень в стоках здійснюється бактеріями. В 1 мі мулу міститься 2⋅1014 бактерій. В активному мулі вони містяться у вигляді скупчень, оточених слизовим шаром (зооглеї). Зовнішній вигляд бактерій, що містяться в активному мулі представлені на рисунку 3.1.

Рисунок 3.1 - Представники бактерій активного мулу [13]: 1 - зооглеї; 2 - нитчасті сіркобактерії; 3 - нитчасті хламідобактерії

Зооглеї (рис.3.1-1) являють собою особливу форму флокуляції бактерій і можуть бути різної форми - кулеподібної, деревоподібної і т.д. При значному накопиченні зооглеї в активному мулі можливе порушення седиментаційних властивостей мулу.

Нитчасті сіркобактерії (рис.3.1-2) зустрічаються в активному мулі, де на очищення надходять сірковмісні забруднюючі речовини. Їх основне завдання полягає в окисленні з’єднань сірки до елементарної сірки.

Особливу цікавість в активному мулі представляють нитчасті хламідобактерії (рис.3.1-3), що складаються з тонких ниток, оточених слизовим захисним чохлом. Масові розростання ниток цих бактерій призводить до вспухання активного мулу. В силу того, що ці бактерії мають активний обмін речовин й високу окислювальну здатність, вспухлий мул значно ефективніше працює, ніж звичайний. Але при розвитку нітчастих бактерій всі інші організми витиснюються з аеротенку. Тому дуже важливо дотримуватись правил технологічного режиму [10].

В активному мулі зустрічаються представники трьох класів найпростіших: саркодові (Sarcodina), джгутикові (Mastigophora), та інфузорії з двома підкласами (Infusoria) - війчасті (Ciliata) та сисні (Suctoria), які поглинають велику кількість бактерій, підтримуючи їх оптимальну кількість. Одна інфузорія (рис.4.2) в середньому поглинає від 20 до 40 тисяч бактерій. Вони сприяють осаджуванню мулу та освітленню стічних вод у вторинних відстійниках [12].

Рисунок 3.2 - Інфузорії (війчасті) [13]

З інших попутних організмів важливе значення мають коловертки (рис.3.3) (Rotatoria), що живляться бактеріями та найпростішими [11].

Рисунок 3.3 - Коловертки [13]

Склад біоценозу мулу залежить від наявності і концентрації в стічній воді різноманітних органічних речовин. Тільки основна група бактерій (80-90 %) бере участь у процесі очищення стічних вод, решту мулу становить супутні групи мікробів. При високому вмісті органіки в стічній воді переважають гетеротрофні бактерії, при зниженні поживних речовин збільшується кількість хижих найпростіших [12].

Якість мулу визначається швидкістю його осадження та ступенем очищення рідини. Стан активного мулу характеризує муловий індекс, який залежить від здатності мулу до осадження. Великі пластівці осідають швидше, ніж дрібні [11].

3.3 Закономірності розпаду органічних речовин

Процес руйнування складних органічних сполук відбувається в певній послідовності і в присутності каталізаторів цих реакцій - ферментів, які виділяються клітинами бактерій. Ферменти - складні білкові сполуки (молекулярна маса досягає сотень тисяч і мільйонів), що прискорюють біохімічні реакції . Ферменти бувають одно- і двокомпонентні. Двокомпонентні ферменти складаються з білкової (апофермент) і небілкової (кофермент) частини. Каталітичну активність має кофермент, а білковий носій збільшує його активність. Розрізняють ферменти, що виробляються бактеріями для позаклітинного розщеплення речовин - екзоферменти, і внутрішні травні ферменти - ендоферменти [11].

Особливість ферментів полягає в тому, що кожен з них каталізує тільки одне з багатьох перетворень. Існують шість основних ферментних класів: оксіредуктази, трансферази, гидралази, ліази, ізомерази і лігази. Для руйнувань складної суміші органічних речовин необхідно 80-100 різних ферментів, кожен з них має свою оптимальну температуру, вище якої швидкість реакції падає.

Процес біологічного окислення складається з безлічі ступенів і починається з розщеплення органічної речовини з виділенням активного водню. У цьому процесі особливу роль відіграють ферменти класу оксіредуктази: дегідрогенази (віднімають водень від субстрату), каталази (розщеплюють перекис водню) і пероксидази (що використовують активовану перекис для окислення інших органічних сполук) [11].

Існують речовини, які підвищують активність ферментів - активатори (вітаміни, катіони Ca2+, Mg2+, Mn2+), та інгібітори, які надають протилежну дію (наприклад, солі важких металів, антибіотики).

Сумарні реакції біохімічного окислення в аеробних умовах можна схематично представити в наступному вигляді:

xHyOzN + O2 → CO2 + H2O + NH3 + ∆H, (3.1)xHyOzN + NH3 + O2 → C5H7NO2 + CO2 + H2O + ∆H, (3.2)5H7NO2 + O2 → CO2 + H2O + NH3 + ∆H, (3.3)3 + O2 → HNO2 + O2 →HNO3, (3.4)

де CxHyOzN - усі органічні речовини стічних вод;5H7NO2 - умовна формула клітинної речовини бактерій;

∆H - енергія.

Реакція (3.1) показує характер окислення речовини для задоволення неенергетичних потреб клітини (катаболічний процес), реакція (3.2) - для синтезу клітинної речовини (анаболічний процес). Витрати кисню на ці реакції складають БСКповн. стічної води. Реакції (3.3) і (3.4) характеризують перетворення клітинної речовини в умовах нестачі поживних речовин. Загальна витрата кисню на всі чотири реакції приблизно вдвічі більше, ніж на (3.1) і (3.2) [11].

Велика кількість біохімічних реакцій відбувається за допомогою коферменту А. Кофермент А (КоА) є похідним b-меркаптоетіламіда пантотенової кислоти і нуклеотиду - аденозин-3,5-дифосфату (C21H36O167P3S) з молекулярною масою 767,56. КоА активує карбонові кислоти, утворюючи з ними ацилпохідні КоА.

Легко окислюються бензойна кислота, етиловий та аміловий спирти, гліколі, гліцерин, анілін, складні ефіри та ін. Погано окислюються нітросполуки, "жорсткі" ПАР, трьохатомні спирти та ін Наявність функціональних груп збільшує здатність до біологічного руйнування сполук в такій послідовності:

CH3; - OOCCH3; - CHO; - CH2OH; - CHOH; - COOH; - CN; - NH2; - OHCOOH; - SO3H [11].

3.4 Вплив різних факторів на ефективність процесу біохімічного очищення

Ефективність перебігу процесів біологічного очищення залежить від багатьох факторів: хімічного складу очищуваної води, наявності в ній біогенних елементів, вмісту кисню, токсичних речовин, значення pH середовища, температури тощо [2].

Для нормального розвитку гідробіонтів, що здійснюють очищення води, в середовищі має бути достатня концентрація поживних речовин - органічного вуглецю, азоту і фосфору. Крім основних елементів клітини (C, N, O, H) для її будови у невеликій кількості потрібні інші елементи, такі як марганець, мідь, цинк, молібден, селен, магній, кобальт, кальцій, натрій, калій та ін. Останніх у воді достатньо, щоб повністю задовольнити вимоги бактеріального метаболізму [10].

Здебільшого не вистачає нітрогену і фосфору, тому їх додають у воду у вигляді солей фосфатної та азотної кислот.

Достатня кількість елементів живлення для бактерій в очищуваній воді визначається співвідношенням БСК : N : P. Під час очищення міських вод воно має бути не менше 100 : 5 : 1. В комунально-побутових стічних вод це співвідношення становить приблизно 100 : 20 : 2,5.

Тобто вміст нітрогену і фосфору в них значно вищий, тому такі води розбавляють промисловими стічними водами, якщо останні не містять цих елементів [10].

В аеробних очисних спорудах вміст розчиненого кисню в очищуваній воді має бути не менш ніж 2 мг/дмі. Цього досягають додаванням повітря або повітря, насиченого киснем, чи додаванням чистого кисню. Система аерації також забезпечує перемішування води та постійне підтримування мулу у завислому стані [12].

Активна реакція середовища в процесі біологічного очищення повинна мати значення pH=5-9. Оптимальним вважається середовище з pH=6,5-7,5. За цих умов найкраще розвиваються мікроорганізми та досягається найбільший ефект очищення. Відхилення pH за межі оптимальних умов призводить до зменшення швидкості окислення внаслідок уповільнення обмінних процесів в клітці, порушення проникності її цитоплазматичної мембрани та ін., що призводить до погіршення біохімічного очищення. При pH нижче 5 і вище 10 відбувається загибель мікроорганізмів [10].

Оптимальною температурою для аеробних процесів в очисних спорудах є 20-30 оС. За цієї температури біоценоз має найбільше різноманіття, а мікроорганізми - оптимальні умови розвитку. Однак оптимальний температурний режим для різних бактерій може змінюватись в широких межах: для психрофілів - 10-15 оС, мезофілів - 25-37 оС, термофілів - 50-60 оС. Якщо температурний режим виходить за межі оптимального, то швидкість обмінних процесів у клітинах помітно зменшується. Підвищення температури води збільшує швидкість протікання процесу очищення в 2-3 рази (але тільки в межах 20-30 °С). Але прицьому необхідно проводити більш інтенсивну аерацію, тому що розчинність кисню з підвищенням температури падає [10].

За наявності у стічних водах важких металів знижується біохімічна активність мулу і відбувається його спухання через інтенсивний розвиток нитчастих форм бактерій. За ступенем токсичності важкі метали можна розташувати у наступному порядку:

Sb > Ag > Cu > Hg > Co > Ni > Pb >Cr3+ > V > Cd > Zn > Fe [11].

Отже, після розглянення основ методу біологічного очищення стічних вод, можна зробити наступні висновки. Широке використання методів біологічного очищення зумовлене їх перевагами:

      можливістю видаляти зі стічних вод різноманітні органічні сполуки, в тому числі токсичні;

-        простотою апаратурного оформлення;

До недоліків методу слід віднести:

      високі капітальні витрати;

-        необхідність суворого дотримання технологічного режиму очищення;

         токсичну дію на мікроорганізми ряду органічних та неорганічних сполук;

         необхідність розбавляти стічні води у випадках високих концентрацій домішок [3].

4. Опис технологічної схеми

В роботі розглянута технологічна схема каналізаційних очисних споруд м. Селидове, яка представлена на кресленні ПД.064429.14.01.СТ.

Стічні води на КОС надходять каналізаційними насосними станціями і проходять через решітки з ручним очищенням (1), де звільняються від великих забруднень.

В схемі планується провести заміну решіток з ручним видаленням на решітки-дробарки. Введення саме решіток-дробарок має такі переваги: компактність, можливість повної автоматизації процесу і більш кращими санітарними умовами, так як практично повністю виключається контактування обслуговуючого персоналу з відкидами.

Після решітки стічні води подаються в горизонтальні піскоуловлювачі з круговим рухом рідини (2), для виділення піску та інших мінеральних домішок.

Пісок з піскоуловлювачів видаляється на піскові майданчики гідроелеваторами. З піскоуловлювачів стоки направляються в біокоагулятори (3), що працюють на станції за схемою первинних вертикальних відстійників [9].

Після біокоагуляторів стічні води надходять в первинні вертикальні відстійники (4) для затримання завислих речовин. Ефект прояснення стічних вод у первинних вертикальних відстійниках повинен становити 30-40 %. Концентрація завислих речовин у проясненій воді після первинних відстійників не повинна перевищувати 100 мг/дмі при подачі її в аеротенки.

Осад з відстійників, за рахунок гідростатичного натиску, видаляється в резервуар сирого осаду (12), звідки насосами (19) перекачується на мулові майданчики, які розташовані за межами комплексу очисної станції.

Прояснені стоки після первинних вертикальних відстійників надходять в аеротенк-витиснювач (5) для біологічного очищення, який наведений на кресленні ПК.064429.14.02 АТ. В аеротенк подається активний мул із вторинних відстійників і повітря від повітродувної станції. Суміш активного мулу і стічних вод з аеротенків направляється у вторинні радіальні відстійники (7), де відбувається відділення активного мулу від очищених стоків.

Очищені стічні води після вторинних відстійників надходять до контактних резервуарів (22) для знезараження. Знезараження очищених стоків проводиться хлором для знищення збудників інфекційних захворювань в контактних резервуарах, при часі контакту хлорної води зі стічною водою не менше ніж 0,5 години. В роботі буде спроектована заміна хлору на гіпохлорит натрію. Процес приготування гіпохлориту простіший за підготування хлору для знезараження, а його окислювальна здатність не менша.

В якості контактних резервуарів на очисній станції міста Селидове застосовані чотири горизонтальних, прямокутних у плані, відстійника.

Пісок з піскоуловлювачів зневоднюється на піскових майданчиках (23), а сирий осад і надлишковий активний мул зневоднюються на мулових майданчиках.

Очищені і знезаражені стічні води скидаються в річку Солону [9].

5. Матеріальний баланс  процесу очищення стічних вод

Для розрахунку матеріального балансу технологічного процесу приймаються наступні вихідні дані:

Продуктивність установки - QСВ = 5000 мі/доб = 208,3 мі/год. Вміст шкідливих речовин у стічній води перед очищенням: Сзав.час.= 250 г/мі; БСК = 250 г/мі; Сазот.ам.= 58 г/мі.

Спочатку визначимо масу стічних вод, що надходить на біохімічну установку:

, (5.1)

кг/год.

Розрахуємо кількість речовин, що містяться у стічній воді. Маса завислих речовин знайдемо за наступною формулою:

 (5.2)

Щоб знайти масу органічних речовин, припустимо, що

Тоді маса органічних речовин буде дорівнювати:

 (5.3)

орг.реч.=208,3∙250=52075,0 г/год=52,01 кг/год.

Знайдемо масу азоту амонійного у очищуваній воді:

 (5.4)

азот ам.= 208,3∙58 = 12081,4 г/год = 12,1 кг/год.

Стічна вода, що потрапляє на каналізаційні очисні споруди, після очищення від крупних забруднень, потрапляє на піскоуловлювачі для відділення піску та інших мінеральних домішок. Ефективність очищення в пісковловлювачі складає 20 % (Е = 20 %), а вологість осаду - 60 % (ц = 60 %). Маса завислих часток, що осіли, розраховують за формулою:

 (5.5)

Маса часток, що залишились у воді становить:

 (5.6)

Тоді маса вологого осаду становить:

 (5.7)

Маса проясненої води після видалення вологого осаду:

 (5.8)

Результати розрахунків заносимо до таблиці 5.1.

Таблиця 5.1 - Матеріальний баланс пісковловлювача

Прихід

Кг/год

Витрата

Кг/год

1. Вихідна стічна вода у т.ч.: завислі частки органічні речовини азот амонійний.

208300,0 52,10 52,10 12,10

1. Прояснена стічна вода у т.ч.: завислі частки органічні речовини азот амонійний.

208273,95 41,68 52,10 12,10



2. Вологий осад у т.ч.: завис.часточки вода

26,05 10,42 15,63

Усього

208300,0

Усього

208300,0


Далі очищувана вода потрапляє у первинний відстійник. Ефективність очищення у відстійнику складає 50 % (Е = 50 %), а вологість осаду - 95 % (ц = 95 %). Маса завислих часток, що осіли розраховують за формулою (5.5):

Маса завислих часток, що залишились у воді розраховують за формулою (5.6):

Маса вологого осаду розраховуємо за формулою (5.7):

Масу води, що вийшла з первинного відстійника, розраховують за формулою (5.8):

Результати розрахунків заносимо до таблиці 5.2.

Таблиця 5.2 - Матеріальний баланс первинного відстійника

Прихід

Кг/год

Витрата

Кг/год

1. Стічна вода після піскоуловлювача у т.ч.: завислі частки органічні речовини азот амонійний.

208273,95 41,68 52,10 12,10

1. Прояснена стічна вода у т.ч.: завислі частки органічні речовини азот амонійний

207857,15 20,84 52,10 12,10



2. Вологий осад

416,80

Усього

208273,95

Усього

208273,95


Перевіримо, чи задовольняє очищення у первинному відстійнику умовам подачі води у аеротенк (Сзав.час. не більше 100 г/мі).

(5.9)

де mзав.час. - маса завислих часток, що залишились у воді, кг/год,зав.час. =20,84 кг/год;СВ - об’єм стічних вод, мі/год, VСВ= 207,86 мі/год.

Із отриманого значення видно, що умови очищення у первинному відстійнику дотримуються.

Далі очищувана вода потрапляє на біологічне очищення в аеротенк.

Кількість зворотного активного мулу, необхідного для біологічного очищення знаходять за формулою:

 (5.10)

де ДАМ - доза активного мулу, кг/мі; ДАМ = 1,5 кг/мі.

Маса вологого активного мулу (ц = 98 %) становить:

 (5.11)

Під час біохімічного очищення деяка кількість активного мулу приростає. Приріст активного мулу обчислюють за наступною формулою:

, (5.12)

де Pi - приріст активного мулу, г/мі;

Ccdp - концентрація завислих речовин в стічній воді, що надходить в аеротенк, г/мі, Ccdp= 100,2 г/мі;

Kg - коефіціент приросту (для міських і близьких до них по складу виробничих стічних вод Kg = 0,3);

Len - БСК стічної води, що надходить в аеротенк, г/мі, Len= 250 г/мі.

 

Маса активного мулу, що приростає, наступна:

 (5.13)

Ефективність очищення в аеротенку складає 96 % (Е = 0,96). Тоді масу видаленого амонійного азоту розраховують за формулою:

 (5.14)

Маса видалених органічних речовин становить:

 (5.15)

Масу завислих часток у воді після аеротенку, розраховують за наступною формулою:

 (5.16)

Результати розрахунків заносимо до таблиці 5.3.

Таблиця 5.3 - Матеріальний баланс в аеротенку

Прихід

Кг/год

Витрата

Кг/год

1. Вода після первинного відстійника у т.ч.: завислі частки органічні речовини азот амонійний.

207857,15 20,84 52,10 12,10

1. Вода після біохімічного очищення у т.ч.: завислі частки органічні речовини азот амонійний

223417,23 364,85 2,08 0,48

2. Зворотний активний мул у т.ч.: активний мул вода

15589,50 311,79 15277,71

2. Видалені речовини у т.ч.: органічні речовини азот амонійний

 50,02 11,62

3. Приріст активного мулу

32,22



Усього

223478,87

Усього

223478,87


Щоб з’ясувати чи задовольняє очищення в аеротенку вимогам (Сорг.реч. не > 15 г/мі; Сазот ам. не > 2 г/мі) розрахуємо концентрацію цих речовин у воді після біохімічного очищення. Концентрація органічних речовин в очищеній воді розраховуємо за формулою:

 (5.17)

Концентрація амонійного азоту така:

 (5.18)

Відділення очищеної води від активного мулу відбувається у вторинному відстійнику. Ефективність відділення при цьому складає 87 % (Е = 0,87), а вологість осаду 98 % (ц = 98 %).

Маса мулу та завислих часток, що осіли, розраховують за такою формулою:

 (5.19)

Тоді маса вологого осаду буде дорівнювати:

 (5.20)

Масу води, що виходить з вторинного відстійника, розрахувують за формулою:

 (5.21)

Маса активного мулу, що залишився у воді, буде такою:

 (5.22)

Результати розрахунків заносимо до таблиці 5.4.

Таблиця 5.4 - Матеріальний баланс вторинного відстійника

Прихід

Кг/год

Витрата

Кг/год

1. Вода після аеротенку  у т.ч.: завислі частки органічні речовини азот амонійний.

223417,23 364,85 2,08 0,48

1. Очищена вода у т.ч.: дисперсні частки органічні речовини азот амонійний

207546,23 47,43 2,08 0,48



2. Вологий осад у т.ч.: активний мул волога

15871,00 317,42 15553,58

Усього

223417,23

Усього

223417,23


Для остаточного знешкодження вод перед скиданням у водойми, їх направляють в контактні резервуари. В контактних резервуарах воду обробляють розчином гіпохлориту натрія (1 %-им).

Маса активного хлору, необхідного для знезараження знаходять за формулою:

 (5.23)

де Дакт.хлор - доза активного хлору, г/мі.

Маса розчину гіпохлориту натрія, необхідного для знезараження, така:

 (5.24)

.

Маса активного хлору, що залишиться в очищеній воді становить:

 (5.25)

де Сзал.хлор - концентрація залишкового хлору.

Маса води, що скидається у водойму розраховують за формулою:

 (5.26)

Результати розрахунків заносимо до таблиці 5.5.

Таблиця 5.5 - Матеріальний баланс контактних резервуарів

Прихід

Кг/год

Витрата

Кг/год

1. Вода після вторинного відстійника  у т.ч.: дисперсні частки органічні речовини азот амонійний.

207546,23 47,43 2,08 0,48

1. Очищена вода у т.ч.: дисперсні частки органічні речовини азот амонійний залишковий хлор

207607,92 47,43 2,08 0,48 0,31

2. Розчин гіпохлориту натрія  у т.ч.: активний хлор

62,00 0,62





2. Втрати хлору на окислення

0,31

Усього

207608,23

Усього

207608,23


6. Аналітичний контроль за стадіями процесу

В процесі очищення каналізаційних стоків на очисній станції відбувається постійний контроль на всіх стадіях процесу. Цей контроль здійснюється шляхом відбору проб і їх аналізу. Для розглянутої технологічної схеми виконується аналітичний контроль, результати якого представлені у таблиці 6.1.

Таблиця 6.1 - Аналітичний контроль за стадіями виробництва

Об’єкт контролю

Що визначають

Норми

Місце та засіб відбору проб

Періодичність контролю

Хто виконує аналіз

Стисла методика аналізу

1

2

3

4

5

6

7

Стічна вода після решіток

Температура

Не вище 40 оС

Після решіток

Щоденно

Лаборанти хімічно-бактеріального аналізу

Вимірювання температури за допомогою термометру


pH

6,5-9,0


-//-


Вимірювання водного показника електрометричним методом [14]


Завислі речовини

300,0 мг/дмі


-//-


Визначення завислих речовин гравіметричним методом [14]


Азот амонійний

30,0 мг/дмі


-//-


Визначення амоній іонів фотометричним методом з реактивом Неслера[14]


БСК 5

188 мг/дмі


2 рази на тиждень


Визначення біологічного споживання кисню після n днів стандартним методом [14]


Нітрати

45,0 мг/дмі


-//-


Визначення нітратів фотометричним методом з саліциловою кислотою [14]


Залізо

2,5 мг/дмі


-//-


Визначення загального заліза фотометричним методом з ортофенантроліном [14]


Хлориди

350 мг/дмі


-//-


Визначення хлоридів меркуриметричним методом [14]


Сухий залишок

Не нормується


1 раз на місяць


Гравіметричне визначення сухого залишку [14]


ХСК

470 мг/дмі


-//-


Визначення хімічного споживання кисню (біхроматна окислюваність) [14]


СПАР

20,0 мг/дмі


-//-


Визначення АПАР екстракційно-фотометричним методом з метиленовим блакитним [14]


Нафтопродукти

10,0 мг/дмі


-//-


Визначення нафтопродуктів хроматографічним методом [14]


Колі-індекс

Не нормується


-//-


Вимірювання санітарно-мікробіологічних показників [14]


7. Норми технологічного режиму

Норми технологічного режиму за стадіями виробництва представлені в таблиці 7.1.

Таблиця 7.1 - Норми технологічного режиму за стадіями виробництва [9]

Операція

Час, год

Температура, °С

Кількість компонентів, тис мі/доб

Інші показники

Затримання крупних забруднень на решітках


Температура навколишнього середовища

Вода, що надходить на очисні споруди - 5,0

Кут нахилу решіток 60° Розмір прозору решіток 16 мм

Видалення мінеральних домішок в пісколовках

не < 30 с

-//-


Е =20 % (для фракцій піску > 0,25 мм) Зольність не < 70 %

Відстоювання води в біокоагуляторах та первинних відстійниках

1,5

-//-


Е = 50 % Сзв.реч. не > 100 мг/дмі ц = 95 %

Біологічна очистка в аеротенках

12

5-30


Скисню=2-6 мг/дмі САМ=1,5-3 г/дмі pH= 6,5-8,5 Сзв.реч. не > 100 мг/дмі

Відокремлення активного мулу від очищенної води

не < 2

Температура навколишнього середовища


ц=99,7 %

Знезараження води гіпохлоритом натрію

не < 0,5

-//-


Сраб.розч. NaOCl=1 %


8. Конструктивні розрахунки апаратів

.1 Решітки-дробарки

У зв’язку з тим, що максимальна витрата стічних вод на очисних спорудах складає 208,3 мі/год, у відповідності з таблицею 2 [15] обираємо марку і кількість решіток-дробарок. В результаті була обрана решітка-дробарка марки РД-400 із наступними технічними характеристиками:

-     максимальна виробничість - 420 мі/год;

-        ширина щілинних отворів - 10 мм;

         сумарна площа щілинних отворів в барабані F=0,119 м 2;

         діаметр барабану - 400 мм;

         частота обертів барабану - 31 хв-1;

         мощність електродвигуна - 0,8 кВт.

Кількість робочих агрегатів приймаємо рівною N=1, резервних - 1.

Максимальна секундна витрата стічних вод складає qmax.год = 138 дмі/с [9].

За формулою (8.1) визначаємо швидкість руху води в щілинних отворах:

 (8.1)

Це значення швидкості знаходиться в припустимих межах для обраної марки решітки-дробарки (1-1,2 м/с) [15].

8.2 Пісковловлювачі

На очисних спорудах м. Селидове застосовують пісковловлювачі типу горизонтальні з круговим рухом рідини. Приймаємо 2 відділення пісковловлювачів n=2.

За формулою (8.2) визначимо необхідну площу живого перерізу одного відділення пісковловлювача щ [15]:

 (8.2)

де хs - швидкість руху води, м/с визначається за [15].

Розрахуємо довжину окружності піскоуловлювача по середній лінії:

 (8.3)

де Ks - коефіціент, що приймають за таблицею [15];s - розрахункова глибина піскоуловлювача, м [15];0 - гідравлічна крупність піску, мм/с [15].

За наступною формулою визначимо діаметр піскоуловлювача:

 (8.4)

Розрахуємо тривалість протікання стічних вод у піскоуловлювачі при максимальному притоці:

 (8.5)

Тривалість протоку (Т) повинна бути більшою за 30 с. Розраховане Т = 47 с, що задовольняє вимогам.

За формулою (8.6) знаходимо величину зовнішнього діаметра піскоуловлювача [15]:

= D0 + Bж, (8.6)

де Bж - ширина кільцевого жолоба, м [15].= 4,5 + 1,4 = 5,9 м.

Приймаємо типовий проект № 902-2-27 піскоуловлювача з діаметром 6 м.

Далі розраховуємо об’єм бункера одного відділення піскоуловлювача. Для цього попередньо необхідно знайти об’єм осаду, що накопичується в піскоуловлювачі:

 (8.7)

де Nпр - приведене населення, що розраховують за формулою (8.8);ос - питома кількість піску, дмі/(доб∙люд) [15].


де Q - добова витрата стічної води, мі/доб;

а - норма водовідведення, що складає 170 дмі/(доб∙люд).

 люд.

Знайдене значення підставляємо до формули 8.7:

Знайдемо об’єм бункеру одного відділення піскоуловлювача [15]:

 (8.9)

Визначимо висоту конічної частини бункера піскоуловлювача:

 (8.10)

де d - діаметр нижньої основи бункера, що дорівнює 0,4 м.

Розрахуємо повну будівничу висоту піскоуловлювача:

буд = Hs + hk + 0,5, (8.11)

буд = 1 + 0,1 + 0,5 = 1,6 м.

8.3 Первинний відстійник

На очисних спорудах використовують первинні вертикальні відстійники. За формулою (8.13) визначимо гідравлічну крупність [15]:

 (8.12)

де Hset - глибина проточної частини у відстійнику, м [15];set - коефіціент використання обсягу проточної частини відстійника [15];set - тривалість відстоювання, для міських стічних вод цю величину приймають за [15];1 - глибина шару, що дорівнює 0,5 м;2 - показник ступеню, для міських стічних вод цю величину визначають за [15].

Далі приймаємо кількість відділень відстійника рівне n=10.

Розраховуємо діаметр центральної труби:

 (8.13)

де qmax - максимальна секундна витрата стічних вод, мі/с, qmax= 0,138 мі/с [9];en - швидкість руху робочого потоку в центральній трубі, що дорівнює 0,03 м/с.

Визначимо діаметр відстійника по наступній формулі [15]:

 (8.14)

де vtb - швидкість турбулентної складаючої, мм/с, що приймають за [15].

За розрахованим значенням діаметру відстійника за [15] обираємо типовий проект за номером 902-2-166 із збірного залізобетона з діаметром 9 м.

Розраховуємо діаметр раструба і відображального щита. Діаметр раструба дорівнює:

 (8.15)

Діаметр відображального щита знаходимо за формулою:

 (8.16)

Далі розрахуємо висоту щілини між низом центральної труби і поверхнею відображального щита:

 (8.17)

де vщ - швидкість руху в щілині, що дорівнює 0,02 м/с.

Визначимо загальну висоту циліндричної частини відстійника [15]:

 (8.18)

де Н2 - висота нейтрального шару між низом відображального щита і шаром осаду, що дорівнює 0,3 м;

Н3 - висота борта відстійника, що дорівнює 0,5 м;

Розрахуємо висоту конічної частини наступним чином:

 (8.19)

де б - кут нахилу конічного днища (50 є).

Тоді загальна висота відстійника буде розраховуватись так [15]:

Н = Нц + Нк, (8.20)

Н = 4,0 + 5,36 = 9,36 м.

8.4 Аеротенк

Для конструктивного розрахунку аеротенку приймаються наступні вихідні дані: Len=250 г/мі (БСК вихідної стічної води); Lex=15 г/мі (БСК очищеної води); qw=207,86 мі/год (витрата стічних вод); ai=1,5 кг/мі (доза активного мулу).

Апарат, для якого наведені розрахунки - аеротенк-витиснювач з регенератором. Розрахунок цього апарату виконується згідно з [16].

Визначимо ступінь рециркуляції активного мулу в аеротенку за формулою (8.21):

 (8.21)

де ai - доза мулу в аеротенці, г/дмі, ai= 1,5 кг/мі;i - муловий індекс, смі/г, приймається Ji =100 смі/г.

Величина БСК води, що надходить у початок аеротенка-витиснювача Lmix визначається за формулою (8.22) з врахуванням розбавлення циркуляційним мулом [16]:

, (8.22)

Час перебування стічних в аеротенку розраховують за формулою (8.23), в якому значення констант і коефіцієнтів знаходять за [16] (для міських стічних вод) і мають наступні значення: сmax=85 мг/(г×год), Ki=33 мг/дмі; K0=0,626 мг/дмі; ц=0,07 дмі/г; s=0,3. При L=15 мг/дмі коефіцієнт Kp=1,5. Концентрація кисню приймається рівною Со=2 мг/дмі.

 (8.23)

Доза мулу в регенераторі визначається залежністю:

, (8.24)

Питома швидкість окислення визначається за формулою (8.25), де величини констант і коефіцієнтів приймаються такі ж, як і в формулі (8.23) [16].

 (8.25)

Тривалість окислення забруднень розраховують за формулою:

 (8.26)

Тривалість регенерації мулу розраховують так:

r = to - tat, (8.27)

r = 18,0 - 6,74 = 11,26 год.

Тривалість перебування в системі аеротенк-регенератор розраховують наступним чином:

= (1 + Ri) ∙ tato+ Ri ∙ tr, (8.28)

= (1+ 0,18) ∙ 6,74 + 0,18 ∙ 11,26 = 9,98 год.

Об’єм аеротенку знаходять за такою формулою [16]:

at = tatv∙ (1+Ri) ∙ qW, (8.29)

at = 6,74∙ (1 + 0,18) ∙207,86 = 1653 мі.

А об’єм регенератору за формулою (8.30):

= tr ∙ Ri ∙ qw, (8.30)

= 11,26 ∙ 0,18 ∙ 207,86 = 422 мі.

Для уточнення мулового індексу визначаємо середню дозу мулу в системі аеротенк-регенератор за наступною формулою:

, (8.31)

Визначемо також навантаження на мул:

 (8.32)

За [16] при qi=344 мг БСК/г доб, Ji=75 смі/г. Ця величина відрізняється від прийнятої раніше Ji=100 смі/г.

Уточнюємо ступінь рециркуляції з урахуванням Ji=75 смі/г по формулі (8.21) [16]:

Так як ця величина відрізняється від раніше розрахованої, то уточнюємо й інші величини за формулами (8.22) - (8.32).

Тоді Lmix дорівнює за формулою (8.22):

Період перебування стічної води в аеротенку за формулою (8.23):

Доза мулу в регенераторі за формулою (8.24):

Питома швидкість окислення за формулою (8.25):

Тривалість окислення забруднень (за формулою 8.26):

Тривалість регенерації мулу за формулою (8.27) [16]:r = 22,9 - 6,72= 16,18 год.

Об’єм аеротенку за формулою (8.28):at = 6,72∙(1+0,13)∙207,86 = 1578 мі.

Об’єм регенератору за формулою (8.29):= 16,18∙0,13∙207,86= 438 мі.

Середня доза мулу в системі аеротенк-регенератор за формулою (8.30):

Навантаження на мул за формулою (8.31):

Тепер можна розрахувати загальний об’єм аеротенку і регенератору за формулою [16]:

=Wat + Wr, (8.33)

= 1578+438=2016 мі.

Таким чином, регенератор складає 22 % об’єму аеротенка в цілому. Цієї умови дотримуються в тому випадку, коли буде застосований 4-коридорний аеротенк, який дозволяє відвести один коридор під регенератор.

За [5] підбираємо односекційний, nat=1, 4-коридорний,mat=4, аеротенк глибиною Hatv=3,2 м, шириною коридору Batv=4,5 м. Довжина секції становить:

 (8.34)

Приймається типовий проект аеротенка 901-2-178 [5] з проектною довжиною секції lat=42 м, об’ємом однієї секції 2070 мі (Wat= 2070 мі), що відповідає розрахунковим значенням, незначно їх перевищуючи.

Розраховуємо систему аерації. В аеротенках-витискувачах аератори розташовують нерівномірно відповідно до зниження забруднень. Приймається пневматична система аерації з дрібнобульбашковими аераторами. Визначається питома витрата повітря, мі/мі:

 (8.35)

де q0 - питома витрата кисню повітря, мг на 1 мг знятої БСК приймається при очищенні до Lex=15-20 мг/дмі, q0 = 1,1;1 - коефіціент, що враховує тип аератора і приймається для дрібнобульбашкової аерації в залежності від співвідношення площей аерованої зони і аэротенка faz /fat за [5]. Для попереднього розрахунку приймається faz/fat=0,25, К 1 = 1,79;

K2 - коефіціент, що залежить від глибини занурення аераторів ha і приймається по [5], при цьому ha=Hatv-0,3=3,2-0,3, Hatv =2,9 м;3 - коефіціент якості води, для міських стічних вод дорівнює 0,85;T - коефіціент, що враховує температуру стічних вод, що слід розраховувати за формулою:

 (8.36)

де Tw - температура води влітку, °С.

Ca - розчинність кисню повітря в воді, мг/дмі, визначається за формулою:

 (8.37)

де CT - розчинність кисню у воді в залежності від температури і атмосферного тиску [5];a - глибина занурення аератора, м;

C0 - середня концентрація кисню в аэротенці, мг/дмі; в першому наближенні С 0= 2 мг/дмі.

Розрахуємо необхідні величини. Знайдемо коефіцієнт КТ за формулою (8.36) [5]:

Знайдемо розчинність кисню у воді (Са) за формулою (8.37):

Тоді питома витрата повітря можна знайти за формулою (8.35):

Витрата повітря розраховується на забезпечення потреби в кисні в години максимального припливу рідини в аеротенк [5]:

air=qw∙qair, (8.38)

air=208,3∙9,93 = 2068,4 мі/год.

За знайденими значеннями qair і tat обчислюється середня інтенсивність аерації:

a= qair∙ Hat / tat, (8.39)

a= 9,93 ∙ 3,2 / 6,72 = 4,73 мі/(м 2∙год).

Якщо обчислена інтенсивність аерації вища Ja,max для прийнятого значення К 1, необхідно збільшити зону аерації; якщо менша Ja,min - для прийнятого значення К 2 - слід збільшити витрату повітря, прийнявши Ja,min за [5].

Оскільки отримана інтенсивність аерації Ja,min< Ja< Ja,max, площа зони аерації і значення інтенсивності аерації залишаються без змін.

Нині найбільше розповсюдження отримали пневматичні аератори - диспергатори повітря. У [5] наведено порівняльні характеристики аераторів, отримані на основі повідомлень різних виробників.

Приймаємо трубчастий аератор АКВА-ЛАЙН як найбільш продуктивний. Трубчасті аератори складаються з опірного каркаса циліндричної форми і покриття, яке виконує роль диспергатора, з просвітом між ними. Диспергатор АКВА-ЛАЙН виконується у вигляді циліндричної оболонки з пористого поліетилену, яка забезпечує дрібнобульбашкову аерацію з найбільшою витратою повітря і найбільшою ефективністю створення кисню.

Визначимо N, необхідну кількість аераторів АКВА-ЛАЙН:

= Qair / Qma, (8.40)

де Qair - необхідна розрахункова витрата повітря, мі/год;ma - витрата повітря на один аератор, мі/год, приймаємо Qma =14 мі/год.

Тоді необхідна кількість аераторів буде такою:=2068,4 / 14= 148 шт.

Уточнимо необхідну кількість аераторів, Nma, з обрахуванням їх продуктивності: 1 м аератора АКВА-ЛАЙН забезпечує 4 м 2 площі аеротенка дрібнобульбашковою аерацією:

ma = latv∙ nat∙ Batv∙ mat /4, (8.41)

ma=42∙1∙4,5∙4/3= 189 шт.

Приймаємо кількість аераторів - 189 шт. [5].

8.5 Вторинний відстійник

Спочатку розрахуємо навантаження води на поверхню відстійника за формулою:

 (8.42)

де Hset - робоча глибина відстійника, м (за [15]);i - доза активного мулу в аеротенку, що дорівнює 1,5 кг/мі;t - необхідна концентрація мулу в проясненій воді, не менш ніж 10 г/мі;ss - коефіціент використання обсягу зони відстоювання, що для радіальних відстійників складає 0,4;i - муловий індекс, смі/г.

Далі приймаємо кількість відділень відстійника, їх чотири (n = 4). Розрахуємо площу одного відділення [15]:

 (8.43)

де qw -годинна витрата води, мі/год.

Визначимо діаметр відстійника за формулою:

 (8.44)

За [15] обираємо вторинний відстійник із найближчим до розрахованого значення діаметром, який дорівнює 18 м.

Далі визначаємо загальну висоту відстійника за формулою:

 (8.45)

де Н 1 - висота борта над шаром води, що дорівнює 0,3-0,5 м;

Н 2 - висота нейтрального шару (від дна на виході), що дорівнює 0,3 м;

Н 3 - висота шару мулу, що дорівнює 0,3-0,5 м.


8.6 Споруди знезараження стічних вод

До складу споруд знезараження стічних вод належать хлораторна, змішувач та контактні резервуари.

Дезінфекція стоків здійснюється за допомогою робочого розчину гіпохлориту натрія, замість використовуваного раніше рідкого хлору. Як і у випадку з рідким хлором, хлорування відбувається активним хлором - хлорнуватистою кислотою і гіпохлорит-іоном. Кількість активного хлору (кг/год), потрібного для дезінфекції стічної води після повного біологічного очищення, при дозі активного хлору 3 г/мі, визначається за формулою [5]:

 (8.46)


Введення хлорного розчину в стічну воду здійснюється за допомогою спеціального апарата - хлоратора, продуктивністю vCl, кг/год. Обираємо найбільш розповсюджений хлоратор типу ЛОНИИ-100. За [5] підбираємо хлоратор продуктивністю 1 кг/год, місткістю складу 1,1 т.

В якості змішувача розчину хлорної води з очищувальною водою приймаємо лоток Поршаля, довжина якого приймається в залежності від продуктивності очисних споруд. Для продуктивності 5000 мі/доб за [17] приймаємо лоток Парашаля з довжиною 5,85 м і шириною 3 м.

Тепер перейдемо до розрахунку контактних резервуарів. Визначимо робочий об’єм контактних резервуарів [17]:

 (8.47)

де t - тривалість контакту очищуваної води із хлором, 0,5 год.

Контактні резервуари проектують як горизонтальні відстійники. За отриманим об’ємом контактних резервуарів підбираємо типовий проект № 902-1-231 [3] з довжиною L = 12 м, глибиною H = 2,8 м і шириною кожної секції b = 3 м.

Площа поперечного перерізу становить [17]:

 (8.48)

Число секцій контактних резервуарів розрахуємо за формулою:

 (8.49)

Приймаємо 2 секції контактних резервуарів.

Кількість осаду, що утворюється в контактних резервуарах знаходимо за формулою:

 (8.50)

де а - питома кількість осаду, який випадає в контактних резервуарах, 0,5 дмі на 1 мі очищуваної води;- добова продуктивність установки, мі/доб.

мі/доб.

9. Оптимізація конструктивних параметрів аерації від дози активного мулу

Метою даного розділу є оптимізація конструктивних параметрів аерації в залежності від дози активного мулу, яка лежить у межах від 1,5 до 3 г/дмі.

9.1 Визначення алгоритмічних задач та математичне забезпечення процесу

Для знаходження оптимального часу аерації (tопт), год потрібно знайти такі параметри як:

-     ступінь рециркуляції активного мулу (Ri);

-        БСК води, з урахуванням розбавлення циркуляційним мулом (Lmix), мг/дмі;

         період аерації в аеротенку (tatv), год;

         тривалість перебування в системі аеротенк-регенератор (t), год;

         об’єм аеротенку (Wt), мі.

Математичне забезпечення процесу наведено в пункті 8.4.

9.2 Ідентифікація перемінних

За математичним забезпеченням розробляються перемінні, їх ідентифікація наведена в таблиці 9.1.

Таблиця 9.1 - Ідентифікація перемінних

Перемінна у математичному описі

Перемінна у програмі

Зміст перемінної

Розмірність

Значення

ai

ai

доза активного мулу

г/дмі

1,5-3

сmax

сmax

максимальна швидкість окислення

мг/(г×год)

85

Len

Len

вихідна величина БСК

мг/дмі

250

Lex

Lex

БСК очищеної води

мг/дмі

15

Ji

J

муловий індекс

смі/г

75

Kl

Kl

константа, що характеризує властивості органічних забруднень

мг/дмі

33

K0

K0

константа, що характеризує вплив кисню

мг/дмі

0,626

ц

ц

коефіціент інгібірування продуктами розпаду активного мулу

дмі/г

0,07

s

s

зольність мулу


0,3

С 0

С 0

концентрація розчиненого кисню

мг/дмі

2

qw

qw

об’єм стічних вод

мі

207,86

Кp

Kp

коефіціент, що враховує вплив поздовжнього

кДж/год

1,5

tor

tor

орієнтований час аерації

год

2

Ri

R

ступінь рециркуляції активного мулу

кДж/год

розраховуємо

Lmix

Lmix

БСК води з врахуванням розбавлення циркуляційним мулом

мг/дмі

розраховуємо

tatv

tatv

тривалість аерації в аеротенку

год

розраховуємо

ar

ar

доза мулу в регенераторі

г/дмі

розраховуємо

с

с

питома швидкість окислення

мг БСК/г∙год

розраховуємо

t0

t0

тривалість окислення забруднень

год

розраховуємо

tr

tr

тривалість регенерації

год

розраховуємо

t

t

тривалість перебування в системі аеротенк-регенератор

год

розраховуємо

Wt

Wt

об’єм аеротенку

мі

розраховуємо


9.3 Аналіз результатів розрахунку

За математичним описом та ідентифікацією перемінних розробляємо блок-схему оптимізації конструктивних параметрів аерації в залежності від дози активного мулу, яка наведена на рисунку А.1 у Додатку А.

За блок-схемою використовуючи стандартний програмний пакет Mathcad розробляємо програму оптимізації конструктивних параметрів аерації в залежності від дози активного мулу. Програма та результати програми наведені в додаткуБ.

За результатами розрахунків побудовані графіки:

·    графік залежності ступеню рециркуляції від дози активного мулу (рис.9.1),

·        графік залежності БСК з урахуванням розбавлення циркуляційним активним мулом від дози активного мулу (рис.9.2),

·        графік залежності часу перебування стічної води в аеротенку від дози активного мулу (рис.9.3),

·        графік залежності часу перебування в системі аеротенк-регенератор від дози активного мулу (рис.9.4),

·        графік залежності об’єму аеротенку від дози активного мулу (рис.9.5).

Рисунок 9.1 - Графік залежності ступеню рециркуляції від дози активного мулу

Рисунок 9.2 - Графік залежності БСК з урахуванням розбавлення циркуляційним активним мулом від дози активного мулу

Рисунок 9.3 - Графік залежності часу аерації від дози активного мулу

Рисунок 9.4 - Графік залежності часу перебування в системі аеротенк-регенератор від дози активного мулу

Рисунок 9.5 - Графік залежності об’єму аеротенку від дози активного мулу

Так як передбачається, що час аерації не повинен бути меншим ніж 2 години у відповідності із [9], тоді оптимальна доза активного мулу буде становити 2 г/дмі. З цього слідує, що:

      оптимальний ступінь рециркуляції-0,176 (рис.9.1);

-        оптимальний БСК з урахуванням розбавлення циркуляційним мулом - 214,75 мг/дмі (рис.9.2);

         оптимальний час аерації - 2,043 год (рис.9.3);

         оптимальний час перебування в системі аеротенк-регенератор - 4,824 год (рис.9.4);

         оптимальний об’єм аеротенку - 499,661 мі (рис.9.5).

10. Вибір основного технологічного обладнання


10.1 Решітки-дробарки

Решітки необхідні для затримання великих забруднень, що містяться у стічній воді.

На очисних спорудах м. Селидове встановлена решітка з ручним видаленням забруднень. В дипломному проекті передбачається провести реконструкцію з заміною решіток з ручним видаленням забруднень на решітку-дробарку. Ця реконструкція обумовлена рядом переваг:

      компактність, можливість повної автоматизації процесу;

-        більш кращи санітарні умови, так як практично повністю виключається контактування обслуговуючого персоналу з відкидами [3].

При застосуванні решіток-дробарок подрібнення вловлених відходів відбувається під водою.

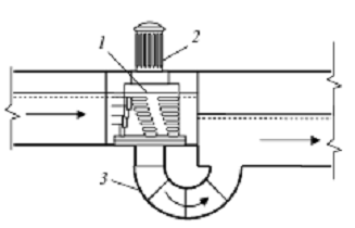
Вітчизняна промисловість випускає решітки-дробарки марки РД та круглі решітки-дробарки марки КРД. Решітки-дробарки типу РД (рис.10.1) складаються з щілинного барабану, що обертається, з ріжучими пластинами і різцями, нерухомого корпусу з трепальними гребнями і приводного механізму. Подрібнення відкидів відбувається при взаємодії пластин і резців з трепальними гребнями корпусу.

Рисунок 10.1 - Решітка-дробарка РД [11]: 1 - щілинний барабан; 2 - приводний механізм; 3 - відвідний дюкер

Стічні води до решіток-дробарок надходять самопливом. Вони підводяться по каналу, що розділяється при підході до решіток на два окремих лотка, в кожному з яких встановлена решітка-дробарка.

На решітках-дробарках крупні відкиди затримуються, подрібнюються і разом із водою через дюкери прямують у відводні лотки і далі у загальний канал.

На лотках до решіток-дробарок і після них встановлені щитові затвори з електроприводами для вимикання резервної решітки-дробарки при роботі основної.

При підвищенні рівня води в лотках, у випадку вимкнення робочої решітки-дробарки або її засмічування, автоматично вмикається резервна решітка-дробарка [3].

Основні характеристики решіток-дробарок наведені в таблицях [3].

10.2 Піскоуловлювачі

Піскоуловлювачі призначені для видалення зі стічних вод піску та інших мінеральних домішок крупністю фракцій більш 0,25 мм.

В даній технологічній схемі представлені піскоуловлювачі з круговим рухом рідини.

Цей піскоуловлювач являє собою круглий резервуар конічної форми з переферійним лотком для протікання стічної води (рис.11.2). Увесь вловлений осад провалюється крізь щілину в частину для осаду. Для вивантаження осаду достатньо гідроелеватору.

Рисунок 11.2 - Горизонтальний пісковловлювач з круговим рухом рідини [11]: 1 - кільцовий жолоб; 2- осадовий конус; 3 - підвідний канал; 4 - відвідний канал

При експлуатації пісковловлювачів необхідно:

-     забезпечувати рівномірне розподілення стоків на пісковловлювачі;

-        підтримувати швидкість в пісковловлювачах в межах від 0,3 м/с (при максимальному притоці) до 0,15 м/с (при мінімальному), шляхом вмикання або вимикання з роботи другого пісковловлювача;

- контролювати час перебування стоків в пісковловлювачах (не менше за 30 с).

При ефективній роботі пісковловлювачів відсоток затримання піску фракціями 0,25 мм складає 20 % [9].

10.3 Первинний відстійник

Наступним апаратом після пісковловлювачів є первинний відстійник. Він призначений для видалення завислих речовин зі стічної води.

За напрямом руху потоку води первинні відстійники поділяють на вертикальні, горизонтальні і радіальні.

В даній технологічній схемі представлений первинний вертикальний відстійник з центральним впуском води (рис.11.3). Цей відстійник являє собою круглий в плані резервуар з конічним днищем, в яких потік прояснювальної води рухається у вертикальному напрямку. Стічна вода, що потрапила до відстійника, спускається вниз по центральній раструбній трубі, відбивається від конусного відображуючого щита і надходить у зону прояснення. При цьому відбувається флокуляція часток, при чому ті з них, гідравлічна крупність яких більша за швидкість вертикального потоку, випадають в осад. Прояснена вода збирається периферійним збірним лотком, а жирові речовини, що спливають збираються кільцевим лотком.

Рисунок 11.3 - Вертикальний відстійник з центральним впуском [11]: 1 - центральна труба; 2 - зона відстоювання; 3 - осадова частина; 4 - відображуючий щит; 5 - периферійний збірний лоток; 6 - кільцевий лоток; 7 - видалення осаду

Ефект прояснення у цьому відстійнику складає 50 %, кількість завислих речовин при цьому не повинна бути більшою за 100 мг/дмі.

Перевагами цього типу відстійника є простота конструкції і зручність в експлуатації, а недоліком - велика глибина споруд [9].

10.4 Аеротенк

Головним апаратом длля біологічного очищення є аеротенк, вигляд якого представлений на кресленні. Аеротенк - залізобетонний аерований резервуар, в якому процес очищення стічних вод здійснюється по мірі протікання через нього суміші стічних вод і активного мулу [2].

Застосовувані аеротенки поділяються на: за структурою потоку - аеротенки-витискувачі, аеротенки-змішувачі та аеротенки з розосередженим впусканням стічної рідини (проміжного типу); за способом регенерації активного мулу - аеротенки з окремо розташованими або суміщеними регенераторами мулу; за навантаженням на активний мул - високонавантажувані (для неповної очистки), звичайні і низьконавантажувані (з продовженою аерацією); за кількістю ступенів - одно-, двох-, і багатоступінчасті; стосовно введення стічних вод - проточні, напівпроточні, з перемінним робочим рівнем, контактні; за типом аерації - з пневматичною, механічною, комбінованою гідродинамічною або пневмомеханічною [3].

В даній схемі представлений аеротенк витиснювач з регененратором. В цих аеротенках коридори відокремлені один від одного продольними перегородками, що не доходять до однієї з торцевих стін. В торцах аеротенку розташовані канали для впускання і відведення стічних вод. Особливістю процесу, що протікає в аеротенках-витиснювачах є зміна концентрації забруднюючих речовин в стічних водах і швидкості очищення по довжині аеротенка. окислювальний процес в аеротенку відбувається неравномірно: на початку аеротенка - швидше, а по мірі наближення до кінця і зменшення кількості субстрату - повільніше [4].

За результатами розрахунків у дипломному проекті був прийнятий аеротенк за типовим проектом 901-2-178 (табл.5.2 [5]) з проектною довжиною секції 32 м, об’ємом однієї секції 2070 мі .

В даному аеротенку-витиснювачі передбачена регенерація активного мулу. Ступінь регенерації складає 25 %, тобто під регенератор відводиться один коридор аеротенку.

Для підтримання активного мулу у завислому стані і забезпечення мулової суміші киснем, необхідним для протікання процесів життєдіяльності мікроорганізмів по окисленнюорганічних речовин, її безперервно аерують. В аеротенках-витискувачах аератори розташовують нерівномірно відповідно до зниження забруднень. Приймається пневматична система аерації з дрібнобульбашковими аераторами. Розрахована кількість аераторів - 189.

Під час експлуатації аеротенку необхідно цілодобово:

      забезпечувати концентрацію розчиненого кисню 2-6 мг/дмі;

-        підтримувати задану концентрацію активного мулу 1,5-3 г/ дмі;

         контролювати час перебування стоків в аеротенку, який не повинен бути меншим за 12 годин [9].

10.5 Вторинний відстійник

В технологічній схемі після відділення біологічного очищення розташовуються вторинні відстійники. Вони служать для відокремлення активного мулу від очищеної води. Якість роботи вторинних відстійників, що є завершаючим етапом очищення стічних вод на станціях аерації, в значному ступені визначають ефективність роботи КОС вцілому.

На КОС м. Селидове експлуатуються вторинні радіальні відстійники, які забезпечують високу ступень прояснення води. Конструкція цих відстійників представлена на рисунку 11.4.

Рисунок 11.4 - Вторинний радіальний відстійник [11]: 1 - подача мулової суміші; 2 - збірний лоток очищеної води; 3 - видалення активного мулу; 4 - мулосос; 5 - розподільний кожух

Мулова суміш підводиться до центрального розподільного пристрою - конічного раструбу всередені металічного циліндру. Проясна вода збирається в кільцевий жолоб по периметру відстійника. Активний мул видаляється самопливом під гідростатичним тиском крізь щілі рухомого мулососу в мулову камеру з регульованим водозливом [11].

При експлуатації вторинних відстійників необхідно:

      контролювати час перебування стічниої рідинису відстійниках, який повинен бути не меншим ніж дві години;

-        забезпечувати рівномірне навантаження на відстійники, попереджуючи підвищений винос завислих речовин [9].

10.6 Контактні резервуари

Останнім апаратом для очищення побутових стоків перед скиданням їх у водойми є контактні резервуари. Вони використовуються для знищення збудників інфекційних захворювань у воді за допомогою хлору або іншого дезинфекуючого агенту.

Установка для знезараження стічних вод хлором складається з хлораторної, змішувачів та контактних резервуарів. У хлораторній встановлюють хлоратори для отримання хлорної води. Для змішування хлорної води зі стічною використовують змішувач типу лоток Паршаля [10].

На очисних спорудах м. Селидове як контактні резервуари використовують прямокутні у плані відстійники. Дезинфікуючим агентом служить газоподібний хлор. Доза хлору становить 3 мг/дмі. В дипломній роботі планується провести заміну хлоруючого агенту з хлору на гіпохлорит натрію [9].

При використанні для знезараження гіпохлорита натрія ефективність знезараження, технологічні показники якості оброблювальної води такі ж, як і при використанні хлору. Хлорування відбувається активним хлором (комплекс хімічних з’єднань хлору, з яких найбільш активними є хлорноватиста кислота HClO та гіпохлорит-іон ClO-). Його перевагами є:

менша токсичність ніж у хлора у процесі зберігання і використання;

більш низька концентрація хлорорганічних домішок;

більш широкий спектр дій на мікроорганізми;

може бути синтезований на місті із повареної солі;

менша вартість у порівнянні із хлором (у 2,5-3 рази) [3].

Тривалість контакту активного хлору зі стоками складає 30 хвилин. При цьому контакті відбувається також часткова коагуляція дрібних завислих речовин і їх осад в контактних резервуарах. Вологість осаду складає близько 96 %, а видалення осаду відбувається під гідростатичним тиском. Осад потім прямує на мулові майданчики для зневоднення.

Ефективність знезараження в контактних резервуарах контролюється\ за величиною залишкового хлору і складає 1,5 мг/дмі[9].

11. Автоматичний контроль і регулювання технологічних процесів

Технологічний контроль за роботою каналізаційних споруд очищення побутових стічних вод включає визначення і контроль наступних параметрів:

- облік кількості та якості стічних вод, що надходять на очистку;

облік якості очищених стічних вод;

регулювання рівню очищуваних вод та циркуляційного активного мулу;

облік витрачених на очищення стічних вод реагентів, повітря та ін.;

визначення температури і pH;

вимірювання тиску стиснутого повітря у повітропроводі.

Технологічна схема процесу повинна бути накреслена з використанням новітніх засобів контролю та автоматики. Необхідно навести межі виміру.

Зведення про вибрані засоби контролю і автоматизації приводиться в таблиці 12.1.

Положення приладів на апаратах показане на кресленні.

Таблиця 12.1 - Список засобів КВП та А

№ позиції

Технологічний об’єкт

Параметр, що вимірюють

Межі вимірювання

Тип первинного перетворювача і місце установлення

Кількість точок виміру

Прилад на місці

Прилад на щиту КВП, тип регулятору

1

2

3

4

5

6

7

8

1,2

Трубопровід на вході

Витрата

50-250 мі/год

Регулятор витрати і витратомір на трубопроводі

1

Сапфір 22 ДД

А-500

3,4

Решітки

Рівень

0-10 м

Регулятор рівня і рівнеметр на щиті

1

-

ПВ

5

Піскоуловлювач

pH

7-9

pH-метр на щиті

1

-

pH 202

6,7

Первинний відстійник

Рівень

0-10 м

Рівнеметр на щиті і регулятор рівня

1

-

ПВ

8

Трубопровід після первинного відстійника

pH

7-9

pH-метр на щиті

1

-

pH 202

9,10

Аеротенк

Температура

35-40 °С

Термометр на щиті і регулятор температури

1

ИЕУ-2

КСМ

11,12

Повітропровід зі стиснутим повітрям

Витрата повітря

2000-5000 мі/год

Регулятор витрати стиснутого повітря на трубопроводі і витратомір на щиті

1

ДРГ

Еміс-Вихрь 200

13

Аеротенк

Рівень

0-10 м

Рівнеметр на щиті

1

-

ПВ

14

Трубопровід циркулюючого активного мулу

Витрата активного мулу

100-500 мі/год

Витратомір на щиті

1

-

Promag

15,16

Вторинний відстійник

Рівень осаду

0-10 м

Регулятор рівня і рівнеметр на щиті

1

-

ЭХО-3

17,18

Трубопровід з хлорною водою

Витрата хлорної води

5-70 дмі/год

Витратомір на щиті і регулятор на трубопроводі

1

Сапфір 22 ДД

А-500

19

Контактні резервуари

рН

7-9

pH-метр на щиті

1

-

pH 202

20,21

Контактні резервуари

Рівень води

0-10 м

Рівнеметр і регулятор рівня на щиті

1

-

ПВ

22,23

Контактні резервуари

Витрата

100-500 мі/год

Витратомір на щиті і регулятор на місці

1

Сапфір 22 ДД

А-500

24

Повітропровід зі стиснутим повітрям

Тиск


Вимірювач тиску на щиті

1

-

ДИСК-250


12. Охорона довкілля

.1 Охорона атмосферного повітря

Згідно зі звітом з інвентарізації викидів забруднюючих речовин в атмосферу [18] на території Селидівських очисних споруд розташовано 9 джерел викидів забруднюючих речовин, з яких 7 організованих - котельня, зварювальна ділянка, механічна ділянка, деревообробна ділянка, автозаправна станція та склади пально-мастильних матеріалів; 2 неорганізованих - склад вугілля, склад золи.

Котельня є головним джерелом викидів в атмосферу на очисних спорудах. Основна ціль її роботи - теплопостачання. В результаті цього процесу в атмосферу викидається димові гази, до складу яких входять оксиди азоту, оксид вуглецю. Джерелом виникнення забруднюючих речовин є котлоагрегати ДКВР-4/13. Котельня працює протягом опалювального сезону. Викид здійснюється через димову трубу діаметром 0,9 м та висотою 40 м (джерело № 0001).

Викид вугільного пилу до атмосфери здійснюється відкритими складами вугілля (джерело № 6001) при здуві з їх поверхні.

Викид неорганічного пилу (вміщує SiO2) в атмосферу відкритим складом золи (джерело № 6002) при здуві з його поверхні. Склади вугілля та золи є неорганізованими джерелами викидів.

Характеристика основних джерел викидів забруднюючих речовин наведена в таблиці 13.1.

Таблиця 13.1- Характеристика основних джерел викидів забруднюючих речовин

Номер джерела викиду та назва

Назва забруднюючої речовини

Гранично допустимий викид, мг/мі

Фактичний викид, мг/мі

0001 Труба котла газової котельні

Оксиди азоту Оксид вуглецю

500 250

40,96 99,17

0002 Труба ковальського горну

Оксиди азоту Діоксид сірки Пил неорганічна (вміст SiO2 20-70 %) Оксид вуглецю

500 500 150 250

55,17 396,55 317,24 672,41

0003 Труба деревообробної ділянки

Пил деревна

150

85,08

6001 Відкритий склад вугілля

Пил натурального концентрату

-

-

6002 Відкритий склад золи

Пил неорганічна (вміст SiO2 20-70 %)

-

-


12.2 Охорона гідросфери

Каналізаційні очисні споруди м. Селидове введені в експлуатацію у 1989 році і мають проектну продуктивність 23 тис мі/доб. На сьогоднішній день продуктивнсть знижена до 5 мі/доб. КОС займаються прийманням та очищенням побутових стоків міста.

Стічні води, що надходять на очисні споруди, проходять декілька стадій очищення:

- механічне очищення від крупного сміття та мінеральних домішок (решітки, пісковловлювачі, первинні відстійники);

- біологічне очищення від органічних забруднювачів за допомогою діяльності мікроорганізмів у присутності кисню (аеротенки-витиснювачі);

- відокремлення продуктів біологічного очищення від очищеної води (вторинні відстійники);

кінцеве знезараження хлоруванням (контактні резервуари).

Характеристика стічних та очищених вод наведена в таблицях 3.1 і 3.2.

На розглянених очисних спорудах існують наступні заходи щодо охорони і раціонального використання вод: виконання планових ремонтів об’єктів каналізації згідно затвердженого плану; будівництво цеху зневоднення і обробки осаду для збільшення ефективності утилізації осаду, для рішення екологічних завдань; ремонт насосної станції рециркуляції активного мулу; здійснення постійного лабораторного контролю за якістю очищених вод в акредитованій лабораторії; своєчасний ремонт і повірка приладів обліку стічних вод [18].

12.3 Відходи виробництва і їх використання

В результаті діяльності Селидівських каналізаційних очисних споруд утворюються відходи 1-4 класу небезпеки.

До відходів першого класу небезпеки належать відпрацьовані ртутьвмісткі лампи. Вони збираються та зберігаються в зачинених металевих ящиках і потім передаються на утилізацію в ТОВ"Нікітртуть".

Відходи другого класу небезпеки на підприємстві представлені відпрацьованими акумуляторами. Вони утворились в результаті експлуатації автотранспорту та передаються на утилізацію ТОВ "НПП Нікитреактивпроект".

Відходами третього класу небезпеки є відпрацьовані технічні та моторні масла в механічному цеху та компресорній, при експлуатації автотранспорту. Масло збирається та зберігається в металевих ємностях. Повторно використовується в якості смазки механізмів. До цього класу також належать відпрацьовані масляні фільтри, що утворюються в процесі експлуатації автотранспорту. Вони збираються і зберігаються в зачиненій металевій ємності в гаражі. По мірі накопичення спалюються в промислових котельнях підприємства.

Карбідний мул утворюється при проведенні газозварювальних робіт, використовується для проведення побілочних робіт [18].

Тара від фарб утворюється при проведені ремонтних робіт та фарбуванні обладнання. Вона вивозиться разом з побутовими відходами.

Автомобільні шини утворюються при експлуатації автотранспорту. Зберігаються на спеціальному майданчику, на території очисних споруд. Передаються на утилізацію в ТОВ "Резина Торг".

Відходами четвертого класу небезпеки на підприємстві є:….

Золошлак утворюється під час спалювання вугілля в котельні підприємства. Складується на території.

Металобрухт утворюється при проведенні ремонтних робіт очисних споруд. Зберігається на території підприємства до передачі на переробку.

Опилки деревні утворюються під час обробки пиломатеріалів. Далі використовуються для виробничих та господарських потреб підприємства, а залишок спалюється в котельні.

Тверді побутові відходи збираються в контейнері та вивозяться на звалище.

Осад, що утворюється при механічному очищені стічних вод, збирається, зневоднюється та зберігається на спеціальних майданчиках.

При механічному очищенні в пісковлоулювачах утворюється пісок.

Також в ході процесу біологічного очищення стоків утворюється збитковий мул. Він зневоднюється і зберігається на мулових майданчиках. Він зневоднюється на піскових майданчиках, а потім зберігається на спеціальному майданчику і використовується для потреб підприємства.

Характеристика відходів наведена в таблиці 13.2 [18].

Таблиця 13.2 - Характеристика відходів

Найменування відходу

Клас небезпеки

Хімічний склад

Норма утворення за рік

Поводження з відходами

1

2

3

4

5

Масла відпрацьовані

2

Суміш вуглеводнів - 90-94%; домішки - до 2%; вода - 2-4%

0,2

Спеціальні металеві ємності на території

Ртутьвмісткі лампи

1

Hg - 0,15-0,5%; Al - 4,82 %; W - 0,085 %; Cu - 0,42 %; Pt - 0,012 %; Ni - 0,162%; скло

0,1

Тимчасове зберігання на території

Фільтри масляні

2

Мастильні матеріали - 5-15%; компоненти смоли- 5 - 15 %; матеріли обтиральні бавовняні і льняні

0,1

Тимчасове зберігання в металевих контейнерах

Аккумулятори відпрацьовані

2

Метал (свинець і свінцовосурьмяністі сплави у сумі) - 56 - 68%; корпус та ін. деталі з ебоніту, поліпропілену, поліетилену тощо - 17 - 30%

0,5

Тимчасове зберігання в гаражі

Металобрухт

4

Чорні метали - 95 % та кольорові - 5 %

0,2

Тимчасове зберігання на спеціальному майданчику


На підприємстві розроблені заходи в сфері поводження з відходами:

      вчасно вивозити побутові відходи;

-        вчасно передавати відходи виробництва на подальшу переробку;

         проводити своєчасне чищення мулових та піскових майданчиків [18].

13. Охорона праці та безпека при надзвичайних ситуаціях

.1 Аналіз характеристик та потенціальних небезпек об’єкта дослідження

Об’єктом дослідження є каналізаційні очисні споруди м. Селидове КП "Компанія "Вода Донбасу". На цих спорудах відбувається очищення побутових стічних вод міста.

У своїй діяльності підприємство керується такими документами, як стандарти безпеки праці, правила та норми техніки безпеки при улаштуванні та експлуатації очисних споруд системи водовідведення, охорона праці у житлово-комунальному господарстві, а також інструкції стосовно пожежної безпеки об’єкту.

До складу очисних споруд входять:

    решітки-дробарки;

-        пісковловлювачі;

         первинні вертикальні відстійники;

         аеротенки-витиснювачі;

         вторинні радіальні відстійники;

         хлораторна;

         насосно-повітродувна станція;

         контактні резервуари.

Основним об’єктом підвищеної небезпеки є реагентне господарство, до складу якого входять:

    контактні резервуари;

-        повітродувна станція;

         хлораторна;

         склад хлору.

Знезараження очищеної стічної води хлором перед скиданням її у водойму є обов’язковим заходом. Знезараження води на Селидівських очисних спорудах проводять рідкимим хлором. Ця речовина є дуже небезпечною в процесі експлуатації і зберіганні, тому в дипломному проекті проводиться заміна хлору на гіпохлорит натрію [9].

Хлор - високо небезпечна речовина, подразнюючої та задушливої дії. При контакті з біологічними тканинами хлор викликає запальну реакцію, в першу чергу при цьому страждають органи дихання, шкіра та слизові оболонки очей. Глибоко проникаючи у дихальні шляхи, хлор вражає легеневу тканину та викликає набряк легень. Можливі також ускладнення - порушення роботи серцево-судинної системи.

Для хлора встановлені наступні нормативи: гранично допустима концентрація хлору у повітрі робочої зони виробничих приміщень складає 1 мг/мі; при концентрації хлору 3,5 мг/мі відчутний запах; при 15 мг/мі - відбувається роздратування горла; при 30 мг/мі - кашель; максимально допустима концентрація хлору при короткочасному впливі становить 40 мг/мі.

Хлор на станції знаходиться в спеціальних ємностях під надлишковим тиском, тому існує небезпека вибуху або витоку хлору. Саме тому треба багато уваги приділяти профілактиці можливих вибухів ємностей х хлором. Вони можуть вибухнути при нагріванні до високої температури (більше 30 оС), при сильному ударі. Також не слід допускати обмерзання ємностей.

Приміщення для збереження хлору обладнано витяжною вентиляцією з 6-кратним (в аварійних випадках 12-кратним) повітрообміном у годину [9].

Ще однією з небезпек є відкриті колодязі, очисна апаратура, що необладнана спеціальними огорожами. Через це існує ризик травмування робітників, що можуть туди впасти. Колодязі небезпечні й через те що в них можуть перебувати шкідливі для людського організму гази: метан, двоокис вуглецю, сірководень, аміак. Вдихання цих газів може викликати отруєння організму з тривалою втратою працездатності, а при великих концентраціях призвести до смертельного результату.

Потенційну небезпеку являють собою сирі осади, що утворюються під час очищення стічних вод. Ці осади мають підвищену вологість, великий об’єм, неприємний запах, а також вони містять велику кількість бактеріальних забруднень, а отже небезпечні в санітарному відношенні.

На біологічних станціях небезпеку для обслуговуючого персоналу представляють також сірковмісні речовини, вуглекислий газ та інші шкідливі газоподібні продукти, що виділяються в атмосферу при аерації та основному процесі очищення стічних вод.

Для робітників, що працюють в лабораторіях існує небезпека отруєння або ураження їдкими, отруйними хімікатами через недостатню вентиляцію приміщення чи недотримання правил поводження з реагентами.

Щодо небезпеки враження робітників електричним струмом, то це можливо при несправній проводці або високих навантаженнях електромережі.

Підвищення рівня шуму та вібрації на підприємстві відбувається під час роботи повітродувок і насосів [9].

13.2 Вибір і обґрунтування заходів щодо нормалізації умов праці

Основним шкідливим виробничим фактором є робота з хлором. Дуже важливо закласти на стадії проектування безпечне зберігання, транспортування і його використання. Хлордозаторніі обладнують системами освітлення, подання та відведення води, вентиляцією та опаленням. Температура є важливим фактором для зберігання хлору. Вона не повинна бути більшою за 30 °С. Також ємності з хлором оберігають від ударів, потрапляння всередину води та від відкритого вогню [3].

У зв’язку з цим до експлуатації хлорного господарства висувають підвищені вимоги: повинен здійснюватись облік надходження та витрат хлору; хлор зберігають у спеціальній металевій тарі та таким чином, щоб запобігти можливості шкідливого впливу на людину; необхідно здійснювати диспетчеризацію хлорного господарства з виявленням основних несправностей та прийняття мір по їх усуненню; приміщення для збереження хлору передбачає обладнання витяжною вентиляцією з 6-кратним повітрообміном у годину.

При проривах трубопроводу для хлору можливе влучення розчину реагенту на електроустаткування, у результаті чого може виникнути коротке замикання. Також можливе влучення розчину реагенту на обслуговуючий персонал, що може викликати одержання хімічних опіків. Тому роботи персоналу по складуванню, виготовленню та дозуванню реагентів та їх розчинів повинні здійснювати в спеціальному одязі, взутті, рукавицях та окулярах, в необхідних випадках працівники повинні використовувати засоби індивідуального захисту від можливого отруєння. Після закінчення зміни працівникам рекомендується прийняти душ [9].

Для нормалізації умов праці та запобігання виробничого травматизму перш за все персонал очисних споруд має дотримуватись правил техніки безпеки, володіти знаннями з охорони праці та проходити різноманітні інструктажі.

При роботі з технологічним устаткуванням передбачаються наступні заходи.

Аеротенки рекомендується огороджувати по периферії бар’єром висотою не менше 1 м з розривами тільки в місцях сполучення бар’єру з перилами перехідних містків. Не рекомендуються будь-які роботи при пошкоджених перилах і бар’єрах. Для більшої безпеки перед ремонтом аеротенк спорожнюють.

При роботі в колодязях бригаду рекомендується складати не менше ніж з трьох осіб, що мають рятувальні пояси і шлангові протигази.

Для переходу через канали передбачається влаштовувати містки шириною не менше 0,7 м і з поручнями висотою 1 м.

При проведенні в приміщеннях робіт, пов'язаних з виділенням шкідливих речовин, передбачається забезпечення постійної дії вентиляції. У приміщеннях решіток і приймального резервуара вентиляція повинна забезпечувати не менше, ніж 12-ти кратний обмін повітря за годину.

Їдкі речовини в лабораторії зберігаються у витяжній шафі в кількості не більше 5-ти добового запасу. Отруйні речовини зберігають окремо в особливому закритому шафі.


13.2.1 Розрахунок системи вентиляції

Для забезпечення безпечних умов праці в приміщенні складу гіпохлориту натрія і хлораторних передбачена наявність приточно-витяжної вентиляції.

Система вентиляції складу - механічна, приточно-витяжна з 6-ти кратним повітрообміном у годину згідно зі СніП 2.04.05-91 та СніП 2.04.02-84. При перевищенні ГДК хлору більше 1мг/мі по сигналу газоаналізатора автоматично вмикається додаткова система, забезпечуючи 12-кратний повітрообмін у годину. Забруднене повітря надходить у скрубер, потім викидається в трубу.

Розрахунок необхідного обсягу повітря по кратності повітрообміну виконується за формулою [19]:

 (14.1)

де Lпов(6) - повітрообмін при кратності 6, мі/год;прим - обсяг приміщення для зберігання гіпохлориту натрія, мі;- кратність повітрообміну.

Необхідний обсяг повітря при кратності повітрообміну 12 розраховують за формулою аналогічною формулі (14.1):

Вибір вентилятора здійснюється з урахуванням області застосування вентиляторів, основних показників вентиляторів, що випускаються, по графіках і таблицям характеристик. Для продуктивності вентилятора 20000 мі/год та тиску до 70 кг/мІ обираємо вентилятор типу Ц 4-70 №8 на одному валу з електродвигуном. Число обертів ротора 1000 об/хв, к.к.д. вентилятора 0,7. Потужність електродвигуна складає 5,9 кВт. Приймаємо електродвигун з урахуванням коефіціенту запасу (Кз), який дорівнює 1,1. Звідси потужність електродвигуна буде складати [19]:

= Кз∙Nдвиг, (14.2)

= 1,1∙5,9= 6,5 кВт.

Таким чином в приміщенні складу гіпохлориту натрія постійно працює один вентилятор типу Ц 4-70 №8, а у випадку виникнення аварійної ситуації автоматично вмикається другий подібний вентилятор.

Повітрообмін у приточній камері розраховуємо за наступною формулою:

 (14.3)

де VПК - об’єм приточної камери, мі;- кратність розведення.

Тоді обсяг приточного повітря знайдемо за формулою [19]:

Lпр= Lпов(6) + LПК, (14.4)

пр= 18696 + 80 =18776 мі/год.

Основним теплообмінним устаткуванням систем вентиляції повітря в зимовий період є поверхневі повітронагрівачі - калорифери.

Проведемо розрахунок калориферів.

Розрахуємо витрату тепла на нагрівання повітря за формулою [19]:

= L ∙ c ∙ v ∙ (tk - tn), (14.5)

де L - кількість повітря, що нагрівається, мі/год;- вагова теплоємність повітря, ккал/(кг∙град);- об’ємна вагова повітря, кг;k - кінцева температура нагрітого повітря, град;n - початкова температура повітря, що нагрівається, град.= 18776 ∙ 0,2 ∙ 1,2 ∙ (5- (-23)) = 126175 ккал/год.

Необхідний живий перетин у калорифері для проходу повітря визначається по формулі:

= (L ∙ v) / (3600 ∙ Vv), (14.6)

де Vv - вагова швидкість повітря, кг/мІ∙с.= (18776 ∙ 1,2) / (3600 ∙ 8) = 0,8 мІ.

За значенням f підбираємо калорифер. Згідно з технічною літературою калориферів з потрібною площиною немає, тому ставмо два калорифери паралельно. З технічних даних обираємо значення поверхні нагрівання, живого перетину за повітрям та водою, маси (табл.14.1) [19].

Таблиця 14.1 - Технічні характеристики калориферу [19]

Модель калориферу

Живий перетин

Поверхня нагрівання, мІ

Вага, кг


для повітря

для води



КФБО-10

0,481

0,0193

71,06

230,2


Швидкість води в трубах калорифера знаходимо за формулою:

 (14.7)

де fтр - живий перетин трубок калорифера по воді, м 2;г - температура гарячої води в магістралі, що подає, град;з - температура зворотної води, град.

Перевіряємо тепловіддачу калорифера за формулою:

 (14.8)

де Fk - поверхня нагрівання калориферу, м 2;

К - коефіціент теплопередачі, ккал/ м 2∙год∙град;

Тср - середня температура теплоносія, град;ср - середня температура повітря, що проходить через калорифер, град.

Тепловіддача калориферів буде складати:

Тепловіддача калорифера повинна бути більшою за необхідну витрату тепла на нагрівання повітря і складати не менш:


Таким чином, для приточно-витяжної вентиляції використовуються вентилятори типу Ц 4-70 № 8 та калорифери КФБО-10 [19].

13.2.2 Розрахунок аварійної ситуації

Проведемо розрахунки глибини поширення хлору у випадку аварії на складі зберігання хлору на каналізаційних очисних спорудах. Кількість хлору складає 2 т (Q0 = 2 т); умови зберігання хлору - рідина під тиском; висота обвалування H = 2м; метеоумови - ізотермія; температураповітря під час аварії Tп = 10 є С і швидкість вітру V = 2 м/с.

Спершу визначимо еквівалентну кількість хлору, що перейде у первинне облако [20]:

 (14.9)

де К 1 коефіцієнти, К 1= 0,18, К 3 = 1 [20];

К 3 = 1 (за табл. П 2 [20]);

К 5 = 0,23;

К’7 = 0,8 (за табл. П 2 [20]).

т.

Визначимо еквівалентну кількість хлору, що перейде у вторинне облако:

 (14.10)

де К 2 = 0,052 (за табл. П 2 [20]);

К 4 = 1,33 (за табл. П 3 [20]);

К’’7 = 1 (за табл. П 2 [20]);= H - 0,2 = 1,8 м;= 0,568 т/мі (за табл. П 2 [20]).

т.

Розрахуємо глибину поширення первинного і вторинного облака при швидкості вітру 2 м/с із застосуванням формули інторполяції [20]:

 (14.11)

де Гб, Гм, Г 1,2 - більше, менше та те, що шукають, значення глибини поширення зараженого хлором повітря, км;б, Qм, Q1,2 - більша, менша і безпосередньо кількість хлору, що перейшла у первинне (вторинне) облако, відповідно, т.

 

Загальна глибина поширення первинного і вторинного облака, що заражені хлором розраховуємо за формулою:

 (14.12)

Отже, під час аварії (вибуху балону з хлором) за заданих умов, глибина поширення забруднюючої речовини складатиме 1,06 км [20].

13.3 Забезпечення пожежної безпеки

Основні завдання пожежної безпеки підприємства включають комплекс заходів, спрямованих на запобігання впливу на людину факторів пожежі та обмеження матеріальних збитків.

Склад хлору та хлораторна по вибуховій, вибухопожежній та пожежній небезпеці належать до категорії А (вибухопожежні). Це пов’язане з тим, що хлор є надзвичайно реакційно здатним. Суміші хлору і водню та всі кисневі сполуки хлору утворюють вибухонебезпечні суміші [9].

Заходи з пожежної безпеки на КОС передбачають наступне:

-     системи вентиляції та кондиціонування повітря, що відповідає протипожежним вимогам;

-        заборону зберігання на території підприємства звалищ горючих відходів. На Селидівській КОС до таких належать відпрацьовані масла, масляні фільтри та частина побутових відходів. Ці відходи зберігаються в спеціальних ємностях і систематично вивозяться за межі КОС;

         територія обладнується стендами з зазначеням порядку виклику пожежної охорони, а також знаки місць розташування первинних заходів пожежогасіння;

         шляхи та проїзди до будівель, пожежних вододжерел рекомендується звільняти і зберігати в виправленому стані.

Для ліквідації невеликих спалахів на підприємстві використовуються первинні засоби пожежогасіння. До них належать - засоби пожежної сигналізації, пожежні стволи, вогнегасники, пожежний інвентар (ящики з піском, бочки з водою, пожежні відра, совкові лопати).

Для гасіння електроустаткування дозволяється використовувати вуглекислотні та порошкові вогнегасники.

Комплектування технологічного устаткування вогнегасниками, пожежним інвентарем здійснюється відповідно до галузевих правил пожежної безпеки [9].

13.4 Безпека при надзвичайних ситуаціях

Основну небезпеку на каналізаційних очисних спорудах представляють, як вже мовилось раніше, хлорне господарство. Аварійна ситуація, що може виникнути - витік газу із балону, апаратури або хлоропроводів при взриві балону або бочки з газом, що може призвести до пожару, отруєння робітників.

У випадку проривів балонів із хлором на відстань не більше 10 м від входу в хлораторне приміщення споруджують утепленний аварійний колодязь глибиною 2-3 м з водонепроникними стінками і днищем для понурення в нього несправних балонів з хлором. В такий колодязь підводять воду для заповнення його вапняковим молоком. Також необхідно мати спеціальний аварійний балон для перепуску в нього хлору з несправного балону [9].

При витоку газу з балонів слід мати на увазі, що при високій коцентрації хлору у повітрі (більше 1 %) його запах відчувається навіть через протигаз. В цьому випадку персонал повинен замінити протигаз марки "В" маскою з вихідним шлангом або кисневою маскою і прийняти необхідні міри по ліквідації витоку.

При виявленні місця витоку хлору з балону місце витоку поливають водою з метою утворення ледової корки, що закриває виток. Після цього балон поміщають в аварійний колодязь з розчином вапняку.

При виникненні аварійних ситуацій в розхідному складі хлору проводять наступні заходи:

      при сильному витіканні хлору із балону струєю зі свистом, а також при виявленні біля складу хлору хвилі зеленого газу, що стеляться, об’являють малу тривогу (не часті звукові сигнали);

-        при взриві балону з хлором в будь-якому приміщенні або на подвір’ї, об’являють загальну тривогу (часті звукові сигнали).

Під час малої тривоги хлораторщик надягає протигаз і виконує розпорядження майстра по ліквідації витоку і дегазації приміщення. При підвищенні концентрації хлора у повітрі приміщення вище 1 %, робітники видаляються на підвищенні ділянки території.

Під час загальної тривоги частина робітників робить дегазацію приміщення, а інші - в протигазах або приклавши до носу й роту тряпки, що змочені розчином гіпосульфита і соди, видаляються на підвищенні ділянки території [9].

14. Обгрутування еколого-економічних збитків при впровадженні нових технологій

Каналізаційні очисні споруди (КОС) м. Селидове призначені для знешкодження побутових стоків міста від різноманітних забруднень за допомогою механічного, біологічного методів і доочищення в контактних резервуарах. З моменту введення споруд в експлуатацію у 1989 році ніякі реконструкції не проводились. В даній кваліфікаційній роботі спеціаліста представлений проект реконструкції каналізаційних очисних споруд в умовах КОС м. Селидове. Реконструкція передбачає наступне:

      заміну решіток з ручним видаленням сміття на решітки-дробарки;

-        заміну знезаражуючого агента рідкого хлору на гіпохлорит натрія.

Впровадження нових технологій мають обумовлене наступними перевагами:

-     решітки-дробарки дозволяють повністю автоматизувати їх роботу, виключаючи контакт працівників з відкидами, що добре в санітарному відношенні і для них нема потреби у спеціальному приміщенні;

-        гіпохлорит натрію рекомендується застосовувати замість хлору через меншу токсичність у процесі зберігання і використання, що теж добре з санітарної точки зору. До того ж гіпохлорит натрію коштує дешевше ніж хлор.

-     також застосування цих технологій веде до зменшення економічних збитків, заподіяних при скиданні у водойму забруднюючих речовин, у концентраціях більших за гранично допустимі. Розрахунок величини відверненого економічного збитку в результаті проведених заходів наведений далі у розділі.

Проведення реконструкції Селидівських очисних споруд, як вже мовилось вище має істотні переваги як для навколишнього середовища, так і для людей. Однак шкода оточуючому середовищу все одно наноситься, так як застосовувані технології недосконалі. Гіпохлорит натрію безпечніший ніж рідкий хлор, але небезпеку все ж таки має. Хоча він не горить і невибухонебезпечний, але має подразнюючу дію при контакті зі шкірою і слизовою оболонкою людини.

Проведемо розрахунки величини відверненого економічного збитку в результаті проведених заходів.

Спочатку визначимо масу забруднюючих речовин, що скидуються у водойму. Розрахунок матеріального балансу проводився за такими речовинами - завислі частки, органічні речовини і амонійний азот. До реконструкції концентрація цих речовин, виходячи з розрахунків в курсовому проекті, була такою:

-     завислих часток - (Cзав.час.= 38,34 г/мі);

-        органічних речовин - 8,83 г/мі (Cогр.реч.= 10,65 г/мі);

         амонійного азоту - 2,05 г/мі (Cам.азот= 2,46 г/мі).

Після проведення реконструкції концентрація речовин перед скиданням їх у річку Солону становить:

-     концентрація завислих часток - (C’зав.час.= 35,79 г/мі);

-        органічних речовин - 8,83 г/мі (C’огр.реч.= 10,02 г/мі);

         амонійного азоту - 2,05 г/мі (C’ам.азот= 2,31 г/мі).

Згідно з таблицею 3.2 [9], серед розглянутих речовин, тільки амонійний азот і завислі частки мають понаднормову концентрацію. Концентрація органічних речовин знаходиться в межах дозволеного (10,65 і 10,02 г/мі, а затверджена допустима при цьому 15 г/мі). Тому подальші розрахунки будуть вестись за амонійним азотом і завислими частками.

Тоді масу забруднюючих речовин можна розрахувати за формулою 15.1:

 (15.1)

де V - витрата стічних вод, мі/год, V= 207,61 мі/год;

Сi - концентрація i-ої забруднюючої речовини у зворотних водах, г/мі;

Сi доз - дозволена для скиду концентрація i-ої забруднюючої речовини у зворотних водах, при затвердженні ГДС, г/мі;- тривалість неузгодженого скиду, год;

-6 - коефіціент перерахування маси забруднюючих речовин у в тони.

За формулою 15.1 знайдемо масу амонійного азоту до і після реконструкції:

т.

т.

Маса завислих речовин буде також знайдена за формулою 15.1:

т.

т.

Далі розрахуємо збитки від забруднення водойми наднормативними скидами за наступною формулою:

 (15.2)

де Ккат - коефіцієнт, що враховує категорію водного об'єкта [22];

КР - регіональний коефіцієнт дефіцитності водних ресурсів поверхневих вод [22];з = 1,5 - коефіцієнт ураженості водної екосистеми;

Мi - маса наднормативного скиду i-ї забруднюючої речовини у водний об'єкт зі зворотними водами, т;

г’ - питомий економічний збиток забруднення i-ою забруднюючою речовиною, грн/т, який визначається за формулою 15.3:

 (15.3)

де г - питомий економічний збиток від забруднення водних ресурсів, віднесений до 1 тонни умовної забруднюючої речовини, грн/т;

Аi - безрозмірний коефіціент відносної небезпечності i-ої речовини, що розраховують за такою формулою:

 (15.4)

Отже, спочатку розрахуємо Аi для забруднюючих речовин за формулою (15.4). Для амонійного азоту:

Для завислих часток:

Питомий економічний збиток (г) від забруднення водних ресурсів для амонійного азоту складає 802 грн/т, для завислих часток - 23 грн/т. За формулою 15.3 визначимо питомий економіний збиток від забруднення водного об’єкта амонійним азотом:

грн./т.

Питомий економічний збиток від забруднення водного об’єкта завислими частками такий:

 грн./т.

Знайдемо тепер величину збитку від забруднення поверхневих вод до впровадження нових технологій за формулою 15.2:

За тією ж формулою визначимо величину збитку від забруднення водоймища після реконструкції:

Визначаємо величину відверненого економічного збитку в результаті природоохоронної діяльності.

Для розрахунку даної величини використаємо формулу:

П = З 1 - З 2, (15.5)

П = 882,60 - 647,36 = 235,24 грн.

Отже, величина відверненого економічного збитку в результаті природоохоронної діяльності становить 235,24 грн.

Висновки

В результаті виконання кваліфікаційної роботи спеціаліста можна зробити наступні висновки.

В роботі були розглянуті найбільш використовувані методи очищення побутових стоків, серед яких як найкращий був обраний метод біохімічного очищення.

В роботі досліджені фізико-хімічні основи біохімічної очистки, а саме суть методу, склад активного мулу, закономірності розпаду органічних речовин та вплив різних факторів на процеси біохімічного окислення.

Також в роботі наведена характеристика вихідної стічної води і очищених стоків.

В проекті представлена технологічна схема очисних споруд на прикладі КОС м. Селидове, яка вдосконалена за допомогою заміни звичайних решіток на решітки-дробарки та хлору на гіпохлорит натрію.

В дипломному проекті наведені такі розрахунки: матеріальний баланс основних етапів процесу та конструктивний розрахунок технологічного обладнання.

За допомогою програми Mathcad зроблені розрахунки оптимізації конструктивних параметрів аерації в залежності від дози активного мулу.

В проекті описані засоби охорони праці і наведені розрахунки вентиляції складу зберігання гіпохлориту натрія та аварійної ситуації. Розроблені заходи для охорони навколишнього середовища на розгляненому підприємстві.

Були представлені техніко-економічні розрахунки величини відверненого економічного збитку від впровадження нових технологій.

Також в дипломному проекті представлені аналітичний контроль та норми технологічного режиму за стадіями виробництва.

Перелік посилань

1.     О компании [Электронный ресурс] / Режим доступа: #"805107.files/image192.gif">

Рисунок А.1 - Блок-схема оптимізації конструктивних параметрів аерації в залежності від дози активного мулу

Похожие работы на - Проект реконструкції споруд очищення побутових стічних вод в умовах каналізаційних очисних споруд

 

Не нашли материал для своей работы?
Поможем написать уникальную работу
Без плагиата!
Без нейросетей!