Трехфазная цепь при соединении потребителей звездой

  • Вид работы:
    Контрольная работа
  • Предмет:
    Физика
  • Язык:
    Русский
    ,
    Формат файла:
    MS Word
    233,21 Кб
  • Опубликовано:
    2015-04-28
Вы можете узнать стоимость помощи в написании студенческой работы.
Помощь в написании работы, которую точно примут!

Трехфазная цепь при соединении потребителей звездой













Трехфазная цепь при соединении потребителей звездой

1.      Цель работы

Проанализировать режимы работы симметричного и несимметричного потребителей электрической энергии в трехфазной цепи при соединении "звездой" при наличии и отсутствии нейтрального провода. Научиться строить векторные диаграммы напряжений и токов трехфазной цепи.

2.      Основные теоретические положения

Трехфазная система переменного тока получила широкое применение, так как имеет ряд преимуществ по сравнению с системой однофазного переменного тока. Поэтому чаще всего электрическая энергия вырабатывается, передается и распределяется между потребителями трехфазными системами. Подавляющее большинство электродвигателей является двигателями трехфазного переменного тока.

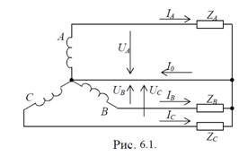
Чтобы в трехфазной системе можно было одновременно пользоваться двумя различными напряжениями (например, 380 В - для питания электродвигателей и 220 В - для питания электрических ламп и других однофазных потребителей) применяют четырехпроводную систему электроснабжения. Четырехпроводная линия трехфазной системы имеет четыре провода: три линейных, по которым протекают линейные токи IA, IB, IC и один нулевой (нейтральный) провод, предназначенный для поддержания одинаковых значений фазных напряжений на всех трех фазах потребителя. По нулевому проводу может протекать уравнительный ток I0, называемый нулевым или нейтральным током. Такая система соединения обмоток трехфазного генератора и приемников (потребителей) называется "звездой" и показана на рис.1.


При соединении в звезду фазный ток IФ и линейный ток IЛ есть одно и тоже :

IФ = IЛ .

Напряжение между линейными проводам, называемое линейным напряжением (например, U), оказывается в   раз больше, чем фазное напряжение источника питания UA, UВ или UС:

UЛ =  UФ .

Если трехфазная система симметричная (все сопротивления и мощности фазных потребителей одинаковы), то по всем трем фазам протекают одинаковые по величине токи, сдвинутые по фазе относительно друг друга на 120°. Ток в нейтральном проводе при этом равен нулю. Напряжения на всех фазах потребителя также отличаются друг от друга только по начальной фазе на 120° (рис.2).


При включении в разных фазах различных по мощности потребителей (несимметричная нагрузка), токи каждой фазы (в каждом линейном проводе) отличаются друг от друга не только начальной фазой, но и величиной. По нейтральному проводу при этом протекает ток, вектор которого на основании первого закона Кирхгофа равен геометрической сумме векторов фазных токов

 

Обрыв нейтрального провода (трехпроводная система) при несимметричной нагрузке приводит к изменению напряжений на всех фазах потребителей и появлению напряжения смещения нейтрали UnN. Положение точки "n" на векторной диаграмме при измеренных значениях напряжений на фазах потребителей UAП, UВП и UСП может быть определено методом засечек или рассчитано аналитически.

3.      Описание виртуальной лабораторной установки

Виртуальная лабораторная установка HTML-страница. В нее вмонтирован скрипт программирующий математическое ядро K2.SimKernel для симуляции движения координат моделей реальных электрических схем. Результат моделирования представляется с помощью стандартных серверов визуализации: цифровой дисплей, шкальный прибор или осциллограф. Выполняя лабораторную работу обучаемый должен повторять лишь два действия: менять параметры модели и запускать процесс симуляции посредствам имеющихся на странице форм. Преследуемая цель этих действий - интерпретация результатов.


Для комфортной работы с текстом задания рекомендуется активировать видеорежим 800x600, скрыть левый навигационный фрейм, развернуть окно на весь экран, активировать шрифт средней величины. Если страница загружена вами посредствам модема, вы можете разорвать связь с сервером. Все интерактивные операции поддерживаются в OffLine-режиме.

Если в странице присутствует виртуальный осциллограф, то демонстрируемая при загрузке осциллограмма является демонстрационной (фигуры Лиссажу). После запуска симуляции демонстрационная осциллограмма исчезнет и будет построен переходный процесс соответствующий изображенному чертежу блок-схемы модели или схеме физической принципиальной. Виртуальный осциллограф имеет контекстное меню (на правой кнопке мыши), которое позволяет изучить осциллограммы более детально. Используйте команду "Координаты" дважды, для селекции фрагмента. Затем дайте команду "Подогнать". Альтернативно вы можете выделить интересующий фрагмент мышкой при удержании клавиши Ctrl.

Запуск процесса симуляции движения координат модели может осуществляться либо при нажатии на кнопку "Вычислить" в формах (если все вычисления осуществляются за один шаг), либо страница может иметь специализированное меню "Старт", "Шаг", "Продолжить", "Приостановить", "Завершить".

Иногда в тексте задания к лабораторной работе присутствует форма "Свойства симуляции". Как правило, при выполнении работы она не нужна. Форма необходима специалистам в вопросах моделирования (преподавателям).

По завершении курса лабораторных работ вы можете удалить математическое ядро K2.SimKernel со своего компьютера. Запустите браузер MS Internet Explorer, выберите команду меню: Сервис > Свойства Обозревателя... На вкладке "Общие" нажмите кнопку "Параметры...", за тем "Просмотр Объектов...". В открывшемся окне следует найти программу "Klinachyov K2_SimKernel Class" и удалить с помощью контекстного меню.

Лабораторная работа связана с изучением симметричной и несимметричной нагрузок, соединенных звездой, с нейтральным проводом и без него (8 опытов). Схема электрическая принципиальная приведена ниже. Для измерения мощности, напряжения и тока в фазах, используется комплект измерительных приборов PW1, PV1, PA1, который необходимо переключать между фазами вручную. Соответствующий переключатель имеется в приведенной рядом со схемой форме. Та же форма используется для программирования наличия или отсутствия нейтрального провода в схеме. Для подобных опытов автоматически реконфигурируется "Панель измерительных приборов" (отображается либо амперметр PA2, либо вольтметр PV2).

4.      Расчётное задание

Расчетное задание выполняется при подготовке к лабораторной работе в соответствии с заданным вариантом.

Таблица 1


Вариант

Режим работы

1

2

3

4

5

6

Симметричная нагрузка

Rф, [Ом]

200

250

350

200

250

350

Несимметричная неоднородная  нагрузка

Ra, [Ом] Сa, [мкФ] Rb, [Ом] Сb, [мкФ] Rc, [Ом] Сc, [мкФ]

350 - 350 - 250 10

250 - 100 10 350 -

150 20 350 - 200 -

250 - 350 - 200 30

200 20 250 - 250 -

350 - 150 30 250 -

Отключена фаза

A

C

B

A

B

C


Изучить тему "Трехфазная электрическая цепь при соединении по схеме звезда", содержание данной лабораторной работы и быть готовым ответить на все контрольные вопросы к ней.

Составить схемы замещения электрических цепей для заданного варианта.

электрический трехфазный звезда цепь

Рис.4 симметричная нагрузка; обрыв фазы при симметричной нагрузке

Рис.5 несимметричная неоднородная; обрыв фазы при несимметричной неоднородной нагрузке

Записать соотношения между линейными и фазными напряжениями; определить напряжения фаз потребителя (Ua, Ub, Uc) в каждом расчетном режиме.

а)симметричная нагрузка:

1)четырехпроводная цепь:

 

 

 

 

)трехпроводная цепь:

 

 

 

 

 

б)обрыв фазы при симметричной нагрузке:

)четырехпроводная цепь :

 

 

 

 

)трехпроводная цепь:

 

 

 

 

 

 

 

в) несимметричная неоднородная нагрузке:

)четырехпроводная цепь:

, т.к. ZN=0

 

 

 

)трехпроводная цепь:

 

 

 

 

X=

 

 

 

 

 

 

 

 

 

 

г)Обрыв фазы при несимметричной неоднородной нагрузке:

)четырехпроводная цепь:

, т.к. ZN=0

 

 

 

)трехпроводная цепь:

 

 

 

 

X=

 

 

 

 

 

 

 

 

 

Рассчитать токи в фазах для указанных выше режимов. При расчете токов в фазах для режимов "г, д," предварительно необходимо рассчитать величину сопротивления в фазе с емкостной нагрузкой и сдвиг по фазе между током и напряжением

а)симметричная нагрузка:

1)четырехпроводная цепь:

 

 

 

 

)трехпроводная цепь:

 

 

 

 

б)обрыв фазы B при симметричной нагрузке:

)четырехпроводная цепь :

 

 

 

 

)трехпроводная цепь:

 

 

 

 

в) несимметричная неоднородная нагрузке:

)четырехпроводная цепь:

 

 

X=

 

 

 

 

 

2)трехпроводная цепь:

 

 

X=

 

 

 

 

 

г)Обрыв фазы B при несимметричной неоднородной нагрузке:

)четырехпроводная цепь:

 

 

X=

 

 

 

 

 

)трехпроводная цепь:

 

 

X=

 

 

 

 

 

Записать уравнения для определения тока в нейтральном проводе

 

б)обрыв фазы B при симметричной нагрузке:

 

в) несимметричная неоднородная нагрузке:

 

г)Обрыв фазы B при несимметричной неоднородной нагрузке:

 

 


5. Экспериментальная часть

Для всех опытов (по данным измерений, табл. 6.2. рассчитать коэффициент мощности (cos  фаз потребителя).

 

- Четырехпроводная цепь

 

a) ) )

- трехпроводная цепь

a) ) )

Обрыв фазы B при симметричной нагрузке

- Четырехпроводная цепь

 

a) ) )

- трехпроводная цепь

)

b) )

Несимметричная неоднородная нагрузка

- Четырехпроводная цепь

 

a) ) )

- трехпроводная цепь

)

b) )

Обрыв фазы B при несимметричной неоднородной нагрузке

- Четырехпроводная цепь

 

a)

b) )

- трехпроводная цепь

) ) )

По результатам измерений (на четырех листах А4) построить восемь векторных диаграмм напряжений и токов (используя циркуль!). При построении диаграмм для режимов с неоднородной нагрузкой учесть, что в фазе с активно-емкостной нагрузкой ток опережает напряжение на некоторый угол, меньший, чем 90 градусов.

Для каждого опыта записать уравнение по первому закону Кирхгофа для нейтральной точки потребителя, и, путем соответствующих построений (на векторной диаграмме), убедиться в справедливости закона.

 

Симметричная нагрузка:

- Четырехпроводная цепь:

 

 трехпроводная цепь

 

Обрыв фазы B при симметричной нагрузке:

- Четырехпроводная цепь

 

 

 трехпроводная цепь

 

 

Несимметричная неоднородная нагрузка:

- Четырехпроводная цепь

 

 

 

 трехпроводная цепь

 

 

 

Обрыв фазы B при несимметричной неоднородной нагрузке

- Четырехпроводная цепь

 

 

 трехпроводная цепь

 

 

Вывод: в данной лабораторной работе исследовались режимы работы симметричного и несимметричного потребителей электрической энергии в трехфазной цепи при соединении "звездой" при наличии и отсутствии нейтрального провода. Научились строить векторные диаграммы напряжений и токов трехфазной цепи. При отсутствии нейтрального провода, обрыв одной из фаз приведет к скачку напряжения выше допустимого, в следствие чего схема выйдет из строя.

Похожие работы на - Трехфазная цепь при соединении потребителей звездой

 

Не нашли материал для своей работы?
Поможем написать уникальную работу
Без плагиата!
Без нейросетей!