Расчет цикла парогазовой установки

  • Вид работы:
    Курсовая работа (т)
  • Предмет:
    Физика
  • Язык:
    Русский
    ,
    Формат файла:
    MS Word
    733,55 Кб
  • Опубликовано:
    2014-12-10
Вы можете узнать стоимость помощи в написании студенческой работы.
Помощь в написании работы, которую точно примут!

Расчет цикла парогазовой установки

Санкт-Петербургский Государственный Технологический Университет Растительных Полимеров

Кафедра тепловых установок и тепловых двигателей







Курсовая работа

на тему

“Расчет цикла парогазовой установки”

по дисциплине “Техническая термодинамика”


Работу выполнил: студент 4 курса

Беляев А.И.

Спец. 140-104

шифр: 094-861







Содержание

.Описание принципиальной схемы ПГУ

. Принципиальная схема ПГУ

.Исходные данные

.Расчёт тепловой схемы ПГУ

.1 Расчет параметров цикла ГРУ

.2 Определение расходов рабочих тел ПГУ

.3 Построение теплового процесса расширения пара в турбине

.4 Расчет регенеративной системы паровой турбины

.5 Определение мощности, развиваемой паровой турбиной

.6 Определение расхода охлаждающей воды в конденсаторе паровой  турбины

.7 Определение показателей эффективности

.Учебно - исследовательский раздел

.1 Влияние паровой регенерации на эффективность

.2 Исследование эффективности  при многоступенчатом сжатии  воздуха в компрессоре

. Влияние температуры газа перед турбиной на эффективность ПГУ

Список литературы

парогазовая установка турбина конденсатор

1.Описание принципиальной схемы ПГУ

Атмосферный воздух, сжатый в компрессоре, подаётся в высокопарный парогенератор, работающий на жидком или газообразном топливе, сжигаемом под давлением. Продукты сгорания топлива с требуемой температурой (700-1100°С) поступают в газовую турбину, в которой расширяются до атмосферного давления и затем, охладившись в горячей стороне газового подогревателя до температуры 120-160°С, выбрасываются в атмосферу.

Перегретый пар из ВПГ поступает в часть высокого давления (ЧВД) паровой турбины, в которой расширяется до промежуточного давления Р. Далее пар отводится из турбины в промежуточный пароперегреватель, где нагревается до первоначального значения температуры. Вновь перегретый пар возвращается в часть низкого давления (ЧНД) паровой турбины, в которой расширяется до давления в конденсаторе (КД).

Конденсат из конденсатора, под действием конденсатных насосов, прокачивается через систему регенеративных подогревателей, включающую в себя подогреватель низкого давления (ПНД) и деаэратор (Д).

Подогрев воды в них осуществляется паром, отбираемым из отборов турбины.

Подогретая таким образом питательная вода насосом (ПН) подаётся в холодную сторону газового подогревателя, где нагревается до температуры кипения и затем направляется в высоконапорный парогенератор.

2.Принципиальная схема ПГУ.(рис.1)

ВПГ - высоконапорный парогенератор; ГТ - газовая турбина; К - компрессор; ГП - газовый подогреватель; ЧВД, ЧНД - части высокого и низкого давления паровой турбины; КД - конденсатор; КН - конденсаторный насос; ПНД - подогреватель низкого давления; Д - деаэратор; ПН - питательный насос;

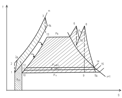
, 2(2d) - всасывание и нагнетание воздуха в компрессоре; 3,4(4d) - вход и выход газа в газовой турбине; 5 - выброс газа в атмосферу; 6,7(7d) - вход и выход пара в ЧНД; 8,9(9d) - вход и выход пара в ЧВД; 10 - выход основного потока конденсата из конденсатора; 11 - выход подогретого конденсата из ПНД; 12 - подача питательной воды в газовый подогреватель; 13 - подача питательной воды в ВПГ.

Т-S диаграмма цикла ПГУ и ВПГ.(Рис.2)



3.Исходные данные

схема парогазовой установки (см.рис.1);

полезная мощность газотурбинной установки - ;

температура перед газовой турбиной - t3= 805  ;

параметры воздуха перед компрессором - t1 =10  , Р1 =760 мм.рт.ст.;

параметры острого пара - t6 =415  , Р6 =4,2 МПа;

давление в отборах турбины и конденсатора - Ротб1=0,12 Мпа, Ротб2=0,075 Мпа, Рк=0,012 Мпа;

давление в промежуточном пароперегревателе - Рпп=1,45 Мпа;

внутренние относительные КПД газовой турбины - ηoiгт=0,88, ηoiпт=0,78, ηoiк=0,85;

теплота сгорания топлива =33000 кДж/кг;

4.Расчёт тепловой схемы ПГУ

.1 Расчет параметров цикла ГРУ

В качестве определяемого параметра цикла ГТУ при изобарном подводе теплоты принимают степень повышения давления πк при адиабатном сжатии в компрессоре. Полезную удельную работу цикла ГТУ ℓгту можно выразить как разность между действительной удельной работой газовой турбины ℓгтд и действительной удельной работой сжатия в компрессоре ℓкд:

ℓгту= ℓгтд - ℓкд.

Выразим каждую работу через её теоретическое значение: (1)

ℓгтд= ℓгт* ηoiгт; ℓкд= ℓк/ ηoiк.

Запишем выражение для внутреннего относительного КПД реального цикла ГТУ в следующем виде:

ηi = (2)

Как известно работа сжатия находится из равенства:

 (3)

Для действительных циклов ГТУ оптимальная степень сжатия определяется по формуле [1]:

 . (4)

Где коэффициенты m = (К-1)/К=(1,4-1)/1,4=0,286; .

При заданных значениях = 1078 К , =283 К , =0,88 ,= 0,85 (см. исходные данные) по выражению находим:

=(0,88*0,85*1078/283) 1/2*0,286 =6,3

Принимаем =6

Из соотношения  =  находим:

 =283 * 60,286 =472 К.

Давление в топке ВПГ составляет:

= *  =0,101*6=0,606 Мпа.


, т.е. = (5)

 =, (6)

 = . (7)

Из соотношений (6) и (7) следует

 =, (8)

Откуда =646К.

Давление 0,101 Мпа.

Значение действительных температур газа на выходе из компрессора и газовой турбины найдем из выражений внутреннего относительного КПД этих машин:

, (9)

 . (10)

Из выражений (9) и (10) найдем действительные значения температур газа на выходе из компрессора и газовой турбины.

(472-283)/0,85 + 283= 505 К

 =1078 - 0,88(1078-646)= 698 К

.2 Определение расходов рабочих тел ПГУ

Полезная мощность ГТУ может быть определена из уравнения

 . (11)

В выражении (11)  - теоретическая мощность, развиваемая газовой турбиной

, (12)

А  - теоретическая мощность, потребляемая компрессором

, (13)

Принимая, что , уравнение (11) перепишем в следующем виде:

 , (14)

Откуда  = 183кг/с.

Здесь значение теплоемкости =1,005 Дж/кгК=1,005 кДж/кгК.

Действительная мощность газовой турбины составляет:

 183*1,005(1078-646)*0,88=69569 кВт.

Действительная мощность, потребляемая компрессором:

= ==40894 кВт.

Расход питательной воды, соответствующий расходу острого пара , подаваемого на паровую турбину, определим из уравнения теплового баланса газового подогревателя с учетом действительных параметров газовой степени:

 (15)

Или

) =  (16)

Температура газа на выходе из газового подогревателя принимается равной 1200С(T5=393 К). При более низкой температуре  наблюдается сернистая коррозия поверхностей нагрева.

Энтальпия воды на выходе из смешивающего подогревателя (деаэратора)  определяется из условия, что питательная вода нагревается в нем до состояния насыщения при давлении греющего пара.

В тепловой схеме ПГУ принимается деаэратор атмосферного типа с давлением греющего пара 0,12 МПа. По таблицам находим 0С и  . Как известно из рис. 2 , питательная вода в газовом подогревателе нагревается до состояния насыщения при давлении 4,2 Мпа (точка 13). По таблицам водяного пара находим = 1102 кДж/кг и определяем расход.

==84,61 кг/с.

.3 Построение теплового процесса расширения пара в турбине

В цикле ПГУ применяется паровая турбина конденсационного типа с промежуточным перегревом пара, состоящая из части высокого и низкого давления (рис.1). Для определения параметров пара, необходимых в дальнейших расчетах, построим процесс расширения пара в турбине в h-S - диаграмме.

Процесс расширения пара в паровой турбине(Рис.3)


По параметрам пара перед турбиной  Мпа и  = 4150 С на h-S - диаграмму наносится точка 6. Из точки 6 проводится линия 6-7 изоэнтропного процесса расширения пара в ЧВД турбины до пересечения ее и изобарой промежуточного перегрева пара  МПа

Располагаемый теплоперепад ЧВД турбины определяется по разности энтальпий точек 6 и7:

=  3248-2964=284 кДж/кг (17)

Использованный теплоперепад ЧВД турбины с учетом внутреннего относительного КПД составляет:

= = 284*0,78= 222 кДж/кг (18)

Величина = 222 кДж/кг Откладывается от точки 6 на изоэнтропе 6-7 (отрезок 6А); через точку А проводится прямая, параллельная оси S, до пересечения с изобарой . Точка 7𝛛 характеризует действительное состояние пара на выходе из ЧВД турбины. Прямая 6-7𝛛 характеризует действительный (политропный) процесс расширения пара в ЧВД турбины. При этом энтальпия пара в конце расширения

  = 3248 - 222 = 3026 кДж/кг (19)

После ЧВД турбины (точка 7𝛛) пар выводится во вторичный пароперегреватель, где нагревается изобарно до начальной температуры ( . На h-S диаграмме по параметрам пара

  = 1,45 МПа и 4150 С находится точка 8, характеризующая состояние пара перед ЧНД турбины. Дальнейшее построение теоретического и действительного процессов расширения пара в ЧНД аналогичного процессу расширения пара в ЧВД турбины.

Располагаемый теплоперепад ЧНД определяется из разности энтальпий точек 8-9:

=  3290 - 2348=942 кДж/кг

По аналогии с выражениями (18) и (19):

=942*0,78= 735 кДж/кг;

= 3290-735=2555 кДж/кг

На h-S диаграмме на пересечении действительного процесса расширения пара в ЧНД 8-9𝛛 с изобарами пара, отбираемого из отборов турбины , , наносятся точки 14-15, характеризующие состояние пара в регенеративных отборах.

Определяется теплосодержание пара в отборах:

2846 кДж/кг;

2778 кДж/кг.

.4 Расчет регенеративной системы паровой турбины

В регенеративную систему паротурбинной установки входят подогреватель низкого давления и деаэратор (рис.4). Все тепловые расчеты регенеративной системы будем производить, в удельных единицах (отнесенных к 1 кг. пара, подводимого в турбину).

Схема регенеративной системы(Рис.4)


Обозначим доли пара в отборах турбины через

и , значения которых определим из уравнений теплового баланса регенеративных подогревателей. При этом количество пара, отбираемого из отбора турбины на

ПНД подогреватель поверхностного типа выбирается так, чтобы температура воды на выходе из него равнялась температуре насыщения при давлении в отборе минус 5-7 С°. Температура питательной воды на выходе из деаэратора (подогреватель смешивающего типа) принимается равной температуре насыщения, соответствующей давлению греющего пара (0,12 МПа).

Составление тепловых балансов начинают с подогревателей высокого давления, последовательно переходя к подогревателям низкого давления ( по греющему пару).

Как видно из рис. 4, расход питательной воды  на выходе из деаэратора равен сумме расходов конденсата, поступающего из ПНД и пара из отбора турбины:

 = ((20)

Или в удельных величинах:

= (1 - (21)


 (22)

Или в удельных величинах:

 (23)

Где  - энтальпии воды на входе и выходе из деаэратора.

Значение энтальпии  ранее получено (кДж/кг

Значение энтальпии  определяется следующим образом.

По давлению  находим по таблицам водяного пара . Тогда температура воды на выходе из ПНД с учетом недогрева, равного 7 С°, составит:

 -7= 92-7=85 0 С

Таким образом

 =85*4,19=356 кДж/кг.

Из выражения (23) находится относительный расход пара на деаэратор:

 ==0,0333.

Расход пара на деаэратор:

 =84,61*0,0333= 2,82 кг/с.

Запишем уравнение теплового баланса ПНД:

) (24)

Или в удельных величинах:

(1 - ) (25)

Где

Как видно, уравнения (24) и (25) имеют две неизвестных величины  и Поэтому для их решения составим уравнение теплового баланса точки смешения:

. (26)

Из выражения (26) получим:

 . (27)

Подставляя полученное значение  в уравнение (25) и решая его относительно , будем иметь:

 =  =0,056 (28)

Где  - энтальпия воды на выходе из конденсатора, определяется по таблицам водяного пара при давлении в конденсаторе  =0,012 МПа,  =207 кДж/кг.

Расход пара на

 = 0,056*84,61=4,74 кг/с.

.5 Определение мощности, развиваемой паровой турбиной

Электрическая мощность, развиваемая паровой турбиной, равна сумме мощностей, развиваемых ее частями высокого и низкого давления:

 +  (29)

Мощность ЧВД турбины определяется по формуле

. (30)

Так из части низкого давления паровой турбины производятся отборы пара на регенеративные подогреватели, то ее мощность может быть определена по следующему уравнению:

 (31)

Или

   (32)

Где :  - коэффициенты недовыработки электрической мощности за счет отборов пара из турбины, определяются по выражениям

 ==0,396

 ==0,303

Подставив найденные значения в (32), получим:

 =84,61*222+84,61*735(1-0,0333*0,396-0,056*0,303)=79096,5 кВт.

.6 Определение расхода охлаждающей воды в конденсаторе паровой турбины

С термодинамической точки зрения конденсатор паровой турбины выполняет функции холодного источника, понижение температуры которого показывает термический  паротурбинных установок. Таким образом, в задачи конденсатора входит:

создание и поддержание необходимого разрежения в выхлопном патрубке турбины;

получение чистого конденсата для питания парогенераторов.

Расход охлаждающей воды, подаваемой в конденсатор, определяется из его уравнения теплового баланса. Пренебрегая теплообменом с окружающей средой, ввиду его незначительности, указанное уравнение можно записать:

(1 -   , (33)

Где  - расход охлаждающей воды,

 - разность температур охлаждающей воды на выходе и входе в конденсатор.

Расход охлаждающей воды при  = 15 составит

==2878,7 кг/с

.7 Определение показателей эффективности

Количество теплоты, затраченное в циклах газо- и паротурбинных установок:

 =183*1,005(1078-505)=105383 кДж/с;

  =84,61*[(3248-1102)+(3290-3026)]=203910 кДж/с.

Суммарные затраты теплоты составят:

 =105383+203910=309293 кДж/с.

Мощность парогазовой установки будет равна:

 =29000+79096,5=108096,5 кВт.

Термический  цикла :

 =108096,5/309293=0,3495 (34)

Расход топлива, подаваемого в :

 =  = 37490 кг/ч (35)

Где = 0,9 -  высоконапорного парогенератора.

Удельный расход топлива на выработку электроэнергии:

 =37490/108096,5=0,3468 кг/кВт*ч. (36)

5. Учебно - исследовательский раздел

.1 Влияние паровой регенерации на эффективность

В современных паротурбинных установках средней и большой мощности в целях повышения их эффективности применяют широко развитую систему паровой регенерации с несколькими регенеративными отборами пара.

а) отключен деаэратор ( =0).

В этом случае, как видно из рис. 2., в газовой подогреватель подается питательная вода с более низким теплосодержанием , а значение которого определяется точкой 11.

Из уравнения (16) находим новый расход рабочего тела циркулирующего в цикле паротурбинной установки:

 ==75,2 кг/с.

По уравнению (28) находим долю отбора пара на :

 = ==0,058.

Определяем расход пара на :

 =0,058*75,2=4,36 кг/с.

Мощность, развиваемая паровой турбиной составит:

 =  + (1 -  =75,2*222+75,2*735(1-0,058*0,303)=70995 кВт.

Количество теплоты, затраченной в цикле :

 =  =75,2*[(3248-1102)+(3290-3026)]=181232 кДж/с.

Суммарное количество теплоты:

 =105383+181232=286615 кДж/с.

Мощность  

 =29000+70995=99995 кВт.

Определяются энергетические показатели установки:

 =99995/286615=0,3489

 = =34741 кг/ч

 =34741/99995=0,3474 кг/кВт*ч.

б) отключены деаэратор и  (.

В рассматриваемом случае новый расход питательной воды и пара в цикле паротурбинной установки составит:

 == 62,67 кг/с.

При отсутствии отборов пара мощность паровой турбины будет равна:

 =  +  =62,67*222+62,67*735=59975 кВт.

Определяется затраченная в цикле  теплота:

 =  =62,67[(3248-1102)+(3290-3026)]=151034 кДж/с.

Суммарные затраты теплоты:

 =105383+151034=256417 кДж/с

Из сопоставления полученных результатов следует:

Эффективность , определяемая термическим , составляет 34,70 %, что несколько ниже термического   с включенной паровой регенерацией, который в этом случае равен 34,95 %;

Отключение паровой регенерации приводит к значительному снижению мощности паровой турбины с 79096,5 кВТ до 59975 кВТ или на 24 %, при этом также уменьшается расход топлива, сжигаемого в  с 37490 кг/ч до 29107 кг/ч. Однако, удельные расходы топлива возрастают с 0,3468 кг/кВТч до 0,3493 кг/кВТч.

Еще раз следует подчеркнуть, что указанное сопоставление производилось при переменных расходах рабочего тела (пара) в цикле паротурбинной установки. Однако наибольший интерес представляет случай, при котором расходы рабочих тел, а следовательно, и мощности паровой и газовой турбины остаются без изменения. Это условие в большей степени соответствует условиям работы реальных парогазовых установок.

В данном случае отключение паровых регенеративных подогревателей приводит к снижению температуры питательной воды на входе и выходе из газового подогревателя, а это в свою очередь способствует увеличению затрат теплоты на получение острого пара.

Из сопоставления полученных результатов следует:

Эффективность , определяемая термическим , составляет 32,04 %, что несколько ниже термического   с включенной паровой регенерацией, который в этом случае равен 34,17 %;

Увеличивается расход топлива, сжигаемого в  с 38341 кг/ч до 39869 кг/ч. Удельные расходы топлива возрастают с 0,356 кг/кВТч до 0,378 кг/кВТч.

.2 Исследование эффективности  при многоступенчатом сжатии воздуха в компрессоре

Схема трёхступенчатой компрессорной установки(а) и процессы сжатия в Т-S диаграмме(б) Рис.5.

 

Как известно, изотермический процесс является наиболее выгодным термодинамическим процессом сжатия воздуха в компрессоре. Одним из способов приближения реальных процессов сжатия, сопровождающихся значительным ростом температур, к изотермическому является способ охлаждения сжимаемого воздуха в промежуточных охладителях компрессорной установки.

Рассмотрим схему двухступенчатого сжатия воздуха с одним промежуточным охладителем, представленную на рис. 5. Воздух с параметрами в точке 1 поступает в компрессор низкого давления (КНД), где сжимается до давления . Затем он отводится в охладитель воздуха (ОВ), в котором охлаждается до первоначальной температуры, после чего подается в компрессор высокого давления КВД и сжимается до конечного давления.

Наиболее рациональное распределение давления между относительными ступенями достигается исходя из условия одинаковых степеней сжатия в них. При этом затраты технической работы на весь процесс сжатия минимальны.

Мощность:

 = 3 =3*183*1,005(345-283)=34208 кВт.

В этом случае полезная мощность газотурбинной установки составит:

 =69569-40894=28675 кВт.

И полезная мощность парогазовой установки:

 =28675+79096,5=107771,5 кВт.

Найдем количество теплоты, затраченное в цикле ГТУ, с учетом того, что воздух, поступающий в ВПГ, в данном случае, имеет более низкую температуру:

 =183*1,005(1078-345)=134809кДж/c

Используя ранее найденное значение  =203910 кДж/с , определяем затраты теплоты в цикле ПТУ:

 =134809+203910=338719 кДж/с.

Энергетические показатели установки будут иметь следующие значения:

 =107771,5/338719=0,318

 =  = 41057 кг/ч.

 =41057/107771,5=0,381 кг/кВт ч.

Выполненные расчеты цикла ПГУ с двухступенчатым сжатием воздуха в компрессорной установке и его сопоставление с исходным циклом позволяют сделать следующее заключение:

Мощность, потребляемая компрессорной установкой, снижается с 69569 кВт до 34208 кВт, соответственно полезная мощность ГТУ возрастает с 29000 кВт до 28675 кВт.

Снижение температуры воздуха на выходе из компрессора приводит к увеличению теплоты, затраченной в цикле ГТУ с 105383 кДж/с до 134809 кДж/с

В целом эффективность ПГУ снижается, о чем свидетельствует уменьшение термического КПД цикла с 34,95 % до 31,8 %.

Таким образом, применение сжатия в цикле ПГУ с промежуточным охлаждением нецелесообразно.


6.Влияние температуры газа перед турбиной

=978 K

= 586К.

Давление P4 =0,101 Мпа.

Действительные значения температур газа на выходе из компрессора и газовой турбины:

(472-283)/0,85 + 283= 505 К

 =978 - 0,88(978-586)= 633 К

Расход газа


В тепловой схеме ПГУ принимается деаэратор атмосферного типа с давлением греющего пара 0,12 МПа. По таблицам находим 0С и  . Как известно из рис. 2 , питательная вода в газовом подогревателе нагревается до состояния насыщения при давлении 4,2 МПа. По таблицам водяного пара находим = 1102 кДж/кг и определяем расход.

==85,64кг/с.

Электрическая мощность, развиваемая паровой турбиной, равна сумме мощностей, развиваемых ее частями высокого и низкого давления:

 +  

 =85,64*222+85,64*735(1-0,0333*0,396-0,056*0,303)=80059кВт.

Количество теплоты, затраченное в циклах газо- и паротурбинных установок:

 =235,4*1,005(978-505)=111901кДж/с;

Суммарные затраты теплоты составят:

 =111901+206392=318293 кДж/с.

Мощность парогазовой установки будет равна:

 =29000+79096,5=108096,5 кВт.

Термический  цикла :

 =108096,5/318293=0,3396

=1178 K

= 706К.

Давление P4 =0,101 Мпа.

Действительные значения температур газа на выходе из компрессора и газовой турбины:

(472-283)/0,85 + 283= 505 К

 =1178 - 0,88(1178-706)= 763 К

Расход газа

 = 149,5 кг/с.

В тепловой схеме ПГУ принимается деаэратор атмосферного типа с давлением греющего пара 0,12 МПа. По таблицам находим 0С и  . Как известно из рис. 2 , питательная вода в газовом подогревателе нагревается до состояния насыщения при давлении 4,2 МПа. По таблицам водяного пара находим = 1102 кДж/кг и определяем расход.

==83,85 кг/с.

Электрическая мощность, развиваемая паровой турбиной, равна сумме мощностей, развиваемых ее частями высокого и низкого давления:

 +  

 =83,85*222+83,85*735(1-0,0333*0,396-0,056*0,303)=78386 кВт.

Количество теплоты, затраченное в циклах газо- и паротурбинных установок:

 =149,5*1,005(1178-505)=101117 кДж/с;

Суммарные затраты теплоты составят:

 =101117+202078,5=303195,5 кДж/с.

Мощность парогазовой установки будет равна:

 =29000+79096,5=108096,5 кВт.

Термический  цикла :

 =108096,5/303195,5=0,3565 =1278 K

= 766К.

Давление P4 =0,101 Мпа.

Действительные значения температур газа на выходе из компрессора и газовой турбины:

(472-283)/0,85 + 283= 505 К

 =1278 - 0,88(1278-766)= 827 К

Расход газа

 = 126,4 кг/с.

В тепловой схеме ПГУ принимается деаэратор атмосферного типа с давлением греющего пара 0,12 МПа. По таблицам находим 0С и  . Как известно из рис. 2 , питательная вода в газовом подогревателе нагревается до состояния насыщения при давлении 4,2 МПа. По таблицам водяного пара находим = 1102 кДж/кг и определяем расход.

==83,2 кг/с.

Электрическая мощность, развиваемая паровой турбиной, равна сумме мощностей, развиваемых ее частями высокого и низкого давления:

 +  

 =83,2*222+83,2*735(1-0,0333*0,396-0,056*0,303)=77778 кВт.

Количество теплоты, затраченное в циклах газо- и паротурбинных установок:

 =126,4*1,005(1278-505)=98196 кДж/с;

Суммарные затраты теплоты составят:

 =98196+200512=298708 кДж/с.

Мощность парогазовой установки будет равна:

 =29000+79096,5=108096,5 кВт.

Термический  цикла :

 =108096,5/298708=0,3619

=1378 K

= 826К.

Давление P4 =0,101 Мпа.

Действительные значения температур газа на выходе из компрессора и газовой турбины:

(472-283)/0,85 + 283= 505 К

 =1378 - 0,88(1378-826)= 892 К

Расход газа

 = 109,5кг/с.

В тепловой схеме ПГУ принимается деаэратор атмосферного типа с давлением греющего пара 0,12 МПа. По таблицам находим 0С и  . Как известно из рис. 2 , питательная вода в газовом подогревателе нагревается до состояния насыщения при давлении 4,2 МПа. По таблицам водяного пара находим = 1102 кДж/кг и определяем расход.

==82,8 кг/с.

Электрическая мощность, развиваемая паровой турбиной, равна сумме мощностей, развиваемых ее частями высокого и низкого давления:

 +  

 =82,8*222+82,8*735(1-0,0333*0,396-0,056*0,303)=77404 кВт.

Количество теплоты, затраченное в циклах газо- и паротурбинных установок:

 =109,5*1,005(1378-505)=96071,5 кДж/с;

Суммарные затраты теплоты составят:


Мощность парогазовой установки будет равна:

 =29000+79096,5=108096,5 кВт.

Термический  цикла :

 =108096,5/295619,5=0,3657

T3

ηt

978

0,3396

1078

0,3495

1178

0,3565

1278

0,3619

1378

0,3657


График зависимости f(T3)



Список литературы

) «Расчёт цикла парогазовой установки»; М/у к курсовой работе; Ленинград 1989.

) «Тепло-физические свойства воды и водяного пара»; С.Л.Ривкин, А.А. Александров;

М.: Энергия, 1980.

) H-S диаграмма воды и водяного пара.

Похожие работы на - Расчет цикла парогазовой установки

 

Не нашли материал для своей работы?
Поможем написать уникальную работу
Без плагиата!
Без нейросетей!