Разработка комбинированной энергетической установки
Введение
Целью дипломного проекта является разработка
комбинированной энергетической установки, способной обеспечить функционирование
газотурбинной и паротурбинной её частей. Главным объектом проектирования
является паровая турбина мощностью 660 МВт, работающая в составе такой
установки. Также значительным преимуществом такой энергоустановки является её
способность работать в составе электростанции с внутрицикловой газификацией
угля, с применением таких передовых технологий, как мембранные реакторы конверсии
для извлечения водорода из синтез газа и системой улавливания и удержания СО2 -
CCS.
Получение водорода рассматривается как попутное
производство при обработке синтез газа после газификации угля и занимает
второстепенную позицию. Но если в регионе, где планируется устанавливать такой
энергоблок, высокий спрос на водородное топливо, то установленную мощность
газовой турбины можно уменьшить или исключить её как компонент из цикла вообще,
что позволит производить больше водорода без снижения мощности паровой турбины.
КОНСТРУКТОРСКАЯ ЧАСТЬ
Выбор основных параметров
В соответствии с поставленной задачей на
дипломное проектирование и ретроспекривным анализом технической литературы
задаемся следующими основными параметрами паротурбинной установки, работающей в
составе комбинированной парогазовой установки:
Номинальная мощность турбогенератора:э=660 МВт;
Начальные параметры пара выбраны
сверхкритические:
Р0=24,7 МПа;=535 ◦C;
Давление в конденсаторе:
Рк=5 кПа.
Температура и давление промежуточного перегрева
пара:
Рпп=6,5 МПапп=565◦С
В качестве прототипа выбираем паровую турбину
К-660-247 производства ЛМЗ филиала ОАО «Силовые машины». Паровая турбина
К-66--247 номинальной мощностью 660 МВт с начальным абсолютным давлением 24,7
МПа предназначена для привода двухполюсного генератора переменного тока
ТВВ-660-2, для работы в блоке с прямоточным котлом, использующим органическое
топливо. В тепловой схеме, предложенной в данной работе, паровой котел работает
на синтез газе, получаемом при газификации угля.
Предусмотрена параллельная работа ГТУ и ПТУ,
причем регенерация тепла и подогрев питательной воды осуществляется в
котле-утилизаторе. При этом из самой паротурбинной установки планируется
производить отборы пара на деаэратор, привод турбонасоса и два ПНД, в которые
производится слив дренажей. Также в связи с включением дополнительного
газификатора, производящего синтез-газ для ГТУ, планируется отбирать пар из
цикла ПТУ с давлением, превышающем давление в газификаторе.
Предварительный термодинамический расчет турбины
При выполнении расчетов использовалась программа
MathCAD 14, а также готовые библиотеки Water Steam Pro 6. Результаты расчета
приведены из интерфейса программы с некоторыми пояснениями.
Исходные данные:
Начальные параметры пара перед турбиной:
Промежуточный перегрев:
Конечное давление за турбиной:
Давление питательной воды после ПН
Расход пара на турбопривод питательных насосов:
- мощность турбопривода
теплоперепад на приводных турбинах
Предварительный тепловой расчет турбины
Потери давления на паровпуске
Давление в промежуточном перегреве определяется
из условия максимальной экономичности по рис. 1.18 в [1]
Потери давления в тракте пром. перегрева
составляют
Конечная температура:
Энтальпия в конце процесса адиабатного
расширения:
Энтальпия на выходе из конденсатора
Промежуточный перегрев пара.
Предварительно задаемся КПД:
По i-s диаграмме находим:
Энтальпия пара в конце процесса расшитения в ЦВД
(перед пром. перегревом):
Энтальпия пара в конце процесса расшитения в ЦНД
(перед конденсатором):
- без пром. перегрева
Учет регенеративного подогрева питательной воды
Температуру питательной воды определяется как
где
-
температура насыщения при
Но т.к. в данном проекте параметры пара
сверхкритические и при давлении 24 МПа вода сразу переходит в перегретый пар,
минуя двухфазное состояние, то по рекомендациям выбираем:
По
И
Определяем
КПД цикла с бесконечным числом отборов на
регенерацию:
Определим термический КПД цикла без регенерации
Прирост КПД в идеальном регенеративном цикле
составит:
Для числа отборов на регенерацию, равного z по
рисунку 1.25 в [1] находим реальный выигрыш в КПД в цикле с регенерацией:
В ходе предварительного расчета были найдены
значения располагаемого теплоперепада в турбине, внутренний и термический
к.п.д., а также построен процесс расширения пара в турбине в I-S координатах.
Выполненный предварительный термодинамический
расчет турбины позволяет произвести более детальные вычисления.
Проведем тепловой расчет турбины при её
совместной работе, то есть с включенной газотурбинной частью и реактором
газификации. Отдельно производим расчет реактора газификации, входе расчета
должно получиться количество газа необходимое для работы газотурбинной части.
Расчет газовой турбины производиться в составе ПГУ.
Расчет газовой турбины
Для расчета газотурбинной части за основу
возьмем новую турбину Siemens SGT5-8000H.
Основные техничесие характеристики, заявленные
производителем этой ГТУ таковы:
Мощность номинальная
Коэффициент полезного действия
Степень сжатия в компрессоре
Температура газов после ГТ
Массовый расход рабочего газа
Для расчета зададимся некоторыми величинами, а
некоторые примем из прототипа:
КПД компрессора
КПД камеры сгорания
КПД турбины
. Определение температуры воздуха после
компрессора, К
. Определение температуры газов после газовой
турбины, К
термический КПД цикла Брайтона
. Удельная работа ГТУ, кДж/кг
. Количество энергии, подводимое к ГТУ при
сжигании синтез-газа в камере сгорания, кВт
Расчет реактора газификации
В реакторе предполагается аллотермический
процесс паровой газификации угля (с подводом тепла в реакционную зону извне)
согласно уравнению реакции:
C + H2O -> CO + H2
Уравнение энергобаланса на 1 кг угля:
Где
теплоты сгорания углерода, окиси углерода и водорода
соответственно, МДж/кг
энтальпия пара, подаваемого в реактор для
процесса газификации
Молекулярные массы соответствующих веществ:
изобарная теплоемкость синтез-газа
массовая доля углерода в угле
Определяем физическое тепло синтез-газа,
МДж/кг.угля:
Теплота аллометрического процесса, МДж/кг.угля:
Теплота сгорания синтез-газа при высокой
золоочистке, МДж/кг:
Удельный расход синтез-газа на реактор:
Удельный расход синтез-газа на ГТУ-ступень кг/кг
уг:
удельный расход синтез-газа потребителю
Количество синтез-газа на ГТУ, кг/с:
Количество угля на реактор
Отпуск водорода потребителю

Работа энергоустановки по парогазовому циклу
Исходные данные:
Мощность энергетической установки:
механический КПД
КПД электрогенератора
- расход в головную часть турбины
- расход в обвод ЦВД из пароперегревателя КУ
Расход пара на газогенератор
По стехиометрическому соотношению количество
Расход пара на трубопривод питательных насосов:
Тогда расход пара на входе в турбину будет
равен:
Расход пара в конденсатор
Расчет тепловой схемы
Предполагается, что на регенерацию идет тот пар,
который подается в головную часть турбины.
Давление в барабане КУ
Давление в ПГ
Давление в деаэраторе
Схема установки: ГВП КУ ВД + Д + ГВП КУ НД + 2
ПНД
Коэффициент регенерации.
Предварительный расход питательной воды.
Расход пара на собственные нужды котельного
оборудования
Расход питательной воды
Расход химически очищенной воды (ХОВ),
подаваемой в деаэратор.
утечки из деаэратора
Энтальпия химически очищенной воды, поступающей
в деаэратор из подогревателя ХОВ.
Давление питательного насоса.
Количество пара, поступившего из концевых
уплотнений турбины в конденсатор.
Количество пара, поступившего из передних
концевых уплотнений в деаэратор.
Энтальпия питательной воды после повышения
давления в ПН.
энтальпия питательной воды за деаэратором:
Расчет перегревателя КУ:
- удельная изобарная теплоемкость продуктов
сгорания,
находится по таблицам теплофизических свойств
газов
температура газов после газовой турбины
температура газов перед перегревателем
Температура пароводяной смеси при давлении в
барабане:
Энтальпия пара в барабане
Энтальпия воды в барабане
температура газов перед испарителем
Количество теплоты, переданное пару в
перегревателе:

Расчет испарителя КУ:
Количество теплоты, переданное пароводяной смеси
в испарителе:
Расчет ГВП ВД:
температура газов перед ГВП ВД
Для добавочного расхода:
Количество теплоты, переданное воде в
газо-водяном подогревателе высокого давления:
Для основного расхода:
Количество теплоты, переданное воде в
газо-водяном подогревателе высокого давления:
Расчет деаэратора.
Давление в деаэраторе
Давление пара в отборе
В точке пересечения изобары
и
линии процесса находим
Энтальпия греющего пара
Энтальпия воды на выходе из деаэратора
Использованный теплоперепад
- средний подогрев воды в ПНД
Давление конденсатного насоса:
Энергетический баланс деаэратора:
Расход основного конденсата:
кпд теплообменника
- расход в отборе на деаэратор
Расчет ГВП НД:
температура газов на выходе из КУ
Количество теплоты, переданное воде в
газо-водяном подогревателе низкого давления:
ПНД 2:
Давление в подогревателе
Энтальпия воды на выходе из ПНД
Энтальпия конденсата греющего пара
В точке пересечения изобары
и
линии процесса находим
Энтальпия греющего пара
Энтальпия воды на входе в ПВД
Использованный теплоперепад
ПНД 1:
Давление в подогревателе
Энтальпия воды на выходе из ПНД
Энтальпия конденсата греющего пара
В точке пересечения изобары
и
линии процесса находим
Энтальпия греющего пара
Энтальпия воды на входе в ПВД
Энтальпия дренажа пара из подогревателя
Использованный теплоперепад
Расходы пара на ПНД:
ПНД4 и ПНД3 отключены
Из отбора 7 на ПНД 2:
Из отбора 8 на ПНД 1:
Отборы 5 и 6 идут на газогенератор с расходом
Расход пара в конденсатор через последнюю
ступень турбины.
Мощность турбины с учетом отборов пара на
регенерацию:
Электрическая мощность турбины.
Небаланс мощности.
Требуемый дополнительный расход пара на турбину.
Уточненный расход пара на турбоустановку.
Уточненный коэффициент регенерации.
Расчет ПТС с уточненным коэффициентм
регенерации.
Расход пара на собственные нужды котельного
оборудования
Расход питательной воды
Расход химически очищенной воды (ХОВ),
подаваемой в деаэратор.
- утечки из деаэратора
Количество пара, поступившего из концевых
уплотнений турбины в конденсатор.
Количество пара, поступившего из передних
концевых уплотнений в деаэратор.
Расход основного конденсата:
- расход в отборе на деаэратор
Расчет расходов пара на ПНД.
Из отбора 7 на ПНД 2:
Из отбора 8 на ПНД 1:
Мощность турбины с учетом отборов пара на
регенерацию:
Электрическая мощность турбины.
Небаланс мощности.
менее 2%
Коэффициенты отбираемого пара.
Регулирующая ступень:
Принимаем
Для одновенечной регулирующей ступенни:
Первый отсек ЦВД:
Параметры за регулирующей ступенью и перед
первым отсеком ЦВД:
Параметры за первым отсеком:
Второй отсек ЦВД:
Параметры перед вторым отсеком:
Параметры за вторым отсеком:
ЦСД
Параметры пара перед ЦСД:
Параметры пара за ЦСД:
ЦНД
Потери в ресивере приняты 2 %
Число потоков в ЦНД
Вычисляем потери с выходной скоростью, для чего
принимаем для последней ступени:
Кольцевая площадь последних лопаток:
Веерность ступени:
теплоперепад, приходящийся на область влажного
пара
Максимальный расход пара на ЦНД принимаем по
оценке из условия 180 кг/с на один поток:
предварительое значение общего выхода в
конденсатор
Вычисляем потери от влажности на последних
ступенях:
к-т, учитывающий эффективность влагоудаления
Параметры пара на выходе из ЦНД:
Разбивка теплоперепадов по цилиндрам и отсекам
турбины
Отборы разбивают проточную часть турбины на 9
отсеков:
Используемые теплоперепады отсеков находятся
через вычисленные используемые теплоперепады цилиндров:
Использованные теплоперепады:
Находим приведенный теплоперепад турбины:
Уточняем значение расхода пара:
- расход в головную часть турбины
- расход в обвод ЦВД из пароперегревателя КУ
общий выход в конденсатор
Мощност отсеков составляет:
с учетом расхода теплоты на газификатор и
расхода синтез-газа потребителю.
Уточняем количество отбираемого пара:
Распределение теплоперепадов по ступеням турбины
Задаемся числом ступеней в отсеке, средним
диаметром первой ступени. Теплоперепад отсека известен. Варьируя степенью
реактивности добиваемся лучшего отношения скоростей U/Cф
Разбивка теплоперепадов по цилиндрам и отсекам
турбины
Первый отсек ЦВД:
- расход в головную часть турбины на
Принимаем количество ступеней
Задаемся средним диаметром первой ступени
отсека:
Задаемся постоянным корневым диаметром для
отсека:
Задаемся средним диаметром регулирующей ступени:
Определяем средний располагаемый теплоперепад на
ступень
Расчет проточной части произведен в специальном
программном приложении, модернизированной программе RTPT. Результаты расчета
приведены на рисунках.
Второй отсек ЦВД:
Принимаем количество ступеней
Задаемся средним диаметром первой ступени
отсека:
Задаемся постоянным корневым диаметром для
отсека:
Определяем средний располагаемый теплоперепад на
ступень
Отсек ЦСД:
Принимаем количество ступеней
Задаемся средним диаметром первой ступени
отсека:
Задаемся постоянным корневым диаметром для
отсека:
Определяем средний располагаемый теплоперепад на
ступень
Отсек ЦНД:
Принимаем количество ступеней
Задаемся средним диаметром первой ступени
отсека:
Задаемся постоянным корневым диаметром для
отсека:
Определяем средний располагаемый теплоперепад на
ступень
Задаемся повышенным теплоперепадом на последнюю
ступень - 200 кДж/кг
Профилирование первой ступени ЦСД
Значения параметров на среднем диаметре:
Располагаемый теплоперепад на ступень:
Расход пара:
Параметры ступени:
Реактивность рабочей решетки в среднем сечении:
в корневом сечении:
Критический перепад давлений для перегретого
пара:
К-ты скорости для сопловой и рабочей решеток
соответственно:
К-т расхода для сопловой решетки:
для рабочей решетки:
Расчет ступени по среднему диаметру.
Теплопрепад от параметров торможения:
сопловая решетка
Скорость на выходе из сопловой решетки:
Параметры пара за сопловой решоткой:
Выходная площадь сопловой решетки:
Эффективный угол выхода из сопловой решетки:
перепад докритический
рабочая решетка
Скорости за рабочей решеткой:
Параметры пара за рабочей решеткой:
Выходная площадь рабочей решетки:
Эффективный угол выхода из рабочей решетки:
Расчет ступени с учетом изменения параметров по
радиусу.
Разобьем высоту лопатки на элементарные участки:
Задаемся шагом в корневом сечении:
Закон закрутки косвенно выражается уравнением
Подберем такое значение m, которое будет
удовлетворять вычисленным в корне и на среднем диаметре
сопловая решетка
считаем что удельный расход пара остается
постояным по высоте лопатки
совпадает с расчетным значением
Выбираем профиля:
рабочая решетка
Скорости за рабочей решеткой:
Параметры пара за рабочей решоткой:
Эффективный угол выхода из рабочей решетки:
Выбираем профиля:
Оценка экономичности ступени.
Расчет на прочность рабочей лопатки первой
ступени ЦСД.
). Расчет пера лопатки на растяжение
центробежными силами.
Рабочие лопатки всех ступеней выполняются из
стали 15Х12ВМФ
Плотность стали
угловая скорость
Окружная скорость посередине длины лопатки
Отношение среднего диаметра к длине лопатки
Разбиваем лопатку по высоте на элементарные
участки:
Площадь стандартного профиля (из атласа
турбинных решеток) находим для каждого сечения
Центробежные силы растяжения:
Напряжение растяжения в пере лопатки:
Коэффициент запаса
). Расчет пера лопатки на изгиб силами пара.
число лопаток на рабочем колесе
Угол установки, находим по атласу профилей:
плотность пара за рабочей решеткой
Коэффициент запаса
3). Расчет на прочность хвостовика лопатки.
высота рабочей части хвостовика
ширина хвостовика
площадь хвостовика
радиус среднего сечения хвостовика
сила, действующая на каждую площадку хвостовика
Коэффициент запаса
Расчет разъема внешнего корпуса ЦВД на
нераскрытие
расчетное давление, действующее на стык
Расчет производится по условию герметичности
соединения. Полная сила, растягивающая шпильки при действии расчетного давления
,
складывается из силы действия среды на крышку и остаточной силы, потребной для
сжатия прокладки:
внутренний диаметр корпуса
длина корпуса
Вертикальную силу, действующую на крышку можно с
малой погрешностью определить по формуле
Принимаем число шпилек равным:
(H)-осевая сила, действующая на один болт.
Сила затяжки шпилек
(по рекомендациям Л.[2])
Расчетная сила, действующая на шпильку
Определим расчетный диаметр шпильки:
(Па) -
допускаемое напряжение при растяжении.
Для стали 35ХМ:
(Па)-предел прочности.
(Па)-предел текучести.
запас по пределу прочности.
запас по пределу текучести.
(Па) - допускаемое напряжение по пределу
прочности.
(Па) - допускаемое напряжение по пределу
текучести.
Дальнейший расчет ведем по меньшему значению
:
(м)
Принимаем диаметр шпильки
Описание спроектированной паротурбинной
установки
Таким образом, в результате выполненных
конструкторских, тепловых и прочностных расчетов была спроектирована паровая
турбина, удовлетворяющая предъявленным требованиям.
Турбина имеет 7 нерегулируемых отборов пара,
предназначенных для подогрева питательной воды в ПВД, основного конденсата - в
ПНД, деаэраторе до температуры 280 °С при номинальной нагрузке турбины. Кроме
регенеративных отборов, допускаются отборы пара без снижения номинальной
мощности на подогрев сетевой воды и на собственные нужды станции. В составе
парогазового блока планируются производить отбор после ЦВД на нужды
газификатора, для получения синтез-газа, и дальнейшего получения из него
водорода методом конверсии.
Турбина представляет собой одновальный
четырехцилиндровый агрегат, выполненный по схеме 1ЦВД+1ЦСД+1ЦНДх2.
ЦВД с облопачиванием реактивного типа, с сопловым
парораспределением. В конструкции применены высокоэффективные профиля
направляющих и рабочих лопаток, развитые надбандажные, диафрагменные и концевые
уплотнения, втулочная конструкция обойм концевых уплотнений. ЦВД имеет
внутренний корпус, в патрубки которого вварены сопловые коробки. Паропроводящие
штуцера имеют сварные соединения с наружным корпусом цилиндра и подвижные - с
горловинами сопловых коробок.
После промежуточного перегрева пар по двум
паропроводам подводится к двум стопорным клапанам ЦСД, установленным по обе
стороны цилиндра, и от них - к четырем регулирующим клапанам, расположенным
непосредственно на корпусе ЦСД. ЦСД - двухпоточный, с облопачиванием активного
типа. Также применены высокоэффективные профили и уплотнения.Из выхлопных
патрубков ЦСД пар по двум трубам подводится к ЦНД.
ЦНД - двухпоточный, по пять ступеней в каждом
потоке. Из двух выхлопов после ЦНД отработавший пар поступает в общий
конденсатор. Расход охлаждающей воды через конденсатор 64 000 м3/ч. Номинальная
температура охлаждающей воды 33 °С.
Ротор ЦНД выполнен сварным. Длина рабочей
лопатки последней ступени ЦНД - 1200 мм, средний диаметр этой ступени - 3000
мм. Все роторы имеют жесткие соединительные муфты и по две опоры. Фикспункт
валопровода (упорный подшипник) расположен между ЦВД и ЦСД. Для турбины
К-660-247 разработаны новые корпуса ЦВД и ЦСД. Новая цельнолитая конструкция
устойчива к перекосам и короблению цилиндров. Подвод/отвод пара осуществлен
только в нижней половине цилиндров, что обеспечивает большую ремонтопригодность
конструкции.
Турбина снабжена паровыми лабиринтными
уплотнениями. Новые усовершенствованные уплотнения имеют меньший зазор и
работают на витых отжимных пружинах. Также предусмотрены специальные отверстия
в обоймах уплотнений для циркуляции пара и их охлаждения. Из концевых каминных
камер уплотнений всех цилиндров паровоздушная смесь отсасывается водоструйным
эжектором через вакуумный охладитель.
Максимальный расход пара, при указанных
начальных параметрах спроектированной турбины, составляет 611 кг/с.
В системе автоматического регулирования и защиты
использованы основные конструктивные решения, отработанные на большой части и
турбин данной серии.
Назначение и функции системы:
обеспечивает автоматическое регулирование
частоты вращения и мощности турбины в соответствии со статической
характеристикой и заданием, получаемым из системы автоматического управления
энергоблока или от оператора, как при работе в сети, так и на изолированную
нагрузку;
поддерживает заданное давление пара перед
регулирующими клапанами высокого давления;
обеспечивает противоразгонную защиту
турбоагрегата;
на основе контроля термонапряженного состояния
элементов турбины вырабатывает команды на ограничение скорости изменения
нагрузки и информацию о допустимом изменении нагрузки;
обеспечивает возможность взаимодействия с
системой автоматического пуска блока для автоматизации разворота и нагружения
турбины;
обеспечивает останов турбины при возникновении
аварийных нарушений ее работы.
Система регулирования состоит из органов
парораспределения, гидравлической и электронной частей, работа которых
взаимосвязана.
Система регулирования обеспечивает возможность
изменения нагрузки и синхронизации генератора при любой аварийной частоте в
энергосистеме.
С учетом реализации в ЭЧСР ряда алгоритмов,
улучшающих динамические характеристики системы регулирования турбины,
максимальная частота вращения ротора при сбросе номинальной нагрузки с
отключением генератора от сети не превышает 107...108 % номинального значения.
Стопорные и регулирующие клапаны разгруженного
типа. В корпусе каждого стопорного клапана устанавливается паровое сито.
Для ограничения поступления в ЦВД пара из
«холодной» линии промперегрева при работе турбины на клапанах ЦСД (пусковые
режимы) на выхлопах из ЦВД установлены два обратных клапана с байпасами.
Обратные клапаны управляются индивидуальными сервомоторами.
В режиме пуска турбины разворот и начальное
нагружение осуществляется путем подачи пара в цилиндр среднего давления. При
этом регулирующие клапаны высокого давления и обратные клапаны на линиях
холодного промперегрева остаются закрытыми, параметры пара поддерживаются
регуляторами байпасных станций высокого и низкого давления. После достижения
нагрузки 15...20% номинального значения, пар подается в ЦВД.
Тепловая схема турбоустановки состоит из 4
подогревателей низкого давления (ПНД), деаэратора скользящего давления и трех
подогревателей высокого давления (ПВД). Все регенеративные подогреватели -
горизонтального типа (поверхностные). В качестве привода питательного насоса
используется турбопривод.
Конденсатор -660КП-35500-1- поверхностный,
двухпоточный, одноходовой со встроенным ПНД-1. Трубная система выполнена из
нержавеющей стали ASTM TP304L. Поверхность теплообмена равна 35500 м2
Повышена надежность соединения «трубка-трубная доска»
за счет применения вальцовки трубок с последующей обваркой. Конденсатор имеет
32000 трубок диаметром 22, 225х 0,711 мм длиной 16 м. Масса сухого конденсатора
900 т.
Цилиндр Высокого Давления
Для турбин с котлами, работающими на постоянном
давлении, в ЦВД применяется сопловое парораспределение с регулирующей ступенью.
Проточная часть с 16-ю ступенями реактивного типа имеет постоянный корневой
диаметр с направляющими и рабочими лопатками переменной высоты.
Применен цельнокованый ротор. Проточная часть имеет
петлевую схему течения пара, обеспечивающую компенсацию осевого усилия.
Температурное состояние наружного корпуса ЦВД сохраняется за счет расположения
направляющих лопаток во внутреннем цилиндре и 2-х обоймах.
Регулирующая ступень расположена на пониженном
диаметре. Тепловой адиабатический перепад на регулирующую ступень на
соответствующих режимах значительно уменьшен, чем на турбинах прежних
конструкций. Такое перераспределение теплового перепада на ЦВД достигается
увеличением числа ступеней, повышения давления в камере регулирующей ступени, и
увеличения ее пропускной способности, что способствует повышению экономичности.
Все направляющие и рабочие лопатки выполнены с
цельнофрезерованными бандажами (см. рис.), а в рабочих лопатках в бандаж
установлены демпфирующие вставки. На периферии рабочих лопаток и в корневой
зоне направляющих лопаток применено гарантированно-бесконтактное с чередующими
гребнями ротора и статора развитое уплотнение, с большим числом усиков. На
бандаже выполнены точеные усики, на роторе - завальцованные. Такая конструкция
радиальных уплотнений обеспечивает минимальные протечки и позволяет
поддерживать их в условиях длительной эксплуатации практически неизменными.
В статорной части применены надбандажные
«сотовые» уплотнения.
Рис. Реактивное облопачивание ЦВД
По сравнению со старой конструкцией ЦВД
ожидается прирост эффективности проточной части на 4-6%.
Цилиндр Среднего Давления.
Применен цельнокованый двухпоточный ротор СД.
Все диафрагмы имеют сварную конструкцию с минимальными перекрышами на корневом
и периферийном обводах проточной части.
Обоймы втулочного типа предназначены для
применения в цилиндрах ВД и СД турбин средней и большой мощности. Обладающие
большей жесткостью со специально спрофилированными камерами отсоса пара новые
обоймы не подвержены короблению и обеспечивают плотность системы концевых
уплотнений турбины.
Традиционной конструкцией облопачивания турбин
является пакетирование рабочих лопаток с клепаным бандажом. В необходимых
случаях с целью вибрационной отстройки в рабочих лопатках устанавливаются
проволочные связи, как правило, демпферные с круговым замыканием. Длительный
опыт эксплуатации облопачивания такой конструкции в турбинах мощностью до 800
МВт свидетельствует о высокой ее эксплуатационной надежности при обеспечении
соответствующего уровня экономичности.
Лопатки с цельнофрезерованными бандажами
применялись до недавнего времени только на регулирующих ступенях ЦВД.
Кроме того, опыт эксплуатации показал, что
применение лопаток с цельнофрезерованным бандажом обеспечивает более высокую
надежность турбин при эксплуатации их в экстремальных условиях.
Для обеспечения динамической и статической
прочности лопаточного аппарата, особенно при проходных оборотах и переменных
режимах, выполнены вибрационные испытания на экспериментальных турбинах и
натурные испытания на электростанциях. Небольшой уровень динамических
напряжений свидетельствует о высокой вибрационной надежности, но основное
подтверждение надежности, как и экономичности проточной части, заключается в
многолетнем опыте эксплуатации использованного в турбине облопачивания.
В турбине К-660-247 все рабочие лопатки ЦСД
имеют цельнофрезерованные бандажи. Демпферные связи исключены из потока пара,
применены специальные развитые надбандажные уплотнения, что, таким образом,
повышает экономичность турбины.
Рабочие лопатки первых двух и последней ступени
имеют «ёлочные» хвосты с торцевой заводкой, обеспечивающие надежную работу при
минимальных габаритах. Остальные ступени имеют Т-образные хвостовики.
Все ступени спроектированы с использованием
разработок новых более эффективных профилей направляющих и рабочих лопаток,
геометрия которых согласована с газодинамическими расчетами потока на основе
многорежимной оптимизации, в т.ч. и при больших D/L.
Цилиндр Низкого Давления
Новая конструкция ротора НД предусматривает
наличие специальных глухих отверстий в средней части ротора для размещения
подбалансировочных грузов. Такая конструкция получила распространение на все
выпускаемые ротора НД. Указанное техническое решение позволяет существенно
сократить время балансировочных работ в связи с отсутствием необходимости
вскрытия цилиндра. Доступ для закрепления грузов обеспечивают специальные люки
на цилиндре.
Выхлопная часть ЦНД состоит из двух
паровыпускных трактов с осерадиальными диффузорами в сборной камере, имеющей
развитую систему внутренних ребер.
Проточная часть ЦНД основывается на отработанной
в турбинах 300-500-800 МВт проточной части со стальной лопаткой последней
ступени 1200 мм.
Конструкция проточной части НД также основана на
аэродинамических и вибрационных исследованиях:
улучшение плавности верхних обводов проточной
части низкого давления;
применение рабочих лопаток с
цельнофрезерованными бандажами, в том числе и в последних ступенях;
вынесение во всех ступенях, кроме последних,
демпферных проволок из проточной части в тело бандажей;
применение улучшенных профилей для направляющих
лопаток сварных диафрагм и внутриканального влагоудаления с поверхности лопаток
диафрагм последних ступеней.
ТЕХНОЛОГИЧЕСКАЯ ЧАСТЬ
В технологической части рассматривалась
технология изготовления диафрагмы 18-ой ступени, рассчитаны режимы резания на
токарно-карусельную и фрезерную операции.
Диафрагма
Диафрагмы разделяют внутреннюю полость корпуса
турбины на отдельные камеры - ступени, в которых располагается по одному диску
ротора с рабочими лопатками.
Пар из одной камеры в другую попадает только
через сопловые аппараты диафрагм. Сопловые аппараты диафрагм образованы
каналами между приваренными лопатками специального профиля. Форма и
расположение каналов таковы, что пар, проходя через них, расширяясь,
приобретает дополнительную кинетическую энергию и направляется на рабочие
лопатки соответствующего диска ротора.
Лопатки всех диафрагм изготовлены из коррозионностойкой
стали 18X11МНФВ.
Условия, в которых работают диафрагмы различных
ступеней давления турбины, не одинаковы. Это нашло отражение в конструктивном
исполнении диафрагм. Сопловые аппараты диафрагм набраны из цельных лопаток.
Диафрагмы имеют приваренные к ободу паровые щиты.
Диафрагмы состоят из двух частей. Нижняя часть
своими подвесками опирается на нижний корпус турбины и центрируется шпонкой,
установленной в пазу корпуса. Верхняя часть диафрагмы размещается в верхней
части корпуса турбины и закреплена в ней от выпадания шпонками. Центровка
верхней части диафрагмы осуществляется винтами.
В собранном состоянии взаимное положение частей
диафрагмы определяется шпонками. Кроме этого, шпонки уплотняют горизонтальный
стык частей диафрагмы. Основными частями диафрагмы являются полотно и обод,
соединенные между собой диафрагменными лопатками. Равномерность шага лопаток
выдерживается при помощи наружного и внутреннего бандажей.
К ободу приварен кольцевой паровой щит с
уплотнительными усиками. Паровой щит с усиками обеспечивает максимальную подачу
пара с соплового аппарата на рабочие лопатки ротора.
Во внутренней расточке полотна диафрагмы
выполнен Т-образный кольцевой паз, в него заводится кольцо уплотнительное,
которое состоит из шести сегментов в каждой половине уплотнительного кольца.
Для подъема частей диафрагмы при сборке и
демонтаже служат резьбовые отверстия под рым-болты и глухие отверстия на
полотне половин диафрагм под специальное приспособление, поставляемое с
турбиной.
Определение типа производства
Тип производства во многом определяет разработку
техпроцесса.
Но т.к. диафрагмы для других турбин,
изготовляемых на предприятии, имеют похожую конфигурацию и приблизительно
одинаковые типоразмеры, то для разработки технологической части дипломного
проекта принимаем мелкосерийное производство.
Анализ технологического процесса на
технологичность
Технологичность конструкции - это степень
соответствия оптимальным производственно-технологическим условиям изготовления
при заданном масштабе выпуска.
Технологичность конструкции всегда следует
рассматривать как комплексное понятие, учитывающее требования всех фаз и стадий
технологического процесса.
В диафрагме расположен сопловой аппарат, который
имеет сложную технологическую конфигурацию, и которую выполнить за одно
механической или электроэрозионной обработкой трудно. В связи с этим, для
улучшения технологичности принята сварная заготовка диафрагмы.
Предварительно, полотно и обод диафрагмы
механически обрабатываются из поковки, а лопатки соплового аппарата полностью
обработаны и собраны с бандажами сваркой. Сварка производится
электронно-лучевая. При этом виде сварки нагрев материала практически
отсутствует, что приводит к отсутствию деформации при сваривании детали.
Наличие горизонтального разъёма диафрагмы приводит
к сложности изготовления детали.
Первой базой для механической обработки
соплового аппарата необходимо использовать элементы проточной части диафрагмы,
что усложняет механическую обработку и требует специальных приспособлений или
выверки на станке.
Так как диафрагма является телом вращения и в
достаточной мере технологичной и малосерийной, то выбираем технологический
процесс с максимальной концентрацией деталей.
Технологический процесс механической обработки
включает 24 операции. Из них основными являются фрезерная, токарно-карусельная
и расточная операции.
Приспособления, используемые для фрезерных,
токарных и расточных операций, являются универсальными. Станки, в основном, все
с ЧПУ: карусельный, продольно-фрезерный, горизонтально-расточной и базируются с
максимальной выверкой. Это всё говорит о возможности быстрой переналадки линии.
Расчёт припусков
Диафрагма - сварная конструкция, полученная
электронно-лучевой сваркой.
Она поступает на мехобработку сваренная согласно
чертежу, термообработанная с заполненной картой контроля до этапа мехобработки
с клеймами БТК, маркированная согласно чертежу.
При сборке диафрагмы весь крепёж ставится на
графитомеднистой смазке.
Перед установкой детали на станок и при снятии
со станка предохранить выступающую лопатку и предъявить БТК сохранность
лопатки.
Габаритные размеры: ø
1078-0,5 - наружный диаметр, мм
ø 482Н7(+0,06)
- внутренний диаметр, мм
70 - толщина, мм
Минимальный припуск при последовательной
обработке противолежащих поверхностей:
2*Zmin=2*[(Rz+h)i-1+ΔΣi-1+Εi]
Минимальный припуск при обработке наружных
поверхностей вращения:
2*Zi min=2*[(Rz+h)i-1+(Δ2Σi-1+Ε2i)1/2]
где Rz i-1 - высота микронеровностей на
предыдущем переходе. - глубина дефектного слоя на предыдущем переходе.
ΔΣi-1 - суммарное
значение пространственных отклонений до элементарной поверхности.
Εi - погрешность
установки заготовки на выполняемом переходе.
ΔΣ=(Δ21+Δ22)1/2,
где Δ1 и
Δ2
- пространственные
отклонения.
Для ø 482(+0,06):
Отклонение плоскостей торцевой поверхности: Δ1=40
мкм
Отклонение постоянства размера в поперечном
сечении: Δ2=30 мкм
Δнар=(Δ21+Δ22)1/2=(402+302)1/2=50
мкм
Погрешность установки -
Е: Е=(Е2б+Е2з)1/2
Где Еб - погрешность базирования.
Ез - погрешность закрепления.
Значения Е для данных условий базирования и
закрепления вписаны в таблицу 1.
Максимальный припуск на обработку:
Zi max=Zi min + Tdi-1 - Tdi ;
*Zi max=2*Zi min + TDi-1 - TDi ,
где и - допуск по размеру на предшествующем
переходе.
и - допуск по размеру на выполняемом переходе.
Наименьший предельный размер:
dmin i-1=dmin i + Zmin ii-1=Dmin i +
2*Zmin i
Наибольший предельный размер:
i-1=dmin i-1 + Tdi-1
Dmax i-1=Dmin i-1 + TDi-1
Результаты расчёта сведены в таблицу 1:
Таблица заполняется с использованием [2].
Таблица 1
|
Поверхность
для расчёта припуска - 482А(+0,06)
|
|
Технологический
маршрут обработки
|
Элементы
припуска, мкм
|
Расчётный
припуск, 2*Zmin, мкм
|
Расчётный
мин. Размер, dmin, мм
|
Допуск
на изготовление, Td, мкм
|
Принятые
размеры по переходам, мм
|
Полученные
предельные принятые размеры, мкм
|
|
Rz
|
h
|
Δ
|
Ε
|
|
|
|
dmax
|
dmin
|
2Zmax
|
2Zmin
|
|
Сварная
|
150
|
150
|
2000
|
-
|
-
|
482
|
2000
|
500
|
500
|
700
|
0
|
|
Черновое
точение
|
100
|
100
|
-
|
-
|
4600
|
482,03
|
1300
|
500,3
|
500
|
5580
|
4600
|
|
Чистовое
точение
|
25
|
25
|
-
|
-
|
400
|
482,06
|
60
|
482,72
|
482,4
|
660
|
400
|
Проверка:
- Tdg=2*Z0 max - 2*Z0
min=2000-60=6940-5000=
1940=1940
2*Z0 max=Σ2*Zmax= 6940
мкм
2*Z0 min=Σ2*Zmin= 5000 мкм
Выбор заготовки
Предварительно, полотно и обод диафрагмы
механически обрабатываются из поковки, а лопатки соплового аппарата полностью
обработаны и собраны с бандажами сваркой. Сварка производится
электронно-лучевая. При этом виде сварки нагрев материала практически
отсутствует, что приводит к отсутствию деформации при сваривании детали.
Наладка - Продольно-фрезерная. Операция 426300.
Установить 2 половины на столе станка разъёмом к
шпинделю на подкладки, выставить по подрезной риске и плоскости разъёма,
закрепить.
Расчёт режимов резания
Фрезеровать выступающие части бандажей над
торцем обода и полотна до плоскости разъёма.
Диаметр фрезы:
Dфр=(1,25÷1,5)*B,
где В - ширина фрезерования, В=100
мм.фр=1,25*100=125 мм
Минутная подача:
м=S*n=Sz*z*n, мм/мин
Где n - частота вращения фрезы, об/мин;- число
зубьев фрезы; =12
Sz - подача на 1 зуб;
S - подача на 1 оборот,
мм/об;=S/z=0,15/12=0,0125 мм.
Скорость резания:
, мм
Где V - окружная скорость фрезы;
Cv=64,7, y=0,2=0,25, u=0,15
x=0,1, m=0,2, p=0,
Из табл.40 (2 стр.290) T=180 мин. - период
стойкости.
kv=kμv*kпv*kuv
Где kμv - коэффициент,
учитывающий качество обрабатываемого материала.
kпv - коэффициент, учитывающий состояние
поверхности заготовки.
kuv - коэффициент, учитывающий материал
инструмента.
Из табл.3 (2 стр.262): kμv=1,0
Из табл.6 (2 стр.263): kпv=1,0
Из табл.5 (2 стр.263): kuv=1,0=1,0*1,0*1,0=1,0
м/мин
Частота вращения:
об/мин
Принимаем: n=200 об/мин
Минутная подача: Sм=S*n=0,15*200=30 мм/мин
Сила резания:
- окружная сила
из табл.9 (2 стр.264):
из табл.41 (2 стр.291): Cp=825, y=0,75, q=1,3,
x=1, u=1,1, w=0,2
Н
Составляющая, по которой рассчитываем оправку на
изгиб:
Pyz=(P2y+P2z)1/2, Н
Где Py - радиальная сила подачи, Н
Из табл.42 (2 стр.292): Py/Pz=0,35, Py
=Pz*0,35=534,88 Н
Pyz=(534,882+1528,232)1/2=1619,13 Н
Крутящий момент на шпинделе:
Н*м
Мощность резания (эффективная):
кВт
Фрезеровать плоскость разъёма, не касаясь торцев
выступающей лопатки.
Т.к. размеры близкие и обработка схожая, то
задаёмся таким же режимом резания. Результаты расчёта приведены в таблице на
чертеже наладки.
Нормирование операции
Штучное время обработки детали:
Тшт=tо+tв+tабс+tп,
операция 426300. Продольно-фрезерная. Станок
6Н610Ф1.
Основное время на выполнение операции:
где L - длина обрабатываемой поверхности.- Длина
врезания и перебега инструмента.- Число рабочих ходов.- Подача на 1 оборот,
мм/об.- Частота вращения заготовки или инструмента, об/мин.
L+l=2507,18 мм=1,
=0,15 мм/об,
n=200 об/мин. (см. режимы резания)
мин
Машинно-вспомогательное время tмв (мин),
затрачиваемое:
на одновременное перемещение рабочих органов
станка по осям Z и X:
ускоренное (на длине 2507,18 мм) - 1,866 мин
установочное - 3,75 мин
установочное (холостое) в зоне резания - 2,15
мин
ускоренное поперечное (на длине) - 7,8 мин
на поворот револьверной головки на 1 позицию -
1,9 мин
установка детали - 6 мин.
tабс п на обслуживание рабочего места, личные
потребности в % от оперативного времени - 15%:
tмв= 1,866+3,75+2,15+7,8+1,9+6=23,466 мин.абс
п=tо*0,15=12,53 миншт=83,57+23,466+12,53=119,56 мин = 2 ч.
Наладка - Токарно-карусельная. Операция 411300.
Установить диафрагму стороной паровпуска вверх,
выверить по подрезной и окружной рискам и линии разъёма с точностью до 0,2 мм,
под полотно установить домкраты, проверить установку диафрагмы по наружному
диаметру внутреннего бандажа согласно чертежу, установить индикатор в
резцедержатель, закрепить, настроить с натягом в точках у разъёма, закрепить
деталь не пережимая, допустимая деформация не более 0,05 мм.
Расчёт режимов резания
Подрезать торец диафрагмы.
Глубина резания: t=1,5 мм
Подача мм/об: S=1,5 мм/об
Скорость резания:
Из табл.17 (2 стр.269): Cv =340, x=0,15, y=0,45,
m=0,2 T=50 мин, kv=1
м/мин
Сила резания:
Из табл.22 (2 стр.273)
|
Pz
|
Py
|
Px
|
|
Cp
|
300
|
243
|
339
|
|
X
|
1
|
0,9
|
1
|
|
Y
|
0,75
|
0,6
|
0,5
|
|
n
|
-0,15
|
-0,4
|
|
kp
|
1
|
1
|
1
|
Н
Н
Н
Частота вращения:
об/мин
Принимаем n=50 об/мин.
м/мин
Н
Н
Н
Мощность резания:
кВт
Точить наружный диаметр ø
1078-0,5
Т.к. размеры близкие и обработка схожая, то задаёмся
таким же режимом резания. Результаты расчёта приведены в таблице на чертеже
наладки.
Точить диаметр ø 1042-0,5
Т.к. размеры близкие и обработка схожая, то
задаёмся таким же режимом резания. Результаты расчёта приведены в таблице на
чертеже наладки.
Подрезать торец 60
Т.к. размеры близкие и обработка схожая, то
задаёмся таким же режимом резания. Результаты расчёта приведены в таблице на
чертеже наладки.
Подрезать торец 13-0,12-0,17
Т.к. размеры близкие и обработка схожая, то
задаёмся таким же режимом резания. Результаты расчёта приведены в таблице на
чертеже наладки.
Переустановить прихваты и точить ø290А+0,052
Т.к. размеры близкие и обработка схожая, то
задаёмся таким же режимом резания. Результаты расчёта приведены в таблице на
чертеже наладки.
Фасонное точение R3
Глубина резания: t=1 мм
Подача мм/об: S=0,03 мм/об
Скорость резания:
Из табл.17 (2 стр.269): Cv =22,7, y=0,50, m=0,3
T=55 мин, kv=1
м/мин
Сила резания:
Из табл.22 (2 стр.273)
|
Pz
|
Py
|
Px
|
|
Cp
|
212
|
-
|
-
|
|
X
|
1
|
-
|
-
|
|
Y
|
0,75
|
-
|
-
|
|
n
|
0
|
-
|
-
|
|
kp
|
1
|
-
|
-
|
Н
Частота вращения:
об/мин
Принимаем n=18 об/мин
м/мин
Мощность резания:
кВт
Нормирование операции
Штучное время обработки детали:
Тшт=tо+tв+tабс+tп,
операция 4113000. Токарно-карусельная. Станок
1516Ф1.=806+44+60+13+17+290=1230 мм=1, So=0,4 мм/об, n=51
об/мин.о=1230*1/50*0,4=61,5 мин
фасонное точение: i=1, So=0,015 мм/об, n=18
об/мин, L=3 ммо=3*1/18*0,015=69,8 минмв= 5,88+10,4+6,1+2,3=24,68 мин.абс п
=tо*0,15=(60,4+69,8)*0,15=19,5 мин.шт=130,2+24,68+19,5=174,4 мин.= 2ч. 54 мин.
Описание карусельного станка 1516Ф1
Его параметры и характеристики: станок
одностоечный, с одним вертикальным суппортом с 5-ти позиционной револьверной
головкой и боковым суппортом с 4-х резцовым поворотным резцедержателем. Этот станок
с устройством цифровой индикации (исполнение Ф1). Позволяет выполнить
обтачивание и растачивание цилиндрических, конических и фасонных поверхностей
тел вращения; обтачивание торцовых поверхностей; подрезание уступов; прорезание
кольцевых канавок и отрезание; сверление и рассверливание, зенкерование и
развёртывание отверстий.
Наибольшие параметры обрабатываемой заготовки:
диаметр - 1600 мм
высота - 1000 мм
масса - 6300 кг
Наибольшее перемещение вертикального суппорта:
горизонтальное - 950 мм
вертикальное - 700 мм
Диаметр планшайбы - 1400 мм
Частота вращения планшайбы - 40 - 200 об/мин
Подача суппорта вертикальная и горизонтальная -
0,1 - 1000 мм/мин
Мощность главного электродвигателя привода - 30
кВт
Габаритные размеры:
длина - 3170 мм
ширина - 3025 мм
высота - 4100 мм
Масса: 19200 кг.
Описание продольно-фрезерного станка 6Н610Ф1
Размер рабочей поверхности стола - 200х500
Наибольшие перемещения:
вертикального стола:
продольное - 320
вертикальное - 320
шпиндельной бабки - 200
гильзы вертикальной головки - 60
Частота вращения шпинделей, об/мин:
горизонтального - 40-2240
вертикального - 40-2240
Продольная, поперечная и вертикальная подачи с
бесступенчатым регулированием, мм/мин - 10-600
Частота вращения быстроходной головки, об/мин -
104-5000
Мощность электродвигателя привода главного
движения, кВт - 1,5
Габаритные размеры:
длина - 3700
ширина - 1975
высота - 1695
Масса, кг - 1452
Описание приспособления
Приспособление для шабровки горизонтальной
плоскости диафрагмы состоит из горизонтальной плиты поз.2, к которой крепятся
угольники поз.4 (2 шт.) и поз.5 (2 шт.). С помощью угольников поз.4 и поз.5,
шнопорта поз.7 и болта поз.1 (2 шт.) диафрагма фиксируется и предотвращается от
сдвигов. Шнопорт имеет рукоятку поз.8, с помощью которой он закручивается. Два
угольника друг относительно друга фиксируются штырями поз.6 (2 шт.)
Положение горизонтальной плиты на столе станка
фиксируется с помощью 4 болтов поз.3.
Таким образом, затяжка болтов поз.1,6 и штопорта
поз.7 фиксирует диафрагму и предотвращает её от перекосов.
Приспособление для закатки усиков в диафрагме
состоит из оправки с роликами, к державке поз.1 крепятся с помощью шайбы поз 2.
и гайки поз.3 ролик закатной правы или левый поз.5 между ними ставиться упорная
шайба поз.4, ролик крепится с помощью втулки поз.7, кручивается винт поз.9,
прижимная шайба поз.8 держит иглы поз.10 для предотвращения трения и лучшего
вращения оправки и затки усиков.
Приспособления сделаны из конструкционной стали.
Расчёт прижимных усилий
Сдвигу детали под действием силы резания R
препятствуют силы трения, возникающие в местах контактов детали с зажимными
механизмами.
Сила зажима определяется по формуле (2 стр.85):
,
где
к=к0*к1*к2*к3*к4*к5*к6=1,5*1*1*1,2*1,3*1*1=2,34
к - коэффициент запаса.
к - коэффициент гарантированного запаса.
к - коэффициент, учитывающий увеличение сил
резания из-за случайных неровностей.
к - коэффициент, характеризующий увеличение сил
резания из-за затупления инструмента.
к - коэффициент, характеризующий увеличение сил
резания при прерывистом резании.
к - коэффициент, характеризующий увеличение сил
резания из-за постоянства силы закрепления в зажимном механизме.
к - коэффициент, характеризующий эргономику
ручных зажимных механизмов.
к - коэффициент, который учитывают при наличии
моментов, стремящих повернуть деталь.- сила резания. R=2967 Н, f2 -
коэффициент трения: f1=f2=0,2
Н
Расчёт винтового элементарного зажима:

мм
где d - диаметр винта, мм
σp - напряжение
растяжения (сжатия) винта, МПа
ИССЛЕДОВАТЕЛЬСКАЯ ЧАСТЬ
Производство водорода методом газификации угля
Быстрое развитие производственных сил, связана с
большим расходом топлива и углеводородного сырья, неравномерность и сложность
добычи горючих ископаемых сопровождается ростом цен и увеличение транспортных
расходов и материальных затрат.
В химической индустрии наиболее неотложной
задачей является перевод угольной базы производства связанного азота,
синтетического метанола. Этот перевод сулит уменьшать крупнотонажность
химических предприятий от сезонных колебаний в снабжении природным газом,
освободить от применения значительных количеств жароупорных легированных
сталей.
Переход на твердое топливо несёт и ряд
негативных явлений для промышленного производства. Анализ, подготовка
производства и преодоление трудностей является задачей науки.
Работа с твердым топливом в
аппаратурно-техническом плане сложнее, чем с жидкими и газообразными
углеводородами. Добыча и транспортировка твердого топлива, его сушке,
измельчение, подача в газогенератор, удаление золы, очистка технологического
газа все это требует помощи механических и технологических приспособлений.
Кроме того, все технологические операции требуют энергетических затрат.
Таким образом, переход на новую сырьевую базу
связан: с ростом удельных капитальных затрат, уменьшение КПД процесса,
увеличение расхода рабочей силы на тонну конечного продукта. Но с какими бы
затратами не был связан этот переход, его нельзя рассматривать как
альтернатива, это неизбежная необходимость. И чем раньше будет развита
подготовка к этому переходу, тем он пройдет более безболезненно. Наиболее
важным звеном при решении задачи - это проблема газификации твердого топлива-
получение генераторного газа [1].
Газификация угля - производство горючего
(технологического) газа при неполном окислении органической массы угля, имеет
давнюю историю с периодами бурного развития и спадами. Впервые горючий газ из
угля получил англичанин Мэрдок в 1792 г. как попутный продукт при производстве
"светильного масла". К 50-м годам XIX в. практически во всех крупных
и средних городах Европы и Северной Америки действовали газовые заводы для
производства отопительного, бытового и светильного газа [2]. Это был
"золотой век" газификации угля. Начиная с 60-х годов XIX в., все
более серьезную конкуренцию углю начинает оказывать нефть. В начале 1960-х
годов разработка месторождений дешевой нефти на Ближнем Востоке и в Западной
Сибири привела практически к полной ликвидации этой отрасли промышленности.
Сохранились лишь небольшие островки в уникальных регионах. Например, в ЮАР
углепереработка (главным образом на основе газификации угля) стала крупной
промышленным сектором из-за эмбарго на поставку нефти. Началось триумфальное
шествие нефти. Однако уже в 1972 г. оно омрачилось первым "энергетическим
кризисом", который по существу был спровоцирован на политической основе
странами-участниками ОПЕК. Мировые цены на нефть подскочили с 5-7 до 24 долл.
США за баррель (1 т сырой нефти сорта Brent ≈ 8,06 баррелей), и стало
ясно, что углепереработку списывать в архив рано, так как в большинстве
развитых стран много угля и мало или совсем нет нефти. Интересно заметить, что
если бы не этот первый "энергетический кризис", то крах социалистической
системы мог наступить еще в 1970-е гг. Активный приток
"нефтедолларов" продлил агонию СССР. Этот кризис преподнес
цивилизованному миру очень важный урок. Во-первых, все осознали, что запасы
углеводородного сырья распределены крайне неравномерно и неудобно, и,
во-вторых, эти запасы - исчерпаемы. Запасы же угля и других твердых горючих
ископаемых - нефтяных сланцев, битумных песков, торфа и т.п. распределены более
равномерно, и сроки их исчерпания оценивается многими сотнями лет. Но самый главный
результат этот кризиса заключается в активизации работ по энергосбережению.
В середине 1980-х годов интерес к
углепереработке пошел на убыль. причин несколько. Во-первых, политикой
"кнута и пряника" США установили контроль над странами -
производителями нефти. Наиболее амбициозных (Ирак, Иран) наказали в назидание
другим. В результате рост цен на нефть замедлился. В течение 1980-х годов цены
на нефть снизились с 40 долл. США за баррель (что соответствует примерно 65
долл. США за баррель в современных ценах с поправкой на инфляцию) до
минимального уровня 9,13 долл. США за баррель в декабре 1998 г. и в настоящее
время колеблются в "коридоре" 17-27 долл. США за баррель.
Во-вторых, эффективно сработали государственные
программы энергосбережения, что в конечном итоге привело к снижению темпа роста
потребления нефти и природного газа. С середины 1970-х годов энергоемкость
единицы ВВП в развитых странах снизилась на 22 %, а нефтеемкость на 38 % [3].
В-третьих, динамичное развитие нефтегазовой
отрасли и масштабные работы по разведке новых месторождений нефти и газа
показали, что запасы углеводородного сырья на самом деле значительно больше,
чем предполагалось. Последние 20 лет ежегодный прирост разведанных запасов
нефти и газа опережает их потребление, и прогнозные сроки исчерпания регулярно
отодвигаются. По достаточно авторитетным данным глобальную замену нефти углем
следует ожидать после середины XXI в., а замену природного газа углем - к концу
века. Если, конечно, не произойдет прорыва в развитии технологии ядерного
синтеза.
В-четвертых, ни одна из разрабатываемых
технологий не позволила повысить рентабельность процесса получения жидкого
топлива из угля в такой степени, чтобы "синтетическая нефть" могла
конкурировать с природной нефтью.
В итоге “эпоха угля” не наступила и интерес к
переработке угля уменьшился. Большинство программ было свернуто, а оставшиеся -
радикально урезаны.
Более десятка проектов были завершены на стадии
5-летней готовности, т.е. при изменении конъюнктуры рынка углеводородного сырья
можно в течение 5 лет на основе демонстрационных установок производительностью
10-60 т/ч по углю развернуть промышленное производство. Если от коммерческого
использования технологий прямого и непрямого ожижения угля в конце 1980-х гг.
пока отказались, то интерес к газификации угля хотя и уменьшился, но не
прекратился.
Например, в ряде регионов, где природного газа
нет или мало (Северная Америка, Китай и др.), использование газа из угля для
синтеза метанола и аммиака экономически оправдано и построен ряд промышленных
предприятий. На рис.1 приведены данные по мировому производству газа из твердых
топлив с 1970 г., а в табл. 1.2 - структура его потребления.
Рис. 1. Суммарная мощность
газогенераторных установок
Динамика потребления газа из угля в
мире
Таблица 1.2
|
Целевое
использование
|
Использование
в 2001 г., МВт по газу
|
Доля
в 2001 г., %
|
Вводится
в эксплуатацию до конца 2004 г., МВт по газу
|
Годовой
прирост мощности в 2002-2004 гг., %
|
|
Химическое
производство
|
18
000
|
45
|
5
000
|
9,3
|
|
Внутрицикловая
газификация (производство электроэнергии)
|
12
000
|
30
|
11
200
|
31
|
|
Синтез
по Фишеру-Тропшу
|
10
000
|
25
|
0
|
0
|
|
ВСЕГО
|
40
000
|
100
|
17
200
|
14,3
|
Приведенные данные наглядно демонстрируют
ускорение динамики вовлечения газификации угля в мировую промышленность.
Повышенный интерес к внутрицикловой газификации угля в развитых странах
объясняется двумя причинами. Во-первых, ТЭС с внутрицикловой газификацией
экологически менее опасна. Благодаря предварительной очистке газа сокращаются
выбросы оксидов серы, азота и твердых частиц. Во-вторых, использование
бинарного цикла позволяет существенно увеличить КПД электростанции и,
следовательно, сократить удельный расход топлива.
В табл.1.2 приведены характерные величины
удельных выбросов и КПД для ТЭС с внутрицикловой газификацией и для ТЭС с
традиционным сжиганием угля. Величины удельных выбросов и КПД для ТЭС с
внутрицикловой газификацией и с традиционным сжиганием угля
Необходимо отметить, что удельные капитальные
затраты при использовании внутрицикловой газификации составляют примерно 1500
долл. США за 1кВт с перспективой снижения до 1000-1200 долл. США, в то время
как для традиционной угольной ТЭС удельные капитальные затраты составляют
примерно 800-900 долл. США за 1 кВт.
Таблица 1.2
|
Параметры
|
Традиционная
угольная ТЭС
|
ТЭС
с внутрицикловой газификацией
|
|
Концентрация
вредных веществ в дымовых газах (для угольной ТЭС - согласно Евростандарту),
мг/м3 -SOx -NOx - Твердые частицы
|
130
150 16
|
10
30 10
|
|
Электрический
КПД, %
|
33-35
|
42-46
|
Ясно, что ТЭС с внутрицикловой газификацией
твердого топлива более привлекательна при наличии экологических ограничений в
месте размещения и при использовании достаточно дорогого топлива, так как
расход топлива на 1 кВт сокращается. Эти условия характерны для развитых стран.
В настоящее время использование внутрицикловой газификации твердого топлива
считается самым перспективным направлением в энергетике.
Для современной химической промышленности и
энергетики требуются газогенераторы с единичной мощностью по углю 100 т/ч и
более. К началу 1970-х годов в промышленном масштабе было реализовано три типа
газогенераторов [4].лоевые газогенераторы. В разное время действовало более 800
газогенераторов, в том числе более 30 газогенераторов “Лурги” с единичной
мощностью по углю до 45 т/ч. После 1977 г. введено в эксплуатацию еще 130
газогенераторов “Лурги”.
Газогенераторы Винклера с кипящим слоем. Было
сооружено более 40 аппаратов с единичной мощностью до 35 т/ч по углю.
Пылеугольные газогенераторы Копперса-Тотцека. К
началу 1970-х годов эксплуатировалось более 50 аппаратов с единичной мощностью
до 28 т/час по углю.
Не случайно все самые мощные газогенераторы
имели немецкое происхождение. Причина в том, что в Германии нет собственной
нефти, но имеются большие запасы угля. В 1920-1940 гг. в Германии была
реализована беспрецедентная по масштабам программа углепереработки с
производством моторных топлив, металлургического топлива, газов различного
назначения и широкого спектра продуктов углехимии, включая пищевые продукты. Во
время второй мировой войны с использованием жидких продуктов пиролиза, прямого
и непрямого ожижения угля производилось до 5,5 млн. т в год моторного топлива.
Именно немецкие разработки того времени определили на многие десятилетия
стратегию развития технологий углепереработки, в том числе газификации топлива.
. Создание Фрицем Винклером (концерн BASF) в
1926 г. газогенератора с кипящим слоем. Эта технология послужила основой для
современных процессов HTW (Hoch-Temperatur Winkler) и KRW
(Kellogg-Rust-Westinghouse) и др.
. Разработка фирмой "Лурги" в 1932 г.
слоевого газогенератора, работающего под давлением 3 МПа. Использование
повышенного давления для интенсификации процесса газификации реализовано почти
во всех современных промышленных газогенераторах.
. Разработка Генрихом Копперсом и Фридрихом
Тотцеком в 1944-45 гг. пылеугольного газогенератора с жидким шлакоудалением.
Первый промышленный аппарат этого типа был построен в 1952 г. в Финляндии.
Пылеугольный принцип газификации с жидким шлакоудалением реализован в
промышленных аппаратах Destec, Shell, Prenflo, разработанных на основе
газогенератора Копперса-Тотцека, в аппарате Texaco и др. Удаление шлака в
жидком виде реализовано в слоевом газогенераторе BGL (British Gas- Lurgy),
разработанном на основе газогенератора Лурги.
. Разработка фирмой Texaco в 1950-е годы
газификаторов для переработки тяжелых нефтяных остатков. Всего построено более
160 таких установок. В 1970-е годы была разработана модификация аппарата Texaco
для газификации водо-угольной суспензии. Принцип подачи угля в аппарат в виде
водо-угольной суспензии использован и в газогенераторе Destec.
Были попытки использовать и ряд других
технических решений для создания новых газогенераторов: использование внешнего
теплоносителя, в том числе тепла ядерного реактора; газификация в расплавах
солей, железа, шлака; двух - трехступенчатая газификация; газификация в плазме;
каталитическая газификация и др.
В 1930-1950 гг. были разработаны теоретические
основы физико-химических процессов горения и газификации угля, выполнены фундаментальные
исследования, не потерявшие актуальности до настоящего времени. В данном
направлении неоспоримо лидерство советских ученых: А.С. Предводителева, Л.Н.
Хитрина, Я.Б. Зельдовича, Н.В. Лаврова, Д.А. Франк-Каменецкого, Б.В.
Канторовича и др.
Газификации могут быть подвергнуты любые виды
твердых топлив от бурых углей до антрацитов.
Активность твердых топлив и скорость газификации
в значительной степени зависит от минеральных составляющих, выступающих в роли
катализаторов. Относительное каталитическое влияние микроэлементов углей при
газификации может быть представлено рядом:
>Ba>>B, Pb, Be>>Y,
Co>Ga>Cr>Ni>V>Cu.
К основным параметрам, характеризующим отдельные
процессы газификации твердых топлив, могут быть отнесены:
тип газифицирующего агента;
температура и давление процесса;
способ образования минерального остатка и его
удаление;
способ подачи газифицирующего агента;
способ подвода тепла в реакционную зону.
Все эти параметры взаимосвязаны между собой и во
многом определяются конструктивными особенностями газогенераторов.
Обычно газифицирующими агентами служат воздух,
кислород и водяной пар. При паро-воздушном дутье отпадает необходимость в
установке воздухоразделения, что удешевляет процесс, но получается газ
низкокалорийный, поскольку сильно разбавлен азотом воздуха.
Температура газификации в зависимости от
выбранной технологии может колебаться в широких пределах 850-2000 0С. диапазон
давлений газификации от 0.1 до 10.0 МПа и выше. Газификация под давлением
предпочтительна в случаях получения газа, используемого затем его в синтезах,
которые проводятся при высоких давлениях (снижаются затраты на сжатие
синтез-газа).
В газогенераторах с жидким шлакоудалением
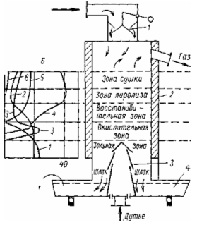
процесс проводят при температурах выше температуры плавления золы (обычно выше
1300-1400 0С). ”Сухозольные“ газогенераторы работают при более низких
температурах, и зола из него выводится в твердом виде [6].
По способу подачи газифицирующего агента и по
состоянию топлива при газификации различают слоевые процессы, при которых слой
кускового топлива продувается по противоточной схеме газифицирующими агентами,
а также объёмные процессы, в которых большей частью по прямоточной схеме
топливная пыль взаимодействует с соответствующем дутьем.
Процесс газификации угля первого поколения:
Лурьги, Винклера и Копперс-Тотцека, достаточно хорошо изучены и применяются в
промышленности в ряде стран для получения в основном синтез-газа и заменителя
природного газа.
Большинство крупных газогенераторов на твердом
топливе работают по прямому процессу с газификацией топлива в движущемся слое.
При этом движение топлива и дутья происходит навстречу друг другу. По этой
схеме подаваемое в газогенератор дутьё происходит через шлаковую зону, где оно
несколько подогревается, и далее поступает в зону горения топлива при недостатке
кислорода. Кислород дутья вступает реакции с углеродом образуя оксид и диоксид
углерода одновременно.
Основными недостатками процесса Лурьги является
сравнительно небольшая скорость разложения водяного пара дутья, необходимость
использования водяного пара как охлаждающего теплоносителя, предотвращающего
сплавления и спекания золы, а также содержания в газе высших углеводородов и
фенолов [9].
Повышение температуры реализовано в процессе БГЛ
с жидким шлакоудалением, разработанном фирмой “ British gas “ на основе
процесса Лурьги. Этим способом можно перерабатывать малореакционные и коксующие
угли широкого гранулометрического состава. Выделенные из газа смолы и пыль
возвращают в газогенератор, причем количество возврата может доходить до 15% на
уголь. Процесс проверен на установки мощностью по углю 350 т/сут. В Ухтфильде.
Процесс считается перспективным для применения в США, где ведутся работы по его
совершенствованию [10].
Процесс Винклера основан на использовании
псевдоожиженного слоя топлива. Принцип газификации мелкозернистого топлива в
кипящем слое заключается в том, что при определенной скорости дутья и крупности
топлива, лежащей на решетки слой топлива приходит в движение.
Процесс Винклера обеспечивает высокую
производительность, возможность переработки различных углей и управлением
составом конечных продуктов. Однако в этом процессе велики потери
непрореагированного угля до 20-30% (масс.), выносимого из реактора, что ведет к
потере теплоты и снижению энергетической эффективности процесса. Псевдоожиженный
слой отличается большой чувствительностью к изменению режима процесса, а низкое
давление лимитируется производительность газогенераторов [5].
По методу Винклера в разных странах работают 16
заводов (Испании, Японии, Германии, Кореи и другие). Газогенератор типа
Винклера имеет диаметр 5,5 м; высоту 23 м и максимальная единичная мощность
действующих газогенераторов этого типа в настоящее время составляет 33 тыс. м3
газа в час [6].
В США разработан процесс газификации угля в
аппарате с последующей агломерацией золы- так называемый процесс-V,
предназначенный для производства низкокалорийного газа, который может быть
использован в качестве сырья для получения водорода, аммиака или метанола, а
также как топлива. Газификацию проводят в присутствии кислорода и паров воды в
псевдоожиженном слое при давлении 5,7-7 МПа и температуре 980-1100 0С. Угольная
пыль отделяется в циклонах, причем из внешнего циклона пыль возвращается в
газогенератор. Газ не содержит жидких продуктов, что облегчает его очистку [6].
Вследствие высокой температуры процесса для
газификации могут быть использованы угли любого типа, включая спекающиеся, а
полученный газ беден метаном и не содержит конденсирующиеся углеводородов, что
облегчает его последующую очистку. К недостаткам процесса можно отнести низкое
давление, повышенный расход кислорода, необходимость тонкого размола топлива
[5].
Первый промышленный газогенератор этого типа
производительностью 4 тыс. м3 в час синтез газа, был создан в 1954 году. По
методу Коппер-Тотцека в мире работают 16 заводов (Япония, Греция и другие).
Газогенератор Коппер-Тотцека с двумя форсунками имеет диаметр 3-3,5 м; длину
7,5 м и объём 28 м3 в час [6].
Известны неудачные попытки осуществить
прямоточную факельную газификацию в условиях сухого золоудаления. В настоящее
время газификацию угольной пыли проводят с жидким шлакоудалением. Для этой цели
получили распространение газогенераторы вертикального типа, близкие по
конструктивному оформлению к котельным агрегатам с пылеугольным сжиганием
(Бабкок-Вилькокс) и газогенераторы с горизонтальной камерой газификации
(Копперс-Тотцек).
Большие работы по созданию газогенераторов для
газификации пылевидных топлив под высоким давлением с жидким шлакоудолением
проводит американская фирма “Тексако”, которая является первопроходцем в
применении для газификации водо-угольных суспензий. В газогенератор подают
водную суспензию угля с концентрацией до 70% (мас.), что упрощает решение
многих технических вопросов и позволяет автоматизировать процесс [5]. В 1984
году японской фирмой “Убе Индастриз” пущен крупнейший в мире газогенератор
Тексако мощностью по углю 1500 тонн в сутки, вырабатывающий газ для синтеза
аммиака [7]. На заводе Aioi (Япония) в 1987 году была сооружена пилотная
установка производительностью 6 т. в сутки угля для газификации водо-угольных
су суспензии по процессу Тексако, как наиболее прогрессивному. По проектным
данным процесс осуществляется под давлением 1,96-2,94 МПа при температуре 1400
0С с получением смеси газов из оксида углерода, диоксида углерода и водорода,
до 1991 года проводились научно-исследовательские работы совместно с “Tokyo
Electric Power Co” и было переработано 533 тонны угля. Степень конверсии
углерода достигала 100%. В синтез-газе содержалось до 52,3% оксида углерода,
33,2% водорода, 12,7% диоксида углерода. На воздушном дутье при подогреве
суспензии до 150 0С степень конверсии достигала 72% [8].
Недостатком этого способа подачи угля является
значительный расход тепла на испарение воды в газогенераторе, но уголь не
требует предварительной сушки и исключается подача пара в газогенератор .
Процесс Тексако характеризуется также повышенным удельным расходом кислорода
400-450 м3 на 1000 м3 синтез-газа. Соотношение уголь: вода в суспензии
колеблется в разных пределах от 70:30 до 45:55. Водо-угольные суспензии используются
также для газификации под давлением 10 МПа в газогенераторе Би-2эс. Кроме того,
при эксплуатации оборудования газогенераторных станций, на которых используются
водо-угольные суспензии, выявлены трудности по предотвращению коррозии
циркуляционных насосов и инжекционных клапанов. Однако эти недостатки не
уменьшают значимости, так как процесс высокоэффективен [9].
Производство газа из твердых горючих ископаемых
может осуществляться на основе двух технологических приёмов: в газогенераторах
наземного типа и под землёй (подземная газификация угля).
Подземную газификацию углей как метод
физико-химического превращения угля в горючий газ непосредственно на месте
залегания угольных пластов впервые начали реализовывать в бывшем Советском
Союзе в 1933 году. В начале 60-х годов эксплуатировали пять опытно-промышленных
станций “Подземгаз”, в том числе в Украине на каменных углях - Лисичанскую в
Донбассе.
Основные стадии процесса подземной газификации
углей - бурение с поверхности земли на угольный пласт скважин, соединение этих
скважин каналами по угольному пласту, и наконец, нагнетание в одни скважины
воздушного или кислородного дутья и извлечение из других скважин
образовавшегося газа. Газообразование в канале происходит за счет химического
взаимодействия свободного и связанного кислорода с углеродом и термического
разложения угля.
Недостатки традиционной технологии подземной
газификации угля- низкая теплота сгорания получаемого газа, за счет
осуществления процесса на воздушном дутье, недостаточная стабильность и
управляемость процесса, недостаточная экологическая чистота предприятий
подземной газификации углей, прежде всего из-за неполного улавливания
соответствующих продуктов, большой объём буровых и подготовительных работ,
достигающей в себестоимости газа 30-35%; несмотря на это традиционная подземная
газификация является надежной базой для её дальнейшего совершенствования.
В США наиболее интенсивные работы по подземной
газификации угля были начаты в 1972 году. В течении 1972-1989 годах было
проведено более тридцати экспериментов в различных горно-геологических
условиях. Если первые полевые работы проводили на воздушном дутье с получением
низкокалорийного газа, то основное большинство последующих испытаний
осуществляли на парокислородном дутье с получением среднекалорийного газа.
Наилучшие результаты с США были достигнуты при направленном подводе дутья к
реакционной поверхности угольного пласта, что подтверждает результаты ранее
проведенных экспериментов у нас в стране.
В настоящее время наиболее детальное и квалифицированное
исследование возможностей подземной газификации угля в США осуществляет
компания “Энерджи Интернейшинал”. В докладе ее президента А.Г. Синглтона
проанализированы результаты подземной газификации угля в США и сформулированы
некоторые аспекты.
Основные выводы исследований подземной
газификации угля следующие:
) Эксплуатационные затраты на производство
генераторного газа при подземной газификации угля меньше, чем при надземной
газификации угля.
) Капитальные затраты, при близких по размерам
предприятий, гораздо меньше чем при подземной газификации угля.
Экологические показатели технологии подземной
газификации угля выходят на максимум при более низкой производительности
предприятия.
Синтез-газ при подземной газификации угля вполне
успешно конкурирует с аналогичным продуктом, получаемым при паровым риформинге
природного газа.
Широкомасштабное промышленное внедрение
подземной газификации угля в нашей стране возможно только при условии повышения
степени управляемости процесса, одновременном снижении удельных затрат и
увеличении использовании угольного пласта.
Основные резервы повышения эффективности
подземной газификации угля: совершенствование схемы газификации к конструкции
подземного газогенератора с целью активного и направленного взаимодействия окислителя
с реакционной поверхности огневого забоя, несмотря на выгазовывания угольного
пласта.
Снижение непроизводительных потерь тепла.
Большие перспективы открываются перед подземной
газификации угля при переходе на большие глубины 700 м и более.
Американские исследователи провели
технико-экономическое сравнение различных вариантов использования генераторного
газа, полученного при надземной газификации угля и подземной газификации угля.
Согласно этим данным, применение подземной газификации угля позволяет снизить
эксплуатационные затраты по сравнению с наземной газификацией угля при
производстве генераторного газа. Практически более 78% запасов каменных и почти
34% бурых углей Украины могут быть использованы для подземной газификации угля.
На основании обобщения литературных и с учетом
реальных условий воплощение на территории Украины нами выбрана схема
паровоздушная газификации угля в стационарном слое.
Физико-химические основы
Газификацией называют высокотемпературные
процессы взаимодействия органической массы твердых или жидких горючих
ископаемых или продуктов их термической переработки с воздухом, кислородом,
водяным паром, диоксидом углерода или их смесями, в результате которых
органическая часть топлива обращается в горючие газы.
Единственным твердым остатком при газификации
должна явиться негорючая часть угля - зола. В действительности не удается
полностью перевести органическую массу угля в газ, и в шлаке остается часть
горючей массы топлива.
Общие принципы работы аппаратов для газификации
- газогенераторов-можно рассмотреть на примере простейшего газогенератора,
изображенного на рис 2.
Рис. 2. Схема работы слоевого газогенератора:
А - устройство газогенератора 1 - затвор, 2 -
корпус газогенератора, 3 - колосниковая решетка; 4 - чаша для отвода золы;
Б - изменение состава газа по высоте
газогенератора (паровоздушное дутье, обогащенное кислородом)- 1 - кислород,
2 - водяной пар, 3 - диоксид углерода, 4 - монооксид углерода, 5 - водород,
6 - метан и пары смолы; В - распределение температур по высоте газогенератора
Газогенератор такого типа представляет собой
вертикальную шахту из листовой стали, футерованной огнеупорным кирпичом. В
верхней части его имеется загрузочный люк, снабженный затвором 1. В нижней
части газогенератора установлена колосниковая решетка 3, через которую в шахту
непрерывно подается газифицирующий агент. Сверху непрерывно поступает уголь.
При подаче в газогенератор воздуха в зоне, расположенной непосредственно у
колосниковой решетки (окислительная зона, или зона горения), происходит горение
твердого горючего ископаемого с образованием СО и СО2 по реакциям-
С + О2 = 2СО + 218,8 МДж/кмоль
углерода (2.1)
С + О2 = СО2 + 394,4 МДж/кмоль
углерода (2.2)
Образующийся диоксид углерода в
восстановительной зоне восстанавливается новыми порциями углерода в оксид
углерода:
СО2 + С = 2СО- 175,6 МДж/кмоль
углерода (2.3)
Если вместе с воздухом в генератор подают также
водяной пар, то в восстановительной зоне дополнительно протекают реакции:
С + Н2О = СО + Н2 - 132,57 МДж/кмоль
углерода (2.4)
С + 2Н2О = СО2 + 2Н2 - 89,5 МДж/кмоль
углерода (2.5)
В этом случае образующийся газ содержит два
горючих компонента: оксид углерода и водород.
В газовой фазе могут протекать и другие реакции.
Так, возможна реакция между оксидом углерода и водяным паром:
СО + Н2О=СО2 + Н2 + 43,1
МДж/кмоль (2.6)
При взаимодействии СО и Н2 может образоваться
метан:
СО + ЗН2 =СН4 + Н2О + 203,7 МДж/кмоль
(2.7)
который в условиях процесса подвергается
термическому распаду
СН4 -> С + 2Н2 -71,1
МДж/кмоль (2.8)
Сочетание всех этих реакций и определяет состав
образующегося газа, который изменяется по высоте газогенератора. После
окислительной и восстановительной зон, называемых вместе зоной газификации,
выходят горячие газы при температуре 800-900 °С. Они нагревают уголь, который
подвергается пиролизу в вышележащей зоне. Эту зону принято называть зоной
пиролиза, или зоной полукоксования. Выходящие из этой зоны газы подогревают
уголь в зоне сушки. Вместе эти две зоны образуют зону подготовки топлива. Таким
образом, при слоевой газификации сочетается термическая переработка топлива и
собственно газификация полукокса или кокса, полученного в зоне подготовки
топлива. Поэтому газ, отводимый из аппарата, содержит не только компоненты,
образовавшиеся в процессе газификации, но и продукты пиролиза исходного
твердого горючего ископаемого (газ пиролиза, пары смолы, водяной пар). При
охлаждении отводимого из газогенератора газа происходит конденсация смолы и
воды, которые далее необходимо очистить и подвергнуть переработке.
В этом процессе изменяется и состав твердой
фазы. В зону газификации, как отмечалось выше, поступает уже не уголь, а кокс,
а из окислительной зоны выводится раскаленный шлак, который охлаждается в чаше
4 с водой, выполняющей одновременно функции гидравлического затвора, а затем
выводится из аппарата.
Из изложенного выше следует, что газификация
представляет собой сложное сочетание гетерогенных и гомогенных процессов.
Возможно и последовательное, и параллельное протекание этих реакций. Механизм
этих процессов до сих пор еще до конца не выяснен. Так, если первой стадией
взаимодействия кислорода и углерода в зоне горения считают образование
поверхностного углерод-кислородного адсорбционного комплекса, то вопрос о том,
что является первичным продуктом взаимодействия водяного пара с раскаленным
коксом, является предметом дискуссий.
В газогенераторе протекает ряд экзотермических и
эндотермических реакций. Равновесия реакций (2.1) и (2.2) смещены в сторону
образования СО и СО2. Равновесие эндотермических реакций (2.3) - (2.5) при
повышении температуры смещены в сторону образования соответственно СО и Н2, но
выход указанных продуктов (равновесный) уменьшается при повышении давления.
Равновесие экзотермической реакции (2.6)
сдвинуто в сторону образования исходных продуктов при температурах выше 1000 °С
и не зависит от давления.
Образование метана по реакции (2.7) более вероятно
при повышении давления газификации.
Термодинамические расчеты позволяют определить
равновесные составы газов в зависимости от температуры и давления газификации.
Однако использовать результаты этих расчетов для предсказания реального состава
газов трудно из-за значительных различий в скоростях реакций и влияния на
процесс ряда технологических факторов.
Скорость реакций газификации лимитируется
скоростью химических превращений в газовой фазе и на поверхности твердой фазы,
а также скоростью диффузии. При температурах 700-800 °С процесс газификации
тормозится преимущественно химической реакцией, а при температурах выше 900 °С
- преимущественно диффузией. В реальных условиях суммарный процесс газификации
протекает в промежуточной области, и скорость его зависит от кинетических и
диффузионных факторов.
Процессы газификации интенсифицируют путем
повышения температуры, увеличения давления газификации (что позволяет
значительно увеличить парциальные давления реагирующих веществ), а также
увеличения скорости дутья, концентрации кислорода в дутье или развития
реакционной поверхности.
Для приближения процесса газификации к
кинетической области используют тонкоизмельченный уголь и ведут процесс при
высоких скоростях газовых потоков.
Для сопоставления составов и свойств этих газов
следует сделать следующие допущения: газовая смесь состоит только из горючих
компонентов (единственный возможный балласт - азот воздуха); газифицируется
чистый углерод; не учитываются потери тепла. Газы, отвечающие этим допущениям,
называют идеальными генераторными газами.
Получаемые на практике генераторные газы
отличаются по выходу и составу от идеальных. Во-первых, уголь нельзя считать
чистым углеродом, поэтому выход горючих компонентов в расчете на 1 кг
органической массы угля всегда значительно меньше. В первую очередь это
относится к молодым углям, отличающимся высоким содержанием кислорода, а тем
более к торфу.
Во-вторых, в генераторных газах всегда
содержится заметное количество СО2. Химическое равновесие в газогенераторах не
достигается, поэтому содержание СО2 всегда превышает равновесную концентрацию.
В-третьих, в зоне подготовки угля образуются
пары воды и летучие продукты термического разложения, которые попадают в состав
газа.
В любом газе содержится большее или меньшее
количество азота, что снижает реальную теплоту сгорания газа, так как при
сжигании газа часть тепла расходуется на нагревание балластного азота.
В реальных условиях газификации вследствие
неравномерного распределения зон и смешения потоков часть горючих газов сгорает
с образованием водяного пара и СО2. Кроме того, в реальных условиях газификации
неизбежны различные тепловые потери (в окружающую среду, с горячими газами, со
шлаком и уносимым топливом). Поэтому фактические значения термических
коэффициентов полезного действия значительно меньше величин, рассчитанных для
идеальных условий.
Процессы газификации можно классифицировать по
следующим признакам:
) по теплоте сгорания получаемых газов (в
МДж/м3): получение газов с низкой (4,18-6,70), средней (6,70-18,80) и высокой
(31-40) теплотой сгорания;
) по назначению газов: для энергетических
(непосредственного сжигания) и технологических (синтезы, производство водорода,
технического углерода) целей;
) по размеру частиц используемого топлива:
газификация крупнозернистых, мелкозернистых и пылевидных топлив;
) по типу дутья: воздушное, паровоздушное,
кислородное, парокислородное, паровое;
) по способу удаления минеральных примесей:
мокрое и сухое золоудаление, жидкое шлакоудаление;
) по давлению газификации: при атмосферном (0,1
- 0,13 МПа), среднем (до 2-3 МПа) и высоком давлении (выше 2-3 МПа);
) по характеру движения газифицируемого топлива:
в псевдостационарном опускающемся слое, в псевдоожиженном (кипящем) слое, в
движущемся потоке пылевидных частиц;
) по температуре газификации: низкотемпературная
(до 800 °С), среднетемпературная (800-1300 °С) и высокотемпературная (выше 1300
°С);
) по балансу тепла в процессе газификации:
автотермический (стабильная температура поддерживается за счет внутренних
источников тепла в системе) и аллотермические, т. е. нуждающиеся в подводе
тепла со стороны для поддержания процесса газификации. Внешний подвод тепла
можно осуществлять с помощью твердых, жидких и газообразных теплоносителей
[10].
Система газификации угля
В качестве перспективного для данной работы
принят двухступенчатый процесс газификации пылевидного угля, увлекаемого
потоком газа, разработанный Исследовательской корпорацией битуминозных углей
Bituminous Coal Research Jnc., BCR. В настоящее время в г. Хоумер-Сити, штат
Пенсильвания работает крупная опытная установка с производительностью реактора
около 110 т/сут (угля) на парокислородном дутье, предназначенная в основном для
отработки технологии производства синтетического метана. Фирма «Фостер Уиллер»
разрабатывает вариант реактора на паровоздушном дутье.
На рис. показана принципиальная схема процесса
ВСR со вспомогательными элементами. Рядовой шахтный уголь дробится,
высушивается и размалывается до размера частиц, 70 % которых проходит через
сито с ячейкой 127 мкм. Молотый уголь затем дозируется из цитадельного бункера
в поток транспортирующего газа, в качестве которого служит очищенный газ,
отбираемый после системы газоочистки, и вводится в верхнюю ступень реактора. В
этой ступени угольные частицы реагируют с синтез-газом, полученным в нижней
ступени реактора, а также паром с образованием метана, окиси углерода, водорода
и остаточного полукокса. На выходе из верхней ступени газ имеет температуру
около 1700 К. Частицы остаточного полукокса отделяются от газа в циклонных
сепараторах и возвращаются потоком перегретого пара в нижнюю ступень реактора.
В ней полукокс реагирует с подогретым воздухом и паром при температуре более
1800 К с образованием водородосодержащего синтеза-газа и расплавленного шлака.
Горячий поток синтез-газа попадает в верхнюю ступень реактора, где служит
средой для газификации угля, как описано выше. Расплавленный шлак собирается и
стекает через летку нижней ступени реактора в сборник шлака, куда впрыскивается
вода.
Реакции газификации угля в итоге эндотермичны, и
необходимое для этого тепло обеспечивается выжиганием в воздухе остаточного
полукокса. Подача воздуха регулируется по условию поддержания температуры в
верхней ступени реактора, тогда как температура в нижней ступени поддерживается
регулированием подачи пара. Рабочий диапазон температур в нижней ступени жестко
ограничен: при повышении верхнего предела возникает опасность повреждения
футеровки, при температурах за нижним пределом происходит застывание шлака и шлакование
реактора. Для данного процесса газификации тип угля не оказывает существенного
влияния, так как он приспособлен для использования самых различных углей. Лишь
повышение серосодержания влияет на показатели системы, так как требует
некоторого расширения системы очистки газа.
Расчетный к.п.д. газификации для газогенераторов
этого типа 83,3 %. К настоящему времени содержание твердой пыли, хлора, паров
щелочных металлов и микропримесей в произведенном газе опытным путем не
определено. Предполагается, что высокая рабочая температура в сочетании с
достаточным временем пребывания газа в реакторе исключает возможность
образования смол, нафты, фенолов, обеспечивая более чистый «сырой» газ, чем в
процессах газификации в стационарном слое. Азот угля превращается в аммиак.
Основные технические характеристики оборудования
установки газификации топлива и очистки дымовых газов.
|
Показатель
|
Для
оборудования ПГУ-1000, МВт
|
|
Производительность
системы газификации по топливу, т/ч
|
193,2
|
|
Давление
газа в реакторе, МПа
|
4
|
|
Количество
параллельных реакторных блоков, шт.
|
4
|
|
Живое
сечение реактора, м
|
4х10
|
|
Высота
реактора, м
|
26
|
|
Наибольший
диаметр корпуса реактора, м
|
7
|
|
Толщина
стенки силового корпуса реактора, м
|
0,15
|
|
Число
параллельных элементов газоохладителя, шт.
|
4х280
|
|
Длина
элемента, м
|
64
|
|
Давление
генерируемого пара в газоохладителе, МПа
|
28
|
|
Толщина
стенки трубного элемента газоохладителя, м
|
0,012
|
|
Объем
очищаемого газа при рабочих условиях, м3/с
|
14,8
- 14,0
|
|
Количество
параллельных линий очистки газа, шт.
|
4
|
|
Наибольший
диаметр скруббера сажеочистки, м
|
7,2
|
|
Диаметр
корпуса абсорбера, м
|
5,8
|
|
Наибольшая
высота аппарата системы очистки газа, м
|
64
|
|
Толщина
стенки силового корпуса аппаратов очистки, м
|
0,14
|
Методы производства водорода с помощью угля.
Разложение 1 моля жидкой воды при стандартной
температуре (298 К) при полностью обратимых процессах по реакции
Н2О = Н2 + 1/2О2
(2.1)
требует затраты работы, равной ∆G1ж =
237,4 кДж ∙ моль-1. В то же время максимальная работа, которая может быть
получена при полном окислении угля при стандартной температуре реакции
С + О2 = СО2
(2.2)
составляет ∆G2 = 394,6 кДж ∙ моль-1
СО2.
Таким образом, при полностью обратимых процессах
для получения 1 кмоля водорода (2 кг водорода) потребовалось бы
= 0,6 кмоля С =
7,22 кг С,
то есть 3,61 кг углерода на 1 кг водорода.
При разложении воды в виде пара (чаще всего на
практике встречается именно такой случай) с учетом того, что ∆Gо1n =
228,7 кДж ∙ моль-1 Н2О, теоретический расход углерода составит 0,58 моля
С или 3,48 кг С на 1 кг водорода и КПД в расчете на низшую теплоту сгорания
водорода (241,9 кДж ∙ моль-1 Н2) будет равен 1,06. Значение КПД, большее
единицы, связано с тем, что при обратимом протекании реакции
С + 2 Н2О ↔ 2 Н2 +
СО2 (2.3)
при стандартной температуре энтропия возрастает
на 78,59 энтропийной единицы (э, е), что означает возможность подвода из
окружающей среды 98,0 кДж ∙ моль-1 С. Эта теплота и прибавляется к
теплоте сгорания израсходованного угля. Однако на практике процессы разложения
воды углеродом не являются обратимыми, вследствие чего затраты углерода на
получение водорода возрастают. Прежде всего, следует отметить, что реакция
(2.3) является эндотермичной и для ее реального осуществления к системе
необходимо подводить теплоту. Эта теплота в конечном итоге может быть получена
за счет дополнительного ожидания некоторого количества угля. При этом можно
представить себе подвод этой теплоты через стенку реактора аллотермическим
способом или непосредственным добавлением кислорода в реакционный объем для
обеспечения автотермичности системы.
Термодинамические характеристики процессов проще
всего рассмотреть в аллотермическом варианте. Стандартный тепловой эффект
реакции (2.3) при условии, что вода участвует в реакции в виде пара, составляет
∆Н0298 = + 90170 кДж ∙ моль-1 С и в первом приближении от
температуры не зависит. Если эта теплота будет подводиться к системе за счет
сжигания углерода в кислороде по реакции
С + О2 = СО2,
то с учетом того, что для этой реакции ∆Н0298
= - 393,7 кДж ∙ моль-1 С, на 1 моль С, участвующий в реакции (2.3),
понадобится сжечь до СО2 дополнительно 0,23 моля С.
Следовательно, на получение 2 кмолей Н2 (4 кг
водорода) надо будет затратить 1,23 моля С, или 14,76 кг углерода (3,96 кг на С
на 1 кг Н2). Очевидно, что КПД этого процесса, рассчитанный по низшей теплоте
сгорания водорода, должен составлять 100 %. Но этим затраты углерода не исчерпываются.
В соответствии с реакцией (2.3) водород будет получен в смеси с СО2, причем
равновесные концентрации Н2 и СО2 будут являться функциями температуры.
Минимальная работа разделения этой газовой смеси составляет 739,3 кДж моль-1
Н2. Если считать, что эта работа будет получена преобразованием теплоты,
получаемой при сжигании углерода, с КПД 33%, то понадобится затратить 0,01
кмоль Н2, или 0,06 кг С на 1 кг Н2.
Рис. 2.2 Термодинамическое равновесие реакции
сдвига
В связи с высоким уровнем температур протекания
реакцией газификации аллотермический принцип на практике обеспечить сложно.
Поэтому обычно автотермичность процесса достигается одновременным воздействием
на углерод водяного пара и кислорода (так называемая парокислородная
конверсия). При этом в основном происходят следующие реакции:
С + О2 = СО2
; (2.4)
С + 2Н2О = СО2 +
2Н2; (2.5)
С + Н2О = СО +
Н2; (2.6)
С + СО2 =
2СО. (2.7)
Из этих 4 реакций только 3 являются
независимыми.
Основные термодинамические характеристики,
относящиеся к этим реакциям, приведены в табл. 2.1,
Таблица 2.1. Термодинамические характеристики
реакций парокислородной конверсии
|
Реакция
|
∆Н0298,
кДж ∙ кмоль-1
|
∆G0298,
кДж ∙ кмоль-1
|
∆s0298,
кДж ∙ кмоль-1 ∙ K-1
|
|
С
+ О2 = СО2
|
-
393 701
|
-
394 568
|
2,89
|
|
С
+ 2Н2О* = СО2 + 2Н2
|
+
90 170
|
+
62 860
|
91,59
|
|
С + Н2О* = СО + Н2
|
+
131 360
|
+
91 510
|
133,66
|
|
С
+ СО2 = 2СО
|
+
172 550
|
+
120 150
|
175,73
|
|
*
В этой таблице Н2О принято в газообразном состоянии при р=0,1 МПа, Т=298 К
|
В связи с получением водорода наибольший интерес
представляют процессы газификации, в которых промежуточным продуктом является
синтез-газ.
В соответствии их назначением процессы строятся
так, чтобы состав и параметры газа, получаемого в газификаторе, наилучшим
образом отвечали соответствующим требованиям.
Процессы газификации угля классифициру4ются по
различным признакам:
Во-первых, по состоянию угля, подаваемого в
газификатор. Здесь различаются газификаторы с неподвижным слоем угля,
газификаторы с кипящим слоем угля, пылеугольные газификаторы и, наконец, в
которые уголь подается в виде водоугольной суспензии или в виде пасты,
представляющей собой смесь угольной пыли с каким-либо минеральным маслом;
Во-вторых, по характеру подвода теплоты в
газификатор. Здесь наиболее распространены случаи автотермического ведения
процесса газификации, но существуют схемы и с аллотермическими процессами,
когда недостающая теплота либо вводится в газификатор с тем или иным
теплоносителем (газообразным или твердым), либо передается газификатору через
стенку;
В-третьих, по типу применяемого окислителя.
Здесь применяются воздух, кислород, водяной пар и двуокись углерода, и
различные их комбинации;
В-четвертых, различают газификаторы с твердым и
жидким шлакоудалением, что, естественно, зависит от уровня температуры в
газификаторе;
Наконец, в-пятых, существенно давление в газификаторе.
В связи с этим различают газификаторы атмосферного и повышенного давления.
К середине 50-х годов нашего столетия были
разработаны и достигли стадии промышленного применения три основных метода
газификации угля, рассматриваемого ниже.
Еще перед второй мировой войной в Германии был
разработан процесс Лурги, который по тому времени был весьма прогрессивным. И
сегодня с учетом различных усовершенствований этот процесс является наиболее
распространенным в производстве синтез-газа. Процесс Лурги представляет собой
процесс газификации угля в неподвижном слое с использованием паровоздушного или
парокислородного дутья с давлением около 3 МПа.
Схема газификатора Лурги: сортированный уголь с
размерами кусков 5 - 30 мм подается в газификатор через шлюз. Вращающийся
питатель распределяет поступающий уголь равномерным слоем по вращающейся
решетке. Парокислородное дутье подается под решетку противотоком к реагирующему
опускающемуся углю. По мере движения газифицирующей парокислородной смеси
сквозь слой угля происходят следующие процессы. Вначале смесь проходит сквозь
слой горячего шлака, лежащего на решетке, и подогревается. Затем газы поступают
в зону горения кокса, где температура достигает 1300 - 1500 К. Из этой зоны
горячие газы попадают в зону газификации, где протекают эндотермические
реакции, и температура газов начинает снижаться. При температуре 1000 - 1123 К
( в зависимости от реакционной способности угля) реакции прекращаются и
продукты газификации, продолжая подниматься, осуществляют термическое разложение
сырого угля в верхней части слоя и уносят с собой его продукты. На выходе из
слоя газы имеют температуру 600 - 800 К и с этой температурой покидают
газификатор. Непосредственно к газификатору примыкает скруббер-холодильник, в
котором полученный газ промывается водой и охлаждается. Шлак проваливается
сквозь решетку и попадает в бункер, откуда периодически удаляется через шлюз.
Рис. 2.3
Основные недостатки процесса Лурги связаны,
во-первых, с необходимостью использования сортированного угля - всю мелочь
приходится использовать в других процессах. Во-вторых, в этом процессе наряду с
газификацией происходит пиролиз угля, продукты которого (смола,
пирогенетитеческая влага и другие) уносятся газом, что требует более сложной
его очистки. Кроме того, в описанном процессе с твердым шлакоудалением степень
использования водяного пара невысока (30-40 %). Это увеличивает как затраты
энергии на газификацию, так и количество воды, требующей очистки перед выбросом
из установки.
Усовершенствование процесса Лурги идет по пути
увеличения температуры в зоне горения и газификации. При этом степень конверсии
водяного пара возрастает, а удаление шлака осуществляется в жидком виде.
Состав газа, получаемого по методу Лурги,
существенно зависит от уровня температур. При парокислородном дутье и жидком
шлакоудалении получается газ, содержащий (по объему) 58 % СО, 6 % СО2, 26 % Н2,
9 % СН4 и 1 % N2.
В последнее время ведутся работы, направленные
на повышение давления в процессе Лурги до 8 МПа. Однако при использовании
метода Лурги для получения водорода выбор давления должен быть предметом
технико-экономического анализа.
В основу процесса Копперс-Тотцека положена
газификация угольной пыли при атмосферном давлении. Первая промышленная
установка, использующая этот процесс, была пущена в начале 50-х годов нашего
столетия.
Схема газификатора Копперс-Тотцека:
предварительно подготовленная угольная пыль с частицами размером менее 100 мкм
смешивается с кислородом и водяным паром и подается в футерованную камеру
газификатора. В камере угольная пыль и газифицирующая смесь движутся
прямотоком. Процесс проходит весьма интенсивно. Соотношение пара и кислорода
подбирается таким, чтобы температура оказалась более 1800 К и шлак расплавился.
Удаление большей части шлака осуществляется в жидком виде.
Газ, получаемый в газификаторе Копперс-Тотцека
из бурого угля, содержит (по объему): 5 % СО, 10 % СО2, 31 % Н2 и менее 1 % СН4
(прочие компоненты - менее 1 %).
С точки зрения водорода процесс Копперс-Тотцека
достаточно эффективен. Он имеет также технологические преимущества, поскольку
при высоких температурах смолы и прочие высокомолекулярные соединения
разлагаются, что упрощает очистку газа и сбросной воды. Однако этот процесс
имеет и ряд недостатков. Прежде всего, высокая температура получаемого газа
требует утилизации содержащейся в нем физической теплоты. Поскольку сырой газ
содержит много пыли и имеет атмосферное давление, его теплоту можно
использовать только в котле-утилизаторе для производства технологического пара.
Атмосферное давление является недостатком еще и потому, что ограничивает
единичную производительность газификатора, которая вряд ли может превзойти
несколько десятков тысяч кубометров газав час (20 - 30 т угля в час).
Рис. 2.4 Схема газификатора Копперс-Тотцека с
котлом-утилизатором
Интересны попытки усовершенствовать метод
Копперса-Тотцека путем повышения давления в газификаторе до 1-2 МПа, однако при
этом надо считаться с увеличением в газе содержания метана.
В методе Винклера использована газификация угля
в кипящем слое. Первые такие газификаторы были пущены еще в 20-е годы нашего
столетия. Во время второй мировой войны такие газификаторы использовались для
получения синтез-газа для последующего синтеза моторных топлив по методу
Фишера-Тропша.
Процесс Винклера предусматривает парокислородную
газификацию при атмосферном давлении. Сам газификатор представляет собой
футерованную шахту, в нижней части которой за счет дутья, подаваемого снизу,
создается кипящий слой угля. Часть парокислородной смеси подается выше слоя для
газификации вынесенных из слоя мелких частиц. Тепло- и массообмен в кипящем
слое достаточно интенсивны, что обеспечивает высокую степень газификации
углерода (90 %).
В газификаторе Винкслера предусмотрено твердое
шлакоудаление, что обуславливает сравнительно низкую температуру процесса
(около 1300 К). В верхней части шахты газификатора установлены парогенерирующие
трубы, которые служат для утилизации теплоты газов и выделения из них части
золы, унесенной в расплавленном состоянии газами.
Газ, получаемый в газификаторе Винкслера,
содержит (по объему): 48 % СО, 14 % СО2, 35 % Н2, 1 - 2 % СН4 (прочие
компоненты - менее 1 %).
Усовершенствование метода Винкслера возможно
путем повышения температуры и давления процесса.
Наряду с рассмотренными выше методами
газификации угля, которые можно сейчас уже назвать классическими, начиная с
середины нашего столетия в разных странах интенсивно разрабатываются более
прогрессивные методы. В ряде случаев они представляют собой усовершенствованные
варианты методов, рассмотренных ранее, например, метод Лурги с жидким
шлакоудаленем или методы Викслера и Копперс-Тотцека с повышенным давлением.
Однако имеются и принципиально новые методы, основанные на использовании многоступенчатых
процессов.
В качестве примера такого процесса можно
рассмотреть метод Хай-газ, разработанный Технологическим институтом США. Этот
метод предназначен для получения газа со средней теплотой сгорания (около 20
000 кДж ∙ м-3) с максимально возможным выходом метана непосредственно из
газификатора. Для этого газификация осуществляется при высоком давлении (7 - 10
МПа) и в газифицирующей смеси повышается содержание водорода. При этом
равновесие реакции смещается в сторону образования метана.
Одна из разновидностей метода Хай-газ -
производство водорода железопаровым способом. Поскольку этот способ прямо
направлен на получение водорода из кокса, ниже он рассматривается несколько
подробнее. Вначале кокс газифицируется с помощью паровоздушного дутья, в результате
чего получается газ, содержащий СО, Н2 и N2. Наличие азота не является
недостатком, так как промежуточные процессы позволяют от него избавиться.
Полученный газ используется для восстановления окисла железа Fe3O4 до FeO в
соответствии с реакциями
O4 + СО = 3FeO + СО2;O4 + Н2 = 3FeO + Н2О.
Образовавшиеся в результате этих реакций СО2,
Н2О и N2 после утилизации теплоты выбрасываются в атмосферу. Если исходное
дутье имеет повышенное давление, то наиболее целесообразно использовать эти
газы в газотурбинной установке. При этом КПД процесса получения водорода
достигает 63 %, из которых 18 % приходится на вырабатываемую электроэнергию.
Полученная окись железа FeO направляется в
окислитель, где при более низкой температуре одна из двух прежних реакций происходит
в обратном направлении:
FeO + Н2О = Fe3O4 + Н2
При обычных для этого процесса температурах
равновесие реакции таково, что ее продукты содержат около 37 % волорода
(остальное - в основном водяной пар, который удаляется конденсацией).
Все рассмотренные выше методы газификации
основываются на автотермическом проведении реакции. Поэтому газифицирующая
газовая смесь содержит водяной пар и кислород (или воздух), соотношение которых
определяет конечную температуру процесса газификации. При этом для получения
газа с более высокой теплотой сгорания и для уменьшения затрат на очистку от
азота предпочитают использовать не паровоздушное, а парокислородное дутье. Это
существенно удорожает процесс за счет включения в него установки для разделения
воздуха.
Однако есть и другая возможность получить
недостающую теплоту для эндотермической реакции угля с водяным паром. Среди
схем с аллотермическим подводом теплоты, реализующих эту возможность,
представляют интерес схемы, в которых недостающая теплота образуется за счет
побочной химической реакции с участием дополнительно вводимого в зону реакции
реагента. В качестве примера такого способа следует упомянуть метод
СО2-акцептор, разработанный в США. Здесь теплота вводится в зону газификации за
счет реакции СаО с двуокисью углерода с образованием доломита:
СаО + СО2 = СаСО3.
При этой реакции выделяется около 177 000 кДж
теплоты на 1 кмоль СаО. Этого количества теплоты достаточно, чтобы осуществить
газификацию угля только водяным паром.
Схема установки по методу СО2-акцептор: процесс
газификации происходит в кипящем слое при давлении 1 - 2 МПа. Отсортированный и
высушенный уголь подается через шлюз вначале в камеру термического разложения,
где при температуре 1073 - 1123 К происходит пиролиз исходного угля продуктами
газификации. Поэтому получающийся газ содержит продукты пиролиза, хотя при
указанной температуре в среде водяного пара они частично разлагаются.
Часть образовавшегося полукокса поступает в
собственно кипящий слой газификатора. В верхнюю часть слоя поступает
регенерированный доломит с температурой около 1300 К.
В нижнюю часть слоя подается паровое дутье.
Образующаяся в результате реакции с водяным паром двуокись углерода вступает в
реакцию с СаО, образуя доломит и поставляя теплоту для эндотермической реакции
угля с водяным паром. Более крупные и тяжелые частицы СаСО3 постепенно
опускаются в нижнюю часть слоя. Непрореагировавший уголь и зола уносятся газами
вверх, а СаСО3 выводится из газификатора и направляется на регенерацию.
Регенерация представляет собой эндотермический
процесс, происходящий при температуре около 1300 К:
СаСО3 = СаО + СО2.
В регенераторе также организуется кипящий слой.
Здесь теплоту для реакции регенерации поставляет сжигание в воздухе части
полукокса, выводимого из камеры термического разложения. Регенерированный
доломит возвращается в газификатор, а дымовые газы из регенератора вместе с
золой направляются на утилизацию теплоты, в частности на производство водяного
пара в котле-утилизаторе. Таким образом, в конечном итоге теплоту для
эндотермической реакции газификации угля водяным паром поставляет горение того
же угля, но так как продукты сгорания не смешиваются с продуктами газификации,
может быть использовано дешевое воздушное дутье.
Недостатком процесса СО2-акцептор является
сравнительно низкая температура газификации, лимитируемая термической
стойкостью доломита (~1123 К). Из-за этого в газе, как уже отмечалось, остаются
продукты пиролиза и требуются специальная очистка как газов, так и воды.
Газ, получаемый по этому методу, содержит (по
объему): 16 % СО, 11 % СО2, 56 % Н2, 15 % СН4 (прочие компоненты - около 2 %).
Таким образом, содержание водорода достаточно
велико, но велико и содержание метана, связанное с высоким давлением.
Выбранная система газификации угля
В качестве перспективного принят двухступенчатый
процесс газификации пылевидного угля, увлекаемого потоком газа, разработанный
Исследовательской корпорацией битуминозных углей Bituminous Coal Research Jnc.,
BCR. В настоящее время в г. Хоумер-Сити, штат Пенсильвания работает крупная
опытная установка с производительностью реактора около 110 т/сут (угля) на
парокислородном дутье, предназначенная в основном для отработки технологии
производства синтетического метана. Фирма «Фостер Уиллер» разрабатывает вариант
реактора на паровоздушном дутье.
На рис. 6-1 показана принципиальная схема
процесса ВСR со вспомогательными элементами. Рядовой шахтный уголь дробится,
высушивается и размалывается до размера частиц, 70 % которых проходит через
сито с ячейкой 127 мкм. Молотый уголь затем дозируется из цитадельного бункера
в поток транспортирующего газа, в качестве которого служит очищенный газ,
отбираемый после системы газоочистки, и вводится в верхнюю ступень реактора. В
этой ступени угольные частицы реагируют с синтез-газом, полученным в нижней
ступени реактора, а также паром с образованием метана, окиси углерода, водорода
и остаточного полукокса. На выходе из верхней ступени газ имеет температуру
около 1250 К.
Частицы остаточного полукокса отделяются от газа
в циклонных сепараторах и возвращаются потоком перегретого пара в нижнюю
ступень реактора. В ней полукокс реагирует с подогретым воздухом и паром при
температуре более 1800 К с образованием водородосодержащего синтеза-газа и
расплавленного шлака. Горячий поток синтез-газа попадает в верхнюю ступень
реактора, где служит средой для газификации угля, как описано выше.
Расплавленный шлак собирается и стекает через летку нижней ступени реактора в
сборник шлака, куда впрыскивается вода.
Реакции газификации угля в итоге эндотермичны, и
необходимое для этого тепло обеспечивается выжиганием в воздухе остаточного
полукокса. Подача воздуха регулируется по условию поддержания температуры в
верхней ступени реактора, тогда как температура в нижней ступени поддерживается
регулированием подачи пара. Рабочий диапазон температур в нижней ступени жестко
ограничен: при повышении верхнего предела возникает опасность повреждения
футеровки, при температурах за нижним пределом происходит застывание шлака и
шлакование реактора. Для данного процесса газификации тип угля не оказывает
существенного влияния, так как он приспособлен для использования самых
различных углей. Лишь повышение серосодержания влияет на показатели системы,
так как требует некоторого расширения системы очистки газа.
Расчетный к.п.д. газификации для газогенераторов
этого типа 83,3 %. К настоящему времени содержание твердой пыли, хлора, паров
щелочных металлов и микропримесей в произведенном газе опытным путем не
определено. Предполагается, что высокая рабочая температура в сочетании с
достаточным временем пребывания газа в реакторе исключает возможность
образования смол, нафты, фенолов, обеспечивая более чистый «сырой» газ, чем в
процессах газификации в стационарном слое. Азот угля превращается в аммиак.
Основные характеристики оборудования установки
газификации топлива и очистки дымовых газов.
|
Показатель
|
Для
оборудования ПГУ-1000, МВт
|
|
Производительность
системы газификации по топливу, т/ч
|
193,2
|
|
Давление
газа в реакторе, МПа
|
7,4
|
|
Количество
параллельных реакторных блоков, шт.
|
4
|
|
Живое
сечение реактора, м
|
4х10
|
|
Высота
реактора, м
|
26
|
|
Наибольший
диаметр корпуса реактора, м
|
7
|
|
Толщина
стенки силового корпуса реактора, м
|
0,15
|
|
Число
параллельных элементов газоохладителя, шт.
|
4х280
|
|
Длина
элемента, м
|
64
|
|
Давление
генерируемого пара в газоохладителе, МПа
|
28
|
|
Толщина
стенки трубного элемента газоохладителя, м
|
0,012
|
|
Объем
очищаемого газа при рабочих условиях, м3/с
|
14,8
- 14,0
|
|
Количество
параллельных линий очистки газа, шт.
|
4
|
|
Наибольший
диаметр скруббера сажеочистки, м
|
7,2
|
|
Диаметр
корпуса абсорбера, м
|
5,8
|
|
Наибольшая
высота аппарата системы очистки газа, м
|
64
|
|
Толщина
стенки силового корпуса аппаратов очистки, м
|
0,14
|
Производство чистого водорода
Основным энергоносителем в будущей водородной
энергетике является чистый водород (> 99,999 об. %), используемый в
топливных элементах. Чистый водород в настоящее время применяется в основном в
следующих областях:
Микро- и наноэлектроника - для создания новых
уникальных процессов и изделий;
Производство чистых материалов - вольфрама,
молибдена, редкоземельных металлов, кремния, ультра-дисперсных порошков
(тугоплавких и редкоземельных металлов, карбидов, нитридов, боридов, купратов),
монокристаллов, обладающих уникальными магнитными и электрическими свойствами,
в том числе анизотропией;
Восстановительная металлургия - светлый отжиг
хромоникилиевых сталей, сплавов, содержащих титан и алюминий, кремнийсодержащих
трансформаторных сталей, производство и спекание порошковых материалов и изделий,
цветных металлов и сплавов т.д.;
Химическая промышленность - производство
многоэтажных чистых продуктов, в том числе монометров, синтез-газа,
синтетических топлив (метанол, диметиловый эфир) и др.;
Телекоммуникация и связь - автономные
экологически чистые источники питания на топливных элементах;
Водородная экономика - экологически чисты и
высокоэффективные транспорт и автономные энергетические установки.
Потребности в чистом водороде для различных
приложений варьируются от нескольких десятков Нм3/ч (для микро- и
наноэлектроники) до десятков миллионов Нм3/ч (для водородной экономики).
Всеми существующими и перспективными
промышленными способами производится либо водород технической чистоты (95-99,8
об. %), либо газовые смеси, содержащие от 30 до 95 об. % водорода. В любом
случае необходима дополнительная очистка чистого водорода.
Целью данной работы являлась разработка
мембранных модулей с мембранами из палладиевых сплавов для выделения чистого
водорода из промышленных смесей газов и технического водорода и оценка
перспективности их промышленного использования.
Специалистами ИНХС РАН и ЗАО «СИНП-ЛАЗ»
разработаны конструкции мембранных элементов и модулей, использующие плоские
мембраны в виде дисков с диаметрами 50-150 мм из фольги палладиевых сплавов
толщиной 30-70 мкм. Возможно использование мембран из мембранных палладиевых
сплавов любого состава.
Наиболее перспективны известные несодержащие
серебра сплавы PdInRu, PdCu, PdY и ряд новых сплавов, разрабатываемых ИМЕТ РАН,
обладающих повышенными физико-механическими свойствами и достаточно высокой
удельной проницаемостью водорода. Это позволяет выбирать оптимальные составы
сплавов для решения разных практических задач. Рабочая площадь поверхности
мембран в единичном модуле варьируется от 0,007 до 2 м2, что обеспечивает
необходимый диапазон производительности мембранных фильтрующих модулей по
чистому водороду - от сотен Нл/ч до 1000 Нм3/ч. Дальнейшего роста
производительности модулей в 2 раза можно добиться путем увеличения количества
мембранных элементов в них, а установок - путем увеличения параллельно
работающих мембранных модулей. В перспективе планируется дальнейшее увеличение
удельной производительности мембран за счет снижения их толщины.
Отработана технология изготовления мембран,
мембранных элементов и модулей. На всех стадиях изготовления деталей
применяются холодная штамповка и вырубка, обеспечивающие точность изготовления.
Герметизация всех элементов конструкции обеспечиваются обеспечивается только
сваркой без применения каких-либо припоев, клеев и т.п. Созданы необходимая
технологическая оснастка, компдекс измерительной и испытательной аппаратуры на
базе ЗАО «СИНПЛАЗ», ИНХС РАН и ИМЕТ РАН и методики исследования параметров,
качества изготовления сварных швов. Внедрен сплошной контроль герметичности мембран,
мембранных элементов и модулей.
В результате разработанная конструкция и
технология обеспечивают высокую технологичность изготовления, длительный ресурс
работы, низкую стоимость, простоту и надежность изготовления и эксплуатации
аппаратов, повышенную прочность мембран и элементов при термоциклировании в
рабочих условиях (при температурах 250-600 оС и давлениях водорода до 10 МПа),
возможность ремонта с частичной заменой дефектных мембранных элементов.
Применение разработанной конструкции плоских мембран в виде фольги толщиной
30-50 мкм позволило снизить расход сплавов на производство 1 м3 водорода более
чем в 8-20 раз по сравнению с используемыми в настоящее время
капиллярно-трубчатыми мембранными элементами из тех же сплавов, снизить
стоимость изготовления элементов и модулей, повысить выход годных и
организовать сплошной контроль качества изделий (табл. 1).
Табл. 1. Характеристики модуля мембранного
промышленного очистителя водорода.
|
Параметр
|
Данная
работа
|
|
Содержание
водорода в смеси газов
|
30-98
об. %
|
|
Устойчивость
к коррозионно-активным примесям
|
H2S<1,5%; CO<30%; CO2<30%;
CnHm<20%; N2<25%; H2O
|
|
Чистота
выделяемого водорода, об. %
|
>
99,9999
|
|
Рабочие
температуры, оС
|
350-600
|
|
Давление,
МПа: смеси на выходе, Р1 выходящего чистого водорода, Р2
|
1,0-2,0
0,1-3,0
|
|
Удельная
производительность по чистому водороду, J, Нм3/м2.ч.МПа0,5 при Т=500 оС
|
40-300
|
|
Производительность
по чистому водороду, Q, Нм3/ч
|
350-1500
|
|
Удельный
расход палладия, г/(Нм3/ч)
|
1,7-0,4
|
|
Размеры
модуля при максимальной производительности по водороду, м
|
D
= 0,35 L = 0,5
|
Проведены длительные испытания работоспособности
модуля с плоскими мембранами из сплава PdInRu при выделении чистого водорода
(> 99,9999%) из различных газовых смесей, в том числе содержащих
коррозионно-активные газы: углеводороды - до 18 об. %, сероводород - до 1,5 об.
%, монооксид углерода - до 15 об. %, углекислый газ - до 30 об. %, азот - до 25
об. % и хлорсодержащие соединения. Они подтвердили высокую стойкость мембран и
элементов конструкций по отношению к коррозии в течение длительной эксплуатации
при температурах до 600 оС и давлении до 10 МПа. Общий ресурс непрерывной
работы аппарата за время испытаний составил более двух лет. После испытаний не
обнаружено никаких изменений внешнего вида мембран, коррозии, отложений углерода
на поверхности, а также производительности элементов и модуля.
Сравнение с другими существующими способами
получения чистого водорода из промышленных газовых смесей показало, что
наименьшие удельные капитальные затраты достигаются при мембранном способе его
извлечения с применением созданных модулей (табл. 2). Этот метод
характеризуется повышенной чистотой извлекаемого водорода, отсутствием
предочистки питающей смеси, малыми габаритами и весом оборудования. Кроме того,
следует подчеркнуть уникальную способность мембран из палладиевых сплавов
работать при температурах 250-800 оС, характерных для процессов каталитической
конверсии углеводородов с получением газовых смесей, содержащих водород.
Табл. 2. Сравнение различных методов извлечения
водорода из промышленных газовых смесей.
|
Характеристика
|
Мембраны
полимерные
|
Адсорбция
КЦА
|
Криогенный
|
Мембраны
из Pd-сплавов
|
|
|
|
|
2003
год
|
2005
год
|
|
Чистота
водорода, об. %
|
<
98
|
<
99,999
|
>
95-99
|
>
99,9999
|
|
Производительность,
H2, м3/ч
|
100-60000
|
600-120000
|
600-120000
|
30-10000
|
30-120000
|
|
Степень
извлечения, %
|
<
90
|
75-90
|
90-98
|
75-98
|
|
Давление
МПа вход выход
|
1,0-5
0,1-2
|
1,0-6
1,0-6
|
1,0-4,0
до 4,0
|
0,3-10
0,1-5,0
|
|
Температура,
оС
|
<
150
|
<
100
|
<<
0
|
300-800
|
|
Потребность
в предочистке
|
да
|
да
|
да
|
нет
|
|
Кап.
затраты, USD/( м3/ч)
|
50-5
|
2000-500
|
700
|
80
|
10
|
Это позволяет устанавливать мембраны на выходе
или непосредственно в реакторах каталитической конверсии. Рис. 2 иллюстрирует
преимущества мембранной очистки на примере получения чистого водорода на борту
автомобиля. Использование мембранно-каталитических реакторов позволяет
увеличить степень конверсии сырья в водород при снижении температуры процесса,
что способствует снижению эксплуатационных затрат при использовании мембранного
метода.
Разработан промышленный мембранный модуль
очистителя водорода с мембранами из палладиевых сплавов с производительностью
по чистому водороду до 1000 м3/ч с рабочими температурами 250-800 оС при
давлениях исходной смеси до 20 МПа и выходящего водорода от 1 до 3 МПа.
Оптимальный модуль при максимальной
производительности имеет низкие удельные затраты палладиевых сплавов (0,4-1,7
г/м3) в час в зависимости от их состава.
Общий внутренний объем модуля составляет не
более 0,05 м3.
В результате проведенных исследований и
разработок мембранный способ очистки и извлечения чистого водорода (>
99,9999%) из признан конкурентоспособным в сравнении с другими промышленными
способами.
Мембранные очистители могут обеспечить получение
дешевого чистого водорода для разработки чистых автономных подвижных и
распределительных стационарных источников энергии на топливных элементах и
других применений.
Диффузия.
Процесс диффузного разделения основан на
применении мембран, изготовленных преимущественно из сплавов палладия,
способных пропускать с заметной скоростью водород и задерживать другие газы.
Схема использования этого процесса показана на рис.
Рис. Принципиальная схема диффузионного процесса
разделения газов: 1- теплообменник-регенератор, 2- подогреватель, 3-
диффузионная камера, 4- компрессор
Для достижения достаточной скорости
диффузионного процесса и предотвращения адсорбции молекул подида водорода на
поверхности мембраны принято, что диффузионная камера работает при температуре
615 К и давлении 3 МПа, которое обеспечивает необходимый концентрационный
градиент водорода, получаемого в чистом виде при атмосферном давлении.
Необходимая работа для этого процесса складывается из двух частей: большей - на
сжатие исходной смеси и меньшей - на её нагрев. Целесообразно, чтобы побочный продукт
процесса - иодид водорода, расширяясь в турбине, возвращал часть затрачиваемой
работы для сжатия исходной смеси. Эффективность диффузионного разделения в
предположении, что отношение изометрической работы сжатия к реальной составляет
0,7, иллюстрирует рис.
Рис. Эффективность разделения в диффузионном
процессе
При средних содержаниях водорода (30 - 50 %)
необходимая работа возрастает, но возрастает и теоретическая минимальная
работа, приводя тем самым к более высоким значениям эффективности разделения. С
дальнейшим ростом содержания водорода в исходном газе необходимая работа
растет, а теоретически минимальная убывает и при xH2→ 1 стремится к нулю.
В связи с этим при xH2→ 1 КПД обращается в нуль.
Теоретические основы водородопроницаемости в
палладиевых мембранах.
Эффект сверхпроницаемости металлических мембран
относительно водорода обычно связывают со спецификой состояния границы раздела
металл - газ. Однако возможно и другое объяснение механизма такого эффекта.
Рассмотрим с использованием приведенных
обозначений диффузионный перенос частиц через твердофазную мембрану, но будем
полагать, что падающие на поверхность мембраны молекулы газа (водорода)
диссоциируют на этой поверхности. Атомы водорода в результате диффузии могут
достигать противоположной границы мембраны, вновь образовывать молекулы Н2 и
таким образом проникать через перегородку. Для получения граничных условий к
уравнению (5) будем, представлять состояние атома (молекулы) газа на межфазной
границе как совокупность двух состояний: собственно границы I (характеризуется
поверхностной концентрацией n0H или nlH) и «смежного» состояния II
(характеризуется объемной концентрацией СH), с которого начинается процесс
случайных блужданий. Условия на поверхности раздела фаз имеют смысл уравнений
материального баланса при переносе молекул и атомов газа между этими
состояниями и диффузионной зоной:
/
/
х
= 0 (1)
/
(2) х = l
где J0(l) -поток молекул Н2 из газовой фазы на
поверхность х = 0(l);
l0(l), c0(l), и n0(l),
- константы скоростей соответствующих переходов на этих поверхностях;
x0(l), и h0(l) - константы
скоростей реакций диссоциации молекул водорода и образования этих молекул из
атомов Н.
Рассмотрим стационарный перенос газа через
мембрану. В этом случае уравнение для потока Jм, вытекающее из соотношений (4),
(1), (2), имеет вид
(3)
Полагаем, что введенные константы скоростей
могут зависеть от потоков JM и J0(l), т.е. l0(l), c0(l),
n0(l),
x0(l),
h0(l)
- функции JM и J0(l). В равновесном случае, когда JM = 0, величины l*0(l),
c*0(l),
n*0(l),
x*0(l),
и h*0(l)
, равные соответствующим значениям констант скоростей при JM = 0, определяют
количество Q (в молях Н2 на 1 м3) растворенного в мембране газа:
(4)
где m - масса молекулы газа Н2; Р - давление
газа; a0(l)*
= h0(l)*n
0(l)*x
0(l)*-1l0(l)*-2.
Требование JM = 0 при одинаковых давлениях газа
с обеих сторон мембраны (J0 = Jl) приводит к соотношению
(5)
имеющему простой физический смысл: распределение
атомов газа в равновесной системе является больцмановским.
Из уравнения (3) следует, что в общем случае
потоки газа через мембрану различны при разной ее ориентации относительно
областей повышенного и пониженного давлений («вентильный» эффект). Укажем
необходимые и достаточные условия существования этого эффекта в рассматриваемом
линейном случае [см. замечание после формулы (3.10)]. Если поток газа через
мембрану JM не зависит от ее ориентации, то величина JM должна помимо уравнения
(3.29) удовлетворять также соотношению
(6)
при любых значениях потоков J0 и Jl [здесь и
далее при анализе «вентильных» эффектов для простоты мы пренебрегаем
зависимостью величин a0(l), c0(l), и g0(l)
от потоков J0(l). Это возможно лишь при одновременном выполнении следующих
условий:
(7)
Если же хотя бы одно из равенств (7) нарушается,
газопроницаемость мембраны зависит от ее ориентации.
Чтобы получить конечное выражение для потока JM,
необходимо задаться явным видом функций a0(l)(JM), c0(l)(JM),
и g0(l)(JM).
Для простоты будем полагать эти величины не зависящими от потока JM в
рассматриваемой области давлений газа. При этом параметры a0(l),
c0(l),
и g0(l)
могут не совпадать с их равновесными значениями. Рассмотрим две наиболее
интересные в экспериментальном плане ситуации.
Пусть диффузионное сопротивление мембраны велико
(Fl®¥),
а коэффициент диффузии атомов водорода D не зависит от координаты х. Тогда из
уравнения (3) следует:
(8)
Где
(поток
молекул Н2 в исследуемой системе в 2 раза меньше, чем поток атомов водорода Н).
При выводе соотношения (8) полагали Jl = 0 (с
одной стороны мембраны - вакуум). Заметим, что в этом случае величина Q
не зависит от параметров «выходной» поверхности мембраны (х = l).
Если диффузионным сопротивлением мембраны можно
пренебречь (Fl = 0), то ее проницаемость определяется только процессами,
протекающими в области межфазных границ. При этом возможна ситуация, когда n0
®
0 (мембрана «не выпускает» находящийся в ней газ со стороны поверхности х = 0).
Тогда когда a0 ® 0, g0
»
0,5 и при JM получаем Q » 1, что
соответствует сверхпроницаемости асимметричной мембраны. Соотношение (3)
существенно упрощается для симметричной перегородки, когда g0
= gl
º
g,
a0
= al
º
a,
cl
= c0
и wl
= 0. В этом случае (Fl = 0, Jl = 0) поток JM удовлетворяет уравнению
(9)
Выражение (9) аналогично соответствующему
соотношению для потока газа через мембрану, полученному в .
Если подавлены процессы образования молекул Н2 (h
®
0) или поверхность «не выпускает» газ (n ®
0), то из уравнения (9) следует, что
(10)
При n ®
0 значения g » 0,5 и Q
»
0,5, что отвечает сверхпроницаемости симметричной мембраны.
Из рассмотренного следует, что большое значение
величины Q £ 0,1 ¸
1 в принципе можно достичь различными путями, в том числе и при реализации
диффузионного режима в мембране, если выполняются условия DHl-1(a0c02)-½
~ NA-½(mkБТ)-¼Р½
при диссоциации проникающего компонента.
При этом время установления стационарного потока
может существенно отличаться от типичной для диффузионных процессов величины
l2/(6D). Заметим, что проявление эффектов неравновесности при трансмембранном
переносе газа может быть связано с действием ряда факторов. В частности, в
случае «горячего» газа эти эффекты могут быть обусловлены отклонением функции
распределения атомов (молекул) данного газа от максвелловской. Однако возможна
и другая ситуация, когда неравновесность проявляется в зависимости констант
перехода от потока JM, например вследствие взаимного влияния проникающих атомов
(молекул) в окрестности межфазной границы при их максвелловской функции
распределения в газовой фазе.
Указанное влияние атомов (молекул) друг на друга
может быть связано с большими характерными значениями радиусов взаимодействия
этих атомов (молекул) на поверхности по сравнению с аналогичными значениями в
объеме. Это может происходить при отсутствии эффективной экранировки заряженных
частиц (при ионизации проникающих атомов) на границе раздела фаз,
ангармоничности колебаний в поверхностных слоях (для неорганических материалов),
дальнодействующего возмущающего влияния молекул газов на матрицу вблизи
межфазной границы (для полимерных мембран). Таким образом, окончательные
заключения о механизме сверхпроницаемости газа через твердофазные мембраны
можно сделать только на основании всестороннего анализа наблюдаемых
закономерностей кинетики стационарной и нестационарной газопроницаемости. В
частности, вопрос о реализации эффекта сверхпроницаемости при диффузионном
режиме массопереноса может быть решен при исследовании зависимости газопроницаемости
Q
от толщины перегородки. Если процесс проникновения водорода определяется только
состоянием межфазных границ, то величина Q не зависит от 1,
тогда как при диффузионном режиме массопереноса такая зависимость должна
наблюдаться.
ОРГАНИЗАЦИОННО-ЭКОНОМИЧЕСКАЯ ЧАСТЬ
Для осуществления технико-экономического анализа
проектируемой турбины был проведен подбор конструкции-аналога или конструкции
базы сравнения. Ею стала конструкция паровой турбины К-500-240, выпускаемой ОАО
«Силовые машины». По сравнению с ней, в проектируемой турбине номинальная
мощность увеличена на 160 МВт за счет изменений в конструкциях ЦВД и ЦСД,
высота лопатки ЦНД составляет 1200мм, в отличие от базовой конструкции с
высотой лопатки 1000мм. Количество ступеней в ЦСД на каждый поток по 10, что
компенсируется увеличенным диаметром ротора и в двухпоточном ЦНД расположено по
5 ступеней в каждом потоке, а не по 4, как у базовой конструкции.
Для подобранной конструкции были установлены
следующие удельные данные: себестоимость, цена и трудоемкость одного килограмма
массы турбины, а также структура себестоимости и цены по статьям затрат; вид,
цены и коэффициенты использования материалов; структура материальных затрат,
перечень комплектующих изделий, нормы их расхода и оптовые цены; вид и
стоимость полуфабрикатов собственного производства; состав работ в процессе
изготовления турбины и структура её трудоёмкости. Эти данные важны не только
как детальная характеристика экономичности изготовления конструкции-базы
сравнения, они необходимы для последующих расчетов технико-экономических
показателей по проектируемой турбине и сравнительного анализа. Перечисленные
данные будут использованы для ориентировочной оценки себестоимости
проектируемой турбины по методу удельного веса статей затрат.
Идея данного метода основана на том, что близкие
в конструктивном, технологическом и функциональном отношениях изделия,
изготовляющиеся в аналогичных условиях производства, имеют сходную структуру
себестоимости по статьям затрат. Используя это обстоятельство, необходимо
рассчитать величину затрат по одной из статей затрат проектируемой турбины
("Основные материалы") и в соответствии со структурой себестоимости
изделия-аналога определить величину затрат по остальным статьям себестоимости.
Так будет ориентировочно определена себестоимость проектируемой конструкции.
Расчет затрат на основные материалы
Вес основных материалов в составе массы турбины
- 700000 кг.
|
Вид
и наименование материала
|
Уд.
вес, вес вида материала в составе осн. материалов
|
Уд.
вес, вес наимен-я материала в матер-ах дан. вида
|
КИМ
|
Черновая
масса
|
Цена
за кг
|
Стоимость
материала
|
|
%
|
кг
|
%
|
кг
|
%
|
кг
|
руб.
|
руб.
|
|
1.
Рядовой прокат
|
0.7
|
4802
|
|
|
|
|
|
|
|
а.
крупносортная сталь
|
|
|
91.0
|
2185
|
0.86
|
2540.7
|
25.4
|
64533.8
|
|
б.
мелкосортная сталь
|
|
|
9.0
|
216
|
0.95
|
227.5
|
26.9
|
6119.8
|
|
|
|
|
|
|
|
|
|
|
2.
Качественный прокат
|
80.0
|
274400
|
|
|
|
|
|
|
|
а.
сталь углеродистая
|
|
|
5.2
|
14168.8
|
0.44
|
32200
|
26.9
|
866180
|
|
б.
сталь легированная
|
|
|
14.5
|
39788
|
0.44
|
90427
|
60.5
|
5470833
|
|
в.
нержавеющая сталь
|
|
|
5.7
|
15640.8
|
0.36
|
43444
|
129.6
|
563034
|
|
г.
углеродистая листовая сталь
|
|
|
73.0
|
200312
|
0.32
|
625975
|
30.1
|
18841848
|
|
д.
легированная листовая сталь
|
|
|
1.2
|
3292.8
|
0.23
|
14316
|
51.9
|
743000
|
|
е.
нержавеющая листовая сталь
|
|
|
0.4
|
1097.6
|
0.50
|
2195.2
|
95.5
|
209641
|
|
|
|
|
|
|
|
|
|
|
3.
Изделия дальнейшего передела
|
14406
|
|
|
|
|
|
|
|
а.
калиброванная сортовая сталь
|
|
|
17.0
|
2449
|
0.62
|
3950
|
40.7
|
160765
|
|
б.
легированная сортовая сталь
|
|
|
83.0
|
11957
|
0.49
|
24402
|
57.3
|
1398234
|
|
|
|
|
|
|
|
|
|
|
4.
Трубы
|
11.5
|
39445
|
|
|
|
|
|
|
|
а.
катаные высокого давления
|
|
|
1.0
|
394
|
0.68
|
580
|
71.9
|
522.71
|
|
б.
катаные
|
|
|
24.5
|
9664
|
0.74
|
13059
|
44.4
|
579819
|
|
в.
нефтепроводные
|
|
|
20.5
|
8086
|
0.94
|
8602
|
34.3
|
295048
|
|
г.
тянутые высок. давл.
|
|
|
27.3
|
10768
|
0.73
|
14751
|
125.6
|
1852725
|
|
д.
тонкостенные
|
|
|
22.6
|
8914.5
|
0.74
|
12047
|
122.2
|
1472143
|
|
е.
сварные больш. диам.
|
|
|
3.8
|
1499
|
0.86
|
21743
|
37.3
|
811013
|
|
ж.
прочие
|
|
|
0.3
|
118
|
0.90
|
131
|
49.4
|
6476
|
|
|
|
|
|
|
|
|
|
|
5.
Цветные металлы
|
3.6
|
12348
|
|
|
|
|
|
|
|
а.
баббит
|
|
|
2.7
|
333
|
0.32
|
1042
|
141.0
|
146902
|
|
б.
медь листовая
|
|
|
1.0
|
123
|
0.52
|
237
|
139.6
|
33149
|
|
в.
латунь листовая
|
|
|
2.2
|
271
|
0.25
|
1086
|
136.1
|
147889
|
|
г.
трубы латунные
|
|
|
73.0
|
9014
|
0.86
|
10481
|
151.8
|
1591082
|
|
д.
бронза прутковая
|
|
|
9.7
|
1197
|
0.22
|
5444
|
146.5
|
794874
|
|
е.
проволока константановая
|
|
|
2.3
|
284
|
0.90
|
315
|
260.1
|
82045
|
|
ж.
лента нейзильберовая
|
|
|
1.2
|
148
|
0.85
|
174
|
300.0
|
52297
|
|
з.
аноды кадмиевые
|
|
|
6.6
|
815
|
1.00
|
815
|
120.0
|
97796
|
|
и.
прочие
|
|
|
1.3
|
160
|
0.70
|
229
|
120.0
|
27518
|
|
Итого:
|
|
|
|
|
|
|
|
72488622
|
|
|
|
|
|
|
|
|
|
|
|
Для определения размера затрат по статье
«Основные материалы», необходимо исключить стоимость реализуемых отходов,
учесть транспортно-заготовительные расходы и расходы на прочие материалы.
Стоимость основных материалов за вычетом
реализуемых отходов определяется зависимостью:
;
где
-
стоимость черной массы основных материалов, руб.;
- стоимость
реализуемых отходов, %;
.
Стоимость основных материалов с учетом
реализуемых отходов определяется:
;
где
-
коэффициент, транспортно-заготовительные расходы, %;
.
Общая стоимость основных материалов определяется
соотношением:
;
где
-
стоимость прочих основных материалов в процентах от стоимости ведущей группы
основных материалов, %;
.
Полученная в результате расчета стоимость
основных материалов используется для вычисления всех остальных статей затрат
себестоимости проектируемой турбины и определения её полной себестоимости.
Используя структуру затрат полной себестоимости
изделия-аналога вычислим себестоимость проектируемой турбины, воспользовавшись
величиной удельного веса затрат на сырье и основные материалы в данной
структуре.
Структура затрат полной себестоимости
|
Статьи
затрат
|
Вес
статей затрат в полной себестоимости турбины
|
|
%
|
руб
|
|
Прямые
затраты
|
|
|
|
1.
Сырье и основные материалы
|
8.5
|
104086252
|
|
2.
Покупные и комплектующие изделия, полуфабрикаты и услуги кооперирования
|
9.0
|
110208972
|
|
3.
Полуфабрикаты своего производства
|
15.5
|
189804340
|
|
Итого
материальные затраты:
|
33
|
404099566
|
|
|
|
|
4.
Реализуемые отходы (вычитаются)
|
0.5
|
6122720
|
|
Материальные
затраты за вычетом отходов:
|
32.5
|
397976846
|
|
|
|
|
5.
Топливо и энергия на технологические нужды
|
2.0
|
24490882
|
|
6.
Основная зарплата производственных рабочих
|
12.0
|
146945296
|
|
7.
Расходы на подготовку, в том числе:
|
3.0
|
36736324
|
|
а.
отчисления в фонд новой техники
|
2.7
|
33062690
|
|
б.
отчисления в фонд премирования в за освоение новой техники
|
0.3
|
3673632
|
|
8.
Расходы на спецоснастку
|
5.0
|
61227206
|
|
9.
Отчисления на НИР и ОКР
|
0.6
|
7347264
|
|
Итого
условно-прямых затрат:
|
54.5
|
667376556
|
|
Косвенные
затраты
|
|
|
|
10.
Цеховые расходы
|
27.5
|
336749638
|
|
11.
Общезаводские расходы
|
17
|
208172504
|
|
Итого
производственная себестоимость:
|
99
|
121298698
|
|
|
|
|
12.
Внепроизводственные расходы
|
1.0
|
12245440
|
|
Итого
полная себестоимость:
|
100
|
1224544140
|
Плановый уровень полной себестоимости
проектируемой турбины используется для определения её цены:
где
-
средний уровень рентабельности продукции предприятий турбиностроительной
промышленности;
.
Выводы об экономической эффективности
проектируемого варианта турбины
После расчета себестоимости и оптовой цены
турбины необходимо провести сравнительный технико-экономический анализ
разработанного варианта конструкции. Для этого определяются и сопоставляются
капитальные и эксплуатационные затраты по проектируемому и базовому вариантам.
|
Наименование
статей
|
Ед.
изм.
|
Значения
|
Отклонения
|
|
|
базовый
|
спроек-ый
|
Абсолютные
и в %
|
|
1.
Единовременные капитальные затраты:
|
руб.
|
1470’000’000
|
1530067904
|
+4%
|
|
а.
оптовая цена
|
руб.
|
1400’000’000
|
1565207526
|
|
|
б.
транспортировка и строительно-монтажные работы (5% от цены)
|
руб.
|
35’000’000
|
82570744
|
|
|
2.
Число часов использования установленной мощности
|
час/год
|
8000
|
8000
|
|
|
3.
Годовая выработка электрической энергии
|
тыс.кВт×час
|
4’800’000
|
5’280’000
|
+10%
|
|
4.
Эксплуатационные затраты:
|
руб./год
|
1609500000
|
759’421’131
|
-
45’328’869
|
|
а.
амортизация
|
руб./год
|
73500000
|
25’501’131
|
-
9’602’572
|
|
б.
стоимость годового расхода пара:
|
руб./год
|
1572’000’000
|
733’920’000
|
-
34’080’000
|
|
-
удельный расход пара
|
кг/кВт×час
|
6.4
|
5.56
|
-13.1%
|
|
-
годовой расход пара
|
т/год
|
15360’000
|
14678400
|
|
|
-
стоим-ть 1т. пара - 100 руб.
|
|
|
|
|
|
5.
Эксплуатационные затраты в расчете на 1000 кВт×час
выработанной энергии
|
руб.
|
335.3
|
287.7
|
-
14%
|
|
|
|
|
|
|
|
Амортизация рассчитывается линейным способом.
Заявленный ресурс эксплуатации составляет 20 лет для базового варианта турбины
и 30 лет - для проектируемого.
Сравнительный анализ ведется на базе показателей
сравнительной экономической эффективности.
Годовой экономический эффект:
где
-
соответственно эксплуатационные затраты по базовой и проектируемой
конструкциях;
- соответственно
капитальные затраты по базовой и проектируемой конструкции.
- нормативный
коэффициент эффективности дополнительных капитальных вложений,
Коэффициент эффективности дополнительных
капительных вложений:
где:
- годовая экономия
эксплуатационных затрат. Определяется разностью эксплуатационных затрат по
базовой и проектируемой конструкции:
- дополнительные
капитальные вложения. Определяются разностью капитальных вложений по
проектируемой и базовой конструкции:
Срок окупаемости дополнительных капитальных
вложений:
Общие данные о технико-экономическом
преимуществе
усовершенствованного варианта конструкции
|
Технико-экономические
показатели
|
Ед.
изм.
|
Конструкция
|
|
|
базовая
|
проектируемая
|
|
1.
Мощность
|
кВт
|
500’000
|
660’000
|
|
2.
КПД электрический
|
|
0.45
|
0.52
|
|
3.
Оптовая цена
|
руб.
|
1400’000’000
|
1457207526
|
|
4.
Себестоимость 1000 кВт выработанной энергии
|
руб.
|
670
|
575
|
|
5.
Срок окупаемости дополнительных капитальных вложений
|
лет
|
|
0.14
|
|
6.
Коэффициент эффективности дополнительных капиталовложений
|
|
|
7,1
|
|
7.
Годовой экономический эффект
|
руб.
|
|
88738866
|
Вывод: технико-экономичекий анализ проектируемой
турбины и базовой конструкции К-500-240 ОАО «Силовые машины» показал, что ее
производство по сравнению с аналогом ведет к незначительному увеличению
капитальных затрат, но приводит к снижению эксплуатационных затрат.
Спроектированная турбина по сравнению с турбиной-аналогом имеет более высокий
КПД, меньшие потери в цикле, увеличенный на 50% ресурс полезного использования,
а также более низкую себестоимость вырабатываемой электроэнергии, что позволяет
судить об эффективности внедряемой конструкции и ее экономической
целесообразности для производителя. Эффективность внесенных конструктивных
изменений в базовый вариант изделия очевидна и изменения оправданы.
ОБЕСПЕЧЕНИЕ БЕЗОПАСНОСТИ ТРУДА ПРИ МЕХАНИЧЕСКОЙ
ОБРАБОТКЕ СВАРНОЙ ДИАФРАГМЫ ЦИЛИНДРА СРЕДНЕГО ДАВЛЕНИЯ ПАРОВОЙ ТУРБИНЫ
Технологический процесс, включающий токарную,
фрезерную и шлифовальную обработку диафрагмы осуществляется в условиях
механического цеха с железобетонным полом. В цехе имеется водяное отопление,
цеховая магистраль сжатого воздуха, осветительные и вентиляционные установки.
Цеховой транспорт представлен талью на монорельсе, электрокранами и
электропогрузчиками.
Эргономические характеристики трудовой деятельности
оператора определяются спецификой системы «человек - станок - производственная
среда», для оптимизации которой необходимо обеспечение эргономических
требований.
На данном этапе производства можно выделить
следующий ряд вредных производственных факторов:
механические опасные факторы;
повышенное напряжение в электрической цепи,
замыкание которой может произойти через человека;
повышенная концентрация аэрозолей СОЖ;
повышенный уровень шума;
опасные факторы пожара (в случае его
возникновения);
психофизиологические вредные факторы,
возникающие в процессе труда (перенапряжение зрительного анализатора,
умственная и эмоциональная перегрузка, неудобные рабочие позы).
Оценка механической безопасности
Механическим опасные факторы создают движущиеся
части машин и механизмов. При работе на обрабатывающих станках источниками
опасных факторов могут быть: резец, стружка, обрабатываемая деталь,
приспособление.
При воздействии на человека они вызывают травмы,
как легкие, так и тяжелые. Во избежание травмирования, применяют следующие меры
защиты:
• Блокировочные устройства, препятствующие
проникновению человека в опасную зону, или устраняющие опасный фактор на время
пребывания человека в опасной зоне (защитные кожухи и т.д.);
• Сигнализирующие устройства, информирующие о
работе оборудования (световые и звуковые сигналы);
• Дистанционное оборудование, с помощью которого
осуществляют контроль и регулирование оборудования с участков, удаленных от
опасной зоны.
• Оградительные устройства (стационарные,
подвижные и переносные);
• Различные предохранительные средства, которые
отключают оборудование при отклонении какого-либо параметра, характеризующего
работу оборудования;
• Для удаления металлической стружки применяют
специальные инструменты.
Оценка безопасности токарных работ при
повышенной концентрации вредных аэрозолей СОЖ
Производственный процесс характеризуется
повышенным содержанием пыли в воздушной среде рабочей зоны. Пыль, образующаяся
в процессе абразивной обработки, состоит на 30-40% из материалов абразивного
круга, на 60-70% из материала обрабатываемого изделия. При обработке резанием
повышается температура поверхности оборудования и материала, и следует
охлаждать зону резания с помощью подачи СОЖ, а это является источником
выделения в воздухе аэрозолей и паров воды.
Для создания комфортного климата в рабочей зоне
применяется общеобменная вентиляция.
Оценка электробезопасности
К факторам, вызывающим опасность травмирования
электрическим током относятся:
• Повышенное напряжение в электрической цепи,
замыкание которой может произойти через тело человека, вызывая электротравмы;
• Аварийные режимы работы оборудования возникает
при повреждением изоляции и замыканием фазы на корпус электрифицированного
оборудования или на землю;
Для защиты в соответствии с ГОСТ 12.1.019-81
предусматривает зануление. Помимо этого для защиты от повышенного напряжения
применяют:
• Изоляцию токоведущих частей оборудования,
размещение их на недоступной высоте, сооружение ограждений от случайного
прикосновения;
• Изолирующие подставки - применяются в качестве
изолирующего основания (диэлектрические коврики).
Оценка акустической безопасности
Повышенный уровень шума на рабочем месте
возникает при обработке резанием. Источники шума можно разделить на
конструкторские и технологические.
Конструкторские источники шума связаны с работой
станка на холостых режимах, связанные с неточностью проектирования станка.
Технологические источники связаны с самим
производственным процессом, истечением струи сжатого воздуха из пневматической
системы.
Длительное нахождение человека в шумном
помещении приводит к снижению слуха, нервно-психическим перегрузкам
(эмоциональные перегрузки). Октавные уровни звукового давления и уровни шума на
рабочем месте не должны превышать значений, указанных в ГОСТе 12.1.003-83
Для снижения уровня шума и его вредного
воздействия следует принимать меры. Такие как, ограждение особо шумного
оборудования звукопоглощающей перегородкой или звукоизолировать
(звукоизолирующие кабины).
Оценка вибробезопасности
На станках возможно возникновение повышенного
уровня вибрации, связанного с движением режущего инструмента и работой
двигателя, то эта вибрация оказывает воздействие на рабочего, обслуживающего
станок. Повышенный уровень вибрации в резонансной или околорезонансной зоне
может быть причиной вибрационной болезни - стойких нарушений физиологических
функций организма, обусловленных воздействием вибраций на центральную нервную
систему.
Следовательно, необходимо применение мер
подавления вибраций и ограничения времени воздействия на человека. К таким
мерам относятся:
• Подкладывание под станок специальных ковриков;
• Длительность рабочей смены не более 8 часов;
• Установление 2 регламентированных перерыва,
учитываемых при установлении нормы выработки длительностью 20 минут через 1-2
часа после начала смены и длительностью 30 минут примерно через 2 часа после
обеденного перерыва;
• Обеденный перерыв длительностью не менее 40
минут примерно в середине смены.
Оценка климатических условий в рабочем помещении
Повышенная или пониженная температура рабочей
зоны, повышенная или пониженная влажность воздуха, повышенная или пониженная
подвижность воздух, являются факторами недопустимыми в рабочем помещении. Эти
факторы могут привести к появлению дискомфортного состояния рабочих.
Допустимые параметры микроклимата должны
соблюдаться в соответствии с ГОСТом 12.1.005 - 88.
Для нормализации температурного режима и
влажности воздуха в помещении используется общеобменная вентиляция. В холодное
время года используется отопление, а в теплое кондиционирование воздуха.
Оценка взрывопожарной безопасности механического
цеха
Возможными источниками возгорания в отделении
цеха является: электрическая искра, электрическая дуга при коротком
замыкании, нагретая стружка.
Воздействие на человека открытого огня вызывает
ожоги различных степеней тяжести. Выделение угарного газа при горение вызывает
затруднение дыхание.
Пожарная безопасность при обработке металлов
резанием обеспечивается:
• Системой предотвращения пожара;
• Системой пожаротушения;
• Противопожарной защитой и
организационно-техническими мероприятиями в соответствии с ГОСТом 12.1.004 - 91
«ССБТ. Пожарная безопасность. Общие требования».
В соответствии с НПБ 105-95 здание относится к
категории «Д». К этой категории относятся производства, в которых обращаются
негорючие вещества и материалы в холодном состоянии (цеха холодной обработки
материалов).
Обеспечение нормативных параметров освещенности
в механическом цехе
Различают следующие виды производственного
освещения: естественное, искусственное и совмещенное. При освещении
производственных помещений используют естественное освещение, создаваемое
прямыми солнечными лучами, рассеянным светом небосвода и меняющемся в
зависимости от географической широты, времени года и суток, степени облачности
и прозрачности атмосферы; искусственное освещение создается, в основном,
электрическими источниками света, и совмещенное освещение, при котором
недостаточное по нормам естественное освещение дополняют искусственным.
Система общего освещения представляет собой
совокупность светильников, расположенных над рабочими местами и питающимися от
сети переменного тока 220В. Она дополняет естественное освещение и заменяет его
в темное время суток. Система оказывает психофизиологическое воздействие на
рабочих, способствует высокой эффективности и безопасности труда, снижает
утомляемость и травматизм, сохраняет высокую работоспособность продолжительное
время.
Естественное и искусственное освещение в
помещениях регламентируется нормами СНиП 23-05-95 в зависимости от характера
зрительной работы, системы и вида освещения, фона, контраста объекта с фоном.
Расчет искусственного освещения в механическом
цехе
Задачей расчета является определение потребной
мощности электрической осветительной установки для создания в помещении
заданной освещенности.
Исходные данные:
Таблица 1
|
Размеры
и параметры
|
а
|
b
|
h
|
E
|
l
1
|
l
2
|
l
3
|
P
1
|
P
2
|
|
Величина
измерения
|
м
|
м
|
м
|
лк
|
м
|
м
|
м
|
кВт
|
кВт
|
|
Значение
|
6
|
12
|
7
|
300
|
25
|
15
|
25
|
2
|
0,5
|
Принимаем лампы типа ДРЛ, светильники типа
С35ДРЛ. Длина цеха А = 60 м. Ширина цеха В = 48 м.
Расчет числа и мощности ламп светильников
Установка и расположение светильников
определяется параметрами:- расчетная высота,- расстояние между соседними
светильниками,- расстояние от крайних светильников до стен.
Распределение освещенности по площади поля
существенно зависит от типа светильника и отношения:
λ =
.
Для заданного типа светильника С35ДРЛ величина λ
= ( 0,6 ÷ 1,0 ).
Расстояние между лампами выбираем кратным
расстоянию между колоннами.
В соответствии с размерами цеха предварительно
выбираем расстояние между светильниками L, м:
L = λ ∙ h = ( 0,6 ÷ 1,0 ) ∙
7
Принимая во внимание расстояние между колоннами
и учитывая что расстояние светильников от стен или рядов колонн принимается в
пределах 0,3 ÷ 0,5 L выбираем L = 6 м и
подсчитываем количество светильников в одном пролете: N = 18 св. А затем
количество светильников в цехе N = 78.
Определяем индекс помещения i:
=
=
=
3,8
Определяем коэффициент использования η:
для этого необходим индекс помещения i и
коэффициенты отражения поверхностей помещения. Для упрощения используем таблицу
2 для наиболее распространенных коэффициентов отражения.
Таблица 2
|
Тип
КСС
|
Индекс
помещения, i
|
|
Г-1
|
0,6
|
0,8
|
1,25
|
2,0
|
3,0
|
5,0
|
|
η
|
0,35
|
0,45
|
0,6
|
0,63
|
0,68
|
0,77
|
Принимаем η = 0,70
Определим необходимый световой поток ламп:
Ф =
,
лм
где: Е - заданная минимальная освещенность; z -
отношение E
/E
;
- коэффициент запаса; η - коэффициент
использования; - освещаемая площадь.
Коэффициент запаса k можно принять равным 1,1; z
для ламп типа ДРЛ принять равным 1,15.
= 60 ∙ 48 = 2880 м
;
Ф =
=
21685,7 лм.
По световому потоку выбираем ближайшую
стандартную лампу из табл.3. Световой поток не должен отличаться от расчетного
в пределах минус 10 и плюс 20 %.
Таблица 3
|
Тип
лампы
|
Мощность,
Вт
|
Напряжение,
В
|
Ток,
А
|
Ф,
лм
|
|
ДРЛ
400
|
400
|
135
|
3,25
|
23000
|
Для заданных пролетов размещение светильников
производим по углам площадки со сторонами L
×
L
= 6 × 6 м.
Определение расчетной нагрузки
Расчетная нагрузка
-
это нагрузка по которой производим расчет электрической сети. Для осветительных
установок расчетная нагрузка примерно равна установленной мощности:
=
∙
;
=
,
где: N - количество светильников;
р - мощность лампы одного светильника;
- коэффициент
спроса.
Для производственных зданий, состоящих из
отдельных крупных пролетов, коэффициент спроса
принимаем
равным 0,95.
=
72 ∙ 400 ∙ 0,95 = 27360 Вт.
Рис.1. План размещения светильников в
механическом цехе
Таким образом, для обеспечения оптимальной
освещенности на рабочем месте необходимо установить 72 лампы светильника типа
С35ДРЛ общей мощностью 27 360 Вт.
ОБЕСПЕЧЕНИЕ ЭКОЛОГИЧЕСКОЙ БЕЗОПАСНОСТИ ПРИ
ЭКСПЛУАТАЦИИ ПГУ-1000
В ходе эксплуатации паротурбинный блок, как
известно, оказывает серьезное воздействие на окружающую среду. К таким
воздействиям следует отнести:
. Выбросы вредных веществ в атмосферу
. Сброс сточных вод ТЭС
. Загрязнение твердыми отходами
. Шумовое загрязнение
. Тепловые выбросы
Тепловая электростанция с установленной на ней
спроектированной турбиной оказывает существенное влияние на воздушный бассейн в
районе расположения. В результате сгорания органического топлива в дымовых
газах образуются углекислый газ СО2, водяные пары Н2О, азот N2, сера в виде
окислов SO2 (сернистый газ) и SO3 (серный ангидрид) и летучая зола. К числу
токсичных составляющих относятся окислы серы SО3 и SO2, оксид углерода СО и
летучая зола. Около 99% в окислах серы составляет SO2.
Кроме указанных компонентов при высоких
температурах в топочной камере образуется некоторое количество токсичных
окислов азота в виде NO, NO2, N2O4, N2O5 и др.
Основное количество углерода выбрасывается в
форме СО2 и не относится к числу токсичных компонентов, но в глобальном
масштабе может оказывать некоторое влияние на состояние атмосферы и даже климат
планеты. Оксид углерода СО является токсичным компонентом, однако при
рационально построенном процессе горения он выбрасывается в незначительном
количестве.
Согласно ГОСТ 17.2.1.01 - 76 выбросы в атмосферу
классифицируют:
по агрегатному состоянию вредных веществ в
выбросах. Это газообразные и парообразные (SO2, СО, ΝОх,
углеводороды и др.); жидкие (кислоты, щёлочи, органические соединения, растворы
солей и жидких металлов); твёрдые (свинец и его соединения, органическая и
неорганическая пыль, сажа, смолистые вещества и др.);
по массовому выбросу выделяют 6 групп, т/сут:
- не менее 0,01;2 - 0,01 ÷
0,1;3 - 0,1 ÷ 1,0;
- 1,0 ÷ 10;5 - 10 ÷ 100;6 - свыше
100.
При неполном сгорании топлива в продуктах
сгорания могут содержаться также углеводороды, окись углерода СО и некоторые
другие компоненты. Зола ряда органических топлив может иметь повышенную
токсичность и содержать мышьяк, свободную двуокись кремния, свободную окись
кальция. Зола мазутов содержит, в частности, окисел ванадия V2O5.
Для уменьшения выбросов золы применяются
различные золоуловители, которые классифицируются следующим образом:
Механические золоуловители (циклон)
Мокрые золоуловители (скруббер)
Электрофильтры
В качестве меры борьбы с выбросами с окислами
серы и азота применяется предварительное обессеривание топлива и переработка
сернистых топлив сжиганием на ТЭС(газификация).
Даже после очистки содержание вредных веществ в
сотни раз превышает ПДК. Для снижения концентрации до приемлемых величин
применяют рассеивание из высотных труб, за счет турбулентного перемешивания с
огромной массой воздуха концентрация снижается до норм ПДК.
В дипломной работе предлагается использовать для
рассматриваемой энергетической установки современную технологию CCS (CO2
Capture and Storage), которая заключается в удержании углекислого газа из
топлива до его непосредственного использования в камере сгорания газовой
турбины и его последующем захоронении. Технология CCS широко применяется в ряде
современных энергоблоков в США и Европе на установках с внутрицикловой
газификацией угля (IGCC - Integration Gasification Combined Cycle).
Принципиальная схема такого энергоблока приведена на рис.
Рис. Базовая схема IGCC электростанции с
получением Н2 и захоронением СО2. Использование мембран, удерживающих СО2
Существует два принципиальных варианта реализации
такой схемы. Первый, изображенный на рисунке выше, представляет собой
парогазовую установку с внутрицикловой газификацией угля и мембранным реактором
конверсии с мембранами, извлекающими СО2 из очищенного синтез-газа. Второй
вариант заключается в использовании реактора конверсии с мембранами,
удерживающими водород. Для доставки водорода в цикл ПГУ и контроля его
стехиометрической температуры горения применяется продувка азотом той части
реактора, куда попадает адсорбированный водород. Остальная часть очищенного
синтез-газа подвергается дополнительному процессу рафинирования и все
удержанные горючие элементы возвращаются в цикл, а СО2 подвергается ожижению и
захоронению. Принципиальная схема такой установки приведена на рис.
Рис. Базовая схема IGCC электростанции с
получением Н2 и захоронением СО2. Использование мембран, удерживающих Н2
Газификаторы угля делают возможным получение
водорода достаточно высокого давления, чтобы его можно было использовать в
мембранных реакторах конверсии. В отличие от электростанций, использующих
реформинг природного газа для получения Н2, где применение Н2-мембран более
целесообразно, мембраны, извлекающие СО2 могут составить конкуренцию
Н2-мембранам на электростанциях с газификацией угля, т.к. они обеспечивают
дополнительную конверсию СО.
Использование энергетических установок с
удержанием и захоронением СО2 может значительно сократить загрязнение
окружающей среды и предотвратить опасность глобального потепления.
Одним из факторов взаимодействия ТЭС с водной
средой является потребление воды системами технического водоснабжения, в т.ч.
безвозвратное потребление воды. Основная часть расхода воды в этих системах
идёт на конденсацию пара в конденсаторах паровых турбин. Остальные потребители
технической воды (системы золо- и шлакоудаления, химводоочистки, охлаждения и
промывки оборудования) потребляют около 7% общего расхода воды. В тоже время
именно они являются основными источниками примесного загрязнения. Например, при
промывке поверхностей нагрева котлоагрегатов серийных блоков ТЭС мощностью 300
МВт образуется до 10 000 м3 разбавленных растворов соляной кислоты, едкого
натра, аммиака, солей аммония.
Кроме того, сточные воды ТЭС содержат ванадий,
никель, фтор, фенолы и нефтепродукты. На крупных электростанции расход воды,
загрязнённой нефтепродуктами (масла и мазут), доходит до 10-15 м3/ч при среднем
содержании нефтепродуктов 1-30 мг/кг (после очистки). При сбросе их в водоёмы
они оказывают пагубное влияние на качество воды, водные организмы.
Сжигание на электростанциях многозольного
топлива с невысокой теплотой сгорания приводит к выходу большого количества
золошлаковых материалов, требующих утилизации и минимизации их вредного
воздействия на окружающую среду. На большинстве ныне существующих тепловых
электростанциях зола и шлак удаляются гидравлическим способом. Для этого
требуется выделение значительных площадей земли под золоотвалы. Территория
золоотвалов абсолютно не пригодна для эффективного использования в сельском
хозяйстве и в промышленности. Основной путь решения проблемы создание системы
отпуска золошлаковых материалов потребителям для различных нужд.
В решении общей проблемы снижение вредных
воздействий энергоустановок на окружающую среду существенное значение
приобретают вопросы борьбы с шумом. Основное и вспомогательное оборудование ТЭС
является, как правило, источником шума. Это оборудование, расположенное внутри
главного корпуса, воздействует только на обслуживающий персонал ТЭС, и борьба с
шумом от такого оборудования относится к вопросам охраны труда. Однако, имеются
источники шума, которые могут воздействовать на район, расположенный за
пределами территории ТЭС. Эта проблема имеет особое значение для ТЭЦ,
расположенных в районе жилой застройки больших городов, где нормы допустимого
уровня шума приняты значительно более жесткими, чем в цехах электростанции.
Остро стоит проблема борьбы шумами от тягодутьевых устройств на ТЭС большой
мощности. Несмотря на то, что дымососы и дутьевые вентиляторы установлены на
уровне земли, звук от них распространяется по газовоздухопроводам, как по
волноводам, к месту забора воздуха вентиляторов и устью дымовых труб у
дымососов, а оттуда по воздуху в окружающий район. Поскольку звук
распространяется прямолинейно, то исключительное значение имеет высота
расположения источника над уровнем земной поверхности. Чем выше расположен
источник звука, тем на больший район вокруг ТЭЦ он может оказывать воздействие.
Для борьбы с шумом из высотных источников
используют шумоглушитель. Так в газоходах между дымососом и дымовой трубой
устанавливают плоский шумоглушитель. Дымовые газы, двигаясь в каналах, в
которых размещены плиты с шумопоглощающим материалом, снижают свою звуковую
мощность до необходимого уровня.
Снижение звуковой мощности достигается
использованием труб с газоотводящим стволом конической формы с прижимной
кирпичной футеровкой или вентилируемым зазором.
На ТЭС наблюдается выделение огромного
количества тепла в окружающую среду. Тепловые потери происходят:
с охлаждающей водой;
с уходящими газами;
потери от горячих частей турбины, паропроводов,
котла,
Количество охлаждающей конденсаторы воды
превышает количество конденсирующегося пара примерно в 40-70 раз. Температура
охлаждающей воды при этом повышается по крайней мере на 8-10°С, т. е. имеет
место тепловое загрязнение водоемов. В настоящее время еще нет четких и единых
технических и экологических решений полезного использования «тепловых сбросов»
в связи с чем на большинстве электростанций создаются оборотные системы охлаждения
конденсаторов турбин.
Температура уходящих газов составляет 120-170°С.
Тепло выноситься в окружающую среду с частицами золы сбрасываемых из дымовой
трубы. В настоящее время происходит развитие различных способов использование
низкопотенциального тепла. Постоянно снижается температура уходящих газов, и
как следствие снижаются тепловые выбросы.
Паропроводы, паровпуск, корпус турбины имеют
температуру примерно равную температуре острого пара, которая составляет 540°С.
Методом борьбы с тепловыми потерями, в данном случае, является теплоизоляция
горячих частей турбины.
Расчёт теплоизоляционного покрытия паропровода
острого пара
В спроектированной паротурбинной установке
максимальную температуру будет иметь поверхность паропровода острого пара. В
качестве теплоизоляционного покрытия паропровода выбраны известково-кремнистые
сегменты.
В связи с необходимостью создания запаса толщины
слоя изоляции, пренебрегаем в расчёте сопротивлением теплоотдачи теплоносителя
к стенке паропровода.
Коэффициент теплопроводности материала изоляции
- средняя
температура слоя изоляции
н. из. - наружная температура изоляции tmeпл -
температура теплоносителя.
Полное термическое сопротивление:
Удельные линейные потери:
Толщина изоляции:

турбина водород уголь газификация
Рис. Толщина теплоизоляции трубопровода
ВЫВОДЫ
Рассчитанная система освещения обеспечивает
требуемый уровень освещенности токарного цеха.
Для снижения тепловых выбросов применена
тепловая изоляция. Для обеспечения температуры наружной изоляции tн.из.=20°С
необходимо и достаточно изоляция толщиной 248мм.
Соблюдение приведенных выше норм по охране труда
обеспечивает безопасные условия труда работникам и существенно снижает
загрязнение окружающей среды.
СПИСОК ЛИТЕРАТУРЫ
1.
Щегляев А.В. Паровые турбины. Теория теплового процесса и конструкции турбин //
Учебник для вузов в 2 кн. // М.: Энергоатомиздат, 2006
.
Справочник технолога - машиностроителя. В 2-х т. / А.Г. Косилова, Р.К.
Мещерякова // М.: Машиностроение, 2008
.
Паровые и газовые турбины // Учебник для вузов / М.А. Трубилов, Г.В. Арсеньев и
др. // М.: Энергоатомиздат, 2007
.
Шпильрайн Э.Э., Малышенко С.П., Кулешов Г.Г. (2006) Введение в водородную
энергетику.
.
Дытнерский Ю.И. Мембранное разделение газов. 2008г.
.
Тимашев С.Ф. Физика-химия мембранных процессов. 2006 г.
.
Методические указания к расчету газификатора. Наздратенко. 2007 г. НГТУ.