Повышение энергетической эффективности судовой энергетической установки
Содержание
Введение
1. Выбор и обоснование задач дипломного проекта
1.1 Анализ роли судов проекта Р18А в транспортном процессе
1.2 Анализ технического уровня оборудования СЭУ
1.3 Анализ мероприятий, направленных на повышение энергетической
эффективности СЭУ
1.4 Постановка задач дипломного проекта
2. Модернизация судовой главной энергетической установки
2.1 Обоснование и выбор главных двигателей
2.2 Разработка принципиальной схемы валопровода
2.3 Расчет на прочность основных элементов валопровода
2.4 Разработка рекомендаций по использованию СГЭУ
3. Модернизация судовой вспомогательной энергетической установки
3.1 Расчет судовой электростанции
3.2 Выбор и обоснование режимов работы электрогенерирующих
устройств
3.3 Расчет судовой котельной установки
3.4 Выбор оптимальной схемы теплоэлектроснабжения
4. Модернизация систем обслуживающих СЭУ
4.1 Расчет и модернизация топливной системы
4.2 Расчет и модернизация системы смазки
4.3 Расчет и модернизация системы охлаждения
4.4 Расчет и модернизация системы сжатого воздуха
4.5 Расчет и модернизация системы газовыпуска
5. Разработка мероприятий по повышению энергетической эффективности
сэу и комплектующего оборудования
5.1 Оценка возможности использования теплоты охлаждающей воды
5.2 Оценка возможности использования теплоты отработавших газов
5.3 Оценка возможности использования тепловых аккумуляторов
6. Безопасность жизнедеятельности и охрана труда
6.1 Экологическая безопасность и охрана окружающей среды. Анализ
условий труда плавсостава теплохода проекта Р18А
6.2 Охрана труда. Расчёт уровней вибрации опорных поверхностей
дизеля 6ЧН30/38 в октавных полосах частот и выбор виброизоляторов
Выводы
6.3 Безопасность жизнедеятельности. Оценка пожароопасной обстановки
в населенном пункте
6.3.1 Общие сведения
6.2.2 Исходные данные для оценки пожароопасной обстановки в
населенном пункте
6.2.3 Оценка пожароопасной обстановки
6.2.4 Анализ полученных результатов
6.2.5 Рекомендации по предотвращению пожара на судне
6.2.6 Действия экипажа при пожаре на судне
Литература
Введение
В условиях роста цен на топливно-энергетические ресурсы
проблема их рационального использования стоит перед всем народным хозяйством
страны. Один из путей ее решения на речном флоте состоит в повышении
экономичности судовых энергетических установок (СЭУ). Повышение эффективности
топливосжигания на дизельных и газотурбинных судах достигается: повышением
коэффициента полезного действия (КПД) отдельных элементов (двигателей, турбин,
компрессоров), входящих в энергетическую установку (ЭУ), путем улучшения их
конструкции и применения более совершенных схем; повышением начальных
параметров термодинамического цикла путем применения более жаропрочных
материалов и оптимальных систем охлаждения; совершенствованием тепловых схем
дизельных и газотурбинных ЭУ посредством рационального использования теплоты
отработанных газов двигателей и охлаждающей воды в утилизационных установках;
грамотной технической эксплуатацией ЭУ.
Оптимальное использование вторичных энергоресурсов (ВЭР) в
теплоутилизационных контурах является одним из основных средств повышения
технико-экономических показателей перспективных судовых энергетических
комплексов.
На речном флоте осуществляется широкая программа работ по
решению этой проблемы. Среди них особое внимание уделяется совершенствованию
технической эксплуатации судов в аспекте повышения экономичности их
энергетических установок.
Речной транспорт - неотъемлемая составная часть транспортной
системы России и его развитию присущи те же тенденции, что и развитию
транспортной системы в целом. Такими тенденциями являются: ресурсосбережение;
повышение надежности, безопасности и экологической чистоты; повышение
производительности за счет роста грузоподъемности, вместимости, увеличения
скорости перевозок, компьютеризации, механизации и автоматизации, а также снижения
собственной массы транспортных средств; повышение "гибкости" и
мобильности за счет максимальной унификации и стандартизации грузовых единиц
(модулей), обеспечения их технологической совместимости; повышение качества
транспортных услуг, в том числе, комфортности и безопасности пассажирских
перевозок.
Объективно расширение внутренних водных
перевозок можно рассматривать, как развитие транспортной системы страны
согласно приведенным тенденциям, поскольку использование естественных водных
путей создает предпосылки к тому, что полные удельные капитальные вложения в
речной транспорт при прочих равных условиях оказываются в 5-10 раз меньше, чем
в железнодорожный и в 2-5 раз меньше, чем в автомобильный транспорт. В
результате энергоемкость и металлоемкость транспортной продукции при
внутренних водных перевозках становятся заметно нише по сравнению с этими
конкурирующими видами транспорта.
Основными требованиями к судовым
источникам энергии являются: обеспечение необходимой автономности судов;
минимально-допустимое влияние на провозоспособность судов и окружающую среду;
иметь достаточные запасы и обеспечивать возможность пополнения их на судне;
иметь относительно небольшую стоимость, возможность управления процессом
использования и приемлемые затраты на подготовку к использованию в судовых
условиях.
Современное развитие транспортного флота характеризуется
созданием высокопроизводительных грузовых, буксирных и пассажирских судов;
повышением их мощности и скорости хода; оборудованием высокоэффективными и
экономичными механизмами, устройствами, системами, средствами механизации и
автоматизации; стандартизацией и унификацией отдельных механизмов и судовых
энергетических установок в целом.
судовая энергетическая установка
С ростом грузоподъемности и скорости хода судов увеличиваются
их энергооснащенность и мощность главных двигателей. В связи с этим судовые
энергетические установки, затраты на которые составляют около 35% общей
строительной стоимости судов, оказывают большое влияние на
технико-эксплуатационные и экономические показатели флота. Большое значение в
повышении эффективности работы речного транспорта имеет техническая
эксплуатация флота; на нее приходится около 50% расходов, относимых на
себестоимость перевозок грузов и пассажиров.
Объективно расширение внутренних водных
перевозок можно рассматривать, как развитие транспортной системы страны
согласно следующим тенденциям: ресурсосбережение; повышение надежности,
безопасности и экологической чистоты; повышение производительности за счет
роста грузоподъемности, вместимости, увеличения скорости перевозок,
компьютеризации, механизации и автоматизации, а также снижения собственной
массы транспортных средств; повышение "гибкости" и мобильности за
счет максимальной унификации и стандартизации грузовых единиц (модулей),
обеспечения их технологической совместимости; повышение качества транспортных
услуг, в том числе, комфортности и безопасности пассажирских перевозок.
Тем не менее, потенциальные возможности
внутренних водных перевозок используются крайне неэффективно. Несмотря на то,
что в стране имеется огромная сеть естественных водных путей общей
протяженностью около 2,5 млн. км, для регулярного судоходства
используется около 5%.
Мероприятия по улучшению экологических
характеристик дизелей обычно реализуются совместно с работами по повышению
топливной экономичности и надежности и включают малотоксичные регулировки
топливной аппаратуры (например, уменьшение угла опережения впрыска топлива),
промежуточное охлаждение наддувочного воздуха, отключение части цилиндров на малых
нагрузка: '', использование водо-топливных эмульсий и различных присадок к
топливу (например, присадки "Продукт - 42").
Снижение трудоемкости технического
обслуживания и ремонта дизелей достигается повышением их надежности,
эксплуатационной технологичности и приспособленности к проведению
ремонтно-профилактических работ, а также совершенствованием системы
технического обслуживания и ремонта (СТОиР) двигателей. Перспективы развития
СТОиР дизелей связываются:
- на целевом уровне -
с переходом от управления техническим состоянием двигателей к обеспечению
необходимого уровня их эксплуатационной надежности;
- на организационном
уровне - с переходом к стратегии технического обслуживания и ремонта по
состоянию;
- на технологическом
уровне - с адаптивной реализацией процессов обслуживания и ремонта в
зависимости от конкретных условий функционирования двигателей.
Такое совершенствование СТОиР базируется на компьютеризации
процессов анализа и принятия решений и развитых системах диагностирования
дизелей.
Экономический эффект использования тепловой энергии топлива в
целом для всего судна зависит не только от эффективного КПД главных двигателей,
он определяется также затратами энергии на привод вспомогательного
оборудования, систему теплоснабжения и т.п. Рациональное использование отходов
тепла дизелей на судах может дать значительную экономию топлива, что позволит
снизить себестоимость перевозки грузов.
1. Выбор и
обоснование задач дипломного проекта
1.1 Анализ
роли судов проекта Р18А в транспортном процессе
Темой настоящего дипломного проекта является модернизация
энергетической установки буксирного теплохода проекта Р-18А, типа
"БАЙКАЛ" (рис.1.1). Это большие буксиры класса "река-море"
советской постройки 60-х гг. Однопалубный двухвинтовой буксир с удлиненным
баком. Предназначен для буксировки плотов-сигар по озеру Байкал. Спроектирован
ЦТКБ. Головное судно "Байкал" построено на судоверфи имени
Ярославского в 1967 году. Краткая характеристика судна проекта Р18А приведена в
табл.1.1 и 1.2.
Рис.1.1 Буксирное судно проекта Р18А
Таблица 1.1
Характеристики судна проекта Р18А
|
№
|
Параметры,
единицы измерения
|
Численные
значения
|
|
1
|
Класс
|
М
|
|
2
|
Размерения
корпуса, м: длина ширина
|
41 9,0
|
|
3
|
Водоизмещение,
т
|
541
|
|
4
|
Мощность, кВт
|
883
|
|
5
|
Осадка, м
|
3,1
|
|
6
|
Скорость, км/ч
с составом порожнем
|
5 21
|
|
7
|
Тяговое усилие,
кН
|
149
|
|
8
|
Число мест для
экипажа
|
21
|
|
9
|
Автономность,
сут.
|
10
|
|
10
|
Тип движителя
|
Гребной винт в
насадке
|
|
11
|
Количество
движителей
|
2
|
|
12
|
Диаметр винта,
м
|
1,8
|
|
13
|
Шаг винта, м
|
1,52
|
|
14
|
Сухая масса
СЭУ, т
|
48,0
|
|
15
|
Габариты
машинного отделения, м: длина ширина
|
10 9
|
Таблица 1.2
Характеристика основных элементов ЭУ судна проекта Р18А
|
№
|
Элементы ЭУ и
их параметры, единицы измерения
|
Численные
значения
|
|
1
|
ГЛАВНЫЕ
ДВИГАТЕЛИ
|
|
Количество
|
2
|
|
Марка
|
8НВД48АУ
|
|
Номинальная
эффективная мощность, кВт
|
442
|
|
Номинальная
частота вращения коленчатого вала, мин-1
|
330
|
|
Род топлива
|
Моторное;
дизельное
|
|
Удельный
эффективный расход, кг/ (кВт×ч):
топлива масла
|
0,224 0,00168
|
|
2
|
ГЛАВНАЯ
ПЕРЕДАЧА МОЩНОСТИ
|
|
Тип
|
Прямая
|
|
3
|
СУДОВАЯ
ЭЛЕКТРОСТАНЦИЯ
|
|
Количество
дизель-генераторов
|
2
|
|
Марка
дизель-генераторов
|
ДГ-100-3
|
|
Марка дизеля
|
6Ч18/22
|
|
Номинальная
эффективная мощность, кВт
|
110
|
|
Номинальная
частота вращения коленчатого вала, мин-1
|
750
|
|
Удельный
эффективный расход топлива, кг/ (кВт×ч):
|
0,234
|
|
Удельный
эффективный расход масла, кг/ (кВт×ч):
|
0,00136
|
|
4
|
КОТЕЛЬНАЯ
УСТАНОВКА
|
|
Марка
автономного котла (тип)
|
КОАВ-200
|
|
Количество
|
1
|
|
Теплопроизводительность,
кДж/ч
|
840000
|
|
Расход топлива,
кг/ч
|
21
|
|
Марка
утилизационного котла (котел-глушитель)
|
КАУ-6
|
|
Количество
|
2
|
|
Теплопроизводительность,
кДж/ч
|
302400
|
1.2 Анализ
технического уровня оборудования СЭУ
На основе данных табл.1.1 и 1.2 выполняется расчет
показателей установки судна (табл.1.3):
эффективной мощности главной ЭУ, судна проекта Р18А
,
где х и Ре - количество и номинальная эффективная
мощность главного двигателя СЭУ судна в кВт;
энергооснащенности судна проекта Р18А
,
где Q - водоизмещение судна в полном грузу, т;
энергонасыщенности по отношению к:
длине машинного отделения (МО) судна проекта Р18А
где Рв - мощность вспомогательных двигателей СЭУ, кВт;
Lмо - длина МО в м;
площади МО судна проекта Р18А
где Sмо - площадь МО в м2;
энергоемкости работы судна проекта Р18А
,
где Мп = 10× Rt = 10 × 149 = 1490 (Rt - тяговое усилие, кН); V - скорость
судна с составом, км/ч;
удельной массы ЭУ судна проекта Р18А
,
где Gмо - сухая масса энергетической установки судна
проекта Р18А (см. табл.1.1), т;
КПД судового (пропульсивного) комплекса судна проекта Р18А
где be - удельные эффективные расходы главных
двигателей судна проекта; hп - КПД главной передачи судна проекта Р18А
- прямой передачи hп = 1,0; hв -
КПД валопровода, принимаем hв = 0,98; hпр
- пропульсивный КПД, принимаем hпр = 0,5;
Таблица 1.3
Показатели энергетической установки судна проекта Р18А
|
№ п. п
|
Наименование
показателя, единицы измерения
|
Численные
значения
|
|
1
|
Эффективная
мощность главной ЭУ, кВт
|
883
|
|
2
|
Энергооснащенность,
кВт/т
|
1,634
|
|
3
|
Энергонасыщенность
по отношению к: длине МО, кВт/м; площади МО, кВт/м2
|
110,4 12,3
|
|
4
|
Энергоемкость
работы судна, кДж/ (т×км)
|
427,2
|
|
5
|
Удельная масса
ЭУ, кг/кВт
|
54,3
|
|
6
|
КПД судового
комплекса
|
0,1853
|
Поскольку заданием предусмотрено повышение энергетической
эффективности ЭУ, то решать ее целесообразно в первую очередь за счет установки
более совершенных главных двигателей, которые в первую очередь определяют
эффективность СЭУ.
1.3 Анализ
мероприятий, направленных на повышение энергетической эффективности СЭУ
Доля расходов на топливо в общих
эксплуатационных затратах на судно составляет 25-30% и возрастает с увеличением
грузоподъемности и скорости хода судна, агрегатной мощности главных и
вспомогательных дизелей. Поэтому снижение расхода топлива является одной из
главных задач, решаемых на этапах проектирования и эксплуатации теплоходов.
Экономичность каждого из элементов
дизельной энергетической установки (ДЭУ) оценивается его КПД и в различной
степени отражается на экономичности ДЭУ в целом.
Для транспортного судна, энергия,
используемая по прямому назначению на перевозку, сохранение грузов и
обслуживание пассажиров, относится к полезной, а энергия, затрачиваемая на
обслуживание главных и вспомогательных дизелей, экипажа и судна в целом, - к
потерям.
Современные ДЭУ оборудуются турбогенераторами,
работающими на паре от утилизационного котла (УК), вакуумными
водоопреснительными установками (ВОУ), использующими тепло воды, охлаждающей
дизели, валогенераторами, гидроприводом вспомогательных механизмов (ВМ). При
этом не только уменьшаются расходы топлива, масла, но повышается ресурс
вспомогательных дизелей, котлов.
Экономичность ДЭУ во многом зависит от
согласования режимов работы механизмов, их технического состояния,
использования средств утилизации, рационального распределения расходов топлива
на главные и вспомогательные потребители. Всё это отражается на КПД установки.
Исходя из этого под КПД установки понимается отношение полезной энергии,
потребляемой на транспортные расходы (перевозка, подготовка и сохранение груза,
и обслуживание пассажиров), ко всей энергии, затрачиваемой на установку.
К возможным путям увеличения КПД установки
относят повышение КПД главных двигателей и снижение потерь энергии в передаче.
Однако экономичность главных дизелей оказывает решающее влияние на КПД
установки, так как доля расхода топлива на этот потребитель является
наибольшей. В то же время режим работы с максимальным КПД главных дизелей не
обязательно соответствует максимуму КПД установки. При увеличении частоты
вращения КПД установки растёт до тех пор, пока приращение доли расхода топлива
на главные дизели преобладает над уменьшением эффективного КПД главного дизеля.
Максимум КПД установки достигается при больших частотах вращения, чем максимум
эффективного КПД главных дизелей.
При уменьшении частоты вращения КПД
установки снижается быстрее эффективного КПД главных дизелей из-за уменьшения
доли расхода топлива на главные дизели.
Решающим фактором повышения эффективного
КПД главных дизелей являются:
дальнейшее форсирование дизелей на основе
совершенствования систем газообмена и наддува и повышение КПД
турбокомпрессоров;
использование конструкций, допускающих
организацию рабочего цикла с высоким значением максимального давления сгорания
Pz;
применение длинноходовых и
сверхдлинноходовых дизелей с прямоточно-клапанной продувкой (отношение S/D =
2.5-3.85);
согласование эксплуатационных режимов с
характеристикой удельного расхода топлива, be= f (n);
применение керамики и композитных
материалов, ограничивающих теплообмен между газом и стенками цилиндра;
использование энергии выпускных газов в
силовых турбинах комбинированных дизелей.
Дальнейшее повышение экономичности на 2 -
3 % путём согласования эксплуатационных режимов с характеристикой ben
является результатом совместного действия конструктивных и эксплуатационных факторов.
Одним из средств повышения КПД судовых
дизелей и ДЭУ в целом, как отмечалось выше, является применение силовой
турбины. При КПД турбокомпрессора hта >0.65 необходимые
параметры наддува (давление и расход воздуха) можно получить, направляя в турбину
не весь поток газов, а только его часть (90% и более). Остальной газ
параллельным потоком отводится в силовую турбину, связанную через муфту и
редуктор с валом дизеля. Соответствующая автоматика управляет газоперепускным
клапаном и муфтой. При снижении мощности дизеля до 55% клапан закрывается,
муфта отключается, и весь газ направляется в наддувочный турбокомпрессор. Таким
образом, осуществляется своеобразное регулирование мощности турбокомпрессора,
улучшение параметров наддува и экономичности дизеля во всём диапазоне
эксплуатационных режимов.
Дальнейшее повышение КПД установок после
мероприятий, связанных с увеличением КПД главных дизелей и передач, может быть
осуществлено путём глубокой утилизации тепловых потерь и применяемых способов
привода вспомогательных механизмов.
Утилизация тепловых потерь в главных, а в
некоторых случаях и вспомогательных дизелей, позволяет существенно уменьшить
расходы топлива на вспомогательные потребители. Часть энергии выпускных газов
традиционно используется в утилизационных котлах для получения водяного пара. В
зависимости от системы охлаждения газов и способа использования пара возможны
различные схемы утилизации:
) Пар от утилизационного котла во время
хода направляется в систему подогрева топлива, воды, воздуха и на другие нужды,
т.е. происходит замена вспомогательного котла утилизационным, в которых из-за
ограниченной производительности срабатывается 1/3 - 1/2 часть располагаемой
теплоты газов (в этом случае такие системы называют системами частичной
утилизации).
2) Основная часть пара используется в утилизационной
паротурбинной установке, работающей по циклу Ренкина (утилизационный
турбогенератор вырабатывает электроэнергию, идущую на привод вспомогательных
механизмов, освещение и другие потребители); в этом случае утилизационная
установка во время хода полностью или частично замещает вспомогательные дизели
и в связи с повышенной производительностью котлов утилизируется большая часть
(2/3 - 3/4) располагаемой теплоты газов и такие системы называются системами
глубокой утилизации.
3) Излишки пара не сбрасываются в
конденсатор, а в виде избыточной энергии на режимах полного хода (Nегд
>50%) передаются на винт. В этом случае совместная работа главного дизеля и
утилизационного турбогенератора на винт осуществляется через механизм отбора
избыточной мощности турбогенератора на редуктор главной передачи. При этом
автоматически обеспечивается стабилизация частоты вращения генератора в рабочем
диапазоне частот вращения главного дизеля. В такой схеме кроме утилизации части
теплоты наддувочного воздуха, предусматривается возможность дополнительного
отбора теплоты выпускных газов путём генерирования пара низкого давления,
направленного в последнюю ступень турбины.
) Утилизация энергии выпускных газов
силовой турбины, работающей совместно с валогенератором главного дизеля на
замещение вспомогательных дизелей. В высокоэкономичных судовых дизелях с низкой
температурой газов за турбиной (220.240°С) такая схема позволяет рационально
сочетать простые схемы утилизации с высокой топливной экономичностью, низкой
стоимостью, малыми затратами на обслуживание установки. В этом случае
энергетический КПД установки повышается вследствие совместного воздействия на
эффективный КПД главного дизеля и снижения расхода энергии на вспомогательное
потребление.
Наиболее широкое распространение получила
первая схема утилизации тепловых потерь. Но из-за малых расходов пара и
отсутствия постоянных потребителей эффективность её ограничена, особенно при
плавании в летнее время или в тропических районах.
Реализация схемы глубокой утилизации с валогенератором
возможна при использовании высокофорсированных четырёхтактных дизелей, которые
имеют повышенную температуру выпускных газов. При условии полного замещения
вспомогательных дизелей и вспомогательных котлов избыточная мощность
утилизационного турбогенератора на режимах полного хода (Nегд >50%)
может превышать потребности судна в электроэнергии в 2 - 3 раза.
В современных ДЭУ используются и схемы
утилизации второй основной потери тепла главных дизелей - тепла охлаждающей
воды.
Вода, вышедшая из дизелей, может
использоваться как греющая среда в различных теплообменных аппаратах
(подогревателей воды, топлива, масла), в испарителях котловой и питьевой воды,
а иногда и для отопления. Однако достаточно широкое применение нашли пока
только вакуумные водоопреснительные установки, которые дают возможность
"срабатывать" значительный теплоперепад и достигать существенного
экономического эффекта. Расчёты и опыт показывают целесообразность
приготовления пресной воды в рейсе из забортной для увеличения грузоподъёмности
судна и повышения КПД установки. Расход тепла на водоопреснительные установки
для сухогрузного теплохода составляет 1.7-2.8 % расхода тепла на главный
двигатель и возрастает до 2-3.4 % для танкера в связи с большими расходами
пресной воды на питание котлов.
Наиболее экономичными являются вакуумные
водоопреснительные установки поверхностного типа. Расход электроэнергии на ВОУ
такого типа составляет 4-6 кВт/ч на тонну дистиллята (для безповерхностных
12-15 кВт/ч). В качестве греющей среды используется охлаждающая вода главных
дизелей с температурой 60 - 65°С. Испарение забортной воды происходит при
низкой температуре 30 - 40°С и соответствующем давлении 0.0043-0.0075 МПа, что
обеспечивает высокую надёжность и малое накипеобразование. Испаритель подключён
параллельно к водоохладителю главного дизеля. Это даёт возможность поддержать
оптимальные температуры воды в системе охлаждения независимо от режима работы
испарителя и использовать его как резервное средство охлаждения пресной воды в
случае выхода из строя основного водоохладителя. Возможна и последовательная
схема включения. По выходе из испарителя температура пресной воды понижается на
5-15°С и возвращается в систему охлаждения дизеля за водоохладителем. Забортная
вода подаётся в конденсатор испарителя из напорной магистрали забортной воды.
Температура её по выходе из конденсатора повышается на 4 - 8°С. Испаритель
питается забортной водой от эжекторного насоса через измерительное устройство
(ротаметр). Расход забортной воды, подаваемой в камеру испарения в 3 - 4 раза
больше производительности испарителя. При нормальной работе испарителя
содержание хлоридов не превышает 6 мг/л. Допускаемая температура забортной воды
28 - 30°С.
На режиме полного хода в испаритель
направляется часть охлаждающей пресной воды, так что используемое тепло
составляет примерно 1/4 располагаемого. Повышение КПД дизельной энергетической
установки при использовании тепла охлаждающей воды в вакуумном испарителе
оценивается условно исходя из предложения, что при его отключении такое же
количество дистиллята получается в обычном испарителе, работающем на паре от
вспомогательного котла.
К числу потерь энергии в ДЭУ относятся и
потери в приводе вспомогательных механизмов (ВМ). В ДЭУ транспортных теплоходов
подавляющее число ВМ, в том числе и обслуживающих главные дизели, имеют
автономный привод от электродвигателей. В ДЭУ малой мощности часто применяют
дизели с навешенными механизмами. Несмотря на ряд конструктивных и
эксплуатационных достоинств, для автономного электрического привода характерны
сравнительно низкий КПД. Потери в передаче, состоящие из потерь в генераторах,
в сети и электродвигателях, составляют 20 - 35 % от передаваемой мощности.
Учитывая, что КПД вспомогательных дизелей ниже КПД главных, поэтому становится
ясным проявление практического интереса к схемам привода механизмов от
валогенераторов. Чаще всего использование валогенераторов отмечается в
многомашинных ДЭУ с винтом регулируемого шага. Через муфту сцепления и
повышающий редуктор они связываются с главной редукторной передачей и на
режимах n=const полностью обеспечивают установку электроэнергией (коэффициент
замещения вспомогательных дизелей Кп=1). Использование
валогенератора даёт экономию топлива, соизмеримую с экономией, получаемой от
утилизации тепла выпускных газов.
1.4
Постановка задач дипломного проекта
В современных условиях совершенствование СЭУ осуществляется
по следующим основным направлениям:
повышение надежности и безопасности установок;
улучшением энергетической эффективности и экологической
чистоты.
Предметом рассмотрения дипломного проекта является главным
образом энергетическая эффективность СЭУ.
Для достижения поставленной цели предусматривается:
. Замена ГД на более совершенные с более низкими
удельными расходами топлива;
2. Разработка систем, обеспечивающих работу ГД;
. Разработка судового валопровода и его элементов;
. Разработка вспомогательной энергетической установки;
. Выполнение обоснования эксплуатационных режимов
работы СЭУ;
. Разработка комплексных мероприятий по повышению
энергетической эффективности СЭУ;
. Разработать технологический процесс монтажа ГД;
. Разработать мероприятия по охране труда и
безопасности жизнедеятельности;
. Выполнить технико-экономическое обоснование проекта.
2.
Модернизация судовой главной энергетической установки
2.1
Обоснование и выбор главных двигателей
Целью данного раздела является обоснование и выбор главных
двигателей и выбор типа главной передачи.
Исходными данными при выборе главных двигателей являются:
мощность главной энергетической установки (ЭУ) судна Ру; количество
и частота вращения движителей nд.
Поскольку заданием предусмотрено повышение энергетической
эффективности СЭУ, то мощность главной энергетической установки остается
прежней, однако главные двигатели должны быть заменены на более совершенные.
Количество главных двигателей следует принимать равным числу их судна,
указанного в задании.
Развитие мирового дизелестроения выделило основные пути
совершенствования дизелей: стабильный рост среднего эффективного давления,
снижение расхода топлива, повышение надежности двигателей.
Теплоход проекта Р18А имеет силовую
установку, состоящую из двух двигателей внутреннего сгорания марки 8НВД48АУ
(8ЧРН32/48) мощностью 442 кВт каждый при 330 об/мин. Двигатели
восьмицилиндровые, четырехтактные с наддувом. Один двигатель правого вращения,
второй - левого. Управление двигателями централизованное, из рулевой рубки.
Кроме того сохранена возможность управления главными двигателями из моторного
отделения, не нарушая регулировки централизованного управления. Пуск двигателей
- воздушный.
Двигатели 8НВД48АУ морально устарели. В
качестве альтернативы этим двигателям можно рассмотреть применение двигателей
фирмы ОАО "Коломенский завод" марки 6ЧНР30/38 мощностью 442 кВт при
330 об/мин, т.к. они приспособлены работать на тяжелом топливе и двигатели типа
6ЧНСП18/22-600 мощностью 530 кВт при 1000 об/мин. Оба двигателя уже
устанавливались на некоторых речных судах.
Для обоснования марки главного двигателя необходимо выбранные
двигатели сравнить с установленными на судне по комплексному параметру качества
К0 = а1 × р / рмах + а2
× mmin / m + а3 × bmin / be
+ а4 × bеmin / b + a5 × г / гмах + a6
× j / 1 + a7 × cmin / c,
где К0 - комплексный параметр качества дизеля; р =
Ре / (I × s × h) - удельная мощность дизеля,
кВт/м3; Ре - номинальная эффективная мощность дизеля,
кВт; I, s и h - длина, ширина и высота дизеля в м; рмах -
максимальное значение удельной мощности среди рассматриваемых двигателей, кВт/м3;
m = М / Ре - удельная масса дизеля, кг/кВт; М - масса дизеля, кг; mmin
- минимальное значение удельной массы среди рассматриваемых двигателей, кг/кВт;
be - удельный эффективный расход топлива дизеля, кг/ (кВт×ч); bеmin -
минимальное значение удельного эффективного расхода топлива среди
рассматриваемых двигателей, кг/ (кВт×ч); b - удельный
эффективный расход масла дизеля, кг/ (кВт×ч); bmin -
минимальное значение удельного эффективного расхода масла среди рассматриваемых
двигателей, кг/ (кВт×ч); г - ресурс дизеля до капитального ремонта,
тыс. ч; гмах - максимальное значение ресурса среди рассматриваемых
двигателей, тыс. ч; j - условный показатель рода топлива, используемого дизелем
(для тяжелого топлива j = 1, а для легкого (дизельного) - j = 0); c = 0,77 × [ (Ре0,87 × г0,48) / (be1,58
× b0,23) ] - стоимость дизеля; cmin
- минимальное значение стоимости среди рассматриваемых двигателей; а1
(i = 1¸7) - коэффициенты весомости (åа1 =1). При
выборе двигателей для крупных транспортных судов можно принимать а1 =
0,1; а2 = 0,12; а3 = 0,24; а4 = 0,14; а5 =
0, 19; а6 = 0,14; а7 = 0,07. Сопоставление удобно
производить в табличной форме, приведенной в табл.2.1.
Таблица 2.1
Сопоставление параметров судовых дизелей
|
Наименование
параметра,
|
Марка дизеля
|
|
единицы
измерения
|
8НВД48АУ
|
6ЧНР30/38
|
6ЧНСП18/22-600
|
|
ИСХОДНЫЕ ДАННЫЕ
|
|
Номинальная
эффективная мощность, кВт
|
442
|
442
|
463
|
|
Ном. частота
вращения коленчатого вала, мин-1
|
330
|
330
|
1000
|
|
Реверсивность
|
1
|
1
|
0
|
|
Род топлива
|
1
|
1
|
0
|
|
Удельный
эффективный расход топлива, кг/ (кВт×ч)
|
0,224
|
0, 204
|
0,220
|
|
Удельный
эффективный расход масла, кг/ (кВт×ч)
|
0,0017
|
0,0011
|
0,00095
|
|
Ресурс до
капитального ремонта, тыс. ч
|
36
|
75
|
50
|
|
Габаритные
размеры, м: длина* ширина *высота
|
5,15х1,76х 2,16
|
4,2х1,6х 2,51
|
4, 19х1,09х
2,165
|
|
Масса, кг
|
19045
|
17000
|
6650
|
|
РАСЧЕТНЫЕ
ДАННЫЕ
|
|
Удельная
мощность, кВт/м3
|
22,58
|
31,03
|
46,83
|
|
Удельная масса,
кг/кВт
|
43,09
|
28,81
|
14,36
|
|
Стоимость
|
39686,1
|
78552,1
|
56904,6
|
|
ОТНОСИТЕЛЬНЫЕ:
|
|
|
|
|
Удельная
мощность, а1 ×
р / рмах
|
0,048
|
0,066
|
0,100
|
|
Удельная масса,
а2 × mmin
/ m
|
0,040
|
0,060
|
0,120
|
|
Удельный расход
топлива, а3 × bmin
/ be
|
0,219
|
0,240
|
0,223
|
|
Удельный расход
масла, а4 × bеmin
/ b
|
0,078
|
0,121
|
0,140
|
|
Ресурс, a5
× г / гмах
|
0,091
|
0, 190
|
0,127
|
|
Род топлива
|
1
|
1
|
0
|
|
Стоимость, a7
× cmin / c
|
0,070
|
0,035
|
|
КОМПЛЕКСНЫЙ
ПОКАЗАТЕЛЬ КАЧЕСТВА
|
0,608
|
0,731
|
0,618
|
|
Тип главной
передачи
|
Прямая
|
Прямая
|
Реверс-редуктор
|
|
КПД СУДОВОГО
КОМПЛЕКСА
|
0,1853
|
0, 2035
|
0,1830
|
1. Реверсивному дизелю присваивается 1, а
нереверсивному - 0.
. Для дизеля, работающего на моторном и дизельном топливе,
присваивается 1, а только на дизельном топливе - 0.
В качестве главного двигателя судна следует выбирать дизель,
имеющий наибольшее значение комплексного параметра. При равных значениях К0
предпочтение отдается дизелю, который в составе главной ЭУ имеет больший КПД
судового комплекса hск. На основе анализа данных табл.2.1 выбираем
двигатель 6ЧНР30/38, так как в этом случае получаем большее значение К0 =
0,731 и большое значение hск = 0, 2035.
При изменении скорости движения судна (увеличение или
уменьшение мощности главного двигателя) необходимо новую мощность согласовать с
работой гребного винта, т.е. определить основные его элементы. В
рассматриваемом проекте мощность двигателя, диаметр винта и обороты гребного
вала остаются неизменными. Поэтому согласование производить не нужно.
2.2
Разработка принципиальной схемы валопровода
Судовой валопровод является одним из основных элементов СЭУ и
служит для передачи механической энергии от ГД к движителю, а также передачи
развиваемого движителем упора корпусу судна. Нарушение работоспособности
валопровода приводит к снижению скорости хода судна или полной потере хода.
Ремонты валопровода в большинстве случаев требуют вывода судна из эксплуатации
и постановки его в док. В связи с этим к надежности валопровода предъявляются
особо высокие требования.
В разрабатываемой установке применена прямая передача.
Валопроводы имеют уклон 0°52’ по отношению к основной линии и идут
параллельно диаметральной плоскости. Каждый движительный комплекс состоит
(рис.2.1) из гребного вала 8 защищенного кожухом 4, ленточного тормоза 11,
дейдвудной трубы 7 с уплотнением 6 дейдвуда в водонепроницаемой переборке 5,
кормовой опоры 3 гребного вала, гребного винта 2 с обтекателем 1, кормового
опорного роликового подшипника 9, опорного шарикового подшипника 15
проставочного вала 16 присоединенного к маховику двигателя, упорного шарикового
подшипника 12, и упорного вала 13, а также эластичной муфты 14. Гребной и
упорный валы соединены с помощью конической муфтой 10.
При расположении винта на консоли длиной l2 в м
2 = (1,6÷3,3) dг + (2,5÷3) dг / 2 = 2 × 0,175 + 2,5 × 0,175/2 = 0,57 м.
Рис.2.1 Схема валопровода
Длина дейдвудного пролета l1 в м
,
где dг - диаметр гребного вала, м, предварительно
принимаем dг = 0,175 м;
λ - коэффициент, принимаемый λ = 14 т.к. n ≤ 500 мин - 1,n
- номинальная частота вращения гребного вала (с учетом того, что передача
прямая), мин-1, n = 330 мин-1.
Принимаем длину дейдвудного пролета вала l1
м.
По Правилам Регистра валы судовых валопроводов должны
изготовляться из стальных поковок с временным сопротивлением 430-690 МПа. В
качестве материала для валов можно использовать сталь Ст5 с временным
сопротивлением dв - 500¸600 МПа и пределом
текучести δт = 260¸290 МПа. Выбираем сталь
Ст5.
Диаметры валов для СЭУ с четырехтактными главными двигателями
должны быть не менее в мм:
промежуточного dпр и упорного dу для
судов классов "М" и "О"
у = dпр = 24,7 × [ (Рпр× (1+0,4× km) / nпр] 1/3 = 24,7× [ (442 × (1 + 0,4×1,15)
/ 5,5] 1/3 = 143 мм;
упорного в районе
гребня
у` = 1,1 dпр = 1,1 × 143 = 157 мм;
гребного dг
dг =
1,1 dпр + kг × Dв = 1,1 × 143 + 7 × 1,86 = 174 мм,
где Рпр
- номинальная мощность, передаваемая промежуточным валом, кВт;m -
коэффициент, учитывающий неравномерность крутящего момента и принимаемый равным
для 6 цилиндровых четырехтактных ДВС 1,15, для 8 цилиндровых - 1,0, принимаем km
= 1,4;пр - номинальная частота вращения промежуточного вала, с-1,
принимаем равной частоте вращения главного двигателя с учетом передаточного
числа редуктора, т.к. реверс-редукторная передача nпр = 330/60 = 5,5
с-1;г - коэффициент, принимаемый равным для валов без
облицовки 10, с облицовкой 7, принимаем вал с облицовкой, следовательно kг
= 7;в - диаметр гребного винта, м, Dв = 1,86 м.
Найденные
диаметры валов округляются в большую сторону до значений, оканчивающихся на 5
или на 0. Поэтому окончательно принимаем dу = 145 мм; dу`
= 160 мм; гребного dг = 175 мм.
2.3 Расчет на
прочность основных элементов валопровода
Расчет валов на прочность выполняется по приведенным
напряжениям dп с помощью следующей формулы:
dп = (d02 + 3tк2) 1/2 < dт /кэ,
где dо = dсж + dи +30 - наибольшие
нормальные напряжения сжатия, МПа;
dсж = 0,001 N/ dв2 -
напряжение сжатия от упора движителя, МПа;
dи = 0,01 Миз / dв3
- наибольшее напряжение при изгибе, МПа;
tк = 0,0008 Рв / (nв × dв3)
- напряжения кручения, МПа;
кэ - запас прочности, принимаемый равным для
промежуточного вала 2,8, а для гребного - 3,15;
= 0,85 Рен × ηп × ηв × ηпр / V = 0,85 × 442 × 1,0 × 0,98 × 0,5/1,39 = 143 - упор
движителя, кН;
Рен - номинальная мощность главного двигателя,
кВт, Рен = 442 кВт;
Рв -
номинальная мощность, передаваемая валом, кВт, Рв = 442 кВт;в
- номинальная частота вращения вала, с-1, nв = 330/60 =
5,5 с-1;в - диаметр рассчитываемого вала, м;- скорость
судна, м/с, V = 5/3,6 = 1,39 м/с;
Миз =
l2 × (0,42 × Dв3 + 30 × l2
× dг2) = 0,57 × (0,42 × 1,863
+ 30× 0,57 × 0,1752)
= 0,71 -
максимальный
изгибающий момент на гребном вале в кН×м при расположении винта на консоли длиной l2 в м.
Производим расчет
гребного вала диаметром dг = dв = 0,175 м, для него
dп = (d02 +
3tк2) 1/2
= (36,02 + 3× 13,22)
1/2 = 42,6 < 260 / 3,15 = 82,54,где dо =
dсж + dи +30 = 4,7 + 1,3 + 30 = 36,0 МПа;
dсж = 0,001 N/ dв2 = 0,001 × 143/ 0,1752 = 4,7 МПа;
dи = 0,01 Миз / dв3 = 0,01 × 0,71/0,1753 = 1,3 МПа;
tк = 0,0008 Рв / (nв × dв3) = 0,0008 × 442/ (5,5 × 0,1753)
= 13,2 МПа;
кэ -
запас прочности, для гребного - 3,15.
Условие
прочности для гребного вала выполняется.
Производим расчет
промежуточного вала диаметром dу = dв = 0,145 м, для него
dп = (d02 +
3tк2) 1/2
= (39,12 + 3× 23,22)
1/2 = 56,1 < 260 / 2,8 = 93,где dо = dсж + dи +30 = 6,8 + 2,3 + 30 = 39,1 МПа;
dсж = 0,001 N/ dв2 = 0,001 × 143/ 0,1452 = 6,8 МПа;
dи = 0,01 Миз / dв3 = 0,01 × 0,71/0,1453 = 2,3 МПа;
tк = 0,0008 Рв / (nв × dв3) = 0,0008 × 442/ (5,5 × 0,1453)
= 23,2 МПа;
кэ -
запас прочности, для промежуточного - 2,8.
Условие
прочности для промежуточного вала выполняется.
Необходимый запас
по критической частоте вращения гребного вала обеспечивается, если
× [ (1 - 3,3 × l23/l13)
× (1+0,014 Dв / l2 × dг 2)] × dг / (l12
× nг) =
= 123000 × [ (1 - 3,3 × 0,57 3/4,183)
× (1+0,014 × 1,86/0,57 × 0,175
2)] × 0,175/ (4,182 × 330) =
72,6 ³ 1,2,
где l2
и l1 - длина дейдвудного пролета и консоли гребного вала, м;г -
номинальная частота вращения гребного вала, мин-1.
Необходимый
запас по критической частоте обеспечен.
Проверке гребного
вала на продольную устойчивость подлежат валы, у которых
мах ≥ 20 dг = 20 × 0,175 = 3,5 м,
где lмах
- максимальная длина дейдвудного пролета вала, м, выше определено lмах
= l1 = 4,18 м.
Проверка
необходима.
Для таких валов
необходимый запас по продольной устойчивости обеспечивается, если
× dг4/lмах2
= 104500000 × 0,1754/4,182 = 5600
> 2,75N = 2,75 × 143 = 393.
Условие
продольной устойчивости соблюдается.
2.4
Разработка рекомендаций по использованию СГЭУ
В п.2.1 дипломного проекта была обоснована замена главных
двигателей 8НВД48 мощностью 442 кВт при 330 мин-1 на двигатели
6ЧНР30/38 мощностью 486 кВт при 330 мин-1.
Для обоснования области эксплуатационных режимов работы
главных двигателей 6ЧНР30/38 выполняем расчет ограничительных характеристик
главных двигателей (табл.2.2).
Таблица 2.2
Расчет координат ограничительных характеристик судовых
дизелей
|
Наименование
параметра, единица измерения
|
Численное
значение
|
|
ИСХОДНЫЕ ДАННЫЕ
|
|
Марка дизеля
|
6ЧНР30/38
|
|
Номинальная
эффективная мощность Рен, кВт
|
486
|
|
Ном. частота
вращения коленчатого вала nе, мин-1
|
330
|
|
Механический
КПД на номинальном режиме h
|
0,92
|
|
РАСЧЕТНЫЕ
ДАННЫЕ
|
|
Доля ном.
частоты вращения коленчатого вала
|
1,0
|
0,9
|
0,8
|
0,6
|
0,4
|
0,3
|
|
Дол. частота
вращения коленчатого вала n, мин-1
|
330
|
297
|
264
|
198
|
132
|
99
|
|
Адаптивная
поправка к КПД Dh
|
0
|
0,05
|
0,06
|
0,07
|
0,15
|
0,2
|
|
КООРДИНАТЫ
ОГРАНИЧИТЕЛЬНЫХ ХАРАКТЕРИСТИК:
|
|
Внешней
номинальной мощности Рв
|
486
|
463
|
419
|
323
|
235
|
186
|
|
По тепловой
напряженности (a = const) Pa
|
486
|
421
|
356
|
227
|
97
|
32
|
|
По механической
напряженности (Мкр = const) Pм
|
486
|
437
|
389
|
292
|
194
|
146
|
|
КООРДИНАТЫ
ВИНТОВЫХ ХАРАКТЕРИСТИК:
|
|
Облегченной Ро
|
389
|
283
|
199
|
84
|
25
|
10
|
|
Нормальной Рн
|
486
|
354
|
249
|
105
|
31
|
13
|
|
Швартовой Рш
|
1485
|
1083
|
760
|
321
|
95
|
40
|
Координаты характеристик определяем с помощью следующих
зависимостей:
внешней номинальной мощности
ограничительной по тепловой напряженности
ограничительной по механической напряженности
винтовой облегченной
винтовой нормальной и винтовой швартовой
где Р0,6 - значение координаты внешней характеристики
номинальной мощности при n = 0,6×ne.
Для обоснования возможных режимов работы главных двигателей в
эксплуатации по рассчитанным координатам строим ограничительные и винтовые
характеристики, рис.2.2.
Рис.2.2 Обобщенные характеристики главного двигателя 6ЧНР30/38
Совмещение характеристик позволяет установить область
эксплуатационных режимов работы главных двигателей, которая для двигателя
6ЧНР30/38, как двигателя с наддувом, ограничивается: сверху: часть линий
швартовой характеристики и ограничительной по тепловой напряженности (a = const); справа: линией номинальной
частоты вращения коленчатого вала;
снизу: линией облегченной винтовой характеристики; слева: линией
минимально-устойчивой частоты вращения коленчатого вала (обычно 0,3 nе).
Для выбора рационального режима работы главных двигателей
выполняем расчет изменения их параметров при работе главных двигателей СЭУ по
винтовой характеристике (табл.2.3).
Таблица 2.3
Расчет параметров главных двигателей по винтовой характеристике
|
Наименование
параметра, единица измерения
|
Численное
значение
|
|
ИСХОДНЫЕ ДАННЫЕ
|
|
Марка дизеля
|
6ЧНР30/38
|
|
Номинальная
эффективная мощность Рен, кВт
|
486
|
|
Ном. частота
вращения коленчатого вала nе, мин-1
|
330
|
|
Удельный эф.
расход топлива be, кг/ (кВт×ч)
|
0, 204
|
|
Низшая уд.
теплота сгорания топлива Qн, кДж/кг
|
42500
|
|
Механический
КПД на номинальном режиме h
|
0,92
|
|
Внутренний
диаметр цилиндра D, м
|
0,30
|
|
Ход поршня S, м
|
0,38
|
|
Число цилиндров
z
|
6
|
|
Тактность tт
|
2
|
|
РАСЧЕТНЫЕ
ДАННЫЕ
|
|
Доля ном.
Частоты вращения коленчатого вала
|
1,0
|
0,9
|
0,8
|
0,6
|
0,4
|
0,3
|
|
Дол. частота
вращения коленчатого вала n, мин-1
|
330
|
297
|
264
|
198
|
132
|
99
|
|
Адаптивная
поправка к КПД Dh
|
0
|
0,05
|
0,06
|
0,07
|
0,16
|
0,2
|
|
Мощность
двигателя на режиме Рд, кВт
|
486
|
354
|
249
|
105
|
31
|
13
|
|
Эффективный КПД
на режиме hд
|
0,415
|
0,432
|
0,432
|
0,422
|
0,426
|
0,420
|
|
Удельный эф.
расход топлива beд, кг/ (кВт×ч)
|
0, 204
|
0, 196
|
0, 196
|
0, 199
|
0, 202
|
0, 202
|
|
Часовой расход
топлива Вд, кг/ч
|
99,1
|
69,4
|
48,8
|
21,1
|
6,2
|
2,6
|
|
Среднее эффективное
давление Рм, МПа
|
1,645
|
1,332
|
1,053
|
0,592
|
0,263
|
0,148
|
Показатели главных двигателей на долевых режимах определяем с
помощью зависимостей:
долевая мощность
эффективный КПД на режиме
удельный расход топлива на режиме
часовой расход топлива
среднее эффективное давление на режиме
По результатам расчетов строим графики изменения показателей
главных двигателей при их работе по винтовой характеристике, рис.2.3.
Рис.2.3 Изменение параметров главного двигателя при работе по
винтовой характеристике
По графику на рис.2.3 находим наиболее экономичный режим работы
двигателей (bед = bедmin = 0, 196 кг/ (кВт×ч)) и графически определяем значения
параметров на этом режиме: Рм = 1,33 МПа; Вд = 69,4 кг/ч;
hд = 0,437; Рд = 354 кВт.
3.
Модернизация судовой вспомогательной энергетической установки
3.1 Расчет
судовой электростанции
Судовая электростанция генерирует электроэнергию необходимых
параметров и распределяет ее между судовыми потребителями в соответствии с
режимами работы судна. Она должна обеспечивать бесперебойное снабжение
электроэнергией высокого качества всех ответственных потребителей на всех
режимах работы судна и удовлетворять требованиям простоты, удобства
обслуживания, высокой надежности при минимально возможных начальной стоимости,
массе, габаритах и эксплуатационных затратах.
Расчет мощности судовой электростанции производят в следующей
последовательности:
· Выбирают в соответствии с Правилами
Регистра [6] род тока и напряжение.
Они могут быть с одной стороны едиными для всей
электростанции, но с другой различными для отдельных групп потребителей.
· Делят всех потребителей электроэнергии по
назначению: палубные механизмы (рулевая машина, брашпиль, шпиль и др.),
механизмы обслуживающие машинное отделение (компрессоры, масляный насос, насос
топливный, вентиляторы и др.), а так же общесудовые механизмы (насос
осушительный, пожарный, насос заборной воды, сигнализация и связь и др.).
· Составляют таблицу загрузки
электростанции, в которой указываются все потребители. Согласно Правилам
Регистра основными режимами работы судна являются: ходовой, стоянка в порту,
маневровый режим (снятие с якоря), аварийный (возникновение пожара, получение
судном пробоины). Кроме того, для отдельных судов могут быть введены
дополнительные режимы.
· На основании таблицы загрузки выбирается
количество и мощность электрогенераторов.
В соответствии с Правилами Регистра в качестве основного тока
принимаем переменный ток, со следующими характеристиками: напряжением 230 В и
частотой 50 Гц.
При расчете нагрузки судовой электростанции вначале считаем
номинальную мощность потребителя, Pn, кВт, которая выражается из
формулы коэффициента использования мощности электродвигателей потребителей:
и = Pn / Pd,
где Pn и Pd - номинальные мощности
потребителя и его электродвигателя, кВт, задаваясь коэффициентом использования
kи = 0,85 ÷ 1, и зная мощность
электродвигателя потребителя Pd, можем найти номинальную мощность
потребителя, Pn, кВт, по следующей формуле:
n = kи · Pd
Далее считаем потребляемую мощность, кВт:
Активную
∑P = kи · Pd · ny / ηd
Реактивную
∑Q = Pd · ny · tgφ / ηd
Выбирая коэффициент загрузки kз считаем потребную
мощность на режиме, квар:
активную
реж = kо · kз · kи ·
Pd · ny / ηd,
где kо - коэффициент одновременности работы
потребителей, считается по формуле:
о = nyр / ny,
где nyр и ny - количество одноименных
потребителей, работающих на режиме и установленных на судне.
реактивную
реж = kо · Pd · ny ·
tgφ / ηd
Коэффициент общей одновременности можно принимать равным:
для постоянно работающих потребителей Кос =
0,9;
для периодически работающих потребителей Коп =
0,6;
для эпизодически работающих потребителей Коэ =
0,3.
Суммарная мощность потребителей на режиме:
постоянно работающих:
активная мощность
∑Pрс = 0,9 · ∑P режс,
кВт;
реактивная мощность
∑Q рс = 0,9 · ∑Q режс,
квар;
где ∑P режс и ∑Q режс,
∑P режп и ∑Q режп, ∑P
режэ и ∑Q режэ - суммы активной и
реактивной мощности постоянно, периодически, эпизодически работающих групп
потребителей на режиме, соответственно в кВт и квар.
периодически работающих
активная мощность
∑Pрп = 0,6 · ∑P режп,
кВт;
реактивная мощность
∑Q рп = 0,6 · ∑Q режп,
квар;
эпизодически работающих
активная мощность
∑Pрэ = 0,3 · ∑P режэ,
кВт;
реактивная мощность
∑Q рэ = 0,3 · ∑Q режэ,
квар;
с учетом всех потерь в сети
активная мощность
Робщ = 1,05 · (∑Pрс + ∑Pрп
+ ∑Pрэ), кВт;
реактивная мощность
общ = 1,05 · (∑Q рс + ∑Q
рп + ∑Q рэ), квар,
Полная мощность на режиме
общ = (Робщ2 + Q общ2)
1/2, кВ · А.
Мощность электростанции может быть рассчитана приближенными
методами по эмпирическим формулам, полученным в результате обработки
статистических данных. Более точно ее определяют по таблицам загрузки
потребителей на основных режимах [1].
3.2 Выбор и
обоснование режимов работы электрогенерирующих устройств
На основании данных табл.3.1 для обеспечения судовых
потребителей электроэнергией нужна судовая электростанция состоящая из двух
дизель-генераторов ДГ-100-3 электрической мощностью по 88 кВт. Она питает сеть
напряжением 220 В переменного тока. На ходу и на стоянке потребности судна в
электроэнергии удовлетворяет один дизель-генератор (второй - резервный).
Дизель-генератор ДГ-100-3 состоит из двигателя 6Ч18/22 и
генератора переменного тока, соединенных эластичной муфтой и смонтированных на
общей фундаментной раме. Фундаментные рамы дизель-генераторов устанавливаются
на судовых фундаментах с помощью резиновых амортизаторов.
Двигатель 6Ч18/22 - четырехтактный, нереверсивный, тронковый,
вертикальный, без наддува. Мощность двигателя номинальная - 110 кВт. Частота
вращения коленчатого вала - 750 об/мин. Диаметр цилиндра - 180 мм. Ход поршня -
220 мм. Число цилиндров - 6. Удельный расход топлива - 234 г/ (кВт×ч). Род топлива -
дизельное по ГОСТ 305-82. Удельный расход масла - 1,36 г/ (кВт×ч). Масло дизельное М-10Г2ЦС
ГОСТ 12337-84.
Система пуска - сжатым воздухом. Один двигатель правого
вращения и другой - левого.
Генератор - синхронный. Трехфазного переменного тока,
морского исполнения со статической системой возбуждения.
Мощность номинальная - 88 кВт.
Частота вращения коленчатого вала - 750 об/мин.
Напряжение номинальное - 230 вольт.
Дистанционный пульт и блок автоматики обеспечивают
дистанционный пуск, дистанционную и аварийную остановку дизель-генератора, а
также контроль и сигнализацию приближения или наступления аварийного режима в
работе дизеля.
Время необслуживаемой работы дизель-электрического агрегата
16 часов.
Для выбора рационального режима работы вспомогательных
двигателей выполняем расчет изменения их параметров при работе
дизель-генераторов по нагрузочной характеристике (табл.3.1).
Показатели вспомогательных двигателей на долевых режимах
определяем с помощью зависимостей:
долевая эффективная мощность
эффективный КПД на долевом режиме
удельный расход топлива на режиме
часовой расход топлива
Таблица 3.1. Расчет параметров вспомогательных двигателей по
нагрузочной характеристике
|
Наименование
параметра, единица измерения
|
Численное
значение
|
|
ИСХОДНЫЕ ДАННЫЕ
|
|
Марка дизеля
|
6Ч18/22
|
|
Номинальная
эффективная мощность Рен, кВт
|
110
|
|
Ном. частота
вращения коленчатого вала nе, мин-1
|
750
|
|
Удельный эф.
расход топлива be, кг/ (кВт×ч)
|
0,234
|
|
Низшая уд.
теплота сгорания топлива Qн, кДж/кг
|
42500
|
0,82
|
|
Внутренний
диаметр цилиндра D, м
|
0,18
|
|
Ход поршня S, м
|
0,22
|
|
Число цилиндров
z
|
6
|
|
Тактность tт
|
2
|
|
РАСЧЕТНЫЕ
ДАННЫЕ
|
|
Доля
номинальной эффективной мощности б
|
1
|
0,9
|
0,8
|
0,6
|
0,4
|
0,3
|
|
Долевая
эффективная мощность Ре, кВт
|
110
|
99
|
88
|
66
|
44
|
33
|
|
Адаптивная
поправка к КПД на дол. режиме Dhе
|
0
|
0,02
|
0,01
|
-0,03
|
-0,08
|
-0,12
|
|
Эффективный КПД
на долевом режиме hд
|
0,362
|
0,362
|
0,350
|
0,314
|
0,262
|
0,224
|
|
Удельный расход
топлива beе, кг/ (кВт×ч)
|
0,234
|
0,234
|
0,242
|
0,270
|
0,323
|
0,378
|
|
Часовой расход
топлива Вде, кг/ч
|
25,7
|
23,2
|
21,3
|
17,8
|
14,2
|
12,5
|
|
Среднее
эффективное давление Рме, МПа
|
0,524
|
0,472
|
0,419
|
0,314
|
0,210
|
0,157
|
среднее эффективное давление на режиме
По результатам расчетов строим графики изменения показателей
вспомогательных двигателей при их работе по нагрузочной характеристике, рис.3.1
По графику находим наиболее экономичный режим работы (bед = bедmin
= 0,234 кг/ (кВт×ч)) и
графически определяем значения параметров на этом режиме: Рме =
0,472 МПа; Вде = 23,2 кг/ч; hд = 0,362;
Рд = 99 кВт.
Рис.3.1 Изменение параметров дизель-генератора при работе по
нагрузочной характеристике
3.3 Расчет
судовой котельной установки
Для обоснования схемы теплоснабжения судна предварительно
определяется потребность в этом виде энергии на ходовом режиме. Наиболее
распространенными источниками теплоты на речных судах являются вспомогательные
котельные установки. Для удовлетворения потребности в теплоте в ходовом режиме
на судах с главными двигателями мощностью более 200 кВт, как правило,
устанавливаются водогрейные или утилизационные котлы, использующие теплоту
выпускных газов главных двигателей. Потребность судна в теплоте на стоянках
удовлетворяется автономными котлами, работающими на жидком топливе. Сорт
топлива, используемого автономными котлами и главными двигателями, обычно
одинаков.
На судне проекта Р18А система водяного отопления включает в
себя водогрейный вспомогательный котел КОАВ-200 и два водогрейных газотрубных
утилизационных котла КАУ-6.
Расход теплоты на отопление помещений определяется по
уравнению
от = 25100 + 63 × Ру = 25100 +
63 × 883 = 80792 кДж/ч.
Расход теплоты на санитарно-бытовые нужды находим по формуле
сб = nэк × (qвм + qвп)
= 21 × (1880 + 400) = 47880 кДж/ч,
где qвм - удельный расход теплоты на приготовление
горячей мытьевой воды, qвм = 1880 кДж/ (чел. ×ч.) [3, 4]; qвп
- удельный расход теплоты на приготовление кипяченой питьевой воды qвп
= 400 кДж/ (чел. ×ч.) [3, 4].
Расход теплоты на подогрев топлива, масла и другие
технические нужды [3, 4]
пт = 0,15 × (Qот + Qсб)
= 0,15 × (80792 + 47880) = 19301 кДж/ч.
Для подсчета общего количества теплоты, потребной на судне
составляем табл.3.3.
Количество теплоты, фактически потребляемой на судне в ходу
подсчитываем по формуле
х = 1,1 × кох × SQох = 1,1 × 0,9 × 118378 =
117195 кДж/ч,
где кох - коэффициент одновременности, принимаем
равным кох = 0,9.
Количество теплоты, фактически потребляемой на судне на
стоянке подсчитываем по формуле
с = 1,1 × кос × SQос = 1,1 × 0,8 × 114518 =
100776 кДж/ч,
где кос - коэффициент одновременности, принимаем
равным кос = 0,8.
Таблица 3.3
Расчет количества теплоты, фактически потребляемой на судне
|
Потребители
теплоты
|
Расчетный
расход теплоты Q, кДж/ч
|
Режимы работы
судна
|
|
|
Ходовой
|
Стояночный
|
|
|
Коэффициент
загрузки kзх
|
Потребное
количество теплоты Qох, кДж/ч
|
Коэффициент
загрузки kзс
|
Потребное
количество теплоты Qос, кДж/ч
|
|
Отопление
|
80792
|
0,8
|
64634
|
0,8
|
64634
|
|
Санитарно-бытовые
нужды
|
47880
|
0,8
|
38304
|
0,8
|
38304
|
|
Технические
нужды
|
19301
|
0,8
|
15441
|
0,6
|
11581
|
|
Итого
|
SQох =
118378
|
SQос =
114518
|
|
Количество
фактически потребляемой теплоты
|
Qх =
117195
|
Qс =
100776
|
Для удовлетворения этих потребностей на ходовом режиме
подойдет один водогрейный газотрубный утилизационный котел КАУ-6
теплопроизводительностью 302400 кДж/ч (второй котел - в резерве). На режиме
стоянки - водогрейный автономный котел КОАВ-200.
Автоматизированный котельный агрегат КОАВ-200 имеет
характеристики: котел водогрейный огнетрубный, с горизонтальным расположением
жаровой трубы; теплопроизводительность - 232,6 кВт; поверхность нагрева - 7,0 м2;
давление 0,18 МПа; расход топлива 21 кг/ч; масса без воды - 1150 кг.
Утилизационный котел - глушитель КАУ-6 имеет характеристики:
теплопроизводительность - 302400 кДж/ч; поверхность нагрева -
6,0 м2; масса с водой - 770 кг.
3.4 Выбор
оптимальной схемы теплоэлектроснабжения
Для выбора схемы обеспечения судна тепло - и электроэнергией
рассчитаем значения эффективного КПД hеу по формуле (1) при
возможных вариантах снабжения судна этими видами энергии.
(1)
где Рв и Реb - мощность валогенератора и
дизель-генератора, кВт; e и beb - удельные эффективные
расходы главного и вспомогательного двигателей, кг/ (кВт×ч);
hк - КПД
вспомогательного автономного котла, принимаем hк =
0,8; хв, хb, хк, ху - количество
работающих в ходовом режиме валогенераторов, дизель-генераторов, автономных
котлов и утилизационных котлов; к, Qу -
теплопроизводительность вспомогательного автономного и утилизационного котла,
соответственно.
Результаты расчетов сведены в табл.3.4.
Таблица 3.4
Режимы и схемы тепло- и электроснабжения
|
№
|
Схема тепло - и
электрообеспечения судна
|
Значения
|
hеу
|
|
|
хb
|
хк
|
ху
|
|
|
1
|
ДГ + УК
|
1
|
0
|
1
|
0,380
|
|
2
|
2ДГ + УК
|
2
|
0
|
1
|
0,339
|
|
3
|
2ДГ + 2УК
|
2
|
0
|
2
|
0,350
|
|
4
|
ДГ + АК
|
1
|
1
|
0
|
0,331
|
|
5
|
ДГ + АК
|
1
|
1
|
0
|
0,331
|
|
6
|
2ДГ + АК
|
2
|
1
|
0
|
0,300
|
Принятые обозначения: ДГ - дизель-генератор; АК - автономный
котел; УК - утилизационный котел
Анализ данных табл.3.4 показывает, что наибольшим значениями
эффективного КПД при одновременном обеспечении судна тепло - и электроэнергией
обладает вариант работы 1.
4.
Модернизация систем обслуживающих СЭУ
Для обеспечения нормальной работы двигатели (главные и
вспомогательные) и котельные установка СЭУ оборудуются системами: топливной,
масляной, водяного охлаждения, сжатого воздуха и газовыпуска. Каждая система
может быть подразделена на две части: непосредственно связанную с двигателями и
судовую.
4.1 Расчет и
модернизация топливной системы
Для обеспечения нормальной работы двигатели (главные и вспомогательные)
и котельные установка СЭУ оборудуются системами: топливной, масляной, водяного
охлаждения, сжатого воздуха и газовыпуска. Каждая система может быть
подразделена на две части: непосредственно связанную с двигателями и судовую.
Судовая часть топливной системы СЭУ предназначена для
приема, перекачивания, хранения, подготовки к использованию (очистки, подогрева
высоковязкого топлива) и транспортировки топлива к потребителям. Она состоит из
цистерн, топливоперекачивающих насосов, оборудования для подготовки топлива к
использованию (фильтров, сепараторов, подогревателей) и систем трубопроводов с
арматурой и контрольно-измерительными приборами (КИП).
При использовании на судах тяжелого
топлива применяется двухтопливная система. Пуск дизеля из холодного состояния
осуществляется на дизельном топливе с переключением на тяжелое топливо после
прогрева двигателя. На рис.4.1 приведена схема двухтопливной системы для
двигателя работающего на топочном мазуте М-40 с вязкостью 59 сСт при 80°С. Топливо через наливные
палубные втулки, фильтр грубой очистки поступает в цистерну основного запаса 1
(дизельное топливо) и в цистерны 25 (тяжелое топливо).
Дизельное топливо. Из запасной цистерны 1
дизельное топливо через фильтр грубой очистки 4 и фильтр тонкой очистки 6 топливоперекачивающим
насосом 5 с электроприводом в расходную цистерну 9. Из расходной цистерны 9
через быстрозапорный клапан 11 с дистанционным управлением оно самотеком
поступает к трех ходовому клапану 14, Далее топливо поступает в смесительную
колонку-деаэратор из которой топливо топливоперекачивающим насосом 16 через
топливоподогреватель тяжелого топлива 17, фильтр тонкой очистки 18, датчик
регулятора вязкости 19 подается к топливным насосам высокого давления 20.
Избыток топлива через редукционный клапан по трубопроводу 21 сбрасывается в
смесительную колонку. При необходимости дизельное топливо может быть пропущено
через сепаратор 7.
Тяжелое топливо. Из основного запаса мазут
через фильтр грубой очистки 14 забирается топливоперекачивающим насосом 5 и
пройдя подогреватель 17 поступает в отстойную цистерну 23. Из отстойной
цистерны мазут поступает в сепараторы 7, очищенное топливо направляется в
расходную цистерну тяжелого топлива 22. Оборудование расходной и отстойной
цистерн включает: измерители уровня 10, контрольные уровни перелива 8,
подогреватели топлива 24 и клапаны слива отстоя 12. Из расходной цистерны мазут
через путевой фильтр грубой очистки самотеком направляется к трехходовому
клапану 14. Переход с дизельного топлива на мазут осуществляется переключением
клапана 14. При переходе с одного вида топлива на другой некоторое время дизель
работает на смеси топлив, что обеспечивает нормальный температурный режим.
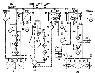
Рис.4.1 Схема топливной системы:
1 - цистерны запаса легкого топлива; 2,3 -
патрубки схемного резервирования перекачивающих насосов; 4 - фильтр грубой
очистки топлива; 5 - топливоперекачивающие насосы; конечный подогреватель
топлива; 6 - фильтр тонкой счистки топлива; 7 - сепаратор; 8 - контрольное окно
перелива; 9 - расходная цистерна легкого топлива; 10 - измеритель уровня; 11 -
запорный клапан; 12 - клапан слива отстоя; 13 - путевой фильтр грубой очистки
топлива; 14 - трехходовой кран; 15 - деаэрационная цистерна; 16 -
топливоподкачивающий насос; 17 - конечный подогреватель топлива; 18 - сдвоенный
фильтр тонкой очистки топлива; 19 - датчик регулятора вязкости; 20 - топливный
насос высокого давления: 21 - труба возврата избытка топлива; 22 - расходная
цистерна тяжелого топлива; 23 - отстойная цистерна; 24 - водогрейный подогрев
топлива; 25 - цистерны запаса тяжелого топлива; 26 - цистерна грязного топлива
Вместимость цистерн в м3 определяется так:
·
запасных
тяжелого топлива (для главных двигателей и автономного котла)
Vэтт = 1,1 (ах×х×be ×Pe + ак×хк×Вк) × τа / ρт =
= 1,1 (0,65×2×0, 204×442 + 0,25×1×21) ×240 / 930 = 38,1 м3;
·
запасных
дизельного топлива (для вспомогательных двигателей)
Vэтд = 0,15 × Vэтт + 1,1 × xb×beb×Peb × τа / ρт =
= 0,15 × 38,1 + 1,1× 2×0,234× 110×240 / 860 = 21,5 м3;
·
расходных
(расходно-отстойных) для главных двигателей
тяжелого топлива Vрт = 1,1×12×х× be × Pe / ρт = 1,1 × 12 × 2 × 0, 204 × 442/930 = 2,81 м3;
расходных для вспомогательных двигателей Vрт = 1,1
× 4× xb × beb × Peb / ρт = 1,1 × 4 × 2 × 0,234 × 110 / 860 = 0,26 м3;
·
расходных
для вспомогательных автономных котлов
Vрт = 1,1 × 4 × хк × Вк / ρт = 1,1 × 4 × 1 × 21/930 = 0,1 м3;
·
сточной
Vст = (0,06¸0,12) × ΣР / 1000 = 0,1 × 1192/1000 = 0,12 м3;
·
аварийного
запаса топлива
Vат = 1,1 × 24 × х × be × Pe / ρт = 1,1 × 24 × 2 × 0, 204 × 442/930 = 5,63 м3,
где х, xb и хк - количество главных
двигателей, вспомогательных двигателей и автономных котлов, для проекта Р18А: х
= 2, xb = 2 и хк = 1;
Pe, Peb и ΣР - номинальные эффективные мощности главного двигателя,
вспомогательного двигателя и суммарная мощность всех дизелей СЭУ, кВт, для
проекта Р18А: Pe = 442 кВт, Peb = 110 кВт и ΣР = 2 × 442 + 2× 110 = 1192 кВт;
be и beb - удельные эффективные расходы
топлива главного и вспомогательного двигателей, кг/ (кВт×ч), из табл.4 и 2,
соответственно, be = 0, 204 и beb = 0,234 кг/ (кВт×ч);
Вк - расход топлива автономного котла, кг/ч, из
предыдущей главы Вк = 21 кг/ч;
1,1 - коэффициент, учитывающий "мертвый" запас
топлива;
8, 12, 4 и 24 - регламентируемая продолжительность
потребления топлива и соответствующих цистерн, ч;
ах - коэффициент ходового времени, принимаем
равным для буксиров 0,65;
ак - коэффициент использования автономного котла,
принимаем равным 0,25;
τа - продолжительность
автономного плавания, ч, из табл.1, τа = 24 × 10 = 240 ч;
ρт - плотность топлива,
принимаемая равной для дизельного топлива - 860 кг/м3, моторного -
930 кг/м3.
В случае, если для главных двигателей и автономных котлов
используется высоковязкое (моторное) топливо, то запас можно принять равным 85%
запаса топлива для главных двигателей и 100% запаса топлива для автономных
котлов.
Остальное (15% запаса топлива для главных двигателей и 100% -
для вспомогательных двигателей) - дизельное топливо.
В соответствии с требованиями Правил Российского Речного
Регистра [5, 6] подача Qнт насоса для перекачивания топлива из
запасных цистерн в расходные определяется:
Qнт = Vрт / τ = 2,81/0,5 = 5,63, м3/ч
где Vрт - вместимость расходной цистерны
(расходно-отстойной) цистерны, м3;
τ = 0,5¸1,0 ч - время ее
заполнения, принимаем τ = 0,5 ч.
Выбираем шестеренный насос ШФ 8-25-5,8/4Б-13 обеспечивающий
подачу 5,8 м3/ч при давлении нагнетания 0,6 МПа, частоте вращения
1450 об/мин, мощности приводного электродвигателя 4,0 кВт, имеющего габариты
848х486х355 мм и сухую массу 83 кг.
Производительность сепаратора Qст в м3/ч
определяется из условия очистки суточной потребности топлива за 8¸12 ч:
главных двигателей (тяжелого топлива)
Qстг = 24 (х × be × Pe) / (8¸12) × ρт =
= 24 (2 × 0, 204 × 442) / (10 × 930) = 0,43 м3/ч;
вспомогательных двигателей (легкого топлива)
Qств = 24 (xb × beb × Peb) / (8¸12) × ρт =
= 24 (2 × 0,234 × 110) / (10 × 860) = 0,144 м3/ч;
Для главных и вспомогательных двигателей подойдет сепаратор
марки НСМ-2 производительностью 0,5 м3/ч, мощностью электропривода
2,2 кВт, габаритами 1050х500х1190 мм и массой нетто 265 кг.
Поверхность теплопередачи подогревателя топлива в м2
определяется:
Fтп = 1,1 (х × be × Pe + хк × Вк) × Ст × δtтп / (3600×kтп × Δtтпср) =
= 1,1 (2 × 0, 204 × 442 + 1 × 21) × 2 × 50 / (3600×0,5 × 16,4) = 0,82 м2;
где хк - количество автономных котлов, из
табл.1.2, хк = 1;
δtт - требуемое повышение
температуры топлива, °С, принимаем δtт = 50°С;
kтп - общий коэффициент теплопередачи от воды к
топливу, кВт/ (м2×К), принимаем kтп = 0,5 кВт/ (м2×К);
Δtтпср = [ (Δtвт` - Δtвт¨)] / (2,3 × lg (Δtвт` / Δtвт¨)) =
= [ (10 - 25)] / (2,3×lg (10 / 25)) = 16,4 °С
среднелогарифмическая разность температур для противоточных
топливоподогревателей, °С;
Δtвт` и Δtвт¨ - разность температур
горячей воды и топлива на входе и выходе из подогревателя, принимаем Δtвт` = 10°С и Δtвт¨ = 25°С;
Ст - теплоемкость топлива (1,8¸2 кДж/ (кг×К)), принимаем Ст
= 2,0 кДж/ (кг×К).
В топливных системах СЭУ широко применяются секционные
подогреватели с трубными пучками и подогреватели типа "труба в
трубе".
4.2 Расчет и
модернизация системы смазки
Масляная система предназначена для
приема, хранения, очистки и подачи масла к потребителям. В ее состав входят:
цистерны, маслоперекачивающие насосы, оборудование для очистки (фильтры,
сепараторы), подогреватели и система трубопроводов с арматурой и КИП. Масло
используется для смазки трущихся деталей главных и вспомогательных механизмов,
а также для отвода тепла, выделяющегося при трении, для охлаждения поршней
двигателей, для питания систем автоматического регулирования.
Давление масла в маслоохладителях должно быть больше давления
охлаждающей воды.
Принципиальная схема масляной установки показана на рис.4.2
Масло в запасную цистерну 11 принимается с главной палубы (с двух бортов), где
размещаются наливные палубные втулки 10. К трубопроводу, выходящему из запасной
цистерны, подключены всасывающие магистрали резервного масляного насоса 12 и
насоса 13 с ручным приводом. Всасывающие магистрали насосов 12 и 13 через
систему трубопроводов и вентилей могут подключаться к трубопроводам цистерны
сепарированного масла 14, сточной 20, маслосборников 2 циркуляционной смазочной
системы главных дизелей, картеров главных 1 и вспомогательных 8 дизелей.
Нагнетательные магистрали насосов 12, 13 через систему
трубопроводов и вентилей позволяют раздельно подавать масло в маслосборники 2,
в картеры вспомогательных дизелей 8, в нагнетательную магистраль
циркуляционного насоса 4, отстойную 15 и сточную 20 цистерны, к упорным
подшипникам 22 и при необходимости через палубные втулки 9 на главную палубу
для выдачи на берег или другим судам.
Главные дизели 1 имеют циркуляционную смазочную систему с
"сухим" картером. Масло из картера дизеля 1 отсасывается насосом 3 и
подается в маслосборник 2, откуда циркуляционным насосом 4 направляется в
фильтр грубой очистки 5 и далее через терморегулятор 6, холодильник 7 или в
обход него в главную распределительную магистраль дизеля на смазку и охлаждение
узлов последнего.
Рис.4.2 Принципиальная схема масляной системы
В случае выхода из строя одного из насосов 3 или 4 включается
резервный насос 12. Прокачка масла перед пуском может осуществляется насосом 12
или насосом 13 с ручным приводом. Свежим маслом система заполняется через
маслосборники 2 резервным или ручным насосом из запасной 11 или цистерны
сепарированного масла 14. Отработавшее масло удаляется через маслосборники 2
самотеком в сточную цистерну 20, которая оборудована змеевиковым подогревателем
21.
Из сточной цистерны масло насосом 12 или 13 подается в
отстойную цистерну 15.
Вспомогательные дизели 8 имеют смазочную систему с
"мокрым" картером. Заполнение системы свежим маслом производится в
картеры дизелей насосом 13 с ручным приводом. Отработавшее масло из картера
сливается самотеком в цистерну 20.
Вместимость цистерн в м3 определяется
запасных
Vэт = [1,1 (ах × х × Сcir × Pe + xb × Сcirb × Peb) × τа + ам × ΣР] / ρм =
= [1,1 (0,65 × 2 × 0,0011 × 442 + 1 × 0,00136 × 110) × 240 + 2,7 × 1192] / 899 = 3,87 м3;
циркуляционных (маслосборников) главных двигателей, при этом
используем значение средней скорости поршня двигателя марки 6ЧНР30/38, имеющего
ход поршня S = 0,38м
cm = S · n / 30 = 0,38 · 330 / 30 = 4,18 м/с.
Полученное значение cm < 6,5 м/с - двигатель
тихоходный, для тихоходных дизелей
Vцмг = (8,5¸13,6) × Pe × 10-4 =
= 10 × 442 × 10-4 = 0,442
м3;
циркуляционных (маслосборников) вспомогательных двигателей,
для них, как для быстроходных дизелей
Vцмв = (5,5¸6,8) × Peb × 10-4 = 6,0 × 110 × 10-4 = 0,066
м3;
·
расходных
(или сепарированного масла)
Vрм = (1,1¸1,5) × Vцмг = 1,2
× 0,442 = 0,583 м3;
·
сточных
и отстойных
Vсм = 1,1 × (ΣVцмг + ΣVцмв) = 1,1 × (0,972 + 0,132) = 1,21 м3,
где Сcir и Сcirb - удельные эффективные
расходы масла главного и вспомогательного двигателей, кг/ (кВт×ч), из табл.4 и 2,
соответственно, Сcir = 0,0011 кг/ (кВт×ч) и Сcirb =
0,00136 кг/ (кВт×ч);
ам - удельная масса масла в сточных цистернах или
картерах двигателей, принимаемая равной для тихоходных дизелей 2,7 кг/кВт,
быстроходных - 2,95 кг/кВт;
ρм - плотность масла,
принимаемая равной 899 кг/м3;
ΣVцмг и ΣVцмв - суммарная вместимость маслосборников или картеров главных и
вспомогательных двигателей, м3,
ΣVцмг = х × Vцмг = 2 × 0,442 = 0,972
м3 и ΣVцмв = xb × Vцмв = 2 × 0,066 = 0,132
м3.
Подачи насосов в м3/ч определяются:
резервного циркуляционного
Qнц = (1,2¸1,6) × атм × be × Pe × Qн / (См
× ρм × Δtм) =
= 1,2 × 0,06 × 0, 204 × 442 × 41800 / (2,1 × 899 × 10) = 15,8 м3/ч;
маслоперекачиващего (для заполнения расходных цистерн)
Qнп = Vрм / τ = 0,583/1 = 0,583 м3/ч,
где атм - доля теплоты, отводимая маслом,
принимаемая равной для тихоходных дизелей 0,05¸0,07, быстроходных - 0,07¸0,08, принимаем атм
= 0,06;
Qн - низшая удельная теплота сгорания топлива,
принимаемая равно для дизельного топлива 42700 кДж/кг, моторного - 41800
кДж/кг, принимаем Qн = 41800 кДж/кг;
См - теплоемкость масла, принимаемая равной 2¸2,2 кДж/ (кг×К), принимаем См
= 2,1 кДж/ (кг×К);
Δtм - разность температур
масла на входе и выходе из дизеля, принимаемая равной 6¸12 °С, принимаем Δtм = 10°С.
Выбираем шестеренный насос марки ШФ 0,8-25-0,58/25Б
обеспечивающий подачу 0,58 м3/ч при давлении нагнетания 2,5 МПа,
частоте вращения 1430 об/мин, мощности приводного электродвигателя 1,0 кВт,
имеющего габариты 590х217х245 мм и сухую массу 26 кг.
Производительность сепаратора Qсм в м3/ч
определяется из условия обеспечения необходимой кратности очистки масла
Qсм = (1,5¸3,5) × ΣVцм / τс = 2,0 × 1,104/8 = 0,28 м3/ч,
где 1,5¸3,5 - кратность очистки масла (больше значения
для тихоходных дизелей), принимаем 2,0;
ΣVцм - суммарная вместимость
маслосборников главных и вспомогательных двигателей, м3, ΣVцм = ΣVцмг + ΣVцмв = 0,972+ 0,132 = 1,104 м3;
τс - время работы
сепаратора в сутки, равное 8¸12 ч, принимаем τс = 8 ч.
Подойдет сепаратор марки НСМ-2 производительностью 0,5 м3/ч,
мощностью электропривода 2,2 кВт, габаритами 1050х500х1190 мм и массой нетто
265 кг.
4.3 Расчет и
модернизация системы охлаждения
Система водяного охлаждения предназначена для отвода
от втулок цилиндров, крышек цилиндров, смазочного масла, газовыпускного
коллектора у крупных дизелей без наддува и других механизмов энергетической
установки. В дизельных установках система водяного охлаждения, как правило,
двухконтурная. Вода внутреннего контура охлаждает двигатели, а в открытом
внешнем контуре через водяной и масляный охладители (холодильники)
прокачивается забортная вода. Циркуляция воды в системе охлаждения
осуществляется обычно центробежными насосами.
Система охлаждения главных двигателей и двигателя
дизель-генератора - двухконтурная.
Система охлаждения внутреннего контура - замкнутая с
принудительной циркуляцией. Охлаждение пресной воды внутреннего контура, масла
и наддувочного воздуха осуществляется забортной водой в охладителях.
Главная магистраль (соединительная труба) забортной воды
соединяет выгороженные в корпусе ящик забортной воды и бортовой кингстонный
ящик.
Вода, поступающая из кингстонного ящика, проходит через
фильтр, а в ящике забортной воды - через сетчатые отбойные листы.
Принципиальная схема системы водяного охлаждения показана на
рис.4.3 Вода внутреннего контура насосом 26, навешенным на дизель 28, по
распределительной трубе 27 подается в зарубашечное пространство дизеля и
турбокомпрессора 29. Нагретая вода направляется из дизеля и турбокомпрессора в
терморегулятор 8, который в зависимости от температуры воды распределяет ее
поток в водо-водяной холодильник 9 и на перепуск. После водяного холодильника
оба потока смешиваются и поступают во всасывающую магистраль насоса 27.
Наиболее высоко расположенные на турбокомпрессоре и дизеле участки трубопровода
внутреннего контура соединены трубами 1, 2 с расширительной цистерной 3,
которая сообщается с атмосферой. Расширительная цистерна обеспечивает по
трубопроводу 6 отвод паров воды и воздуха из системы водяного охлаждения, по
трубопроводам 5 и 4 - пополнение убыли воды во внутреннем контуре и ее слив при
переполнении цистерны.
Прием забортной воды осуществляется через днищевой и бортовой
кингстоны, расположенные в ящиках забортной воды 20, 16, соединенных
трубопроводом. Забортная вода из ящика забортной воды 20 или 16 через парный
фильтр 19 подается насосом внешнего контура 25, навешенным на дизель,
последовательно в холодильники надувочного воздуха 12, масла 10 и охлаждающей
воды внутреннего контура 9, а затем по трубе 7 сливается за борт или по трубе
15 поступает в ящик забортной воды. В трубопроводе 23 циркулирует масло
смазочной системы дизеля, а в трубопроводе 13 - надувочный воздух. Забортной
водой охлаждаются компрессоры 11. По трубопроводу 30 вода поступает на
охлаждение подшипников валопровода, смазку дейдвудной трубы и др.
В случае выхода из строя насоса внутреннего контура 26
забортная вода насосом 25 будет подаваться ко всем потребителям и через
трехходовой клапан по трубе 24 - в распределительную трубу 27. Из дизеля по
трубе 7 вода направляется за борт или в ящик забортной воды.
Рис.4.3 Принципиальная схема системы водяного охлаждения
Вспомогательный дизель имеет независимую систему водяного
охлаждения и отдельную расширительную цистерну. Забортная вода к нему подводится
по трубопроводу 17. Трубопровод 18 служит для подачи воды в систему
водоснабжения судна.
В качестве резервного может быть использован насос
общесудового назначения, который подает воду по трубопроводу 21.
Внутренний контур охлаждения на всех двигателях целиком
смонтирован заводом-поставщиком. Заполнение внутренних контуров охлаждения
главных двигателей производится от системы водоснабжения водой через
поплавковые клапаны в расширительных бачках емкостью по 25 л.
Вода от всех охлаждаемых агрегатов отводится за борт.
Подача насосов в м3/ч определяется:
внутреннего контура
Qвв = (1,2¸1,3) × атв× be × Pe × Qн / (Св
× ρв × Δtв) =
= 1,25 × 0,15× 0, 204 × 442 × 41800 / (4,19 × 1000 × 10) = 14,8 м3/ч;
внешнего контура
Qвэ = (1,4¸1,5) × (атв+ атм)
×be ×Pe × Qн / (Сэ×ρэ×Δtэ) =
= 1,45 × (0,15 + 0,08) × 0, 204 × 442 × 41800 / (3,98 × 1020 × 20) = 14,8 м3/ч,
где атв - доля теплоты, отводимая водой,
принимаемая равной для тихоходных дизелей с наддувом 0,12¸0,17, быстроходных - 0,15¸0, 20, принимаем атв
= 0,15;
атм - доля теплоты, отводимая маслом, от всего
количества теплоты, введенного с топливом, для главных двигателей [4, стр.143]
атм = 0,08;
Св и Сэ - теплоемкости пресной воды
внутреннего контура и забортной воды внешнего контура, равные 4,19 и 3,98 кДж/
(кг×К) соответственно;
ρв и ρэ - плотности воды внутреннего контура и забортной воды, равные 1000 и
1020 кг/м3 соответственно;
Δtв и Δtэ - разности температур воды во внутреннем контуре на выходе и
входе в дизель и во внешнем контуре на выходе и входе в холодильник,
принимаемые равными 10¸12°С и 15¸25°С соответственно,
принимаем Δtв = 10°С и Δtэ = 20°С.
В целях унификации обычно принимают Qвв = Qвэ
= 14,8 м3/ч.
Поверхность охлаждения в м2 водяного холодильника
определяется:
Fхв = атв × be × Pe × Qн / (3600 × kтв × Δtвср) =
= 0,15 × 0, 204 × 442 × 41800 / (3600 × 1,0 × 35) = 4,93 м2,
где kтв - общий коэффициент теплопередачи от воды
к воде, равный для трубчатых холодильников 0,58¸0,82 кВт/ (м2×К), пластинчатых - 1,00¸1,16 кВт/ (м2×К), принимаем
пластинчатый холодильник с kтв = 1,0 кВт/ (м2×К);
Δtвср = [ (tв` - tз`)
- (tв`` - tз``)] / 2,3 lg [ (tв` - tз`)
/ (tв`` - tз``)] =
= [ (80 - 32) - (70 - 45)] / 2,3 lg [ (80 - 32) / (70 - 45)]
= 35°С
среднелогарифмическая разность температур для противоточных
холодильников, °С;
tв` и tв`` - температуры воды во
внутреннем контуре на выходе из дизеля и холодильника, принимаемые равными 75¸90 °С и 65¸80 °С соответственно,
принимаем tв` = 80°С и tв`` = 70°С;
tз`` и tз` - температуры забортной воды
на входе и выходе из водяного холодильника, принимаемые равными 30¸32 °С и 45¸50 °С соответственно,
принимаем tз` = 32°С и tз`` = 45°С.
В системах водяного охлаждения получают распространение
холодильники пластинчатого типа.
4.4 Расчет и
модернизация системы сжатого воздуха
Система сжатого воздуха предназначена для
обеспечения пуска главных и вспомогательных двигателей, подачи звукового
сигнала, подпитки пневмоцистерн и работы пневматических систем автоматического
регулирования и управления. В ее состав входят компрессоры, пусковые и тифонные
баллоны, баллоны для технологических и хозяйственных нужд и система
трубопроводов с арматурой и КИП.
Вместимость баллонов в м3 определяется:
·
пусковых
ΣVпб = uп×Vs× z ×x ×пр × ро / (рб1
- рб2) =
= 10 × 0,027× 6 × 2 × 12 × 0,098/ (3 - 0,5) = 1,01 м3;
·
для
тифона
тб = kн × uт×τс × ро / (рт1 - рт2)
=
= 0,128 × 2 × 5 × 0,098/ (3 - 0,5) = 0,05 м3,
где uп - удельный расход свободного воздуха на 1 м3
объема цилиндра дизелей при пуске, который составляет 8¸10 м3/м3,
принимаем uп = 10 м3/м3;s = π× D2× S/4 - рабочий объем
цилиндра, м3, Vs = 3,14× 0,32× 0,38/4 = 0,027 м3;и
S - внутренний диаметр цилиндра и ход поршня, м, для двигателя 6ЧНР30/38 D =
0,30 м и S = 0,38 м;- число цилиндров двигателя, для двигателя 6ЧНР30/38, z =
6;
пр - число последовательных пусков и реверсов
двигателя, принимаемое равным 12 для реверсивных и 6 нереверсивных дизелей;
ро - давление окружающей среды равное 0,098 МПа;
рб1 и рб2 - начальное давление воздуха
в баллоне после его заполнения и нижний его предел, при котором еще возможен
пуск дизеля, принимаемые равными 3¸6 МПа и 0,5¸1,0 МПа соответственно,
принимаем рб1 = 3 МПа и рб2 = 0,5 МПа;н -
коэффициент насыщения сигналами, принимаемый равным 0,128;т - расход
тифоном свободного воздуха, принимаемый равным 1¸6 м3/мин,
принимаем uт = 2 м3/мин;
τс - продолжительность
подачи сигнала, принимаемая равной для судов класса "М" и
"О" - 5 мин;
рт1 и рт2 - начальное давление воздуха
в баллоне после его заполнения и нижний его предел, при котором еще возможна
подача сигнала, принимаемые равными 3 МПа и 0,5 МПа соответственно.
По Правилам Российского Речного Регистра [7] число пусковых
баллонов nб = Vnб / Vб должно быть не менее
двух для каждого главного двигателя и одного - для вспомогательного двигателя,
где Vб - емкость пускового баллона по ГОСТ 9731-79 или ГОСТ 999-73,
м3, а компрессоров - не менее двух на судно (один может быть навешен
на двигатель) с подачей каждого по свободному воздуху в м3/ч не
менее
к = ΣVnб × (рб1 - рб2)
/ (ро × τэ) = 1,01× (3 - 0,5) / (0,098 × 1) = 25,8 м3/ч,
где τэ - время заполнения
баллонов, принимаемое равным 1 ч.
Выбор компрессора и баллонов производиться по таблицам в
Приложении 12 и 13 [1].
Выбираем компрессор 22К-45/32 имеющий подачу 40 м3/ч,
давление нагнетания 3,1 МПа, мощность приводного электродвигателя 10,2 кВт, а
также баллоны для пуска главных двигателей вместимостью по 0,4 м3 на
рабочее давление 3 МПа диаметром 530 мм, длиной 2370 мм, массой 316 кг и баллон
для тифона вместимостью 0,08 м3 на рабочее давление 3 МПа диаметром
377 мм, длиной 1020 мм, массой 110 кг. Число пусковых баллонов для главных
двигателей
б = ΣVnб / Vб
= 1,01 /0,4 = 2,5 шт.
Принимаем nб = 4 шт. Каждый баллон, как правило,
оснащается манометром, предохранительным клапаном, клапаном для продувания
сконденсировавшейся воды, масла, клапаном для заполнения и расхода воздуха.
Баллоны стремятся располагать по бортам с уклоном в корму, обеспечивающим
скопление конденсатов в местах расположения клапанов продувания.
Основными потребителями сжатого воздуха на
судне являются главные и вспомогательные дизели, тифоны и некоторые судовые
системы. На рис.4.4 приведена принципиальная схема системы сжатого воздуха.
Сжатый воздух вырабатываемый двумя компрессорами 20 от электропривода, один из
которых является резервным. Через водо - и маслоохладитель 17 и охладитель 16
воздух поступает в пусковые баллоны 3 главных двигателей 1., баллон для тифона
и хозяйственных нужд 11 и пусковые баллоны 14 вспомогательных дизелей
15. Из баллонов сжатый воздух направляется в пусковую систему главных 1 и в
необходимых случаях может перепускаться в баллон для тифона и хознужды 11 или в
пусковые баллоны 14 вспомогательных двигателей. Из баллона 11 через редукторные
клапаны воздух направляется: к тифонам; к пневмоцистерне; на нужды моторного
отделения; на продувание кингстона; к автономному котлу; к установке по очистке
подсланиевых вод.
Рис.4.4 Система сжатого воздуха
4.5 Расчет и
модернизация системы газовыпуска
Система газовыпуска предназначена для отвода
в атмосферу выпускных газов от главных и вспомогательных дизелей, котлов и
камбуза.
В состав газовыпускной системы входят трубы на каждый главный
и вспомогательный двигатель и автономный котел, компенсаторы, изоляция,
глушители и искрогасители.
Системы газоотвода в СЭУ предназначены для отвода продуктов
сгорания от главных и вспомогательных двигателей и котлов. От каждого из
указанных объектов выполняют отдельный газоотвод, который выводится на палубу,
в общий кожух-трубу (рис.4.5).
Газы после турбокомпрессора одного главного дизеля 6 по
трубопроводу 4 поступают в утилизационный котел-глушитель 3 и далее по
трубопроводу 1 отводятся вверх в атмосферу. У другого ГД вместо УК установлен глушитель
9.
Вспомогательный дизель 8 имеет самостоятельную систему
газовыпуска. На его газовыпускном трубопроводе находится компенсатор 7. Перед
выходом в атмосферу в фальштрубе установлен глушитель 2. Газовыпускные
трубопроводы главных и вспомогательного дизеля покрыты изоляцией 5.
Поскольку выходящие из двигателей и котлов газы отличаются
высокой температурой и токсичностью, к системе газоотвода предъявляются прежде
всего требования высокой надежности и пожаробезопасности, а также минимального
аэродинамического сопротивления, технологичности, ремонтопригодности, простоты
и удобства в обслуживании.
При установке утилизационный котлов, в которых помимо
охлаждения газов обеспечивается глушение шума и искрогашение, автономные
глушители и искрогасители не применяются.
Газоотводные трубопроводы двигателей изготавливают из
стальных труб стандартных размеров по ГОСТ 8732-78 и ГОСТ 10704-76. Трубы
соединяются между собой с помощью фланцев с паронитовыми прокладками и
размещаются ближе к стенкам шахты МКО. Горизонтальные участки обычно
отсутствуют.
С целью компенсации температурных удлинений и снижения шума и
вибрации включены в газоход компенсаторы.
Крепление труб произведено с помощью жестких опор и упругих
пружинных подвесок.
Рис.4.5 Принципиальная схема системы газовыпуска
Площадь сечения газовыпускного трубопровода Fт, м2,
определяем по формуле
где ge - удельный расход топлива, ge = 0,
204 кг/ (кВт×ч); Ne - мощность двигателя на
номинальном режиме, Ne = 442 кВт; a - суммарный коэффициент избытка воздуха, принимаем для главных
дизелей a = 1,95; L0 - теоретически
необходимое количество воздуха, кг, для сжигания 1 кг топлива, принимаем L0
= 14,33 кг/кг; Rг - газовая постоянная, для продуктов сгорания
принимаем Rг = 0,287 кДж/ (кг×град); Т - температура выпускных газов за дизелем, принимаем Т =
600 К; сг - допустимая скорость движения газов в трубопроводе,
принимаем для четырехтактных дизелей равной 30 м/с; р - допустимое давление в
трубопроводе, принимаем р = 1,03×102 кПа. Тогда
м2.
Ориентировочный внутренний диаметр
Для вспомогательного котла также производим расчет.
Площадь сечения газовыпускных трубопроводов Fт в м2
определяется:
т = В× (α×L0+1) R×Т / (3600× vт × рт) = 21× (1,25×14,33+1) 0,287×550 / (3600×20 ×1,03×102) = 0,009 м2,
где В - часовой расход топлива автономным котлом, кг/ч, из
таблицы 2, В = 21 кг/ч;
α - коэффициент избытка
воздуха, принимаем равным для автономного котла α = 1,25;
Т - температуры выпускных газов, принимаем равной за
автономным котлом Т = 550 К;т - допустимая скорость движения газов в
трубопроводе, принимаем равной для автономного котла vт = 20 м/с;
рт - допустимое давление в трубопроводе, принимаем
равным 1,03×102 кПа.
Ориентировочный внутренний диаметр
5. Разработка
мероприятий по повышению энергетической эффективности сэу и комплектующего
оборудования
5.1 Оценка
возможности использования теплоты охлаждающей воды
Внешний тепловой баланс двигателя дает картину распределения
теплоты, выделяющейся при сгорании топлива, по статьям расходования. В расчете
на 1 кг сжигаемого топлива с теплотой сгорания
, кДж/кг, тепловой баланс записывается в виде
,
где
- теплота, эквивалентная эффективной
работе двигателя;
- теплота, уносимая из двигателя с
выпускными газами;
- теплота, уносимая из двигателя пресной
водой;
- теплота, уносимая из двигателя маслом;
- теплота, отводимая от наддувочного
воздуха в воздухоохладителе;
- остаточный член теплового баланса.
Наиболее просто поддается утилизации теплота выпускных газов,
имеющих достаточно высокий температурный уровень (
≈ 330÷520°С). Эта теплота используется в
утилизационных парогенераторах и водогрейных котлах для производства пара с
давлением 0,3÷1,5
МПа или горячей воды.
Из всей теплоты
, уносимой из двигателя охлаждающими жидкостями, наиболее часто
пригодна к утилизации теплота пресной воды
. Повышение степени наддува современных двигателей делает
возможным использовать теплоту
для подогрева питательной воды УК, топлива в расходной цистерне,
топлива в танках, воздуха систем кондиционирования. В этом случае необходим
также конечный охладитель, охлаждаемый забортной водой и гарантирующий
постоянство температуры охлаждающей воды перед входом в охладитель надувочного
воздуха, а сам охладитель выполняется многосекционным. Использование в
утилизационных устройствах теплоты
нерационально в связи с малой величиной этих потерь и низким
температурным уровнем теплоносителей.
Теплота, уносимая из двигателя с пресной водой, из-за низкой
температуры используется в настоящее время в основном в вакуумных утилизационных
испарительных установках для получения дистиллята. Однако возможная
производительность утилизационных опреснительных установок намного превышает
потребности в дистилляте на транспортных теплоходах. В перспективе более
интенсивная утилизация теплоты охлаждающей воды может быть достигнута
следующими путями: повышением температуры охлаждающей воды в двигателе
(применением высокотемпературного охлаждения; более широким использованием
теплоты охлаждающей воды для получения холода (применением утилизационных
холодильных установок); применением утилизационных турбин, работающих на паре
низкокипящих рабочих веществ (фреонов, бутана, изопентана и др.);
использованием воды из системы высокотемпературного охлаждения двигателя в
циркуляционном контуре утилизационного парогенератора.
На судах с дизельной - самой экономичной - установкой в
полезный упор движителя преобразуется не более 30% теплоты топлива,
расходуемого дизельной установкой (ДУ). Для повышения экономичности современных
ДУ в них предусматривается глубокая утилизация теплоты отходящих газов и
охлаждающей воды главного дизеля. На рис.5.1 показана схема такой ДУ. Из нее
видно, что теплота отработавших газов дизеля частично используется в
утилизационном парогенераторе для производства пара, предназначенного для
работы турбогенератора, а тепло охлаждающей дизель воды - для работы
опреснителя, обеспечивающего судно пресной водой.
На ходовом режиме при полном исключении из работы
дизель-генераторов глубокая утилизация тепла позволяет на 8-10% сократить общий
расход топлива на установку.
Рис 5.1 Схема глубокой утилизации тепла ДУ
с МОД:
- главный двигатель; 2 - опреснитель; 3 -
циркуляционный насос пресной воды; 4 - охладитель пресной воды; 5 -
утилизационный парогенератор; 6 - газотурбонагнетатель; 7 - пар на судовые
нужды; 8 - паровая турбина; 9 - редуктор; 10 - генератор; 11 - конденсатор; 12
- конденсатный насос; 13 - теплый ящик; 14 - питательный насос
Применение СГУТ на судах с мощными СОД не
менее эффективно, чем на судах с МОД (у СОД даже более высокие температуры ОГ).
Особенно эффективны (комплексные системы утилизации теплоты СОД с
использованием ВТО. Различные фирмы давно используют высокотемпературное
охлаждение (ВТО) в отдельных типах СОД. Так, в США в течение многих лет
работали с ВТО 4-тактные дизели фирм "Куппер - Бессемер",
"Фербенкс - Морзе", "Вортингтон", "Мирлисс"
мощностью до 3,5 МВт. Дизели фирм "Энтерпрайз" и "Норберг"
(температура охлаждающей воды около 120°С) установлены на речных толкачах в
США.
В настоящее время организация ВТО в СОД
большой мощности приобретает новый смысл, так как позволяет широко использовать
теплоту в едином цикле со СГУТ отработавших газов. Такие работы ведутся фирмами
"Зульцер" и "Пилстик" (Франция) (температура воды, выходящей
из ГД, достигает 120-130°С). Фирмой "Зульцер" проведены стендовые
испытания СОД 6ZL40/48 с температурой охлаждающей воды, изменявшейся от 80 до
130°С, что вызвало ощутимое изменение теплового баланса двигателя. В процессе
исследований было установлено постоянство удельного расхода и напряжений в
деталях двигателя. Характерными особенностями СГУТ с ВТО (рис.5.2),
разработанной фирмой "Пилстик", являются утилизационный котел с двумя
ступенями давления пара, промежуточный подвод пара в ступени низкого давления
турбины, использование теплоты охлаждения воздуха и теплоты охлаждения
цилиндров ГД. По данным фирмы, такая СГУТ позволяет обеспечить мощность
турбины, равную 8-9% мощности ГД. Основные принципы схемы СГУТ фирмы
"Пилстик" использованы фирмой "Исикавадзима Харима
Индастриз" (Япония) при создании СЭУ судна "Нептун Ориент" с
главным двигателем 6PC-4-2L мощностью около 7 МВт. В этой установке имеется
возможность избыточную мощность турбин передавать на вал ГД, а при недостатке
мощности турбины вращать вал генератора от ГД [9].
Фирмой "Хитачи" (Япония) создана
установка, называемая "Twin Bank" (рис.5.3), которая состоит из
сдвоенного двигателя K45GF суммарной мощностью 7,7 МВт (работает через редуктор
на винт большого диаметра), СГУТ и рулевого устройства "Хастие" в
комплексе с авторулевым "Араке". СГУТ работает на перегретом паре
давлением 0,23 МПа и температурой перегрева 205°С. Ее характерная особенность -
2-ступенчатый подогрев питательной воды за счет теплоты охлаждения цилиндров и
теплоты охлаждения наддувочного воздуха. СГУТ позволяет экономить около 6,5%
теплоты, вносимой с топливом.
Рис.5.2 Схема СГУТ энергетической
установки с СОД фирмы "Пилстик", работающим с ВТО:
- теплообменник; 2 - циркуляционный насос;
3, 5 - сепараторы пара соответственно низкого и высокого давлений; 4 -
утилизационный котел (УК); 6 - циркуляционный насос; 7 - утилизационный
турбогенератор (УТГ); 8 - вакуумный конденсатор; 9 - конденсатный насос; 10 -
теплый ящик; 11 - питательный насос; 12 - охладитель воздуха; 13 - ГД; 14 -
главный насос пресной воды
Рис.5.3 Схема СГУТ фирмы
"Хитачи":
- УК; 2 - УТГ; 3 - вакуумный конденсатор;
4 - конденсатный насос; 5 - теплый ящик; 6 - питательный насос; 7,9 -
подогреватели питательной воды соответственно первой и второй ступеней; 8 - ГД;
10 - сепаратор; 11 - циркуляционный насос
Фирмой "Кавасаки" (Япония)
создана утилизационная установка KSE (рис.5.4) для танкера "Аламо" с
главным двигателем МАН 14V52/58 мощностью 10 МВт. СГУТ имеет несколько
модификаций в зависимости от мощности ГД (наименьшая допускаемая мощность ГД,
"при которой установка является эффективной, составляет 6 МВт). Масляный
насос ГД в ходовом режиме приводится от редуктора ГД (на стоянке от электродвигателя).
Вода, охлаждающая ВТС, используется для обогрева помещений и АХМ системы
кондиционирования. С помощью теплоты воды, охлаждающей цилиндры ГД,
обогреваются каюты. УТГ имеет до семи ступеней давления и работает на ларе
давлением 0,4 МПа и температурой 240оС. Пар генерируется в
вертикальном газотрубном котле со спиральными трубами.
Экономия топлива в установке фирмы
"Кавасаки" складывается из следующих составляющих: 13% - от
использования малооборотного винта при ходе с грузом (11% - с балластом); 7% -
привода вспомогательных механизмов от ГД; 6% - СГУТ; 1% - абсорбционной
холодильной установки.
Рис.5.4 Схема СГУТ фирмы
"Kaвасаки" с АХМ для главных двигателей МАН 14V52/58:
- экономайзер; 2 - газотрубный
комбинированный котел; 3 - циркуляционный насос; 4 - теплообменник; 5 -
турбогенератор; 6 - общесудовые потребители; 7 - конденсатор; 8 - конденсатный
насос; 9 - теплый ящик; 10 - питательный циркуляционный насос; 11, 12 -
теплообменники АХМ; 13 - воздуходувка; 14 - ВТС воздухоохладителя; 15 -
пароперегреватель; 16 - топочное устройство
Фирма "Иоикавадзима Харима
Индастриз" (Япония) предложила установку SSG-Mark II (рис.5.5) для двух
судов типа "Панамакс" с главным двигателем 6PC-4-2L мощностью 9,5 МВт
(являющуюся улучшенной версией созданной ранее установки SSG). В СГУТ
используется паровая турбина с "несколькими ступенями давления. Перед
охладителем наддувочного воздуха в воздухопроводе установлен подогреватель
питательной воды УК. Многоступенчатая турбина использует пар низкого давления.
Утилизационный котел с тремя ступенями давлений позволяет существенно понизить
температуру ОГ. Регенеративный подогреватель позволяет получить пар,
используемый в низких ступенях давления турбины. При этом избыточная мощность
турбины может передаваться на винт. Экономия топлива достигается также за счет
регулирования частоты вращения охлаждающих насосов и использования воды,
охлаждающей ГД, для обогрева помещений. Генератор может приводиться в действие
как от утилизационной турбины, так и от редуктора ГД.
Рис.5.5 Схема СГУТ SSG-Mark II фирмы
"Исикавадзима Харима Индастриз":
- редуктор; 2 - генератор; 3 - турбина; 4
- УК; 5, 6, 7 - сепараторы пара, соответственно низкого, среднего и высокого
давлений; 8 - ВТС; 9 - низкотемпературная секция воздухоохладителя; 10 -
цистерна забортной воды; 11 - циркуляционный насос; 12 - утилизационный
опреснитель; 13 - кондиционер; 14 - турбонагнетатель; 15 - ГД
5.2 Оценка
возможности использования теплоты отработавших газов
Расчеты выполняем согласно [10, 11].
. Исходные данные.
1.1 На судне проекта Р18А после модернизации СЭУ было установлено
два главных двигателя 6ЧРН30/38 ОАО "Коломенский завод" номинальной
мощностью по
442 кВт, частота вращения номинальная n =
330 мин-1.
.2 Сорт топлива - моторное.
.3 Параметры двигателей на номинальном режиме работы: удельный
расход топлива
0, 204 кг/ (кВт×ч), температура выпускных газов
360°С, коэффициент избытка воздуха
2,70.
. Расчет количества теплоты, уносимого выпускными газами, и
которое может быть принято утилизационным котлом (УК).
.1 Расчет выполняется для одного двигателя и приводится в
табл.5.1.
Таблица 5.1
Расчет количества теплоты, уносимой выпускными газами, и
количества теплоты, которое может быть принято утилизационным котлом
|
Обозна-чения
|
График,
таблица, формула
|
Определяемый
параметр
|
Нагрузка в % от
номинальной
|
|
|
|
25
|
50
|
75
|
100
|
|
1
|
2
|
3
|
4
|
5
|
6
|
7
|
|
-Мощность дизеля эффективная,
кВт110,5221,0331,5442
|
|
|
|
|
|
|
Из [10, табл.4] для двигателя с наддувом работающего по винтовой
характеристике
|
Удельный эффективный расход топлива, кг/
(кВт×ч) 0,2400,2160, 2070, 204
|
|
|
|
|
|
|
[10, формула (23)]
|
Часовой расход топлива,
кг/ч26,547,768,690,1
|
|
|
|
|
|
|
Из [10, табл.3] для двигателя с наддувом работающего по винтовой
характеристике
|
Температура выпускных газов, °С200260312360
|
|
|
|
|
|
|
Из [10, табл.3] для двигателя с наддувом работающего по винтовой
характеристике
|
Суммарный коэффициент избытка воздуха5,
203,863,162,70
|
|
|
|
|
|
|
[10, формула (6)]
|
Теоретическое количество воздуха,
необходимое для полного сгорания 1 кг топлива, кг14,3614,3614,3614,36
|
|
|
|
|
|
|
|
[2, табл.4] Температура воздуха при
входе в цилиндр, °С55555555
|
|
|
|
|
|
|
|
Из [10, рис.1, рис.10] Средняя удельная
массовая теплоемкость продуктов сгорания, кДж/ (кг×К) 1,051,0551,0651,07
|
|
|
|
|
|
|
|
Из [10, рис.1, рис.10] Средняя удельная
массовая теплоемкость воздуха, кДж/ (кг×К) 1,0051,0051,0051,005
|
|
|
|
|
|
|
[10, формула (8)]
|
Низшая теплота сгорания моторного
топлива, кДж/кг40614406144061440614
|
|
|
|
|
|
|
[10, формула (5)]
|
Относительное количество теплоты
выпускных газов, которое частично может быть использовано в схеме
утилизации0,2890,3060,3190,324
|
|
|
|
|
|
|
× 10-3 [10, формула (7)]
|
Абсолютное количество теплоты выпускных
газов на долевом режиме, кДж/ч3115938881185
|
|
|
|
|
|
|
[1, табл.5, формула (11)]
|
Точка росы, °С118118118118
|
|
|
|
|
|
|
|
Принимается по рекомендациям [10]
Разность между температурами стенки и выпускных газов, °С25252525
|
|
|
|
|
|
|
|
 Температура выпускных газов за УК, °С143143143143
|
|
|
|
|
|
|
|
ПринимаемРасчетная температура газов за
УК, °С150150150150
|
|
|
|
|
|
|
|
ПринимаемСнижение температуры выпускных
газов в газовом канале перед УК, °С10101010
|
|
|
|
|
|
|
|
 Расчетная температура выпускных газов перед УК, °С190250302349
|
|
|
|
|
|
|
[10, формула (15)]
|
Действительный коэффициент использования
теплоты выпускных газов0, 2090,4000,5040,571
|
|
|
|
|
|
|
× 10-3 [10, формула (16)]
|
Количество теплоты, которое может быть
принято утилизационным котлом, кДж/ч64,8237,4447,5676,1
|
|
|
|
|
|
|
По результатам расчета, приведенного в табл.5.1, строятся
графические зависимости
и
(рис.5.6), которые используются при выборе УК и схемы утилизации.
Полученное в п.3.3 количество теплоты необходимое для обеспечения
работы судовых потребителей теплоты (приходящееся на один двигатель)
откладываем на рис.5.6 в виде прямой горизонтальной линии (пунктиром). Анализ
режимов работы энергетической установки теплохода показывает, что потребности в
тепловой энергии могут быть удовлетворены за счет утилизации теплоты даже
одного главного двигателя на режимах работы с 50% от
, таким образом, на этих режимах СУТ
является избыточной. Однако, следует отметить, что низкая температура выпускных
газов при нагрузке двигателя ниже 50%, из-за большого значения коэффициента
продувки, делает невозможным обеспечить работу утилизационного котла.
Согласно [10] УК подбирается из стандартных котлов или
рассчитывается специально для проектируемого судна. При этом даны следующие
рекомендации. В качестве котельных установок, обслуживающих системы
теплоснабжения на сухогрузных и буксирных судах оправдано применение
вертикальных газотрубных УК, простых по конструкции и удобных в эксплуатации.
Количество УК, установленных на судне, как правило, должно быть равно числу
главных двигателей. При выборе конструкции котла необходимо учитывать величину
сопротивления газового тракта котла. Обычно в технических условиях на поставку
предприятие-изготовитель указывает допустимое сопротивление после двигателя,
при котором гарантируется нормальная его работа с номинальной мощностью.
Рис.5.6 Зависимость количества теплоты выпускных газов на долевом
режиме и количества теплоты, которое может быть принято утилизационным котлом,
от эффективной мощности двигателя
Учитывая изложенное выше считаем, что на судне проекта Р18А должен
быть установлен один водогрейный УК, при этом максимальное количество теплоты,
которое может быть утилизировано УК (на режиме 100%Ne) составляет
676100 кДж/ч или 676100/3600 = 188 кВт. Аналогично определяем
теплопроизводительность для остальных режимов работы главного двигателя (ГД).
Расчет сводим в табл.5.2.
Теперь по [10, табл.3, приложение 1] находим такой водогрейный УК
который будет обеспечен практически полной загрузкой на большинстве режимов
работы ГД (до режима 50% от Ne). Такую теплопроизводительность имеет
автоматизированный водогрейный котел марки КАУ-6 имеющий следующие
характеристики: теплопроизводительность - 73÷83,5 кВт; поверхность нагрева - 6 м2,
сопротивление газового тракта - 650 Па; масса - 778 кг (в объеме поставки) и
110 кг (воды в котле).
Таблица 5.2
Возможная теплопроизводительность УК в зависимости от
количества теплоты, которое может быть принято утилизационным котлом, при
работе главных двигателей на долевых режимах
|
Нагрузка ГД в %
от номинальной
|
25
|
50
|
75
|
100
|
|
Количество
теплоты, которое может быть принято утилизационным котлом, кДж/ч
|
64800
|
237400
|
447500
|
676100
|
|
Теплопроизводительность,
кВт
|
18
|
66
|
124
|
188
|
Структурно-функциональная схема системы утилизации теплоты
(СУТ) выпускных газов с водогрейным УК представлена на рис.5.7.
Рис.5.7 Структурно-функциональная схема СУТ выпускных газов с
водогрейным УК: 1 - водогрейный УК; 2 - расширительный бак; 3 - делитель; 4 -
сборный бак; 5 - питательный насос; 6 - циркуляционный насос; 7 -
вспомогательный автономный водогрейный котел (ВК)
При работе СУТ питание УК осуществляется с помощью
циркуляционного насоса, берущего воду из сборного бака. Горячая вода от УК
поступает на делитель и расходуется в тепловых потребителях различного
назначения. Подпитка водой осуществляется из расширительного бака. Схема
предусматривает параллельную с УК работу ВК, который получает воду из сборного
бака при помощи питательных насосов. Система может предусматривать подачу
горячей воды к подогревателям топлива двигателей, питьевой и мытьевой воды,
водяное отопление помещений и другие потребители.
В результате выполнения работы установлено, что главные судовые
двигатели 6ЧНР30/38 номинальной мощностью
442 кВт при частоте вращения n = 330 мин-1 обладают
значительным тепловым потенциалом выпускных газов. Это позволяет использовать
для подогрева воды на ходу судна проекта Р18А водогрейный утилизационный котел
типа КАУ-6, который будет работать на полную теплопроизводительность на долевых
режимах работы главного двигателя до 50% -й нагрузки ГД. При этом он полностью
обеспечивает потребности в тепле всех судовых потребителей (без ограничения).
СУТ является избыточной.
5.3 Оценка
возможности использования тепловых аккумуляторов
Под тепловым аккумулированием теплоты понимают физические и
химические процессы, посредством которых происходит накопление теплоты, в
тепловых аккумуляторах. Аккумулирование теплоты является промежуточным этапом
между ее производством и потреблением, целесообразность которого определяется,
прежде всего, характеристиками источника и потребителя.
В настоящее время известны следующие способы аккумулирования
теплоты:
а) аккумулирование явной теплоты;
б) аккумулирование скрытой теплоты фазовых переходов;
в) химическое аккумулирование теплоты.
Аккумулирование явной теплоты осуществляется за счет
использования теплоемкости твердого или жидкого теплоаккумулирующего материала
при его нагревании. Данный способ аккумулирования наиболее распространен и
широко применяется в энергетике, промышленности, на железнодорожном транспорте.
Это связано главным образом с использованием недорогих природных
теплоаккумуляционных материалов и простых проверенных технических решений.
Второй способ аккумулирования теплоты осуществляется за счет
использования скрытых теплот обратимых фазовых превращений, например
плавления-кристаллизация, возгонка-сублимация или испарение-конденсация. К
достоинствам аккумулирования теплоты фазового перехода плавление-кристаллизация
можно отнести обеспечение высокой плотности запасаемой энергии при
использовании небольших перепадов температур, а так же возможность получения
постоянной температуры теплоносителя на выходе из теплоаккумуляторов фазового
перехода и создание относительно низких давлений в теплоаккумулирующем объеме
аккумулятора.
Третий способ - химическое аккумулирование теплоты
осуществляется за счет использования энергии обратимых реакций. В этом случае
теплота трансформируется в химическую энергию. Достоинствами химического
аккумулирования теплоты являются долгосрочность ее хранения без потерь,
способность воспроизводства запасенной теплоты при температурах выше начальной
и возможность транспортировки продуктов реакции с последующим высвобождением
теплоты в требуемом месте. Тепловые аккумуляторы, реализующие данный способ
аккумулирования в основном применимы в составе энергоустановок небольшой
мощности и требуют сложных конструктивных решений.
Суть предлагаемой концепции состоит в том, что отходящая
теплота отработавших газов и охлаждающей жидкости дизелей не только
утилизируется, но и аккумулируется в специальных устройствах - тепловых
аккумуляторах - с целью его дальнейшего использования. Данное тепло может быть
использовано для решения проблемы предпусковой тепловой подготовки двигателя,
так же для обогрева кают экипажа при низких температурах окружающего воздуха.
Для этих целей следует использовать теплоаккумулятор фазового перехода. Кроме
того, теплоаккумулятор фазового перехода может быть использован, не только как
аккумулятор теплоты, но и как аккумулятор холода. Это может быть использовано в
системе охлаждения воздуха в каютах экипажа в летний период.
Таким образом, теплоаккумулятор фазового перехода является
автономным и достаточно энергоемким накопителем энергии, функционирующим за
счет утилизации отходящей теплоты отработавших газов и охлаждающей жидкости
двигателя.
6.
Безопасность жизнедеятельности и охрана труда
6.1
Экологическая безопасность и охрана окружающей среды. Анализ условий труда
плавсостава теплохода проекта Р18А
6.1.1 Перечень опасных и вредных факторов, действующих на
плавсостав
Анализ производственной среды заключается в выявлении вредных
и опасных производственных факторов, которые могут быть на проектируемом
объекте при его строительстве или эксплуатации.
Действие вредного фактора на человека может привести к
ухудшению самочувствия или к заболеванию, а опасного - к травме.
Выявление вредных и опасных факторов производится для лиц,
выполняющих основные производственные процессы, характерные для рассматриваемого
объекта.
На судах проекта Р18А возможны следующие
физические вредные и опасные факторы:
высокие уровни шума и вибрации в машинном
отделении или помещении дизель-генераторов;
высокие уровни шума в служебных,
общественных, жилых судовых помещениях;
значительные тепловыделения в машинном и
котельном отдалениях, приводящие к повышению температуры воздуха;
инфракрасное излучение от сильно нагретых
поверхностей в машинном и котельном отделениях;
недостаточная естественная и искусственная
освещенность машинных, котельных отделений и других помещений судна;
повышенный уровень электромагнитных
излучений в ходовых рубках и радиорубках от радиопередатчиков, радиолокационных
устройств и т.п.;
неогражденные движущиеся части машин и
механизмов;
сильно нагретые и недостаточно
изолированные части оборудования (двигателей, котлов), трубопроводов;
взрывы в картерах двигателей;
недостаточная ширина, высота и
загроможденность проходов в машинных отделениях;
крутые трапы недостаточной ширины без
специальных площадок с неправильно выполненными ступенями;
отсутствие необходимого пространства в МО
для возможности выполнения ремонтных и профилактических работ в судовых
условиях,
отсутствие заземления корпусов
оборудования, недостаточная ширина проходов у ГРШ и т.п.
К психофизиологическим вредным факторам,
которые могут быть на судах, следует отнести: физические перегрузки при
некоторых судовых работах, если отсутствует необходимая механизация; повышенное
напряжение зрения и слуха в связи с неудачной конструкцией поста управления судном
и неправильным его положением.
6.1.2 Санитарные нормы по вредным факторам
Значения нормативов, характеризующих
микроклимат в судовых помещениях, регламентируются Санитарными правилами для
речных судов.
Нормирование микроклимата на судах
осуществляется раздельно для помещений, оборудованных системами вентиляции и
отопления (СВО), и для помещений, оборудованных системой кондиционирования
воздуха (СКВ).
Для помещений, оборудованных СЗО,
нормируются значения температуры, относительной влажности и скорости движения
воздуха.
В машинных отделениях судов с целью обеспечения требований
Санитарных правил к воздушной среде предусматривается общеобменная приточная
вентиляция. Преобладающей вредностью является избыточная теплота. Расчёт
потребного воздухообмена ведётся на её поглощение и обеспечение
регламентируемого перепада температур между внутренней температурой и
температурой наружного воздуха. Воздух подаётся вентилятором в нижнюю зону
помещения, а вытяжка осуществляется естественным путём через шахту.
Для судовых машинных отделений (МО)
нормативные уровни шума, регламентируемые ГОСТ I2. I.003 "Шум. Общие
требования безопасности".
На судах проекта Р18А плавсостав подвержен
воздействию вибрации. По способу передачи на человека вибрация подразделяется
на общую, передающуюся через опорные поверхности сидящего или стоящего человека
и локальную, передающуюся через руки человека.
Общая вибрация на судне по источнику ее
возникновения относится к категории технологической вибрации, воздействующей на
операторов стационарных машин или передающаяся на рабочие места, не
имеющие источников вибрации, наблюдается на судах и на некоторых рабочих настах
в цехах судоремонтных заводов.
В соответствии с ГОСТ12.1.012 "Вибрация
Общие требования безопасности" вибрация нормируется по одному из трех
параметров: вибророскорости V в м/с, уровню виброскорости Lv в дБ,
виброускорению а в м/с. Нормированные значения для вибрации приведены в ГОСТ
12.1.012 и в таблицах.
Таблица 6.1. Нормативные уровни виброскорости Lv
(дБ) при постоянном их действии за 8 часов в производственных помещениях
|
Вид вибрации
|
Среднегеометрические
частоты октавных полос, Гц
|
|
|
|
2
|
4
|
8
|
16
|
32
|
63
|
|
Общая
технологическая на
|
108
|
99
|
93
|
92
|
92
|
92
|
|
постоянных
рабочих местах
|
|
|
|
|
|
|
|
В
заводоуправлениях, в бюро
|
91
|
82
|
76
|
75
|
75
|
75
|
|
|
|
|
|
|
|
Таблица 7.2
|
|
Нормативные
уровни виброскорости Lv (дБ) при постоянном
|
|
их действии за
8 часов в производственных помещениях
|
|
Вид вибрации
|
Среднегеометрические
частоты октавных полос, Гц
|
|
|
|
8
|
16
|
32
|
63
|
125
|
250
|
500
|
1000
|
|
Локальная
|
120
|
120
|
117
|
114
|
111
|
108
|
105
|
102
|
|
|
|
|
|
|
|
|
|
|
|
|
|
|
|
|
Таблица 7.3
|
|
Увеличение Lвр.
нормативного уровня виброскорости в зависимости
|
|
от времени t
воздействия вибрации за рабочий день
|
|
t, мин.
|
10
|
30
|
60
|
120
|
240
|
300
|
360
|
480
|
|
Lвр.,
дБ
|
17
|
12
|
9
|
6
|
3
|
2
|
1
|
0
|
|
|
|
|
|
|
|
|
|
|
|
|
|
|
|
|
Таблица 7.4
|
|
Увеличение Lпер.
нормативного уровня виброскорости локальной
|
|
вибрации при
регулярных перерывах в работе
|
|
Время
регулярного перерыва за 1 час рабочей смены, мин
|
Lпер.
|
|
до 20
|
0
|
|
от 20 до 30
|
6
|
|
от 30 до 40
|
10
|
|
свыше 40
|
12
|
|
|
|
|
|
|
|
|
|
|
|
|
|
|
|
|
Таблица 7.5
|
|
Предельно
допустимые уровни вибрации (по ускорению) в помещениях
|
|
судов
внутреннего и смешанного (река-море) плавания
|
|
Помещения
|
Среднегеометрические
частоты октавных полос, Гц
|
|
|
|
2
|
4
|
8
|
16
|
32
|
63
|
|
Машинное
отделение
|
|
|
|
|
|
|
|
|
Суда 1 и 2
группы (ПС 57)
|
60
|
57
|
57
|
63
|
69
|
75
|
|
Суда 3 группы
(ПС 60)
|
63
|
60
|
60
|
66
|
72
|
78
|
|
Мастерская,
камбуз
|
|
|
|
|
|
|
|
Для всех групп
(ПС 53)
|
56
|
53
|
53
|
59
|
65
|
71
|
|
Служебные
помещения
|
|
|
|
|
|
|
|
Суда 1 и 2
группы (ПС 50)
|
53
|
50
|
50
|
56
|
62
|
68
|
|
Суда 3 группы
(ПС 53)
|
56
|
53
|
53
|
59
|
65
|
71
|
|
Жилые и
общественные
|
|
|
|
|
|
|
|
помещения
|
|
|
|
|
|
|
|
|
Суда 1 группы
(ПС 44)
|
47
|
44
|
44
|
50
|
56
|
62
|
|
Суда 2 группы
(ПС 46)
|
49
|
46
|
46
|
52
|
58
|
64
|
|
Суда 3 группы
(ПС 50)
|
53
|
50
|
50
|
62
|
68
|
|
Медицинские
помещения
|
|
|
|
|
|
|
|
Суда всех
групп (ПС 44)
|
47
|
44
|
44
|
50
|
56
|
62
|
6.1.3 Снижение низкочастотной вибрации и защита от её
вредного воздействия
Основными средствами снижения общей вибрации является
виброизоляция:
двигателей, компрессоров и других механизмов;
рабочего места (виброизолированные площадки).
Основными средствами снижения локальной вибрации могут быть:
виброизолирующее крепление рукоятки к корпусу молотка;
увеличение массы корпуса молотка и уменьшение массы бойка,
однако эти средства уменьшают производительность молотка.
При создании нового оборудования и при разработке
технологических процессов следует учитывать, что уровни вибрации можно
уменьшить:
заменяя ударные процессы (ковку и штамповку - прессованием,
ударную правку - вальцовкой, пневматическую клёпку и чеканку
- гидравлической клёпкой и электросваркой и т.п.);
применяя динамическую балансировку гребных винтов и других
вращающихся элементов.
Технических мер снижения уровней вибрации часто бывает
недостаточно, поэтому применяют дополнительно:
организационные меры (контроль за состоянием вибрирующего
инструмента, перерывы в работе, сокращённый рабочий день, медицинский контроль
за персоналом); - индивидуальные средства защиты от вибрации (обувь на
виброизолирующей подошве, специальные рукавицы и др.).
6.2 Охрана
труда. Расчёт уровней вибрации опорных поверхностей дизеля 6ЧН30/38 в октавных
полосах частот и выбор виброизоляторов
|
1. Общие
сведения
|
|
|
|
|
|
|
Уровни
вибрации Nа (дБ) опорных поверхностей дизеля в октавных
|
|
полосах частот
можно определить по формуле:
|
|
|
|
|
|
|
|
|
|
|
|
|
|
Где
|
Д - диаметр цилиндра
дизеля, м;
|
|
|
|
|
|
n - число
оборотов вала дизеля, об/мин;
|
|
|
|
|
|
Z - число
цилиндров дизеля;
|
|
|
|
|
|
|
Nf -
составляющая, учитывающая характер спектра вибрации
|
|
|
дизеля,
которая зависит от отношения частот f/fmax, дБ;
|
|
|
f - средняя
частота октавной полосы (63, 125, 250, 500, 1000, 2000,
|
|
|
4000, 8000Гц);
|
|
|
|
|
|
|
|
fmax
- частота, на которой наблюдается максимальный уровень
|
|
|
вибрации,
которая определяется по формуле
|
|
|
|
|
|
|
|
|
|
|
|
|
v -
коэффициент, учитывающий изменение частоты максималь-
|
|
|
ного уровня в
зависимости от числа оборотов вала дизеля;
|
|
|
k - коэффициент
тактности дизеля, который для 4-х тактного
|
|
|
дизеля равен
0,5, а для двухтактного - 1;
|
|
|
|
Nd -
поправка, учитывающая число оборотов вала дизеля, дБ.
|
|
Частоты
возмущающих сил 1, 2, 3 порядков определяются по
|
|
формулам:
|
|
|
|
|
|
|
|
|
Дизель
|
|
|
|
|
|
|
|
|
|
|
|
|
|
|
|
|
|
|
|
|
|
|
|
|
|
|
Гребной винт
|
|
|
|
|
|
|
|
|
|
|
|
|
|
|
|
|
Частота
свободных вертикальных колебаний дизеля вдоль оси Z:
|
|
|
|
|
|
|
|
|
|
|
Число опорных
виброизоляторов:
|
|
|
|
|
|
|
|
|
|
|
|
|
|
|
|
|
|
где
|
nв,
Zв - число оборотов и число лопастей винта;
|
|
|
|
|
М - масса
дизеля, кГ;
|
|
|
|
|
|
|
С - общая
динамическая жёсткость виброизоляторов, Па*м;
|
|
|
F - номинальная
нагрузка на один виброизолятор, кГ.
|
|
|
2. Программа
расчёта уровней вибрации дизеля
|
|
|
6ЧН30/38
|
в октавных
полосах частот
|
|
|
|
|
|
|
|
|
|
|
|
2.1 Исходные
данные
|
|
|
|
|
|
Мощность дизеля
N, кВт
|
|
|
442
|
|
|
Диаметр
цилиндра дизеля Д, м
|
|
0,30
|
|
|
Число оборотов
вала дизеля n, об/мин
|
|
330
|
|
|
Число цилиндров
дизеля Z
|
|
|
6
|
|
|
Коэффициент
тактности дизеля k
|
|
0,5
|
|
|
Масса дизеля М,
кг
|
|
|
|
17000
|
|
|
Число оборотов
гребного вала nв, об/мин
|
330
|
|
|
Число лопастей
гребного винта Zв
|
|
4
|
|
|
|
|
|
|
|
|
|
|
|
2.2 Расчёт
уровней вибрации опорных поверхностей
|
|
дизеля в
октавных полосах частот
|
|
|
Расчёт
почастотных составляющих спектра вибрации
|
|
|
63
|
125
|
250
|
500
|
1000
|
2000
|
4000
|
8000
|
|
67
|
69
|
71
|
76
|
83
|
87
|
49
|
-203
|
|
86
|
86
|
86
|
86
|
86
|
85
|
85
|
83
|
|
Спектр уровней
вибрации дизеля заносится в таблицу7.6
|
|
Для определения
спектра Nа необходимо в строку 88 до средней частоты
|
|
2000
|
включительно,
внести с клавиатуры значения уровней вибрации
|
|
из строки 79,
обозначенной прямоугольником, а на других частотах из
|
|
строки 80,
обозначенной треугольником до частоты 8000Гц.
|
|
|
|
|
|
|
|
|
Таблица 7.6
|
|
Частота, Гц
|
63
|
125
|
250
|
500
|
1000
|
2000
|
4000
|
8000
|
|
Nа,
дБ
|
67
|
69
|
71
|
76
|
83
|
85
|
85
|
83
|
|
2.3 Выбор
виброизолятора для дизеля
|
|
|
Уровни
виброускорения опорных поверхностей дизеля сравниваются с предельными
значениями [N], представленными в таблице 7.7 Предельные значения
устанавливают уровни вибрации лап дизеля, при которых уровни структурного
шума в ближайших к машинному отделению помещениях судна не будут превышать
нормативного спектра шума для жилых помещений.
|
|
Частота, Гц
|
63
|
125
|
250
|
500
|
1000
|
2000
|
4000
|
8000
|
|
[N], дБ
|
68
|
69
|
70
|
73
|
77
|
84
|
90
|
96
|
|
Nа,
дБ
|
67,08
|
68,56
|
71,37
|
76,29
|
83,38
|
85,49
|
84,69
|
83,15
|
|
Тип
виброизолятора выбирается таким образом, чтобы его акустическая эффективность
была бы не ниже величины W превышения уровней вибрации дизеля Nа
над допустимым значением [N]. Несоблюдение этого условия допускается в одной
октаве. При полной невозможности выполнения этого условия производят выбор
наиболее эффективного для этого дизеля виброизолятора и указывают на
необходимость применения дополнительных средств снижения структурного шума. К
средствам снижения структурного шума относятся: усиленные двустенные
конструкции ограждений ("плавающие"), вибропоглощающие покрытия,
виброизолирующие крепления надстроек и др.
|
|
|
|
|
|
|
|
|
|
|
|
|
|
|
|
|
|
Расшифровка марок виброизоляторов и их нагрузка представлены
в таблице 6.2.
Таблица 6.2 Акустическая эффективность виброизоляторов, дБ
|
Частота, Гц
|
63
|
125
|
250
|
500
|
1000
|
2000
|
4000
|
8000
|
|
АКСС-М
|
0
|
0
|
10
|
5
|
7
|
12
|
15
|
18
|
|
АКСС-И
|
18
|
15
|
12
|
17
|
20
|
23
|
24
|
25
|
|
РН
|
14
|
12
|
10
|
15
|
17
|
18
|
20
|
20
|
|
АПрС
|
23
|
20
|
15
|
20
|
23
|
25
|
25
|
25
|
|
W, дБ
|
-0,9129
|
-0,4365
|
1,36873
|
3,2912
|
6,38457
|
1,48627
|
-5,3068
|
-12,848
|
|
Марка
|
Расшифровка
марки виброизолятора
|
|
Нагрузка, кг
|
|
АКСС-М -
|
амортизатор
корабельный со страховкой (резина жёсткая);
|
220
|
400
|
|
АКСС-И -
|
амортизатор
корабельный со страховкой (резина мягкая);
|
220
|
400
|
|
РН -
|
амортизатор
резиновый наклонный;
|
|
|
200
|
650
|
|
АПрС -
|
амортизатор
пружинный со страховкой.
|
|
|
200
|
400
|
|
Дизель-генераторы
устанавливают на виброизоляторы АПрс или АКСС-И, а
|
|
главные
двигатели - на РН или АКСС-И.
|
|
|
|
Выбирается
виброизолятор:
|
марка
|
РН
|
нагрузка
|
|
650
|
|
|
|
|
|
жёсткость (табл.7.10)
|
|
10300000
|
|
|
Рекомендуемое
число опорных виброизоляторов
|
|
28
|
|
|
|
Принимаемое
число опорных виброизоляторов
|
|
28
|
|
|
|
2.4
Проектирование системы виброизоляции
|
|
|
|
При
проектировании системы виброизоляции необходимо обеспечить высокую
|
|
|
акустическую
эффективность крепления и надёжность его работы.
|
|
|
|
Следует
стремиться к тому, чтобы частота свободных колебаний виброизолированного
двигателя была бы как можно ниже; не допускается совпадение частот свободных
колебаний и возмущающих сил.
|
|
|
|
|
|
|
Частота свободных
колебаний двигателя зависит от динамической жёсткости
|
|
|
виброизоляторов
(таблица 27), их количества и массы механизма.
|
|
|
|
|
|
|
|
|
|
|
Таблица 7.10
|
|
Номинальная
нагрузка на виброизоляторы и их динамическая жёсткость С
|
|
Марка
|
АКСС-М
|
АКСС-И
|
РН
|
АПрС
|
|
Нагрузка, кг
|
220
|
400
|
220
|
400
|
200
|
650
|
200
|
400
|
|
С, Па*м
|
9700000
|
10300000
|
3900000
|
5200000
|
3300000
|
10300000
|
140000
|
267000
|
|
Расчёт частот
колебаний
|
|
|
|
|
|
Частота (Гц)
возмущающих сил для дизеля:
|
|
|
|
|
|
|
первого порядка
|
|
6
|
|
|
|
|
второго порядка
|
|
17
|
|
|
Частота (Гц)
возмущающих сил для гребного винта:
|
|
|
|
|
|
первого порядка
|
|
6
|
|
|
|
|
второго
порядка;
|
4-х лопастные
винты
|
11
|
|
|
|
|
третьего
порядка
|
|
22
|
|
|
Частота
свободных вертикальных колебаний дизеля
|
21
|
|
|
Частота
свободных вертикальных колебаний дизеля не должна совпадать с частотами
возмущающих сил, чтобы не вызвать опасных резонансов и усиления колебаний.
При совпадении частот можно уменьшить количество виброизоляторов на 2,
относительно рекомендуемого, или изменить систему виброизоляции, а затем
повторить расчёт.
|
|
2.5 Подготовка
данных для построения спектров вибрации
|
|
Частота, Гц
|
63
|
125
|
250
|
500
|
1000
|
2000
|
4000
|
8000
|
|
Nа, дБ
|
67,09
|
68,56
|
71,37
|
76,29
|
83,38
|
85,48
|
84,69
|
83,15
|
|
[N], дБ
|
68
|
69
|
70
|
73
|
77
|
84
|
90
|
96
|
|
РН
|
14
|
12
|
10
|
15
|
17
|
18
|
20
|
20
|
|
Nф,
дБ
|
53,091
|
56,56
|
61,37
|
61,29
|
66,38
|
67,48
|
64,69
|
63,15
|
Nф - уровни
вибрации на фундаменте после виброизоляторов.
|
|
|
В таблицу п.2.5
(строка 171) копируется марка и эффективность выбранного виброизолятора из
табл.3 и автоматически строится точечный график на отдельном листе, где вносится
марка дизеля (пояснение см. на Листе1).
|
Выводы
Виброизоляция дизеля 6ЧН30/38 необходима, т.к. уровни
вибрации в части расчетного диапазона превышают допустимые значения.
Для выправления ситуации необходимо использовать
виброизоляторы марки РН имеющие следующие характеристики: нагрузка - 650 кг;
количество - 28 шт.
В этом случае уровни вибрации находятся в допустимых пределах
во всем расчетном диапазоне (рис.7.1).
Рис.6.1 Уровни вибрации двигателя 6ЧН30/38
6.3
Безопасность жизнедеятельности. Оценка пожароопасной обстановки в населенном
пункте
6.3.1 Общие
сведения
Тяжелые последствия для населенных пунктов, промышленных
производств, экипажей и судов речного флота, например буксирного судна проекта
Р18А, а также морского флота оказывают чрезвычайные ситуации (ЧС), связанные с
пожарами. Они наносят огромный материальный ущерб экономике, гибнут и получают
травмы сотни, тысячи людей, губительно воздействуют на состояние окружающей
среды [12, 13].
Предприятия, плавсредства, объекты, технологические процессы,
которые используют, перевозят легко воспламеняющие, горючие жидкости, твердые
горючие вещества и т.п. называют пожароопасными. Степень опасности их зависит
от количества потенциальной энергии.
В соответствии с Федеральным законом "О промышленной
безопасности объектов (ОПО)", принятом 20.06.97, к пожароопасным объектам
относятся объекты, на которых получаются, используются, перерабатываются,
хранятся и транспортируются следующие опасные вещества:
а) воспламеняющие вещества - газы, которые при нормальном
давлении и в смеси с воздухом становятся воспламеняющими;
б) окисляющие вещества - вещества, поддерживающие горение,
вызывающие воспламенение и способствующие воспламенению других веществ в
результате окислительно-восстановительной экзотермической реакции;
в) горючие вещества - жидкости, газы, пыли, способные
самовозгораться, а также возгораться от источника зажигания и самостоятельно
гореть после его удаления.
В условиях промышленного производства, функционирования
технологических процессов, транспортировки пожароопасных веществ при возможных
контактах их с окислителем может возникнуть пожар, как в помещениях, так и в
отсеках, на палубах судна.
Пожар есть неконтролируемый процесс горения, сопровождаемый
уничтожением материальных ценностей и создающий опасность для жизни людей.
Пространство, охваченное пожаром, разделяют на три зоны: активного горения,
теплового воздействия и задымления. Зона активного горения характеризуется
наличием пламени, раскаленных конструкций, материалов.
Пространство вокруг зоны горения, где температура достигает
значений, опасных для людей, определяет зону теплового воздействия с
ограничением температуры до 60-80°С. Зона задымления определяется выделяемыми
при пожаре продуктами сгорания - дымом, который содержит ядовитые вещества,
газы: сероводород, окись углерода, формальдегид, угарный газ и т.п. При пожаре
в помещениях в верхней части температура наибольшая и может достигать
1000-1200°С, ближе к полу температура значительно снижается. Этим объясняется
подъем продуктов сгорания вверх, что вызывает экранирующее действие выделяющего
дыма.
По времени пожар делят на три фазы. Первая - начальная фаза,
которая характеризуется длительностью 5-30 мин. В этой фазе повышается
температура, идет подготовка горючих материалов к быстрому воспламенению.
Вторая фаза характеризуется интенсивным распространением огня с большей
скоростью прироста температуры. Например, скорость распространения огня по
поверхности горючей жидкости - спирта достигает 23 м/мин. В третьей фазе - фазе
выгорания, температура уменьшается до остывания золы и углей.
Основными поражающими факторами пожара для людей являются:
термическое воздействие и химическое заражение ядовитыми веществами, газами,
образующимися при горении. Так, в судовом помещении при окиси углерода с
поражающей концентрацией Спор = 2,4 мг/л, время экспозиции
(летальный исход) составляет Tэкc = 25 мин; при концентрации С = 6
мг/л - время экспозиции Тэкс = 5 мин. В соответствии с Федеральным
Законом "О промышленной безопасности опасных производственных
объектов" и постановлением № 66 от 7.09.99 г. Госгортехнадзора РФ объекты,
имеющие основные вещества в количествах, указанных в таблице 1 [14], обязаны
разрабатывать декларации промышленной безопасности.
При разработке указанной декларации производится оценка
пожаровзрывоопасной обстановки.
6.2.2
Исходные данные для оценки пожароопасной обстановки в населенном пункте
При сильном ветре со скоростью - VB = 5 м/с и
относительной влажностью воздуха - j = 40% возник пожар в
населенном пункте Орехово, в котором находится морской порт, где стоит судно
проекта Р18А, и судоремонтный завод. По характеру застройки здания населенного
пункта представляют:
деревянные дома (на окраине), расстояние между домами - rд
= 12 м, площадь здания - Sд = 4 км2, площадь территории -
Sтер. д = 12 км2;
кирпичные дома с деревянными оштукатуренными переборками,
расстояние между домами rк = 15 м, площадь зданий - Sк =
24 км2, площадь территорий Sтер. к. = 38 км2.
Судоремонтный завод включает два административных кирпичных
здания с деревянными переборками, расстояние между домами - rадм =
12 м, площадь здания - Sадм = 0,6 км2, площадь территории
- Sтер. адм = 1,8 км2.
Для тушения пожара используется вода:
расход воды, подаваемой пожарной охраной,
Q = 110 л/с;
допустимое время от начала пожара до
полного тушения, tдоп = 0,5 ч = 1800 с;
удельный расход воды для тушения пожара G
= 600 л/м3;
длина фронта пожара Lф = 250 м.
6.2.3 Оценка
пожароопасной обстановки
Под пожароопасной обстановкой понимается совокупность
условий, складывающихся в результате возникновения пожаров в населенных пунктах
водного транспорта и т.п.
Определяющим в образовании этой обстановки является: наличие
условий для возникновения горения и пожаров; характер застройки, огнестойкость
здания в населенных пунктах, горючести материалов помещений, объектов;
направление, скорость ветра; наличие, количество, тип горючих веществ и
материалов и др.
Определение пожароопасности проведем для наиболее характерных
случаев:
. оценка пожароопасной обстановки в населенном пункте;
2. определение площади, силы и средств
тушения пожара.
6.2.3.1 Оценка пожароопасной обстановки в населенном пункте
Пожарная обстановка в населенном районе будет зависеть от
характера застройки, огнестойкости зданий, категории пожарной опасности
объектов и производств, размещенных на территории.
Исходными данными для оценки являются: - расстояние
между зданиями, м; VB - скорость ветра, м/с; j - влажность воздуха, %;
состав и размеры зданий (жилые помещения, цех и т.п.); типы горящих материалов;
периметр пожара; площадь пожара; время развития пожара и др.
По табл.1 [14] определяем степень огнестойкости зданий
промышленных, транспортных помещений и др. объектов с учетом типа, состава
веществ, материалов.
Здания населенного пункта Орехово:
деревянные дома на окраине имеют V степень огнестойкости,
время предела их огнестойкости - tпр. огн £ 0,5 ч;
кирпичные дома с деревянными оштукатуренными переборками
имеют III степень огнестойкости, время предела их огнестойкости - tпр. огн
= 1,5 ч.
Здания судоремонтного завода:
два административных кирпичных здания с деревянными
переборками имеют III степень огнестойкости, время предела их огнестойкости - tпр.
огн = 1,5 ч.
По табл.2 [14] устанавливаем категорию пожарной опасности
объекта с учетом характера технологических процессов, типа промышленного
производства, характеристики веществ и материалов.
Порт:
в порту находится судно, на палубе которого расположен
резервуар с нефтепродуктами, поэтому он имеет категорию объекта Б
(взрывопожароопасная).
Определяем плотность застройки территории из соотношения:
(1)
где Пзас - плотность застройки территории, %; Sзд
- площадь зданий, цехов, км2; Sтep - площадь
территорий, км2.
Здания населенного пункта Орехово:
деревянные дома на окраине имеют плотность застройки
;
кирпичные дома с деревянными оштукатуренными переборками
.
Административные здания судоремонтного завода:
.
По табл.3 [14] определяем вероятность возникновения и
распространения пожара - Р% в зависимости от плотности застройки - П%.
Здания населенного пункта Орехово:
деревянные дома на окраине имеют вероятность возникновения и
распространения пожара Р = 68,89%;
кирпичные дома с деревянными оштукатуренными переборками
имеют вероятность возникновения и распространения пожара Р > 90%.
Административные здания судоремонтного завода имеют
вероятность возникновения и распространения пожара Р = 68,9%.
По табл.4 [14] определяем вероятность возникновения и
распространения пожара в зависимости от расстояния между зданиями - r,
соответствующему противопожарному разрыву.
Здания населенного пункта Орехово:
деревянные дома на окраине имеют вероятность возникновения и
распространения пожара Р = 58,2%;
кирпичные дома с деревянными оштукатуренными переборками
имеют вероятность возникновения и распространения пожара Р = 45%.
Административные здания судоремонтного завода имеют
вероятность возникновения и распространения пожара Р = 58,2%.
Скорость распространения пожара в зависимости от скорости
ветра и влажности воздуха находятся по графику рис.7.2 [14]. Из графиков видно,
что при относительной влажности 40% и скорости ветра VB = 5 м/с:
скорость пожара населенного пункта с деревянной застройкой
составляет Vпож ~ 150-200 м/ч;
скорость пожара населенного пункта с каменными зданиями
составляет Vпож ~ 60-120 м/ч.
Следовательно, в обоих случаях требуется срочная эвакуация
населения.
Определение площади, на которой обеспечивается тушение
пожара, проводится по формуле:
м2, (2)
где F - площадь, на которой обеспечивается тушение, м2;-
расход воды, подаваемой подразделениями пожарной охраны, л/с;
tдоп - допустимое время от начала пожара до полного
тушения, с; G - удельный расход воды для тушения пожара, л/м2.
tдоп = tпр + tл, (3)
где tпр - время свободного развития пожара, с; tл - время локализации пожара,
с.
Рис.6.2 Зависимость скорости распространения пожара от
скорости ветра и влажности воздуха
Силы и средства для тушения пожара приближенно оценивают по
формуле:
, (4)
где n - число отделений пожаротушения,ф - длина
фронта пожара на одно отделение.
6.2.4 Анализ
полученных результатов
1. В ходе выполнения оценки пожароопасной обстановки в
населенном пункте установлено, что наименее огнестойкими являются деревянные
дома на окраине, которые имеют V степень огнестойкости и время предела
огнестойкости - tпр. огн £ 0,5 ч. Наиболее высокую
категорию пожарной опасности имеет порт, где находится судно, на палубе которого
расположен резервуар с нефтепродуктами - категория объекта Б
(взрывопожароопасная). Судно проекта Р18А находится на объекте категории Б.
. Наибольшую плотность застройки имеют кирпичные дома с
деревянными оштукатуренными переборками (П = 63,2%), поэтому здесь вероятность
возникновения и распространения пожара Р > 90%. Расстояния между зданиями
наиболее неблагоприятны у деревянных домов на окраине населенного пункта и у
административных зданий судоремонтного завода, у них самая высокая вероятность
возникновения и распространения пожара (Р = 58,2%).
. Установлено, что при относительной влажности 40 % и
скорости ветра VB = 5 м/с: скорость пожара населенного пункта с
деревянной застройкой составляет Vпож ~ 150-200 м/ч; скорость пожара
населенного пункта с каменными зданиями составляет Vпож ~ 60-120
м/ч.
Следовательно, в обоих случаях требуется срочная эвакуация
населения и экипажа судна проекта Р18А.
. Площадь, на которой обеспечивается тушение пожара,
составляет 330 м3; для тушения пожара необходимо использовать пять
отделений пожаротушения.
6.2.5
Рекомендации по предотвращению пожара на судне
Для предотвращения пожара на судне проекта Р18А проводятся
пожарно-технические обследования (ПТО).
Организация и проведение пожарно-технических обследований
судов осуществляется на основании анализа оперативной обстановки и планирования
службами Капитана порта, подразделениями морской безопасности.
ПТО судов подразделяются на следующие виды: детальные;
контрольные; внеочередные и повторные проверки.
Детальные пожарно-технические обследования судов проводятся
специалистами подразделений морской безопасности совместно с Инспекцией
государственного надзора порта (ИГНЛ), не реже одного раза в год, в период
нахождения судна в Российском порту, с участием представителя судовой
администрации, отвечающего за пожарную безопасность.
При проведении детального ПТО должностные лица осуществляют
контроль за:
а) соблюдением требований и норм пожарной безопасности, а так
же выполнением предыдущих актов ИГНП, актов пожарно-технических обследований и
проверок судна (для судов река-море - актов речной пожарной инспекцией
государственных бассейновых управлений водных путей и судоходства);
б) наличием, состоянием, действием систем и средств
противопожарной защиты судов, их соответствие требованиям Международных
соглашений и Конвенций по охране человеческой жизни на море, Правилам
классификации и постройки судов Российского Морского Регистра Судоходства
(РМРС, регламентное обслуживание, освидетельствование), наличием сертификатов
на первичные средства пожаротушения, оборудование и снабжение от предприятий,
имеющих на данный вид противопожарных услуг лицензии Государственной
противопожарной службы МВД РФ, а также свидетельства о признании РМРС;
в) ведением судовой документации по организации и обеспечению
противопожарного режима, соблюдением процедур свидетельства управления
безопасности судна, в части организации пожарной вахты, готовностью аварийных
партий и групп, содержанию, обслуживанию и ремонту противопожарного снабжения,
систем и средств противопожарной защиты по заведованию;
г) осуществлением мер по обеспечению пожарной безопасности в
различных режимах эксплуатации судна;
д) проведением профилактической работы, противопожарной
пропаганды, обучения и инструктажей судовых экипажей, пассажиров о мерах
пожарной безопасности.
Результаты детального обследования судов оформляются
письменно актом по форме "Акт пожарно-технического обследования
судна", с использованием кодовой системы Базы Данных (БД FSC-RU).
На основании Акта ПТО инспекция государственного надзора
порта принимает решение на выход судна из порта.
При проведении контрольных ПТО производится проверка
устранения нарушений, выявленных при проведении последнего детального ПТО и
(или) нарушений, выявленных при проведении предшествующих внеочередных
проверок.
При проведении контрольного ПТО должностные лица
осуществляют:
а) наружный осмотр и проверку исправности систем и средств
противопожарной защиты судна,
б) проверку наличия соответствующей судовой документации,
записей в ней о проведении экипажем или компетентными органами, в установленные
сроки, определенных видов проверок, обслуживания и ремонта оборудования,
обучения экипажа,
в) проверку соблюдения противопожарного режима в судовых
помещениях, на палубах и содержание установленного на них оборудования,
г) проверку соответствия фактического количества первичных
средств пожаротушения, противопожарного снабжения нормам, установленным для
данного судна,
д) проверку соответствия количества членов экипажа обученных
правилам работы в изолирующих дыхательных аппаратах, имеющих практические
навыки по приведению в действие стационарных систем пожаротушения,
е) проверку знаний вахтенной службы своих служебных
обязанностей по стояночному расписанию, по борьбе с пожаром.
Более расширенные методы проверки могут быть использованы в
случае возникновения у проверяющего сомнений в исправности оборудования и
готовности экипажа к тушению пожара.
Результаты контрольного ПТО судна должны оформляться
соответствующим актом, аналогично порядку оформления результатов детального
ПТО, с указанием срока очередного обследования и соответствующего заключения.
Внеочередные обследования судов проводятся специалистами
подразделений морской безопасности, самостоятельно или совместно с ИГНП,
неоднократно (в любое время суток) в период стоянки и исходя из оперативной
обстановки на судах и в порт, а также в целях проведения обследования судов при
расследовании аварийных и чрезвычайных ситуаций.
Повторные обследования - проводятся специалистами
подразделении морской безопасности самостоятельно или совместно с ИГНП по
заявке капитана судна (агента, судовладельца) после устранения замечаний,
указанных в Акте ПТО, выявленных в ходе обследования и отмеченных для
устранения до оформления отхода судна.
Результаты повторного обследования заносятся в Акт
пожарно-технического обследования судна с отметкой о возможности выхода судна в
море.
6.2.6
Действия экипажа при пожаре на судне
1. Успех борьбы с пожарами на судне проекта Р18А
обеспечивается умелыми организованными действиями членов экипажа в части:
обнаружения и выявления места, размера и характера пожара;
установления наличия и эвакуации людей из помещений, охваченных пожаром;
ограничения распространения пожара по судну: предупреждения
возможных взрывов при пожаре; борьбы с огнем и ликвидации последствий пожара.
. Предотвращение распространения огня и его ликвидация
обеспечиваются:
быстрой герметизацией судна;
незамедлительным применением и эффективным использованием
первичных средств пожаротушения;
активным вводом на решающем направлении членов аварийной
партии с пожарными стволами и их умелыми действиями:
бесперебойной подачей огнетушащих средств и маневрированием
водяными и пенными стволами:
вскрытием конструкций для создания противопожарных разрывов
путем разборки горючих материалов.
. По общесудовой тревоге, согласно расписанию по тревогам:
проводится полная или по команде с ГКП частичная герметизация
корпуса и надстроек, задраиваются все люки, двери, горловины, иллюминаторы и
вентиляционные закрытия;
все стационарные системы пожаротушения и предметы
противопожарного снабжения судна приводятся в полную готовность к немедленному
действию; при этом количество одновременно действующих пожарных кранов должно
выбираться таким образом, чтобы не снижалось давление воды в пожарной системе;
аварийная партия высылает группу разведки в составе двух-трех
человек, одетых в снаряжение пожарного для установления фактического положения
в районе пожара и одновременно приступают к его тушению принимаются меры по
предотвращению распространения пожара и задымления смежных помещений;
шлюпки, оказавшиеся под угрозой огня, по команде с ГКП
немедленно спускается.
. При разведке района пожара устанавливаются место и размеры
пожара, наличие людей в горящих помещениях, тип горящих материалов (что горит),
пути распространения пожара по судну, опасность пожара для смежных помещений и
людей, условия, усложняющие или облегчающие борьбу с пожаром.
. Результаты разведки докладываются на ГКП. Дальнейшие
действия экипажа по борьбе с пожаром определяются распоряжениями с ГКП.
. До начала тушения пожара в любом помещении последнее
необходимо обесточить. Отключение электроэнергии в районе пожара производится
по разрешению или команде ГКП.
Электрическое напряжение с главного и других
распределительных электрощитов следует снимать только в том случае, когда
возникает прямая угроза короткого замыкания и появления более тяжелой аварии.
. Следует иметь в виду, что в случае возгорания жидкого
топлива в судовых помещениях, выделяющиеся газы в смеси с воздухом могут
образовать взрывоопасные концентрации.
Для предотвращения взрывов горючих газов или паров в закрытых
объемах при ведении борьбы с пожаром необходимо:
принять меры по ограничению распространения газов и паров в
другие помещения судна:
с разрешения ГКП отключить электрические сети в зоне
скопления горючих газов и паров;
снизить взрывоопасную концентрацию газов и паров путем
усиления вентилирования отсека, заполнения его воздушно-механической пеной,
углекислотой и инертными газами.
. При распространении взрывоопасных (огнеопасных газов
(паров) по судну во избежание взрыва, пожара или поражения людей необходима:
ликвидировать все источники открытого огня; прекратить все
грузовые операции;
привести, если возможно, судно на курс, обеспечивающий
безопасность членов экипажа и пассажиров от поражения газами.
. В помещениях, заполненных газами или паром, все работы
должны проводиться в соответствующем снаряжении.
. При наличии пострадавших должна быть обеспечена их
эвакуация в безопасное место для оказания им первой медицинской помощи.
Литература