Расчет трансформатора малой мощности
РОСЖЕЛДОР
Государственное образовательное
учреждение
высшего профессионального образования
"Ростовский государственный
университет путей сообщения"
Кафедра "Электрические машины и
аппараты"
Курсовая работа
РАСЧЕТ ТРАНСФОРМАТОРА МАЛОЙ МОЩНОСТИ
по дисциплине
"Электрические машины и
электропривод"
Руковод. работы,
к. т. н. доц. (Замшина Л.Л.)
Студент группы
АКС-3-182 (Данилюк А.А.)
Содержание
Введение
Определение расчётной мощности
Определение токов в обмотках
Определение сечений и диаметров проводов обмоток
Определение поперечного сечения стержня сердечника
Определение числа витков обмоток трансформатора
Определение площади окна сердечника
Выбор сердечника трансформатора
Проверка возможности размещения обмоток в окне сердечника
Определение средней длины витка обмоток
Расчет массы меди обмоток
Определение массы стали
Определение потерь в стали и намагничивающего тока
Определение потерь в меди обмоток трансформатора
Определение активных сопротивлений обмоток
Определение индуктивных сопротивлений рассеяния обмоток (в
относительных единицах)
Падения напряжений на обмотках при номинальной нагрузке (в
относительных единицах)
Напряжения на вторичных обмотках
Коэффициент полезного действия трансформатора
Проверка трансформатора на нагревание
Выбор проводов для выводов обмоток
Сводные данные расчета трансформатора
Список используемой литературы
Введение
Трансформатор - это статическое электромагнитное устройство,
имеющее две или более индуктивно связанные обмотки и предназначенное для
преобразования параметров электрической энергии переменного тока.
Основными активными частями трансформатора являются
магнитопровод и и обмотки. Сердечник трансформатора набирается из отдельных
стальных пластин. Пластины изолированы друг от друга.
Стержень - часть сердечника, на котором располагается
обмотка. Ярмо-часть сердечника, которая замыкает стержни между собой. В
зависимости от конструкции магнитопровода трансформаторы бывают броневые,
стержневые и кольцевые. Входное напряжение подается на первичную обмотку. Выходное
напряжение снимается со вторичной обмотки. При подключении первичной обмотки
трансформатора к сети по ней потечет переменный ток, который создаст переменный
магнитный поток, пересекающий витки обеих обмоток трансформатора. В результате
в обеих обмотках будет индуцироваться Э.Д.С., величина которого пропорциональна
числам витков и магнитной индукции.
Трансформаторы малой мощности (ТММ) широко используются в
современных схемах автоматики, телемеханики и связи в качестве электропитающих
элементов. Это обычно трансформаторы, мощность которых менее 4 кВА для
однофазной цепи или 5 кВА для трехфазной цепи. Расчет этих трансформаторов
имеет ряд особенностей в отличие от трансформаторов общего назначения. В ряде
случаев к ним предъявляются самые жесткие требования по весовым и габаритным
показателям, вместе с тем достаточного остро стоит вопрос экономической
эффективности трансформаторов, что связано с большими масштабами их
производства. Эффективность и надежность их работы зависит от целого ряда
факторов, в том числе от технологии производства. Соблюдения правил технической
эксплуатации. Многие факторы могут быть учтены на стадии проектирования за счет
применен более прогрессивных материалов, правильного выбора величин
электромагнитных нагрузок, создания лучших условий охлаждения.
трансформатор малая мощность ток
Определение
расчётной мощности
Для определения расчётной мощности трансформатора можно
воспользоваться приближённой формулой: Sp≈S2+S3,где S2, S3 - номинальные полные
мощности вторичных обмоток, ВА
Sp≈120+50=170 ВА.
Выбор конструкции магнитопровода
При мощности выше 100 ВА рекомендуется выбирать или
стержневой трансформатор с двумя катушками ленточным разъемным сердечником (при
минимуме массы) или броневой пластинчатый (при минимуме стоимости).
Так как Sp=200>100 ВА выбираем стержневой трансформатор
с двумя катушками ленточным разъемным сердечником.
Выбор материала сердечника
При f=400 Гц и при расчётном условии на минимум стоимости выбираем
сталь марки 3411 толщиной 0,2 мм.
Выбор предварительных значений максимальной магнитной
индукции Вмакс, плотности тока jср, коэффициента заполнения
окна kок и коэффициента заполнения магнитопровода kст.
Приведенные в табл.4…7 значения указанных величин могут
использоваться как рекомендуемые для трансформаторов при величине напряжения на
зажимах обмотки, не превышающей 500 В.
Bmax=1,3 Tл;cp= 3,5 A/мм2;
Кок= 0,24;
Кст=0,91.
Коэффициенты заполнения для пластинчатых сердечников указаны
при изоляции пластин лаком или фосфатом пленкой.
Определение
токов в обмотках
Ток первичной обмотки:
I1=
, А,
где Iа1 и Ip1 - активная и реактивная составляющие тока
I1 первичной обмотки. При этом:
Iа1=
, А;
Ip1=
+Iμ, А.
Величина тока намагничивания Iμ для маломощного трансформатора
предварительно принимается равной 40% от активной составляющей Iа1.
Iа1=
А;
Ip1=
А;
Тогда I1 =
А.
Токи вторичных обмоток определяются по формулам:
I2=
, А; I3=
, А. I2 =120/300=0.4
А;
I3=50/18=2.7
(7) А;
Определение
сечений и диаметров проводов обмоток
Предварительные значения площадей поперечных сечений проводов
обмоток рассчитываются по формулам:
q1/=
, мм2;
q2/=
, мм2;
q3/=
, мм2;
где I1, I2, I3 - токи соответствующих обмоток, А;
jср -
среднее значение плотности токов в обмотках, А/мм2;
q1/, q2/, q3/-предварительные значения площадей
поперечных сечений проводов обмоток, мм2;
q1/=0.9608/3,5=0,27451 мм2;
q2/=0,4/3,5=0,11428 мм2;
q3/=2.7777/3,5=0.79365 мм2.
По таблице стандартных сечений и диаметров проводов выбираются
окончательные сечения проводов обмоток: q1=0,2376
мм2,q2=0,1320 мм2,q3=0.8495 мм2,их диаметры без
изоляции: d1=0.55 мм, d2=0.41 мм, d3=1.04 мм,
их диаметры с изоляцией:
d1и=0.60
мм,
d2и=0.45
мм,
d3и=1.12
мм.
При напряжении обмоток до 500 В и токах до нескольких ампер
рекомендуется применять провода марок ПЭВ-1 до диаметров 1…2 мм и марки ПСД для
диаметров больше 2 мм (допустимая температура нагрева 103˚С).
По выбранным сечениям проводов уточняются плотности тока в
обмотках:
j1=
= 0,9608 /0,2376=4,04363 А/мм2,j2=
=0,4/0,1320=3, (03)
А/мм2,j3=
=2, (7) /0,8495=3,269897 А/мм2.
Определение
поперечного сечения стержня сердечника
Поперечное сечение стержня сердечника трансформатора Qст. расч можно определить по
формуле:
Qст. расч=C
, см2
где S1=U1I1 - полная
мощность первичной обмотки трансформатора, ВА;
S1=220·0,9608=211,36887
ВА;
U1 -
напряжение первичной обмотки, В;
I1 - ток
первичной обмотки, А;
С - постоянный коэффициент, который может быть принят для
трансформаторов стержневого типа с прямоугольными катушками C=0,6
=
- отношение массы стали Gст к массе меди Gм. При расчёте на миниму массы трансформатора
принимаем
=3
Jср -
плотность тока в обмотках.
Qст. расч=0,6·
=3,5416 см2.
Полное поперечное сечение стержня (с учётом междулистовой
изоляции) запишется:
Q/ст.
расч. =
, см2;
где Кст. - коэффициент заполнения сердечника сталью;
Q/ст.
расч=3,5416/0,91=3,8918
см2.
Определение
числа витков обмоток трансформатора
Приближённые значения действующих ЭДС в обмотках
трансформатора могут быть определены по формулам:
Е1=U1 - (1-∆U1%/100), В;
Е2=U2+ (1+∆U2%/100), В;
Е3=U3+ (1+∆U3%/100), В
где ∆Ui% - падение напряжения в соответствующей обмотке
при нагрузке в процентах от его номинального значения.
Величины падений напряжений ∆U% зависят от многих
факторов: конфигурации магнитопровода, величины рабочего напряжения, суммарной
мощности вторичных обмоток, частоты тока сети. Значения выбираются из табл.8:
∆U1%=1 %, ∆U2%=1,35 %, ∆U3%=1,65 %
Е1=220· (1-1/100) =217,8 В;
Е2=300· (1+1,35/100) =304,05 В;
Е3=18· (1+1,65/100) =18,297 В.
Определяем ЭДС одного витка:
Е/В=4,44·f·Вmax·Qст. расч., В,
Е/В=4,44·400·1,3·3,5416·10-4
=0,8177 В.
Определяем предварительное число витков в обмотках
трансформатора:
W/1=
, витков; W/2=
, витков; W/3=
, витков.
W/1=217,8/0,8177=266,4 витков;
W/2=304,05/0,8177=371,8450 витков;
W/3=18,297 /0,8177=23,3767 витков.
Так как число витков обмотки низшего напряжения W/3 получилось
дробным, то его округляем до целого числа W3=24.
Еb= Е/В
, В;
Bc. расч. =Bмакс.
, Тл;
W1=W1/
;
W2=W2/
.
Еb=0,8177·23,3767 /24=0,762375 В
Bc. расч. =1,3·23,3767 /24=1,212073 Тл
W1=266,3636·24/23,3767
=285,6862.
Принимаем W1=286 витков.
W2=371,8450·24/23,3767
=398,8195 витков.
Принимаем W2=399 витков.
Определяем напряжение на вторичных обмотках при холостом ходе, В:
U20=EbW2; U30=EbW3; U20=0,762375·399=304,05 В;30=0,762375·24=18,297 В.
Определение
площади окна сердечника
Площадь окна сердечника F0, необходимая для
размещения всех обмоток трансформатора, определяется по формуле
F0=
см2,
где q1, q2, q3-площади поперечного сечения проводов обмоток трансформатора, мм2;
W1, W2, W3-соответствующие числа витков обмоток;
Kок -
коэффициент заполнения окна сердечника обмоткой, равный 0,24.
F0=
(0,2376·286+0,1320·399+0,8495·24) /100·0,24=5,871 см2.
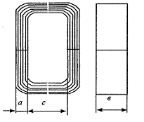
Выбор
сердечника трансформатора
Основные размеры сердечников:
h - Высота окна;
c - Ширина окна;
а - Ширина стержня;
b - Толщина пакета.
Так как стандартный ленточный сердечник подобрать не удаётся, то
проектирование ведётся из расчёта на нестандартный сердечник. Для этого, приняв
оптимальные отношения
=1,5 и
= 2,5 определяют размеры магнитопровода, см:
b=
;
h=
;
а=
;
с=
. b=
=2,4161 см;
а=2,4161/1,5=1,611 см;
h=
=3,83122 см;
с=3,83122 /2,5=1,5325 см.
Размеры сердечника округляем до целых чисел:
b=22 мм;
h=41 мм;
а=14 мм;
с=19 мм.
Проверим выполнение соотношений:
Qст. выбр. =a·b ≈Q/ст.
расч.;
h·c≥F0;
,08. ≈3,06
,871≥5,865
Произведём перерасчёт магнитной индукции, Т:
Вс. = Вс. расч
;
Вс. =1, 1984·3,08/3,06 =1,3319.
Тип сердечника трансформатора:
Рисунок 1 Стержневой ленточный магнитопровод
Проверка
возможности размещения обмоток в окне сердечника
Для проверки пригодности выбранного ранее сердечника
определяется радиальная толщина обмоток трансформатора.
Число витков первичной обмотки в одном слое n1 составит:
n1=
,
где h - высота окна выбранного сердечника, мм;
d1u -
диаметр провода первичной обмотки с изоляцией;
hиз.1 -
расстояние от обмотки до ярма, мм, hиз.1 =2 мм;
ky1 = коэффициент укладки провода в осевом направлении, ky1 =1,045.
n1=
(41-2·2) /0,60·1,045=59,011≈59.
Число слоев первичной обмотки m1
двухкатушечного трансформатора составит:
m1=
,
где
W1 - число
витков первичной обмотки.
m1=133/59·2=2,421.
Полученное значение округляем до ближайшего целого числа m1=3
Напряжение между двумя слоями первичной обмотки определяется по
формуле:
Uc1=2n1·E, В,
Uc1= 2·59·0,7623=89,96 В.
т. к напряжение между двумя слоями превышает 50 В, то между слоями
обмотки нужно помещать изоляционные прокладки толщиной γ1 =0,05.
Толщина первичной обмотки δ1 составит:
δ1= ky2·m1·d1u+kмс· (m-1) ·γ1, мм,
где ky2 - коэффициент укладки обмотки в радиальном направлении, ky2= 1,055;
m1 - число
слоев первичной обмотки; d1u - диаметр провода первичной обмотки с
изоляцией, мм;
kмс -
коэффициент неплотности междуслоевой изоляции определяется по кривым, в
зависимости от диаметра провода и толщины изоляции kмс=1,08
δ1=1,055·3·0,60+1,08· (3-1) ·0,05=4,059 мм.
Число витков вторичной обмотки в одном слое составит:
n2=
,
где
d2u -
диаметр провода вторичной обмотки с изоляцией, мм;
hиз2 -
расстояние от вторичной обмотки до ярма, мм, hиз2= 2 мм;
ky1 - коэффициент укладки провода в осевом направлении = 1,045.
n2=
(41-2·2) /0,45·1,045=78,681 ≈ 79.
Число слоев вторичной обмотки m2
двухкатушечного стержневого трансформатора составит:
m2=
,
где W2 - число витков вторичной обмотки.
m2=372/2/79=2,5242.
Полученное значение округляем до ближайшего целого числа m2=3.
Напряжение между двумя слоями вторичной обмотки определяется по
формуле:
Uc2=2n2·Eв, В,
Uc2=2·79·0,7623=120,45525 B.
Т.к. напряжение между двумя слоями превышает 50В, то между слоями
обмотки следует помещать изоляционные прокладки толщиной γ=0,05 мм, kмс = 1,08, ky2= 1,055.
Толщина вторичной обмотки δ2 составит:
δ2=ky2m2d2u+kмс (m2-1) γ, мм,
δ2=1,055·3·0,45+1,08 (3-1) ·0,05=1,53225 мм.
Число витков третьей обмотки в одном слое составит:
n3=
,
где dзи - диаметр провода третьей обмотки с изоляцией;
ky1 - коэффициент укладки провода в осевом направлении; ky1 =1,045;
hизз -
расстояние от третьей обмотки до ярма, мм; hизз=2 мм.
n3=
(41-2·2) /1,12·1,045=31,6131 ≈ 32.
Число слоев третьей обмотки трансформатора составит:
m3=
,
где W3 - число витков вторичной обмотки.
m3=24/2/32=0,375.
Полученное значение округляем до целого числа m3=1.
Напряжение между двумя слоями вторичной обмотки определяется по
формуле:
Uc3=2n3·Eв, В,
Uc3=2·30·0,2199=13, 194 B.
Т.к. напряжение между двумя слоями не превышает 50В, то между
слоями обмотки не следует помещать изоляционные прокладки. kмс = 1,08, ky3= 1,055.
Толщина третьей обмотки составит:
δ3=ky3m3d3u+kмс (m3-1) γ3, мм,
δ3=1,055·1·1,12=1,1816 мм.
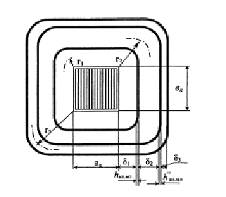
Рисунок 2 Изоляционные расстояния при размещении обмоток на
каркасе
Полный радиальный размер катушки определяем по формуле:
акат=
, мм,
где
- зазор между гильзой и сердечником,
принимается равным 0,5 мм;
hиз. ос - толщина
каркаса с учетом дополнительной изоляции поверх каркаса, мм;
- радиальные размеры обмоток, мм;
hиз. н - толщина
наружной изоляции, мм;
h/из.
мо, h // из. мо - толщина междуобмоточной изоляции, мм;
kмо -
коэффициент неплотности междуобмоточной изоляции, равный 1,25;
kв -
коэффициент выпучивания в радиальном направлении, равный 1;
kно -
коэффициент неплотности намотки наружной изоляции принимается равным 1,7.
Толщина каркаса принимается равной 1,5 мм. Поверх каркаса
наматывают изоляционную бумагу, обеспечивающую лучшую укладку провода и
усиливающую изоляцию. Для этой цели применяют кабельную бумагу марки К-12
толщиной 0,12 мм в два слоя при величине рабочего напряжения первичной обмотки
до 500 В, hизос= 1,62 мм.
Толщина наружной изоляции hизм
выбирается в соответствии с рабочим напряжением последней обмотки. При Uр <500 В наружную изоляцию выполняют из двух слоёв бумаги
К-12 и одного слоя батистовой ленты толщиной 0,16 мм, hиз. н=0,4
мм.
Толщина изоляции между обмотками определяется в зависимости от
величины испытательного напряжения обмотки с наивысшим напряжением. При Uисп до 1600 В - соответственно три слоя К-12 h’из. мо= 3·0,12=0,36 мм.
При Uисп до 1000 В - соответственно два слоя К-12 h”из. мо=2·0,12=0,24 мм.
акат=0,5+
(1,62+2,007+1,25·0,33+1,53225+0,33+1,1816+1,7·0,38)
=8,55935 мм.
Амплитудное значение рабочих напряжений обмоток может быть
определено из выражения:
Up. макс=
Up,
где Up - рабочее напряжение обмоток, В.
Up. макс1=
220=311,127 В;
Up. макс2=
100=140 В;
Определяем испытательные напряжения обмоток:
Uисп1=1,2 кВ;
Uисп2=0,85
кВ;
Величина зазора между катушками для двухкатушечного
трансформатора: ε=с-2акат.
Для нормальной укладки катушки в окне магнитопровода необходимо,
чтобы величина зазора ε лежала в
пределах от 0,5 до 2,0мм.
ε =19-2·7,16=1,6813 мм.
Определение
средней длины витка обмоток
Средняя длина витка обмоток для случая, когда они намотаны на
катушке в порядке: первая - вторая - третья определяется следующим образом:
Рисунок 3 К определению средней длины витка обмоток
трансформаторов
ср. в1=
, м,
где aк и вк - наружные размеры каркаса.
ак=а+2∆3+2hиз. осkв, мм,
вк=в+2∆3+2hиз. осkв, мм,
aк=14+2·0,5+2·1,62·1=16,1
мм,
вк=22+2·0,5+2·1,62·1=24,1 мм,
r1=0,5δ1kв, мм,
r1=0,5·2,007·1=1,0035
мм
ср. в1=
=0,087 м,
ср. в2=
, м,
r2=
, мм
r2=
(2,007+0,33·1,25+0,5·1,532) ·1=3,185625 мм,
ср. в2=
=0,1005 м,
r3=
, мм,
ср. в3=
, м,
r3=
(1,0035+1,25·0,33+3,185625+1,25·0,33+0,5·1,1816) ·1=4,95505 мм,
ср. в3=
=0,1 м.
Расчет массы
меди обмоток
Расчет меди обмоток определяется по формуле:
Gмi=8.9Wiqi
, кг,
где
Wi - число витков соответствующей обмотки (i=1,2,3)
qi - поперечное сечение соответствующей
обмотки, мм2
- средняя длина витка обмотки, м.
Масса меди первой обмотки:
Gм1=
8,9·286·0,2376·0,087·10-3=0,0623 кг.
Масса меди второй обмотки:
Gм2=8,9·399·0,132·0,1005·10-3=0,047
кг.
Масса меди третьей обмотки:
Gм3=8,9·24·0,8495
·0,1·10-3=0,02 кг.
Суммарная масса обмоток трансформатора:
Gм=Gм1+Gм2+Gм3, кг,
Gм=0,0623+0,047+0,1=0,13 кг.
Определение
массы стали
Масса стали трансформатора, определяется по формуле:
Gс т = γст·Vст=γст·lст·Qст. выбр., кг,
где γст= 7,8*10-3
кг/см3 - удельный вес стали;
lст - средняя длина силовых линий магнитного потока
в сердечнике, см;
Qст. выбр. - поперечное сечение магнитопровода, см2.
Для стержневого ленточного двухкатушечного трансформатора:
Длина средней магнитной линии:
lст= 2 (h+с+πa/2), мм,
средняя длина витков:
lв. ср=2 (а+b+с), мм,
открытая поверхность охлаждения сердечника:
Qсерд. =2с (2а+b) +2πа (а+b), см2,открытая
поверхность охлаждения катушки:
Qобм. =2h (2a+b+3c)
+2clв. ср., см2.ст=2·
(4,1+1,9+3,14·1,4/2) =16,396 см,в. ср=2· (1,4+2,1+1,9) =10,8
см,
Qсерд. =2·1,9· (2·1,4+2,1) +2·3,14·1,4· (1,4+2,1)
=49,394 см2,Qобм. =2·4,1· (2·1,4+2,1+3·1,9) +2·1,9·10,8=127,96 см2,Gст. = 7,8·10-3·16,396·2,93=0,379
кг.
По отношению
=
проверяем выполнение заданного условия расчёта трансформатора:
=
=2,93.
Определение
потерь в стали и намагничивающего тока
Для сердечника из стали 3411 потери в стали определяются по
формуле:
, Вт,
где Руд - удельные потери, Вт/кг;
Gст - масса
стали, кг.
Величина потерь в сердечнике зависит от значения магнитной
индукции Вс, марки стали, толщины листа, частоты сети и типа
сердечника Руд=12 Вт/кг
Рст =7·0,379=4,554 Вт.
Активная составляющая намагничивающего тока
Iоа=Рст/Е1,Iоа=4,554/217,8=0,021 А.
Реактивная составляющая намагничивающего тока Iор для магнитопроводов трансформаторов малой мощности может
быть определена по формуле
, А,
где Нс - напряжённость поля в стали, А/ см2;
n - число зазоров (стыков) на пути силовой линии; для стержневых и
броневых трансформаторов рекомендуется выбирать конструкцию сердечника с числом
стыков, равным 2;
- величина эквивалентного воздушного заряда в стыках сердечника
трансформатора, для ленточных сердечников
=0,0015 см;
W1 - число
витков первичной обмотки.
Iор=
(0,1·16,396+0,8·1,43·2·0,0015·104) /
·286=0,08982 А.
Ток холостого хода определяется по формуле:
I10=
, А,10=
= 0,08984 А.
Ток первичной обмотки при номинальной нагрузке:
I1=
, А,
где I1а=I0a+I/2a+I/3a,1p=I0p+I/2p+I/3p.
I/2a, I/3a, I/2p, I/3p - приведенные значения активной и
реактивной составляющих токов вторичных обмоток:
I/2a=
, А;/2a=120·0,65·399/300·286=0,363
A,/3a=
, А;/3a=50·0,9·24/18·286=0,21 A,/2p=
, А;/2p=45·0,714·486/100·954=0,424
A,/3p=
, А; I/3p=120·0,76·24/18·286=0,102 А,1а=0,0022+0,363+0,21=0,575
A,1p=0,09+0,424+0,102=0,616 A,1=
=0,843
A.
Относительное значение тока холостого хода:
I*10=I10/I1;*10=0,09/0,843=0,11.
Так как величина относительного тока холостого хода при частоте 50
Гц лежит в пределах 0,3…0,5, то выбор магнитопровода на этой стадии расчёта
можно считать оконченным.
Коэффициент мощности:
cosφ1=
; cosφ1=0,575/0,843=0,68.
Определение
потерь в меди обмоток трансформатора
Потери в меди обмоток при температуре 750С
определяются по формуле:
Pмi=2.4j2iфактGмi, Вт,
где ji - плотность тока в i-й обмотке (i=1,2,3) А/мм2
Gмi - масса меди
соответствующих обмоток, кг.
Pм1=2,4·4,0442 ·0,062=2,44 Вт;
Рм2=2,4·3,032·0,047=1,04 Вт;
Рм3=2,4·3,272 ·0,02=0,52 Вт.
Суммарные потери в меди обмоток:
Рм= Pм1+Рм2+Рм3, Вт,
Рм=2,44 +1,04 +0,52 =4 Вт.
Проверяем значение β:
β =
,
β =4/4,54=0,878.
Определение
активных сопротивлений обмоток
При температуре 1050С:
r105i=ρlср. вi
; Ом,
lср. вi - средняя длина витка соответствующей
обмотки, м;
qпр. i -
сечение проводников соответствующей обмотки, мм2;
Wi - число витков обмотки;
r1051=2,35·10-2·0,087·286/0,2376=2,45
Ом;
r1052=
2,35·10-2·0,1·399/0,132=7,13
Ом;
r1053=2,35·10-2·0,111·24/0,8495=0,074 Ом.
При температуре окружающей среды 200С:
r20=1,75r105/2.35, Ом,
r20 1=1,75·2,45/2,35=1,82
Ом,
r20 2=1,75·7,13/2,35=5,3
Ом,
r20 3=1,75·0,074/2,35=0,055
Ом.
Сопротивления вторичных обмоток, приведённые к первичной,
определим по формулам:
r/2=r2 (W1/W2)
2, Ом;/3=r3
(W1/W3) 2, Ом,
где r2 и r3 - активные сопротивления соответствующих
обмоток при температуре 1050С.
r/2= 3,186 · (286/399) 2 =16,33
Ом;
r/3= 4,955 · (286/24) 2 =70,21 Ом.
Определение
индуктивных сопротивлений рассеяния обмоток (в относительных единицах)
x*i=
,
где W1 - число витков первичной обмотки;
I1 -
номинальный ток первичной обмотки, А;
Eв - ЭДС витка, В;
hд - высота катушки, м;
Spi - площадь канала рассеяния i-й обмотки (i=1,2,3), м2;
f - частота питающей сети, Гц.
При размещении обмоток в порядке 1,2,3 площади каналов рассеяния
определяются следующим образом:
Spi
;
Sp2
;
Sp3
,
где lср. вi - средние длины витков обмоток, м;
hиз. мо12, hиз. мо.23 - толщины междуобмоточной изоляции, м,
определенные ранее в зависимости от испытательного напряжения;
l12≈0,5 (lср. в1+lср. в2);
l23≈0,5
(lср. в2+lср. в3);
l12≈0,5· (0,087 + 0,1) =0,093 м,
l23≈0,5· (0,1 + 0,112) =0,106 м,
I*2=
;I*3=
; I/2=
; I/3=
.
I*2=0,558/0,843=0,66,I*3=0,233/0,843=0,28,I/2=0,4·399/286=0,56,I/3=2,78·2
4/286=0,233,Sp1=2,007·0,087·10-3/3
+0,093·0,36·10-3/2=
0,073 м2,Sp2=0,36·10-3·0,093/2
+1,532·10-3·0,1 (1+0,663+0,2772) /3 +
+0,24·10-3·0,1·0,2772 /2=0,11
м2,Sp3=0,24·10-3·0,1·0,2772 /2 +1,182·10-
3·0,112·0,2772
/3=0,00471 м2,x*1= 7,9·286·0,843·50·10-6
·0,073/0,762·0,041=0,0000046,x*2=7,9·286·0,843·50·10-6
·0,106/0,762·0,041=0,0000031,x*3= 7,9·286·0,843·50·10-6
·0,00471/0,762·0,041=0,000001.
Рисунок 4. К определению индуктивных сопротивлений трансформатора
Падения
напряжений на обмотках при номинальной нагрузке (в относительных единицах)
∆U*а1=
;
∆U*а2=
;
∆U*а3=
;
∆U*р1=x*1;
∆U*р2=
x*2;
∆U*р3=
x*3;
∆U*а1=1,004·0,843/220=0,0038;
∆U*а2=
3, 19·0,843/220=0,012;
∆U*а3=4,955·0,843/220=0,019;
∆U*р1=0,0000046;
∆U*р2=0,0000031;
∆U*р3=0,000001.
где r/1, r/2, r/3, - сопротивления обмоток при температуре 1050
Полные падения напряжения на вторичных обмотках при номинальной
нагрузке трансформатора (в относительных единицах):
∆U*12= ∆U*a1cosφ1+∆U*p1sin
φ1+
;
∆U*13=∆U*a1cosφ1+∆U*p1sin
φ1+
.
∆U*12=0,0038·0,683+0,0000046·0,73+0,4·399/0,843·286· (0,012·0,65+
+0,0000031·0,76) =0,0079,∆U*13=0,0038·0,683+0,0000046·0,73+
,778·24/0,843·286·(0,019·0,9+0,000001·0,4) =0,0074.
Напряжения на
вторичных обмотках
U2=
;
U2=399/286·220·
(1-0,0079) =304,7 B
U3=
;3=24/286·220· (1-0,0074)
=18,35 B.
Относительная погрешность, т.е. относительная разность заданных и
полученных значений напряжений на вторичных обмотках, выраженная в процентах:
ε2=
, ε3=
,
где U2здн,U3здн - заданные значения напряжений второй и
третьей обмоток.
ε2=
= 1,57 %,
ε3=
= 1,92 %.
Коэффициент
полезного действия трансформатора
Коэффициент полезного действия трансформатора может быть
определён при номинальной нагрузке по формуле:
η=
,
где
P - суммарная активная мощность вторичных обмоток трансформатора,
Вт,
P=U2I2cosφ2+U3I3cosφ3;
Pм -
суммарные потери в меди обмоток, Вт;
Pст -
полные потери в стали сердечника, Вт;
P=300 ·0,4·0,65+18·2,778·0,9=123 Вт,
η=
=0,961.
Проверка
трансформатора на нагревание
Отдача тепла в окружающее пространство с открытых частей
обмоток и сердечника маломощных трансформаторов составляет в среднем 13*10-4
Вт/ см2 при превышении температуры открытой поверхности
трансформатора над температурой окружающей среды на 10С.
Так как между сердечником и обмотками трансформатора имеется
тепловой обмен, то превышение температуры наиболее нагретой части над
температурой окружающей среды (которое обычно лимитирует мощность
трансформатора) можно определить по формуле:
θ=
, [0C],
где Pм - суммарные потери в меди обмоток, Вт;
Pст -
суммарные потери в стали сердечника, Вт;
∆θ - перепад температуры от внутренних слоёв
обмоток к наружным, который для пропитанных лаком обмоток приближённо может
быть принят равным 10…150С;
Qсер -
открытая поверхность сердечника трансформатора, см2;
Qобм -
открытая поверхность обмоток трансформатора, см2;
θ=
+100С =31,31 0С
Сумма превышения температуры θ и температуры окружающей среды θ0 не должна превышать допустимой величины в соответствии с
выбранным при расчёте классом изоляции по нагревостойкости, т.е.
θ + θ0 ≤ θдоп,
где θ0 принимается равной 40 0С;
для изоляции класса А θ + θ0≤1050С;
,31+40≤ θдоп,
,31≤1050С
Выбор
проводов для выводов обмоток
Выводные концы и отводы делают самим проводом, причем при
диаметрах около 2мм переходят к монтажному проводу сечением 0,05…0,2 мм2
Выводы обмоток 1 и 2 выполняются проводами марки МГТФЛ - при
рабочем напряжении до 500 В, выводы обмотки 3 выполняются обмоточным проводом.
Выводные концы заключаются в изоляционные трубки.
Сводные
данные расчета трансформатора
Масса стали сердечника, кг Gст =0,4
Удельный расход стали, кг/кВА Gст /S=
Масса меди обмоток, кг Gм=0,13
Удельный расход меди, кг/, кВА Gм/S=
Отношение массы стали к массе меди Gст / Gм =2,93
Потери в стали сердечника, Вт Pст=4,52
Потери в меди обмоток, Вт Pм=4,8
Отношение потерь в меди к потерям в стали Pм /Pст=0,94
КПД при номинальной нагрузке ή=0,961
Максимальное превышение температуры обмотки трансформатора
над температурой окружающей среды, 0С θ=31,31
Ток холостого хода I0 /I1=0,08984
Относительные изменения напряжения при номинальной нагрузке
∆U12=0,008.
∆U13=0,0075.
Обмоточные данные
|
Номер обмотки
|
Марка и сечение
провода
|
Число витков
|
Витков в слое
|
слоев773
|
Высота намотки,
мм
|
Масса меди, г
|
Марка и сечение
проводов отводов
|
|
1
|
ПЭВ-1 0,1886
|
286
|
95
|
3
|
41
|
225
|
МГШДО-0,2
|
|
2
|
ПЭВ-1 0,132
|
399
|
122
|
3
|
41
|
96
|
МГШДЛ-0,2
|
|
3
|
ПЭВ-1 2,378
|
24
|
25
|
1
|
41
|
118
|
МГШДО- 0,15
|
Список
используемой литературы
1.
Щурская Т.В. Расчёт трансформатора малой мощности: Учебное пособие к
курсовой работе по дисциплине "Электрические машины и электропривод".
- Ростов н/Д: Рост. гос. ун-т путей сообщения, 2003. - 64с.
.
Ермолин Н.П. Расчёт трансформаторов малой мощности. М.: Энергия, 1969.
.
Брускин Д.Э., Зарохович А.Е., Хвостов В.С. Электрические машины и
микромашины. М.: Высшая школа, 1971.
.
Хныков А.В., Теория и расчет трансформаторов, 2004.