Технологическая линия производства мороженого
Содержание
Аннотация
Введение
. Состояние вопроса
. Технологическая линия производства
мороженого
. Описание конструкции и принципа
действия
. Техническое описание и расчеты
.1 Технологический расчёт фризера
.2 Конструктивный расчёт
.3 Тепловой расчёт
.4 Прочностной расчёт
.5 Кинематический расчёт
. Требования охраны труда
Заключение
Список использованных источников
Аннотация
Расчетно - пояснительная записка к курсовому
проекту включает в себя следующие разделы: Введение, где даются основные
определения, термины, кратко говорится о теме курсового проекта.
1 Состояние вопроса, где описываются разработки,
основные достижения в этой области.
Описание технологической линии, где указывается
оборудование, режим производства мороженого.
Описание конструкции и принципа действия фризера
непрерывного действия, где перечисляются основные элементы аппарата и их
взаимосвязь.
Расчетная часть включает: конструктивный расчет,
технологический, кинематический, прочностной и тепловой.
Требования охраны труда, где перечисляются
основные требования техники безопасности.
В заключении делается вывод о проделанной
работе, итог работы над темой курсового проекта.
Список использованных источников.
Графическая часть курсового проекта включает:
Лист 1 (А1) Машинно-аппаратурная схема линии
производства мороженого в вафельных стаканчиках.
Лист 2 (А1) Фризер непрерывного действия Е4-ОФЛ
- чертеж оборудования.
Лист 3 (А2) Кинематическая схема фризера
непрерывного действия Е4-ОФЛ.
Введение
Охлаждение - процесс понижения температуры
пищевых сред (но не ниже криоскопической) с целью задержания биохимических
процессов и развития микроорганизмов. Это один из основных способов
холодильного консервирования продуктов без изменения их структурного состояния.
По принципу переноса теплоты способы охлаждения подразделяются на три группы:
путем конвекции (охлаждение в воздухе продуктов,
упакованных в непроницаемые искусственные или естественные оболочки, а также в
жидких средах);
в результате фазовых превращений (интенсивное
испарение части содержащейся в продукте воды при его вакуумировании);
смешанным теплообменом (передача теплоты
осуществляется конвекцией, радиацией и за счет теплообмена при испарении влаги
с поверхности продукта).
Замораживание - процесс понижения температуры
ниже криоскопической на 10…30 °С, сопровождаемый переходом почти всего
количества содержащейся в продукте воды в лед. Способы замораживания
(контактные и бесконтактные) подразделяются на четыре группы:
замораживание в кипящем хладагенте;
замораживание в жидкостях как промежуточных
хладоносителях;
замораживание в воздухе как промежуточном
хладоносителе;
самозамораживание (испарительное).
Фризеры и морозильные аппараты являются основным
оборудованием в производстве мороженого. Фризеры предназначены для частичного
замораживания воды в подготовленных молочных смесях и насыщения их
мелкодиспергированным воздухом, морозильные аппараты - для дальнейшего
вымораживания воды из смеси мороженого и придания молочной смеси требуемой
структуры. В морозильных аппаратах завершается процесс замораживания частично
замороженной смеси после выхода ее из фризера.
В зависимости от вида мороженого и конструкции
фризера в лед переходит 25-60% воды. Объем молочной смеси вследствие аэрации
увеличивается примерно в 2 раза (размер воздушных ячеек 50- 60 мкм). В
морозильных аппаратах вымораживается примерно 85- 90% смеси (размер кристаллов
льда 50-100 мкм).
При выработке мороженого с наполнителями в
систему машин включают фруктопитатель, который устанавливается непосредственно
за фризерами, перед морозильными аппаратами.
1. Состояние вопроса. Обзор существующих
конструкций
В основу классификации аппаратов для охлаждения
и замораживания пищевых сред положены следующие признаки: назначение цикла
холодильной установки, способы получения холода, число ступеней охлаждения, вид
и число рабочих веществ, температурный уровень охлаждения, полезная
холодопроизводительность и др.
Представленная на рисунке 1 система и
классификация используют наиболее существенный технологический признак
холодильной обработки пищевых продуктов, который во многом определяет их
качество.
Рисунок 1- Классификация аппаратов для
охлаждения и замораживания пищевых сред
Обычно охладительные установки и охладители
классифицируют на: непрерывного и периодического действия, открытые и закрытые,
плоские и круглые, трубчатые и пластинчатые, однорядные и многорядные
(пакетные), односекционные и многосекционные, прямоточные и противоточные.
Среди аппаратов для охлаждения пищевых сред наибольшее распространение получили
охладители открытого (оросительные и резервуарные) и закрытого (трубчатые и
пластинчатые) типов.
Для охлаждения мяса, мясопродуктов, птицы, рыбы,
масла, сыра, фруктов и овощей используются камеры или туннели. Камеры
охлаждения могут быть цикличного (периодического) или непрерывного действия.
Они представляют собой теплоизолированные помещения, оборудованные подвесными
конвейерами, приборами охлаждения и системами воздухораспределения. Туннели
представляют собой теплоизолированные помещения, по ширине которых вдоль
туннеля расположены три (четыре) подвесных пути, а воздух охлаждают с помощью
воздухоохладителей различного типа.
Камеры замораживания могут быть с естественной и
принудительной циркуляцией воздуха, тупиковыми и проходными, периодического и
непрерывного действия. Они оснащаются подвесными путями или стоечными
поддонами. В камерах с естественной циркуляцией устанавливают пристенные и
потолочные охлаждающие батареи, а с принудительной циркуляцией воздуха -
воздухоохладители и специальные системы воздухораспределения.
Морозильные аппараты бывают воздушными,
плиточными и контактными. Воздушные морозильные аппараты представляют собой
теплоизолированные туннели, внутри которых размещены охлаждающие батареи,
вентиляторы и транспортирующие средства. Плиточные морозильные аппараты
предназначены для замораживания упакованных продуктов (рыбного филе, мяса в
блоках, плодоовощных наборов и др.) и имеют систему непосредственного
охлаждения. Замораживание в контактных аппаратах проводят методом орошения или
погружения.
Фризеры бывают периодического и непрерывного
действия, а эскимогенераторы - карусельного типа. Льдогенераторы служат для
приготовления снежного и чешуйчатого льда, причем снежный лед получают в
льдогенераторах вертикального и горизонтального типов.
По назначению различают бытовые холодильники,
морозильники и холодильники-морозильники. В зависимости от способа получения
холода бытовые холодильники могут быть компрессионными, абсорбционными и
термоэлектрическими. В зависимости от способа их установки - напольными, типа
шкафа, напольными типа стола и блочно-встраиваемыми. В зависимости от числа
камер - одно-, двух- и трехкамерными.
Установки криогенного замораживания подразделяют
на рефрижераторные, ожижительные и газоразделительные. Рефрижераторные
установки предназначены для охлаждения и термостатирования, ожижительные - для
перевода вещества в жидкое состояние, а газораспределительные - для разделения
газовых смесей на составные компоненты.
Фризеры являются основным оборудованием в
производстве мороженого и предназначены для частичного замораживания воды в
подготовленных молочных смесях и насыщения их мелкодиспергированным воздухом. В
зависимости от вида мороженого и конструкции фризера в лед переходит 25,0…60,0
% воды, а объем молочной смеси вследствие аэрации увеличивается примерно в два
раза. Фризеры бывают непрерывного и периодического действия. Важнейшими узлами
фризера являются рабочий цилиндр, который с внешней стороны охлаждается, а
также системы охлаждения рабочего цилиндра и подачи продукта в него. Система
охлаждения бывает аммиачной, фреоновой или рассольной, обеспечивающей
охлаждение продукта до температур -3…-5 °С. Система подачи продукта
осуществляет впуск в рабочий цилиндр вместе с продуктом также и воздуха для
насыщения им продукта.
На рисунке 2 показан фризер непрерывного
действия Е4-ОФЛ для получения мороженого из сливочной, молочной и других смесей
производительностью 250…400 кг/ч. Подготовленная для взбивания смесь мороженого
из бака 7 подается в рабочий цилиндр 5 фризера двухступенчатым насосом,
установленным на станине 3. Цилиндр фризера включает мешалку, которая
приводится во вращение с помощью привода 6.
Насадка 8 предназначена для наполнения продуктом
цилиндра фризера. В цилиндре происходит термомеханическая обработка продукта:
дробление воздушных пузырьков и равномерное их распределение в массе продукта,
а также раздробление слоя льда, намерзающего на стенках цилиндра. На выходе
готового мороженого из цилиндра установлен клапан противодавления, после
которого поток мороженого выходит из фризера через выпускной кран 4.
Рисунок 2- Фризер непрерывного действия Е4-ОФЛ
Жидкий аммиак, предназначенный для охлаждения и
замораживания смеси мороженого, из трубопроводов 2 и 9 поступает в регулирующий
вентиль и аккумулятор 1, а далее в рубашку фризера для охлаждения взбиваемой
массы. Через отверстия в стенке рубашки жидкий аммиак проходит в кольцевой
зазор, в результате чего продукт во фризере охлаждается. Парожидкостная смесь
из рубашки возвращается в аккумулятор 1, в котором капли жидкого аммиака
отделяются от пара, а последний отсасывается из системы компрессором.
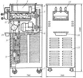
Фризер Б6-ОФМ (рисунок 3) предназначен для
выработки мягкого мороженого из жидкой смеси. В корпусе фризера размещены две
автономные системы приготовления мороженого, каждая из которых состоит из
емкости 3 для предварительно подготовленной, исходной жидкой смеси.
Рисунок 3- Фризер Б6-ОФМ
Смесь заливают в емкость, откуда она через
клапан 4 вместе с воздухом поступает в цилиндр 2. В рубашке цилиндра, которая
является испарителем, кипит хладагент R502. Смесь в цилиндре охлаждается и
постоянно перемешивается мешалкой 11, вращение которой обеспечивается от
индивидуального электродвигателя 6 через клиноременную передачу 5. Каждый
цилиндр обслуживается низкотемпературным герметичным агрегатом с фильтрами-
осушителями 8 и 9, размещенными в нижней части фризера. Корпус фризера закрыт
ограждением 13, на котором размещены рукоятка 12 и полка 10. Фризер перемещается
на колесах 7.
При охлаждении смеси в цилиндре до -5 °С реле
температуры выключает холодильный агрегат и включает сигнальную лампу. С
помощью рукоятки 12 открывают выпускное устройство 1, и мешалкой мороженое
выталкивается из цилиндра.
Цилиндр фризера с приемным бункером и впускным
клапаном показан на рисунке 4. Привод мешалки состоит из электродвигателя 8,
клиноременной передачи 7, подшипникового узла 6 и шнека 9. Между лопастями
мешалки и внутренней стенкой цилиндра имеется небольшой зазор. Вал мешалки со
стороны привода уплотнен съемной резиновой гофрированной манжетой. В приемный
бункер 2, снабженный теплоизоляцией 5, вместимостью 10 л заливают жидкую смесь
мороженого температурой 12…18 °С до нижней кромки крышки впускного клапана 3.
Необходимое количество смеси поступает через впускной клапан 4 в цилиндр 12.
Хладагент R22 поступает по штуцеру 10 и кипит в
испарителе 11, образованном цилиндром 12 и наружной обечайкой. После включения
фризера температура кипения R22 постепенно понижается и через 8…9 мин достигает
-23…-26 °С. При этом жидкая смесь охлаждается на стенках цилиндра до -5 °С и
замерзает. Во время процесса охлаждения мешалка взбивает смесь, внедряя в нее
воздух, а затем снимает замерзшее мороженое со стенок цилиндра и перемещает его
в сторону выпускного устройства 1. Продолжительность приготовления мороженого
10…15 мин.
Рисунок 4 - Цилиндр фризера с приемным бункером
и выпускным клапаном
2. Описание технологической линии
Характеристика продукции, сырья и
полуфабрикатов. Мороженое - это сладкий замороженный продукт, вырабатываемый из
приготовляемых по специальным рецептам жидких смесей, содержащих в определенных
соотношениях составные части молока, плодов, ягод, овощей, сахарозу,
стабилизаторы, в некоторых рецептурах - яичные продукты, вкусовые и
ароматические вещества. Во многих рецептурам предусматривается одновременное
использование молочного и растительного сырья.
Закаленное мороженое - это продукт,
изготавливаемый в производственных условиях, который после выхода из фризера, с
целью повышения стойкости при хранении замораживают (закаливают) до низких
температур (минус 18 °С и ниже). В таком виде его
сохраняют до реализации. Закаленное мороженое отличается высокой твердостью.
Мягким называется мороженое, которое
вырабатывают в основном на предприятиях общественного питания и употребляют в
пищу сразу же после выхода из фризера (температурой минус 5…7 °С).
По консистенции и внешнему виду оно напоминает крем.
Домашнее мороженое изготавливают в домашних
условиях с использованием компрессионного холодильного шкафа.
Закаленное мороженое классифицируют по виду
продукта и наполнителя (по составу) и по виду фасования. По виду продукта и
наполнителя оно подразделяется на основные и любительские виды. Мороженое
любительских видов вырабатывают в сравнительно меньших количествах, чем
мороженое основных видов.
Разновидности мороженого основных видов получают
название в зависимости от своего состава и вводимых в продукт добавок
(наполнителей).
По виду фасования закаленное мороженое
подразделяют на весовое, крупнофасованное и мелкофасованное.
Для мороженого характерных высокая пищевая
ценность и хорошая усвояемость организмом человека. В этом продукте,
выработанном на молочной основе, содержится молочный жир, белки, углеводы,
минеральные вещества, витамины А, группы В, D, Е, Р. В мороженом, в состав
которого входят плоды или ягоды, богатые витамином С, содержится значительное
количество этого витамина.
Молочный жир, как известно, по сравнению с
другими пищевыми жирами является наиболее ценным. Он отличается приятным
вкусом, высокой усвояемостью, уникален по составу, включающему несколько
десятков жирных кислот, в том числе много незаменимых. В рецептуры некоторых
видов мороженого входят также растительные жиры (как самостоятельно, так и в
сочетании с молочным жиром), полезные для организма человека.
Белки в мороженом на молочной основе
представлены в основном казеином; сывороточные белки - альбумин и глобулин -
частично коагулируют при пастеризации смесей мороженого. Кроме этих белков, как
уже указывалось, в мороженом находятся белки оболочек жировых шариков. Белки
мороженого являются полноценными белками и усваиваются лучше других пищевых
белков.
Углеводы в мороженом представлены сахарозой и
молочным сахаром (лактозой). В мороженом, содержащем плодово-ягодное сырье,
обычно присутствуют и простые сахара - глюкоза и фруктоза. Углеводы являются
существенными источниками энергии для организма человека.
Мороженое содержит такие важные минеральные
вещества, как натрий, калий, кальций, фосфор, магний, железо и многие другие.
Особенности производства и потребления готового
продукта. Фризерование - основной процесс производства мороженого, при
осуществлении которого происходит частичное замораживание и насыщение смесей
воздухом, распределяемым в продукте в виде мельчайших пузырьков. В процессе
фризерования смеси образуется структура мороженого, которая окончательно
формируется при последующей холодильной обработке продукта.
Структура мороженого определяется главным
образом формой и размерами кристаллов льда. Чем они мельче и равномернее
распределены в общей массе мороженого, тем лучше его качество.
Во фризер должна поступать смесь температурой
2…6 °С.
Температура мороженого при выходе из фризера в зависимости от состава смеси,
фасования и используемого фасовочного оборудования должна быть в пределах минус
3,5…5 °С.
В производстве закаленного мороженого продукт
после фризерования подвергают дальнейшему замораживанию (закаливанию), стараясь
по возможности приблизить температуру мороженого к температуре камеры хранения
(минус 18…20 °С и ниже). Этот процесс следует проводить в
максимально короткий срок, чтобы не допустить существенного увеличения размеров
кристаллов льда. Для закаливания фасованного мороженого (в брикетах,
стаканчиках и т.п.) в отечественной промышленности используют специальные
скороморозильные аппараты.
Температура фасованного мороженого после
закаливания в скороморозильных аппаратах должна быть не выше минус 10 °С.
Перед помещением в камеру хранения мелкофасованное мороженое подвергают
дозакаливанию в закалочных камерах или камерах хранения. Продолжительность
дозакаливания мелкофасованного мороженого составляет от 24 до 36 ч.
Весовое мороженое фасуют в крупную тару с целью
приготовления в дальнейшем порционного мороженого. Его используют также для
приготовления коктейлей.
Мороженое непосредственно после фризера фасуют в
ящики из картона с полиэтиленовыми вкладышами или в металлические гильзы.
Температура его должна быть не выше минус 4,5 °С.
Используются ящики из гладкого коробочного
картона марки Г, из гофрированного картона марки Т и комбинированные - с
отдельными деталями из коробчатого и гофрированного картона. Масса мороженого в
ящике не должна превышать 10 кг. Заполненный мороженым полиэтиленовый вкладыш
запечатывают с помощью термосварки или полиэтиленовой лентой с липким слоем.
Фасованное мороженое выпускают порциями
различной массы в пределах от 50 до 250 г и в более крупной упаковке массой до
2 кг. Мелкофасованное мороженое вырабатывают:
в виде однослойных брикетов в глазури и без
глазури, с вафлями и без вафель, упакованных в этикетки или пакетики;
в виде однослойных и многослойных порций
мороженого в форме, близкой к цилиндру, прямоугольному параллелепипеду,
усеченному конусу или усеченной пирамиде, а также в виде различных фигур
(фигурное мороженое), напоминающих по очертаниям гриб, банан и других,
глазированных, с палочкой и без палочки, упакованных в этикетки, пакетики или
полиэтиленовую пленку;
в бумажных стаканчиках с крышками из бумаги или
полимерных материалов, с бумажными этикетками в виде кружка, в стаканчиках из
полистирола с крышками, в бумажных коробочках;
в вафельных стаканчиках, рожках, трубочках и
конусах, упакованных в этикетку или пакетик, а также без упаковки;
в виде пирожных различной формы из пломбира,
оформленного кремом, цукатами, шоколадной глазурью и т.д.
К мороженому основных видов на молочной основе
относят молочное, сливочное и пломбир, отличающиеся друг от друга по содержанию
молочного жира, а, следовательно, и содержанию сухих веществ. В состав этих
видов мороженого входят молочные продукты, сахар, стабилизаторы. В качестве
ароматизатора в мороженое добавляют ванилин или заменяющие его вещества.
Значительное расширение ассортимента мороженого
достигается за счет введения в него различных вкусовых веществ, а также
покрытия порций глазурью. Наполнителями принято называть вкусовые вещества,
образующие со смесью или мороженым однородную массу. При несоблюдении этого условия
вкусовые вещества называют добавками. К десертным добавкам относят ягоды,
орехи, шоколад и другие, а также специальные гарниры: шоколадный, ореховый,
клубничный и другие, которые добавляют к уже выработанному мороженому.
В рецептурах мороженого на молочной основе с
наполнителями учитывают сухие вещества наполнителя, жир, яйца и заменяющих его
яичных продуктов, жир какао-порошка и тертого ореха при составлении рецептур не
учитывается, но он фактически увеличивает содержание жира в мороженом.
Стадии технологического процесса. Производство
мороженого включает в себя следующие стадии:
приемка молока и оценка его качества;
очистка молока, охлаждение и резервирование;
приготовление смеси (дозирование и смешение
отдельных видов сырья);
фильтрование смеси;
пастеризация смеси;
гомогенизация;
охлаждение;
созревание;
фризерование;
фасование;
закаливание;
дозакаливание мороженого.
Характеристика комплексов оборудования.
Начальные стадии технологического процесса производства мороженого выполняются
при помощи комплексов оборудования для приема, охлаждения, переработки,
хранения и транспортирования сырья. Приемку сырья осуществляют при помощи весов
(молокосчетчиков), сепараторов-молокоочистителей, пластинчатых охладителей,
фильтров и вспомогательного оборудования.
Ведущий комплекс линии состоит из
подогревателей, сепараторов-сливкоотделителей, гомогенизаторов, пастеризаторов,
охладителей и емкостей для хранения полуфабрикатов.
Завершающий комплекс оборудования линии
обеспечивает фасование, закаливание и хранение готовой продукции. Он содержит
фасовочно-упаковочные машины и оборудование морозильных камер для готовой
продукции.
Рисунок 5 - Машинно-аппаратурная схема линии
производства мороженого
Машинно-аппаратурная схема линии производства
мороженого приведена на рисунке 5.
Устройство и принцип действия линии. Цельное
молоко поступает в автоцистерне и перекачивается насосом на весы, где его
взвешивают и с помощью насоса направляют в вертикальный резервуар, где оно
сохраняется при температуре не выше 6 °С.
Сгущенное молоко также поступает на предприятие
в автоцистерне и перекачивается насосом в специальный резервуар. Сгущенное
молоко хранится при температуре от 0 до 20 °С и относительной
влажности воздуха не выше 85 % не более одного месяца со дня выработки. Монолит
масла перед внесением в смесь расплавляют на маслоплавителе. Компоненты смешивают
в смесительной ванне 2 в определенной последовательности при температуре 35…45 °С.
Сначала заливают жидкие продукты и вводят сгущенное молоко. Затем вносят сухие
продукты - добавки, стабилизаторы и т.д. Подогрев производится острым паром
через барботер. Давление греющего пара 0,08 МПа. Для удаления из смеси
нерастворившихся комков сырья и возможных механических примесей ее фильтруют,
используя для этого цилиндрический фильтр 9. Насосом 3 смесь подается в
пароводяной пастеризатор 9 со змеевиковой мешалкой. Давление рабочего пара 0,3
МПа. Температура пастеризации 86 °С. Время
пастеризации 5 мин. Пастеризация предназначена для уничтожения в смеси
болезнетворных бактерий и снижения микрофлоры. Из пастеризатора смесь под
давлением 0,2…0,25 МПа подается в фильтр. Затем смесь обрабатывают в
гомогенизаторе 10 для раздробления жировых шариков с целью улучшения структуры
мороженого. Гомогенизация смеси препятствует отстаиванию жира и образованию
комочков масла при фризеровании. Смесь гомогенизируется при температуре близкой
к температуре пастеризации, при этом не допускается охлаждение смеси. Размер
жировых шариков не должен превышать 2 мкм. После гомогенизации смесь
охлаждается до температуры минус 4 °С на оросительном
охладителе открытого типа, с целью создания неблагоприятных условий для
жизнедеятельности и развития микроорганизмов, которые могут попасть в смесь
после пастеризации. Смесь охлаждают холодной водой, затем рассолом с
температурой минус 5…7 °С. Рабочее давление воды и рассола
120…200 кПа. Продукт и хладоноситель движутся противотоком. При более низкой
температуре рассола происходит загустение смеси и намерзание на поверхность
охладителя.
Смесь для приготовления мороженого после
охлаждения направляют насосом 3 в специальные теплоизолированные резервуары 11.
Выдержка является обязательной стадией технологического процесса: она
необходима для повышения вязкости смеси. Смесь выдерживают при температуре 2…6 °С
не более 24 часов. Фризерование осуществляется в фризерах 12, в которые смесь
поступает с температурой 2…6 °С.
Фризерование заканчивают при достижении
температуры смеси минус 4,5…6 °С, при этом в лед превращается
45…50 % всей влаги, содержащейся в продукте. Одновременно с охлаждением смеси
во фризере происходит ее взбивание - насыщение воздухом, который распределяется
в виде пузырьков. При этом желательно получить более мелкие воздушные пузырьки
и равномерно их распределить по объему продукта. После фризерования смесь
продукта поступает в дозатор фасовочной машины 13, в которой происходит деление
смеси на порции и расфасовка в стаканчики. Для последующего хранения и защиты
брикетов мороженого от механических воздействий их подвергают закаливанию, то
есть выдерживают при температуре минус 28…35 °С в
скороморозильном аппарате 14. На выходе из скороморозильного аппарата полностью
готовое мороженое упаковывается в специальную плотную пленку и может поступать
на реализацию.
3. Описание конструкции и принципа действия
Принципиальная схема фризера, а также системы
подачи продукта во фризер и аммиачного охлаждения его показана на рисунке 6.
Основной частью фризера является охлаждаемый
(аммиачное охлаждение) цилиндр со взбивающим механизмом (мешалкой).
Смесь (молочная основа + воздух) поступает в
рабочий цилиндр 1. Попадая в цилиндре на взбивающий механизм (мешалку), смесь
приобретает вращательное движение. При вращении смесь перемещается вдоль оси
цилиндра. Воздух, находящийся в смеси, диспергируется, причем диспергирование
завершается на первом этапе перемещения смеси (примерно половина от общей длины
цилиндра), когда еще весь продукт находится в жидком состоянии. Затем продукт
замораживается вблизи стенок охлаждаемого цилиндра. Образующийся при этом
ледяной слой снимается быстровращающимися ножами, которые дробят лед на очень
мелкие кристаллы (размером 50-100 мкм).
Рисунок 6- Принципиальная схема фризера
непрерывного действия:
а - фризер; б - система подачи продукта; в -
система аммиачного охлаждения; 1 - рабочий цнлиндц; 2 - взбивающее устройство;
3 - охлаждающая рубашка; 4 - патрубок ввода продукта и воздуха в цилиндр; 5 -
насос для продукта и воздуха; 6 - трубопровод для смеси продукт -воздух; 7-
аккумулятор; 8- инжектор; 9 - фильтр; 10- предохранительный клапан
Из фризера продукт выпускается («мягкое
мороженое») через отводной патрубок.
Система подачи продукта представляет собой насос
5, производительность которого превышает заданную производительность по
продукту примерно в 2 раза. Недостающий объем всасывания компенсируется
воздухом, поступающим в его рабочую камеру. Смесь по трубопроводу 6
направляется в рабочий цилиндр для диспергирования воздуха в смеси.
Охлаждение и замораживание смеси в цилиндре
происходят в системе аммиачного охлаждения. Из общей сети хладагента после
очистки на фильтре жидкий аммиак поступает в рубашку. Одна часть очищенного
аммиака попадает в аккумулятор 7, а другая направляется через регулятор
давления к инжектору 8. В инжекторе в поток аммиака добавляется жидкий аммиак
из аккумулятора, давление в линии подачи аммиака уменьшается, и он поступает при
пониженном давлении в рубашку рабочего цилиндра (аккумулятор устанавливается
ниже рабочего цилиндра фризера).
В рубашку жидкий аммиак подается при давлении,
соответствующем температуре кипения. Через отверстия в стенке жидкий аммиак
поступает в кольцевой зазор между рубашкой и внутренним цилиндром, где при
кипении отнимает тепло от охлаждающей смеси через стенку цилиндра.
В результате теплообмена образуется
парожидкостная смесь аммиака, которая по кольцевому зазору из верхнего
коллектора рубашки рабочего цилиндра возвращается в аккумулятор. В последнем из
пара выделяются капли аммиака, отсасываемого компрессором.
Вращение взбивающего механизма (рисунок 7) и
насоса осуществляется от электродвигателя через привод (частота вращения 700-
800 с-1). Частота вращения взбивающего механизма постоянна, а частоту вращения
рабочего органа насоса можно изменять, так как движение передается через
вариатор скоростей. При изменившемся режиме работы фризера соответствующим
образом изменяется производительность насоса, а следовательно, и
производительность фризера.
Рисунок 7- Привод взбивающего устройства и
насосов:
- электродвигатель; 2 - вал мешалки фризера; 3 -
вал насоса первой ступени; 4 - вал насоса второй ступени; 5- шкала вариатора.
Контроль за режимом работы фризера
осуществляется системой контрольно-регулирующих приборов. При нарушении режима
срабатывают предохранительные устройства. В случаях перемораживания смеси, во
избежание поломки взбивающего устройства и в связи с возросшей при этом
потребной мощностью «разрезается» латунная шпилька, рассчитанная на
определенную мощность, и, таким образом, взбивающее устройство прекращает
вращение.
На рисунке 8 показан фризер непрерывного
действия Е4-ОФЛ для получения мороженого из сливочной, молочной и других смесей
производительностью 250-400 кг/ч. Частота вращения взбивающего механизма
(мешалки) 540 мин-1, насоса первой ступени НО-240 мин-1, а второй ступе- ни -
304-795 мин-1. Давление, при котором открывается предохранительный клапан, 16 •
105 Па. Взбитость готового мороженого 50-100%.

- аккумулятор; 2 - трубопровод жидкого аммиака;
3 - станина; 4 - кран выпускной; 5-цилиндр фризера; 6 - привод мешалки; 7 -
бачок для смеси; 8 - насадка для наполнения гильз; 9 - трубопровод
газообразного аммиака
На рисунке 9 показана технологическая схема
фризера. Подготовленная для взбивания смесь мороженого из бака 1 подается в
рабочий цилиндр фризера двухступенчатым насосом 9. В нем имеется штуцер, через
который засасывается воздух в объеме, превышающем объем смеси продукта.
Количество воздуха должно обеспечить степень взбитости мороженого 100%. Таким
образом, в цилиндре 3 происходит термомеханическая обработка продукта: дробление
воздушных пузырьков и равномерное распределение их в массе продукта, а также
раздробление слоя льда, намерзающего на стенках цилиндра. На выходе готового
мороженого из цилиндра установлен клапан противодавления 4. После клапана
противодавления поток мороженого выходит из фризера через трехходовой кран.
Сжатый воздух проходит сначала через регулятор
давления, а затем через фильтр-конденсатоотводчик для очистки его от пыли и
капель влаги. Проходя через следующий регулятор давления (давление снижается до
0,4 МПа), сжатый воздух поступает в стабилизаторы давления, предназначенные для
регулирования степени взбитости мороженого, давления инжекции и противодавления
продукта, выходящего из фризера.
В дальнейшем воздух проходит через редуктор,
запорный вентиль, дроссель, мановакуумметр и обратный клапан 10 с фильтром.
Обратный клапан предотвращает попадание исходной смеси при резких повышениях
давления за насосом в пневматическую систему.
Жидкий аммиак, предназначенный для охлаждения и
замораживания смеси мороженого и поступающий из общей сети, проходит через
фильтр. После этого одна его часть поступает в регулирующий вентиль 5 и
аккумулятор 8, а другая через регулятор давления инжекции 6 направляется к
инжектору 7, откуда жидкий аммиак поступает для охлаждения взбиваемой массы в
рубашку фризера. Через отверстия в стенке рубашки жидкий аммиак проходит в
кольцевой зазор, в результате чего во фризере охлаждается продукт.
Парожидкостная смесь из рубашки возвращается в аккумулятор 8, в котором капли
жидкого аммиака отделяются от пара, а последний отсасывается из системы
компрессором. На линии отсоса паров аммиака размещены предохранительный клапан,
реле высокого и низкого давления, регулятор давления испарения 13 с задатчиком
давления.
Рисунок 9- Технологическая схема фризера
непрерывного действия:
- бак для смеси; 2 - привод машины; 3-цилиндр; 4
- клапан противодавления; 5 - вентиль аммиачный регулирующий; 6 - регулятор
инжекции; 7 - инжектор; 8 - аккумулятор; 9 - насос; 10 - клапан обратный; 11 -
дроссель; 12 - редуктор технологический воздушный; 13 - регулятор давления
Для контроля за давлением в аккумуляторе
установлен мановакуумметр, а для контроля за давлением инжекции в линии
инжекции - мембранный соленоидный клапан, регулятор давления инжекции и
манометр аммиачный.
При увеличении потребляемой взбивателем мощности
катушка соленоидных вентилей перед регулятором давления инжекции и задатчика
давления обесточивается и аммиак стекает в аккумулятор из рубашки цилиндра 3, В
это время прекращается замораживание продукта. На жидкостной линии открывается
соленоидный вентиль, и жидкий аммиак высокого давления перетекает в дренажную
линию. При падении давления в линии всасывания клапан регулятора давления
закрывается и цикл работы восстанавливается.
Как правило, фризеры изготовляются с одним
цилиндром. За рубежом имеются фризеры, в которых на основе одной и той же
системы охлаждения (аммиачной или фреоновой) в агрегате размещено два, три и
даже шесть цилиндров с последовательным или параллельным прохождением продукта.
Приводное устройство конструируется различно: с одним электродвигателем для
двух цилиндров или с электродвигателями для каждого цилиндра, работающими
самостоятельно.
4. Техническое описание и расчеты
.1 Технологический расчёт фризера
Принимаем:
температуру поступающей в фризер смеси tсм = 6о
С;
температуру смеси на выходе из фризера tм = -5о
С.
Процент вымороженной воды вычислим по формуле,
предложенной Г.М. Дезентом:
, ([1] стр. 343) (4.1)
где Wл - содержание замороженной
воды, %;
В - эмпирический коэффициент,
характеризующий удельное понижение температуры замерзания водяного раствора
сахара на каждый процент по отношению к воде, (В=6,1);
А - эмпирический коэффициент,
учитывающий содержимое лактозы, солей и СОМО и понижение температуры
замерзания, вызываемое присутствием этих веществ, (А=5,95);
n1 - содержание СОМО, %;
n2 - содержание сахара, %;
tm - температура мороженого, о С;
Wc - содержание воды в смеси, % к
массе смеси.
Расчёты будем производить по
сливочному мороженому.
Состав сливочного мороженого:
содержание жира - 10%
содержание СОМО - 10%
содержание сахара - 16%
содержание стабилизатора - 0,3 %.
Итого сухих веществ - 36,3%.
Тогда содержание воды в смеси
составит:= 100-36,3 = 63,7%.
Подставив данные n1 = 10, n2 = 16 и
Wc = 63,7 в формулу (4.1) получим
Криоскопическую температуру смеси
определим по формуле:
([2] стр. 244) (4.2)
Подставив найденные выше значения в
формулу (4.2), получим:
Плотность мороженного при выгрузке
из фризера определяем по формуле:
([3] стр.447) (4.3)
где, ρм -
плотность мороженого, кг/м3;
ρсм - плотность смеси, кг/м3;
s - взбитость мороженого, %.
Для сливочного мороженого ρсм = 1100
кг/м3 [1] стр. 56.
Принимаем взбитость мороженого 80%.
Подставив данные в формулу (4.3),
получим
Объемная производительность фризера
составит:
мороженое хладагент
фризер
где G - производительность фризера,
кг/ч. G=700кг/ч.
Тогда:
Количество засасываемого насосом II
ступени воздуха составит:
.
.2 Конструктивный расчёт
Рабочую поверхность Fр можно
определить из формулы:


, кг/ч ([4], стр. 427) (4.4)
где GM - производительность фризера,
кг/ч.
Z - число ножей, z=2;
N - число оборотов мешалки, об/мин;
n=510 об/мин
Fр - рабочая поверхность
морозильного цилиндра, м3;
м.ср - плотность срезаемого
продукта, кг/м3;
Фнер- средний коэффициент
неравномерности срезания слоя продукта;
Фn - средний коэффициент плавления
срезаемого слоя, мкм.
Принимаем толщину срезаемого слоя
м.ср =
20мкм.
Фнер и Фn находим по графику VII.6 и
VII.7 [2] стр. 250: Фнер=1,2; Фn=1.25
Из формулы (4.4) определим:
=
, м2 (4.5)
Длину ножа определяем из формулы:
,([4] стр. 427) (4.6)
где
- длина ножа, м;
D - внутренний диаметр морозильного
цилиндра, м.
Отсюда:
(4.7)
=0,4м;
=3,14
Подставив значение в формулу (4.7),
получим:
Толщину изоляционного слоя δ
рассчитываем по формуле:
([3] стр. 25) (4.8)
где λ -
теплопроводность изоляционного слоя,
;
К - коэффициент теплопередачи,
;
- коэффициент теплоотдачи от цилиндра
к окружающей среде,
;
- коэффициент теплоотдачи от стенки
цилиндра к жидкости, Вт/
град;
теплопроводность стенки цилиндра,
Вт/
град;
толщина стенки цилиндра, м.
Коэффициент теплопередачи принимаем
: К = 1 Вт/
град (3) стр
25.
Величиной
пренебрегаем
, как относительной малой.
Вт/
град. ((5) стр.92 )
Если жидкость охлаждается вследствие
кипения в трубах аммиака , то
определяется по формуле
=
( (3) стр.147 ) (4.9)
где А - эмпирический коэффициент
.
g - количество тепла приходящегося
на 1
поверхности
, Вт/
.
Коэффициент А подбирается в
зависимости от температуры кипения аммиака ((3) стр. 148).

, А = 3,36.
Для аммиака
((3)
стр.147).
Ориентировочно примем = 500 Вт/
Тогда
составит:
= 3,36 *
= 51,9 Вт/
град.
Подставив в формулу (4.8) значения и
приняв для изоляции материал - пенопласт ПСВ-С с
([7] стр. 50), получим:
С учётом коэффициента запаса для
изоляции 20% принимаем толщину изоляции 5 см.
.3 Тепловой расчёт
Расход холода на фризерование
определяем по формуле:
([3] стр.448) (4.10)
где Gсм - количество смеси, кг/с;
См, Ссм - теплоёмкость мороженого и
смеси, кДж/(кг град);
ηм - КПД учитывающий потери
холода ηм=0,9;
335 - расход холода на замораживание
1 кг воды, кДж/кг;
Nр - мощность на валу мешалки, кВт.
Удельная теплоёмкость смеси для
сливного мороженого Ссм=3,2 кДж/(кг град) ([5] стр. 66)
Теплоемкость мороженого определяем
по графику ( [2] стр.243) при tm=-5=4,19•103•0,62=2600 Дж/кг•град = 2,6
кДж/кг•град.
Мощность на валу мешалки складывается
из следующих основных затрат
=N1+N2+N3 ([2] стр.247) (4.11)
где N1 -мощность, затрачиваемая на
срезание слоя мороженого ножами, Вт;
N2-мощность затрачиваемая на трение
мороженого о стенки морозильного цилиндра и на вращение мешалки с ножами в
вязкой среде, Вт;
N3- мощность затрачиваемая на трение
ножа мороженого о стенки морозильного цилиндра ,Вт.определим по формуле
, Вт ([2] стр.248) (4.12)
где ωm/ср -
скорость срезания слоя, м/с
α - угол установки ножа (для
фризера Е4-ОФЛ α=32-35°)
pм.ср -механическое напряжение при
срезании слоя, Н/м=Па.
Скорость срезания слоя определим по
формуле
м/с.
Механическое напряжение при срезании
слоя зависит от отношения плотности мороженого ρм и
плотности льда ρл и
механического напряжения при срезании льда pл
м.ср= pл
, Н/м2 ([2]
стр.248) (4.13)
pл=9,81•104 , Н/м; ρл=
900 кг/м3;
Тогда
pм.ср = 98100
= 66708 Па
Подставив значения в формулу (4.12)
получим= 20•10-6•2•1,07•tg35•66708=21,3 Вт
С учетом неравномерности срезания
слоя мороженого принимаем N1 =25 Втопределим по формуле:
=
, Вт ([2] стр.249) (4.14)
где ξтр -
коэффициент трения;
rн - наружный радиус мешалки, м;
rвн - внутренний радиус мешалки, м;
ω - угловая скорость вращения
мешалки, рад/с;
Фдоп - коэффициент, учитывающий
дополнительные затраты мощности при усложнении конструкции мешалки (Фдоп =1,5).
ω=
=53,38 с-1
, ([2] стр.249) (4.15)
где ξ0 -
коэффициент трения при ламинарном движении смеси, ξ0=0,06.
νм , νсм -
кинематическая вязкость мороженого и смеси, м2/с
νм =0,5 м2/с , νсм =0,0006
м2/с ([2] стр.252)
Тогда:
ξтр =0,06
=0,322
Подставив числовые данные в формулу
(4) , получим:=0,322(0,24-0,1924)•1,07•tg35•2•53,383•611•1,5=14011 Вт
Величиной N3 можно пренебречь ввиду
ее малости по сравнению с N2.
Подставив найденные значения в
формулу (4.11), получим:=14011+25=14036 Вт=14,036кВт.
Подставив значения в формулу (4.10),
получим:={0,194[3,2(6+2,5)+2,6(-2,5+5)+50,7·63,7·335/1000]+14,036}:0,9=46,2кВт.
.4 Прочностной расчёт
Толщину стенки цилиндра можно
определить по формуле:
мм ([4] стр. 120) (4.16)
где δст - толщина
стенки, мм;
p - внутреннее избыточное давление,
кг/см2;
d - внутренний диаметр цилиндра, мм;
[σ]p - допускаемое напряжение
на растяжение, кг/см2;
φ - коэффициент прочности шва,
(φ=0,85);
С - прибавка на коррозию, мм.
Избыточное
давление в рубашке для аммиака p=8атм=8кг/см2;=0,4+0,2=0,6м=600мм.
Допускаемое
напряжение на растяжение принимаем:
[σ]p=σв/nв
([6] стр. 115) (4.17)
где σв
- предел прочности материала на растяжение, кг/см2;
nв - коэффициент запаса прочности.
Цилиндр фрезера изготовлен из стали марки
Х18Н10Т.
Из таблицы 12 [6] стр. 94 находим σв=54
кг/мм2, а из таблицы 24 [6] стр. 115 nв=3,75.
Тогда
кг/мм2.
Подставив в формулу (4.16) данные
получим:
.5 Кинематический расчёт
Число оборотов насоса 1 ступени
определим из формулы:
м3/ч, ([3] стр. 53) (4.18)
где g - объём продукта, подаваемый
насосом за один оборот, м3;
n1 - число оборотов насоса 1
ступени, об/мин;
Vч - объёмная производительность
насоса, м3/ч;
ηоб - коэффициент объёмного
наполнения (0,75-0,8).
У шестерёнчатого насоса для смеси
мороженого g=4,0·10-5 м3.
Из формулы (4.18) определим:
об/мин.
Число оборотов насоса 1 и 2 ступеней относятся
как 3:10/n2=3/10
Тогда число оборотов насоса 2 ступени составит:
об/мин.
Мощность, необходимую на вращение
насосов определим по формуле:
Вт, (4.19)
где V - объёмная производительность
насосов, м3/ч;
p - давление, создаваемое насосами,
Н/
:
η- к.п.д. насоса(0,8- 0,7).
Сумма производительностей насосов I
и II ступени составит:
.145+0.636=1.781
Давление создаваемое насосом I и II
ступени 5 атм или
=
=309,2 Вт
Тогда мощность электродвигателя
составит:
,Вт, (4.20)
где n- коэффициент запаса(1,2-1,3).
=1,3(14036+309,2)=18649Вт=18,649кВт.
Подбираем электродвигатель А02-71-4,
у которого
=22кВт,
=1450об/мин
([9] стр.118).
Определим передаточное число
для привода
мешалки:
=
, (4.21)

=2,84.
Принимаем число зубьев ведущей
звездочки
=17.
Тогда число зубьев ведомой звездочки
составит:
=
, (4.22)
=
Определим общее передаточное число
для привода
насосов:
(4.23)

, (4.24)
где
- передаточное число привода насоса
I ступени;
- передаточное число привода насоса
II ступени;
- передаточное число привода
вариатора скоростей.
=
, (4.25)

.
Число зубьев ведущей звездочки
принимаем
Тогда число зубьев ведомой звездочки
составит
, (4.26)

.
Принимаем
. Число
зубьев ведущей звездочки принимаем
. Тогда число зубьев ведомой
звездочки составит
(4.27)
.
Принимаем
. Тогда
(4.28)
Число зубьев ведущей звездочки
принимаем
Число зубьев ведомой звездочки
составит
Выбираем цепь роликовую двухрядную
ГОСТ 10947-64 ([10] стр.380) для привода мешалки с шагом t=19,05; для привода
насосов с шагом t=12,7.
Подбираем вариатор с диаметром
шкивов:=215мм.=110мм.
5. Требования охраны труда
Обслуживающий персонал должен хорошо
знать принцип работы и конструкцию эксплуатируемых машин. Перед началом работы
необходимо проверить состояние основных узлов. Запрещается работать на фризере
в случае появления запаха аммиака, отсутствия манометра или с неопломбированным
манометром; включать электродвигатель мокрыми руками; применять вместо латунных
предохранительных шпилек шпильки из другого материала; включать электродвигатель
при отсутствии в цилиндре смеси мороженого; извлекать и вставлять мешалку без
рукавиц; во время работы чистить, смазывать, ремонтировать отдельные узлы и
детали.
После ремонта фризера обязательно
надо проверить правильность направления вращения мешалки.
Необходимо систематически
контролировать состояние аммиачных вентилей и линий, мешалок.
При пуске и остановке фризера
необходимо строго соблюдать последовательность открывания и закрывания
вентилей: вначале надо закрыть жидкостные вентили, а затем на всасывающей
линии. При этом главный запорный всасывающий вентиль должен оставаться
открытым.
Предохранительный клапан должен быть
опломбированным и находиться в исправном состоянии. Запрещается работать на
фризере при неисправном предохранительным клапане или при нарушенном его
пломбировании.
Для нормальной работы фризера
необходимо обеспечить постоянную температуру поступающей смеси и равномерное
поступление жидкого аммиака.
После загрузки фризера последней
порцией смеси надо прекратить подачу жидкого аммиака в рубашку. Выпустив эту
порцию мороженого, необходимо отключить электродвигатель, дать стечь остаткам
продукта из цилиндра, закрыть выпускной кран и вымыть цилиндр.
Во время мойки фризера нужно
внимательно следить за показаниями манометра. Нельзя допускать давление аммиака
свыше 3,5 - 4 am. В этот период вентиль жидкого аммиака должен быть закрыт, а
аммиачный запорный кран открыт.
Станина фризеров, электродвигатели и
пусковая аппаратура должны быть тщательно заземлены. Необходимо систематически
проверять исправное состояние заземляющих устройств.
Во время эксплуатации все защитные
кожухи и ограждения машин линии должны быть в рабочем состоянии.
Заключение
Фризеры и морозильные аппараты
являются основным оборудованием в производстве мороженого. Фризеры предназначены
для частичного замораживания воды в подготовленных молочных смесях и насыщения
их мелкодиспергированным воздухом, морозильные аппараты - для дальнейшего
вымораживания воды из смеси мороженого и придания молочной смеси требуемой
структуры.
В данном проекте рассматривалась
линия производства сливочного мороженого. Произведен технологический расчет и
подбор оборудования для линии производства сливочного мороженого. Произведены
необходимые расчеты фризера непрерывного действия.
Выполнены чертежи: технологическая
схема производства сливочного мороженого (А1), фризер - вид общий (А1), фризер
- технологическая схема (А2).
Список использованных источников
1. Г.Д. Твердохлеб, З.Х.
Диланян, А.В. Чекулаева, Г.Г. Шиллер «Технология молока и молочных продуктов».
-М.: Агропромиздат, 1991. -463 с.
. И.М. Чиркин и др. «Расчет
деталей машин». -Минск: Высш. Школа, 1978. -372 с.
. В.Д. Сурков, Н.Н. Липатов,
Ю.П. Золотин «Технологическое оборудование предприятий молочной
промышленности», -М.: Легкая промышленность, 1985. -432 с.
. П.Ф. Диценко, Н.С.
Коваленко и др. «Технология молока и молочных продуктов». -М.: Пищевая
промышленность, 1974. -483 с.
. Краснов Б.В. «Эксплуатация,
ремонт и наладка технологического оборудования молочной промышленности». -М.:
Легкая промышленность, 1981.
. СТП СМК 4.2.3-01-2011.
Общие требования и правила оформления учебных текстовых материалов/ - Введ.
2011-04-07. - Могилев: МГУП, 2011.