Буровая установка и конструкция эксплуатационной скважины

  • Вид работы:
    Отчет по практике
  • Предмет:
    Геология
  • Язык:
    Русский
    ,
    Формат файла:
    MS Word
    1,7 Мб
  • Опубликовано:
    2015-03-09
Вы можете узнать стоимость помощи в написании студенческой работы.
Помощь в написании работы, которую точно примут!

Буровая установка и конструкция эксплуатационной скважины

Введение

Первая производственная практика проходила в Сургутском районе ХМАО на окраине Федоровского месторождения. Производственная практика проходила в компании ОАО «Сургутнефтегаз» СУБР-1

По прибытию в производственное управление был принят трудовому договору для прохождения производственной практики с трудовым местом, в качестве помощника бурильщика (второй) 5 разряда. После трудоустройства был отправлен в буровую бригаду №15, мастером которой был Можаров И.В. на куст №202 скважину №2583. В течении 14 рабочих дней проходил стажировку, был ознакомлен, как с техникой безопасности, так т со своими прямыми обязанностями и с буровой бригадой. Был прикреплен к бурильщику Чучкалову Д.А.. По истечению стажировки, мной был сдан экзамен по ПТБ и по допуску к самостоятельной работе.

По случаю заканчивания скважины, был переведен на новый куст №98, который расположен в 90 км севернее поселка Федоровский Сургутского района ХМАО.

Для бурения использовалась буровая установка «Уралмаш 3200 ЭУК» предназначенную для бурения эксплуатационных и разведочных скважин на нефть и газ условной глубиной 3200м.

В процессе прохождения производственной практики выполнил следующие задачи:

ознакомился со способами, технологией, техникой и основными результатами проводки скважин на данном месторождении;

ознакомился с районом ведения буровых работ;

собрал необходимые материалы (ГТН, геологию района, показатели скважин) для составления отчета;

Во время практики выполнял полученные индивидуальные задания, и вел дневник практик.

В ходе прохождения производственной практики участвовал во многих технологических операциях при бурении скважины, а именно сборка КНБК, приготовление бурового раствора, контроль качества очистки бурового раствора, помощь в установке превентора ПК-230х35.


ОРГАНИЗАЦИОННАЯ СТРУКТУРА УБР





















1. Геологическая часть

.1 Орогидрография

Дорожная сеть в районе из-за сильной заболоченности развита слабо. Конитлорское месторождение - одно из крупнейших в Западной Сибири, расположено в центральной части Сургутского свода, в 35 км к северо-востоку от г. Сургута.

Месторождение открыто в 1972 г. скв.№ 3259, в которой при опробовании пласта БС10 получен промышленный приток нефти.

Конетлорское месторождение введено в опытно-промышленную эксплуатацию в 1973г. На 1.06.74г. при наличии 47 поисково-разведочных и 17 эксплуатационных скважин по Федоровскому месторождению был составлен промежуточный отчет по подсчету запасов нефти, газа и конденсата по продуктивным пластам АС4, АС5-6, АС7-8, АС9, БС1, БС2, БС10 и ЮС2.

В административном отношении Федоровское месторождение расположено в Сургутском районе Ханты-Мансийского автономного округа Тюменской области. Ближайшие месторождения - Савуйское, Быстринское, Западно-Сургутское. В непосредственной близости от месторождения проходит нефтепровод Нижневартовск - Усть-Балык - Омск. Район работ представляет собой слабо пересеченную, сильно заболоченную, неравномерно заселенную равнину, приуроченную к широтному течению р.Оби. Абсолютные отметки рельефа изменяются от +25 м до 75 м. Основная водная артерия района - р.Обь. Течение реки медленное (0,3-0,5 м/сек), спокойное. Ширина реки колеблется от 850 м до 1300 м, глубина 8-18 м. Река судоходная в течение всей навигации, со второй половины мая до конца октября.

Непосредственно на площади месторождения гидрографическая сеть представлена множеством ручьев и рек. Наиболее крупная из них р.Черная -правый приток Оби.

Значительная часть территории месторождения покрыта болотами и озерами (около 85%). Самое крупное озеро Пильтон-Лор имеет площадь около 100 км. Болота непроходимые, замерзают лишь к концу января.

Растительность представлена смешанным лесом с преобладанием на водоразделах хвойных деревьев и тальниковыми кустарниками по берегам рек и протоков.

Климат резко континентальный, характеризуется резкой продолжительной зимой, сравнительно коротким, но теплым летом. Среднегодовая температура -3,2 -2,6 град С. Абсолютный максимум температуры +32 град С, абсолютный минимум -55 град С.

Годовая сумма осадков составляет около 482 мм. Устойчивый покров образуется во второй половине октября, а разрушается в конце апреля - начале мая. Толщина снежного покрова в лесах достигает 2 м. Грунт промерзает до 15м,. на болотах до 0,2м. Толщина льда на больших реках до 40-80 см, до 40см. Построена асфальтовая дорога от г.Сургута до г.Нижневартовска, а также от г.Сургута до Федоровского месторождения. Железная дорога связывает г.Сургут с г. Тюменью, г. Нижневартовском и Уренгоем.

1.2 Стратиграфия

Палеозойский фундамент

Породы фундамента палеозойского возраста на месторождении не вскрыты. В скважине 61 вскрыт базальт возраста Тз-Т2 в интервале 2983-2990 м. В скважине 131 и 202 (3224-3515 м.) вскрыт также базальт различного цвета от темно-зеленого до черного и коричневато-кирпичного, миндалекаменный.

Преимущественно эффузивно-осадочные отложения объединяются в туринскую серию осадков, входящих в состав фундамента.

Средний состав базальтов и полеритов, вскрытых Тюменской опорной скважиной, близок к составу базальтов на Федоровской площади.

Юрская система.

Нижне-среднеюрский отдел (тюменская свита) представлен переслаиванием между собой сероцветных песчаников, алевролитов и аргиллитов. Для свиты характерно ритмичное чередование аргиллитов темно-серых, крупнозернистых, сидеритезирован-ных и песчаников серых, мелкозернистых, алевритистых, аркозовых с многочисленными растительными остатками.

В кровле свиты залегает нефтеносный пласт ЮС2, литологически представленный переслаиванием песчаников темно-серых, плотных тонко- и мелкозернистых, крепкос-цементированных. Общая толщина пласта до 20 метров. Толщина тюменской свиты достигает 250 м.

Верхнеюрский отдел представлен васюганской, георгиевской и баженовской свитами.

Васюганская свита вскрыта на различных участках месторождения, в основании которой залегают аргиллиты темные, тонкоотмученные, местами битуминозные. Верхняя часть представлена чередованием песчаников темно-серых, алевролитов и аргиллитов. В кровле свиты залегает песчаный пласт ЮС

Толщина свиты до 100 м (скв 97).

Георгиевская свита представлена черными аргиллитами с многочисленными остатками рыб, встречаются единичные прослои глинистого известняка. Толщина свиты от 2 до 7 м.

Баженовская свита литологически представлена аргиллитами темно-серыми, черными с коричневатым оттенком, с различной степенью битуминозности. На некоторых участках месторождения (скв. 69, 1805, 1756, 7809, 1871) баженовская свита отсутствует, что связано, вероятно, с тектоническими движениями фундамента при формировании отложений баженовской свиты. Толщина свиты составляет 10-56 м.

Меловая система.

Отложения этой системы представлены двумя отделами: нижним и верхним. Нижний отдел слагается осадками мегионской, вартовской, алымской и нижней частью покурской свит; верхний отдел представлен средней и верхней частью покурской свиты, кузнецовской, березовской, ганькинской свитами. Мегионская свита (бериасский, валанжинский ярусы) представлена глинистыми осадками с прослоями песчаников и алевролитов, которые группируются в крупные пачки и толщи. Так, в основании свиты выделяется глинистая подачимовская пачка толщиной до 105 м. Выше залегает ачимовская толща, представленная чередованием песчаников и аргиллитов. На месторождении ачимовские отложения распространены повсеместно. В основном эти отложения не продуктивны. Общая толщина ачимовской свиты достигает 211 метров.

Вышележащая толща пород сложена темно-серыми аргиллитами с прослоями песчаников, в разрезе которой выделяются продуктивные пласты БС. Эти пласты перекрываются глинами чеускинской пачки общей толщиной от 35 м. выше.

В толще этих глин выделен нефтеносный пласт БС. Проницаемые прослои продуктивных пластов сложены мелко- и среднезернистыми песчаниками с прослойками глинистого алевролита. Общая толщина мегионской свиты до 506 м.

Вартовская свита (готеривский и барремский ярусы) представлена двумя подсвитами: нижней, объединяющей песчаные пласты, именуемые как группа "Б", сюда входят два нефтеносных пласта ВС1 и БС2. Сложены они песчаниками серыми, мелкозернистыми, часто с прослоями аргиллитов и алевролитов.

Над пластами БС и БС2 залегает пимская глинистая пачка, которая в верхней части опесчанивается на некоторых участках месторождения. Толщина колеблется от 7м до 49м.

Верхняя подсвита сложена переслаиванием песчаников, алевролитов, аргиллитов. В разрезе подсвиты выделяются ряд песчаных пластов (АС4-12), шесть из которых являются нефтеносными АС4, АС6, АС5-8, АС9. Толщина вартовской свиты составляет до 434 метров.

Алымская свита залегает в основании аптского яруса и представлена аргиллитами темно-серыми, почти черными в средней части, песчаниками и алевролитами. Толщина алымской свиты до 132 метров.

Покурская свита представлена неравномерным переслаиванием алевролитопесчаных и глинистых пластов и пачек различной толщины плохо выдержанных по площади. Нижняя часть свиты относится к апт-альбскому ярусу и представлена переслаиванием песчаников, алевролитов, глин аргиллито-подобных и аргиллитов.

В верхней части покурской свиты, относящейся к сеноманскому возрасту, выделяется мощная песчано-алеврито-глинистая толща пород. Пески и песчаники сеноманской толщи имеют окраску от светло-серой до темно-серой, мелко- и среднезернистые, слабосцементированные или рыхлые в различной степени глинистые. Толщина покурской свиты до 843 м.

Кузнецовская свита приурочена к морским осадкам туронского яруса. Литологически представлена глинами темно-серыми, местами алевритистыми. Толщина свиты до 29 м.

Березовская свита (коньякский, кампанский, сантонский ярусы) подразделяется на две подсвиты: нижнюю - опоковидную и верхнюю -глинистую. Общая толщина свиты до 145 м.

Ганькинская свита (маастрихтдатский ярус) литология этой свиты довольно однообразная: нижняя часть слагается глинами темно-серыми, почти черными; верхняя часть представлена глинами серыми с зеленовато-голубоватым оттенком. Толщина свиты около 86 м.

Палеогеновая система.

Талицкая свита (палеогеновый отдел) сложена глинами темно-серыми, однородными, местами алевритистыми. Толщина до 120 м.

Люлинворская свита (эоценовый отдел) представлена глинами серыми и темно-серыми, аргиллитоподобными с гнездами глауконита. Толщина свиты до 203 м.

Тавдинская свита (верхняя часть эоценового и нижняя часть олигоценового отделов) представлена глинами зелеными, вязкими с присыпками и гнездами алевролита, с прослоями и линзами глинистого сидерита. Толщина свиты до 170 м.

Атлымская свита (нижняя часть олигоценового отдела) представлена песками серыми, мелкозернистыми, преимущественно кварцевыми.

Новомихайловская свита (средняя часть олигоценового отдела) литологически представлена чередованием глин, песков, алевролитов и бурых углей. Толщина свиты до 80 м.

Туртасская свита (верхняя часть олигоценового отдела) сложена алевролитами серыми сильно глинистыми. Толщина свиты около 40

Четвертичная система.

Отложения представлены песками, алевритистыми глинами с галькой и гравием. Современные осадки представлены пойменным аллювием и покровными отложениями. Толщина отложений не превышает 40 м.

1.3 Тектоника

По отражающему горизонту "Б" Федоровская структура 11 порядка представляет собой крупную брахиантиклинальную изометрическую складку, с сильно изрезанными в структурном плане очертаниями. Структура осложнена куполовидными поднятиями 11 порядка, оконтуривающими изогипсами -2600, -2625 м.

Из структуры 11 порядка самым южным из поднятий является Северо-Сургутское, которое вытянуто в меридиальном направлении. Оконтуривающая изогипса -2600 м. объединяет несколько куполовидных поднятий и раскрывается на Вершинное поднятие (входящее в состав Яунлорского месторождения).

В западной части Федоровской структуры расположено Федоровское поднятие 11 порядка, оконтуривающееся изогипсой -2600 м. и имеющее в ее границах размер 13,5*4,7 км, амплитуда до 37 м. с пологими углами наклона крыльев до 28. Это поднятие имеет линейно-вытянутую форму в меридиальном направлении.

На Северо-Западе к Федоровскому поднятию примыкают Оленье и Варенское поднятия, которые объединяются изогипсой 2625 м. Оленье поднятие осложнено двумя небольшими куполовидными поднятиями, по замыкающей изогипсе -2600 м, размеры самого крупного из них 2,0*2,8 км.

Непосредственно к востоку от Оленьего поднятия расположена группа локальных поднятий оконтуриваемых изогипсами -2625 м, которые объединяются в Тор-Лорское поднятие, по своим размерам они очень небольшие.

На востоке собственно Федоровская структура граничит с Моховым поднятием, отделяясь от него глубоким прогибом. Моховое поднятие представляет собой брахиантиклинальную складку, имеющую северо-восточное простирание. Само поднятие оконтуривается изогипсой -2600 м, в пределах которой имеет размеры 9,8*3,2 км, амплитуду до 21 м.

Все перечисленные поднятия: Северо-Сургутское, Федоровское, Оленье, Варенское, Моховое с юга, севера и востока оконтуриваются общей изогипсой -2625 м и представляют крупную антиклинальную складку неправильной формы, вытянутую в меридианальном направлении с восточным и западным ответвлениями. С запада изогипса -2625 м раскрывается на Яунлорскую группу поднятий (Вершинное, Южно-Вершинное).

К востоку от Мохового поднятия расположено Восточно-Моховое, которое по замыкающей изогипсе -2625 м имеет размеры 16,2*9,5 км с амплитудой 41м.

Таким образом. Федоровское месторождение включает несколько поднятий: Федоровское, Северо-Сургутское, Оленье, Варенское, Той-Лорское, Моховое и Восточно-Моховое.

По кровле пласта БС10 Федоровское куполовидное поднятие оконтуривается изогипсой -2260 м. Все локальные структуры 11 порядка внутри этого контура выделяются довольно четко и представляют собой брахиантиклинальные складки различной ориентации. К наиболее крупным на рассматриваемой территории относятся три структуры: Федоровская, Моховая и Восточно-Моховая. Структурные планы по кровле пластов сходны, в основном, между собой, отличаясь лишь глубинами залегания, амплитудами поднятий и углами падения слоев.


Залежи пласта БС 10.

В состав верхней части мегионской свиты (нижний отдел меловой системы) входит толща пород, представленных темно-серыми аргиллитами с прослоями песчаников, в разрезе которых выделяются продуктивные пласты БС.

Залежь пласта БС10 является основным эксплуатационным объектом, охватывает значительную площадь, объединяя общим контуром нефтеносности почти все осложняющие Федоровскую структуру купола. Исключением является Северо-Сургутский купол, который отделяется от остальных относительно глубоким прогибом, а, возможно, зоной глинизации.

Пласт БС 10 характеризуется, в основном, очень высокой продуктивностью.

Пласт БС10 имеет сложное строение, литологически неоднороден, фациально изменчив как по разрезу, так и по площади.

При детальной корреляции разрезов скважин пласт с некоторой долей условности разделен на две пачки - БС10В (верх) и БС10Н (низ). Пласт БС11, который был выделен на Моховой площади, вошел в объем пласта БС 1.

Верхняя пачка представлена мощными монолитными песчаниками, хотя характер ее распространения в восточной и западной частях месторождения различен по сравнению с центральной. В восточной части месторождения (Восточно-Моховая площадь) общая толщина верхней пачки не превышает 8-17м, уменьшение толщины происходит в юго-восточном направлении до 2 м. В западной части месторождения (Федоровская площадь) верхняя пачка имеет толщину от 10 до 13 м. В центральной части месторождения (Моховая площадь) общая толщина резко возрастает до 40 м. Максимальная нефтенасыщенная тол¬щина верхней пачки по месторождению - 27,5 м.

Нижняя пачка представлена переслаиванием глинистых и песчаных разностей. В некоторых скважинах нижняя пачка полностью глинизируется. Нефтенасыщенные толщины изменяются от 0 до 19,1 м.

Среднее положение ВНК 2242,6 м. На Моховой площади отмечается небольшой его наклон в юго-восточном направлении до 2246 м.

2. Технологическая часть

.1 Состояние разработки месторождения

Под системой разработки месторождения понимают совокупность технологических и технических мероприятий, направленных на извлечение из пласта нефти, газа и попутных компонентов, содержащихся в них, и управление этим процессом.

Рациональной считают систему разработки, которая обеспечивает наиболее полное извлечение из пластов флюидов при наименьших затратах. Она предусматривает соблюдение правил охраны недр и окружающей среды, учитывает природные, производственные и экономические особенности района, включает в себя схему и план разбуривания залежей с учетом мероприятий по воздействию на пласт.

Федоровское месторождение разрабатывается с поддержанием пластового давления методом заводнения, т.е. закачки воды в пласт. Наиболее применяется площадное заводнение, при котором в условиях общей равномерной сетки скважин нагнетательные и добывающие скважины чередуются в строгой последовательности, установленной проектным документом на разработку.

Физические свойства коллектора.

Коллекторы пласта БС10 представлены песчаниками кварц-полевошпатового состава (содержание кварца 34%, полевых шпатов - 45%, обломков горных пород - 9,5%, слюды - 2,9%), мелкозернистыми и среднезернистыми. Цемент песчаников каолинит-хлорит гидрослюдистого состава, содержание его в шлифах изменяется от 0,5 до 4,8%, составляя з среднем 2,8%.

Нефтеносная часть сложена породами со свойствами лучшими, чем водоносная.

Пористость пород-коллекторов определялась как по керну методом насыщения, так и геофизическими методами отдельно для нефтяных и водонефтяных зон. Большое количество определений (667 по 27 скважинам) позволяет уверенно брать для подсчетов запасов и технологических расчетов величины, определенные по керну, которые составили соответственно для нефтяной и водонефтяной зон 24,5 и 23,4%, а в целом для всей залежи 23,9%.

По открытой пористости породы пласта БС10 на различных площадях существенно не различаются: на Восточно-Моховой северной и южной частях площади пористость в среднем равна 23-2 и 23,4 %, на Федоровской и Моховой площадях -23,8 и 24,1%.

Проницаемость определялась по керну фильтрацией газа на установке ГК-5 и промысловыми исследованиями разведочных скважин. Всего сделано 310 лабораторных определений проницаемости из 27 скважин, 15 из которых расположены в пределах Моховой площади. Средние значения проницаемости определены как для нефтяной и водонефтяной зон, так и для месторождения в целом, которые составляют 0,244, 0,193, 0,227 мкм2 По Моховой площади средняя проницаемость составила (0,281-0,184 мкм2.

Насыщенность связанной водой пласта БС 10 определена методом центрифугирования. Получаемые при этом результаты характеризуют способность пород удерживать воду при единых условиях ее вытеснения и являются поэтому комплексным литолого-физическим показателем качества коллекторов. Насыщенность связанной водой по Моховой площади равна 0,301.

Пласт БС 10 наиболее расчленен из всех пластов Федоровского месторождения. Для оценки неоднородности коллекторов пласта БС 10 по проницаемости был проведен однофакторный дисперсионный анализ по 288 определениям из 28 скважин. Результаты, полученные при расчетах, показали, что послойная неоднородность (по разрезу) несколько выше зональной (по площади) и соответственно равна 0,504 и 0,274 (квадрат коэффициента вариации). На Моховой площади среднее количество пропластков 7,01.

Показатели неоднородности пластов сведены в таблице (2). Наиболее важным из них является параметр прерывистости, определяющий коэффициенты охвата воздействием в зависимости от системы заводнения, плотности и геометрии сетки скважин.

3. Описание производимых работ

Задача заключалась в контроле работы вибросит, гидроциклонов, слежении за наполнением приемных емкостей и при необходимости откачка излишнего бурового раствора во избежание перелива. По сигналу бурильщика, останавливал работу насоса УНБТ-950 и выключал тумблер ГШН-8,а так же при необходимости работу «песко-ило отделителя». В последующем моей задачей было поднятие к столу ротора для наращивания.

В последующих сменах участвовал в следующих видах работ: -накатывание труб на мостки в желоб и последующим подъемом на стол ротора для бурения и проработки скважины; шаблонирование и отвинчивании колпаков защищающих резьбу от механических повреждений; -замена глухих плашек Ø127 на ПВО ОП5-230/80х35,а также трубных плашек Ø 89;

приготовление бурового раствора в размере 35м3.

Название вещества

Масса,кг

Каустик

25

Соль

1000

Крахмал

500

Мел

500

Биополимер

100


замена задвижки в блоке линии дросселирования;

замена втулок и поршней на насосах УНБТ-950 №1 и №2, с Ø170 мм на Ø 160 мм;

замена и перетяжка талевого каната;

очистка ПВО от бурового раствора;

очистка стола ротора от бурового раствора;

обеспечение буровой химическими реагентами со склада химии; -зачистка буровой от подтеков бурового раствора и разлива смазывающих веществ, а так же от просыпанной химии;

выкапывание шахты под забурку новой скважины;

4. Буровая установка и конструкция эксплуатационной скважины

Конструкция скважины

Конструкция скважины состоит из: направления, кондуктора, эксплуатационной колонны, и хвостовика.

Бурение под направление на глубину 0-100 м проводилось долотом Ø393,7 мм, диаметр обсадной колонны 324/304 мм.

Бурение под кондуктор на глубину 100-553 м проводилось долотом Ø295,3 мм, диаметр обсадной колонны 245/224 мм.

Бурение под эксплуатационную колонну на глубину 553-1380 м проводилось долотом Ø220,7 мм, диаметр обсадной колонны 178/158 мм.

Бурение под хвостовик на глубину 1380-2380м проводилось долотом Ø152,4 мм, диаметр обсадной колонны 114/98 мм.

Проектный профиль скважины №3577

Оборудование буровой установки «Уралмаш 3200 ЭУК».

Буровая установка БУ-3200ЭУК разработана для кустового бурения скважин в условиях Западной Сибири. Основное оборудование установки скомплектовано в три крупных блока: вышечно-лебедочный, насосный и циркуляционной системы с емкостями. Имеются также блоки очистки раствора, энергоблок, компрессорный блок, состоящие из габаритных секций со смонтированным на них оборудованием и коммуникациями.

Основание вышечно-лебедочного блока состоит из двух продольных рам, соединенных конечными балками, фермами и связями. На рабочей площадке основания с отметкой пола 7,2 м монтируется ротор, буровой ключ, вспомогательная лебедка, привод ротора, пневмораскрепитель, устройство для крепления неподвижной ветви талевого каната, дистанционное управление тормозом буровой лебедки. В задней приводной части основания на отметке пола 4,2 м устанавливается буровая лебедка, а на отметке пола 3,9 м - основной и вспомогательный приводы лебедки.

На продольных рамах основания монтируется буровая вышка и устройство для ее подъема и крепления. К этим рамам присоединены транспортные опоры для установки тяжеловозов с целью транспортирования блока с куста на куст, а также механизмы для перемещения и выравнивания блока в пределах куста.

Под рабочей площадкой основания блока установлены приспособления для снятия противовыбросового оборудования (превенторов) с колонной головки пробуренной скважины, отвода и крепления его в транспортное положение при перемещении блока на новую точку.

В передней части основания установлены консольно-поворотный кран и козырек с приемным мостом.

Укрытие вышечно-лебедочного блока металлическое, панельного типа. Высота панелей укрытия рабочей площадки 6 м, проем в укрытии со стороны приемного моста перекрывается откатными воротами. Размер рабочей площадки и наклон панелей ее укрытия обеспечивают возможность опускания вышки без разборки укрытия.

Основание насосного блока состоит из продольных рам и площадок. В передней части установлен поворотный кронштейн, а в задней два кронштейна для подводки тяжеловозов. На основании насосного блока монтируются два буровых насоса с индивидуальными приводами, электрокомпрессор высокого давления КР-2 и укрытие панельного типа.

Основание блока циркуляционной системы аналогично основанию насосного блока. На нем монтируются емкости для бурового раствора, воды, химических реагентов и шламовые насосы. На емкостях имеются площадки и оборудование для перемешивания раствора.

Технические характеристики БУ 3200 ЭУК

Параметры

БУ 3200 ЭУК

Допускаемая нагрузка на крюке, кН

2000

Условная глубина бурения, м

Скорость подъема крюка при расхаживании колонны, м/с

0,1±0,2

Скорость подъема элеватора (без нагрузки), м/с, не менее

1,5

Расчетная мощность на входном валу подъемного агрегата, кВт

670

Диаметр отверстия в столе ротора, мм

700

Расчетная мощность привода ротора, кВт, не более

370

Мощность бурового насоса, кВт

950

Площадь подсвечников для размещения свечей диаметром 114 мм, м2

4000

Высота основания (отметка пола буровой), м

7,2

Просвет для установки блока превенторов, м

5,7


Комплектность и набор бурового оборудования БУ 3200 ЭУВ

Механизм, агрегат

БУ 3200 ЭУК

Лебедка буровая

ЛБУ22-670

Насос буровой

УНБТ-950

Ротор

Р-700

Комплекс механизмов АСП

АСП-ЗМ1

Кронблок

УКБА-6-250

Талевый блок

УТБА-5-200

Крюкоблок

УТБК-5-225

Вышка

ВМА-45-200-1

Привод основных механизмов

Лебедки, верхнего привода,ротора и буровых насосов: электродвигатель 4ПС450-1000-УХЛ2

Циркуляционная система

ЦС3200ЭУК-2М-У1

Верхний привод

TESKO EXI 600-350

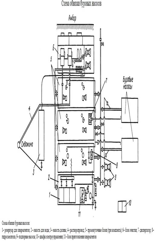
Система очистки бурового раствора <#"794002.files/image003.jpg">

1- вышечно-лебодочный блок; 2- блок емкостей; 3- насосный блок; 4- направляющие блоков






























5. Индивидуальное задание

1. Буровая вышка. Тип вышки (мачтовая или башенная) и её назначение. Конструктивное исполнение. Способ монтажа и обеспечение устойчивости вышки.

Буровая установка или буровая - комплекс бурового оборудования и сооружений, предназначенных для бурения скважин. Состав узлов буровой установки, их конструкция определяется назначением скважины, условиями и способом бурения. В бурении применяют вышки двух типов - башенные и мачтовые. Мачтовые вышки делятся на А-образные и П-образные. Башенные вышки имеют 4 несущих ноги, связаны решёткой в единую пространственную систему в виде 4-гранной усечённой пирамиды. Они имеют 4 опоры, которые устанавливаются на фундамент или на основание. Такие вышки изготавливаются из труб и профильного проката. Каждая секция состоит из отдельной детали: 4-ёх ног, поясов, соединяющих ноги секций в верхних и нижних частях, и диагональных тяг или раскосов в зависимости от конструкции вышки.

При сборке детали вышки соединяют болтами. У вышек высотой 41 м верхнее основание равно 2 на 2 м, а нижнее - 8 на 8 м. Нижнее основание у вышек высотой 53 м равно 10 на 10 м. Нижние и верхние секции вышек имеют опорные плиты, которыми они крепятся к основанию при помощи болтов. На плиты верхних секций устанавливают подкронблочную раму. Внизу, в передней со стороны приёмного мостка и в задней гранях выше, имеются ворота высотой 10,5-12 м, состоящие из двух полураскосов. Вышки высотой 41 м оборудуют одним балконом, а высотой 53 м - двумя на внешних гранях вышки, которые служат укрытием для второго помбура во время спуско-подъёмных операций. На балконе устанавливают люльку для работы верхового и пальцы для установки свечей.

Мачтовые (А-образные, П-образные) вышки выполняются отдельными секциями, сваренными из труб в виде решётчатых ферм. В сечении фермы имеют вид равнобедренного треугольника или прямоугольника. Каждая нога вышки состоит из 4-ёх секций длиной около 10 м. На концах секций имеются фланцы, соединяемые между собой болтами или специальными быстросъёмными хомутами. Нижние и верхние секции имеют проушину. Верхняя секция соединяется шарнирно с подкронблочной рамой, которая является связующим звеном мачт вышки в верхней части. Кроме этого, мачты верхней части шарнирно соединяются между собой двумя поясами и двумя парами накрест расположенных винтовых стяжек. В нижней части мачты вышек шарнирно соединяются со стойками, расположенными на подвышечном основании.

Вышка является ключевым узлом оборудования буровой установки и предназначена для выполнения следующих функций:

§   проведения спуско-подъемных операций с бурильными и обсадными трубами;

§   поддержания бурильной колонны на талевой системе при бурении с разгрузкой;

§   размещения комплекта бурильных труб и утяжеленных бурильных труб (УБТ), извлеченных из скважины;

§   размещения талевой системы и средств механизации спуско-подъемных операций, в частности механизмов АСП, КМСП или платформы верхового рабочего, устройства экстренной эвакуации верхового рабочего, системы верхнего привода и вспомогательного оборудования.

Мачтовая вышка монтируется на подвышечных основаниях и крепится к мачтам ног вышки с помощью горизонтальных фиксаторов. Он также используется как приспособление для подъёма вышки в вертикальное положение. К мачтам вышки на определённой высоте крепят балкон с двумя люльками для второго помбура и пальцами для установки свечей, или площадку для механизма расстановки свечей АСП и магазины для установки свечей. Одна из ног вышки с внешней стороны от пола буровой до балкона оборудована маршевыми лестницами с переходными площадками, а от балкона до кронблока - лестницами тоннельного типа внутри ферм секций. В некоторых конструкциях вышек с прямоугольным сечением мачт маршевые лестницы и переходные площадки расположены внутри ферм секций. Для предотвращения случайного падения свечей в сторону приёмного поста или лебёдки, на мачтах устанавливают предохранительные пояса.

Буровые вышки башенного типа собираются четырьмя способами. 1. Подвесной монтажной стрелой, которую перемещают по собранным секциям вышки для сборки последующих секций методом «снизу-вверх». 2. Двумя шагающими стрелами, также методом «снизу-вверх». 3. Сборкой вышки в горизонтальном положении с последующим её подъёмом в вертикальное положение. 4. При помощи вышечных подъёмников методом «сверху-вниз», когда вначале собирают верхнюю секцию, а в последнюю очередь нижнюю.

Способ сборки вышек вышечными подъёмниками является основным широко применяемым в настоящее время. Этим способом вышки башенного типа можно собирать как на подвышечных основаниях, так и непосредственно на фундаментах.

2.Буровая лебедка. Назначение как спуско-подъемного агрегата буровой установки. Регулятор подачи долота на забой. Лебедка вспомогательная.

Лебедка - основной механизм подъемной системы буровой установки. Она предназначена для проведения следующих операций: - спуска и подъема бурильных и обсадных труб; - удержания колонны труб на весу в процессе бурения или промывки скважины; - приподъема бурильной колонны и труб при наращивании; - передачи вращения ротору; свинчивания и развинчивания труб; - вспомогательных работ по подтаскиванию в буровую инструмента, оборудования, труб и др.; - подъема собранной вышки в вертикальное положение.

РПД предназначен для автоматической подачи долота на забой при заданной с пульта бурильщика осевой нагрузке на долото, и для постоянной скорости подъёма или спуска бурильной колонны, заданной с пульта управления. Его также используют в качестве аварийного привода для подъёма инструмента и мачт вышек в вертикальное положение.

В бурильных установках в основном применяют электрический регулятор подачи долота РПДЭ-3. РПД состоит из рамы, редуктора, колодочного тормоза, электродвигателя постоянного тока с охладительным вентилятором и цепной звёздочкой. Электродвигатель соединён с редуктором эластичной муфтой, а редуктор - с цепной звёздочкой зубчатой муфтой. В комплект РПД входит:

·              станция управления;

·              дизель-генератор для питания электродвигателя;

·              пульт управления регулятором;

·              электрический датчик для измерения нагрузки на долото.

Принцип работы регулятора подачи долота следующий: осевая нагрузка на долото измеряется с помощью электрического датчика 6, который устанавливают на неподвижной ветви талевого каната, и передаётся на пульт управления 5, где сравнивается с величиной нагрузки на долото Pq, задаваемой бурильщиком. Разность электрических сигналов ΔP между нагрузкой на долото и заданной на пульте поступает на усилители, установленные в станции управления 1. Усиленные электрические сигналы действуют на обмотку возбуждения электрогенератора 2, который состоит из генератора постоянного тока, вращаемого асинхронным электродвигателем. Генератор питает двигатель постоянного тока 3 регулятора подачи долота, редуктор 4 которого цепной передачей соединён с подъёмным валом буровой лебёдки.



Вспомогательная лебедка

Вспомогательная лебёдка состоит из сварной металлической рамы 2 с двумя вертикальными стойками 1, на которых смонтирован редуктор 10, электродвигатель 9, трансмиссионный вал, колодковый грузовой тормоз с электромагнитом 12, катушечный вал 11, направляющие ролики 5, закреплённые в специальном кронштейне, образованном из двух планок 3. При помощи этих роликов создаётся возможность работы грузовыми канатами под необходимым углом. В полках планок имеется ряд отверстий, в которые устанавливаются ролики в зависимости от необходимого направления каната. Безопасная шпилевая катушка 4 посажена неподвижно на консольный конец катушечного вала. Барабан лебёдки 6 посажен на катушечный вал на подшипниках и подключается к валу зубчатой муфтой 7 с помощью рукоятки 8. Трансмиссионный вал соединён с катушечным цепной передачей.

Лебёдка управляется с пульта, который установлен на стойке. Некоторые конструкции вспомогательных лебёдок имеют два барабана различного диаметра - один для свинчивания-развинчивания труб, а второй для подтаскивания и подъёма груза. При монтаже вспомогательная лебёдка устанавливается на основании вышечно-лебёдочного блока и надёжно закрепляется с помощью болтов.

3. Буровые насосы. Назначение и применяемость буровых насосов. Возможные неисправности буровых насосов, их причины и способы устранение неполадок.

Буровой насос - устройство, предназначенное для преобразования механической энергии работы двигателя привода в гидравлическую энергию потока промывочной жидкости. Буровой насос является главным элементом циркуляционной системы буровой установки. Буровой насос бывает двух-и трёхцилиндровый. Назначение:

) нагнетание бурового раствора в буровую колонну с целью:

а) циркуляции в скважине в процессе бурения;

б) эффективной очистки забоя и долота от выбуренной породы;

в) промывки и ликвидации аварий;

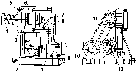
Насос буровой двухпоршневой.

Насос буровой трехпоршневой.

Эксплуатация буровых насосов связана с выполнением большого комплекса трудоемких и травмоопасных операций по их обслуживанию. Разработанный комплекс механизмов для смены быстроизнашивающихся деталей бурового насоса, предназначенный для повышения уровня механизации и безопасности операций по смене деталей гидравлического блока ( клапана, седла клапана, штока с поршнем, поршня, цилиндровой втулки), отвинчиванию и завинчиванию упорного винта клапанной коробки, извлечению и установке корпуса уплотнения штока, извлечению пальца крейцкопфа.

Запрещается эксплуатация буровых насосов, оборудованных пневмокомпенсаторами с предварительным сжатием, при давлении в компенсаторах ниже установленного паспортом.

В процессе эксплуатации буровых насосов в нагнетательном трубопроводе может создаться давление, превышающее допустимое. Это может привести к разрыву напорной линии и самого насоса, к травмированию обслуживающего персонала.

В процессе эксплуатации бурового насоса вследствие абразивного действия песка, находящегося в буровом растворе, наиболее быстро изнашиваются его цилиндровые втулки, поршни, штоки, клапаны и седла, что приводит к нарушению нормального режима работы насоса и снижению подачи бурового раствора к забою скважины. Поэтому нужно проверить состояние поверхности штока, а также прокладок сальниковой набивки. Изношенные или разъединенные штоки должны быть удалены из насоса, так как они исключают возможность создания надежного уплотнения. Поджимать уплотнения сальника штока во время работы насоса не допустимо, так как рука рабочего может быть прижата отсекателем к сальнику. При ослаблении прокладок цилиндровая втулка может быть вытолкнута из насоса. Необходимо периодически проверять прижатие цилиндровых втулок. Клапаны и седла, имеющие значительный износ, следует заменять. В противном случае может произойти размыв клапанной коробки, а следовательно, и выход насоса из строя.

В процессе эксплуатации буровых насосов конические роликоподшипники кривошипного и трансмиссионного валов нужно периодически осматривать и при необходимости производить их регулировку.

В процессе эксплуатации бурового насоса наиболее быстро изнашиваются его цилиндровые втулки, поршни, штоки, клапаны и седла. Интенсивный износ происходит при работе на утяжеленной промывочной жидкости и т.д.

На производственной практике я познакомился с двумя видами трехпоршневыми насосами: УНБТ 950 и УНБТ 1180L.

буровой скважина тектоника стратиграфия

УНБТ-950

УНБТ-1180L.

4.Оборудование циркуляционной системы буровой установки. Желобная система и вибросита.

Циркуляционная система буровой установки предназначена для приготовления, очистки, регулирования свойств и циркуляции бурового раствора, обеспечивающего вынос выбуренной породы и подведение мощности к забойному двигателю и долоту. Наземная часть циркуляционной системы может быть разбита на подсистему нагнетания и регулирования подачи бурового раствора и подсистему приготовления, очистки, регенерации и регулирования свойств бурового раствора.

Первая подсистема включает в себя буровые насосы, подпорные центробежные насосы, приемную емкость и обвязку всасывающих и нагнетательных линий насосов. Для хранения раствора в циркуляционной системе (ЦС) предусматривается несколько емкостей прямоугольного сечения, которые соединены между собой трубопроводами, по которым раствор перепускается из одной емкости в другую. Каждая из подобных емкостей имеет люки для очистки от осадка и секцию растворопровода в виде желоба. Для поддержания подвижности бурового раствора используют гидравлические и механические перемешиватели.


Вторая подсистема предназначена для осуществления следующих технологических операций: приготовления основы бурового раствора в виде водоглинистой суспензии, соляробитумной смеси или водонефтяной эмульсии; утяжеления бурового раствора; регулирования и стабилизации свойств раствора с помощью химических реагентов; очистки бурового раствора от выбуренной породы и газа.

Упрощённая конструкция циркуляционной системы - это желобная система, которая состоит из желоба для движения раствора, настила около желоба для хождения и очистки желобов, перил и основания.

Желобная система.

Вибрационные сита, предназначенные для нефтяной промышленности, применяются для очистки бурового раствора от выбуренной породы (шлама). Кроме того, существуют специальные применения вибрационных сит, такие как восстановления кольматирующих добавок, утяжелителя бурового раствора и др.

На практике я ознакомился с виброситами компании Mi Swaco.

Вибросита фирмы Mi Swaco.

.Противовыбросовое оборудование. Назначение ПВО. Схема установки и обвязки ПВО в условиях конкретной буровой установки.

Противовыбросовое оборудование - комплекс оборудования, предназначенный для герметизации устья нефтяных и газовых скважин в процессе их строительства и ремонта с целью безопасного ведения работ, предупреждения выбросов и открытых фонтанов. Противовыбросовое оборудование обеспечивает проведение следующих работ:

.        Герметизация скважины;

.        Спуск-подъём колонн бурильных труб при герметизированном устье;

.        Циркуляция бурильного раствора с созданием регулируемого противодавления на забой и его дегазацией;

.        Оперативное управление гидроприводными составными частями оборудования.


6.Монтаж и транспортировка буровой установки и сооружений.

Монтаж бурового оборудования в значительной степени определяется правильной организацией труда, учитывающей последовательность и методы монтажа и демонтажа, а также схемы расположения бурового оборудования и особенности и опыт сооружения буровых в различных геологических и климатических условиях.

Существуют три метода монтажа буровых установок: агрегатный, мелкоблочный и крупноблочный.

Агрегатный метод монтажа буровых установок заключается в индивидуальном монтаже оборудования и строительстве сооружений установки с применением фундаментов однократного использования. В этом случае строят бетонные или деревянные фундаменты отдельно под каждый агрегат установки. При повторном монтаже буровую установку разбирают на агрегаты и узлы и перевозят универсальным транспортом на новую точку бурения, где вновь строят фундаменты, сооружения и монтируют оборудование.

Агрегатному методу характерны следующие недостатки:

длительные сроки сооружения буровых из-за трудоемкости работ, связанных с монтажом и демонтажом оборудования, строительством и разборкой буровых укрытий, сооружением фундаментов и транспортировкой оборудования и материалов:

многократность демонтажа и монтажа оборудования приводят к преждевременному его износу, в результате чего возрастает объем ремонтных работ, нарушается комплектность оборудования - отдельные агрегаты монтируют из различных комплектов с разными сроками службы;

значительно снижается возврат материалов из-за периодической разборки буровых укрытий и коммуникаций.

Все эти недостатки агрегатного метода приводят к низкой производительности труда и высокой себестоимости сооружения буровых. В настоящее время этот метод применяют очень редко и только при монтаже буровых установок большой грузоподъемности.

Мелкоблочный метод монтажа буровых установок заключается в том, что агрегаты и узлы установки монтируют не на бетонных или деревянных фундаментах, а на металлических основаниях санного типа. Металлическое основание со смонтированным на нем каким-либо узлом установки составляет мелкий блок. Количество мелких блоков буровой установки определяется конструкцией установки, условиями разработки месторождения и географическими условиями, обычно буровая установка расчленяется на 15-20 мелких блоков. Габаритные размеры и масса мелких блоков позволяют перевозить их на универсальном транспорте или волоком, а в труднодоступных районах - вертолетами.

Мелкоблочный метод монтажа буровых установок широко применяют в разведочном бурении, а в некоторых районах и в эксплуатационном бурении, когда местные условия не позволяют перевозить установки крупными блоками. По сравнению с агрегатным методом при мелкоблочном методе снижается трудоемкость вышкомонтажных работ, сокращаются объем работ по сооружению фундаментов и сроки сооружения буровых, повышается сохранность оборудования и увеличивается срок его службы, а также снижается объем транспортно-такелажных работ.

Однако и этот способ имеет ряд недостатков, а именно:

большая расчлененность бурового оборудования на мелкие блоки, которая полностью не обеспечивает создание кинематически увязанных обособленных рабочих узлов;

применение оснований санного типа требует большого количества тракторов для перетаскивания блоков;

ограниченные габаритные размеры оснований не позволяют размещать на них буровые укрытия и коммуникации.

Крупноблочный метод монтажа буровых установок заключается в перевозке агрегатов и узлов установки крупными блоками на специальном транспорте (тяжеловозах), установке блоков на фундаменты и соединении коммуникаций между ними. При этом буровую установку расчленяют на два-три блока массой 60-120 т. Крупный блок состоит из металлического основания, перевозимого на специальных транспортных средствах, и смонтированных на нем агрегатов и узлов буровой установки, кинематически связанных между собой. При перевозке таких блоков почти не нарушаются кинематические связи узлов установки и коммуникаций и не демонтируются укрытия, что позволяет исключать трудоемкие работы, выполняемые при других методах монтажа, такие как строительные, плотничные, слесарные и некоторые подсобно-вспомогательные.

Крупноблочный метод монтажа буровых перед мелкоблочным методом имеет следующие преимущества:

резкое сокращение числа блоков, размещение буровых укрытий на основаниях, упрощение конструкции фундаментов;

снижение объема строительно-монтажных работ и сокращение сроков сооружения буровых до минимума;

увеличение скорости транспортировки блоков и сокращение используемых для этого тракторов;

повышение срока службы оборудования и оснований в связи с транспортировкой их на гусеничных тяжеловозах;

экономия строительных материалов.

Заключение

Практика в ОАО «Сургутнефтегаз» СУБР-1 прошла успешно. На данной практике я работал помощником бурильщика, где я контролировал работу вибросит, гидроциклонов, следил за наполнением приемных емкостей и при необходимости откачивал излишки бурового раствора во избежание перелива, а также при спуске обсадной колонны, моя работа заключалась в снятии колпачков с труб, накатывание их с мостков в желоб, и шаблонировании, закреплении её для поднятия к столу ротора. Во время прохождения практики мной был получен опыт и знания которые в дальнейшем буду применять в учёбе и непосредственно в нефтегазовой сфере.

Также мной было отмечено одно очень удобное, на мой взгляд, решения. Над емкостью, которая под виброситами, был сооружен своеобразный журавль на одном конце которого висела бутылка, на четверть заполненная водой, а на другом - бутылка заполненная водой на половину и опущенная в саму емкость. То есть из любой точки ШНа можно наблюдать за уровнем раствора в емкости, с целью предотвращения его перелива.

Похожие работы на - Буровая установка и конструкция эксплуатационной скважины

 

Не нашли материал для своей работы?
Поможем написать уникальную работу
Без плагиата!
Без нейросетей!