Оборудование для кустового бурения скважин
Содержание
Введение
1. Особенности кустового строительства скважин
2. Специальные буровые установки для кустового строительства
скважин
2.1 Устройство и монтаж буровой установки БУ-3000ЭУК
2.2 Устройство и монтаж буровой установки БУ-2500ЭУК
3. Циркуляционные системы ЦС2-3000ЭУК И ЦЗН3-3000ЭУК
3.1 Циркуляционная система ЦС2-3000ЭУК
3.2 Циркуляционная система ЦСЗ-ЗОООЭУК
4. Новые модификации буровых установок для кустового строительства
скважин
4.1 Эшелонная установка бурового оборудования
4.2 Буровая установка БУ-3000ЭУК-1
Заключение
Литература
Введение
Кустовое бурение-сооружение скважин, в
основном наклонно направленных, устья которых группируются на близком
расстоянии друг от друга с общей ограниченной площадки, а забои вскрывают
продуктивный горизонт в заданных точках в соответствии с сеткой разработки
В настоящее время большинство
эксплуатационных скважин бурится кустовым способом. Это объясняется тем, что
кустовое разбуривание месторождений позволяет значительно сократить размеры
площадей, занимаемых бурящимися, а затем эксплуатационными скважинами,
дорогами, линиями электропередач, трубопроводами.
Особое значение это преимущество
приобретает при строительстве и эксплуатации скважин на плодородных землях, в
заповедниках, в тундре, где нарушенный поверхностный слой земли
восстанавливается через несколько десятилетий, на болотистых территориях,
усложняющих и сильно удорожающих строительно-монтажные работы буровых и
эксплуатационных объектов. Кустовое бурение также необходимо, когда требуется
вскрыть залежи нефти под промышленными и гражданскими сооружениями, под дном
рек и озёр, под шельфовой зоной с берега и эстакад. Особое место занимает
кустовое строительство скважин на территории Тюменской, Томской и других
областей Западной Сибири, позволившее в труднодоступном, заболоченном и
заселённом регионе успешно осуществлять на засыпных островах строительство
нефтяных и газовых скважин.
1.
Особенности кустового строительства скважин
На суше кустовое бурение нашло применение с 1944 г., сначала
в Пермском, а затем и в большинстве других нефтяных районах страны. В начальный
период кустовой метод строительства скважин был одиночным явлением. Объемы
кустового бурения были малы, поэтому долгое время им занимался только узкий
круг специалистов.
Новый этап в развитии кустового метода строительства скважин
связан с началом освоения нефтяных богатств Западной Сибири. Отсутствие дорог,
сложность переброски оборудования со скважины на скважину на первых порах
значительно осложнили организацию буровых работ в новом нефтяном районе. Так,
например, при освоении Усть-Балыкского и Мегионского месторождений, основной
объем бурения, как правило, выполнялся зимой, и лишь отдельные участки
разбуривались в летний период. Причем для работы на этих участках все
необходимое оборудование завозилось заранее по зимним дорогам и
консервировалось после завершения бурения скважин до наступления зимы и
очередного ввода дорог в эксплуатацию.
Возникшая таким образом сезонность в бурении вызвала
необходимость разработки и создания на заболоченных и затопляемых участках
специальных сооружений, отвечающих требованиям круглогодичного производства
буровых работ. В поисках приемлемых решений были предложены и успешно освоены
различные конструкции внутрипромысловых дорог и оснований для бурения скважин на
болотах. Принимая во внимание возрастающие объемы буровых работ и трудности,
связанные с обеспечением своевременного строительства таких сооружений,
представилось целесообразным рациональное их применение в сочетании с кустовым
бурением.
Первые результаты кустового бурения скважин в Западной Сибири
не только подтвердили правильность принятых решений, но и выдвинули целый ряд
специфических требований к технике, технологии и организации строительства
наклонно направленных скважин в новых условиях. В последующие годы на базе
отработки техники и технологии проводки наклонно направленных стволов скважин,
разработки и совершенствования методов монтажа бурового оборудования и
передвижения его в пределах куста кустовой способ строительства скважин
распространялся в этом районе все больше и в последнее время стал основным.
Большие объемы буровых работ, высокие темпы разбуривания
нефтяных месторождений Западной Сибири дали мощный толчок научной и инженерной
мысли. В сжатые сроки разработаны технические средства для проводки и контроля
наклонно направленных скважин, различные конструкции передвижных оснований для
перемещения буровых станков в пределах кустовой площадки. Четко определились
особенности кустового строительства скважин, требования к буровому оборудованию
для этих условий, следствием чего явилось создание буровых установок,
специально предназначенных для кустового бурения скважин.
Строительство скважин кустовым способом имеет ряд
существенных достоинств экономического и социального характера, которые с каждым
годом приобретают все большее значение и способствуют все более широкому
распространению этого способа в нашей стране и за рубежом. К числу этих
достоинств, прежде всего, следует отнести значительное сокращение материальных
и трудовых затрат на инженерное обустройство площадок под скважины, подъездных
дорог к ним и месторождений в целом, особенно в условиях моря, заболоченности
территорий и бездорожья, где возникает необходимость сооружения искусственных
оснований под скважины и дорог специальных конструкций.
В последние годы поиски нефти и газа ведутся в
труднодоступных индустриально слаборазвитых районах. Освоение место - рождений
в таких районах сопряжено со значительными затратами материальных и технических
ресурсов. Кустовое бурение - единственный способ снижения этих затрат, так как
оно определяет не только экономическую сторону вопроса, но и темпы разбуривания
и освоения месторождений. При этом существенно уменьшаются затраты на
промысловое обустройство скважин, строительство нефтегазосборных сетей,
энергообеспечение промысловых объектов, ремонт и эксплуатационное обслуживание
скважин.
Значительно снижаются затраты на вышкостроение, так как
буровое оборудование передвигается в основном в пределах кустовой площадки.
Помимо этого кустовой способ позволяет улучшить баланс времени работы буровой
бригады. Внедрение кустового способа строительства скважин позволяет снизить до
минимума простой буровой бригады при переходе на новую скважино-точку в кусте.
В последние годы большое внимание уделяют вопросам охраны
окружающей среды, рационального использования земли. Строительство
индивидуальных скважин увеличивает площадь земель, изъятых из
сельскохозяйственного производства, и затраты на природоохранные мероприятия
(рекультивацию и т.д.). В связи с этим переход на кустовое строительство
скважин приобретает весьма актуальное значение.
Все это предопределило в последние годы широкое
распространение кустового метода не только на новых территориях, но и в старых
нефтяных районах, на давно введенных в эксплуатацию месторождениях.
Строительство скважин кустовым методом составляет в настоящее
время более 70% от всего объема эксплуатационного бурения. Причем основной
объем кустового бурения приходится на долю Западной Сибири, где кустовое
бурение скважин наиболее широко распространено и является решающим
экономическим фактором при освоении нефтяных месторождений. Широкое применение
кустовой метод находит и при строительстве газовых скважин.
Начинается значительное увеличение удельного веса кустового
строительства скважин на месторождениях Пермской области и Коми АССР, а также
других нефтяных районов страны.
Основной объем кустового строительства скважин пока
осуществляется серийным оборудованием, предназначенным для бурения одиночных
скважин. В настоящее время для кустового бурения скважин используются
практически все типы буровых установок с условной глубиной бурения от 2000 до
5000 м. Такие установки в промысловых условиях усовершенствуются и
"приспосабливаются" к специфике проводки с одной площадки куста наклонно
направленных скважин, что, в свою очередь, породило большое многообразие схем
расположения оборудования в кусте, взаимного размещения скважин и способов
передвижения буровой со скважины на скважину.
Все это предопределило необходимость создания бурового
оборудования, предназначенного специально для строительства кустов скважин. В
последние годы были созданы первые буровые установки для кустового
строительства скважин - БУ-3000ЭУК и БУ-2500ЭУК. Буровая установка БУ-3000ЭУК
успешно прошла промышленные испытания и с 1980 г. пущена в серийное
производство. В настоящее время основной объем бурения в Западной Сибири
выполняется этими установками. В 1982 г. прошла промышленные испытания и
буровая установка БУ-2500ЭУК. С 1984 г. начато ее серийное производство.
Таким образом, наметилась перспектива дальнейшего расширения
объемов кустового строительства скважин на промыслах нефтегазодобывающих
районов страны. Можно предположить, что в ближайшем будущем кустовой метод
станет основным при строительстве эксплуатационных скважин на нефть и газ.
кустовое бурение скважина установка
2.
Специальные буровые установки для кустового строительства скважин
2.1
Устройство и монтаж буровой установки БУ-3000ЭУК
Буровая установка БУ-3000ЭУК предназначена для кустового
бурения нефтяных скважин в условиях Западной Сибири. В комплект бурового
оборудования БУ-3000ЭУК, поставляемого производственным объединением
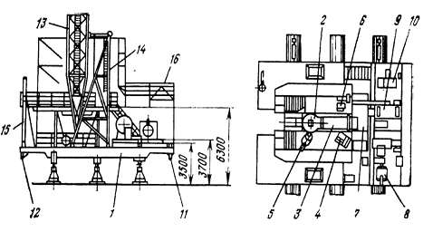
"Уралмаш", входят: вышечно-лебедочный блок 1 (рис.1) вместе с
механизмом передвижения и выравнивания, насосный блок 2, а также компрессорный
3, энергетический 4 и дизель-генераторный 5 блоки. Циркуляционная
система очистки бурового раствора 6 и нагнетательная линия 7 буровых
насосов, входящие в состав установки, поставляются по кооперации смежными
предприятиями.
Рис. 1 Схема размещения блоков буровой установки БУ-3000ЭУК
Техническая характеристика БУ-ЗОООЭУК
Условная глубина бурения, м 3200
Допускаемая нагрузка на крюке, кН 1700
Мощность привода подъемного механизма, кВт 64<5
Мощность привода буровых насосов, кВт 1260
Тип привода:
буровой установки
Электрический переменного тока, напряжением 600 В лебедки и
ротора
Групповой от асинхронного двигателя
буровых насосов
Индивидуальный от синхронного электродвигателя
Оснастка талевой системы 1 4 Х 5, 5 Х 6
Диаметр талевого каната, мм 28
Буровой насос У8-6МА 2
Мощность насоса приводная, кВт 630
Наибольшая суммарная подача, м3/с 0,077
Наибольшее давление на выкиде насосов, МПа 25
Вышка ВМР-45Х170
А-образная, секционная, трубчатая с четырехгранным сечением ноги,
со встроенными лестницами и механизмом подъема
Высота (от ствола ротора до низа подкронблочной рамы), м 45
Размер нижней базы, м 10
Номинальная длина свечи, м 25 или 27
Отметка пола буровой от уровня земли, м 7,2
Масса буровой установки, кг 490000
Вышечно-лебедочный блок
Вышечно-лебедочный блок (рис.2) буровой установки
представляет собой разборное металлическое основание на колесном рельсовом ходу
с расположенным на нем оборудованием. Основание блока 1 выполнено из
двух продольных рам, связанных между собой поперечными элементами (балками,
рамами, фермами, связями).
Верхняя часть основания состоит из трех рам, которые
опираются на поперечные плоские фермы. На буровой площадке с отметкой пола 7200
мм смонтированы ротор 2, буровой ключ 3 лебедка вспомогательная 4
привод ротора 5, пневмораскрепитель 6 и другое мелкое
оборудование.
В приводной части основания на отметке 4200 мм монтируется
буровая лебедка 7, а электропривод 8 лебедки и вспомогательный привод 9-на
отметке 3900 мм. Управление буровой и вспомогательной лебедками сосредоточено у
поста бурильщика на буровой площадке. Лебедка, электропривод лебедки и
вспомогательный привод устанавливаются на рамы-секции основания и могут
транспортироваться отдельными мелкими блоками на передвижных платформах ПП-40Бр.
Для крупноблочных перевозок основание блока снабжено кронштейнами 10 под
тяжеловозы и балансирным устройством 11. В конструкции основания блока
предусмотрено приспособление 12 для снятия превентора с колонной головки
и перемещения его вместе с блоком на очередную скважину в кусте. Нижняя часть
основания снабжена ходовыми тележками 13, опирающимися на рельсы
направляющих балок 14. Для передвижения блока на колесно-рельсовом ходу
предусмотрены гидроцилиндры 15 закрепленные к силовым рамам
основания, а для выравнивания - домкраты 16. На время бурения колеса
тележек разгружаются и блок устанавливается на направляющие с помощью
специально предусмотренных опор 17 и проставок 18. Колесно-рельсовый
ход и гидроцилиндры блока обеспечивают безопасное передвижение его вместе с
комплектом бурильного инструмента, установленного на подсвечниках основания.
На продольные рамы основания опираются буровая вышка 19,
устройство 20 для подъема вышки в рабочее положение (УПВ) и
консольно-поворотный кран 21 для обслуживания приемного моста,
грузоподъемностью 20 кН.
Высота вышки позволяет работать с удлиненной ведущей трубой и
наращивать бурильную колонну свечами.
Укрытие 22 блока - металлическое, панельного типа.
Буровая площадка защищается от ветра стеновыми панелями высотой 6 м. Выход на
приемный мост перекрывается откидными воротами. Размер и контур буровой
площадки обеспечивают опускание вышки без разборки укрытия. В приводной части
блока предусмотрен каркас 23, опирающийся на продольные рамы основания.
Ригели каркаса несут на себе панели кровли и используются для перемещения
ручной тали 24 грузоподъемностью 32 кН, предназначенной для обслуживания
лебедки и приводов. Панели укрытия выполнены из профильно-листового проката и
гофрированного листа.

Приемный мост (рис.3) блока состоит из наклонных трапов 1 и
7, горизонтального трапа 6, инструментальной площадки 3 и девяти стеллажей 2.
Трапы приемного моста представляют собой плоские сварные рамы со встроенным
направляющим желобом. На горизонтальном трапе предусмотрены места запаливания
буксирного каната для перемещения трапа по стеллажам в процессе передвижки
блока. Наклонный трап 7 опирается одним концом на центральную раму 9
верхней части основания блока, а другим - на трап 6. При передвижке трап
перемещается вместе с блоком в зафиксированном положении. В качестве фиксатора
используется стойка, опирающаяся на балку 4, закрепленную к продольным
рамам 5 основания. Стеллажи выполнены в виде трехгранных ферм, в верхней части
которых устанавливаются съемные балки 10, обеспечивающие свободное
перекатывание по мосту бурильных, обсадных и насосно-компрессорных труб. Такие
балки по мере передвижения горизонтального трапа демонтируются, переставляются
на противоположную сторону и фиксируются с помощью клиньев 11.
Рис.3 Приемный мост
Рекомендуемая последовательность монтажа блока такова.
Вначале на подготовленной площадке устанавливают в проектное положение и
закрепляют между собой направляющие балки механизма передвижения. Причем для
свободного маневрирования техники обычно монтируют лишь две пары направляющих
балки, а две другие пары подсоединяют после окончания монтажа блока.
Затем на направляющих собирается основание блока. Для этого к
продольным рамам основания закрепляют опоры блока, домкраты и ходовые тележки.
В собранном виде обе продольные рамы устанавливают на направляющие балки так,
чтобы они опирались на них своими опорами через проставки и колеса ходовых
тележек были разгружены. Рамы соединяют между собой системой поперечных связей
и на них монтируют верхнюю часть основания. Совмещение крепежных отверстий при
сборке металлоконструкций обеспечивается с помощью регулировочных тяг.
Завершив сборку основания, устанавливают и закрепляют на нем
лебедки, электропривод и вспомогательный привод, а затем, после сборки буровой
вышки и подъема ее в рабочее положение, монтируют на основании все необходимое
оборудование, собирают укрытие и устанавливают приемный мост.
Насосный блок
Насосный блок представляет собой основание, на котором
монтируются два буровых насоса У8-6МА2 с индивидуальными электроприводами,
электрокомпрессор высокого давления КР-2 для подготовки сжатого воздуха и
зарядки пневмокомпенсаторов буровых насосов, пульт управления насосами и
металлическое укрытие панельного типа. Кроме того, на блоке предусмотрены два
консольно-поворотных крана грузоподъемностью по 5 кН для обслуживания буровых
насосов.
Основание насосного блока состоит из одной нижней рамы, двух
верхних рам и и четырех площадок. Каждая верхняя рама вместе с установленными
на ней буровым насосом и электроприводом представляет собой насосную секцию,
которая может транспортироваться отдельным блоком. Для перевозки блока в
собранном виде на нижней раме основания предусмотрены два съемных кронштейна и
один поворотный кронштейн под тяжеловозы.
Компрессорный блок
Компрессорный блок установки предназначен для получения
сжатого воздуха, осушки, очистки его и накопления в воздухосборниках. Он представляет
собой металлическое основание, выполненное в виде общей рамы с установленным на
ней оборудованием и цельнометаллическим укрытием. На основании блока
монтируются два компрессора КСЭ-5М с индивидуальным электроприводом, пульт
управления и два воздухосборника.
Установка для осушки воздуха УВ-10-МВ2М, входящая в комплект
пневмосистемы буровой, собирается отдельно, вблизи компрессорного блока.
Транспортировка блока в собранном виде предусматривается на
передвижной платформе ПП-40Бр.
Энергетический блок
Энергетический блок установки, предназначенный для
распределения электроэнергии на буровой, выполнен в виде металлического
основания рамной конструкции с установленными на нем понижающим трансформатором
для питания вспомогательных механизмов, вспомогательным распределительным
устройством KPHB-6VI, осуществляющим прием электроэнергии напряжением 6000 В и питание
электроприводов буровой лебедки и насосов, станции управления вспомогательными
механизмами, а также панелей магнитных пускателей и штепсельных разъемов для
подключения кабелей внешних.
Дизель-генераторный блок
Дизель-генераторный блок, предназначенный для аварийного
питания вспомогательных механизмов буровой установки электроэнергией
переменного тока и освещения рабочих мест, представляет собой металлическое
основание с установленным на нем дизель электрическим агрегатом АСДА-200.
2.2
Устройство и монтаж буровой установки БУ-2500ЭУК
Буровая установка БУ-2500ЭУК, как и установка БУ-3000ЭУК,
предназначена для кустового бурения скважин на нефтяных месторождениях Западной
Сибири. В состав бурового оборудования БУ-2500ЭУК, поставляемого Волгоградским
заводом буровой техники (ВЗБТ), входят вышечно-лебедочный блок, оснащенный
механизмом передвижения и выравнивания, насосный блок, а также компрессорный,
энергетический и дизель-генераторный блоки. Циркуляционная система очистки
бурового раствора, укрытия системы и манифольдная линия буровых насосов здесь
тоже поставляются смежными предприятиями и полностью заимствованы у установки
БУ-3000ЭУ.
Техническая характеристика БУ-2500ЭУК
Условная глубина бурения при массе 1 м бурильной колонны 30
кг, м 2300
Нагрузка на крюке, допускаемая в процессе проводки и
крепления скважины, кН 1400
Мощность привода подъемного механизма, кВт .430
Мощность привода буровых насосов, кВт 1260
Тип привода:
Буровой установки
Электрический, переменного тока, напряжением 6000 В
Лебедки и ротора групповой
Буровых насосов индивидуальный
Оснастка талевой системы 4Х5
Диаметр талевого каната, мм 28
Буровой насос НБТ-600 2
Гидравлическая мощность буровых насосов, кВт 950
Наибольшая суммарная подача, м3/с 0,085
Наибольшее давление на выкиде насосов, МПа 25
Тип ротора Р560Ш-8
Вышка ВМ4б18Бр
Максимальная грузоподъемность на крюке при оснастке 4X3 кН 1400
Высота (от стола ротора до низа подкронблочной рамы), м 42,5
Размер нижней базы, м 9
Номинальная длина свечи, м 25
Отметка пола буровой от уровня земли, м 6,3
Масса буровой установки, кг 570100
Вышечно-лебедочный блок
Вышечно-лебедочный блок (рис.4) установки представляет собой
разборное металлическое основание на колесно-рельсовом ходу с расположенным на
нем оборудованием. Основание блока выполнено в виде жесткой платформы,
собранной из двух боковых по одной центральной рамы.
К платформе закрепляются плоские фермы и подпираются до волнительно
регулируемыми по длине стяжками. На верхние пояса ферм устанавливаются две
рамы, которые в совокупности с промежуточными площадками образуют на высоте 6,3
м от уровня земли буровую площадку. На площадке монтируются ротор 2,
трансмиссия ротора 3, вспомогательная лебедка 4, буровой ключ 5,
пульт бурильщика 6 и т.д.
Ниже, на отметках 3,7 и 3,5 м устанавливаются соответственно
лебедочная и приводная секции блока, смонтированные на отдельных рамах. На раме
лебедочной секции располагаются буровая лебедка 7 со вспомогательным тормозом и
электрооборудование, oтносящееся к
этой секции, а на раме приводной секции - электропривод 8 лебедки и
ротора, коробка передач 9 и станция управления 10. Как
лебедочная, так и приводная секции блока могут перевозиться отдельно на
передвижных платформах ПП-40Бр. Для транспортировки блока на тяжеловозах
к основанию крепятся балка 11 с балансирным устройством и съемные
кронштейны VI
В приустьевом пространстве к основанию блока подвешивается
площадка для обслуживания клиньев ротора и устанавливаются ограждения.
Под основанием устанавливаются металлоконструкции и узлы механизма
передвижения и выравнивания блока. Здесь, как и при установке БУ-3000ЭУК,
передвижение блока по направляющим балкам осуществляется с помощью
гидроцилиндров, а выравнивание - домкратами. На время бурения ходовые колеса
механизма разгружаются, и блок устанавливается на направляющие своими
резьбовыми опорами.
Конструкция механизма обеспечивает также безопасное передвижение
блока вместе с комплектом бурильных свечей, установленных на подсвечниках.
На боковые рамы платформы опираются буровая вышка 13,
механизм подъема 14 и консольно-поворотный кран 15 для
обслуживания приемного моста грузоподъемностью 20 кН.
Высота буровой вышки, как и высота вышки ВМР-45Х170 на установке
БУ-3000ЭУК, позволяет работать с удлиненной ведущем трубой и наращивать
бурильный инструмент свечами.
Каркас укрытия 16 блока выполнен разборным и состоит из от
дельных стоек, ферм, связей и ограждений. Все элементы каркас, крепятся между
собой посредством штырей, осей и планок с болтами, а жесткость всей конструкции
обеспечивается с помощью резьбовых регулируемых стяжек.
Обшивка каркаса не входит в комплект буровой установки и
изготовляется на местах из имеющихся материалов.
Со стороны приемного моста в каркасе укрытия предусмотрены ворота.
Створки ворот обшиты металлическим листом и закрываются с помощью задвижки.
Передние стенки каркаса выполнены поворотными и обеспечивают свободное
прохождение буровой вышки в момент ее подъема или опускания. Задняя стенка,
расположенная за пультом бурильщика, обшита металлическими листами с двух
сторон и между листами уложен звукоизолирующий наполнитель. Над пультом
бурильщика устанавливается козырек, защищающий бурильщика от прямых солнечных
лучей и атмосферных, осадков. Положение козырька регулируется.
Для проведения ремонтных работ в приводной части блока к фермам
каркаса закреплен монорельсовый путь, на котором подвешивается ручная таль
грузоподъемностью 10 кН, а для обслуживания электродвигателя главного привода
предусмотрена навесная площадка с дополнительной секцией каркаса укрытия.
Рис.4 Вышечно-лебедочный блок БУ-2500ЭУК
Приемный мост блока состоит из двух горизонтальных трапов 1 и
2 (рис.5), наклонного трапа 3 и девяти стеллажей 4.
Горизонтальный трап 1 представляет собой плоскую сварную
раму, а трап 2 - изогнутую. На трапах уложен настил из листовой рифленой
стали и предусмотрены направляющие для перемещения специальной тележки,
используемой при выбросе инструмента с буровой площадки.
Наклонный трап тоже выполнен в виде плоской рамы с настилом из
листовой стали. Верхний конец его устанавливается в специальные гнезда на
основании блока и закрепляется в них осями. В рабочем положении трап
удерживается подкосами 5, закрепленными в проушинах основания. Желоб трапа
оканчивается вниз съемным желобом 5, который применяется лишь при подъеме труб.
На буровую площадку, и демонтируется при выбросе инструмента, а на
освободившееся место устанавливается предусмотренная для этой цели тележка.
Наклонный трап соединяется с горизонтальным с помощью шарнирных
звеньев 7, позволяющих компенсировать относительное смещение трапов при
проседании приемного моста или блока в целом. Такие звенья раскрепляются при
передвижке блока и соединяются снова на новой скважино-точке.
При передвижении блока в кусте необходимо раскрепить и болтовые
соединения 8, связывающие между собой горизонтальные трапы.
Стеллажи приемного моста выполнены в виде трехгранных ферм и
обшиты металлическим листом. На стеллажах устанавливаются съемные балки 9,
обеспечивающие одинаковый уровень с горизонтальными трапами. При передвижке
блока балки переставляются и закрепляются к стеллажам с помощью стяжек.
Во избежание раскатывания труб на стеллажах предусмотрены скобы
для установки стоек. Стойки заводом не поставляются и изготавливаются на месте
из труб.
Монтаж блока обычно осуществляется в следующей последовательности.
Сначала устанавливают на подготовленной площадке направляющие балки механизма
передвижения и собирают на балках основание блока, закрепляя к нему все
остальные узлы механизма. Затем на основании собирают лебедочную и приводную
секции, устанавливают ротор, привод ротора, вспомогательную лебедку и пульт
бурильщика. Завершив монтаж основного оборудования, приступают к сборке буровой
вышки и механизма подъема, оснащают талевую систему буровой и после подъема
вышки рабочее положение монтируют на блоке неустановленное оборудование,
коммуникации, укрытие и устанавливают приемный мост.
Рис.5 Приемный мост
Буровая вышка ВМ-45 - 185Бр
Вышка ВМ-45-185Б (рис.6) представляет собой А-образную
конструкцию, состоящую из двух четырехгранных ног. Каждая нога вышки собирается
из четырех цельносварных секций У, 2 и 3 длиной по 11 ми секции 4
длиной 11,7 м. Секции заканчиваются фланцами и соединяются между собой на
хомутах 5. Ноги вышки заканчиваются проушинами и устанавливаются в
регулируемые опоры на основании блока.
В секциях левой ноги вышки до уровня платформы встроены маршевые
лестницы с переходными площадками, а от платформы до кронблочной площадки -
лестницы тоннельного типа. Последние встроены и в секциях правой ноги вышки до
площадки для обслуживания стояка нагнетательной линии буровых насосов, а выше -
лестницы-стремянки (на рисунке лестницы не показаны).
В рабочем положении вышка опирается на козлы 12 и 13
механизма подъема, выполняющие роль подкосов, и расчаливается четырьмя
растяжками 14. Козлы шарнирно связаны с основанием блока и устанавливаются
вертикально с помощью крана.
Вышка собирается в горизонтальном положении, как показано на
рис.87. Для обеспечения необходимой устойчивости блока под выступающие части
боковых рам основания устанавливают на время подъема вышки дополнительные
опоры, которые переставляются затем под основание в районе приводной секции.
Подъем вышки
обеспечивается с помощью вспомогательного привода па первой передаче. При входе
штока механизма фиксации вышки в корпус буфера 2 подъем прекращается, и
вышку соединяют с козлами стяжками 3 с помощью пальцев. Пальцы
закрепляют чеками и чеки шплинтуют. В случае несовпадения отверстий стяжек и
проушин 4 последние перемещаются с помощью винтовых тяг 5 и гаек 6
в ту или другую сторону. Схема оснастки механизма подъема вышки представлена
на рис.7.
При демонтаже вышка опускается в горизонтальное положение в
обратной последовательности. Из рабочего положения она выводится винтовыми
тягами.
В случае необходимости допускаются подъем и опускание вышки с
помощью трактора. При этом принципиальная схема оснастки механизма подъема
сохраняется. Разница заключается лишь в том, что ходовой конец талевого каната
не закрепляется на барабане лебедки, а огибает его и выводится на тяговый
трактор. Направление перепуска каната выбирается в зависимости от возможностей
перемещения трактора на площадке.
Центрирование вышки может производиться в двух направлениях. В направлении продольной
оси блока вышка центрируется винтовыми тягами, а в поперечном направлении -
гидравлическими домкратами грузоподъемностью 250 кН. Такие домкраты входят в
комплект буровой установки и устанавливаются при центрировании под специальные
упоры в нижних секциях вышки
Рис.6 Буровая вышка ВМ-45 - 185Бр
Рис.7 Монтаж и подъем вышки
Насосный блок
Насосный блок буровой установки состоит из основания, на котором
смонтированы два буровых насоса 1 (рис.8) с электроприводами 2,
электрокомпрессор 3 высокого давления, предназначенный для заполнения
пневмокомпенсаторов насосов сжатым воздухом, пульт управления 4
насосами, каркас укрытия 5 и коммуникации. Основание блока представляет
собой платформу 6 с установленными на ней рамами 7 и 8, центральной
площадкой 9 и боковыми площадками 10 и 11. Платформа
опирается на опоры 12 и снабжена кронштейнами 13 и 14 под
тяжеловозы. Передний моно ротный кронштейн 13 выполнен съемным.
Рис.8 Насосный блок
Компрессорный блок
В состав компрессорного блока входят установленные на общей раме
две компрессорные станции, пульт управления станциями, два воздухосборника,
фильтр-влагоотделитель и укрытие. Каждая компрессорная станция состоит из
компрессора КТ6 и электродвигателя. Блок может транспортироваться в собранном
виде передвижной платформе ПП-40Бр.
Дизель-генераторный блок
Блок состоит из дизель-генераторного агрегата АСДА-200 мощностью
200 кВт, панелей управления, сливного бака и аккумуляторной батареи,
установленных на общей раме. Кроме того, на блоке монтируется трансформатор
ТС-2,5/0,5 для приводов механизмов, обеспечивающих выполнение геофизических
работ.
Энергетический блок
На раме энергетического блока устанавливают понижающий трансформатор,
высоковольтное распределительное устройство, станция управления
вспомогательными механизмами и панель магнитных пускателей.
3.
Циркуляционные системы ЦС2-3000ЭУК И ЦЗН3-3000ЭУК
3.1
Циркуляционная система ЦС2-3000ЭУК
Циркуляционной системой ЦС2-3000ЭУК комплектуется обычно
специальные буровые установки для кустового бурения.
Техническая характеристика.
Полезный объем резервуаров, м3:
бурового раствора 120
технической воды 40
жидких химических реагентов 18
Количество вертикальных шламовых насосов ВШН-150 1
Количество горизонтальных шламовых насосов 6Ш8-2 4
Количество гидравлических перемешивателей бурового раствора 8
Суммарная мощность электрооборудования, кВт 162,4
Масса оборудования, кг 79000
Рис.9 Циркуляционная система ЦС2-3000ЭУК
В состав циркуляционной системы входят следующие основные
узлы: блок очистки бурового раствора 1 (рис.9) с виброситом ВС-1,
гидроциклонным пескоотделителем ПГ-50, илоотделителем ИГ-50, дегазатором ДВС-Ш
и вертикальным шламовым насосом; четыре резервуара 2 бурового раствора
со встроенными коммуникациями и гидравлическими перемешивателями; две группы
спаренных горизонтальных шламовых насосов 5, емкость 4 технической воды;
резервуар 5 химреагентов; центробежный водяной насос 6 и растворопроводы
7 и 5, связывающие блок очистки с вышечно-лебедочным блоком и резервуарами ЦС
соответственно. Кроме того, в состав системы входят электрооборудование,
запорная арматура и быстросъемные соединения, а по согласованию с заказчиком
дополнительно поставляется блок приготовления раствора из порошкообразного
материала (БПР).
3.2
Циркуляционная система ЦСЗ-ЗОООЭУК
ЦСЗ-ЗОООЭУК является модификацией циркуляционной системы
ЦС2-3000ЭУК. Отличительной особенностью системы является установка блока
очистки на самостоятельный колесно-рельсовый ход и передвижение его в процессе
разбуривания куста скважин вместе с вышечно-лебедочным блоком.
Такая модификация позволяет сократить протяженность
растворопровода от устья скважины до блока очистки и тем самым способствует
обеспечению заданных уклонов растворопровода при разбуривании большого числа
скважин в кусте. Кроме того, за счет перемещения блока очистки практически
исключается скопление вблизи него выбуренной породы, что, в свою очередь,
снижает трудоемкость работ, связанных с демонтажем блока и высвобождением
металлоконструкций основания от шлама.
Вместе с тем для ускорения монтажа и повышения
транспортабельности циркуляционной системы в качестве основания и укрытия
резервуаров можно использовать типовые конструкции насосного блока буровой
установки БУ-3000ЭУК.
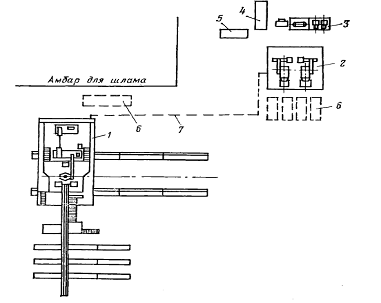
На рис.10 приведена схема взаимного расположения на площадке
блока 1 очистки бурового раствора, вышечно-лебедочного блока 2 и
шламового амбара. Блок очистки для установки его на направляющих 3 развернут
здесь относительно вышечно-лебедочного блока на 90° и вибросито смонтировано в
торцевой части.
Передвижное основание блока очистки выполнено в виде сварной
рамы 4 с шарнирно закрепленными к ней и установленными на рельсы
направляющих четырьмя тележками 5. Направляющие собираются из четырех
металлических опор длиной по 12,5 м и располагаются в два ряда. Расстояние
между рядами фиксируется винтовыми стяжками 6. Блок очистки системы
передвигается в кусте одновременно с вышечно-лебедочным блоком буровой
установки с помощью тракторной тяги.
Рис.10. Схема монтажа блока очистки циркуляционной системы
ЦСЗ-ЗОООЭУК
4. Новые
модификации буровых установок для кустового строительства скважин
4.1 Эшелонная
установка бурового оборудования
Эшелонное расположение бурового оборудования при кустовом
строительстве скважин предусматривает совместную компоновку
вышечно-лебедочного, насосного и резервуарного блоков на направляющих и
передвижение в кусте всего комплекса оборудования, участвующего в бурении.
В Западной Сибири с эшелонным расположением блоков
монтировались буровые установки БУ75БрЭ-70 и БУ-3000ЭУК. Однако в принципе в
таком исполнении может быть смонтирована любая буровая установка, непременным
условием при этом является монтаж оборудования на крупных блоках.
На рис.11 представлена буровая установка БУ-3000ЭУК с
эшелонным расположением оборудования. Как видно из рисунка, на направляющие
установлены вышечно-лебедочный блок, насосный блок и блок резервуаров. Кроме
оборудования, входящего в комплект поставки буровой установки БУ-3000ЭУК, при
переводе на эшелонную компоновку используются конструкции серийного основания и
укрытия насосного блока для размещения; резервуаров циркуляционной системы, две
направляющие балки и восемь ходовых колес с опорами. Дополнительно
изготовляются кронштейн под вибросита для установки их на вышечно-лебедочном
блоке и две пары колесных балок, необходимых для перевода насосного блока и
блока резервуаров буровой установки на новую компоновку.
Кронштейн вышечно-лебедочного блока представляет собой
пространственную ферму, изготовленную из труб с площадками для обслуживания
вибросит и перильными ограждениями.
Колесные балки изготавливаются из проката. На концах каждой
балки устанавливается по одному ходовому колесу. Для закрепления колес к балке
используются болтовые соединения.
Первичный монтаж буровой установки БУ-3000ЭУК с эшелонным
расположением оборудования для ускорения строительства буровой рекомендуется
вести одновременно на двух объектах. Первый из них - вышечно-лебедочный блок
монтируется непосредственно на скважино-точке, второй - на некотором удалении,
достаточном для свободного проезда техники между объектами. Это позволяет лучше
организовать работу отдельных звеньев вышкомонтажной бригады, а также
обеспечить условия для соблюдения необходимых требований техники безопасности.
Расчленение буровой на два объекта лучше всего производить
следующим образом. Сначала полностью монтируются направляющие. Затем одна или
две пары направляющих балок в середине путепровода демонтируются, в результате
чего образуется два участка, на одном из которых можно производить сборку
вышечно-лебедочного блока, на другом - насосного и резервуарного. После
окончания монтажа всех блоков направляющие вновь устанавливаются на свои места,
и насосно-циркуляционная группа оборудования передвигается на колесно-рельсовом
ходу с помощью тракторной тяги и состыковывается с вышечным блоком.
Рис.11 Общий вид буровой установки БУ-30ООЭУК с эшелонным
расположением оборудования: 1 - вышечно-лебедочный блок; 2
- компрессорная станция; 3 - воздухоосушка; 4 - ресивер; 5 -
основание блока резервуаров; 6 - гидромешалка; 7 -
основание насосного блока; 8 - вибросито; 9 -
кронштейн; 10 - растворопровод; 11 - шламовый насос; 12
- гидроциклон; 13 - илоотделитель; 14 - дозировочная
емкость; 15 - переходная площадка; 16 - балка
грузоподъемного механизма; 17 - укрытие; 18 - резервуар;
19 - буровой насос; 20 - электропривод насоса; 21
- направляющая
4.2 Буровая
установка БУ-3000ЭУК-1
Используя опыт кустового бурения скважин на предприятиях
Главтюменнефтегаза и опыт эксплуатации буровых установок БУ-ЗОООЭУК, в Г10
"Уралмаш" разработана и освоена производином установка БУ-3000ЭУК-1 с
эшелонным расположением блоков.
При разработке новой буровой установки в целях унификации
максимально использованы серийно изготовляемые узлы и оборудование с установки
БУ-3000ЭУК. Исключение составили блок резервуаров, блок компрессоров и
электрооборудования, а также общая компоновка оборудования.
Вместе с тем переработаны с использованием серийных узлов и
деталей механизм перемещения и выравнивания, основание и укрытие насосного
блока, воздухопровод и разводка электрокабелей.
Техническая характеристика буровой установки БУ-3000ЭУК-1 и
состав основного оборудования в целом соответствуют характеристике и составу
оборудования базовой установки БУ-3000ЭУК. При этом в состав основного
оборудования установки БУ-3000ЭУК-1 вошли дополнительно: основание и укрытие
блока резервуаров, основания блока компрессоров и электрооборудования,
направляющие балки путепровода и колеса.
В состав комплектующего оборудования новой установки вошли
также циркуляционная система ЦСЗ-ЗОООЭУК и манифольд нагнетательный для
кустового бурения в блочном исполнении.
Основное оборудование буровой установки БУ-3000ЭУК-1
размещено на вышечно-лебедочном, насосном и резервуарном блоках, а также на
блоке компрессоров и электрооборудования (рис.12).
Для совместного передвижения в кусте бурового комплекса
насосный блок, блок резервуаров и компрессорный блок установки снабжены
ходовыми колесами и перемещаются в процессе разбуривания куста скважин вместе с
вышечно-лебедочным блоком по направляющим балкам. Количество балок здесь
увеличено с четырех пар до семи, а общая длина путепровода достигает 63 м.
Вышечно-лебедочный блок буровой установки
БУ-3000ЭУК-1, со всем расположенным на нем оборудованием, полностью
соответствует блоку буровой установки БУ-3000ЭУК.
На насосном блоке, так же как и на базовой
установке, расположены два буровых насоса с электроприводами, шкафы и пульты
управления насосами.
Конструкция основания блока аналогична конструкции основания
блока резервуаров и отличается от последнего только общими габаритами, а также
длиной и высотой верхних рам.
Конструкция укрытия также аналогична укрытию блока
резервуаров. При этом в укрытии насосного блока исключены дефлекторы и окна в
панелях стен.
На блоке компрессоров и электрооборудования размещены
распределительное устройство, установка для осушки воздуха и компрессорный
блок. Последний полностью заимствован с буровой установки БУ-3000ЭУК.
Основание блока состоит из двух нижних (продольных) и двух
верхних рам, соединенных между собой болтами. К нижним рамам закрепляются
ходовые колеса блока, а к верхним - кронштейны под тяжеловозы. Конструкция
основания, как и оснований насосного блока и блока резервуаров установки,
предусматривает возможность разделения всей сборки на две транспортные единицы
для перевозки их на платформах ПП-40Бр.
Энергоблок, включающий дизель-электрическую станцию,
основание и укрытие, полностью заимствован с установки БУ-3000ЭУК и размещается
на площадке стационарно. Для разбуривания куста скважин он комплектуется необходимым
запасом кабеля. В случае необходимости блок можно передвигать в пределах куста
волоком.
Рис.12 Общий вид буровой установки БУ3000ЭУК-1: 1
- вышечно-лебедочный блок; 2 - блок резервуаров; 3
- насосный блок; 4 - блок компрессоров и электрооборудования;
5 - блок очистки ЦСЗ-ЗОООЭУК; 6 - энергоблок.
. Ремонт специальных буровых установок для кустового
строительства скважин
На время ведения прострелочных работ (перфорации
эксплуатационных колонн, ремонтных работ и т.д.) вокруг скважины
устанавливается опасная зона радиусом не менее 10 м. Прострелочные работы
должны проводиться с соблюдением требований безопасности.
Освоение скважин на кусте независимо от способа их
последующей эксплуатации должно производиться в соответствии с планом работ,
утвержденным техническим руководителем предприятия и согласованным с
заказчиком. Подготовка к работам по освоению скважин и сам процесс освоения
должны соответствовать установленным требованиям безопасности.
При освоении скважин с использованием инертных газов с
помощью передвижного компрессора, последний должен устанавливаться на
расстоянии не менее 25 м от устья скважины.
Устья скважин на кусте должны быть оборудованы (в зависимости
от способа эксплуатации) однотипной арматурой, а их колонные фланцы должны быть
расположены на одном уровне от поверхности кустовой площадки.
Необходимость и порядок установки на высокодебитных
скважинах, а также на скважинах с высоким газовым фактором клапанов-отсекателей
и дистанционно управляемых устьевых задвижек определяются проектом исходя из
условия обеспечения безопасности работ.
С вводом в эксплуатацию первой скважины на кусте должен быть
установлен порядок контроля загазованности воздушной среды всей территории
кустовой площадки. Разработка графика, определение места отбора проб и порядок
контроля осуществляются представителем пользователя недр (заказчиком).
Реализация этого контроля возлагается на ответственного руководителя работ на
кустовой площадке.
После завершения работ по бурению и освоению скважин кустовая
площадка должна быть освобождена от бурового оборудования, не использованных
при строительстве материалов, инструментов, отходов бурения и т.п. После сдачи
заказчику кустовой площадки или ее части по акту подрядчик не несет никакой
ответственности за инциденты и происшествия на этой территории. Прием в эксплуатацию
каждого опасного производственного объекта на кустовой площадке производится в
установленном порядке.
. В пределах запретных (опасных) зон у эксплуатирующихся
скважин не допускается присутствие лиц и транспортных средств, не связанных с
непосредственным выполнением работ.
Работы по ремонту скважин должны проводиться
специализированной бригадой по плану, утвержденному техническим руководителем
предприятия. План работ должен включать необходимые мероприятия по промышленной
безопасности и охране окружающей среды.
Ремонт скважин без остановки соседних скважин допускается при
условии разработки и реализации специальных мероприятий, исключающих
возможность опасного воздействия на работающие скважины. Указанные мероприятия
должны быть предусмотрены в плане работ. При дополнительном вскрытии
продуктивных отложений соседние скважины должны быть остановлены и при
необходимости заглушены.
Допускается одновременная работа двух специализированных
бригад по ремонту или освоению скважин на одной кустовой площадке. Инструкция
по безопасности ведения таких работ разрабатывается предприятием и
согласовывается с соответствующим территориальным органом Госгортехнадзора
России.
При ремонте скважины на газлифтных кустах перед расстановкой
оборудования нагнетание газа в ремонтируемую скважину, а также в соседние
скважины слева и справа на период расстановки оборудования прекращается.
Установка специальной техники на трассах газопроводов газлифта запрещается.
Демонтаж буровой установки с кустовой площадки,
транспортирование ее блоков и узлов производятся при остановке скважин,
находящихся в опасной зоне.
Заключение
Кустовое бурение находит широкое применение в нефтедобывающей
промышленности. Особенно важен этот метод в Западной Сибири, где месторождения
расположены в болотистой зоне и тундре.
Отечественный и зарубежный опыт показал, что бурение скважин
кустами дает возможность значительно сократить строительно-монтажные работы,
уменьшить объем строительства дорог, водопроводов, линий электропередач и связи
и т.д., упростить обслуживание эксплуатируемых скважин и сократить объемы
перевозок. В настоящее время кусты скважин становятся крупными промышленными
центрами с базами материально-технического снабжения, вспомогательными цехами и
т.д. В целом кустовой способ бурения сокращает затраты на обустройство
промысла, упрощает автоматизацию процессов добычи и обслуживания, а также
способствует охране окружающей среды при освоении нефтяных и газовых
месторождений. В этом случае можно полнее осуществлять сбор всех продуктов
отхода бурения и уменьшать вероятность понижения уровня грунтовых вод на
огромных территориях, которое может возникнуть вследствие нарушения целостности
водоносных горизонтов.
Кустовое бурение, несмотря на преимущества, имеет и свои
недостатки. У каждой скважина должно быть определенное расстояние от соседней.
Это достигается строгим соблюдением зенитного и азимутального углов. Для этого
применяют забойное ориентирование, основанное на применении электронной
техники.
Литература
1.
Воевода А.Н., Карапетян К.В., Монтаж оборудования при кустовом бурении скважин
- М.: Недра, 1989.
.
Бронзов А.С., Кустовое строительство скважин на нефтяных и газовых промыслах,
М., 1962.
.
Калинин A.Г., Искривление скважин, M., 1974.
.
Разработка нефтяных месторождений наклонно-направленными скважинами, Под
редакцией P. C. Пермякова, M., 1986.
.
Колчерин В.Г., Султанов Б.З., Шварев А.А., Крист М.О. "Сооружение и
оборудование для кустового бурения скважин: Справочное пособие". - М.:
Недра, 1992. - 231 с.