|
Наименование
пород
|
Удельная
нагрузка на 1 см диаметра долота, суд кН/см
|
Окружная
скорость, v м/с
|
Удельн.
расход промывочной жидкости на 1 см диаметра долота q
[л/мин] / см
|
|
Наносы
|
М
|
2,0
|
1,3
|
32
|
|
Песчаник
глинистый
|
М
|
1,5
|
1,2
|
32
|
|
Алевролит
|
М
|
2,0
|
1,4
|
13,2
|
|
Уголь
слабый
|
С
|
1,8
|
1,1
|
13
|
|
Алевролит
|
М
|
2,0
|
1,4
|
13,2
|
|
Песчаники
абразивные
|
ТК
|
2,1
|
1,0
|
15,3
|
|
Алевролит
плотный
|
ТК
|
2,4
|
0,8
|
12,7
|
|
Уголь
|
ТК
|
2,7
|
0,7
|
12,0
|
|
Алевролиты
трещиноватые слабоустойчивые, обводненные
|
М
|
1,5
|
1,4
|
12,2
|
|
Песчаник
плотный
|
М
|
1,5
|
1,2
|
32
|
Расчет и выбор осевой нагрузки на забой

,
где 
- удельная нагрузка на 1 см
диаметра долота кН/см, 
- диаметр долота см.
Расчет и выбор частоты вращения
породоразрушающего инструмента
Округление полученных значений
производим согласно техническим характеристикам буровой установки в ближайшую
сторону. Так как используем буровую установку 2БА15Н, то округление производим
до (65, 130, 245) об/мин.

где 
- окружная скорость, м/с,

- диаметр долота
Обоснование и выбор типа промывочной
жидкости, определение количества промывочной жидкости, подаваемой на забой
Т.к. поблизости нет глин, то в
качестве промывочной жидкости используем техническую воду.

,
где 
- удельный расход промывочной
жидкости на 1 см диаметра долота, 
- диаметр долота.
.8 Обоснование и выбор способа
цементирования эксплуатационной колонны
Цементирование проводят для изоляции
водоносных пластов, вскрытых при бурении скважин, удержания обсадной колонны в
подвешенном состоянии, защиты обсадной колонны от коррозии, ликвидации
поглощений промывочной жидкости.
Используем одноступенчатое
цементирование с двумя разделительными пробками от башмака до устья, чтобы не
засорить подземные воды.
При этом способе цементирования, на
обсадную колонну навинчивают цементировочную головку, которая представляет
собой отрезок трубы, в котором монтируются цементировочные пробки; через 2 - 3
штуцера, установленных в этой головке, возможна закачка промывочной жидкости и
цемента выше цементировочных пробок или ниже их.
Цементирование возможно осуществлять
в 1 или 2 разделительными пробками. Разделительные пробки исключают смешивание
цементного раствора с продавочной жидкостью. Смешивание цементного раствора с
продавочной жидкостью тем больше, чем больше диаметр скважины.
При бурении скважин на воду
рекомендуется проводить цементирование с 2-мя разделительными пробками (рис.2).
Такое цементирование проводится следующим образом: скважину тщательно промывают
до полного удаления шлама. Затем в обсадную колонну вставляют нижнюю
разделительную пробку (рис. а) Пробка продавливается к башмаку колонны при
нагнетании цементного раствора насосом цементировочного агрегата или буровой
установки. После закачки расчетного количества цементного раствора, опускается
нижняя разделительная пробка (рис. б). На верхнюю разделительную пробку
закачивают продавочную жидкость.
Нижняя пробка останавливается на упорном кольце
выше башмака обсадной колонны (рис. в). Поскольку закачка жидкости в колонну
продолжается, то давление над пробкой возрастает. Под влиянием этого давления
диафрагма нижней пробки разрушается, и цементный раствор поступает в затрубное
пространство.
В процессе цементирования давление в колонне
меняется. Поскольку удельный вес цементного раствора выше удельного веса
промывочной жидкости, то по мере заполнения цементным раствором колонны,
давление в насосах уменьшается. Когда цементный раствор начинает выходить в
кольцевое пространство и подниматься к устью, давление в насосах и
цементировочной головке вновь возрастает. При посадке верхней пробки на нижнюю,
происходит скачок давления (гидравлический удар), что служит сигналом для
прекращения закачки продавочной жидкости в осадную колонну (рис. г). Разделительные
пробки изготавливают из легкоразбуриваемых материалов (дерево, резина,
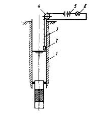
пластмасса) (рис.3) [1].
Рис. 2. Схема цементирования
скважины с двумя пробками (по стадиям)
Рис. 3. Разделительные пробки
.9 Расчет цементирования эксплуатационной
колонны и выбор оборудования для цементирования
Необходимый объем цементного раствора:
Где 
- высота подъема цементного
раствора в затрубном пространстве (глубина посадки направляющей колонны)

- высота столба жидкости внутри
труб (5м)

- глубина скважины (глубина кровли
водоносного горизонта)
К - коэффициент разработки скважины
(К=1,2-1,4)
Количество сухого цемента:

= 3,05 т/м3 - удельный
вес сухого цемента

= 1,0 т/м3 - удельный
вес воды
m =В/Ц -
водоцементное отношение количества воды к количеству сухого цемента по массе.
Общее количество сухого цемента

= 1,1 - 1,5 - коэффициент,
учитывающий потери цемента при приготовлении цемента
Количество воды для приготовления 
:
Количество промывочной жидкости:

- коэффициент, учитывающий сжатие
жидкости. Для воды
= 1

= 1,03-1,05 - коэффициент,
учитывающий возможное отклонение внутреннего диаметра обсадных труб.
Необходимая суммарная
производительность насоса при продавливании цементного раствора:
U - скорость
восходящего потока в затрубном пространстве
U = 15-20
дм/с
Максимальное давление насоса при
закачивании цементного раствора в затрубное пространство:

- суммарные потери напора на
преодоление гидравлических сопротивлений в обсадной колонне, затрубном
пространстве и т. д.
По формуле Шацова Н. И.:

, при U=1,5-2,0 м/с

- давление насоса, необходимое для
уравновешивания столба жидкости в обсадных трубах и затрубном пространстве.

- удельный вес цементного раствора
Выбираем цементировочный агрегат и
режим его работы:
Агрегат ЦА-320М.
По расчету 
кгс/см2 можно принять IVскорость и в
соответствии с производительностью (qц.а.) диаметр
втулки d=127 мм. При
этом получим 
кгс/см2 и qц.а.=14,5 л/с.
Необходимое количество
цементировочных агрегатов:
Время цементирования:

- время на закачивание бурового
раствора

- время на продавливание цементного
раствора в затрубное пространство

=10 - 20 минут - резерв времени

- время начала схватывания
цементного раствора для «холодных» скважин (до 40 Со) - 2 часа
мин 11 сек
1ч 30 мин.
Однако рекомендуется проводить
цементирование с переменной скоростью закачивания и продавливания цементного
раствора. Закачивание цементного раствора рекомендуется начинать с малой
скоростью и увеличивать к концу. Продавливание начинают наоборот - с больших
скоростей, уменьшая их к концу. Для этого рекомендуется объем цементного
раствора и объем промывочной жидкости условно разделить на 2 - 4 части и,
изменяя скорость цементировочного агрегата или количество цементировочных
агрегатов, или и то и другое вместе, определить время.
Так как Т
40
применяется цемент для «холодной»
скважины

- средняя годовая температура
данной местности (+5 Со)
Н - глубина забоя, м

- геотермический градиент, 
.10 Технология вскрытия и освоения
водоносного пласта
Вскрытие водоносного горизонта является наиболее
ответственной технологической операцией, от правильности реализации которой
зависят достоверность полученной гидрогеологической информации и дебит
скважины. На эффективность вскрытия водоносного горизонт влияют
· способ проходки продуктивного
пласта,
· режим бурения,
· способ и вид промывочной среды.
· На выбор способа вскрытия водоносных
горизонтов влияют гидрогеологические характеристики пласта:
· гранулометрический состав,
проницаемость и устойчивость пород;
· интенсивность водопроявлений;
· глубина залегания;
· проектный дебит.
Способ вскрытия должен оказывать минимальное
кольматирующее влияние на водоносный пласт, т.е. сохранять его естественную
проницаемость. В то же время технология вскрытия должна позволять оборудовать
водоприемную часть скважины. В неустойчивых и слабоустойчивых породах это
требование заключается в предотвращении их обрушения в период монтажа фильтра.
К вскрытию водоносного горизонта приступают
после завершения всех работ, связанны вооружением скважины до кровли
водоносного горизонта. После крепления этого интервала колонной обсадных труб,
цементирования затрубного пространства (если в этом есть необходимость),
разбуривайте цементной пробки и тщательной промывки скважины, с целью удалении
продуктов цементирования и ранее применяемого промывочного раствора, приступают
к бурению водоносного горизонта
Определяющим фактором при вскрытии водоносного
горизонта является промывка. При бурении вращательным способом с промывкой
раствором с вяжущими свойствами возможна кольматация пласта (закупорка). Это
вызывает снижение дебета скважины и требует дополнительных работ по удалению
продуктов кольматация из пор и трещин водоносного горизонта. Кольматация может
происходить за счет: проникновения в пласт вместе с водой тонких твердых
частиц, которые могут адсорбироваться породой продуктивного пласта или
механически ею удерживаться, путем образования глинистой корки на стенках
скважины в зоне водоносного горизонта или за счет проникновения фильтрата
раствора в пласт.
При вскрытии водоносных горизонтов,
представленных мелко- и средне-зернистыми песками с коэффициентом фильтрации до
20 м/сутки и при глубине уровня воды от устья скважины до 3 м применяется
техническая вода. Крупнозернистые грубообломочные породы вскрываются с
промывкой водным раствором гипана (3-5%). Плотность такого раствора составляет
1020-1060 кг/м , а условная вязкость до 70 с.
Разнозернистые пески вскрываются с промывкой
стабильным глинистым раствором, получаемым из высококачественных бентонитовых
глин (4-6%), с добавкой реагента стабилизатора, например КМЦ (1-2%) и др.
Параметры таких растворов следующие: плотность до 1150 кг/м3, условная вязкость
от 35 до 50 су водоотдача 6.. .7 см3 за 30 мин.
Применяемые химические реагенты не должны
взаимодействовать с пластовыми водами, а в случае их взаимодействия -
загрязнять и закупоривать поры и трещины пород продуктивных горизонтов. Следует
избегать применения щелочных препаратов, способствующих гидратации и
диспергированию частичек глин и тем самым снижающих проницаемость продуктивного
горизонта.
Для мелко- и разнозернистых песков с включением
гравия рекомендуются меловые растворы: мел (5...30%); УЩР (8...10%), КМЦ
(0,6...0,3%). Характеристика растворов: плотность 1060. ..1200 кг/м3; условная
вязкость от 30 до 75 с; водоотдача до 2³
см за 30 мин. Достоинством их считается простота устранения кольматации при
кислотной обработке.
Для вскрытия слабонапорных тонко- и
среднезернистых песков применяются самораспадающиеся растворы, например
крахмальные, содержащие модифицированный крахмал в количестве 4...5% по массе.
Характеристика растворов: плотность 1010.. .1020 кг/м3; вязкость по СПВ ~ 18 от
5 до 20с; водоотдача до 12 см3 за 30 мин. Крахмальный раствор разрушается за
3...4 суток.
В случае вскрытия напорного водоносного
горизонта, сложенного тонко-среднезернистыми песками, и при наличие в кровле
устойчивых пород применяют бесфильтровый способ сооружения водосбора. При этом
эксплуатационная колонна устанавливается на 0,3...0,5 м ниже кровли и
цементируется в интервале до 10м выше башмака. С помощью эрлифтной откачки
формируется полость в продуктивном пласте, которая затем может быть заполнена
щебнем или галькой.
При вскрытии трещиноватых пород применяются
аэрированные растворы и пены. Используемые для этой цели ПАВ должны быть
биологически нестойкими и не вызывать загрязнения продуктивного горизонта при
последующем эффективном его освоении.
Освоение скважин на воду - заключительный этап
их сооружения, заключающийся в восстановлении водоотдачи пласта, нарушенной при
вскрытии. Кольматация происходит за счет частичной закупорки трещин и пор
водоносного горизонта продуктами разрушения горных пород и главным образом за
счет глинизации стенок скважины. Степень уменьшения проницаемости пласта
зависит от применяемого способа вскрытия. Если при ударном и вращательном
бурении с промывкой водой или продувкой кольматация минимальна, то при вскрытии
с промывкой глинистым раствором она резко повышается. Глинизация ствола,
проникновение фильтрата бурового раствора на значительное расстояние вызывают
заиливание фильтрационных каналов и вследствие этого снижение дебита.
Уменьшению последнего способствует также замазывание фильтра глиной при его
спуске. Применяемые методы восстановления водоотдачи основаны на физическом,
химическом или физико-механическом воздействии.
Самый простой способ освоения - откачка насосом,
желонирование.
Желонирование - это способ тартания воды из
скважины желонкой. Желонку спускают до отстойника фильтра. В интервале рабочей
части фильтра рекомендуется поднимать желонку равномерно без рывков.
Тартание прекращается, когда в скважине
стабилизируется уровень воды и откачка желонкой не дает ощутимого понижения.
Для тартания необходимо применять желонку с тарельчатым клапаном, который
соединяется со специальной пикой, обеспечивающей разгрузку желонки на
поверхности без опрокидывания.
После тартания желонкой приступают к откачке воды
их скважины насосом. Откачку начинаю с минимального понижения уровня воды с
постепенным наращиванием подачи во избежании закупорки фильтрующей поверхности
фильтра мелким песком [1]
бурение скважина водоносный
3. Производство и организация работ
.1 Подготовка к бурению, перемещение, монтаж и
демонтаж оборудования
Сооружение скважин на воду осуществляется по
утвержденным проектам. Выполнение предписаний геолого-технического наряда (ГТН)
является обязательным для буровой бригады. Любые отклонения от проекта должны
отражаться в ГТН и утверждаться главным инженером буровой организации.
Сооружение скважины может вестись круглосуточно или в две смены.
Буровое оборудование размещают по типовым схемам
в зависимости от марки применяемой установки. Точку заложения скважины
определяют по координатам, указанным в проекте, и она подтверждается актом на
заложение скважины. Расстояние от буровой установки до жилых и производственных
помещений и дорог должно быть не менее полуторной высоты ее мачты. В стесненных
условиях (территория населенных пунктов, предприятий и т.д.) допускается
размещать установку на меньшем расстоянии, но при этом проводят дополнительные
мероприятия по безопасному ведению работ (установка дополнительных растяжных
канатов, ограждений, сигнального освещения и т.д.).
Перед монтажом буровой установки размечают
площадку под оборудование, инструмент и материалы. Вокруг буровой установки в
радиусе 50 м должна быть выкошена трава, а территория очищена от пожароопасных
материалов.
При размещении установки на территории
предприятий или населенных пунктов рабочая площадка должна быть ограждена и
должен быть обеспечен свободный доступ транспортных и погрузочных средств к
местам размещения инструментов и материалов. Земляные работы выполняют, как
правило, механизированным способом (шурфобуром, экскаватором и т.д.). Объем
котлованов для промывочной жидкости должен быть не менее полуторного объема
скважины.
Пред монтажом буровой установки в точке
заложения скважины для укрепления ее устья, для обеспечил вертикальности,
устанавливают шахтовое направление Дни установки направляющей трубы роют шурф
размером 0,5 х 0,5 м или 1х1 м и глубиной от 1,5 до 5 м(в зависимости от
диаметра и длины трубы). Диаметр направляющей трубы принимают согласно
конструкции скважины
Направляющую трубу после установки в шурф
выверяют на вертикальность при помощи отвеса, забучивают на всю глубину шурфа
битым камнем или кирпичом и заливают цементным раствором. Для того чтобы
цементный раствор при заливке бута не проходил внутрь направляющей трубы, в нее
перед заливкой раствора набрасывают и утрамбовывают глину.
При неустойчивых породах, в которых рытье шурфа
затруднительно, под направление на глубину 4 - б м бурят ротором с малой
промывкой я после спуска направляющей трубы кольцевое пространство заливают
цементным раствором до устья.
К бурению скважины можно приступать после
затвердения цемента в затрубном пространстве, во не ранее, чем через 12 Ч после
заливки
Верхний конец направляющей труби должен доходить
до желоба, по которому глинистый раствор, вытекающий из скважины при бурении,
направляется в циркуляционную систему.
После установки шахтного направления приступают
к монтажу буровой установки. Буровую установку располагают так, чтобы рама
установки и ротор были совершенно горизонтальными и центр ротора совпадал с
центрам устья направляющей трубы. Положение поднятой мачты относительно центра
ротора проверяют подвешенной квадратной штангой. Отклонение квадратной штанги
от центра ротора не должно превышать 15 мм.
Одновременно с установкой направления и бурового
агрегата роют приемный амбар, одни иди несколько отстойников для глинистого
раствора и устанавливают циркуляционные желоба.
.2 Бурение, спуско-подъемные операции,
регулирование параметров режима бурения
Все инструменты для подъема (крюки и элеваторы)
должны иметь исправные замки и защелки.
Запрещается использовать стропы не заводского
изготовления и не прошедшие соответствующих испытаний, обязательных для
грузоподъемного оборудования.
Запрещается поднимать бурильные и обсадные трубы
из горизонтального положения в вертикальное со скоростью, превышающую вторую
скорость лебедки на прямом канате.
Для ограничения предельной высоты подъема
элеватора (талевого блока) и предупреждения затягивания его в кронблок, на
подъемном канате должна быть нанесет ясно видимая метка.
Запрещается применять ролики блоков с ребордами,
имеющими выбоины.
Запрещается оставлять на полатях вышки (мачты)
инструмент и другие предметы.
При бурении самоходными буровыми роторными
установками необходимо: а) не допускать присутствия людей у ротора во время
вращения инструмента; б) следить за надежностью крепления клиньев ротора; в)
держать руками стропы не ближе 40 см от элеватора при их надевании.
Спуск и подъем обсадных труб производится под
руководством старшего бурового мастера.
Перед спуском или подъемом колонны обсадных труб
старший буровой мастер обязан лично проверить исправность вышка (мачты),
бурового агрегата и другого оборудования и инструмента, контрольно -
измерительных приборов и состояние Фундаментов. Обнаруженные неисправности
должны быть устранены до начала спуска или подъема.
Секции колонны обсадных труб при их подъеме с
мостков должны свободно проходить в буровую вышку. Подъем н спуск труб следует
производить элеваторами, имеющимися в проушинах При подъеме трубы с приемного
моста необходимо следить за тем, чтобы элеватор на трубе был обращен замком
вверх н закрыл
В процессе спуска и подъема обсадных труб
запрещается: а) допускать раскачивания секции колонны обсадных труб; б)
удерживать трубы от раскачивания непосредственно руками; для этого следует
использовать мягкий стальной или пеньковый канат.
Перед вращением прихваченной колонны труб
вручную (ключами и другими инструментами) необходимо выбрать слабину подъемного
каната, а при вращении труб -принять меры для предотвращения произвольного
опускания [3].
Регулирование параметров режимов бурения
производится с помощью индикатора веса. Подача приводится с лебедки,
регулируется так, чтобы индикатор веса показывав то давление, которое
необходимо по расчётам.
.3 Методика проведения опытных откачек и выбор
технических средств для замера уровня и дебита
Опробование скважины состоит из прокачки,
пробной и опытной откачек.
Прокачки скважины нужны для очистки ствола от
шлама и глинистого раствора. В процессе прокачки замеряют расходы и уровни
воды, и количество выносимого песка. Прокачку осуществляют в течение нескольких
часов желонкой, эрлифтом или насосами.
Пробную откачку производят в условиях слабой
гидрогеологической изученности участка строительства скважин, чтобы определить
количество воды, ориентировочный дебит и соответствующее ему понижение воды.
Эта откачка осуществляется в течение 1 - 3 смен с одним максимально возможным
понижением уровня.
Опытная откачка - один из основных видов работ,
по результатам которых оценивают возможность отбора из скважин необходимого
количества воды и ее качество.
По результатам опытных откачек определяют:
· Производительность скважины и
зависимость дебита от динамического уровня воды.
· Устойчивость дебита или понижение
уровня во времени или зависимость из изменения от времени и режима
эксплуатации.
· Исходные данные для определения
коэффициента фильтрации, радиуса влияния и коэффициента пьезопроводности
· Качество воды
· Связь водоносного горизонта,
намечаемого к эксплуатации, с поверхностными водами или другими смежными
горизонтами.
· Влияние отбора из скважины на другие
близко расположенные водозаборные сооружения и возможную степень взаимодействия
между скважинами.
При бурении и откачках в скважинах отбирают пробы,
измеряют уровень, температуру и дебит воды. Пробы воды отбирают
пробоотборниками, использование которых дает возможность установить химический
и газовый состав воды в любой точке скважины.
Пробоотборник ГГП (рис. 3) представляет собой
поддон 4 с кольцевым уплотнением 5, имеющий осевой канал, перекрываемый краном
6. Поддон опускается в скважину на мерном тросике 1 на требуемую глубину. Затем
с поверхности последовательно сбрасывают корпус 3 и пробку 2, изолирующие воду
в приборе от боковой поверхности и верхнего торца. Пробоотборник поднимают на
поверхность, поворотом крана вода из прибора сливается, образуя пробу.
Рис. 4. Глубинный пробоотборник ГГП
Для отбора проб воды и растворенного в ней газа
используют бесклапанные поршневые пробоотборники ППБ, двух клапанные
герметичные пробоотборники ПГ и др. Объем отбираемой пробы составляет 2,5-3 л.
Уровень воды в скважине изменяют хлопушками, световыми датчиками,
электроуровнемерами. Хлопушка представляет собой корпус с торцовой полостью и
ушком, опускаемым в скважину на мерном шнуре. При контакте торца прибора с
водой раздается характерный хлопок. Световой датчик имеет корпус, внутри
которого размещены лампочка и батарейка, снизу контактирующая с легким полым
шариком. В момент достижения датчиком уровня воды шарик всплывает, перемещая
батарейку вверх и замыкая ее контакты с лампочкой. Длина мерного шнура в момент
появления света укажет уровень воды.
Электроуровнемер (рис.4) представляет собой
контактный стержень 2, опускаемый в скважину с помощью гидрогеологической
рулетки 4 на одножильном кабеле 3 с мерными метками. В электрическую цепь
входят также батарейка 5, лампочка 6 и второй токопровод, соединенный с
обсадной колонной 1. При контакте стержня с водой электрическая цепь
замыкается. В результате загорается лампочка, а длина кабеля в этот момент
показывает положение уровня воды.
Рис.5. Схема работы электроуровнемера
Уровнемеры марок УЭ и ПУ имеют диапазон
измерений от 0-50 до 0-500 м при допустимой погрешности от ± 0,2 до ± 0,3 см.
Описанные уровнемеры относятся к приборам дискретного действия. Непрерывное
измерение уровня воды осуществляется пневматическими, мембранными,
поплавковыми, звукометрическими, пружинно-поршневыми уровнемерами.
Заслуживает внимания уровнемер УГ-2М,
разработанный в Свердловском горном институте совместно с трестом
"Востокбурвод" и используемый для регистрации режима откачки по
изменению динамического уровня воды. В комплект уровнемера входят скважинный
снаряд, наземный каротажный регистратор для непрерывной записи изменения уровня
и лебедка с двухжильным каротажным кабелем. Уровнемер УГ-2М обеспечивает
измерение уровня воды в диапазоне 0-100 м при погрешности измерения 0,5 % от
верхнего предела. Диаметр скважинного снаряда составляет 50 мм. Температуру
воды в скважине измеряют ртутными термометрами, показания которых в момент
отсчета мало отличаются от температуры измеряемой жидкости. Существуют также
электрические термометры, позволяющие вести непрерывную регистрацию температуры
воды в скважине с передачей соответствующей информации на наземный пульт и
записью самописцем на диаграмме. Погрешность измерения температуры указанными
приборами составляет ± 0,5 °С.
Способы измерения дебита скважины.
Дебит гидрогеологических скважин измеряют
следующими способами:
· объемным
· методом водослива
· с помощью водяных счетчиков и
диафрагменных расходомеров.
Объемный способ измерения дебита широко
распространен и заключается в фиксировании времени t наполнения откачиваемой
водой сосуда измеренного объема V. Дебит Q = V/t. Для уменьшения погрешности
измерения объем емкости должен быть таким, чтобы при ожидаемом дебите она
заполнялась водой не менее чем за 1 мин.
Метод водослива заключается в измерении средней
скорости vcp движения откачиваемой воды по желобу и площади поперечного сечения
потока F. Дебит Q = vcpF.
Принцип работы водяных счетчиков основан на
измерении частоты вращения и крыльчатки, помещенной в трубопровод.
Предварительно с помощью объемного метода строят тарировочную кривую вида: Q =ƒ(n).
Принцип работы диафрагменного расходомера
основан на измерении перепада давления Ah в потоке воды до и после
гидравлического сопротивления (диафрагмы), помещенной в трубопровод.
Предварительно строят тарировочную кривую вида: Q = ƒ
(∆h ).
.4 Охрана природы
С геологоразведочными работами и добычей
полезных ископаемых непосредственно связаны две проблемы: охрана недр -
рациональное использование минеральных ресурсов и охрана окружающей природы -
земной поверхности в районах разработок месторождении, включая рекультивацию
земель, мероприятия по предотвращению загрязнений почвы, водоёмов и атмосферы.
В Конституции Российской Федерации написано
(ст.42): «Каждый имеет право на благоприятную окружающую среду, достоверную
информацию о ее состоянии и на возмещение ущерба, причиненною его здоровью или
имущества экологическим правонарушением».
В нашей стране, как и в зарубежной практике,
существуют федеральные законы, направленные на недопущение загрязнения
природной среды. Это законы: «Об охране окружающей природной среди», «О
недрах», «О континентальном, шельфе Российской Федерации»; «Об отходах
производства в потребления».
Проблеме недопущения загрязнения и
восстановления (рекультивации) земель, нарушенных в ходе выполнения горноразведочных
и буровых работ, придается большое значение.
При производстве буровых работ загрязнение
окружающей среды может приводить к снижению продуктивности почвы и ухудшению
качества подземных и поверхностных вод. Причиной вредного воздействия на среду
обычно являются неправильная прокладка дорог н размещение буровых площадок,
нерациональное использование земельных участков под буровыми остановками,
несоблюдение существующих правил и требований законодательных актов н положений
С целью уменьшения повреждений земельных угодий
н снижение вредных воздействий, геологоразведочные организации должны ежегодно
разрабатывать планы-графики перемещения буровых агрегатов с учетом времени
посевов и уборки сельскохозяйственных культур.
Подъездные дороги и буровые площадки по
возможности необходимо располагать на малопродуктивных землях, а размеры их
должны быть минимальными.
В процессе бурения выполняют следующие охранные
мероприятия:
) конструкции скважин должны обеспечивать
изоляцию подземных вол от поверхностных и грунтовых
) промывочные жидкости и химические реагенты,
применяемые для промывки должны исключать загрязнение подземных вод и
подбираться в соответствии с санитарными нормами;
) слив использованного промывочного раствора и
химических реагентов в открытые водные бассейны и непосредственно на почву
запрещается;
) все использованные жидкости н химические
реагенты вывозятся в специальные места для захоронения.
Для избежания загрязнения подземных вод после
бурения производится ликвидационное тампонирование скважин.
По окончанию буровых работ должна быть проведена
рекультивация, то есть комплекс мероприятий по восстановлению земельных
отводов. Оборудование н железобетонные покрытия демонтируют и вывозят, остатки
дизельного топлива и моторного масла сжигают» глинистый раствор вывозят,
нарушенный растительно-почвенный покров закрывают дерном и почвенным слоем.
Проводят биологическую рекультивацию - озеленение [6].
Заключение
В данной работе по курсу «Бурение разведочных
скважин» проведено проектирование водозаборной скважины глубиной 320 м. В ходе
проведенных инженерных расчётов была выбрана буровая установка, а также
подобрано буровое оборудование (породоразрушающий инструмент, обсадные трубы).
Также был составлен геолого - технический наряд.
Данный курсовой проект проиллюстрирован
рисунками, на которых показаны конструкция фильтра, буровая установка и т.п.
Дополнительно, в работе представлены таблицы с техническими характеристиками.
В ходе выполнения данной курсовой работы мною
были закреплены знания по дисциплине «Бурение разведочных скважин». Знания,
полученные в процессе выполнения заданий курсового проекта, помогут мне в
дальнейшей профессиональной деятельности.
Список литературы
1. Башкатов Д.Н., Сулакшин С.С.,
Драхис С.Л., Квашин Г.П. Справочник по бурению скважин на воду. - М.: Недра,
1979. - 560 с.
2. Бурении скважин и
горноразведочные работы: методические указания. - Томск: ТПИ им. С.М.Кирова,
1990 - 23 с
. Дубровский В.В., Керченский
М.М., Плохов В.Н. и др. Справочник по бурению и оборудованию скважин на воду. -
М.: Недра, 1972, 512 с.
. Солонин Б.Н. Краткий
справочник по проектированию и бурению скважин на воду. - М.: Недра, 1973. -
107 с.
. Специальные работы при
бурении и оборудовании скважина на воду / Д.Н. Башкатов Д.Н., Драхлис С.Л.,
Сафонов В.В., Квашин Г.П. - М.: Недра, 1988. - 268 с.
. Справочник по бурению
геологоразведочных скважин / под ред. Е.А, Козловского. - СПб.: ООО «Недра»,
2000. - 712 с.
. Шестеров В.Н. Проведение
геологоразведочных выработок: методические указания. - Томск: ТПУ, 2006. - 58
с.
. Комиссаров С.В. Методы
увеличения дебита буровых скважин на воду. - М.: Госгеотехиздат, 1959. - 95 с.
. Гаврилко В.М., Алексеев
В.С. Фильтры буровых скважин. 2-е изд. - М.: Недра, 1985. - 334 с.
. Покровский Д.С., Дутова
Е.М. Рогов Г.М., Вологдина И.В. и др. Минеральные новообразования на
водозаборах Томской области // под ред. Д.С. Покровского. - Томск: Изд - во
НТЛ, 2022. - 176 с.
Приложение 1
Разработка мероприятий по увеличению водоотдачи
пласта
Торпедирование скважины
Торпедирование скважины - это способ повышения
притока жидкости или газа к забою скважины, пробуренной в твердых породах, при
помощи взрыва.
На забой скважины опускается и там
взрывается специальный снаряд (торпеда); в результате взрыва в призабойной зоне
в горных породах образуются трещины, по которым жидкость (нефть, вода
<http://gidrogeology.academic.ru/1426/ВОДА>) или газ интенсивно притекают
к забою.
Торпедирование скважин, в
зависимости от его назначения, осуществляют торпедами различной формы:
сосредоточенными, удлинёнными, кумулятивными. Сферическая или конусообразная
выемка в корпусе кумулятивной торпеды концентрирует взрывную волну
<http://www.mining-enc.ru/v/vzryvnaya-volna/> в заданном направлении.
Выпускаются кумулятивные торпеды осевого и бокового действия.
По способу изоляции взрывчатого
вещества <http://www.mining-enc.ru/v/vzryvchatye-veschestva/> (BB)
различают торпеды герметичные, заряд <http://www.mining-enc.ru/z/zaryad/>
взрывчатых веществ которых защищен от внешней среды прочной <http://www.mining-enc.ru/p/prochnost/>,
выдерживающей высокие температуры и давления, металлической оболочкой, и
негерметичные, заряд которых сделан в виде детонирующего шнура с изоляционной
оплёткой или защищен тонкой металлической оболочкой, не выдерживающей высоких
давлений и температур. Созданы торпеды одноразового и многократного
использования. Величина заряда торпеды определяется диаметром скважины,
назначением взрыва <http://www.mining-enc.ru/v/vzryv/>, свойствами
взрывчатых веществ, крепостью <http://www.mining-enc.ru/k/krepost/> пород
и может достигать нескольких десятков килограмм. В качестве взрывчатых веществ
используют нитропроизводные ароматического ряда, нитроглицериновые и
аммиачно-селитренные смеси, Инициирующие взрывчатые вещества: гремучую смесь,
азид свинца <http://www.mining-enc.ru/a/azid-svinca/>.
Иногда торпедирование применяют с
целью удаления песчаных пробок, образовавшихся в стволе скважины, очистки
призабойной зоны от глинистых осадков, очистки фильтра, пробивания окна в
обсадной колонне для бурения нового ствола и т. д
Перфорация
Перфорацию применяют также для
вскрытия заводняемых пластов в нагнетательных скважинах, для проведения
изоляционных работ и после них, при переходе на другие горизонты т. д.
Существуют четыре способа
перфорации: пулевая, торпедная, кумулятивная, пескоструйная.
Первые три способа осуществляются на
промыслах геофизическими партиями с помощью оборудования, приборов и
аппаратуры, имеющихся в их распоряжении. Пескоструйная перфорация
осуществляется техническими средствами и службами промыслов.
Пулевая перфорация. В этом случае в
скважину на электрическом кабеле спускают стреляющий аппарат, состоящий из
нескольких (8-10) камор-стволов, заряженных пулями диаметром 12,5 мм. Каморы
заряжаются взрывчатым веществом (ВВ) и детонаторами. При подаче электрического
импульса пули пробивают колонну, цемент и внедряются в породу, образуя канал
для движения жидкости и газа из пласта в скважину.
Пулевые перфораторы разделены на два
вида: 1) с горизонтальными стволами, когда длина стволов мала и ограничена
радиальными габаритами перфоратора; 2) с вертикальными стволами с отклонителями
пуль на концах для придания их полету направления, близкого к перпендикулярному
по отношению к оси скважины.
Перфоратор с горизонтальными
стволами собирается из нескольких секций, вдоль которых просверлены два или
четыре вертикальных канала, каморы с ВВ. Стволы камор заряжены пулями и закрыты
герметизирующими прокладками. Верхняя секция имеет два запальных устройства.
При подаче по кабелю тока, срабатывает первое запальное устройство, и детонация
распространяется по вертикальному каналу на все каморы, пересекаемые этим
каналом. В результате почти мгновенного сгорания ВВ давление газов в каморе
достигает 2000 МПа, после чего пуля выбрасывается. Происходит почти
одновременный выстрел из половины всех стволов. При необходимости удвоить число
прострелов по второй жиле кабеля подается второй импульс. В этом случае
срабатывает вторая половина стволов от второго запального устройства. В
перфораторе масса заряда ВВ одной каморы незначительна (равна 4-5 г), поэтому
пробивная способность его невелика. Длина образующихся перфорационных каналов
составляет 65-145 мм (в зависимости от свойств породы и типа перфоратора),
диаметр канала- 12,5 мм.
Пулевой перфоратор с
вертикально-криволинейными стволами ПВН-90. При вертикальном расположении
стволов объем камор и длина стволов больше, чем при горизонтальном. В каждой
секции два ствола направлены вверх и это компенсирует реактивные силы,
действующие на перфоратор в момент выстрела. Одна камора отдает энергию взрыва
сразу двум стволам. Масса ВВ в одной каморе достигает 90 г. Давление газов в
каморах составляет 600-800 МПа. Действие газов более продолжительное, чем при
горизонтальном расположении стволов. Это позволяет увеличить начальную скорость
вылета пули и пробивную способность перфоратора. Длина перфорационных каналов в
породе получается 145-350 мм при диаметре около 20 мм. В каждой секции
перфоратора имеются четыре вертикальных ствола, на концах которых сделаны
плавные желобки-отклонители. Пули, изготовленные из легированной стали, для
уменьшения трения в отклонителях покрываются медью или свинцом. Выстрел из всех
стволов происходит практически одновременно, так как все каморы с ВВ сообщаются
огнепроводным каналом. Торпедная перфорация осуществляется аппаратами,
спускаемыми на кабеле, и отличается от пулевой перфорации тем, что для выстрела
используют разрывной снаряд, снабженный взрывателем замедленного действия.
Масса внутреннего заряда ВВ одного снаряда равна 5 г. Аппарат состоит из
секций, в каждой из которых имеется по два горизонтальных ствола. Снаряд
снабжен детонатором накального типа. При остановке снаряда происходит взрыв
внутреннего заряда, в результате чего происходит растрескивание окружающей
породы. Масса ВВ одной камеры- 27 г. Глубина каналов по результатам испытаний
составляет 100-160 мм, диаметр канала - 22 мм. На 1 м длины фильтра обычно
пробивают не более четырех отверстий, так как при торпедной перфорации нередки
случаи разрушения обсадных колонн.
Кумулятивная перфорация осуществляется
стреляющими перфораторами, не имеющими пуль или снарядов. Прострел преграды
достигается за счет сфокусированного взрыва. Такая фокусировка обусловлена
конической формой поверхности заряда ВВ, облицованной тонким металлическим
покрытием (листовой медью толщиной 0,6 мм). Энергия взрыва в виде тонкого пучка
газов - продуктов облицовки пробивает канал. Кумулятивная струя приобретает
скорость в головной части до 6-8 км/с и создает давление на преграду (0,15-
0,3) 106 МПа. При выстреле в преграде образуется узкий перфорационный канал
глубиной до 350 мм и диаметром в средней части 8-14 мм. Размеры каналов зависят
от прочности породы и типа перфоратора.
Кумулятивные перфораторы разделяются
на корпусные и бескорпусные (ленточные). Корпусные перфораторы после их
перезаряда используются многократно. Бескорпусные - одноразового действия.
Перфораторы спускают на кабеле (имеются малогабаритные перфораторы, спускаемые
через НКТ), а также на насосно-компрессорных трубах. В последнем случае
инициирование взрыва производится не электрическим импульсом, а сбрасыванием в
НКТ резинового шара, действующего как поршень на взрывное устройство. Масса ВВ
одного кумулятивного заряда (в зависимости от типа перфоратора) 25-50 г.
Применение перфораторов различных
типов и конструкций зависит от плотности вскрываемых пород. В твердых породах
рекомендуется применять кумулятивную перфорацию, в менее плотных и
малопроницаемых породах - снарядную, в рыхлых породах и слабо сцементированных
песчаниках - пулевую.
Максимальная толщина вскрываемого
интервала кумулятивным перфоратором достигает - 30 м, торпедным - 1 м, пулевым
- до 2,5 м. Это - одна из причин широкого распространения кумулятивных
перфораторов.
Ленточные перфораторы намного легче
корпусных, однако, их применение ограничено давлением и температурой на забое
скважины, так как их взрывной патрон и детонирующий шнур находятся в
непосредственном контакте со скважинной жидкостью. В таких перфораторах заряды
смонтированы в стеклянных (или из другого материала) герметичных чашках, которые
размещены в отверстиях длинной стальной ленты с грузом па конце. Вся гирлянда
спускается на кабеле. Обычно при залпе лента полностью не разрушается, но для
повторного использования ее не применяют. Головку, груз, ленту после отстрела
извлекают на поверхность вместе с кабелем. К недостаткам бескорпусных
перфораторов относится невозможность контроля числа отказов, тогда как в
корпусных такой контроль легко осуществим при осмотре извлеченного из скважины
корпуса.
Кумулятивные перфораторы наиболее
распространены. Подбирая необходимые ВВ, можно в широких диапазонах
регулировать их термостойкость и чувствительность к давлению и этим самым
расширить возможности перфорации в скважинах с аномально высокими температурами
и давлениями.
Гидропескоструйная перфорация основана
на использовании абразивного и гидромониторного действия струи жидкости (воды,
нефти) со взвешенным в ней песком, выходящим под высоким давлением из узкого
отверстия (сопла). Такая струя в течение нескольких минут создает в обсадной
трубе, цементном кольце и породе глубокий канал, обеспечивающий надежное
сообщение между скважиной и пластом. Аппарат спускают в скважину на
насосно-компрессорных трубах, по которым подается под высоким давлением
жидкость с песком. Вытекая из сопел с большой скоростью, достигающей нескольких
сот метров в секунду, жидкость с песком пробивает эксплуатационную колонну,
цементное кольцо и внедряется в породу на глубину до 1 м.
Гидроразрыв пласта
Гидроразрыв пласта (ГРП) - один из
методов интенсификации работы нефтяных и газовых скважин и увеличения
приёмистости нагнетательных скважин.
Метод заключается в создании высоко
проводимой трещины в целевом пласте для обеспечения притока добываемого флюида
(газ, вода, конденсат, нефть либо их смесь) к забою скважины.
Технология осуществления ГРП
включает в себя закачку в скважину с помощью мощных насосных станций жидкости
разрыва (гель, в некоторых случаях вода, либо кислота при кислотных ГРП) при
давлениях выше давления разрыва нефтеносного пласта. Для поддержания трещины в
открытом состоянии в терригенных коллекторах используется расклинивающий агент
- проппант (обработанный кварцевый песок), в карбонатных - кислота, которая
разъедает стенки созданной трещины.
После проведения ГРП дебит скважины,
как правило, резко возрастает. Метод позволяет «оживить» простаивающие
скважины, на которых добыча нефти традиционными способами уже невозможна или
малорентабельна.
Как отмечается в специализированных
источниках по теме, проведение первого в мире ГРП приписывается компании
Halliburton, выполнившей его в США в 1949 году. В качестве жидкости разрыва в
тот момент использовалась техническая вода, в качестве расклинивающего агента -
речной песок. Приблизительно в то же время уже проводились ГРП и в СССР,
разработчиками теоретической основы явились советские ученые Христианович С.
А., Желтов Ю. П. (1953 год), также оказавшими значительное влияние на развитие
ГРП в мире. ГРП используют также для добычи метана из угольных пластов, а также
сланцевого газа. Впервые в мире гидроразрыв угольного пласта был произведен в
1954 году в Донбассе.
Обычно на проведении ГРП и других
методов интенсификации нефтедобычи специализируются сервисные нефтяные
компании.
Технология гидроразрыва пласта
состоит в следующем.
Вначале скважину исследуют на
приток, определяют ее поглотительную способность и давление поглощения.
Результаты исследования скважины позволяют определять количество жидкости и
давления, необходимые для проведения разрыва, а также судить о качестве
проведенного разрыва, об изменениях проницаемости призабойной зоны после
разрыва.
Забой скважины очищают от песчаной и
глинистой пробок и отмывают стенки от загрязняющих отложений. В ряде случаев
перед гидроразрывом целесообразно проводить соляно кислотную обработку или
дополнительную перфорацию. Эти мероприятия снижают давление разрыва и повышают
его эффективность. Наилучшим из этих мероприятий является гидропескоструйная
перфорация интервала, намеченного для разрыва. При этом все операции по
гидропескоструйной перфорации проводятся теми же средствами и оборудованием,
что и сам гидравлический .разрыв.
В промытую, очищенную и проверенную
специальным шаблоном скважину спускают трубы диаметром 89 -1 14 мм, по которым
жидкость разрыва подается на забой. Трубы меньшего диаметра для гидравлического
разрыва применять не следует, так как при прокачке жидкости в них возникают
большие потери давления.
Для предохранения обсадной колонны
от воздействия большого давления над разрываемым пластом устанавливают пакер,
который полностью разобщает фильтровую зону скважины от ее вышележащей части.
При этом давление, создаваемое насосами, передается только на фильтровую зону и
на нижнюю поверхность пакера. При значительных давлениях, создаваемых в
процессе гидравлического разрыва пласта, на пакер снизу вверх действуют большие
усилия.
Для предотвращения сдвига пакера по
колонне при повышении давления на трубах устанавливают гидравлический якорь.
При нагнетании в трубы жидкости давление действует на поршеньки в якоре,
выдвигает их из гнезд и прижимает к обсадной колонне. Чем выше давление, тем с
большей силой поршеньки будут прижиматься к колонне. Кольцевые грани на торце
поршеньков, врезаясь в колонну, будут оказывать тормозящее действие на движение
насосно-компрессорных труб.
Гидравлический разрыв пласта (ГРП)
применяют для воздействия на плотные низко проницаемые коллекторы, а также при
большом радиусе загрязнения ПЗП. При этом в зависимости от геологических
характеристик пласта и системы разработки месторождения создается система
закрепленных трещин определенной протяженности: от 10 до 30-50 м.
Глубоко проникающий гидроразрыв
пласта (ГГРП) с созданием более протяженных трещин производят в коллекторах с
проницаемостью менее 50 × 10-3 мкм2.
Для обеспечения эффективности
процесса гидроразрыва перед выбором расклинивающего материала необходимо
определить оптимальную длину трещины в зависимости от проницаемости пласта с
учетом радиуса зоны дренирования скважины и близости нагнетательных скважин.
Теоретическая зависимость оптимальной полудлины трещины L (расстояние от ствола
скважины до вершины трещины) от проницаемости пласта k приведена в табл. 6. При
выборе L необходимо учитывать радиус зоны дренирования скважины и близость
нагнетательных скважин. Расстояние до ближайшей нагнетательной скважины должно
быть не менее 500 м. Оптимальная величина L не должна выходить за пределы зоны
дренирования скважины.
В коллекторах толщиной свыше 30 м
процесс гидроразрыва проводят по технологии поинтервального ГРП. В скважинах,
совместно эксплуатирующих многопластовые залежи, с целью воздействия на
отдельные объекты применяют селективный ГРП. С целью повышения эффективности
ГРП предварительно проводят щелевую ГПП.
В качестве закрепляющих трещин
материалов на глубинах до 2400 м используют фракционированный песок по ТУ
39-982-94, свыше 2400 м - искусственные средне прочностные по ТУ
39-014700-02-92 и высоко прочностные по ТУ 39-1565-91 расклинивающие материалы
(проппанты). Для осуществления процесса гидроразрыва используют технологические
жидкости на водной и углеводородной основах.
Таблица 1 Зависимость оптимальной
полудлины трещины от проницаемости пласта
|
k
10-3 мкм2
|
100
|
10
|
1
|
0.5
|
0.1
|
0.05
|
|
L,
м
|
40-65
|
50-90
|
100-190
|
135-250
|
250-415
|
320-500
|
Выбор типа жидкости гидроразрыва осуществляется
в соответствии с пластовыми условиями (литологии, температуры, давления и т.п.).
При этом учитывается совместимость выбранной жидкости с матрицей пласта и
пластовыми флюидами. При содержании в пласте водочувствительных глин необходимо
использовать жидкость на углеводородной основе. Кроме этого, такие жидкости
обладают низким коэффициентом инфильтрации и способны создавать более
протяженные трещины.
Технологические жидкости для ГРП должны
удовлетворять следующим основным требованиям:
при минимальных затратах жидкости обеспечивать
формирование трещин большой протяженности;
вязкость должна обеспечивать высокую несущую
способность песка (проппанта), достаточную для транспортирования и равномерного
размещения в трещине гидроразрыва расклинивающего материала и создания заданной
раскрытости трещин;
обладать низким гидравлическим сопротивлением и
достаточной сдвиговой устойчивостью для обеспечения максимально возможной в
конкретных геолого-технических условиях скорости нагнетания жидкости;
не снижать проницаемость обрабатываемой зоны
пласта;
обладать высокой стабильностью жидкостной системы
при закачке;
легко удаляться из пласта после проведения
процесса;
обладать регулируемой способностью
деструктироваться в пластовых условиях, не образуя при этом нерастворимого
твердого осадка, снижающего проводимость пласта и не создающего должного распределения
расклинивающего материала в трещине гидроразрыва.
Основными технологическими параметрами для
контроля за процессом ГРП следует считать: темп и объемы закачки, устьевое
давление, концентрацию песка (проппанта) в суспензии.
При проведении работ используемое оборудование
включает цементировочные агрегаты (ЦА-320М, ЦА-400, АН-700), пескосмесительные
агрегаты (4ПА, УСП-50), блоки манифольдов (1БМ-700,1БМ-700С), емкости.
После проведения подготовительных операций,
включающих спуск и посадку пакера, установку арматуры, доставляют
технологические жидкости, расклинивающий агент, производят расстановку
наземного оборудования, проверку и опрессовку всех трубопроводов и пакера.
Перед началом процесса делается контроль технологических свойств жидкостей.
Системы на водной основе можно готовить в
емкостях любого типа. Емкости для приготовления углеводородных систем
обязательно должны быть закрытыми в целях безопасности и для исключения
попадания внутрь атмосферных осадков. В зимнее время емкости необходимо оборудовать
системой обогрева.
После обвязки устья скважины нагнетательные
трубопроводы спрессовываются на ожидаемое давление при ГРП с коэффициентом
запаса прочности:
Рабочее давление, МПа - <20 20-56 56-65
>65
Коэффициент запаса прочности - 1,5 1,4 1,3 1,25
Продолжительность выдержки под давлением не
менее 3 мин.
При проведении гидрокислотных разрывов
необходимо применение ингибиторов коррозии.
Стоит отметить, что проблема повышенного
образования мехпримесей и высокой концентрации взвешенных частиц в добываемой жидкости
в последние годы стала едва ли не самым существенным осложняющим
механизированную добычу фактором. Это неизбежная и вполне осознаваемая жертва,
на которую приходится идти при применении ГРП и повышения депрессии на пласты
для увеличения дебитов скважин. Более того, значительную долю наблюдаемых
мехпримесей составляют соли и элементы коррозии, что вынуждает вести борьбу с
целым комплексом осложнений.
К средствам ведения этой борьбы сегодня
относятся как специальные материалы и варианты исполнения, повышающие
износостойкость глубинно-насосных установок, так и различные виды
дополнительного скважинного и поверхностного оборудования, а также целый набор
физико-химических методов и организационных решений.
Соляно - кислотная обработка призабойной зоны и фильтров
скважин
Призабойной зоной скважины (ПЗС) называют
область пласта в интервале фильтра, примыкающего к стволу. От состояния ПЗС
существенно зависит текущая и суммарная добыча, дебиты добывающих скважин и
приемистость нагнетательных скважин. В процессе вскрытия пласта при бурении и
последующих работах очень важно не ухудшить, а сохранить естественную
проницаемость пород ПЗС. Часто в процессе работ по заканчиванию скважины
проницаемость пород ухудшается по сравнению с первоначальной, естественной. В таких
случаях необходимо искусственное воздействие на призабойную зону для повышения
ее проницаемости и улучшения сообщаемости пласта со скважиной.
Различают следующие разновидности кислотных
обработок:
Кислотные ванны предназначены для очистки
поверхности открытого забоя и стенок скважины от цементной и глинистой корок,
смолистых веществ, продуктов коррозии, кальциевых отложений от пластовых вод и
освобождения прихваченного пробкой подземного оборудования. Объем рабочего
раствора, при кислотной ванне, составляет не более объема ствола (колонны) в
заданном интервале, закачивают его до забоя, не продавливая в пласт. Раствор
кислоты выдерживают в интервале обработки 16 - 24 ч. Затем отреагировавшую
кислоту вместе с продуктами реакции удаляют из скважины обратной промывкой. В
качестве промывочной жидкости используют воду.
Простая кислотная обработка предназначена для
воздействия на породы ПЗС с целью увеличения их проницаемости. Процесс ведется
с обязательным задавливанием кислоты в пласт. Вначале закачивают нефть или
воду, затем при открытом затрубном пространстве - расчетное количество приготовленного
рабочего раствора соляной кислоты. При этом объем первой порции кислоты
рассчитывают так, чтобы она заполнила трубы и кольцевое пространство от башмака
до кровли пласта. После этого закрывают задвижку на затрубном пространстве
скважины и под давлением закачивают в скважину остатки кислотного раствора.
Кислота начинает проникать в пласт. Оставшуюся в трубах и в фильтровой части
скважины кислоту продавливают в пласт нефтью или водой.
Кислотная обработка под давлением применяют с
целью продавки кислоты в малопроницаемые интервалы продуктивного пласта.
Проводят с применением пакера.
При открытой задвижке затрубного пространства
скважины и непосаженом пакере в скважину закачивают кислотный состав в объеме
труб и подпакерного пространства, после чего пакером герметизируют затрубное
пространство и закачивают кислоту в объеме спущенных труб с максимальным
повышением темпа закачки. Затем, не снижая давления, вслед за кислотой
прокачивают расчетный объем продавочной жидкости и закрывают задвижку. Скважину
оставляют в покое до полного спада или стабилизации давления.
При очистке фильтра химическим способом, в
скважину сначала заливается сильная кислота, которая растворяет отложения на
фильтре, после чего также возможна м механическая очистка или сразу прокачка воды
до чистой.
Нужно понимать, что кислота не вымоется
полностью из скважины ни в процессе ее промывки, ни даже через день два
эксплуатации. Поэтому, для водяных скважин питьевой воды после химической
очистки нужно обязательно обеспечить непрерывный забор воды из скважины в
течение длительного времени (как минимум в течение 12 часов), и в течение
следующих нескольких дней не следует употреблять воду из скважины для
приготовления пищи.
Перед проведением работ важно также убедиться в
том, что кислота, используемая для промывки фильтра, не уничтожит сам фильтр
(для этого нужно точно знать, из какого материала он сделан).
Методы механической очистки фильтров скважин
При реакции фильтра с водой в скважине на сетке,
из которой сделан фильтр (обычно это сетка из нержавеющей стали), образуются
наросты из отложений, содержащихся в воде. Постепенно фильтр
"зарастает" и его пропускная способность уменьшается, что приводит к
уменьшению объема воды, который можно добыть из скважины за единицу времени.
Прогнозировать это явление поможет детальный анализ воды из скважины при ее
устройстве. Этот же анализ поможет также определить способ, как и с какой
периодичностью лечить эту проблему.
Симптомы при возникновении этой
проблемы такие же, как и при заиливании фильтра скважины <http://skvagina.info/zailivanie-filtra-skvazhinyi.html>
- дебит заметно уменьшается, вода при этом подается чистая. К сожалению, точно
определить причину (выбрать одну из двух) снижения дебита при таких симптомах в
большинстве случаев практически невозможно, поэтому при уменьшении дебита
всегда предлагают прочистку фильтра с одновременной промывкой под давлением
(что решает и проблему заиливания фильтра).
Существует два способа очистки сетки
скважинного фильтра от отложений: механический и химический. Оба способа в
принципе относительно безопасны для скважины, а потому, зарастание фильтра,
пожалуй, единственный случай, когда ремонт песчаной скважины действительно
эффективен и имеет какой-либо смысл в долгосрочной перспективе.
Очистка скважинного фильтра от
отложений механическим способом. В скважину опускается специальный ерш с
металлическим ворсом. Эффективность процедуры возрастает, если ерш также
оборудован системой подачи воды под давлением мелкими струйками, но в этом
случае создается давление на фильтр и возникает риск его разрушения.
Ваккумирование скважин
Ваккумирование скважин - это способ
увеличения дебита <http://www.mining-enc.ru/d/debit/> гидрогеологических
скважин <http://www.mining-enc.ru/b/burovaya-skvazhina/> в породах
<http://www.mining-enc.ru/g/gornye-porody/> с низкими фильтрационными
свойствами за счёт создания в них вакуума.
Ваккумирование скважин
осуществляется подключением забивных и восстающих (реже водопонижающих и
горизонтальных) дренажных скважин к вакуумному коллектору, в котором разрежение
поддерживается вакуумной установкой. Для забивных и восстающих вакуум-скважин
наибольший дренажный эффект достигается при комбинировании их с аэрирующими
скважинами, по которым воздух поступает в горные породы, расположенные выше
депрессионной поверхности подземных вод
<http://www.mining-enc.ru/p/podzemnye-vody/>. Ваккумирование скважин
примерно в 2,5 раза увеличивает их дебит