Проектирование мостового крана
Содержание
Введение
1. Обзор существующих
конструкций кранов
2. Расчет механизма подъема
. Расчет механизма
передвижения крана
. Расчет механизма
передвижения тележки
. Расчет металлоконструкции
мостового крана
6. Техника безопасности
Список использованных источников
Введение
Широкое распространение мостовых кранов - одного
из средств механизации производственных операций, погрузо-разгрузочных и
складских работ - требует усовершенствования их конструкций, повышения
производительности, эксплуатационной надежности и долговечности, а также
снижение веса на единицу грузоподъемности или производительности.
В 60 - 70-е гг. ХХ века, отечественное
краностроение добилось значительных успехов в создании новых, более совершенных
кранов. В частности, была осуществлена широкая унификация кранов, разработаны
более совершенные конструкции и методы расчета, снижена трудоемкость
изготовления.
К мостовым кранам общего назначения относятся
краны, предназначаемые для работы с разнообразными грузами и имеющие в качестве
грузозахватных органов грузовые крюки. Статистическими исследованиями
установлено, что крюковые краны составляют около 2/3 всех эксплуатируемых
мостовых кранов.
Штучные грузы, предназначаемые для подъема и
перемещения таким краном, навешивают на крюк при помощи стропов (канатных или
цепных) или различных специальных захватов.
Одним из главных достоинств мостовых кранов
является то, что они перемещаясь по путям, расположенным над землей, не
занимают полезной площади цеха или склада, обеспечивая в то же время обслуживание,
практически, любой их точки.
В данном курсовом проекте рассчитан как раз один
из таких кранов.
1. Обзор
существующих конструкций кранов
Мостовой кран включает в себя две основные
части: мост и тележку. Мост состоит из металлической конструкции, перекрывающей
рабочий пролет производственного помещения или склада, и механизма
передвижения, с помощью которого кран перемещается вдоль подкранового пути.
Тележка состоит из рамы, одного или двух
механизмов подъема груза и механизма передвижения, с помощью которого тележка
передвигается по рельсам вдоль моста.
Мостовые краны общего назначения используются в
сборочных цехах (в качестве монтажных), в машинных залах, в котельных и
дымососных отделениях электростанций. При работе на открытом воздухе (склады,
контейнерные площадки и т. д.) они перемещаются по путям, уложенным на
специальных эстакадах.
На одних и тех же подкрановых путях могут
работать несколько кранов. При этом грузы, вес которых превышает
грузоподъемность крана, поднимаются двумя кранами с использованием специальных
траверс.
К настоящему времени грузоподъемность самых
крупных, уникальных моделей мостовых кранов достигает 500 т. Наибольшее
распространение имеют краны грузоподъемностью до 250 т, изготавливаемые
серийно.
Безопасность работы кранов обеспечивается
ограничителями грузоподъемности, высоты подъема, передвижения крана и тележки,
а также буферными устройствами.
Вес крана сказывается не только на его
стоимости, но и величине капиталовложений при сооружении здания или эстакады в
связи с необходимостью применять строительные элементы (колонны, подкрановые
балки) соответствующих размеров. Вертикальный габарит крана определяет высоту и
стоимость части здания, расположенной выше подкрановых путей, а другие габариты
и расстояние от крюка поднятого в верхнее положение до металлоконструкций крана
- размеры объема производственного помещения, обслуживаемого краном.
Снижение стоимости кранов достигается созданием
более рациональных конструкций. Наибольший эффект дает уменьшение размеров и
веса механизмов, а также общего веса крана. Основную роль при этом играют
статистические материалы как в части величины нагрузок и режимов работы, так и
в части прочности элементов металлоконструкций механизмов; это, в свою очередь,
позволяет уточнить фактически действующие нагрузки и методы прочностного
расчета. Стоимость материалов, полуфабрикатов и покупных изделий составляет от
60 до 84% себестоимости крана. Поэтому также важным при оценке технологичности
конструкций являются показатели веса, стоимости материалов и коэффициент их
использования. При производстве мостовых кранов этот коэффициент пока не
превышает 0,7, что указывает на большое количество отходов материалов.
С целью повышения безопасности эксплуатации
краны должны окрашиваться в цвета, отличающиеся от окружающих предметов и
привлекающие к себе внимание.
Мостовые краны общего назначения
классифицируются по типу металлоконструкций на однобалочные и двухбалочные.
Принимаем для исполнения двухбалочную
конструкцию.
Пролетная часть двухбалочных мостов выполняется,
в основном, в виде пространственных четырехплоскостных балочных коробчатых или
ферменных конструкций, с балками, усиленными шпренгелями, или в виде
безраскосных ферм и с балками открытого типа.
Главные балки двух- и однобалочных мостов должны
обладать большой изгибной жесткостью в вертикальной и горизонтальной
плоскостях, а также достаточной крутильной жесткостью и устойчивостью. Широко
применяются балки коробчатого сечения с тонкими, но достаточно жесткими в своей
плоскости диафрагмами и горизонтальными продольными ребрами жесткости.
У двухбалочных, а также и у некоторых типов
однобалочных мостов для обслуживания кранов предусматриваются консольные
рабочие и переходные площадки, которые состоят из горизонтальных кронштейнов,
прикрепляемых к главным балкам, настила и перил. Для этих же целей мост
оборудуется лестницами, ограждениями на концевых балках и площадками у
балансиров.
К мосту, со стороны противоположной расположению
главных троллеев, предназначенных для питания током крана, подвешивается кабина
крановщика. Для обслуживания троллеев, а также главных токоприемников,
закрепленных на мосту крана, к металлоконструкции подвешивается вспомогательная
кабина-люлька.
Принимаем для исполнения четырех колесную
опорную тележку. Устанавливаем на тележке механизм главного подъема, состоящий
из следующих частей: крюковой подвески, полиспаста, барабана, передаточного
устройства, тормоза и двигателя.
Так как заданная заказчиком грузоподъемность
сравнительно невелика (5 т), то нет необходимости выполнять механизм
вспомогательного подъема.
Механизм передвижения крана выполняем с
раздельным приводом. Такой привод требует применения двух двигателей, двух
тормозов и двух редукторов.
Несмотря на это, привод получается легким и
удобным в изготовлении и монтаже.
Для привода в движение тележки принимаем схему с
консольным расположением редуктора.
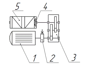
2. Расчет механизма подъема
двигатель мостовой кран
металлоконструкция
Механизм подъема крана показан на рисунке 1.
Рисунок 1. Механизм подъема крана.
1
- электродвигатель; 2 - быстроходная
муфта с тормозом; 3 - редуктор;
4
- тихоходная муфта; 5 - барабан.
Находим максимальное усилие в канате.
где Q
- грузоподъемность (Q = 5 т, 1 кг
= 10 Н, тогда Q = 50000 Н),
q - вес крюковой
подвески (q = 0,1Q
= 5000 Н),
а - число ветвей каната, на которые подвешен
груз (а = 4),
ηп
- КПД полиспаста (ηп
= 0,96 [2] ).
Определение разрывного усилия каната.
где k
- коэффициент запаса прочности каната, зависящий от эксплуатации.
При среднем режиме работы k
= 5,5.
Подбор каната.
В качестве грузоподъемного каната используем
канат двойной свивки с одним органическим сердечником. Согласно рекомендациям
[1] при однослойной навивке каната на барабан и нарезанных канавках на барабане
выбираем канат ЛК-Р 6х19. При значении разрывного усилия Sр
= 78,777 кН диаметр каната будет равен d
= 14 мм (маркировочная группа 140 кгс/мм2).
Определение размеров барабана.
· Определение диаметра барабана:
где е - коэффициент, зависящий от режима
эксплуатации (при режиме эксплуатации А4 е = 25).
Принимаем D
= 335 мм под стандартный барабан БК 335.
· Определяем число витков нарезки
барабана:
где Zр
- число рабочих витков.
где H
=12 м - высота подъема,
а = 2 - кратность полиспаста.
.
· Определяем значения длин барабана
где L0
-
длина гладкой части барабана (для барабана БК 335 L0
= 200 мм),
Определение крепления каната к барабану.
Крепление концов каната на барабане производится
с помощью накладок, которые соединяются с барабаном шпильками с гайками или
болтами. Болты применяют в тех случаях, когда имеется доступ внутрь барабана.
Накладок должно быть не меньше двух. В соответствии с рекомендациями [2]
подбираем необходимые накладки (нормали машиностроения МН 4806-63 и МН 4807-63)
со шпильками d = 12 мм под
закрепление.
Определение мощности двигателя механизма
подъема.
где v
= 12 м/мин - скорость подъема,
η = 0,9 - КПД механизма
подъема.
По найденной мощности двигателя и режиму
эксплуатации выбираем крановый двигатель. Основным номинальным режимом является
повторно-кратковременный режим с продолжительностью включения ПВ 25% (А4).
Выбираем двигатель МТ211-6.
[P]
= 7,5 кВт,
ПВ = 25%,
nдв
= 935 об/мин.
Оцениваем перегрузку:
Несмотря на то, что полученная перегрузка
превышает допустимые значения, данный двигатель подходит для заданных
эксплуатационных условий, так как в процессе предварительного расчета были даны
завышенные значения веса крюковой подвески (10% от Q)
и значение режима эксплуатации А4 для удобства было округлено в большую сторону
до ПВ 25%. Более того, издание [2] рекомендует использовать для кранов
грузоподъемностью 5 т именно двигатели МТ211-6. Использование двигателя с большей
мощностью (11 кВт) нецелесообразно в связи с его недогрузкой на 25%, большими
габаритными размерами, массой и стоимостью.
Выбор редуктора.
· Определяем частоту вращения
барабана:
· Определяем передаточное отношение:
Выбираем горизонтальный цилиндрический
двухступенчатый редуктор Ц2-400.
u = 32,42;
n = 1000 об/мин;
Pmax
= 34 кВт.
Выбор тормоза.
· Определяем статический момент:
· Определяем тормозной момент:
Выбираем колодочный тормоз переменного тока
ТКТ-200 с тормозным моментом М = 160 Н∙м.
Выбор муфты быстроходного вала редуктора.
где k
= K1∙K2
= 1,3∙1,7 = 2,2 - коэффициент запаса.
К1 = 1,3 - коэффициент, учитывающий
степень ответственности соединений;
К2 = 1,7 - коэффициент, учитывающий
условия работы муфты.
Выбираем упругую втулочно-пальцевую муфту
250-40-I-50-II-1
ГОСТ 21424-75.
Выбор муфты тихоходного вала редуктора.
Принимаем для исполнения встроенную в барабан
зубчатую муфту. Размеры зубчатых венцов для барабана БК 335 и редуктора Ц2-400
приведены в книге [2].
Выбор крюковой подвески.
По номинальной грузоподъемности Q
= 5 т выбираем однорогий крюк 14Б ГОСТ 6627-66. Вес крюка составляет 100 кг.
. Расчет механизма передвижения крана
Механизм передвижения крана показан на рисунке
2.
- электродвигатель; 2 - быстроходная муфта с
тормозом; 3 - редуктор; 4 - кардан; 5 - ходовое колесо.
Рисунок 2 - Механизм передвижения крана
Определение суммарного сопротивления
передвижению крана.
где kр
- коэффициент, учитывающий сопротивление трения реборд ходовых колес о рельсы (kp
= 1,6 [2] ),
Wтк
- сопротивление трения качения,
Wy
- сопротивление от уклона рельсового пути,
Wв
- сопротивление от ветровой нагрузки.
В соответствии с рекомендациями книги [2] найдем
сопротивление трения при движении крана Wтк,
приведенное к окружности качения колеса.
где G
= 12 т =120000 Н - вес крана (принят согласно примерному значению подобных
типовых конструкций),
Q = 5 т = 50000 Н -
грузоподъемность крана,
f = 0,015 -
коэффициент трения для сферических подшипников качения,
dп
= 60 мм = 6 см - диаметр вала колеса в месте посадки подшипника,
μ = 0,05 см - коэффициент
трения качения стального колеса по плоскому рельсу,
Dк
= 400 мм = 40 см - диаметр ходового колеса.
Находим сопротивление от уклона рельсового пути:
где α = 0,001 [2] - расчетный
уклон рельсового пути для кранов.
Так как проектируемый мостовой кран будет
эксплуатироваться в закрытом помещении, то сопротивление от ветровой нагрузки
будет отсутствовать.
Выбор электродвигателей.
Определяем суммарную мощность двигателей
механизма передвижения крана:
где v
= 60 м/мин - скорость передвижения крана.
По рекомендации [2], мощность одного двигателя
составляет:

[P]
= 1,4 кВт,
ПВ = 25%,
nдв
= 885 об/мин.
Определение частоты вращения колеса.
Выбор редуктора.
Определяем необходимое передаточное число:
Выбираем редуктор Ц2-250.
u = 19,88;
n = 1000 об/мин;
Pmax
= 14 кВт.
Проверка запаса сцепления.
Найдем коэффициент запаса сцепления для случая
перемещения крана без груза:
где ΔG
= 60000 Н - суммарное давление приводных колес на рельс
без
нагрузки,
Fин
- сила инерции,
φ = 0,2 [2] - коэффициент
сцепления ходового колеса с рельсом.
где v
= 63 м/мин = 1,05 м/с - скорость передвижения,
tп
= 8 с [1] - время
пуска.
Выбор тормоза.
Тормоза устанавливают на механизмах передвижения
в том случае, если скорость передвижения крана или тележки превышает 32 м/мин.
Тормозной момент, при котором обеспечивается
заданный запас сцепления ходовых колес с рельсом, рассчитаем по рекомендации,
приведенной в источнике [2]:
где Wтк
- сопротивления трения при движении крана без груза,
η0
= 0,9 - КПД передаточного механизма.
Так как привод раздельный, то по рекомендациям
[2] считаем приходящийся на один тормоз момент:
Выбираем колодочный тормоз переменного тока ТТ
160.
Выбор муфт.
Подбираем муфту на быстроходный вал редуктора:
Выбираем упругую втулочно-пальцевую муфту
125-25-I-30-II-1
ГОСТ 21424-75.
Тихоходный вал редуктора соединяем с колесом при
помощи кардана.
4. Расчет механизма передвижения тележки
Механизм передвижения тележки показан на рисунке
3.
Рисунок 3. Механизм передвижения тележки.
1
- электродвигатель; 2 - быстроходная
муфта с тормозом; 3 - вертикальный
редуктор; 4 - тихоходная
муфта;
5
- тихоходный вал; 6 - ходовое колесо.
Определение суммарного сопротивления
передвижению тележки.
где kр
- коэффициент, учитывающий сопротивление трения реборд ходовых колес о рельсы (kp
= 1,6 [2] ),
Wтк
- сопротивление трения качения,
Wy
- сопротивление от уклона рельсового пути,
Wв
- сопротивление от ветровой нагрузки.
В соответствии с рекомендациями книги [2] найдем
сопротивление трения при движении тележки Wтк,
приведенное к окружности качения колеса.
где G
= 2 т =20000 Н - вес тележки,
Q = 5 т = 50000 Н -
грузоподъемность крана,
f = 0,015 -
коэффициент трения для сферических подшипников качения,
dп
= 40 мм = 4 см - диаметр вала колеса в месте посадки подшипника,
μ = 0,05 см - коэффициент
трения качения стального колеса по плоскому рельсу,
Dк
= 200 мм = 20 см - диаметр ходового колеса.
Находим сопротивление от уклона рельсового пути:
где α = 0,002
[2] - расчетный уклон рельсового пути для тележек.
Так как проектируемый мостовой кран будет
эксплуатироваться в закрытом помещении, то сопротивление от ветровой нагрузки
будет отсутствовать.
Выбор электродвигателя.
Определяем мощность двигателя механизма
передвижения тележки:
где v
= 30 м/мин - скорость передвижения тележки.
Выбираем электродвигатель МТ011-6.
[P]
= 1,4 кВт,
ПВ = 25%,
nдв
= 885 об/мин.
Определение частоты вращения колеса.
Выбор редуктора.
Определяем необходимое передаточное число:
Выбираем редуктор ВКН-280.
u = 16;
n = 1000 об/мин;
Pmax
= 1,7 кВт.
Проверка запаса сцепления.
Найдем коэффициент запаса сцепления для случая
перемещения крана без груза:
где ΔG
= 10000 Н - суммарное давление приводных колес на рельс
без
нагрузки,
Fин
- сила инерции,
φ = 0,2 [2] - коэффициент
сцепления ходового колеса с рельсом.
где v
= 40 м/мин = 0,5 м/с - скорость передвижения,
tп
= 8 с [1] - время
пуска.
Выбор тормоза.
Тормоза устанавливают на механизмах передвижения
в том случае, если скорость передвижения крана или тележки превышает 32 м/мин.
Тормозной момент, при котором обеспечивается
заданный запас сцепления ходовых колес с рельсом, рассчитаем по рекомендации,
приведенной в книге [2]:
где Wтк
- сопротивления трения при движении тележки без груза,
η0
= 0,9 - КПД передаточного механизма.
Выбираем колодочный тормоз переменного тока ТКТ
100.
Выбор муфт.
Подбираем муфту на быстроходный вал редуктора:
Выбираем упругую втулочно-пальцевую муфту
125-25-I-25-II-1
ГОСТ 21424-75.
Тихоходный вал редуктора соединяем с колесом при
помощи двух тихоходных муфт и промежуточного тихоходного вала.
Подбираем тихоходную муфту:
Выбираем упругую втулочно-пальцевую муфту
250-32-I-1 ГОСТ 21424-75.
5. Расчет металлоконструкции мостового крана
Расчет металлоконструкции мостового крана
выполнен с помощью ЭВМ в программе Matchcad.
Рассчитываемый кран состоит из двух главных
балок прямоугольной формы, сваренных из стального листа и двух стоек, в которые
вмонтированы ходовые колеса моста.
Исходные данные: пролет
м;
база крана
м; колея тележки
м,
база тележки
м. Конструкция
моста сварная. Материал моста ВМ Ст3 кп.
Расчетные нагрузки
Подвижная нагрузка, передаваемая на рельс одним
колесом, при работе крана с номинальным грузом
Н,
массе тележки
кг, динамическим
коэффициентом
Н
Распределенная нагрузка от собственного веса
половины двухбалочного моста и механизма передвижения, при массе моста
кг,
массе механизма
кг,
-
коэффициента учитывающего толчки при движении крана.
Н
Сосредоточенная нагрузка от веса кабины с
электрообордованем,
кг
Н
Механизм передвижения моста с центральным
приводом, расположенный на поперечных консольных балках, присоединенных к
главной балке, скручивает ее моментом при
м:
Н*м
Распределенная поперечная инерционная нагрузка в
горизонтальной плоскости, возникающая при резком торможении моста, при
м/с2 - максимальном ускорении при
торможении моста:
Н/м
Сосредоточенная инерционная поперечная нагрузка
в горизонтальной плоскости от веса кабины при резком торможении моста:
Н
Сосредоточенная инерционная поперечная нагрузка
в горизонтальной плоскости от веса тележки с грузом при резком торможении
моста:
Н
Сосредоточенная продольная инерционная нагрузка
в горизонтальной плоскости при резком торможении тележки с грузом, при
м/с2:
Н
Выбор размеров сечений главной балки
Высота главной балки прямоугольной формы с
замкнутым контуром для средней части моста:
м,
м
Принимаем
м
Высота балки у опоры
м,
м
Ширина верхнего и нижнего горизонтальных листов
м,
м
Кроме того, ширина горизонтальных листов должна
удовлентворять условию В>
м
Принимаем
м
Для предварительного расчета принимаем толщину
вертикальных стенок
м, а верхних и
нижний пояса из листа
м.
Расстояние между вертикальными листами
м.
Основные характеристики предварительно выбранных
сечений
Основное сечение
Площади сечений
верхних и нижних листов:
м2
Вертикальных стенок:
м2
Моменты инерции сечения относительно оси х-х:
Поясов
м4
Стенок
м4
Общий момент инерции сечения
м4
Момент сопротивления сечения относительно x-x:
м3
Момент инерции сечения отностительно оси y-y:
Поясов
м4
Стенок
м4
Общий момент инерции сечения
Момент сопротивления сечения относительно оси
y-y:
м3
Сечение около опоры
Площади сечений
верхних и нижних листов:
м2
Вертикальных стенок:
м2
Моменты инерции сечения относительно оси х-х:
Поясов
м4
Стенок
м4
Общий момент инерции сечения
м4
Момент сопротивления сечения относительно x-x:
м3
Момент инерции сечения отностительно оси y-y:
Поясов
м4
Стенок
м4
Общий момент инерции сечения
Момент сопротивления сечения относительно оси
y-y:
м3
Главную балку рассчитываем для наиболее
неблагоприятного случая нагружения при одновременном резком торможении моста и
тележки, загруженной номинальным грузом. Кроме того, эта же балка нагружена
весом от механизма передвижения моста и от кабины.
Момент, скручивающий главную балку относительно
оси O-O,
при
м;
м,
м:
Н*м
Максимальные изгибающие моменты главной балки
определим в вертикальной и горизонтальной плоскостях от постоянных и подвижных
нагрузок. Известно, что максимальный момент от двух связанных между собой
подвижных нагрузок будет в сечении балки под левым колесом в тот момент, когда
середина пролета совпадает с серединой расстояния между нагрузкой Р1 и равнодействующей R", т.е.
расстояние между серединой главной балки и нагрузкой P1 имеет значение b/4. Реакции
в опорах главной балки в вертикальной плоскости, при
-
расстояния до кабины:
от постоянных нагрузок
Н
Н
от подвижных нагрузок
Н
Н
Значения изгибающих моментов:
Н*м
Н*м
Максимальный изгибающий момент в сечении I - I
от нагрузок в вертикальной плоскости:
Н*м
Реакции в опорах главной балки в горизонтальной
плоскости:
Н
Н
Н
Н
Значения изгибающих моментов:
Н*м
Н*м
Максимальный изгибающий момент в сечении I - I
от нагрузок в вертикальной плоскости:
Н*м
Нормальные напряжения при изгибе в сечении I - I
от нагрузок в вертикальной плоскости (комбинация нагрузок А)
Па < 1.6*108 Па
допускаемое нормальное напряжение для стали ВМ
Ст3 кп при комбинации нагрузок А и Б.
Нормальные напряжения при изгибе в сечении I - I
от нагрузок в горизонтальной плоскости (комбинация нагрузок А)
Па
Максимальное нормальное напряжения при изгибе в
сечении I - I от действия вертикальных и горизонтальных нагрузок (комбинация
нагрузок Б)
Па< 1.8*108 Па
допускаемое нормальное напряжение для стали ВМ
Ст3 кп при комбинации нагрузок Б.
Сечение главной балки около опоры рассчитываем
по касательным напряжениям, возникающим от действия поперечной силы и
скручивающего момента.
Максимальная поперечная сила в опорном сечении
будет возникать тогда, когда тележка с номинальным грузом находится в крайнем
положении около опоры В. Расстояние между равнодействующей R и опорой В
составляет
м.
При действии нагрузок:
в вертикальной плоскости
Н
в горизонтальной плоскости
Н
Статический момент половины сечения главной
балки около опоры относительно оси х - х
м3
Касательные напряжения в опорном сечении (около
оси х - х)
Па < 9.6*107 Па
Касательные напряжения в опорном сечении от
действия скручивающего момента, воспринимаемого двумя концевыми балками:
Площадь прямоугольника, ограниченного осями, проходящими
через середины стенок и поясов
м2
Па
Максимальные касательные напряжения в опорном
сечении при комбинации нагрузок Б:
Па < 10.6*107 Па
Прогиб главной балки от веса тележки с
номинальным грузом, при
ПА
м < [f] =
м
6. Техника
безопасности
Мостовые краны при неправильной эксплуатации
могут представлять опасность для обслуживающего персонала и для лиц,
находящихся в зоне их действия. Все мостовые краны грузоподъёмностью выше 1т
допускаются к работе после освидетельствования и регистрации в органах
Госгортехнадзора и их испытания по установленным правилам.
При освидетельствовании и испытании кранов
производят наружный осмотр всех естественных узлов и деталей в нерабочем
состоянии: испытания механизмов на холостом ходу, под статической нагрузкой,
превышающей номинальную на 25%, под динамической нагрузкой, превышающей
номинальную на 10%. Результаты заносятся в паспорт крана. На находящихся в
эксплуатации кранах должны иметься ясные обозначения регистрационного номера,
грузоподъёмности и даты очередного освидетельствования.
К управлению и обслуживанию кранов допускаются
лица не моложе 18 лет, прошедшие курс обучения по соответствующей программе и
аттестованные квалификационной комиссией с участием представителя
Госгортехнадзора. При допуске к работе им выдаётся производственная инструкция.
Проверка знаний обслуживающего персонала производится не раньше, чем один раз в
год.
При эксплуатации мостовых кранов запрещается: подъём
грузов, масса которых превышает грузоподъемность; подъём грузов находящихся в
неустойчивом положении; отрыв грузов, примёрзших, заваленных землёй, заложенных
другими грузами, прикреплённых болтами к основанию и залитых бетоном;
оттягивание грузов в процессе подъёма; использование концевых выключателей в
качестве рабочих органов для автоматической остановки; вывод из действия
тормозов, механизмов и приборов безопасности контрольно-предохранительной
аппаратуры. Категорически запрещается подъём кранами людей. При необходимости
подъёма краном людей должны соблюдаться требования, изложенные в правилах
Госгортехнадзора.
При работе мостовых кранов не допускается
пребывание людей под грузом, в зоне возможного спускания груза, не допускается
перемещение груза над людьми, не допускается в период работы мостового крана
выходить на подкрановые пути в зоне движения крана. При длительных остановках
крана должно быть отключено электропитание.
Согласно правилам Госгортехнадзора мостовые
краны оборудуются буферными устройствами, снижающими ударные нагрузки при
столкновении одного крана с другим, при их эксплуатации на одних путях.
Предусматривается установка упоров, воздействующих на концевые выключатели
механизмов перемещения, автоматически отключающих привод механизма передвижения
и одновременно включающих тормозные устройства.
Краны, работающие на открытом воздухе,
обязательно снабжают противоугонными захватами, обеспечивающими принудительное
сцепление металлоконструкций крана с подкрановыми рельсами. Устанавливаются специальные
ветромеры, сообщающие крановщику о превышении допустимых показателей ветровой
нагрузки.
В кабине крановщика устанавливаются
предохранительные контакты, которые не позволяют включить систему управления
крана, если не закрыта дверь кабины или крановщик покинул свое рабочее место.
Список использованных источников
1. Справочник по кранам. Под
ред. М. М. Гохберга. Т.1,2. М.: Машиностроение, 1988.
. А. П. Шабашов, А. Г.
Лысяков. Мостовые краны общего назначения. 5-е издание, перераб. и доп. М.: Машиностроение,
1980 - 304 с.
. П. В. Дунаев, О. П.
Леликов. Конструирование узлов и деталей машин - М.: "Академия",
2003. - 496 с.
. С.А. Чернавский. Курсовое
проектирование деталей машин - М.: ООО ТИД "Альянс", 2005. - 416 с.
. В. И. Анурьев. Справочник
конструктора-машиностроителя: в 3-х т.: Т.2. - 8-е изд., перераб. и доп. - М.:
Машиностроение, 2001. - 912 с.