Дискретные устройства
АННОТАЦИЯ
В курсовом проекте выполняется разработка принципиальной схемы
дискретного устройства, состоящего из генератора тактовых импульсов,
параллельно-последовательного счётчика импульсов на JK - триггерах и коэффициентом счёта равным 23, делителя частоты
на 8, преобразователя кодов, выполнение которого также представлено в виде
комбинационного блока ПЛМ, параллельного сумматора по модулю два и двух
параллельных регистров. В курсовом проекте используется базис реализации И-НЕ;
вид кода - «2 из 5». Минимум один раз для упрощения частично заданных ФАЛ
используется минимизация методом существенных переменных.
СОДЕРЖАНИЕ
Введение
1. Синтез основных узлов дискретного устройства
.1 Генератор прямоугольных импульсов
.2 Синтез счётчика импульсов с параллельно-последовательным
переносом
.3 Синтез делителя частоты
.4 Синтез параллельного сумматора по модулю два
.5 Синтез параллельного регистра
.6 Синтез преобразователя кодов
. Описание работы дискретного устройства
Заключение
Список использованных источников
ВВЕДЕНИЕ
принципиальная
схема дискретный устройство
Теория дискретных устройств (ТДУ) является сравнительно молодой и быстро
развивающейся отраслью науки. Её появление в 30-х годах нашего столетия связано
с усложнением и совершенствованием релейных систем управления, когда возникла
необходимость в их математическом описании. Новый стимул развития ТДУ получила
в 50-х годах в связи с применением в устройствах управления полупроводниковой
техники и вычислительных машин. В настоящее время разрабатываются вопросы теории,
связанные с использованием микросхем большой степени интеграции,
программируемых логических матриц, микропроцессоров и других достижений
современной микроэлектроники.
Основы ТДУ начали закладываться в 1938 - 1940 гг., когда советский физик
В.И.Шестаков, американский математик К.Шеннон и японский учёный А.Накашима
доказали возможность использования булевой алгебры при анализе и синтезе
контактных схем. Впервые же указал на такую возможность в 1910 г. русский физик
П.Эрнефест.
Большое влияние на развитие ТДУ оказало создание электронных
вычислительных машин (ЭВМ). Крупный вклад в указанную теорию и практику
дискретной техники, особенно в применении к ЭВМ, внёс академик В.М.Глушков.
Устройства железнодорожной автоматики, телемеханики и связи в основном относятся
к классу дискретных устройств. К железнодорожным системам автоматики,
телемеханики и связи предъявляют повышенные требования с точки зрения
надёжности, безопасности и устойчивости работы. [1. - cc.5-6]
1. СИНТЕЗ ОСНОВНЫХ УЗЛОВ ДИСКРЕТНОГО УСТРОЙСТВА
.1 Генератор прямоугольных импульсов
Генератор прямоугольных импульсов (рисунок 1) собран на логических
элементах И-НЕ [2].
В данной схеме резистор R1 используется для начального запуска
генератора. Напряжение на выходе генератора имеет вид последовательности
прямоугольных импульсов,
которые в свою очередь воздействуют на другие составляющие части дискретного
устройства.
Частота генерации задается с высокой точностью с помощью кварцевого
резонатора ZQ1.
Для стабилизации взят кварцевый резонатор на 100000 кГц РПК01.
В соответствии с выходной частотой возьмём R1 = 1 кОм.
Рисунок 1.1.1 - Схема генератора прямоугольных импульсов
Временная диаграмма [2,3] имеет следующий вид:
Рисунок 1.1.2-Временная диаграмма работы генератора прямоугольных
импульсов.
Исходя
из того, что частота кварцевого резонатора 100000 кГц, период импульсов будет
равен
с = 0.01 мкс
1.2 Счетчик с параллельно-последовательным переносом
В счетчиках со смешанным переносом используется двоично-десятичный
принцип счета. При этом каждой десятичной цифре соответствует свой двоичный
счетчик с Ксч = 10. Внутри каждой декады производится параллельный, а
между декадами -
последовательный перенос.
Нам необходимо построить двоично-десятичный суммирующий счетчик с Ксч
= 23 на JK-триггерах (рисунок 1.2.5). Счетчик имеет две декады:
десятки и единицы. При этом Ксч самой старшей декады равен 3 (что меньше
десяти), поэтому для этой декады будем использовать отдельную таблицу
истинности. Это делается с целью экономии триггеров (для Ксч = 10
требуется 4 триггера, а для Ксч = 3 - два триггера).
Для синтеза данного счетчика необходимо построить таблицу истинности в
которую включаются столбцы текущих состояний триггеров счетчика, столбцы
последующих состояний триггеров, столбцы определения функций возбуждения
(вызывающих переключения) триггеров и столбец номера входного импульса.
Заполнение столбцов функций возбуждения триггеров осуществляется на основе
таблицы переходов JK-триггера
(таблица 1.2.1).
Таблица 1.2.1 - Таблица
переходов JK-триггера
|
Изменение сигнала на
выходе Q
|
Что подать на вход J
|
Что подать на вход K
|
|
0 ® 0
|
0
|
~
|
|
0 ® 1
|
1
|
~
|
|
1 ® 0
|
~
|
1
|
|
1 ® 1
|
~
|
0
|
Количество
триггеров для Ксч = 10 будет равно
.
Заполним таблицу истинности для единиц счетчика (таблица 1.2.2).
Таблица
1.2.2 - Таблица истинности для единиц счетчика с Ксч
= 23 на JK-триггерах
|
№ импульса
|
Текущее состояние триггеров
|
Последующее состояние триггеров
|
Функции возбуждения
|
|
Q4
|
Q3
|
Q2
|
Q1
|
Q4
|
Q3
|
Q2
|
Q1
|
J4
|
K4
|
J3
|
K3
|
J2
|
K2
|
J1
|
K1
|
|
0
|
0
|
0
|
0
|
0
|
0
|
0
|
0
|
1
|
0
|
~
|
0
|
~
|
0
|
~
|
1
|
~
|
|
1
|
0
|
0
|
0
|
1
|
0
|
0
|
1
|
0
|
0
|
~
|
0
|
~
|
1
|
~
|
~
|
1
|
|
2
|
0
|
0
|
1
|
0
|
0
|
0
|
1
|
1
|
0
|
~
|
0
|
~
|
~
|
0
|
1
|
~
|
|
3
|
0
|
0
|
1
|
1
|
0
|
1
|
0
|
0
|
0
|
~
|
1
|
~
|
~
|
1
|
~
|
1
|
|
4
|
0
|
1
|
0
|
0
|
0
|
1
|
0
|
1
|
0
|
~
|
~
|
0
|
0
|
~
|
1
|
~
|
|
5
|
0
|
1
|
0
|
1
|
0
|
1
|
1
|
0
|
0
|
~
|
~
|
0
|
1
|
~
|
~
|
1
|
|
6
|
0
|
1
|
1
|
0
|
0
|
1
|
1
|
1
|
0
|
~
|
~
|
0
|
~
|
0
|
1
|
~
|
|
7
|
0
|
1
|
1
|
1
|
1
|
0
|
0
|
0
|
1
|
~
|
~
|
1
|
~
|
1
|
~
|
1
|
|
8
|
1
|
0
|
0
|
0
|
1
|
0
|
0
|
1
|
~
|
0
|
0
|
~
|
0
|
~
|
1
|
~
|
|
9
|
1
|
0
|
0
|
1
|
0
|
0
|
0
|
0
|
~
|
1
|
0
|
~
|
0
|
~
|
~
|
1
|
Поскольку счетчик должен быть суммирующим, то в столбце с номером
входного импульса десятичная цифра все время увеличивается на единицу. Столбцы
текущих состояний показывают код десятичной цифры в столбце с номером входного
импульса, а столбцы последующих состояний показывают увеличенный на единицу код
десятичной цифры столбца с номером входного импульса. По сути таблица
истинности строится для определения функций возбуждения J и K триггеров таким образом, чтобы они вызвали реализацию
триггерами алгоритма суммирования в двоичной интерпретации. После того, как
текущие и последующие состояния триггеров заполнены, приступают к определению
функций Ji и Ki для каждого из триггеров счетчика.
По таблице истинности получим функции возбуждения триггеров и упростим их
с помощью карт Карно (рисунок 1.2.3).
Рисунок
1.2.3 - Упрощение функций с помощью карт Карно
В
таком случае для функций возбуждения элементов памяти единиц получим следующие
формулы:
;
;
;
;
;
;
;
.
Так
же минимизируем функцию Je4
методом существенных переменных. Составим таблицу
существенных переменных (таблица 1.3), в столбцах которой будут запрещенные (на
которых J4 = 0), а в строках - разрешенные (на которых J4 = 1) наборы переменных [1, 4].
Таблица
1.2.3 - Таблица существенных
переменных
|
Разрешенные наборы
|
Запрещенные наборы
|
|
  
|
|
|
|
|
1
|
2
|
3
|
4
|
5
|
|
Q3Q2Q1 ÚQ3Q2 ÚQ3Q1 ÚQ3
|
|
|
|
|
|
Разрешенные наборы
|
Запрещенные наборы
|
Остатки
|
|
 
|
|
|
|
|
6
|
7
|
8
|
9
|
5
|
|
Q2Q1 ÚQ2
|
Q1
|
Q1Q2Q3
|
|
|
Далее отмечаются знаком «Ú» те члены строки, в которые входят обведенные кружком
переменные, и они исключаются из дальнейшего рассмотрения.
Так как в таблице 1.2.3 оказались отмечены знаком «Ú» все клетки, в которых переменная не
обведена кружком, то далее составляется таблица покрытий существенных
переменных (таблица 1.2.4). В строках таблицы размещаются остатки, а в столбцах
разрешенные наборы.
Таблица 1.2.4 - Покрытие существенных переменных
|
Остатки
|
Существенные переменные
(разрешенные наборы)
|
|
|
|
Q1Q2Q3
|
V
|
Результат минимизации функции Je4
методом существенных переменных будет следующим Je4 = Q1Q2Q3.
Заполним таблицу истинности для десятков счетчика (таблица 1.2.5).
Таблица 1.2.5 - Таблица
истинности для десятков счетчика с Ксч = 30 на JK-триггерах
|
№ импульса
|
Текущее состояние триггеров
|
Последующее состояние
триггеров
|
Функция возбуждения
|
|
Q6
|
Q5
|
Q6
|
Q5
|
J6
|
K6
|
J5
|
K5
|
|
0
|
0
|
0
|
0
|
1
|
0
|
~
|
1
|
~
|
|
1
|
0
|
1
|
1
|
0
|
1
|
~
|
~
|
1
|
|
2
|
1
|
0
|
1
|
1
|
~
|
0
|
1
|
~
|
|
3
|
1
|
1
|
0
|
0
|
~
|
1
|
~
|
1
|
По таблице истинности получим функции возбуждения триггеров и упростим их
с помощью карт Карно (рисунок 1.2.4).
Рисунок
1.2.4 - Упрощение функций с помощью карт Карно
В
таком случае для функций возбуждения элементов памяти десятков получим
следующие формулы:
;
;
;
Построим временную диаграмму работы параллельно-последовательного
счётчика (рисунок 1.2.6) для пояснения его работы.
Рисунок 1.2.5 -
Схема суммирующего параллельно-последовательного счетчика на JK-триггерах с коэффициентом счета
равным 23.
1.3 Синтез делителя частоты на 8
Основное назначение делителя частоты - уменьшение частоты следования
входных импульсов.
Как следует из предыдущего пункта, счетчики также могут быть использованы
для деления частоты. Важное отличие делителя частоты от счетчика заключается в
том, что счетчик выдает код числа на своих выходах, которых может быть много и
состояния всех триггеров существенны, а делитель частоты имеет в общем случае
всего один выход. При этом нас абсолютно не интересует, как изменяют свое
состояние все триггеры, за исключением того триггера, на выходе которого
появляется поделенная в заданное число раз частота. Это привносит свою
специфику в методику синтеза делителей частоты.
Делители с коэффициентом деления кратным 2n строятся на счетчиках с
последовательным переносом (как суммирующих, так и вычитающих, что не имеет
значения в данном случае). Наиболее простой делитель с коэффициентом деления
равным 2 - это счетный триггер (рисунок 1.3.1).
Рисунок
1.3.1 - Делитель с коэффициентом деления равным 2
При построении делителей частоты с коэффициентом деления не кратным 2n следует пройти следующие этапы:
1) определить потребное число триггеров делителя по той же формуле,
что и для счетчиков;
2) построить временную диаграмму работы делителя частоты (для
коррекции скважности выходных импульсов);
) по временной диаграмме построить таблицу истинности делителя, по
которой определить функции возбуждения триггеров делителя и построить его
схему.
Пусть требуется построить делитель частоты с коэффициентом деления равным
8 на JK-триггерах, управляемых по фронту
входного импульса.
Рисунок
1.3.2 - Временная диаграмма работы триггеров делителя частоты на восемь
Таблица
1.3.1 - Таблица истинности счетчика-делителя на восемь на JK-триггерах
|
№ импульса
|
Текущие состояния триггеров
|
Последующие состояния
триггеров
|
Состояния информационных
входов триггеров
|
|
Q3к
|
Q2
|
Q1
|
Q3к
|
Q2
|
Q1
|
J3к
|
K3к
|
J2
|
K2
|
J1
|
K1
|
|
0
|
0
|
0
|
0
|
0
|
0
|
1
|
0
|
~
|
0
|
~
|
1
|
~
|
|
1
|
0
|
0
|
1
|
0
|
1
|
0
|
0
|
~
|
1
|
~
|
~
|
1
|
|
2
|
0
|
1
|
0
|
1
|
1
|
1
|
1
|
~
|
~
|
0
|
1
|
~
|
|
3
|
1
|
1
|
1
|
1
|
0
|
0
|
~
|
0
|
~
|
1
|
~
|
1
|
|
4
|
1
|
0
|
0
|
1
|
0
|
1
|
~
|
0
|
0
|
~
|
1
|
~
|
|
5
|
1
|
0
|
1
|
1
|
1
|
0
|
~
|
1
|
0
|
~
|
~
|
1
|
|
6
|
1
|
1
|
0
|
1
|
1
|
1
|
~
|
0
|
1
|
~
|
~
|
1
|
|
7
|
1
|
1
|
1
|
0
|
0
|
0
|
~
|
1
|
~
|
1
|
~
|
1
|
|
8
|
0
|
0
|
0
|
0
|
0
|
1
|
0
|
~
|
0
|
~
|
1
|
~
|
Если триггер Qi
по срезу входного импульса переключается в нуль, то принимаем его значение
равным нулю, а если он по срезу входного импульса переключается в единицу, то
принимаем его значение равным единице. Последующие состояния триггеров таблицы
истинности заполним для случая, если счетчик-делитель работает по алгоритму
суммирования. Затем заполняем функции Ji и Ki
на основе таблицы переходов JK-триггера,
упрощаем их (рисунок 1.3.3) и строим схему счетчика-делителя на восемь (рисунок
1.3.4).
Рисунок
1.3.3 - Карты Карно для счётчика-делителя на 8
Рисунок
1.3.4 - Схема делителя частоты на 8
1.4 Параллельный сумматор
Двоичными сумматорами называют дискретные устройства, выполняющие
операцию сложения двух двоичных чисел [2].
В зависимости от способа суммирования чисел бывают последовательные и
параллельные сумматоры.
У сумматоров с параллельным действием сложение выполняется параллельно,
сразу во всех разрядах суммируемых чисел.
Синтезируем одноразрядный сумматор параллельного действия. Таблица
истинности (таблица 1.4.1) такого сумматора для i-го разряда содержит три двоичных входа: аi - первое слагаемое, bi - второе слагаемое и pi-1 - перенос из i -1 разряда в i-й.
В результате сложения этих трех двоичных чисел образуется двухразрядное
число, поэтому сумматор должен иметь два двоичных выхода. Младший выход si результата сложения называется
частичной суммой, а старший выход pi - переносом.
Исходя из таблицы истинности, запишем функции выходов si и pi и приведем их к бизису И-НЕ:

На основе полученных формул построим схему i-го разряда параллельного сумматора в базисе И-НЕ,
представленную на рисунке 1.4.1.
Рассмотренный сумматор является полным.
Для получения шестиразрядного сумматора соединяют пять одноразрядных
полных сумматоров (рисунок 1.4.2)
Таблица 1.4.1 - Таблица истинности одноразрядного сумматора
|
Входы
|
Выходы
|
|
ai
|
bi
|
pi-1
|
si
|
pi
|
|
0
|
0
|
0
|
0
|
0
|
|
0
|
0
|
1
|
1
|
0
|
|
0
|
1
|
0
|
1
|
0
|
|
0
|
1
|
1
|
0
|
1
|
|
1
|
0
|
0
|
1
|
0
|
|
1
|
0
|
1
|
0
|
1
|
|
1
|
1
|
0
|
0
|
1
|
|
1
|
1
|
1
|
1
|
1
|
Рисунок 1.4.1 - Схема i-го
разряда полного параллельного сумматора
Рисунок 1.4.2 - Схема пятиразрядного полного параллельно сумматора
Построим диаграмму работы полного параллельного сумматора (рисунок
1.4.3).
На диаграмме a1 - a5 - соответственно 1 - 5 разряды
первого слагаемого; b1 - b5 - 1 - 5 разряды второго слагаемого; P0, P1 - P5 -
соответственно переносы для сложения в первый, второй и шестой разряды; s1 - s5 -
суммы от сложения первого и второго - пятого разрядов. На диаграмме
заштрихованы графики выходных сигналов сумматора (рисунок 1.4.3).
Рисунок
1.4.3 - Диаграммы состояний пятиразрядного полного сумматора
1.5 Параллельный регистр
Параллельные регистры используются для хранения данных. Ввод и вывод
информации для таких регистров осуществляется в параллельной форме.
Схема параллельного четырёхразрядного регистра на JK-триггерах представлена на рисунке
1.5.1. Все разряды двоичного числа подаются одновременно на входы регистра. На
вход С1 подается сигнал управления записью информации, а на вход C2 - сигнал управления считыванием
информации.
Правила работы регистра для n-го такта работы представлены в таблице 1.5.1.
Таблица 1.5.1 - Таблица
истинности регистра на JK-триггерах
|
Сигналы управления Работой
регистра
|
Выходные сигналы
|
|
C1n
|
C2n
|
Qin
|
yin
|
|
0
|
0
|
Qin-1
|
0
|
|
0
|
1
|
Qin-1
|
Qin
|
|
1
|
0
|
xin-1
|
0
|
Комбинация C1n = C2n = 1 является запрещенной, т.е. нельзя одновременно
записывать и считывать информацию.
Построим
временную диаграмму регистра памяти. Запись информации с входов xi в триггере Qi регистра
происходит по фронту импульса C1 (рисунок
1.7.2). При этом в n-ом такте работы
.
Считывание информации происходит при наличии импульса C2. Значение выходных
сигналов
.
Рисунок 1.5.1 - Схема параллельного регистра на JK-триггерах
Рисунок 1.5.2 - Временная диаграмма работы параллельного регистра
Рисунок 1.5.3 - Схема параллельного регистра на JK-триггерах
Рисунок 1.5.4 - Временная диаграмма работы параллельного регистра
1.6 Синтез преобразователя кодов
Преобразователь кодов - комбинационное дискретное устройство, предназначенное для перевода
одного двоичного кода в другой двоичный код [1, 2].
Эти дискретные устройства часто применяются в системах автоматики с целью
получения из обычных безизбыточных кодов более сложных избыточных кодов.
Избыточные коды позволяют только обнаруживать или обнаруживать и исправлять
ошибки в кодовых словах при передаче сигналов по линиям связи на большие
расстояния.
Существует два способа синтеза преобразователей кодов: с использованием
одной таблицы истинности и свойства независимости входов и выходов и путем
последовательного включения дешифратора и шифратора [1, 3].
Нам необходимо построить преобразователь кодов на основе свойства
независимости входов и выходов по одной таблице истинности.
Нам требуется построить преобразователь кодов для перевода цифр типового
кода «8421» в код «2 из 5» в базисе «И-НЕ» для цифр от 0 до 8. Составим таблицу
истинности преобразователя (таблица 1.4.1) в которой отражаются все необходимые
комбинации исходного кода «8421» и все соответствующие им комбинации
получаемого кода «2 из 5».
Таблица 1.6.1 - Таблица
истинности преобразователя из кода «8421» в код «2 из 5»
|
Десятичная цифра
|
Исходный код (входы)
|
Получаемый код (выходы)
|
|
X8
|
X4
|
X2
|
X1
|
Y5
|
Y4
|
Y3
|
Y2
|
Y1
|
|
0
|
0
|
0
|
0
|
0
|
1
|
1
|
0
|
0
|
0
|
|
1
|
0
|
0
|
0
|
1
|
0
|
1
|
1
|
0
|
0
|
|
2
|
0
|
0
|
1
|
0
|
0
|
0
|
1
|
1
|
0
|
|
3
|
0
|
0
|
1
|
1
|
0
|
0
|
0
|
1
|
1
|
|
4
|
0
|
1
|
0
|
0
|
1
|
0
|
0
|
0
|
1
|
|
5
|
0
|
1
|
0
|
1
|
1
|
0
|
1
|
0
|
0
|
|
6
|
0
|
1
|
1
|
0
|
0
|
1
|
0
|
1
|
0
|
|
7
|
0
|
1
|
1
|
0
|
0
|
1
|
0
|
1
|
|
8
|
1
|
0
|
0
|
0
|
1
|
0
|
0
|
1
|
0
|
Для каждой выходной функции составляется совершенная дизъюнктивная
нормальная форма от одних и тех же входных переменных на основе свойства
независимости выходов:
;
;
;
;
.
Затем
полученные функции выходов упрощаются. Упростим функцию Y5 методом Квайна - Мак-Класки. Для
этого перепишем ее, заменив переменные их значениями (
, а Xi = 1). Тогда Y5 = 0000 Ú 0100 Ú 0101 Ú 1000. Кроме того, учтем, что функция Y5 является частично заданной, в которой кодовые
комбинации для цифр 9 - 15 не используются (поскольку с использованием
четырех переменных реализуются 24
= 16 кодовых слов), поэтому при упрощении данной и всех
остальных функций в данном случае необходимо применить методику упрощения
частично заданных функций [4].
Доопределим
функцию Y5, добавив в
нее кодовые комбинации цифр 9 - 15 и получим функцию
Разобьем
полученные кодовые слова функции по группам в зависимости от числа единиц в них
(таблица 1.6.2). Применим операцию склеивания к кодам соседних по номерам групп
[1, 4]. Склеиванию подвержены лишь те коды, которые различаются одним из
четырех символов на соответствующей позиции. После склеивания на месте
склеивания символа проставляется знак прочерк «-» и код перемещается в группу с
меньшим номером.
После
первой операции склеивания процесс повторяется для тех склеенных кодов, у
которых прочерки находятся на одинаковых позициях. После второй итерации
склеивания процесс опять повторяется.
Когда
операцию склеивания больше применить нельзя, переходим к операции поглощения.
Для этого составляем таблицу поглощений (таблица 1.6.3). В столбцах данной
таблицы размещаются все исходные коды, а в строках - коды оставшиеся после склеивания.
В
клетках таблицы на пересечении соответствующих строки и столбца проставляются
отметки, если совпадают символы строки и столбца на позициях, где нет
прочерков.
Таблица
1.6.2- Операции склеивания
|
№ группы
|
Исходные коды групп
|
Коды после первого
склеивания
|
|
1
|
2
|
3
|
|
0
|
0000
|
0-00, -000
|
|
1
|
0100, 1000
|
010-, -100, 100-, 10-0,
1-00
|
|
2
|
0101, 1001, 1010, 1100
|
-101, 10-1, 1-01, 101-,
1-10, 110-, 11-0
|
|
3
|
1011, 1101, 1110
|
1-11, 11-1, 111-
|
|
4
|
1111
|
|
|
0
|
--00
|
--00
|
|
|
1
|
-10-, 10--, 1-0-, 1--0
|
-10-, 1---
|
|
|
2
|
1--1, 1-1-, 11--
|
|
|
|
3
|
|
|
|
|
4
|
|
|
|
|
|
|
|
|
В строке перекрытий таблицы 1.6.4 все клетки должны быть заполнены
отметками, снесенными от склеенных кодов (перенос отметок в строку перекрытий в
таблице показан стрелками). В первую очередь в строку перекрытий сносятся
отметки ядер функции, т.е. тех склеенных кодов, для которых хотя бы в одном
столбце есть отметка только от данного склеенного кода. В рассматриваемой таблице
все склеенные коды будут ядрами. Поэтому упрощенная функция будет представлять
собой сумму всех склеенных кодов
.
Таблица
1.6.3 - Операции поглощения
|
Склеенные коды
|
Исходные коды
|
|
0000
|
0100
|
0101
|
1000
|
1001
|
1010
|
|
1
|
2
|
3
|
4
|
5
|
6
|
7
|
|
--00
|
Ú
|
Ú
|
|
Ú
|
|
|
|
-10-
|
|
Ú
|
Ú
|
|
|
|
|
1---
|
|
|
|
Ú
|
Ú
|
Ú
|
|
Строка перекрытий
|
Ú
|
Ú
|
Ú
|
Ú
|
Ú
|
Ú
|
|
Склеенные коды
|
Исходные коды
|
|
1011
|
1100
|
1101
|
1110
|
1111
|
|
8
|
9
|
10
|
11
|
12
|
13
|
|
--00
|
|
|
|
|
|
|
-10-
|
|
Ú
|
Ú
|
|
|
|
1---
|
Ú
|
Ú
|
Ú
|
Ú
|
Ú
|
|
Строка перекрытий
|
Ú
|
Ú
|
Ú
|
Ú
|
Ú
|
Поскольку функция задана частично, необходимо проверить ее также на
возможность перекрытий с функцией Y5
(таблица 1.6.4).
Работая
над данными таблицы, выясняем, что для перекрытия исходной функции достаточно
лишь двух из трех склеенных кодов --00 и -10-. Тогда окончательный результат упрощения функции
запишем как сумму этих кодов
. Заменим
невычеркнутые значения переменными и получим упрощенную функцию
.
Таблица
1.6.4 - Перекрытие функций Y5 и
.
|
Y5
|
|
|
0000
|
0100
|
0101
|
1000
|
|
--00
|
Ú
|
Ú
|
|
Ú
|
|
-10-
|
|
Ú
|
Ú
|
|
|
1---
|
|
|
|
Ú
|
|
Строка перекрытий
|
Ú
|
Ú
|
Ú
|
Ú
|
Функции Y4, Y3, Y2 и Y1упростим с помощью карт Карно (рисунок 1.6.1).
В результате упрощения на основе карт Карно получим следующие функции:
,
,
,
.
Рисунок
1.6.1 - Упрощение функций Y1,Y2, Y3 и Y4 с помощью карт Карно
Преобразуем полученные функции к виду, удобному для построения в базисе
«И-НЕ» с помощью закона двойственности и закона двойного отрицания:
Схема преобразователя кодов в базисе «И-НЕ» представлена на рисунке
1.6.2.
Рисунок 1.6.2 - Схема преобразователя кодов в базисе И-НЕ
Построим схему преобразователя кодов, используя ПЛМ(рисунок 1.6.3)
На основе таблицы 1.6.5 и с учетом свойства независимости входов и
выходов можно найти функции алгебры логики выходов матриц М1 и М2.
Функции на выходе матрицы М1:
Таблица
1.6.5 - ТИ преобразователя кодов на ПЛМ
|
Десятичный эквивалент
|
Входной код 8421
|
Выходной код 2 из 5
|
Выходы М1
|
|
X8
|
X4
|
X2
|
X1
|
Y5
|
Y4
|
Y3
|
Y2
|
Y1
|
Fi
|
|
0
|
0
|
0
|
0
|
0
|
1
|
1
|
0
|
0
|
0
|
F1
|
|
1
|
0
|
0
|
0
|
1
|
0
|
1
|
1
|
0
|
0
|
F2
|
|
2
|
0
|
0
|
1
|
0
|
0
|
0
|
1
|
1
|
0
|
F3
|
|
3
|
0
|
0
|
1
|
1
|
0
|
0
|
0
|
1
|
1
|
F4
|
|
4
|
0
|
1
|
0
|
0
|
1
|
0
|
0
|
0
|
1
|
F5
|
|
5
|
0
|
1
|
0
|
1
|
1
|
0
|
1
|
0
|
0
|
F6
|
|
6
|
0
|
1
|
1
|
0
|
0
|
1
|
0
|
1
|
0
|
F7
|
|
7
|
0
|
1
|
1
|
1
|
0
|
0
|
1
|
0
|
1
|
F8
|
|
8
|
1
|
0
|
0
|
0
|
1
|
0
|
0
|
1
|
0
|
F9
|
На выходе матрицы М2:
Как видно, получаются инверсные выходные значения и поэтому их следует
инвертировать при окончательном построении схемы.
В соответствии с полученными уравнениями осуществляется программирование
ПЛМ. Узлы матрицы, в которых необходимо сохранить транзисторы, отмечены на
рисунке 1.6.3 точками.

Рисунок 1.6.3 - Точечное начертание матрицы преобразователя кодов
В местах пересечения линий Fi, xi
и yi ставятся транзисторы аналогично
тому, как это изображено на рисунке 1.6.4. В результате, после добавления
резисторов получается рабочая схема преобразователя кодов.
Рисунок 1.6.4 - Принципиальная схема программируемой логической матрицы
Составим диаграмму состояний преобразователя кодов.
Рисунок 1.6.5 -
Диаграмма состояний преобразователя кодов
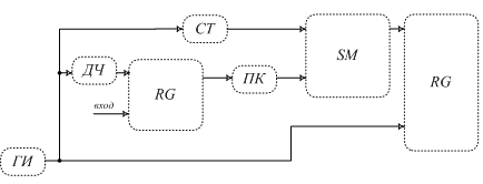
2. ОПИСАНИЕ РАБОТЫ ДИСКРЕТНОГО УСТРОЙСТВА
Опишем работу дискретного устройства, заданного структурной схемой
(рисунок 2.1).
Рисунок 2.1 - Структурная схема ДУ
Первым функциональным блоком в схеме является генератор
тактовых импульсов, представляющий собой кварцевый генератор, вырабатывающий
тактовые импульсы с частотой f = 100000 кГц. Генератор собран на двух
логических элементах И-НЕ.
С выхода генератора импульсы напряжения поступают на вход параллельно-последовательного
суммирующего счётчика
с коэффициентом счёта Ксч=23, выполненного на JK-триггерах.
При поступлении очередного импульса триггеры (4 триггера, отведённые на
подсчёт единиц) изменяют своё состояние. После появлении на выходах четырёх
триггеров комбинации 1001 происходит перенос в следующий разряд, а четыре
триггера устанавливают комбинацию 0000. При дальнейшем поступлении импульсов
процесс смены состояний триггеров повторяется до тех пор пока два триггера,
отведенные на подсчёт десятков не установятся в комбинацию 10, а четыре
триггера для подсчёта единиц - в комбинацию 0010, после этого происходит общий
сброс и процесс смены состояний всех триггеров повторяется.
Второй ветвью в данной схеме являться ветвь, содержащая параллельный
четырёхразрядный регистр на D-триггерах,
на который поступает двоичный код 8421. На вход С1 регистра подается
сигнал управления записью информации с генератора импульсов через делитель
частоты на четыре, а на вход C2
- сигнал управления считыванием информации.
Сигналы с выходов регистра памяти поступают на преобразователь кодов, который
преобразует полученный двоичный код 8421 в двоичный код «2 из 5».
Сигналы с выходов счётчика и преобразователя кодов поступают на входы
сумматора по модулю два. На выходе пяти разрядов и переноса в следующий разряд
получаем двоичную комбинацию, результат сложения параллельным сумматором по
модулю два.
Последним функциональным блоком в схеме является параллельный регистр
выполненный на шести JK-триггерах,
который используется для хранения данных. На вход С1 регистра подается
сигнал управления записью информации с генератора импульсов, а на вход C2 - сигнал управления считыванием
информации.
На выходе получаем двоичную комбинацию, сохранённую параллельным
регистром.
ЗАКЛЮЧЕНИЕ
В результате выполнения данного курсового проекта было разработано дискретное
устройство (ДУ), которое имеет следующую структуру:
генератор прямоугольных импульсов;
параллельно-последовательный суммирующий счетчик импульсов с
коэффициентом счёта 23;
преобразователь кодов с реализацией на ПЛМ;
делитель частоты на восемь;
- два
параллельных регистра;
параллельный сумматор по модулю два.
Работа каждого блока дискретного устройства была пояснена либо
импульсно-временной диаграммой, либо диаграммой состояний. Так же была
разработана принципиальная схема данного дискретного устройства, и отдельным
пунктом была описана его работа. В качестве элементов памяти были использованы JK-триггеры. Дискретное устройство
реализовано в базисе И - НЕ.
При выполнении данного курсового проекта также была изучена методика
минимизации функций алгебры логики несколькими методами: такими как метод
существенных переменных, карт Карно, Квайна-Мак-Класки и метод Квайна.
СПИСОК ИСПОЛЬЗОВАННЫХ ИСТОЧНИКОВ
1 Сапожников
В.В., Кравцов Ю.А., Сапожников Вл.В. Дискретные устройства железнодорожной автоматики, телемеханики
и связи: Учебник для вузов ж.-д. трансп. М.: Транспорт, 1988. - 255 с.
2 Браммер
Ю.А. Импульсные и
цифровые устройства: Учеб. для студентов электрорадиоприборостроительных сред.
спец. учеб. заведений. / Ю.А. Браммер, И.Н. Пащук - 7-е изд., перераб. и
доп. - М.: Высш. шк., 2003. - 351 с.: ил.
3 Бочков
К.А., Березняцкий Ю.Ф. Анализ функциональной структуры и синтез дискретных устройств:
Лабораторный практикум по дисциплине “Теория дискретных устройств”. Ч.I-III. / Белорус. гос. ун-т трансп. Гомель: БелГУТ, 2001.
4 Березняцкий
Ю.Ф. Задание и
минимизация функций алгебры логики: Пособие для практических занятий по
дисциплине “Теория дискретных устройств”. - Гомель: БелГУТ, 2004. - 44 с.
5 Мулярчик
С.Г. Интегральная
схемотехника (функционально-логический уровень). - Мн: Изд-во БГУ, 1983. - 189
с.: ил.
Автоматизация
систем электроснабжения: Учебник для вузов ж. - д. трансп. / Ю.И. Жарков,
В.Я. Овласюк, Н.Г. Сергеев, Н.Д. Сухопрудский, А.С. Шилов; Под ред. Н.Д.
Сухопрудского. - М.: Транспорт, 1990. - 359 с.
Интегральные
микросхемы: Справочник / Б.В. Тарабрин, Л.Ф. Лунин, Ю.Н. Смирнов и др.;
- М.: Радио и связь, 1983. - 528 с.: ил.
8 Бирюков
С.А. Генераторы и
формирователи импульсов на микросхемах КМОП // «Радио», 1995, №7. с. 36-37, №
9. с. 54-55.
Пухальский
Г.И., Новосельцева Т.Я. Проектирование дискретных устройств на интегральных микросхемах:
Справочник. - М.: Радио и связь, 1990. - 304 с.: ил.
Федосеева
Е.О., Федосеев Г.П.
Основы электроники и микроэлектроники: Учебник. - М.: Искусство, 1990 - 240 с.
Автоматика,
телемеханика и связь на транспорте: Пособие по оформлению дипломных проектов / Бочков
К.А., Серенков А.Г., Кондрачук В.Ф., Харлап С.Н. - Гомель: БелГУТ, 2002. - 70 с.